Фармацевтические тесты для определения биологической доступности лекарственных средств
Федеральное агентство по образованию
ВОРОНЕЖСКИЙ ГОСУДАРСТВЕННЫЙ
УНИВЕРСИТЕТ
Фармацевтический факультет
Кафедра фармацевтической химии и
фармацевтической технологии
Курсовая работа
По фармацевтической технологии
готовых лекарственных средств
"Фармацевтические тесты для
определения биологической доступности
лекарственных средств"
Воронеж 2008г.
Содержание
Введение
1. Биологическая доступность лекарственных средств
2. Фармако-технологические методы оценки распадаемости, растворения
и высвобождения лекарственного вещества из лекарственных препаратов
2.1 Распадаемость твердых лекарственных форм
2.2 Растворение твердых лекарственных форм
2.3 Прохождение лекарственных веществ через мембраны
2.4 Высвобождение лекарственных веществ из мягких лекарственных
форм
2.5 Высвобождение лекарственных веществ из ректальных лекарственных
форм
Заключение
Список используемой литературы
Введение
В настоящее время в России, как и во всем мире, остро стоит
проблема своевременного выявления фальсифицированных лекарственных средств
(ЛС). Ситуация, сложившаяся на фармацевтическом рынке, является угрожающей
здоровью населения страны. Наличие фальсифицированной продукции особенно
характерно в отношении воспроизведенных ЛС (дженериков, генериков) [1].
В России из 13 тысяч зарегистрированных препаратов более 78%
- дженерики. Вопрос идентичности действия дженериков на организм по сравнению с
оригинальными препаратами - главный и для врачей, и для пациентов. [2] В тоже
время, в нашей стране практически нет текущего контроля за качеством
генерических препаратов, а перенесение данных по эффективности и безопасности,
полученные на оригинальных препаратах, на их копии недопустимо [3].
Основным видом контроля ЛС, не отличающихся лекарственной
формой (ЛФ) и содержанием действующих веществ от соответствующих оригинальных
препаратов, является оценка их биоэквивалентности. Она основана на сравнении
биодоступности генерического и эталонного (оригинального) лекарственного
препарата (ЛП). Два ЛП считаются эквивалентными, если они обеспечивают
одинаковую биодоступность ЛС.
Исследования биоэквивалентности позволяют сравнить различные
серии ЛП одного и того же производителя, а также проанализировать однородность
ЛФ по биодоступности внутри одной и той же серии, особенно для плохо всасывающихся,
труднорастворимых и сильнодействующих веществ [4].
Наряду с клинической оценкой биоэквивалентности in vivo, которая является
достоверным и весьма информативным методом оценки качества ЛП, существуют
альтернативные подходы к изучению биодоступности ЛП, как например исследования in vitro. Данные исследования
проводятся с использованием фармацевтических тестов для определения
биодоступности ЛС. На основании результатов исследования можно сделать
обоснованные заключения о качестве сравниваемых препаратов по относительно
меньшему объему первичной информации и в более сжатые сроки, чем при проведении
клинических исследований [2].
лекарственный препарат биологическая доступность
1.
Биологическая доступность лекарственных средств
Биологическое действие ЛВ в значительной степени определяется
особенностями их попадания в системный кровоток, а также в те органы и ткани, в
которых происходит их специфическое действие. Это свойство препаратов
характеризует понятие биодоступности. Именно с различиями в биодоступности в
большинстве случаев связаны различия в терапевтической эффективности
препаратов, содержащих одни и те же активные вещества.
Биодоступность (БД) - часть введенного ЛВ, которая
попадает в системный кровоток при пероральном, внутримышечном, ингаляционном и
других путях введения.
В соответствии с рекомендациями ВОЗ ООН мерой биологической
доступности является отношение (в процентах) количества всосавшегося ЛВ,
назначенного в исследуемой ЛФ (А), к количеству всосавшегося того же ЛВ,
назначенного в той же дозе, но в виде стандартной ЛФ (Б), то есть:
БД = (А: Б) ∙100%
Чаще всего БД лекарства определяют путем сравнительного
изучения изменений концентрации ЛВ в плазме крови при назначении исследуемой и
стандартной ЛФ. Если в качестве стандартной ЛФ используется раствор для
внутривенного введения, который обеспечивает 100% -ную БД, можно определить
абсолютную БД. Она определяется путем измерения площади под кривой (AUC) изменения концентрации
вещества в плазме или сыворотке крови во времени.
Важным показателем является также относительная БД, которая
характеризует относительную степень всасывания ЛВ из испытуемого ЛП и препарата
сравнения. Относительную БД определяют для различных серий ЛП при изменении
технологии производства, для препаратов, произведенных различными фирмами, а
также для сравнения БД двух различных ЛФ для внесосудистого введения одного и
того же ЛВ [24, 25].
При изучении БД наиболее важными являются следующие
параметры:
· максимум (пик) концентрации ЛВ в крови;
· время
достижения максимальной концентрации;
· площадь под кривой изменения концентрации
ЛВ в плазме или сыворотке крови во времени. ЛП сразу попадает в системный
кровоток только при внутрисосудистом введении. При всех других способах
введения этому предшествует целый ряд процессов. Прежде всего, ЛВ должно
высвободится из ЛФ. Когда ЛВ перешло в растворимую форму, ему предстоит
преодолеть ряд мембран и барьеров, перед тем как проникнуть в капиллярное русло
и попасть в системный кровоток. Таким образом, когда ЛС вводится в организм
внесосудистым путем, окать существенное влияние на БД может целый ряд
химико-фармацевтических (физическое состояние ЛВ; его химическая модификация;
вспомогательные вещества; ЛФ и технологический процесс) и медико-биологических
(путь введения ЛС; температура тела и окружающей среды; возраст и пол человека;
патологические процессы и индивидуальные особенности организма;
фармакологическое, фармакокинетическое, фармакодинамическое и физиологическое
взаимодействие ЛС) факторов.
Биодоступность лекарственных препаратов (ЛП) зависит от
распадаемости, растворения и высвобождения ЛВ из ЛФ, поэтому оценка указанных
фармако-технологических параметров является обязательной при разработке состава
новых препаратов, а также при контроле их качества на производстве. Данные
процессы необходимо исследовать с помощью таких фармко - технологических
методов, которые давали бы результаты, сопоставимые с методами in vivo. Для этих целей нужны
простые, быстрые, точные методы in vitro, которые позволяют при необходимости проводить
многократные исследования [5].
2.
Фармако-технологические методы оценки распадаемости, растворения и
высвобождения лекарственного вещества из лекарственных препаратов
2.1
Распадаемость твердых лекарственных форм
Распадаемость таблеток или капсул - это полное растворение
прессованного тела (для растворимых таблеток) или дезагрегация прессованного
тела или капсулы на составляющие частицы гранулята, порошкообразные частицы или
мягкую массу, не имеющую ощутимого твердого ядра, в том числе и остатка
капсульной оболочки [6].
Разработка методов распадаемости началась в 20-30-х годах XX века. В Фармакопее США
изменения в методике были сделаны в XVI издании (1960), а в Фармакопее СССР - в IX издании в 1961 году. В
настоящее время тест "Распадаемость" принадлежит к стандартным
способам оценки качества твердых ЛП и включен во все современные фармакопеи
мира [5].
Существуют три основные гипотезы, предлагающие физическую
интерпретацию механизма распадаемости таблеток. В соответствии с первой,
распадаемость объясняется действием набухания, приводящего к разрушению
целостности таблетки, разрыву ее части. Согласно второй, таблетки разрушаются
под действием капиллярных сил. Третья гипотеза объясняет распад таблеток на
части при увлажнении расширением воздуха в порах при выделении тепла абсорбции.
Физиологическое значение этого теста состоит в том, что ЛВ,
находящееся в таблетке, может наиболее полно усваиваться организмом лишь в том
случае, когда спрессованная таблетка превратится в рыхлую массу, имеющую
значительно большую поверхность, а следовательно, и контакт со слизистой
оболочкой желудочно-кишечного тракта [7].
Несоответствие качества препарата по показателю
"Распадаемость" свидетельствует об уменьшении его эффективности.
Например, ферментный препарат, распадающийся раньше, чем требуется в
нормативной документации, будет иметь низкую эффективность применения, так как
будет участвовать в пищеварении не на том этапе, для которого предназначен [8].
При разработке методов распадаемости
учитывались такие параметры, как характер и количество среды, поверхностное
натяжение и вязкость, температура, способ смешивания. В данном случае возможна
корреляция результатов опытов in vitro и in vivo, проводимых при температуре 37° С с
использованием искусственной пищеварительной жидкости с различным рН и
различными образцами, имитирующими перистальтические движения пищеварительного
тракта.
Многообразие методов испытания
распадаемости таблеток в основном соответствует четырем принципиальным схемам:
статистической, статистической ситовой, динамической и динамической ситовой.
Статистический метод характеризуется
состоянием покоя испытуемых таблеток при определенных условиях среды и
температуры.
Суть статической ситовой методики
заключается в следующем: таблетку помещают на сито, а временем распадаемости считают
время, необходимое на то, чтобы частицы распавшейся таблетки прошли через сито.
Основной недостаток этого метода заключается в том, что отдельные частицы
распавшейся таблетки остаются на сите, ячейки которого забиваются клейкими
вспомогательными веществами. В связи с этим определение времени распадаемости
является неточным. Поэтому было предложено использование различных индикаторных
приспособлений, например иглы с определенной нагрузкой и проволочной петли,
которая давит на образец таким образом, что после его распада игла проходит
через сито и сигнализирует об окончании процесса.
К динамическим относятся методы,
разработанные еще для пилюль. Из них следует упомянуть метод Затурецкого,
который с помощью циркуляции жидкости устранил трудности, связанные с
задержанием частиц на сите. Необходимо отметить, что автор уже в 1947 году
искал соответствие между временем распадаемости пилюли in vitro и in vivo.
В современных динамических методах
используются, как правило, движения образца в неподвижной жидкости (круговые,
колебательные, поступательные).
Методы с равномерным
вращательным движением образцов. Для определения используют устройства с
цилиндрическим проволочным барабаном, который вращается в опытной жидкости.
Вращение - медленное, до 6 об/мин, что соответствует движению соков в желудке.
Методы с колебательным
движением образца. Проволочный барабан выполняет не вращательное, а колебательное
движение, которое больше соответствует перистальтическим движениям
желудочно-кишечного тракта, а таблетка никогда не падает резко, что не удается
предотвратить в процессе вращения.
Методы с периодическим движением образца. Для определения
используют вращающиеся пробирки. Таблетку вкладывают в пробирку, наполненную
опытной жидкостью. Скорость вращения должна быть такой, чтобы падающая таблетка
не коснулась дна пробирки. Опыт проводят параллельно в пяти пробирках.
Конструкции приборов для проведения теста
"Распадаемость" весьма разнообразны. В 80-е годы прошлого столетия
широко использовались приборы фирмы "Еrweka" (ФРГ). Наибольший
интерес представляла модель ZT-6, которая состояла из собственного прибора для
определения времени распадаемости и электронного блока для автоматической
регистрации времени распада индивидуально каждой таблетки, помещаемой в трубки
с сетчатым дном [7]. Так, Ким Г.А., при выборе технологии получения таблеток
комплексного противоалкогольного препарата, определял их качество с помощью
теста "Распадаемость" на приборе "Качающаяся корзинка"
фирмы "Еrweka". Было установлено, что получение таблеток методом прямого
прессовании является наиболее оптимальным, так как обеспечивает более высокую
биодоступность ЛВ [9].
Рис.1. Аппарат типа 545-АК-1
ГФ ХI издания предусматривает определение распадаемости ЛФ на
приборе типа 545-АК-1 Ждановского завода технологического оборудования (рис.1).
Он состоит из корзинки (а), сосуда для среды (б), термостатического (в) и
электромеханического устройства (г) [10].
Определенными недостатками данного прибора
можно назвать наличие вкладышей в трубках, которые существенно ускоряют распад
таблеток и капсул, а также интенсивное движение корзинки, которое не
соответствует перистальтическим движениям ЖКТ (движение корзинки должно быть
более медленным, а амплитуда перемещений - короче).
Из перечня современного оборудования для
определения распадаемости таблеток и капсул следует отметить приборы
производства PharmaTest (Германия), модели PTZ Auto, которые возможно использовать для определения
распадаемости таблеток и капсул в соответствии с фармакопеями США, Германии,
Великобритании и Европейского Союза.
Модель PTZ Auto содержит качающий
механизм, рабочий сосуд, встроенный циркулярный термостат, клавиатуру для ввода
параметров, ЖК-дисплей, таймер, внешний температурный датчик для измерения
температуры в бане или сосуде, плексигласовую водяную баню, устройство для
освещения бани, укомплектованную корзинку с шестью дисками и стеклянный стакан
вместимостью 1 л.
Модель PTZ Auto 2EZ представляет собой полностью автоматизированную
версию прибора PTZ Auto с усовершенствованной электроникой и корзинами.
Двойной анализатор поддерживает независимую работу каждой корзины, что
позволяет максимально точно определить время распада каждого образца в корзине.
Высокопроизводительной системой из данного
ряда моделей является PTZ Auto 4EZ, применяемая при проведении непрерывного
тестирования. Она содержит четыре корзины РТ-МКТ, производит автоматическое
измерение температуры среды и бани, автоматическую регистрацию точки распада, а
также выдачу полного отчета о проведении испытания [5].
Следует сказать, что Комиссией по физиологической доступности
FDA тест
"Распадаемость" был признан неэффективным для определения
биоэквивалентности ЛП, так как абсорбция действующего вещества в кровь даже из
быстро распадающейся таблетки может быть медленной, если будет низкой скорость
высвобождения препарата из таблетки. Т.о. определение распадаемости не дает
достоверной информации о высвобождении ЛВ из таблеток, не позволяет сделать
заключение об их биодоступности, поэтому предпочтение отдается использованию
теста "Растворение" [11].
2.2
Растворение твердых лекарственных форм
Еще в 1968 году в Фармакопею США были включены первые 12 ЛП,
оценку которых проводили по тесту "Растворение" на приборе
"Вращающаяся корзинка". В 1983 году статья "Растворение"
введена в фармакопеи Великобритании, а также в дополнение к Фармакопее
Германии, во французскую, японскую и европейскую фармакопеи [11]. В 1985 году
показатель "Растворение" введен во второй том ГФ XI (раздел общей статьи
"Таблетки"), что позволило более объективно оценивать качество
твердых дозированных ЛФ [10]. В РФ действует общая фармакопейная статья (ОФС)
42-0003-04, регламентирующая проведение теста "Растворение" [12].
Более чем двадцатилетний опыт применения испытания
"Растворение" позволил существенно расширить границы его
использования. Данное испытание сегодня применяется:
1. При разработке ЛС с целью выбора оптимального
состава ЛФ и для оценки свойств действующих веществ, входящих в ее состав.
2. Для оценки биофармацевтических свойств ЛС с
модифицированным и контролируемым высвобождением в отношении количества
высвобождаемой дозы, пищевого влияния на биодоступность и т.д.
3. Для оценки стабильности ЛС.
. При оценке изменений в процессе производства, таких
как: незначительные изменения в составе; изменение в месте производства;
увеличение объемов производства; незначительные изменения в процессе
производства.
. Для сравнительных исследований профилей растворения
ЛС - дженериков [13].
Испытание "Растворение" определяет количество ЛВ,
которое в условиях, указанных в частной фармакопейной статье, за определенный
промежуток времени должно высвобождаться в среду растворения из твердой
дозированной ЛФ.
Скорость растворения или перехода ЛВ в
раствор из твердых ЛФ характеризует биодоступность ЛФ в условиях живого
организма, так как только молекулы растворенного вещества могут преодолеть
барьер из стенок клетки [7].
Во время растворения происходят два
процесса: высвобождение молекул из кристаллических связей и их диффузия в
растворитель.
Для определения скорости растворения было разработано
множество методов и устройств (с этой целью могут также использоваться и
устройства по определению распадаемости) [5]. При проведении испытания
применяются два основных технических принципа: методика "Смешивающего
сосуда" и проточная методика. Для выполнения первой используют дисковый
метод, метод с лабораторным стаканом, аппараты "Вращающаяся корзинка"
и "Лопастная мешалка", для второй - аппарат "Проточная
ячейка". Система "Смешивающего сосуда" принята всеми ведущими
зарубежными фармакопеями, а также ОФС 42-0003-04 [13].
Рис.2. Рабочая часть аппарата «Вращающаяся корзинка»
Дисковый метод. Этот метод пригоден для
определения фактической скорости растворения. Метод был многократно
модифицирован, предложенные изменения касались частоты вращения, вида рукояти
для крепления образца и регулировки движения растворителя.
В данном методе таблетка крепится
парафином к акриловой рукояти (диску), и с растворителем соприкасается только
одна поверхность таблетки. Рукоять с пробой вращается в сосуде со скоростью 300
- 400 об/мин.
Рис.3. Корзинка
Метод с использованием лабораторного стакана. В этом методе
перемешивание обеспечивается пропеллерной мешалкой, расположенной по центру, со
скоростью 60 об/мин. Чтобы предотвратить изменение положения образца, было
предложено вкладывание образца в рукоять или в корзинку. В другом исполнении
фиксация образца осуществляется пластинками, приспособленными для крепления
таблетки или капсулы. Пластинки изготавливаются из органического стекла или
тефлона и позволяют крепить шесть капсул или таблеток. При использовании такого
устройства исчезают трудности, связанные с оценкой капсул, которые имеют
тенденцию плавать на растворителе или прилипать к стенке.
Определение растворения в
аппарате "Вращающаяся корзинка". Рабочая часть прибора представлена на
рис. 2. Аппарат состоит из сосуда для растворения (С) с полусферическим дном
вместимостью 1000 мл, имеет двигатель с регулятором скорости и оснащен
перемешивающим элементом, который состоит из металлической оси (А) и
цилиндрической корзинки (В). Корзинка представлена на рис 3. Она состоит из
двух частей: первая приварена к перемешивающему элементу (центральному валу),
вторая часть - съемная, сделанная из сваренной прямым швом металлической проволочной
сетки. Аппарат оснащен водяной баней с постоянным объемом термостатируемой
жидкости [23].
Рис. 4. Аппарат «Лопастная мешалка».
Аппарат "Лопастная мешалка" (рис.4) состоит
из тех же частей, что и "Вращающаяся корзинка". Его отличие
заключается в использовании в качестве перемешивающего элемента лопастной
мешалки вместо вращающейся корзинки [12].
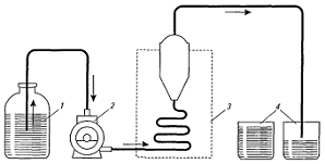
Рис.5. Аппарат «Проточная ячейка»
Проточный метод. Определение проводят на
аппарате "Проточная ячейка" (рис.5), который состоит из резервуара
для среды растворения (1), насоса (2), перекачивающего среду растворения через
проточную ячейку, термостатируемой проточной ячейки (3) и устройства для отбора
проб (4) [12]. Проточный метод с точки зрения последующего развития считается
перспективным. В сравнении с методом вращающейся корзинки он имеет преимущество
в менее интенсивном перемешивании, что приближает его к условиям in vivo [5]. Так же метод не
требует восполнения среды растворения [13]. А возможность применения постоянно
обновляющейся среды растворения делает этот тип аппарата наиболее приемлемым
для ЛС, в состав которых входят плохо растворимые ЛВ [14].
Для проведения испытания
"Растворение" производители выпускают современное оборудование.
Например, PharmaTest (Германия) производит более 20 видов установок для тестирования
на растворение таблеток и капсул.
В современных приборах предусмотрены
удобные электронные или жидкокристаллические дисплеи для отражения заданной и
текущей скорости перемешивания и температуры, времени тестирования, величины рН
и т.п. Существуют полностью автоматические высокопроизводительные системы
испытания на растворимость, позволяющие не останавливать эксперимент даже в
ночное время и в выходные дни [5].
Так, фирма VanKel Technology Group (Северная Каролина, США)
выпускает аппараты для выполнения теста "Растворение", которые имеют
полный микропроцессорный контроль и программирование параметров теста. Аппарат
оснащен автоматической системой ввода таблеток, встроенным принтером, он
оптимален для работы в комплексе со спектрофотометром УФ - видимой области.
В настоящее время в России для испытания
"Растворение" используются приборы следующих марок: Sotax (Швейцария), Vankel (США), Elnova (Erveka) (Германия), а также
прибор "ЛОРТС" производства АО "Гайот" (Санкт-Петербург).
Широких диапазон аппаратов, а также
необходимость стандартизации оборудования различных производителей требуют
разработки методик стандартизации для испытания "Растворение". Так,
фармакопеей США предусмотрена калибровка с использованием двух типов
таблеток-калибраторов: распадающегося и нераспадающегося типов [14]. В других
странах вопрос калибровки оборудования для проведения теста остается открытым
[3].
Для проведения теста "Растворение" помимо выбора
типа аппарата необходимо подобрать и такие условия как: среда растворения
(состав и объем), скорость вращения мешалки или скорость потока среды, время
отбора проб, аналитический метод количественного определения ЛВ,
высвободившегося в среду растворения и процентное содержание ЛВ, которое должно
высвободиться в среду растворения за нормируемое время [12].
В настоящее время тест "Растворение" широко
используется в научных исследованиях по оценке качества ЛС и их биодоступности.
Так, Кариевой Е.С. и Юнусовой Х.М. был разработан тест
"Растворение" для гранул сухого сиропа иммуномодулина. Для
исследований использовали гранулы по 0,01 г, полученные методом влажного
гранулирования. Испытания проводились на аппарате "вращающаяся
корзинка". В результате многочисленных исследований была выявлена
зависимость скорости растворения лекарственных веществ от ряда факторов, к
которым относятся значения рН и объем растворяющей среды, а также скорость
вращения самой корзинки. Таким образом были подобраны следующие режимы исследования
скорости высвобождения иммуномодулина из гранул: в качестве растворяющей среды
- вода очищенная, объем растворяющей среды - 500 мл, скорость вращения корзинки
- 100 об. /мин [15].
Титов И.В. (Московская медицинская академия им. И.М.
Сеченова) провел анализ ЛС группы фотрхинолонов методом теста
"Растворение". Исследования проводились с использованием аппарата
"Лопастная мешалка". В результате была разработана унифицированная
методика анализа субстанций и препаратов фторхинолонов [16].
Лебеденко В.Я. с использованием теста "Растворение"
провел сравнительную характеристику методов определения скорости высвобождения
ЛВ из таблеток норсульфазола и барбамила. Казлова Л.М. и Николаев А.С.
осуществили определение скорости высвобождения ацетилсалициловой кислоты из
таблеток [17].
Емшанова С.В. с соавторами (ММА им. И.М. Сеченова)
использовала тест "Растворение" для оценки фармацевтической
эквивалентности таблетированных ЛФ феназепама. Была проведена сравнительная
оценка (по профилям растворения) таблеток, полученных по действующей
технологии, таблеток с измененным составом вспомогательных компонентов и
таблеток, полученных с использованием размолотой субстанции [18].
Арзамасцев А.П. (ММА им. И.М. Сеченова) рассмотрел
возможность использования профиля растворения для оценки постоянства качества
ЛС. В процессе изготовления ЛС могут вноситься определенные изменения,
касающиеся, например, состава ЛФ. Так, исключение из состава красителей и
ароматизаторов не отражаются на качестве и эффективности действия ЛС и для них
достаточно подтверждения установленных ранее требований к качеству ЛС. А
изменение количественного состава наполнителей, введение вспомогательных
веществ с низкой растворимостью и проницаемостью требуют для оценки качества
проведения испытания "Растворение" в различных условиях в зависимости
от свойств ЛВ, входящих в ЛФ [19].
Стоит отметить, что применение теста "Растворение"
для оценки биодоступности ЛП вместо исследований in vivo возможно лишь для
таблеток и капсул, содержащих быстро растворимые лекарственные вещества.
Например, сделать предположение о биоэквивалентности препаратов-аналогов можно,
если они оба высвобождают 80% лекарственной субстанции за 10-15 минут в среде,
близкой к физиологическим условиям [20].
2.3
Прохождение лекарственных веществ через мембраны
В то время как в однокамерных моделях
исследуется скорость растворения твердого вещества в воде или в буферных
растворах, имитирующих соки желудочно-кишечного тракта, при измерении
прохождения лекарственных веществ в двух - и трехкамерных моделях определяется
растворение вместе с переходом растворенного вещества в жировую среду, что
соответствует прохождению лекарственного вещества через липоидный кишечный
барьер или прохождению лекарственного вещества из водной среды пищеварительного
тракта через кишечную мембрану в водную среду плазмы крови.
Мембраны моделей делятся на две группы:
первую составляют мембраны биоэкспериментальных моделей, которые служат
для биохимического и биофизического исследований роли и функции мембраны и
сконструированы на молекулярном уровне; вторую группу составляют быстро
транспортировочные мембраны, которые служат для исследования
транспортировки. Речь идет о проникании, при котором с одной стороны мембраны
возникает сорбция, а с другой - десорбция лекарственного вещества.
Методы и устройства для определения
высвобождения лекарственных веществ из лекарственных препаратов делятся на две
группы. Первую образуют двух - и трехкамерные модели без твердой мембраны,
вторую - устройства и методы, использующие мембрану, полученную различными
способами и содержащую в своем составе биологические элементы, которые хорошо
имитируют условия in vivo.
Методы и устройства без
твердой мембраны. Главный представитель двухкамерной модели - ресомат. Конструкция
устройства основана на сведении, что абсорбция лекарственного вещества зависит
от растворения в пищеварительных соках и от распределительного коэффициента
данного вещества между липоидной и водной фазой.
В ресомате вещество, растворенное в водной
среде, приходит в соприкосновение с липоидной фазой и быстро распределяется
между средами. Эта модель позволяет исследовать влияние вспомогательных
веществ, структуры лекарственного препарата, рН, вязкости.
К наиболее известным представителям
трехкамерных моделей без твердой мембраны относится трубочка в форме
перевернутой буквы эпсилон с водными фазами в обоих плечах и липоидной фазой,
соединяющей обе фазы. Когда ЛВ растворимо в одной из фаз, то при медленном
перемешивании колебательным движением устройства ЛВ распределяется во все три фазы.
Процесс транспортировки ЛВ можно определить количественно в любой из трех фаз.
Методы и устройства с
твердой мембраной. Ядром всех устройств, в которых используются твердые мембраны,
являются проницаемые ячейки, которые должны обеспечивать целостность мембраны,
константную температуру, позволять осуществлять перемешивание и взятие пробы.
Описано множество проницаемых ячеек, которые отличаются друг
от друга по форме и величине.
Различаются три основных типа проницаемых
ячеек. Относительно простой системой является горизонтальная, в которой
мембрана расположена между двумя камерами. Второй тип проницаемых ячеек имеет
мембрану, укрепленную на конце цилиндра, погруженного в емкость с большой
вместимостью. Третий тип проницаемых ячеек имеет вертикальную мембрану.
Наибольшее распространение получила
ресорбционная модель фирмы Sartorius. Наилучших результатов добились с мембранным
фильтром, пропитанным смесью кислоты каприловой с лауриловым спиртом. Для
измерений были использованы две проницаемые ячейки.
В первой из них водный раствор
лекарственного вещества находится в одной камере, вторая камера заполнена
искусственной плазмой. Во время опыта ячейка вращается вокруг оси
лекарственного вещества в плоскости мембраны, что обеспечивается движением
металлического диска, перемешивающего их содержание.
В другой - обе водные фазы (раствор
лекарственного вещества и искусственная плазма) находятся в двух подогретых
емкостях, содержимое которых перемешивается. С помощью насоса обе эти камеры
попадают в проницаемую ячейку, и наступает проникание. Количество
лекарственного вещества, прошедшего через мембрану, фиксируется через
определенные промежутки времени.
Ресорбционной модель Sartorius служит для определения
констант скорости лекарственных веществ. Полученные результаты находятся в
корреляции с величинами, полученными in vivo.
Прохождение ЛВ через мембраны используется
для определения биодоступности действующих веществ из различных ЛФ. Так,
например, Овчаренко Л.П. с соавторами (Пятигорская государственная
фармацевтическая академия) при разработке состава гранул, содержащих изониазид
и этамбутола гидрохлорид, для определения фармацевтической доступности применил
метод диализа через полупроницаемую мембрану. Диализ проводился через целлофан,
отмытый от лака, в качестве акцепторной фазы была использована вода. В ходе
эксперимента через каждые 10 минут отбирали по 5 мл диализата с немедленным
возмещением исходного объема акцепторной среды [21].
2.4
Высвобождение лекарственных веществ из мягких лекарственных форм
Оценка высвобождения лекарственных веществ
из мягких лекарственных форм (МЛФ), например мазей, определяется способностью
основы высвобождать лекарственные вещества.
В настоящее время разработано и предложено
много различных методов по определению высвобождения лекарственных веществ
мазевыми основами. Все эти методы можно разделить:
Ø на модельные опыты in vitro, основанные на
физико-химических и микробиологических исследованиях;
Ø биологические методы in vivo, проводимые на живых
организмах или изолированных органах.
ФИЗИКО-ХИМИЧЕСКИЕ И
МИКРОБИОЛОГИЧЕСКИЕ МЕТОДЫ
К этой группе методов следует отнести метод
агаровых пластинок. Суть метода состоит в том, что небольшое количество
испытуемой мази наносят на агаровый гель, содержащий реактив, который образует
окрашенные соединения с лекарственным веществом. По мере диффузии
лекарственного вещества из мази окрашенная зона геля увеличивается. Линейными
размерами этой зоны и может быть измерена степень диффузии вещества из мази.
В том случае, если действующие вещества
обладают антисептическими или бактерицидными свойствами, применяют микробиологический
тест. Определенное количество мази наносят на агаровый гель, содержащий
стандартную культуру микроорганизма. Микроорганизмы на питательной среде не
растут там, где для них оказывает влияние губительное действие диффундирующего
из мази вещества. Таким образом, вокруг мази образуется зона торможения,
которая отсутствует при применении неподходящей мазевой основы.
Наиболее часто используются методы
прямой диффузии, когда мазевая основа находится в непосредственном контакте
со средой (раствором, гелем и др.), в которую должно диффундировать
лекарственное вещество.
При применении хроматографического
метода необходима фильтровальная бумага, увлажненная раствором индикатора.
Мазь помещается в центре фильтровальной бумаги в небольшом цилиндре, открытом с
обоих концов. Скорость диффузии определяется путем измерения расстояния от
наружного края мази до наружного края окрашенной зоны на фильтровальной бумаге.
Сравнительно широко распространенным тестом
для определения высвобождения лекарственных веществ из мазей является метод
диффузии через мембрану, когда изучаемая мазь отделяется от диффузионной
среды какой-либо полупроницаемой мембраной, чаще целлофановой. Чтобы приблизить
условия опыта к условиям намазывания мази на кожу, используют устройство для
перемешивания мази.
Так, Соболевой В.А. и соавторами (Национальная
фармацевтическая академия Украины) было проведено биофармацевтическое
исследование гомеопатических мазей Arnica и Calendula методами диализа через целлофановую мембрану и
диффузии в агар. Скорость высвобождения контролировалась качественной реакцией
по степени окраски, которую давали фенольные гидроксилы, входящие в структуру
ДВ, с раствором хлорида окисного железа [22].
МЕТОДЫ С ХИМИЧЕСКОЙ
(ФИЗИКО-ХИМИЧЕСКОЙ) ДЕТЕКЦИЕЙ
При этих методах для оценки высвобождения
лекарственного вещества можно наблюдать или диффузию в жировой среде, или
диффузию в водной среде в форме гидрогеля, или проникание в жидкую среду.
Диффузия в жировой среде
(без перехода
через полупроницаемую мембрану) может исследоваться следующим образом: образец
мази наносится на площадь, обозначенную на фильтровальной бумаге, которая
кладется на раствор, представляющий рецепторную фазу. Степень диффузии вещества
определяется количественно в рецепторной фазе.
Диффузия в водной среде. Техника диффузии в среде
в форме гидрогеля аналогична технике опытов с микробиологической индикацией на
полотнах питательной среды. Нужно следить, чтобы образец мази имел очень тесный
контакт с гелем, поскольку фазовая реакция должна быть выразительной, а граница
цветовой зоны - четкой. Недостатком этих методов является тот факт, что
измерение диаметра окрашенной зоны сопряжено с довольно большой
экспериментальной погрешностью. Воспроизводимость результатов зависит от
способа подготовки геля и полотна, от химического состава показателя детекции,
от постоянства окраски образующегося соединения, продолжительности выдержки и
температуры.
Рецепторная фаза может быть водной (вода,
физиологический раствор, раствор Рингера, буферные растворы) или безводной.
Лекарственное вещество, которое в нее переходит, определяется химическими или
физико-химическими, а в настоящее время, как правило, спектральными методами.
Схемы устройств для проведения опытов представлены на рис.6, где А - образец
мази в камере или трубке, В - рецепторная фаза, С - целлофан.
Рис.6. Устройства для осуществления диффузии ЛВ через
мембрану
2.5
Высвобождение лекарственных веществ из ректальных лекарственных форм
Оценка высвобождения лекарственных веществ
из ректальных лекарственных форм (РЛФ) определяется способностью основы
высвобождать лекарственные вещества. Существует инструментальный (in vitro) и биологический (in vivo) подходы для определения
высвобождения. Широко применяется метод агаровых пластинок, который
отличается от такового для мазей способом нанесения суппозиторной массы после
расплавления суппозиториев на агаровый гель. Если действующие вещества обладают
антисептическими или бактерицидными свойствами, применяют микробиологический
тест.
Также применимыми для суппозиториев
являются методы прямой диффузии, диффузии через мембрану и хроматографический
метод Фармакопея XI издания предлагает метод Крувчинского - метод
равновесного диализа через полупроницаемую мембрану из природных или
синтетических материалов [10].
Испытание на распадаемость позволяет определить, размягчаются
или распадаются ректальные или вагинальные суппозитории в течение
установленного времени, если они помещены в жидкую среду в экспериментальных
условиях [5]. Испытанию подвергаются все суппозитории, пессарии, капсулы или
вагинальные таблетки, кроме предназначенных для модифицированного высвобождения
или местного пролонгированного действия, для которых проводиться тест "Растворение"
[6].

Прибор (Рис.7) состоит из прозрачного
стеклянного или пластмассового пустого цилиндра 1, внутри которого с
помощью трех зажимов 2 закреплено металлическое приспособление,
представляющее собой два перфорированных диска 3 из нержавеющего
металла. Испытания проводят, используя три таких приспособления, каждое из
которых содержит отдельный образец 5. Каждое приспособление помещают в
резервуар 6 с терморегулирующим устройством объемом не менее 4 л и
прикрывают стеклянной крышкой 4. Резервуар снабжен свободно вращающейся
мешалкой. Испытывают три суппозитория. Препарат выдерживает испытание, если все
образцы распались.
Наибольшее распространение для определения
распадаемости суппозиториев получило аналитическое оборудование фирмы PharmaTest (Германия), модель PTS ЗЕ и PTS WO.
Рис.8. Проточная кювета для липофильных твердых ЛФ
Суппозитории испытывают и на растворение. Для
этого используют проточный прибор для твердых лекарственных форм, но со
специальной кюветой, представленной на рис.8. Она состоит из трех прозрачных
частей, которые вставляются друг в друга. Среда растворения проходит через
камеру А и поднимается вверх. Движение потока в камере Б направлено
вниз к маленькому отверстию, которое ведет вверх к фильтрующему устройству.
Средняя часть II кюветы имеет полость, предназначенную для сбора липофильных
вспомогательных веществ, которые всплывают в среде растворения. Препарат
распространяется через среду растворения в соответствии со своими
физико-химическими свойствами. В обоснованных и разрешенных случаях испытанию
могут подвергаться представительные части суппозиториев большого размера [5].
Заключение
Биологическая доступность ЛФ - один из важных критериев
оценки терапевтической эффективности ЛС в процессе разработки их состава и
технологии.
Тщательное изучение биофармацевтических характеристик
лекарств необходимо в тех ЛФ, которые содержат системно действующие ЛВ и в
которых процессу абсорбции должен предшествовать процесс высвобождения. Это
прежде всего пероральные, оральные, ректальные, перкутанные ЛФ, а также
трансдермальные терапевтические системы.
Изучение биодоступности ЛП имеет большое значение в условиях
функционирования фармацевтического рынка России в настоящее время, когда
большую часть ассортимента ЛС составляют не оригинальные препараты, а
воспроизведенные.
Определение биодоступности in vitro и in vivo позволяет выявить ЛС
ненадлежащего качества. Для этого используются фармако - технологические тесты,
которые так или иначе способны оценить ЛП как средство доставки некоего
лекарственного начала к рецептору или мишени в организме.
Среди многообразия фармацевтических тестов in vitro, описанных в курсовой работе,
стоит отметить, как наиболее информативные, тест "Растворение" для
оценки высвобождения ДВ из твердых ЛФ, а также двух - и трехкамерные мембранные
модели для определения биодоступности ДВ в мягких и ректальных ЛФ. Среди
методов проведения испытания "Растворение" наиболее перспективным
является проточный метод.
Однако, сделать окончательное заключение о качестве лекарств,
об эквивалентности ЛП различных фирм производителей невозможно без проведения
тестов in vivo.
Список
используемой литературы
1. Мазеин
В.Т. Фальсифицированные ЛС: итоги 2006 года/ В.Т. Мазеин // Российские аптеки.
- 2007. - № 9. - С.52-54.
2. Белоусов
Ю.А. Дженерики - мифы и реалии/ Ю.А. Белоусов // Ремедиум. - 2003. - № 4. -
С.4-9.
. Борисова
Т. Фармакопейное качество - основание для применения препарата в медицинской
практике/ Т. Борисова // Фармацевтический вестник. - 2003. - № 14 (293).
. Ковтун
Л.И. Требования к проведению клинических испытаний биоэквивалентности
генерических препаратов/ Л.И. Ковтун // Провизор. - 2002. - № 3. - С.18-23.
. Биофармация:
учебник для студентов вузов/ [под ред.А.И. Тихонова]. - Х.: Изд-во НФаУ;
Золотые страницы, 2003. - 240с.
. Лебедев
А.А. Особенности проведения фармако - технологических испытаний согласно
требованиям Государственной фармакопеи Украины/ А.А. Лебедев // Провизор. -
2002. - № 10. - С. 20-24.
. Вальтер
М.Б. Постадийный контроль в производстве таблеток/ М.Б. Вальтер, О. Л,
Тютенков, Н.А. Филиппин. - М.: Медицина, 1982. - 208 с.
. Мнушко
З.Н. Фальсифицированные лекарственные средства: классификация, причины
распространения, меры борьбы/ З.Н. Мнушко, Л.В. Бондарева, И.В. Пестун, Н.М.
Омельченко // Провизор. - 2003. - № 17. - С.35-38.
. Ким
Г.А. Основные критерии выбора состава и технологии получения таблеток
комплексного противоалкогольного препарата/ Г.А. Ким, И.А. Девяткина, В.М.
Копелевич // Вестник ВГУ. - 2008. - № 1.
. Государственная
фармакопея: XI изд. - М.: Медицина, 1998. - Вып.1 - 2. - 397 с.
. Жердев
В.П. "Корреляция in vitro - in vivo": может ли тест
"Растворение" заменить исследования биоэквивалентности лекарственных
препаратов? / В.П. Жердев, Г.Б. Колыванов, А.А. Литвин // Фарматека. - 2003. -
№ 3. - С.109-111.
. Растворение:
общая фармакопейная статья Мин. ЗО и СР РФ № 42-0003-04. - 2004. - с.3-9.
. Арзамасцев
А.П. Сравнительная оценка уровня требований к испытанию
"Растворение"/ А.П. Арзамасцев, Н.П. Садчикова, Т.Ю. Лутцева //
Химико - фармацевтический журнал. - 2003. - № 1. - С.39-45.
. Арзамасцев
А.П. Проблема калибровки приборов для испытания "Растворение"/ А.П.
Арзамасцев, Н.П. Садчикова, Т.Ю. Лутцева, Г.В. Раменская, А.В. Королев //
Химико - фармацевтический журнал. - 2003. - № 10. - С.40-45.
. Кариева
Е.С. Изучение биодоступности детской лекарственной формы иммуномодулина/ Е.С.
Кариева, Х.М. Юнусова, Х.У. Алиев // Провизор. - 2003. - № 9. - С.28-32.
. Титов
И.В. Методические аспекты анализа ЛС группы фторхинолонов методом теста
"Растворение": автореф. дисс. на соискание уч. степ. канд. фарм.
наук/ И.В. Титов. - Москва, 2006. - 30 с.
. Актуальные
проблемы биофармации: сборник научных трудов/ [под ред.А.И. Тенцовой]. - М.:
Москва, 1978. - 98 с.
. Емшанова
С.В. Использование теста "Растворение" для оценки фармацевтической
эквивалентности таблетированных лекарственных форм феназепама/ С.В. Емшанова,
н. в. Гончарова, М.Е. Иванова, А.П. Зуев, Н.П. Садчикова // Химико -
фармацевтический журнал. - 2008. - № 1. - С.50-52.
. Арзамасцев
А.П. Оценка высвобождения лекарственных веществ из твердых дозированных
лекарственных форм в испытаниях in vitro/ А.П. Арзамасцев, Н.П. Садчикова, Т.Ю.
Лутцева // Фармация. - 2004. - № 4. - С.6-8.
. Киселева
Г.С. Биоэквивалентность и качество лекарственных средств/ Г.С. Киселева //
Провизор. - 1999. - № 4. - С.10-11.
. Овчаренко
Л.П. Обоснование состава и антимикробная активность гранул, содержащих изониазид
и этамбутола гидрохлорид/ Л.П. Овчаренко, Е.В. Компанцева, В.А. Ушакова, Л.С.
Кузнецова // Вестник ВолГМУ. - 2006. - № 17. - С.56-59.
. Соболева
В.А. Контроль качества гомеопатических препаратов Arnica и Calendula по
физико-химическим параметрам/ В.А. Соболева, Л.Ю. Клименко, Т.В. Калиниченко //
Провизор. - 2002. - № 16. - С.13-16.
. Практикум
по технологии лекарственных форм заводского производства/ [под ред. проф. В.Ф.
Селеменева, проф. Г.В. Шаталова]. - Воронеж: ВГУ, 1998. - 335 с.
. Промышленная
технология лекарств: учебник. В 2-х т. Том 2/ Чуешов В.И. [и др.]. - Х.:
МТК-Книга, 2002. - 716 с.
. Технология
лекарственных форм: учебник. В 2-х т. Том 2/ [под ред. Л.А. Ивановой]. - М.:
Медицина, 1991. - 544 с.