Тепловой расчет турбины Т-260/300-240
Курсовой
проект
По
дисциплине: Турбинные установки
На
тему: Тепловой расчет турбины Т-260/300-240
Выполнил:
студент III курса
группы
Набиева В.В.
Проверил:
Галичина А.В.
Гусиноозерск,
2011 г.
Введение
В настоящее время большинство паровых турбин,
установленных на электростанциях России не соответствуют современным
требованиям по выработке электрической и тепловой энергии и требуют
модернизации с целью повышения экономичности, надежности работы и улучшения
эксплуатационных характеристик с продлением паркового ресурса.
Учитывая опыт эксплуатации и новые
конструктивные разработки в области турбостроения, НПП «АРМС» разработало
комплексный подход, позволяющий рассматривать совокупность «котел - турбина -
генератор - вспомогательное оборудование» как единое целое, с оценкой их
технического состояния и определением оптимального объема работ по
модернизации. Для снижения затрат предлагается принцип «опциональной
достаточности», обеспечивающий возможность реализации как основной опции (минимально
необходимый объем для достижения целей модернизации) так и дополнительных опций
(по желанию «Заказчика»), усовершенствующих отдельные узлы, повышающих
надежность и эффективность. «Опциональный подход» позволяет формировать объем
проводимых работ исходя из принципа - «затраты - эффективность - надежность». В
основу предложений закладываются внедренные и доказавшие свою состоятельность
технические решения. Особое внимание при подготовке предложений уделяется
максимальному использованию существующего оборудования.
В рамках применения комплексного подхода НПП
«АРМС» совместно с «ЛМЗ» ОАО «Силовые машины» в период 2006-2008г.г. выполнили
комплексную модернизацию четырех турбоагрегатов типа ПТ-60(10)-130 в ОАО
«Мосэнерго» с увеличением тепловой и электрической мощности.
Паротурбинные установки Т-250/300-240-3 и
Т-260/300-240
Теплофикационные паровые турбины с отопительным
отбором пара Т 250/300-240-3 и Т-260/300-240 с начальным давлением пара 23,5
МПа предназначены для непосредственного привода электрического генератора
ТВВ-320-293 с частотой вращения ротора 50С-1 и отпуска тепла для нужд
отопления.
При заказе турбин, а также в другой документации
их следует обозначить «Турбина паровая Т-250/300-240-3 ТУ 108-1011-81» ,
«Турбина паровая Т-260/300-240».
Турбины соответствуют требованиям ГОСТ 3618-85,
ГОСТ 24276-85 и ГОСТ 26948-86.
Номинальные значения основных параметров турбины
|
Параметры
|
Т-250/300-240-3
|
Т-260/300-240
|
|
Мощность,
МВт: номинальная
|
250
|
260
|
|
максимальная
|
300
|
300
|
|
Начальные
параметры пара: давление, МПа абс.
|
23,5
|
23,5
|
|
температура,
°С
|
540
|
540
|
|
Параметры
пара после промежуточного перегрева: давление, МПа абс.
|
3,68
|
3,68
|
|
Температура,
°С
|
540
|
540
|
|
Тепловая
нагрузка ТДж/ч
|
1,465
|
1,465
|
|
Пределы
изменения давления пара в регулируемых отопительных отборах пара, МПа абс.: в
верхнем отборе (включены оба отопительных отбора)
|
0,059…0,196
|
-
|
|
в
нижнем отборе (верхний отопительный отбор отключен)
|
0,049…0,147
|
-
|
|
Температура
воды, °С: питательной
|
-
|
263
|
|
охлаждающей
|
-
|
20
|
|
Расход
охлаждающей воды, т/ч
|
|
28000
|
|
Давление
пара в конденсаторе при конденсационной мощности 250 МВт, кПа абс.
|
|
5,8
|
Турбины имеют одинаковое конструктивное
исполнение. Приведенное здесь описание относится к турбине Т-250/300-240-3.
Турбина имеет два отопительных отбора пара -
нижний и верхний, предназначенные для ступенчатого подогрева сетевой воды.
При ступенчатом подогреве сетевой воды паром
двух отопительных отборов регулирование поддерживает заданную температуру
сетевой воды за верхним сетевым подогревателем. При подогреве сетевой воды паром
только нижнего отопительного отбора температура сетевой воды поддерживается за
нижним сетевым подогревателем.
Номинальная суммарная тепловая нагрузка
отопительных отборов обеспечивается при номинальных параметрах свежего пара;
номинальной температуре пара промежуточного перегрева; номинальной температуре
охлаждающей воды на входе в конденсатор; полностью включенной регенерации;
количестве воды, подогреваемой в ПВД, равном 100% расхода пара на турбину; при
работе турбоустановки по схеме со ступенчатым подогревом сетевой воды в сетевых
подогревателях и минимальном количестве пара, поступающего в конденсатор.
Мощность турбины при этом зависит от температуры
подогрева сетевой воды и при пропуске ее через сетевые подогреватели около
7000т/ч составляет
|
255МВт
|
при
подогреве
|
от
35 до 85°С
|
|
253МВт
|
при
подогреве
|
от
42 до 91°С
|
|
250МВт
|
при
подогреве
|
от
45 до 95°С
|
Максимальная температура подогрева сетевой воды
при расходе свежего пара 900…980т/ч составляет около 118°С.
Турбина имеет семь регулируемых отборов пара, предназначенных
для подогрева питательной воды в ПНД № 1, 4, 5, деаэраторе и ПВД до температуры
263°С (при номинальной нагрузке турбины и один нерегулируемый отбор для питания
приводной турбины главного питательного насоса (трубопривода).
ПНД № 2 и 3 питаются паром из отопительных
отборов.
Данные по регенеративным отборам пара и отбору
пара на турбопривод приведены в таблице 1.
Характеристика отборов Таблица 1
|
Потребитель
пара
|
Параметры
пара в камере отбора
|
Количество
отбираемого пара, т/ч
|
|
Давление,
МПа абс.
|
Температура
°С
|
|
|
ПВД
№8
|
5,62
|
342
|
48,2
|
|
ПВД
№7
|
4,06
|
302
|
92,8
|
|
Турбопривод
|
2,50
|
488
|
151
|
|
ПВД
№6
|
1,72
|
436
|
35,5
|
|
Деаэратор
|
0,976
|
361
|
16,5
|
|
ПНД
№5
|
0,544
|
348
|
17,0+13,2
|
|
ПНД
№4
|
0,284
|
229
|
38,9
|
|
ПНД
№3
|
0,093
|
128
|
16,3
|
|
ПНД
№2
|
0,027
|
68
|
2,5
|
|
ПНД
№1
|
-
|
-
|
-
|
Максимальная мощность турбины 300МВт достигается
при включенных отопительных отборах, отсутствии нерегулируемых отборов сверх
отборов на регенерацию, полностью включенной регенерации, расходе охлаждающей
воды через конденсатор 28000 м3/ч с температурой 20°С на входе.
При частичных отопительных нагрузках мощность
турбины в зависимости от величины отопительной нагрузки изменяется от 250 до
300 МВт.
Предусмотрена возможность работы турбины по
тепловому графику с минимальным пропуском пара в конденсатор с конденсацией
этого пара циркуляционной водой при ее пропуске через всю поверхность
охлаждения или только через встроенный пучок.
Работа по тепловому графику возможна также при
охлаждении конденсатора подпиточной водой, в том числе сырой, подаваемой только
во встроенный пучок. При этом тепло пара, поступающего в конденсатор,
используется для подогрева подпиточн6ой воды и тепловая нагрузка турбины
увеличивается.
Одновременный пропуск подпиточной воды через
встроенный пучок и циркуляционной воды через основную поверхность конденсатора
возможен при разности температур подпиточной и циркуляционной воды на входе не
более 20°С.
Минимальное количество пара, поступающего в
конденсатор при закрытых задвижках на ресиверах подвода пара в ЧНД и охлаждении
ЧНД за счет подачи пара через охлаждающее устройство, равно 25…30т/ч.
Допускается длительная работа турбины при
следующих изменениях значений основных параметров:
давление свежего пара от 23,046 до 24,026 МПа;
температуры свежего пара от 530 до 545°С;
температуры пара после промежуточного перегрева
от 530 до 545°С;
температуры охлаждающей воды на входе в
конденсатор до 33°С.
Работа турбины с температурой охлаждающей воды
выше 33°С допускается при условиях, исключающих расход пара в конденсатор сверх
допустимой на данном режиме величины.
В турбине допускается:
общее число пусков за весь срок службы до 600,
из них не более 100 пусков из холодного состояния;
число глубоких плановых разгрузок в диапазоне
допустимых нагрузок до 250 в год;
изменение нагрузки при установившемся режиме на
25%;
скорость набора нагрузки после останова на
выходные дни (22…55ч.) не менее 0,7% от номинальной мощности в минуту;
скорость набора нагрузки после останова на ночь
без расхолаживания не менее 1% в минуту;
скорость набора тепловой нагрузки не менее 3% от
номинальной в минуту.
Фикспункт турбины расположен на оси турбины, в
точке ее пересечения с осевой линией поперечных шпонок боковых опор выхлопной
части, расположенных со стороны ЧСД. Расширение турбины происходит как в
сторону переднего подшипника, так и в сторону генератора.
Турбина снабжена валоповоротным устройством с
приводом от электродвигателя, вращающим ротор с частотой вращения ≈ 4
об/мин.
Имеется устройство, обеспечивающее
автоматический поворот ротора остывающей турбины через каждые 15 мин. на 180°.
Конструкция турбины
Турбина представляет собой одновальный агрегат,
состоящий из четырех цилиндров и выполненный по схеме: 1 ЦВД +2 ЦСД (ЦСД - I
и ЦСД II)+1 ЦНД.
Свежий пар подводится к двум отдельным блокам
клапанов. Каждый блок представляет собой комбинацию одного стопорного и трех
регулирующих клапанови обслуживает три группы сопл. Пар от регулирующих
клапанов по десяти трубам подводится к четырем сопловым коробкам.
ЦВД - двустенный, противоточный, имеет 12
ступеней, в том числе одну регулирующую степень и пять ступеней давления в
левом потоке. Пройдя левый поток, пар совершает поворот на 180° и направляется
между наружными и внутренними корпусами в ступени первого потока, в котором
установлено шесть ступеней.
Парораспределение ЦСД осуществляется двумя
блоками отсечных и регулирующих клапанов.
ЦСД - I
однопоточный, одностенный с четырьмя обоймами, имеет десять ступеней давления.
Из него пар давлением 0,539 МПа абс. поступает в двухпоточный ЦСД - II,
в каждом потоке которого имеется шесть ступеней, из которых четыре ступени
предшествуют верхнему отопительному отбору, и две -расположены между верхним и
нижним отопительным отборами. После ЦСД - II
часть пара может направляться в нижний отопительный отбор, а оставшийся пар
идет в ЦНД.
ЦНД - двустенный, двухтопочный, в каждом потоке
размещено по три ступени, в том числе первая - регулирующая. Пропуск пара в ЦНД
регулируется поворотными регулирующими диафрагмами.
Длина рабочей лопатки последней ступени равна
960мм., средний диаметр рабочего колеса этой ступени - 2390мм.
Ротор ЦВД и ЦСД-I
- цельнокованые, роторы ЦСД-II
и ЦНД имеют насадные диски. Ротор ЦВД соединяется с ротором ЦСД-I
с помощью жесткой муфты. Эти роторы имеют три опоры, каждый из остальных
роторов - по две опоры. Ротор ЦСД -II
соединяется с ротором генератора с помощью жесткой муфты.
Критические частоты вращения роторов в системе
валопривода турбины и генератора ТВВ-320-2 приведены в таблице 2.
Таблица 2
|
Тон
колебаний
|
Критическая
частота вращения, об/мин
|
|
I
|
|
|
Ротор
генератора
|
950
|
|
РСД
- II
|
1590
|
|
РСД
- I
|
1680
|
|
РВД
|
1690
|
|
РНД
|
1100
|
|
II
|
|
|
Ротор
генератора
|
2800
|
В предпоследние отсеки уплотнений из двух
коллекторов подается пар под давлением несколько выше 0,098МПа с температурой
не менее 140°С. Давление в коллекторах автоматически поддерживается электронными
регуляторами, коллекторы питаются паром из бака деаэратора. С целью обеспечения
пуска турбины из горячего состояния и повышения его маневренности во время
работы под нагрузкой температура пара, подаваемого в уплотнения ЦВД и ЦСД-I
может быть повышена за счет подмешивания горячего пара от штоков клапанов или
от постороннего источника. Из последних отсеков уплотнений паровоздушная смесь
отсасывается электроном отсоса из уплотнений. Для сокращения времени прогрева и
улучшения условий пуска турбины предусмотрен паровой обогрев фланцев и шпилек
ЦВД и ЦСД -I.
Пуск турбины из различных тепловых состояний (от
подачи пара в турбину до взятия номинальной нагрузки) может быть произведен за
время, указанное ниже
|
Из
холодного состояния
|
6ч.
30мин.
|
|
После
8ч. простоя
|
2ч.
30мин.
|
|
После
24ч. простоя
|
2ч.
50мин.
|
|
После
48ч. простоя
|
3ч.
20мин.
|
Для сокращения времени прогрева и улучшения
условий пуска турбины предусмотрен паровой обогрев фланцев и шпилек ЦВД и СЦД-I.
Лопаточный аппарат турбины рассчитан и настроен
на работу при частоте сети 50 Гц, что соответствует частоте вращения ротора
50с-1.
При аварийном снижении частоты допускается
кратковременная работа турбины:
51,0…50,5 Гц - один раз продолжительностью 10с.,
но не более 1 мин. в год.
49,0…48,0 Гц - один раз продолжительностью 2
мин., но не более 12 мин. в год.
,0…47,0 Гц - один раз продолжительностью 1 мин,
но не более 6 мин. в год.
47,0…46,0 Гц - один раз продолжительностью 10с.,
но не более 1 мин. в год.
Регулирование и защита
турбоагрегат электрический мощность подшипник
Турбина снабжена электрогидравлической системой
автоматического регулирования, предназначенной для поддержания в заданных
пределах в зависимости от режима работы турбины, частоты вращения ротора
турбогенератора, давления пара (температуры сетевой воды в одном из
отопительных отборов или тепловой нагрузки турбины).
Система регулирования выполнена статически
автономной с гидравлическими передаточными связями. При мгновенной сбросе
электрической нагрузки с генератора система регулирования турбины ограничивает
возрастание частоты вращения ротора величиной, которая менее уровня настройки
автомата безопасности.
Запроектированные системы автоматики допускают
применение вызывной системы управления и измерения управляющей вычислительной
машины и автомата пуска.
Турбоустановка имеет устройства защиты,
предупреждающие аварийную ситуацию путем воздействия на органы управления
оборудованием с одновременной подачей сигнала. Гидравлический регулятор частоты
вращения предназначен для поддержания частоты вращения ротора турбины с
неравномерностью 4,5+0,5% от номинальной.
Регулятор частоты вращения имеет ограничитель
мощности, предназначенный в нужных случаях для ограничения открытия
регулирующих клапанов регулятором. Турбина снабжена регулятором мощности,
поддерживающим электрическую нагрузку турбины.
Для защиты турбины от недопустимого нарастания
частоты вращения в случае неисправности системы регулирования служит автомат
безопасности с двумя независимыми бойками кольцевого типа, которые настроены на
мгновенное срабатывание при достижении ротором частоты вращения в пределах
11…12 % сверх номинальной.
Турбина снабжена регулятором отбора, который
автоматически поддерживает температуру сетевой воды на установленном уровне.
Регулятор отбора содержит гидравлический регулятор давления, выполняющий
защитные функции и электронный регулятор температуры, обеспечивающий
автоматическое поддержание температуры сетевой воды с точностью ± 0,5°С.
При работе турбины по электрическому графику
температура сетевой воды поддерживается за счет изменения расхода пара через
турбину, определяемого открытием клапанов ЦВД и регулирующих диафрагм,
установленных за 28-ой ступенью.
Турбоустановка снабжается системами контроля,
сигнализации и дистанционного управления, позволяющими производить пуск,
останов и управление работающей турбоустановки с дистанционного щита управления
и выполнение отдельных операций на месте.
Система маслоснабжения предназначена для
обеспечения смазкой подшипников турбины, генератора, питательного электронасоса
маслом марки Тн-22С ТУ 38.101.821-83.
В баке емкостью 66м3 установлены фильтры и
воздухоотделительное устройство. Бак снабжен указателями уровня, имеющими
показания по месту и дистанционное.
Для подачи масла в систему смазки предусмотрены
два электронасоса переменного тока (один резервный) и два электронасоса
постоянного тока (аварийные).
Конденсационная установка включает в себя
конденсаторную группу, воздухоудаляющее устройство, конденсаторные и
циркуляционные насосы, электор циркуляционной системы, водяные фильтры.
Конденсаторная группа состоит из одного
конденсатора со встроенным пучком общей площадью поверхности 1380м3 и
предназначена для конденсации поступающего в него пара, создания разрежения в
выхлопном патрубке турбины и сохранения конденсата, а так же для использования
тепла пара, поступающего в конденсатор, на режимах работы по тепловому графику
для подогрева подпиточной воды во встроенном пучке.
Конденсатор представляет собой горизонтальный
поверхностный пароводяной трехпоточный (по воде) теплообменный аппарат и
рассчитан на работу в системе оборотного и прямоточного водоснабжения на
пресной охлаждающей воде.
Конденсатор состоит из цельносварного корпуса,
выполненного заодно с водяными камерами и трех трубных пучков - двух основных и
одного встроенного. Поверхность теплообмена всех пучков образована прямыми
трубами, развальцованными с обеих сторон в трубных досках.
Воздухоудаляющее устройство предназначено для
обеспечения нормального процесса теплообмена в конденсаторе и теплообменных
аппаратах, находящихся под разряжением, а так же для быстрого набора вакуума
при пуске турбоустановки и включает в себя два основных трухступенчатых и один
пусковой одноступенчатый пароструйных эжектора.
Для отвода конденсата из конденсатосборников
конденсатора и подачи его в блочную обессоливающую установку турбоустановка
имеет три конденсатных насоса 1-й ступени, а для подачи конденсата в деаэратор
- три конденсатных насоса, которые приводятся в действие электродвигателями
переменного тока.
Циркуляционные насосы предназначены для подачи
охлаждающей воды в конденсатор и маслоохладители турбины, а также в
газоохладители генератора.
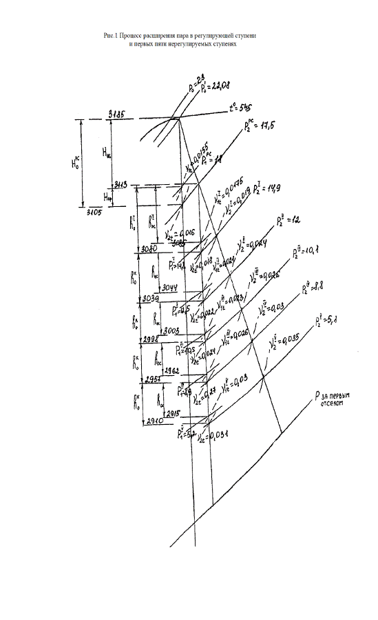
Расчет расхода пара на турбину
Давление
пара перед соплами регулирующей ступени с учетом потерь на дросселирование в
регулирующем клапане:
Ро´=
(0,95÷0,96)·Ро=0,96·23
= 22,08кПа
Давление пара за последней ступенью турбины с
учетом потерь в выключенном патрубке:
Строим процесс в hs-диаграмме,
из которого определяем располагаемый теплоперепад с учетом потерь на
дросселирование в регулирующем клапане:
Но´
= ho-hкл
= 3185-1860 = 1325 кДж/кг
Оринтировачный расход пара на
турбину:
где Gmo =
640·1000/3600 = 177,7
Определяем уточненный расход
пара на турбину.
Задаемся теплопериодом
регулирующей
ступенью:
В hs - диаграмме
по изоэнтропе откладываемый выбранный тепловой период на регулирующую ступень:
H2tрс = ho-Hoрс = 3185-80
= 3105
Для того, чтобы найти точку начала процесса в
нерегулируемых ступенях, необходимо учесть потери регулирующей ступени. Для
этого определяем внутренний относительный КПД ступени.
oipc = 0,83-Go0,2·
= 0,83-
=0,80
Определяем действительный теплоперепад
регулирующей ступени.
Hipc=Hopc·ɳoIpc=80·0,80=64кДж/кг
Откладываем h2pc=h0i=3185-64=3121
на hS -диаграмме до
пересечения с изобарой Р2рс= 17,5, получим точку начала процесса в
нерегулируемых ступенях.
Расчет первого отсека
Определяем располагаемый
теплоперепад 1 отсека.
Определяем ɳoI´
(внутренний относительный КПД первого отсека), %. Для этого определяем объемный
расход пара первого отсека G0·ν0I=5м3/сек.
Определяем действительный
теплоперепад 1 отсека.
Строим действительный процесс
расширения пара 1 отсека в hS-диаграмме.
Расчет 2 отсека
Из hS-диаграммы
определяем параметры на входе во 2-ой отсек
Определяем располагаемый
теплопериод 2-го отсека
Определить
отсека.
Для этого определяем объемный расход
пара 2-го отсека
Объемному расходу пара и степени
расширения определяем

определяем по конечной влажности в
теоретическом процессе и приведенной теоретической конечной влажности.

Определяем действительный
теплоперепад 2-го отсека.
Строим действительный процесс расширения пара
2-го отсека в hS-диаграмме.
Расчет 3 отсека
Определяем
давление пара на входе в 3-ий отсек с учетом потерь на дросселирование в
регулирующих органах теплофикационного отбора.
Определяем располагаемый
теплоперепад 3-го отсека.
Определить
отсека.
Для этого определяем объемный расход пара 3-го
отсека
По объемному расходу пара и степени
расширения определяем

Определяем ∆hoi вл по
приведенной теоретической конечной влажности и по среднему давлению в 3-ем
отсеке.
Из этого следует
=0,09
Определяем действительный
теплоперепад 3 отсека
Строим действительный процесс расширения пара
3-го отсека в hS-диаграмме
Действительный теплоперепад
турбины
Уточняем расход пара на турбину
Расчет регулирующей ступени
Определение среднего диаметра
ступени.
Величина теплового перепада
Фиктивная изоэнтропийная
скорость
Оптимальное отношение скоростей
Окружная скорость вращения
рабочих лопаток
Средний диаметр ступени
Расчет сопловой решетки
Располагаемый теплоперепад
сопловой решетки
Абсолютная теоретическая скорость потока пара на
выходе из сопловой решетки при изоэнтропийном расширении пара.
Число Маха для теоретического
процесса расширения пара.
где
- скорость звука на выходе из
сопловой решетки при изоэнтропийном расширении.
Расчет суживающих сопл при
докритическом истечении пара.
Сечение для выхода пара из
сопловой решетки.
Произведение степени парциальности ступени на
высоту сопловой решетки.
Оптимальная степень
парциальности.
Высота сопловой решетки.
Потеря энергии в соплах.
По характеристике выбранной
сопловой решетки принимаются:
Шаг решетки.
Число каналов сопловой решетки.
Уточняем шаг в сопловой
решетке.
Расчет рабочей решетки
Располагаемый теплоперепад
рабочей решетки.
Абсолютная скорость входа пара
на рабочие лопатки.
Строим входной треугольник
скоростей.
C1
U
Из треугольника скоростей определяем
относительную скорость w1
= м/с и относительный угол входа потока пара на рабочую решетку в1=21°.
Высота рабочей лопатки.
Теоретическая относительная скорость пара на
выходе рабочей решетки.
Действительная относительная скорость пара на
выходе из рабочей решетки.
Относительный угол входа потока
пара на рабочую решетку.

По полученным значениям строим
выходной треугольник скоростей.
С2
U
Из выходного треугольника скоростей определяем
действительную скорость С2=75м/с и угол выхода потока пара из рабочей решетки
а2=60°.
Потеря энергии в рабочей
решетке
Потеря энергии с выходной
скоростью.
Число Маха
По характеристике выбранной
рабочей решетки принимаются:
Шаг решетки

Уточняем шаг в рабочей решетке.
Изгибающее напряжение в рабочей
лопатке
Окружное усилие, действующее на лопатки.
В ступенях с парциальным подводом
пара допустимое изгибающее напряжение
, если
, то
необходимо увеличить хорду профиля на значение:
, отсюда
, далее
следует пересчитать геометрические характеристики профиля:
Относительный лопаточный КПД
ступени
а) по потерям в ступени.
б) по проекциям скоростей.
Относительный внутренний КПД
ступени.
где
Полезно используемый
теплоперепад в регулирующей ступени.
Внутренняя мощность ступени.
Расчет нерегулируемых ступеней части
высокого давления.
Диаметр первой нерегулируемой
ступени.
Оптимальное отношение
скоростей.
Располагаемый теплоперепад
первой нерегулируемой ступени.
Теплоперепад в сопловой
решетке.
Высота сопловой решетки
где теоретическая скорость истечения
пара из сопловой решетки.
Высота рабочей решетки первой
ступени
Корневой диаметр ступени
Располагаемый теплоперепад по статическим
параметрам пара перед ступенью принимаем одинаковым для всех ступеней, кроме
первой.
Коэффициент возврата тепла.
где ориентировочное число ступеней отсека:
Число ступеней отсека:
Невязка
, должна
быть распределена между всеми ступенями первого отсека.
Поправка к теплоперепаду для
каждой ступени.
Скорректированный теплоперепад
ступени (кроме первой).
Сводная таблица расчета для первых пяти ступеней
в отсеке высокого давления
|
№
п/п
|
Наименование
величины
|
Обозначение
|
Размер
ность
|
Формула
|
№
|
|
|
|
|
|
1
|
2
|
3
|
4
|
5
|
|
1.
|
Скорректированный
располагаемый теплоперепад ступени
|
 Для первой ступени (п.19) для
следующих четырех (п.28)4741414141
|
|
|
|
|
|
|
|
|
2.
|
Удельный
объем пара за рабочей решеткой
|
 Из hS-диаграммы0,0190,0240,0260,030,035
|
|
|
|
|
|
|
|
|
3.
|
Произведение
высоты рабочей решетки на диаметр ступени
|
  0,0350,0420,0450,0520,063
|
|
|
|
|
|
|
|
|
4.
|
Высота
рабочей решетки
|
  0,0410,0490,0520,060,07
|
|
|
|
|
|
|
|
|
5.
|
Высота
сопловой решетки
|
  0,0380,0460,0490,0570,066
|
|
|
|
|
|
|
|
|
6.
|
Диаметр
ступени
|
   0,840,850,8580,860,87
|
|
|
|
|
|
|
|
Подробный расчет первых пяти нерегулируемых
ступеней
Сводная таблица результатов расчета пяти
нерегулируемых ступеней турбины
|
№п/п
|
Наименование
величины
|
Обозначение
|
Размерность
|
Порядок
определения
|
№
|
|
|
|
|
|
1
|
2
|
3
|
4
|
5
|
|
1.
|
Расход
пара
|
G
|
кг/c
|
Из
предварительного расчета (п.7)
|
295
|
295
|
295
|
295
|
295
|
|
2.
|
Теплоперепад
ступени по статическим параметрам
|
 Из предварительного расчета
(п.29.1)4741414141
|
|
|
|
|
|
|
|
|
3.
|
Давление
за ступенью
|
Р2
|
МПа
|
Из
hS-диаграммы
|
14,9
|
12
|
10,1
|
8,8
|
5,1
|
|
4.
|
Условная
скорость истечения пара из сопл
|
Сф
|
м/с
|
306286286286286
|
|
|
|
|
|
|
5.
|
Средний
диаметр ступени
|
d
|
м
|
Из
предварительного расчета (п.29.6)
|
0,84
|
0,85
|
0,858
|
0,86
|
0,87
|
|
6.
|
Окружная
скорость на среднем диаметре
|
U
|
м/с
|
131,88133,45134,7135,02136,59
|
|
|
|
|
|
|
7.
|
Оптимальное
отношение скоростей
|
Хф
|
|
0,430,460,470,4720,477
|
|
|
|
|
|
|
8.
|
Степень
реакции
|
Из
предварительного расчета (п.18)0,120,120,120,120,12
|
|
|
|
|
|
|
|
|
9.
|
Располагаемый
теплоперепад сопловой решетки от параметров торможения
|
  4236363636
|
|
|
|
|
|
|
|
|
10.
|
Теоретический
удельный объем пара за сопловой решеткой
|
 Из hS-диаграммы0,01750,0210,0230,0260,03
|
|
|
|
|
|
|
|
|
11.
|
Давление
за сопловой решеткой
|
МПаИз hS-диаграммы14,812,510,58,95,2
|
|
|
|
|
|
|
|
|
12.
|
Абсолютная
теоретическая скорость выхода пара из сопловой решетки
|
м/с 290268268268268
|
|
|
|
|
|
|
|
|
13.
|
Скорость
звука на выходе из сопловой решетки
|
м/с где
к=1,3580584560548450
|
|
|
|
|
|
|
|
|
14.
|
Число
Маха
|
 0,50,450,470,480,59
|
|
|
|
|
|
|
|
|
15.
|
Коэффициент
расхода сопловой решетки
|
По рис.
130,930,930,930,930,93
|
|
|
|
|
|
|
|
|
16.
|
Выходная
площадь сопловой решетки
|
  0,0190,0240,0270,030,035
|
|
|
|
|
|
|
|
|
17.
|
Средний
угол выхода пара из сопловой решетки
|
градДля
первой ступени принимают в п.18, для 2-ой и 3-ей принято на 1°больше, для
4-ой и 5-ой 2° больше1112121313
|
|
|
|
|
|
|
|
|
18.
|
Профиль
сопловой решетки
|
|
|
Из
альбома профилей
|
С90-12А
|
С90-12А
|
С90-12А
|
С90-12А
|
С90-12А
|
|
19.
|
Хорда
профиля
|
ммИз
альбома профилей62,562,5
|
62,5
|
62,5
|
62,5
|
|
|
|
|
|
20.
|
Ширина
профиля
|
ммИз
альбома профилей3434
|
34
|
34
|
34
|
|
|
|
|
|
21.
|
Относительный
шаг сопловой решетки
|
ммИз
альбома профилей0,850,85
|
0,85
|
0,85
|
0,85
|
|
|
|
|
|
22.
|
Шаг
сопловой решетки
|
мм 5252
|
52
|
52
|
52
|
|
|
|
|
|
23.
|
Количество
сопл
|
шт. 5051
|
51
|
52
|
52
|
|
|
|
|
|
24.
|
Высота
сопловой решетки
|
мИз
предварительного расчета (п.29.5)0,0380,046
|
0,049
|
0,057
|
0,066
|
|
|
|
|
|
25.
|
Коэффициент
скорости сопловой решетки
|
 0,960,969
|
0,97
|
0,975
|
0,98
|
|
|
|
|
|
26.
|
Абсолютная
скорость выхода пара из сопловой решетки
|
м/с 278259
|
259
|
261
|
269
|
|
|
|
|
|
27.
|
Построение
выходного треугольника скоростей
|
|
|
|
|
|
|
|
|
|
28.
|
Угол
направления относительной скорости
|
градИз
треугольника скоростей2123
|
25
|
27
|
29
|
|
|
|
|
|
29.
|
Относительная
скорость выхода пара из сопловой решетки
|
м/сИз
треугольника скоростей150130
|
125
|
119
|
110
|
|
|
|
|
|
30.
|
Потеря
энергии в сопловой решетке
|
кДж/кг 3,362,52
|
2,16
|
1,18
|
0,72
|
|
|
|
|
|
31.
|
Располагаемый
теплоперепад рабочей решетки
|
кДж/кг 5,64,9
|
4,9
|
4,9
|
4,9
|
|
|
|
|
|
32.
|
Теоретическая
относительная скорость пара на выходе из рабочей решетки
|
м/с 183160
|
159
|
154
|
147
|
|
|
|
|
|
33.
|
Теоретический
удельный объем пара за рабочей решеткой
|
 Из hS-диаграммы0,0180,022
|
0,024
|
0,027
|
0,031
|
|
|
|
|
|
34.
|
Скорость
звука на выходе из рабочей решетки
|
м/с 600580
|
550
|
520
|
440
|
|
|
|
|
|
35.
|
Число
Маха
|
 0,540,38
|
0,34
|
0,32
|
0,31
|
|
|
|
|
|
36.
|
Эффективный
угол выхода пара с рабочей решетки
|
 1619
|
20
|
24
|
29
|
|
|
|
|
|
37.
|
Коэффициент
расхода рабочей решетки
|
По
рис.130,940,94
|
0,94
|
0,94
|
0,94
|
|
|
|
|
|
38.
|
Выходная
площадь рабочей решетки
|
 0,030,04
|
0,05
|
0,057
|
0,07
|
|
|
|
|
|
39.
|
Высота
рабочей решетки
|
Из
предварительного расчета0,0410,049
|
0,052
|
0,06
|
0,07
|
|
|
|
|
|
40.
|
Профиль
рабочей решетки
|
|
|
Из
альбома профилей
|
Р-26-17А
|
Р-26-17А
|
Р-30-21А
|
Р-30-21А
|
Р-46-29А
|
|
41.
|
Хорда
профиля
|
Из альбома
профилей25,7225,71
|
25,63
|
25,62
|
25,6
|
|
|
|
|
|
42.
|
Ширина
профиля
|
Из альбома
профилей2525
|
25
|
25
|
25
|
|
|
|
|
|
43.
|
Относительный
шаг рабочей решетки
|
Из альбома
профилей0,60,7
|
0,58
|
0,69
|
0,5
|
|
|
|
|
|
44.
|
Шаг
рабочей решетки
|
 1515
|
15
|
15
|
15
|
|
|
|
|
|
45.
|
Коэффициент
скорости рабочей решетки
|
 0,95120,952
|
0,954
|
0,956
|
0,96
|
|
|
|
|
|
46.
|
Относительная
скорость пара на выходе из рабочей решетки
|
 169148
|
145
|
132
|
|
|
|
|
|
47.
|
Построение
выходного треугольника скоростей
|
|
|
|
|
|
|
|
|
|
48.
|
Количество
рабочих лопаток
|
 175177
|
179
|
180
|
182
|
|
|
|
|
|
49.
|
Угол
выхода потока пара из рабочей решетки
|
Из
треугольника скоростей5165
|
73
|
90
|
96
|
|
|
|
|
|
50.
|
Абсолютная
скорость пара на выходе из рабочей решетки
|
Из
треугольника скоростей6555
|
50
|
65
|
70
|
|
|
|
|
|
51.
|
Окружное
усилие, действующее на рабочие лопатки
|
H 89 38576
700
|
74 340
|
69 620
|
63 130
|
|
|
|
|
52. Изгибающее
напряжение на рабочих лопатках
МПа
|
где
66,567,468,673,677,1
|
|
|
|
|
|
|
|
|
|
53.
|
Потери
энергии в рабочей решетки
|
кДж/кг 1,671,28
|
1,26
|
1,18
|
1,08
|
|
|
|
|
|
54.
|
Потеря
энергии с выходной скоростью
|
кДж/кг 2,111,51
|
1,24
|
2,17
|
2,45
|
|
|
|
|
|
55.
|
Относительный
лопаточный КПД ступени
|
 0,8480,87
|
0,886
|
0,89
|
0,896
|
|
|
|
|
|
56.
|
Относительное
значение потери на трение
|
 0,0060,004
|
0,007
|
0,007
|
0,006
|
|
|
|
|
|
57.
|
Относительное
значение утечки через диафрагменное уплотнение
|
Принять 0,0020,002
|
0,002
|
0,002
|
0,002
|
|
|
|
|
|
58.
|
Относительное
значение потери от перетекания пара через периферийный зазор над лопатками
|
Принять 0,020,02
|
0,02
|
0,02
|
0,02
|
|
|
|
|
|
59.
|
Внутренний
относительный КПД ступени
|
 0,8380,844
|
0,857
|
0,861
|
0,868
|
|
|
|
|
|
60.
|
Внутренняя
мощность ступени
|
кВт 11 75710
522
|
10
716
|
10
764
|
10
837
|
|
|
|
|
Специальное задание
Опорно-упорный подшипник скольжения вала
турбомашины
Опорно-упорный подшипник скольжения вала
турбомашины предназначен для использования в производстве опорно-упорных
подшипников скольжения, применяемых преимущественно для роторов паровых турбин
и для турбогенераторов средней и большой мощности. Опорно-упорный подшипник
скольжения вала турбомашины включает: корпус, состоящий из верхней и нижней
полуобойм, верхний и нижний. Опорные полувкладыши с опорными сферическими
поверхностями, выполненные взаимно сопряженными с внутренней расточкой
полуобойм корпуса подшипника, рабочие и установочные колодки, внутренний
кольцевой канал, выполненный в верхнем и нижнем полувкладышах, каналы подводы и
отвода смазки для рабочих и установочных колодок, узел масляных уплотнений,
верхний и нижний опорные полувкладыши с опорными сферическими поверхностями
установлены зазором между ними, а в нижней полуобойме корпуса подшипника
выполнен подвод смазки под высоким давлением с возможностью подвода как от
независимого внешнего источника, через узел подвода, содержащий обратный
клапан, так и от внутреннего источника, по двум внутренним перекрестным каналам,
соединенным с карманами, которые выполнены на сферической опорной поверхности
нижней полуобоймы корпуса подшипника. Основной подвод смазки на опорную
поверхность нижнего опорного полувкладыша выполнен по каналам, расположенным
под углом к горизонтальной плоскости разъема опорных полувкладышей и
соединенным с внутренним кольцевым каналом, а подвод смазки к рабочим и
установочным колодкам из внутреннего кольцевого канала выполнен как в верхнем,
так и в нижнем опорных полувкладышах через систему радиально-осевых каналов.
Охлаждение рабочих и установочных колодок, а также отвод отработанной смазки из
междискового пространства ротора и межколодочного пространства опорно-упорного
подшипника осуществлены через систему радиальных и тангенциальных каналов, выполненных
в нижнем и верхнем опорных полувкладышах, а отвод отработанной смазки из
опорных элементов опорных полувкладышей осуществляется через радиально-торцевые
скосы, выполненные с двух сторон опорной поверхности опорных полувкладышей, а
также радиальные каналы, выполненные на опорной сферической поверхности
опорного нижнего полувкладыша, в районе выхода смазки из несущего слоя
гидродинамического клина.
Технический результат-обеспечение оптимальных
условий самоустановки опорно-упорного подшипника, оптимизации теплового режима,
повышение вибрационной надежности и несущей способности опорно-упорного
подшипника на всех режимах его работы.
Характерные дефекты и причины их появления
Выработка баббита сегментов происходит в
условиях полусухого трения, возникающего
а) вследствие отсутствия масляного клина из-за
неправильно выполненной передней кромки сегмента.
б) повреждения ребра катания сегмента.
в) возникновения на установочном кольце под
ребром качания сегмента выработки, препятствующей повороту сегмента и образованию
необходимого масляного клина.
Повреждение ребра качания сегмента и выработка
на установочном кольце под ребром качания сегмента происходят из-за осевой
вибрации валопровода электроэрозийного износа.
Механический износ баббита с возникновением кольцевых
рисок возникает обычно в результате эксплуатации турбины с применением
обводненного масла или масла с повышенным содержанием механических примесей.
Отслоение баббитовой заливки сегмента может
происходить из-за некачественной заливки или высокого уровня динамических
нагрузок на упорные колодки во время эксплуатации турбины с повышенной
вибрацией.
Выкрашивание баббитовой заливки сегмента
происходит вследствие резкого изменения нагрузки турбины и возникновения
низкочастотной вибрации ротора турбины.
Электроэрозионный износ деталей упорного
подшипника возникает в результате появления токов между роторами и опорами
из-за остаточной намагниченности деталей турбины или отсутствие изоляции в
районе заднего подшипника генератора (задний стул-фундаментальная рама, задний
подшипник водородного уплотнения -его корпус).
Частичное подплавление или полное выплавление
баббитовой заливки сегментов происходит:
а). вследствие прекращения подачи масла или
снижения расхода масла на подшипник.
б). перераспределение нагрузки на колодки при
резком изменении нагрузки турбины.
в). затрудненных тепловых расширений турбины.
Повреждение упорных колец обоймы упорного
подшипника происходит из-за осевой вибрации валопровода.
Повреждение упорных поверхностей корпусов
подшипников происходит из-за осевой вибрации валопровода.