Расчет на прочность пластинчатого теплообменника НН № 65ТС-16
Курсовая работа
«Расчет на прочность пластинчатого
теплообменника НН № 65ТС-16»
Введение
Настоящий расчет распространяется на пластинчатый теплообменник НН №
65ТС-16
Пластинчатый теплообменник (рисунок 1) состоит из неподвижной передней плиты
1 и подвижного механизма (прижимная плита 2, пакет пластин 8) с функцией
торцевой крышки. Несколько пластин определенной формы расположены между
неподвижной плитой для обеспечения процесса передачи тепла (теплообмена). По
периметру эти пластины оснащены резиновыми прокладками 10, имеющими форму
кольца. Неподвижная плита, пакет пластин и прижимная плита скреплены вместе с
помощью шпилек стяжных 6.
Неподвижная плита оснащена четырьмя отверстиями для обеспечения входа -
выхода сред.
1.
Условия работы
1.1 Основные технические данные и характеристики, участвующие в
расчете, приведены в таблице 1 /1/
Таблица
1
|
Наименование характеристики
|
Значения для
|
|
Горячая сторона
|
Холодная сторона
|
|
Расчетное давления Р, МПа
|
1,6
|
|
Рабочая среда
|
Кислый Газ
|
Вода
|
|
Рабочая температура среды,
оС
|
150
|
|
Расчетная температура
стенки Т, оС
|
150
|
|
Минимально допустимая
отрицательная температура стенки Т, оС
|
-20
|
|
Масса пустого
теплообменника, кг
|
1772
|
|
Масса заполненного теплообменника,
не более, кг
|
1935
|
|
Расчетный срок службы, лет
|
15
|
2.
Конструкционные материалы
2.1 Основные физико-механические свойства материалов деталей,
участвующих в расчете приведены в таблице 2 /2,3/
Таблица
2
|
Конструкционный элемент
|
Марка материала
|
Температура Т, оС
|
Предел текучести Rтр0,2
, МПа
|
Предел прочности Rтm ,
МПа
|
Номинальное допус-каемое
напряжение [s], МПа
|
Модуль упругости Ет.10-5,
МПа
|
Коэффициент линей-ного
расширения aт.106, 1/ оС
|
|
Плита неподвижная 1; плита
прижимная 2
|
09Г2С, ГОСТ 19281-89
|
20 150
|
280 265
|
440 430
|
183,3 176,7
|
2,10 2,02
|
- 12,2
|
|
Направляющая верхняя 3
|
Сталь 3 пс, ГОСТ 535-88
|
20 150
|
250 224
|
373 353
|
155,4 147
|
2,00 1,92
|
- 12,2
|
|
Направляющая нижняя 4;
стойка задняя 5
|
Сталь 3, ГОСТ 535-88
|
20 150
|
250 224
|
373 353
|
155,4 147
|
2,00 1,92
|
- 12,2
|
|
Резьбовая часть
направляющей верхней, резьбовая часть направляющей нижней
|
09Г2С, ГОСТ 19281-79
|
20 150
|
280 265
|
440 430
|
140 132,5
|
2,10 2,02
|
- 12,2
|
|
Шпилька стяжная 6; болт 9,
11, 12, 13, болты крепления фланцев подвода рабочих сред
|
Сталь 45 КП640 ГОСТ 1050-88
|
20 150
|
640 580
|
785 746
|
320 290
|
2,15 2,07
|
- 12,2
|
|
Гайка 7
|
Сталь 35 КП640 ГОСТ 1050-88
|
20 150
|
640 580
|
785 746
|
320 290
|
2,10 2,00
|
- 12,2
|
2.2 Допускаемые напряжения
Номинальное допускаемое напряжение, независящее от расчетного ресурса,
или расчетного ресурса 105 ч принимается минимальным из следующих значений /
2,3 /.
где
,
-
минимальное значение временного сопротивления и предела текучести при расчетной
температуре;
= 1,5;
= 2,4 - коэффициенты запаса для элементов
оборудования, изготовленных из углеродистой и теплоустойчивой стали.
Допускаемые
напряжения в условиях гидравлического испытания принимаются равными
Номинальные
допускаемые напряжения в болтах или шпильках от давления и усилия затяга
где
= 2,0.
Допускаемые
напряжения металла шпилек с одинаковыми номинальными диаметрами резьбы и
гладкой части в условиях гидравлического испытания принимаются равными
или
3.
Гидравлические испытания
Давление гидравлических испытаний пластинчатого теплообменника определяется
по формуле / 4 /
МПа,
где
Р - расчетное давление;
-
номинальное допускаемое напряжение при температуре гидравлических испытаний;
- номинальное
допускаемое напряжение при расчетной температуре.
Отношение
принято для материала плиты неподвижной как
минимальное, согласно / 4 /.
Принятое
давление гидравлических испытаний на заводе изготовителе
МПа. Для расчета давление гидравлических испытаний
принято
МПа.
4.
Расчет по выбору основных размеров
4.1 Расчет
по выбору толщин торцевых плит
Номинальная толщина прямоугольной крышки (плита неподвижная 1 и плита
прижимная 2, рисунок 1) должна быть не менее определенной по формуле /2/
где
- расчетная толщина стенки при расчетном давлении,
мм;
-
расчетная толщина стенки при давлении гидравлических испытаний, мм;
-
коэффициент /2/;
В
- длина в свету меньшей стороны в свету прямоугольной крышки (рисунок 2), мм;
m - ширина
прокладки, мм;
-
расстояние между шпильками стяжными по ширине плиты, мм;
-
коэффициент, учитывающий отношение сторон прямоугольника крышки / 2 /;
А
- длина в свету большей стороны в свету прямоугольной крышки (рисунок 2), мм;
Р
- расчетное давление, МПа;
Рh -
давление гидравлических, МПа;
= 1 -
коэффициент, учитывающий прочность сварных швов;
= 153,3
МПа - номинальное допускаемое напряжение для материала плит при расчетной
температуре;
= 254,5
МПа - допускаемые общие мембранные напряжения при гидравлических испытаний;
-
коэффициент ослабления для днищ и крышек, имеющих более одного отверстия /3/;
z - количество
отверстий;
-
диаметр отверстия, мм.
Условие
прочности
,
где
S - принятая толщина стенки, мм;
с
= с11+с12+с2 - суммарная прибавка к толщине стенки, мм;
с11
- прибавка на отрицательный допуск на толщину стенки, мм;
с12
- технологическая прибавка, мм;
с2
- прибавка, учитывающая коррозионное влияние рабочей среды, мм.
Исходные
данные и результаты расчета приведены в таблице 3.
Таблица
3
|
Обозначение
|
Значение для
|
|
Для плиты неподвижной
|
Для плиты прижимной
|
|
Р, МПа
|
1,6
|
|
Рh, МПа
|
2,13
|
|
т
|
7,8
|
|
В , мм
|
617,2
|
|
, мм705
|
|
|
0,564
|
|
|
Y
|
1,301
|
|
A, мм
|
1476,2
|
|
d, мм
|
205
|
-
|
|
z
|
2
|
-
|
|
1,50741
|
|
|
|
с11 , мм
|
1,6
|
1,2
|
|
с12 , мм
|
0
|
0
|
|
с2 , мм
|
0
|
0
|
|
с , мм
|
1,6
|
1,2
|
|
, МПа176,7
|
|
|
, МПа254,5
|
|
|
, мм64,9643,09
|
|
|
|
, мм62,3841,38
|
|
|
|
, мм66,5644,39
|
|
|
|
, мм63,9842,68
|
|
|
|
, мм7050
|
|
|
Условие прочности выполнено.
4.2 Расчет
по выбору минимального диаметра крепежных деталей
Расчет по выбору минимального диаметра крепежных деталей проведен:
- для шпильки стяжной 6;
- для болтов 9, 11, 12, 13;
- для болтов крепления фланцев подвода рабочих сред.
Шпильки
стяжные 6 служат для стягивания между собой торцовых плит (плита неподвижная 1,
плита прижимная 2) с находящимся между ними пакетом пластин и прокладок
уплотнительных 10. Для обеспечения герметичности разъема с резиновой прокладкой
достаточно ее относительного сжатия
40% от
исходной высоты / 5 /. При сборе теплообменника прокладку обжимают на
40%.
Усилие
необходимое для обжатия прокладки на 40% вычисляется по формуле
Н,
где
- относительное сжатие прокладки;
МПа -
модуль упругости резины;
А
= 1484 мм - длина прокладки (по центру прокладки);
В
= 625 мм - ширина прокладки (по центру прокладки);
= 7,6 мм
- ширина уплотнительного пояска прокладки;
= 4,4 мм
- высота прокладки до обжатия.
Минимальный
диаметр шпильки стяжной определяется как максимальный из следующих двух
величин:
- минимальный расчетный диаметр стержня шпильки стяжной при
расчетном давлении
мм,
- минимальный расчетный диаметр стержня шпильки стяжной при
давлении гидравлического испытания
мм,
Н;
Н;
z = 10 -
количество стяжек резьбовых;
= 290
МПа - номинальные допускаемые напряжения для материала шпильки стяжной;
= 512
МПа - допускаемые общие мембранные напряжения при гидравлических испытаниях;
= 36 мм
- наружный диаметр резьбы шпильки стяжной;
= 0,26 -
коэффициент, учитывающий трение при стяжке гаек (при наличие смазки);
= 150000
Н.мм - принятый момент на ключе при стяжке гаек.
Условие
прочности
мм 
мм
выполнено.
Минимальный
диаметр стержня болтов 9, 11, 12, 13 принимается из принятого момента на ключе
по формуле
,
где
- усилие на болтах от заданного момента на ключи при
затяжке болтов, Н;
-
принятый момент на ключе при затяжке болтов, Н.мм;
-
наружный диаметр резьбы болтов, мм;
= 0,26 -
коэффициент, учитывающий трение при стяжке гаек (при наличие смазки);
-
номинальные допускаемые напряжения для материала болтов (таблица 2), МПа.
Исходные
данные и результаты расчета приведены в таблице 4.
Таблица
4
|
Обозначение
|
Значение для
|
|
Болт 9,11
|
Болт 12,13
|
|
, мм1624
|
|
|
|
, мм0
|
|
|
, Н.мм100000300000
|
|
|
|
, Н2404048080
|
|
|
|
, МПа290
|
|
|
, мм10,2614,51
|
|
|
|
, мм13,8420,75
|
|
|
Условие
прочности
выполнено.
Фланцы
подвода рабочих сред крепятся с помощью 12 болтов М20.
Минимальный
необходимый диаметр стержня болта в рабочих условиях определяют по формуле
мм,
где
Н;
Минимальный
необходимый диаметр стержня болта при гидроиспытаниях определяют по формуле
мм,
где
Н;
= 369230
Н - растягивающее усилие затяга болтов;
Р
= 1,6 МПа - расчетное давление;
=2,13
МПа - давление гидравлических испытаний;
z = 12 -
количество болтов;
=240 мм -
средний диаметр прокладки;
b = 18,71 мм -
эффективная ширина прокладки;
b - эффективная
ширина прокладки определяется в соответствии с / 2 / по формуле
при
мм и
при
мм;
- удельное
давление на прокладке при обжатии (для прокладки из паронита);
= 3 мм -
толщина прокладки;
m = 2,5 -
прокладочный коэффициент;
-
коэффициент, учитывающий трение при затяжке болтов (при наличии смазки);
мм -
наружный диаметр резьбы болта;
-
диаметр центрального отверстия в стержне болта;
Н.мм -
принятый момент на ключе при затяжке болтов;
= 290
МПа - номинальные допускаемые напряжения для материала болта (таблица 2);
= 512
МПа - номинальные допускаемые напряжения для материала болта (таблица 2) при
гидроиспытаниях.
Условие
прочности
мм выполнено.
4.3 Расчет
прокладок на распор гидростатическим давлением
.3.1 Максимальное внутреннее давление, при котором еще сохраняется
плотность соединения, определяется по формуле / 5 /
МПа,
где
n = 2,5 - коэффициент запаса плотности;
f = 0,6 -
коэффициент трения резина - металл;
Н -
реакция прокладки, равная по величине силе нормального давления на прокладку;
A = 1484 мм -
длина прокладки (по центру прокладки);
B = 625 мм -
ширина прокладки (по центру прокладки);
b = 7,6 - ширина
уплотнительного пояска прокладки;
МПа -
сжимающее напряжение в прокладке;
МПа -
модуль упругости резины;
-
относительное сжатие прокладки;
мм -
величина сжатия прокладки;
мм -
высота прокладки до обжатия;
мм -
длина прокладки (по внутренней стороне прокладки);
мм -
ширина прокладки (по внутренней стороне прокладки).
Условие
сохранения плотности соединения
МПа
МПа, где
-
максимальное давление в плотности теплообменника, выполняется.
В
запас прочности не учтено, что с одной стороны прокладка находится в канавке.
Случай
гидравлического удара не рассматривается. Из опыта использования аналогичных
пластинчатых теплообменников известно, что при гидравлическом ударе происходит
выдавливание прокладок. Разрушение остальных элементов конструкции не
происходит, что дает возможность дальнейшего использования теплообменника после
переборки и гидравлических испытаний.
5.
Поверочный расчет
5.1 Расчет
на прочность стяжек резьбовых
Напряжения растяжения в шпильках стяжных должны удовлетворять условию
,
где
Н - растягивающее усилие в шпильках стяжных при
затяжке гаек;
Н -
растягивающее усилие в шпильках стяжных от механических воздействий;
Н -
растягивающие усилия от механических и температурных воздействий в рабочих
условиях;
усилия
в шпильках стяжных, вызванные различием коэффициентов линейного расширения
пластин и стяжек резьбовых (шайбы и плиты неподвижная и прижимная не
учитываются, так как их коэффициенты линейного расширения равны коэффициенту
линейного расширения стяжек резьбовых);
,
- коэффициенты линейного расширения материалов
пластин и стяжек резьбовых;
мм -
длины участков пластин (96 пластин по 0,6 мм);
-
средняя температура;
мм/Н -
коэффициент податливости стяжек резьбовых;
мм -
свободная длина шпильки стяжной;
МПа -
модуль упругости материала шпильки стяжной;
мм -
диаметр резьбы шпильки стяжной;
мм2 -
площадь поперечного сечения стержня шпильки стяжной;
мм -
минимальный диаметр стержня шпильки стяжной;
Н -
растягивающее усилие в шпильках стяжных при гидравлических испытаниях;
- усилие
начальной затяжки гаек и гидростатические усилия от рабочего давления и
давления гидравлических испытаний (п. 4.2);
- от
механических нагрузок в рабочих условиях и при затяжке гаек;
- от
механических и температурных воздействий в рабочих условиях;
- при
гидроиспытаниях;
-
номинально допускаемые напряжения для материала стяжек резьбовых (таблица 2).
Приведенной
напряжение в шпильке стяжной по суммам составляющих нагрузок
,
где
МПа - напряжения кручения в стержне болта;
= 150000
Н.мм - принятый момент на ключе при затяжке гаек.
Результаты
расчета приведены в таблице 4.
Таблица 4
|
Обозначение
|
Значение для
|
|
затяга гаек
|
механических воздействий
|
механических и
температурных воздействий
|
воздействий при
гидравлических испытаниях
|
|
, Н160300
|
|
|
, Н-15352901535290-
|
|
|
|
|
|
, Н---2039520
|
|
|
|
|
|
, Н--130800-
|
|
|
|
|
|
, Н160300169559018263902199820
|
|
|
|
|
|
, МПа19,5206,6222,6268,1
|
|
|
|
|
|
, МПа290290377512
|
|
|
|
|
|
, МПа11,3
|
|
|
, МПа29,9207,9223,7269,1
|
|
|
|
|
|
, МПа  
|
|
|
|
|
Условие прочности выполнены.
5.2 Расчет на прочность направляющих
Пластины с прокладками устанавливаются на усы верхней направляющей,
прижимная плита на валике устанавливается непосредственно на верхнюю
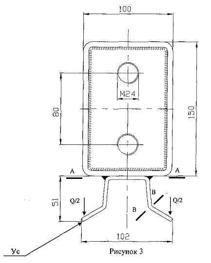
направляющую. поперечное сечение направляющей верхней приведено на рисунке 3.
напряжение растяжения в сечении А - А (сварной шов) определено по формуле
МПа
где
z = 2 - количество рядов сварных швов;
Q = 6030 Н - вес
пластин с прокладками заполненных средой;
l = n . l1 =
2 . 25 = 50 мм - общая длина сварного шва (2 участков по 25 мм (шаг 25/150));
с
= 4 мм - катет сварного шва.
Условие
прочности
МПа
МПа
выполнено.
Напряжение
изгиба в сечении В - В уса направляющей верхней определено по формуле
МПа,
где
Q = 1400 Н - вес пластин с прокладками и рабочей
средой;
L = 26,1 мм -
плече действия силы;
z = 2 -
количество усов; = 307 мм - длина участка, на котором расположены пластины;
h = 4 мм -
толщина уса в расчетном сечении (В - В).
Условие
прочности
МПа
МПа
выполнено.
Направляющая
верхняя нагружена под действием веса подвижной части теплообменника. Расчетная
схема представлена на рисунке 4.
Напряжение
изгиба в сечении направляющей составляет
МПа,
где
;
Q = 19,6 Н/мм -
распределенная нагрузка от веса подвижной части, заполненной рабочей средой;
W = 63130 мм3 -
момент сопротивления изгибу поперечного сечения (согласно рисунку 3) верхней
направляющей;
F = 4850 Н - вес
плиты прижимной;
-
размеры согласно рисунку 4.
Условие
прочности
МПа
МПа
выполнено.
5.3 Расчет
на прочность болтов крепления направляющих к стойке.
Болты 12, 13 крепления верхней направляющей к стойке задней и плите
неподвижной испытывают напряжения растяжения от усилия затяга, напряжение
кручения от момента затяга и напряжение среза от весовой нагрузки подвижной
части теплообменника.
Напряжение растяжения в болтах 12, 13 определяется по формуле
МПа,
где
F = 48080 Н - усилие растяжения в болтах от усилия
затяга;
А
= 338 мм2 - площадь поперечного сечения стержня болта.
Условие
прочности
МПа
МПа
выполнено.
Напряжение среза определяется по формуле
МПа,
где
Q = Q1 - F1 = 6030 - 48080 = -42050 Н - усилие, действующее в
поперечном сечении болта;
Q1 - усилие от
веса подвижной части теплообменника (с учетом массы среды);
-
коэффициент трения металл по металлу;
-
количество болтов;
мм -
диаметр стержня болтов.
Если
Q < 0, то болты на срез не работают.
Напряжения
кручения определяется по формуле
МПа,
где
= 300000 Н.мм - назначенный момент на ключе.
Условие прочности для болтов 12, 13
МПа
МПа выполнено.
5.4 Расчет
на прочность резьбы
Расчет на прочность резьбы проведен:
) для резьбы в плите неподвижной под болт крепления фланцев
подвода рабочих сред;
) для резьбы болтов крепления фланцев подвода рабочих сред;
) для резьбы болтов 9, 11;
) для резьбы в направляющей нижней под болты 9, 11;
) для резьбы болтов 12, 13;
) для резьбы в направляющей верхней под болты 12, 13;
) для резьбы стяжек 6;
) для резьбы гаек 7.
Исходные данные и результаты приведены в таблице 5.
Напряжение среза в резьбе
,
где
- максимальное усилие в резьбовом соединении;
-
диаметр резьбы гайки;
h - высота
резьбы;
z - количество
болтов;
-
коэффициент полноты резьбы (для болта (шпильки)
= 0,7;
для гайки (корпуса)
= 0,87);
= 0,7 -
коэффициент, учитывающий изменение деформации витков по высоте;
-
допускаемое напряжение.
Таблица 5
|
Обозначение
|
Значение для резьбы
|
|
3692303692302404024040480804808018263901826390
|
|
|
|
|
|
|
|
|
|
2020161624243636
|
|
|
|
|
|
|
|
|
|
h
|
16
|
16
|
16
|
16
|
20
|
20
|
26
|
26
|
|
0,870,70,70,870,70,870,70,87
|
|
|
|
|
|
|
|
|
|
0,7
|
|
|
Z
|
12
|
12
|
1
|
1
|
1
|
1
|
10
|
10
|
|
, МПа50,362,56149,165,152,4126,8102
|
|
|
|
|
|
|
|
|
|
, МПа66,314014066,314066,3140140
|
|
|
|
|
|
|
|
|
Условия прочности выполнены.
5.5 Расчет
на прочность плиты неподвижной.
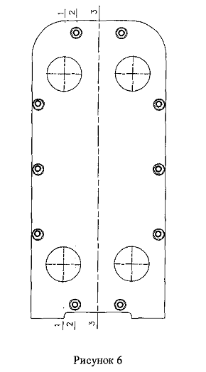
Расчет на прочность плиты неподвижной проведен кА для двухопорной балки
длины L нагруженной равномерно распределенной
нагрузкой q (давление среды ограниченной
размерами прокладки) и сосредоточенной силой (усилие от начальной затяжки
шпилек стяжных). Расчетная схема приведена на рисунке 5.
Расчет проведен для трех наиболее нагруженных сечений (рисунок 6).
Напряжения изгиба в расчетном сечении определяется по формуле
,
где
- изгибающий момент, возникающий в пластине;
- усилие
начальной затяжки шпилек стяжных (п. 4.2), Н;
-
расстояние от шпилек стяжных до центральной линии прокладки, мм;
-
расстояние между шпильками стяжными по ширине плиты, мм;
- ширина
прокладки (по центру прокладки);
-
равномерно распределенная по ширине плиты нагрузка, Н/мм;
-
расчетное давление, МПа;
- длина
прокладки (по центру прокладки);
-
расстояние от шпилек стяжных до расчетного сечения, мм;
- момент
сопротивления изгибу расчетного сечения плиты, мм3;
- ширина
плиты в расчетном сечении с учетом всех отверстий, мм;
-
толщина плиты, мм.
Условия
прочности
,
где
- номинально допускаемые напряжения на изгиб для
материала плиты, МПа;
-
номинально допускаемые напряжения для материала плиты (таблица 2), МПа.
Исходные
данные и результаты расчета приведены в таблице 6.
Таблица 6
|
Обозначение
|
Значение для сечения
|
|
1 - 1
|
2 - 2
|
3 - 3
|
|
, МПа1,6
|
|
|
, Н160300
|
|
|
, мм1484
|
|
|
, Н/мм2374
|
|
|
, мм705
|
|
|
, мм126180274
|
|
|
|
|
, мм625
|
|
|
, мм40
|
|
|
, Н.мм99309280122000000146000000
|
|
|
|
|
, мм93813001410
|
|
|
|
|
, мм70
|
|
|
, мм3650680554580838180
|
|
|
|
|
, МПа176,7
|
|
|
, МПа152,6220,6173,7
|
|
|
|
|
, МПа229,7
|
|
Условие прочности выполнено.
5.6 Определение
напряжения смятия в месте контакта шайба - гайка и шайба - плита прижимная
Напряжения смятия в месте контакта шайба - гайка и шайба - плита
прижимная определены по формуле
,
где
= 1826390 Н - максимальное усилие на шпильках стяжных
(п. 5.1.);
z = 10 -
количество стяжек резьбовых
А
- площадь площадки контакта (рисунок 7), мм2.
Условия
прочности
,
где
- номинально допускаемые напряжения на смятие;
-
минимальное значение из номинальных допускаемых напряжений элементов соединения
(таблица 2).
Исходные
данные и результаты расчета приведены в таблице 7.
Таблица 7
|
Обозначение
|
Значение для контакта
|
|
шайба - гайка
|
шайба - плита прижимная
|
|
, Н1826390
|
|
|
А, мм2
|
1304
|
1367
|
|
, МПа168,7160,9
|
|
|
|
, МПа353,3
|
|
Условие прочности выполнено.
5.7
Расчет на циклическую прочность
Расчет на циклическую прочность проведен согласно / 7 / для наиболее
нагруженных элементов конструкции, которыми, согласно расчета, являются шпильки
стяжные. Расчет проведен для следующих циклов нагружения:
- затяжка гаек
циклов (принимается 5 циклов нагружения при каждом
сборе теплообменника);
- гидравлические
испытания
(один раз в год);
- рабочие
условия
.
Допускаемое число циклов нагружения определено по формуле / 7 /
,
где
= 2 - коэффициент запаса прочности по напряжениям;
= 2 -
коэффициент запаса прочности по числу циклов;
МПа и
МПа - коэффициенты;
0С
-расчетная температура;
-
амплитуда напряжений, МПа;
К
= 4 - эффективный коэффициент концентрации напряжений;
-
максимальные напряжения, возникаемые в шпильках стяжных в различных условиях
нагружения, МПа (п.5.1.)
Исходные данные и результаты расчета приведены в таблице 8.
Таблица 8
|
Обозначение
|
Значение для режима
|
|
затяга гаек
|
расчетного
|
гидравлических испытаний
|
|
, МПа29,9207,9269,1
|
|
|
|
|
, МПа119,6831,51076,2
|
|
|
|
|
3300501580907
|
|
|
|
|
751515
|
|
|
|
Условия циклической прочности
выполнено
Заключение
Расчет на прочность показал, что пластинчатый теплообменник НН №65ТС-16
условиям прочности при нормальных условиях эксплуатации удовлетворяет.
Список
литературы
пластинчатый
теплообменник напряжение
1. Паспорт сосуда, работающего под давлением заводской №
65-00059
2. РД 10-249-98. нормы расчета на прочность
стационарных котлов и трубопроводов и горячей воды.
. ГОСТ 14249-89 Сосуды и аппараты. Нормы и методы
расчета на прочность.
. ПБ 03-576-03. Правила устройства и безопасной
эксплуатации сосудов, работающих под давлением.
. А.А. Волошин. Расчет фланцевых соединений
трубопроводов и сосудов. СУДПРОМГИЗ. Л., 1959.
. В.И. Феодосьев Сопротивление материалов. Гос. Издат.
Физ-мат. Литературы. М., 1960 г.
. ГОСТ 25859-83 Сосуды и аппараты стальные. Нормы и
методы расчета при малоцикловых нагрузках.