Расчет конденсатора-холодильника в производстве бензола

  • Вид работы:
    Курсовая работа (т)
  • Предмет:
    Физика
  • Язык:
    Русский
    ,
    Формат файла:
    MS Word
    1,23 Мб
  • Опубликовано:
    2012-11-02
Вы можете узнать стоимость помощи в написании студенческой работы.
Помощь в написании работы, которую точно примут!

Расчет конденсатора-холодильника в производстве бензола












Расчет конденсатора-холодильника в производстве бензола

Введение

Теплообменниками называются аппараты, в которых происходит теплообмен между рабочими средами независимо от их технологического или энергетического назначения (подогреватели, выпарные аппараты, конденсаторы, пастеризаторы, испарители, деаэраторы, экономайзеры и др.).

Технологическое назначение теплообменников многообразно. Обычно различаются собственно теплообменники, в которых передача тепла является основным процессом, и реакторы, в которых тепловой процесс играет вспомогательную роль.

Классификация теплообменников возможна по различным признакам.

По способу передачи тепла различаются теплообменники смешения, в которых рабочие среды непосредственно соприкасаются или перемешиваются, и поверхностные теплообменники-рекуператоры, в которых тепло передаётся через поверхность нагрева - твёрдую (металлическую) стенку, разделяющую эти среды.

По основному назначению различаются подогреватели, испарители, холодильники, конденсаторы.

В зависимости от вида рабочих сред различаются теплообменники:

а) жидкостно-жидкостные - при теплообмене между двумя жидкими средами;

б) парожидкостные - при теплообмене между паром и жидкостью (паровые подогреватели, конденсаторы);

в) газожидкостные - при теплообмене между газом и жидкостью (холодильники для воздуха) и др.

По тепловому режиму различаются теплообменники периодического действия, в которых наблюдается нестационарный тепловой процесс, и непрерывного действия с установившимся во времени процессом.

Многотрубный кожухотрубчатый теплообменник представляет собой пучок трубок, помещенных в цилиндрическую камеру (кожух); таким образом, внутренность камеры является межтрубным пространством. Трубки ввальцованы в трубные решетки, ограничивающие камеру со всех сторон. К трубным решеткам крепятся распределительные коробки с патрубками для впуска рабочей жидкости, протекающей внутри трубок. Камера снабжена также патрубками для подвода и отвода второго рабочего тела.

Трубки латунные, медные или стальные применяются диаметром от 10 мм и выше; трубки имеют большие диаметры при вязких или загрязненных жидкостях.

Для помещения в кожухе большей поверхности теплообмена и получения большего коэффициента теплоотдачи выгоднее применять трубки меньшего диаметра.

Трубные решетки могут быть наглухо приварены или приклёпаны к корпусу, одна из решеток может быть не соединена с камерой. В этом случае уплотнение достигается резиновым кольцом, зажимающим щель между корпусом и решеткой.

Кожух теплообменника обычно стальной, цилиндрический. Иногда для обеспечения свободы температурного расширения кожуха и трубок на кожухе устраивают компенсатор.

Для осуществления длительной работоспособности в процессе эксплуатации при обработке среды, загрязненной или выделяющей отложения на стенках аппарата, необходимо производить периодические осмотры и очистку поверхностей.

Аппараты должны обладать достаточной прочностью и иметь возможно малые габаритные размеры. При конструировании необходимо находить оптимальные решения, учитывающие требования обеспечения возможности разборки рабочей части аппарата и герметичности системы каналов, возможно

высоких коэффициентов теплопередачи за счет повышения скорости движения рабочей среды при минимальных гидравлических потерях в аппарате.

В химических производствах до 70% теплообменных аппаратов применяют для сред жидкость - жидкость и пар - жидкость при давлении до 1 МПа и температуре до 200°С. Для указанных условий разработаны и серийно изготовлены теплообменные аппараты общего назначения кожухотрубчатого и

спирального типов. В последнее время получают распространение пластинчатые теплообменные аппараты общего назначения. Одним из преимуществ трубчатых теплообменных аппаратов является простота конструкции. Однако коэффициент унификации узлов и деталей размерного ряда этих аппаратов, являющийся отношением числа узлов и деталей (размеры одинаковы для всего ряда) к общему числу узлов и деталей данного размерного ряда, составляет примерно 0,13. В то же время этот коэффициент применительно к пластинчатым теплообменным аппаратам составляет 0,9.

Удельная металлоемкость кожухотрубчатых аппаратов в 2 - 3 раза больше металлоемкости новых пластинчатых аппаратов.

Режим работы теплообменного аппарата и скорость движения теплоносителей необходимо выбирать таким образом, чтобы отложение загрязнений на стенках происходило возможно медленнее. Например, если охлаждающая вода отводится при температуре 45 - 50ºС, то на стенках теплообменного аппарата интенсивно осаждаются растворенные в воде соли.

При конструировании следует обоснованно решать вопрос о направлении теплоносителей в трубное или межтрубное пространство. Например, теплоносители, загрязненные и находящиеся под давлением, обычно направляют в трубное пространство. Насыщенный пар лучше всего подавать в межтрубное пространство, из которого легче удалить конденсат. Чистка трубного пространства (в котором вероятнее всего будут выпадать загрязнения легче, а живое сечение для прохода теплоносителя меньше. Вследствие этого в трубном пространстве можно обеспечить теплоносителю более высоки скорости и, следовательно, более высокие коэффициенты теплоотдачи.

1. Описание технологической схемы

В процессе теплообмена с целью полезного использования теплоты потоков может использоваться их различная обвязка. Это иллюстрирует схема бинарной ректификации. Сырье колонны К-1 (смесь бензола и толуола) из емкости ЕС насосом Н-1 подается в подогреватель сырья Т-2. Назначение подогревателя - нагреть сырье до температуры начала кипения. Нагретое сырье поступает в зону питания ректификационной колонны.

В ходе процесса ректификации пар, поднимающийся из куба колонны, многократно контактирует со стекающей с верха жидкостью (флегмой). Контакт происходит на специальных устройствах, называемых тарелками. На тарелку приходят пар и жидкость, причем температура пара на 0,5-2˚С выше температуры жидкости.

В результате этого контакта их температуры выравниваются, при этом часть пара конденсируется, а часть жидкости испаряется, причём из пара конденсируется высококипящий компонент (ВКК, в нашем случае толуол), а из жидкости испаряется низкокипящий (НКК, в нашем случае - бензол).

Такой контакт жидкой и паровой фаз протекает на каждой тарелке. В результате пар, дойдя до верха, обогащается НКК, а жидкость, уходящая с низа, - ВКК.

Продуктами процесса ректификации являются дистиллят (верхний продукт) и кубовый остаток (нижний продукт). При разделении двухкомпонентной (бинарной) смеси в качестве дистиллята отбирается практически чистый НКК (в рассматриваемом случае - бензол), а в качестве кубового остатка - практически чистый ВКК (толуол).

Уходящие с верха колонны пары НКК конденсируются в теплообменнике Т-5. Образовавшаяся жидкая фаза поступает в рефлюксную ёмкость РЕ, откуда самотёком поступает на приём насоса Н-2. После насоса Н-2 жидкая фаза делится на два потока: один поступает на орошение ректификационной колонны, а второй охлаждается в холодильнике Т-6 и отводится в ёмкость ЕД - сборник товарного дистиллята. Паровой поток в колонне создаётся за счёт испарения части кубовой жидкости в кипятильнике Т-4. Второй продукт ректификации - кубовый остаток - охлаждается водой в холодильнике Т-7 и отводится в ёмкость сбора остатка ЕК.

Рис. 1.1. Принципиальная схема ректификационной установки с утилизацией теплоты потоков:

К-1 - ректификационная колонна; ЕС - ёмкость сырья (ёмкость питания);

РЕ - рефлюксная ёмкость; ЕД - ёмкость для сбора дистиллята; ЕК - ёмкость для сбора кубовой жидкости; Н-1 и Н-2 - насосы; Т-2 - подогреватель сырья насыщенным водяным паром; Т-4 - кипятильник; Т-5 - конденсатор (дефлегматор); Т-7 - холодильник кубовой жидкости.

2. Описание конструкций теплообменников и обоснование выбора теплообменника

Виды теплообменников

Аппараты теплообменные кожухотрубчатые

Они достаточно просты в изготовлении, отличаются возможностью развивать большую поверхность теплообмена в одном аппарате, надежны в работе.

Кожухотрубчатые теплообменные аппараты с неподвижными трубными решетками и с поперечными перегородками в межтрубном пространстве, применяемые в химической, нефтяной и других отраслях промышленности, обозначаются индексами и классифицируются:

• по назначению (первая буква индекса): Т - теплообменники; Х - холодильники; К - конденсаторы; И - испарители;

• по конструкции (вторая буква индекса) - Н - с неподвижными трубными решетками; К - с температурным компенсатором на кожухе; П - с плавающей головкой; У - с U-образными трубами; ПК - с плавающей головкой и компенсатором на ней;

• по расположению (третья буква индекса): Г - горизонтальные; В-вертикальные.

Теплообменники с неподвижными трубными решетками.

Теплообменники предназначены для нагрева и охлаждения, а холодильники - для охлаждения (водой или другим нетоксичным, непожаро- и невзрывоопасным хладоагентом) жидких и газообразных сред.

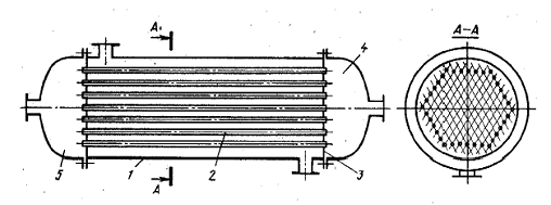
Теплообменники и холодильники могут устанавливаться горизонтально или вертикально, быть одно-, двух-, четырех- и шестиходовыми по трубному пространству. Трубы, кожух и другие элементы конструкции могут быть изготовлены из углеродистой или нержавеющей стали, а трубы холодильников - также и из латуни. Распределительные камеры и крышки холодильников выполняют из углеродистой стали. Схема теплообменника с неподвижными трубными решетками приведена на рис. 2.1. В кожухе 1 размещен трубный пучок, теплообменные трубы 2 которого развальцованы в трубных решетках 3.

Трубная решетка жестко соединена с кожухом. С торцов кожух аппарата закрыт распределительными камерами 4 и 5, Кожух и камеры соединены фланцами.

Рис. 2.1. Теплообменник с неподвижной трубной решеткой

Для подвода и отвода рабочих сред (теплоносителей) аппарат снабжен штуцерами. Один из теплоносителей в этих аппаратах движется по трубам, другой - в межтрубном пространстве, ограниченном кожухом и наружной поверхностью труб.

Особенностью аппаратов типа Н является то, что трубы жестко соединены с трубными решетками, а решетки приварены к кожуху. В связи с этим исключена возможность взаимных перемещений труб и кожуха; поэтому аппараты этого типа называют еще теплообменниками жесткой конструкции.

Трубы в кожухотрубчатых теплообменниках стараются разместить так, чтобы зазор между внутренней стенкой кожуха и поверхностью, огибающей пучок труб, был минимальным; в противном случае значительная часть теплоносителя может миновать основную поверхность теплообмена. Для уменьшения количества теплоносителя, проходящего между трубным пучком и кожухом, в этом пространстве устанавливают специальные заполнители, например приваренные к кожуху продольные полосы или глухие трубы, которые не проходят через трубные решетки и могут быть расположены непосредственно у внутренней поверхности кожуха.

Если площадь сечения трубного пространства (число и диаметр труб) выбрана, то в результате теплового расчета определяют коэффициент теплопередачи и теплообменную поверхность, по которой рассчитывают длину трубного пучка. Последняя может оказаться больше длины серийно выпускаемых труб. В связи с этим применяют многоходовые (по трубному пространству) аппараты с продольными перегородками в распределительной камере. Промышленностью выпускаются двух-, четырех- и шестиходовые теплообменники жесткой конструкции.

Таблица. 2.1. Параметры кожухотрубчатых теплообменников и холодильников


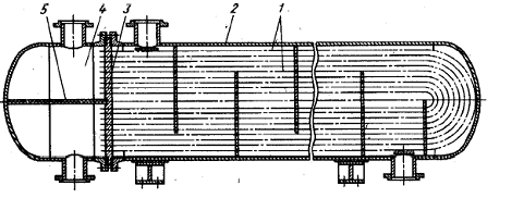
Двухходовой горизонтальный теплообменник типа Н (рис. 2.2) состоит из цилиндрического сварного кожуха 8, распределительной камеры 11 и двух крышек 4. Трубный пучок образован трубами 7, закрепленными в двух трубных решетках 3. Трубные решетки приварены к кожуху. Крышки, распределительная камера и кожух соединены фланцами. В кожухе и распределительной камере выполнены штуцера для ввода и вывода теплоносителей из трубного (штуцера 1, 12) и межтрубного (штуцера 2, 10 пространств. Перегородка 13 в распределительной камере образует ходы теплоносителя по трубам. Для герметизации узла соединения продольной перегородки с трубной решеткой использована прокладка 14, уложенная в паз решетки 3.

Рис.2.2. Двухходовой горизонтальный теплообменник с неподвижными решетками

Поскольку интенсивность теплоотдачи при поперечном обтекании труб теплоносителем выше, чем при продольном, в межтрубном пространстве теплообменника установлены зафиксированные стяжками 5 поперечные перегородки 6, обеспечивающие зигзагообразное по длине аппарата движение теплоносителя в межтрубном пространстве. На входе теплообменной среды в межтрубное пространство предусмотрен отбойник 9 - круглая или прямоугольная пластина, предохраняющая трубы от местного эрозионного изнашивания.

Поверхность теплопередачи нормализованных теплообменников и холодильников, приведены в табл. 3.1.

Кожухотрубчатые конденсаторы предназначены для конденсации паров в межтрубном пространстве, а также для подогрева жидкостей и газов за счет теплоты конденсации пара. Они могут быть с неподвижной трубной решеткой или с температурным компенсатором на кожухе, вертикальные или горизонтальные. В соответствии с ГОСТ 15121-79, конденсаторы могут быть двух-, четырех- и шестиходовыми по трубному пространству. От холодильников они отличаются большим диаметром штуцера для подвода пара в межтрубное пространство.

Для отвода конденсата и предотвращения проскока пара в линию отвода конденсата теплообменные аппараты, обогреваемые насыщенным водяным паром, должны снабжаться конденсатоотводчиками.

Теплообменники с температурным компенсатором на кожухе


Если температурные напряжения, возникающие в стенках теплообменника или трубках, оказываются большими, то необходимо предусматривать температурную компенсацию.

Риc. 2.3. Теплообменник типа К - с линзовым компенсатором

Теплообменник типа К - С линзовым компенсатором (Рис. 2.3) на корпусе. В этом аппарате температурные деформации компенсируются осевым сжатием или расширением компенсатора. Теплообменники с линзовыми компенсаторами применяют при небольших температурных деформациях (не более 13-15 мм) и невысоких давлениях в межтрубном пространстве (не более 0.5 МПа).

Для круглых элементов аппаратов, диаметр которых превышает 100 мм, обычно применяют линзовые компенсаторы, состоящие из одной и более линз.

Линзы выполняют штампованными или из кольцевого тора, выполненного с прорезью, разрезными или сварными волнообразной формы. Одна линза компенсирует небольшие температурные деформации (4 - 5 мм), набор линз (не более четырех) позволяет компенсировать деформации до 15 мм.

Линзовые компенсаторы применяют в вертикальных и горизонтальных аппаратах и трубопроводах при избыточном давлении, составляющем не более 1.6 МПа.

Применение кожухотрубчатых теплообменников с температурным компенсатором на кожухе (линзовый компенсатор) ограничено предельно допустимым давлением в кожухе, равным 1,6 МПа. При большем давлении в кожухе (1.6-8,0 МПа) следует применять теплообменники с плавающей головкой или с U-образными трубами.

Теплообменники с плавающей головкой


На рис. 1.3 изображен кожухотрубчатый теплообменник с плавающей головкой, предназначенной для охлаждения (нагревания) жидких или газообразных сред без изменения агрегатного состояния. Не закрепленная накожухе вторая трубная решетка вместе с внутренней крышкой, отделяющей трубное пространство от межтрубного, образует так называемую плавающую головку Такая конструкция исключает температурные напряжения в кожухе и в трубах. Эти теплообменники, нормализованные в соответствии с ГОСТ 14246-79, могут быть двух- или четырехходовыми, горизонтальными длиной 3, 6 и 9 м или вертикальными высотой 3 м.

Рис. 2.4. Кожухотрубчатый теплообменник с плавающей головкой: 1-крышка распределительной камеры; 2 - распределительная камера: 3 - кожух; 4-теплообменные трубы; 5 - перегородка с сегментным вырезом; 6 - штуцер; 7 - крышка плавающей головки. 8 - крышка кожуха

Кожухотрубнатые конденсаторы с плавающей головкой (ГОСТ 14247-79) отличаются от аналогичных теплообменников большим диаметром щтуцера для подвода пара в межтрубное пространство. Допустимое давление охлаждающей среды в трубах до 1,0 МПа, в межтрубном пространстве - от 1,0 до 2,5 МПа. Эти аппараты могут быть двух-, четырех- и шестиходовыми по трубному пространству. Диаметр кожуха от 600 до 1400 мм, высота труб 6,0 м.

Теплообменники с постоянным диаметром по всей длине удобны при сборке. Сборка теплообменников с переменным по длине диаметром (рис. 10) затруднена, так как плавающую головку (по габаритным размерам) в собранном виде невозможно поместить в кожух без трубчатки.

Теплообменники с постоянным диаметром не имеют этого недостатка, так как плавающую головку можно собирать и разбирать вне и внутри кожуха. Кроме того, теплообменники с постоянным диаметром по длине предпочтительнее теплообменников с переменным диаметром потому, что при очистке их межтрубного пространства не приходится разбирать плавающую головку.

Рис. 2.5. Теплообменник с плавающей головкой

Для эффективной работы теплообменника желательно, чтобы средняя часть была выполнена с наименьшим диаметром; при этом обеспечивается наибольшая скорость продукта и, следовательно, создаются оптимальные условия для теплопередачи. Это и является причиной изготовления теплообменников с переменным диаметром по длине. Однако уменьшать диаметр средней части аппарата имеет смысл лишь при значительных размерах плаваю щей головки. При применении малогабаритной плавающей головки отпадает необходимость в изготовлении теплообменников переменного диаметра. Малогабаритная плавающая головка свободно располагается и в наименьшем сечении кожуха.

Теплообменники с U - образными трубами

Теплообменники с U-образными трубами (тип У). В кожухотрубчатых аппаратах этой конструкции обеспечивается свободное удлинение труб, что исключает возможность возникновения температурных напряжений.

Такие аппараты (рис. 2.6) состоят из кожуха 2 и трубного пучка, имеющего одну трубную решетку 3 и U-образные трубы 1. Трубная решетка вместе с распределительной камерой 4 крепится к кожуху аппарата на фланце.

Рис. 2.6. Теплообменник с U-образными трубами

Для обеспечения раздельного ввода и вывода циркулирующего по трубам теплоносителя в распределительной камере предусмотрена перегородка 5.

Теплообменники типа У являются двухходовыми по трубному пространству и одно- или двухходовыми по межтрубному пространству. В последнем случае в аппарате установлена продольная перегородка, извлекаемая из кожуха вместе с трубным пучком. Для исключения перетекания теплоносителя в зазорах между кожухом аппарата и перегородкой у стенки кожуха устанавливают гибкие металлические пластины или прокладку из прорезиненного асбестового шнура, уложенную в паз перегородки.

В аппаратах типа У обеспечивается свободное температурное удлинение труб: каждая труба может расширяться независимо от кожуха и соседних труб.

Разность температур стенок труб по ходам в этих аппаратах не должна превышать 100°С. В противном случае могут возникнуть опасные температурные напряжения в трубной решетке вследствие температурного скачка на линии стыка двух ее частей.

Преимущество конструкции аппарата типа У - возможность периодического извлечения трубного пучка для очистки наружной поверхности труб или полной замены пучка. Однако следует отметить, что наружная поверхность труб в этих аппаратах неудобна для механической очистки.

Поскольку механическая очистка внутренней поверхности труб в аппаратах типа У практически невозможна, в трубное пространство таких аппаратов следует направлять среду, не образующую отложений, которые требуют механической очистки.

Теплообменники с U-образными трубами применяют для нагрева и охлаждения жидких или газообразных сред без изменения их. Агрегатного состояния. Они рассчитаны на давление до 6,4 МПа, отличаются от теплообменников с плавающей головкой менее сложной конструкцией (одна трубная решетка, нет внутренней крышки), однако могут быть лишь двухходовыми, из труб только одного сортамента: 20Х2 мм. Поверхности теплообмена и основные параметры этих теплообменников приведены в ГОСТ 44245-79.

Аппараты теплообменные с прямой теплоотдачей

В СМЕСИТЕЛЬНЫХ (контактных) теплообменниках теплообмен происходит при непосредственном соприкосновении теплоносителей. К смесительным теплообменникам относятся, например, градирни.

ТЕПЛООБМЕННЫЕ АППАРАТЫ «ТРУБА В ТРУБЕ» используют главным образом для охлаждения или нагревания в системе жидкость - жидкость, когда расходы теплоносителей невелики и последние не меняют своего агрегатного состояния. Иногда такие теплообменники применяют при высоком давлении для жидких и газообразных сред, например, в качестве конденсаторов в производстве метанола, аммиака и др.

Двухтрубные теплообменники по ГОСТ 9930-78 изготавливаются с площадью поверхности теплообмена от 0.5 до 93 м. Аппараты представляют собой набор последовательно соединенных элементов, состоящих из концентрически расположенных труб (рис. 2.7).

Рис. 2.7. Теплообменник типа «труба в трубе»

Один теплоноситель движется по внутренним трубам 1, другой - по кольцевому зазору между внутренними и наружными 2 трубами. Внутренние трубы 1 соединяются с помощью калачей 5, а наружные - c помощью соединительных патрубков 3. Длина элемента теплообменника типа «труба в трубе» обычно составляет 3 - 6 м, диаметр наружной трубы - 76 - 159 мм, внутренней - 57 - 108 мм.

Поскольку сечения внутренней трубы и кольцевого зазора невелики, то в этих теплообменниках достигаются значительные скорости движения теплоносителей (до 3 м/с), что приводит к увеличению коэффициентов теплопередачи и тепловых нагрузок, замедлению отложения накипи и загрязнений на стенках труб. Однако двухтрубные теплообменники более громоздки, чем кожухотрубчатые, на их изготовление требуется больше металла на единицу поверхности теплообмена Двухтрубные теплообменники применяют для процессов со сравнительно небольшими тепловыми нагрузками и соответственно малыми поверхностями теплообмена (не более десятков квадратных метров).

В разборных конструкциях теплообменников обеспечивается компенсация деформаций теплообменных труб. На рис. 3.8 показана конструкция разборного многопоточного теплообменника «труба в трубе», напоминающего кожухотрубчатый теплообменник типа У. Аппарат состоит из кожуховых труб 5, развальцованных в двух трубных решетках: средней 4 и правой 7. Внутри кожуховых труб размещены теплообменные трубы 6, один конец которых жестко связан с левой трубной решеткой 2, а другой - может перемещаться. Свободные концы теплообменных труб попарно соединены коленами 8 и закрыты камерой 9. Для распределения потока теплоносителя по теплообменным трубам служит распределительная камера 1, а для распределения теплоносителя в межтрубном пространстве - распределительная камера 3. Пластинами 11 кожуховые трубы жестко связаны с опорами 10.

Рис. 2.8. Разборный двухпоточный теплообменник типа «труба в трубе»

Теплообменник имеет два хода по внутренним трубам и два по наружным. Узлы соединения теплообменных труб с трубной решеткой (узел I) и с коленами (узел II) уплотнены за счет прижима и деформации полушаровых ниппелей в конических гнездах.

Эти аппараты могут работать с загрязненными теплоносителями, так как внутреннюю поверхность теплообменных труб можно подвергать механической очистке. Поскольку возможность температурных удлинений кожуховых труб из-за жесткого соединения их с опорами ограниченна, перепад температур входа и выхода среды, текущей по кольцевому зазору, не должен превышать 150°С.

Довольно широкое применение в технике находят ТЕПЛООБМЕННИКИ С НАРУЖНЫМИ ЗМЕЕВИКАМИ, применение которых позволяет проводить процесс при высоких давлениях (до 6 МПа). К стенкам аппаратов (обычно реакторов) снаружи приваривают змеевики, изготовленные из полуцилиндров или угловой стали. Если же необходимо использовать теплоноситель при еще более высоком давлении (например, перегретую воду при 25 МПа), то змеевик приваривают к корпусу аппарата многослойным швом.

К достоинствам аппарата с приваренными змеевиками следует отнести возможность распределения системы труб змеевика на несколько секций, питаемых независимо друг от друга. Включением и отключением отдельных секций становится возможным регулировать обогрев или охлаждение. Кроме того, материал привариваемых змеевиков может быть отличным (более дешёвым) от материала корпуса аппарата.

АППАРАТЫ С ДВОЙНЫМИ СТЕНКАМИ (РУБАШКАМИ) используют в химической промышленности как обогреваемые (охлаждаемые) сосуды для проведения химических реакций. Как правило, они работают под избыточным давлением в зависимости от характера технологического процесса носят название автоклавов, полимеризаторов, и др.

Аппараты теплообменные листовые

СПИРАЛЬНЫЕ ТЕПЛООБМЕННИКИ изготовляют с поверхностью теплообмена 10-100 м²; они работают как под вакуумом, так и при давлении до 1 МПа при температуре рабочей среды 20-200°С. Их можно использовать для реализации теплообмена между рабочими средами жидкость-жидкость, газ-газ, газ-жидкость, а также конденсации паров и парогазовых смесей. Все большее распространение этих теплообменников в последнее время объясняется главным образом простотой изготовления и компактностью конструкции. В таком аппарате один из теплоносителей поступает в периферийный канал аппарата и, двигаясь по спирали, выходит из верхнего центрального канала. Другой теплоноситель поступает в нижний центральный канал и выходит из периферийного канала. Площадь поперечного сечения каналов в таком теплообменнике по всей длине постоянна, поэтому он может работать с загрязненными жидкостями (загрязнение смывается потоком теплоносителя).

В спиральных теплообменниках поверхность теплообмена образована двумя стальными лентами 1, 2 толщиной 3,5-6 мм и шириной 400-1250 мм (рис. 1.14), свернутыми в спираль так, что получаются каналы а и б прямоугольного профиля, по которым противоточно движутся теплоносители.

Первый (от центра аппарата) виток спирали закреплен распорными дисками 4, которые фиксируются продольными распорками 3. На поверхности спирали с шагом 70-100 мм приварены штифты 6 для придания теплообменнику жесткости. Кроме штифтов при навивке спирали между ее витками устанавливают полосовые дистанционные вставки 5. Эти вставки вместе со штифтами обеспечивают требуемый зазор между лентами, который для стандартных теплообменников составляет 8-12 мм. С торцов аппарат закрыт крышками на прокладках. В зависимости от способа уплотнения спиральных каналов с торцов различают теплообменники с тупиковыми и сквозными каналами.

Рис. 2.9 Спиральный теплообменник теплообменнике

Тупиковые каналы образуют приваркой полосовых вставок к торцу спирали; с торцов каналы закрыты крышками с прокладкой. После снятия крышек и прокладок оба канала можно прочистить. Такой способ уплотнения каналов исключает возможность смешения теплоносителей при прорыве прокладки и поэтому наиболее распространен. Сквозные каналы с обоих торцов закрыты крышками с прокладками, легко поддаются чистке, но не исключают возможность смешения теплоносителей.

Выбор теплообменного аппарата

Выбор оптимальной конструкции теплообменника является задачей, разрешаемой технико-экономическим сравнением нескольких типоразмеров аппаратов применительно к заданным условиям или на основании критерия оптимизации.

На поверхность теплообмена и на относящуюся к ней долю капитальных затрат, а также на стоимость эксплуатации влияет недорекуперация теплоты. Чем меньше величина недорекуперации теплоты, т.е. чем меньше разность температур греющего теплоносителя на входе и нагреваемого теплоносителя на выходе при противотоке, тем больше поверхность теплообмена, тем выше стойкость аппарата, но тем меньше эксплуатационные расходы. Конечно, должен быть определенный оптимум увеличения капитальных и снижения эксплуатационных расходов, который можно определить графически. Известно также, что с увеличением числа и длины труб в пучке и уменьшением диаметра труб снижается относительная стоимость 1 м² поверхности кожухотрубчатого теплообменника, так как при этом снижается общая затрата металла на аппарат в расчете на единицу поверхности теплообмена. Следует иметь в виду, что с увеличением числа труб увеличивается вероятность нарушения плотности их крепления в трубной решетке, а с применением труб малого диаметра увеличивается их засоряемость и усложняется чистка.

При выборе типа теплообменника можно руководствоваться следующим рекомендациями.

. При обмене теплотой двух жидкостей или двух газов целесообразно выбрать секционные (элементные) теплообменники; если из-за большой поверхности теплообменника конструкция получается громоздкой, можно принять к установке многоходовой кожухотрубчатый теплообменник.

. При подогреве жидкости паром рекомендуются многоходовые по трубному пространству кожухотрубчатые аппараты с подачей пара в межтрубное пространство.

. Для химически агрессивных сред и при небольших тепловых производительностях экономически целесообразны рубашечные, оросительные и погружные теплообменники.

. Если условия теплообмена по обе стороны тепло-передающей поверхности резко различны (газ и жидкость), должны быть рекомендованы трубчатые ребристые теплообменники.

. Для передвижных и транспортных тепловых установок, авиационных двигателей и криогенных систем, где при высокой эффективности процесса необходимы компактность и малая масса, находят широкое применение пластинчатые ребристые теплообменники.

. Во всех случаях необходимо стремиться выбирать наиболее простые по конструкции и наиболее дешевые по материалам теплообменники. К усложненным аппаратам (с плавающей камерой, с сильфонным компенсатором, спиральным), а также с латунными или медными трубами следует прибегать лишь в случае обоснованной необходимости.

Исходя из всего перечисленного для данных условий был выбран кожухотрубчатый конденсатор с неподвижными трубными решетками.

3. Технологический расчет

Расчет теплообменного аппарата выполняется в определенной последовательности. Упорощенная схема расчета состоит из следующих этапов.

1. Нахождение теплотехнических свойств (p, c, r, μ,λ) индивидуальных веществ и их смесей.

2. Определение тепловой нагрузки Q, неизвестного расхода теплоносителя или хладоагента, принятие коэффициента теплопередачи, расчет ориентировочной поверхности теплопередачи, выбор типа теплообменника.

3. Определение режимов движения горячего и холодного потоков, расчет коэффициентов теплоотдачи, а затем теплопередачи, определение температуры стенки и уточнение найденных ранее коэффициентов.

4. Определение уточненной площади поверхности теплопередачи и расчет запаса.

5. Выбор диаметров штуцеров и расчет гидравлического сопротивления трубного и межтрубного пространств.

6. Технико-экономический расчет и выбор оптимальной конструкции аппарата.

7. Заполнение «Бланка заказа для изготовления стандартного кожухотрубчатого теплообменника».

Выражение состава пара в мольных долях yi

Молярные массы компонентов: бензола M1=78,11 кг/кмоль, толуола М²=92,13 кг/кмоль. Мольные доли компонентов yk находятся пересчетом из массовых процентов ỹk, указанных в задании, по формуле:

yk=(ỹk/Mi)/∑ ỹk/Mi, (1)

где Mi - мольная масса компонента i (кг/кмоль).

y1=(98,5/78,11)/(98,5/78,11+1,5/92,13)=0,99;

y2=(1,5/93,13)/(1,5/92,13+98,5/78,11)=0,01.

Проверка: y1+y2=1,0.

,99+0,01=1.

Определение температуры начала конденсации пара

Принимаем температуру начала конденсации пара t`н=80˚С. По уравнению Антуана рассчитываем при этой температуре давление насыщенных паров компонентов:

lnP=A-B/(T+C), (2)

где Р - давление насыщенного пара, мм рт. Ст.;

А, В, С - константы, зависящие от природы вещества;

Т - температура, К.

mi=Pi/П, (3)

где mi - константы фазового равновесия компонентов смеси для произвольной температуры t;

Рi - давление насыщенного пара i-того компонента при температуре t;

П - общее давление в системе.

∑yi/mi=1,0, (4)

где yi - мольная доля i-того компонента пара, поступающего в аппарат;

mi - константа фазового равновесия i-того компонента.

lnP1= 15,9008 - 2788,5.1/[(80 + 273) - 52,36] = 6,63,

откуда Р1 = е6,63 = 934,5 мм рт. ст. =934,5 · 133,3=100974,75 Па;

lnP2= 16,0137 -, 3096,52/[(80 + 273) - 53,67] = 5,67;

откуда Ра = е5,67 = 368,7 мм.рт. ст. = 368,7 · 133,3 = 38661,6 Па.

По уравнению (3) рассчитываем константы фазового равновесия компонентов при температуре t`н=85˚С:

m1 = 100974,75/115000 =0,878;

m²= 38661,6/115000=0,336.

По уравнению (4) рассчитываем:

,99/0,878+0,01/0,336=1,16.

Найденная сумма значительно отличается от единицы, поэтому принимаем новое значение температуры начала конденсации пара, равное t``н=95˚С. Для температуры t``н=95˚С снова рассчитываем давление насыщенных паров и константы фазового равновесия компонентов.

lnP1= 15,9008 - 2788,5.1/[(95 + 273) - 52,36] = 7,07,

откуда Р1 = е7,07 = 1176,15 мм рт. ст. =1176,15 · 133,3=156780,8 Па;

lnP2= 16,0137 -, 3096,52/[(95 + 273) - 53,67] = 6,16;

откуда Ра = е6,16 = 473,43 мм. рт. ст. = 473,43· 133,3 = 63107,96 Па.

По уравнению (3) рассчитываем константы фазового равновесия компонентов при температуре t`н=95˚С:

m1 = 156780,8/115000 =1,36;

m²= 63107,96/115000=0,55.

По уравнению (4) рассчитываем:

,99/1,36+0,01/0,55=0,748.

Методом линейной интерполяции определяем температуру tн, при которой сумма y1/m1+y2/m² равна единице.

tн=95+[(0,748-1,0)·(80-95)/(0,748-1,16)]=85,8˚С;

tн=80 - [(1,0-1,16)·(80-95)/(0,748-1,16)]=85,8˚С.

Температура tн=85,8˚С является температурой начала конденсации пара.

Определение температуры конца конденсации пара

Температура конца конденсации пара tw определяется методом последовательных приближений с помощью уравнения:

∑хi*mi=1,0, (5)

где хi - мольная доля i-того компонентав образовавшемся конденсате; при полной конденсации паровой смеси получаемый конденсат имеет такой же состав, что и паровая смесь, из которой был получен конденсат, т.е. хi=yi;

mi - константа фазового равновесия i-того компонента.

Принимаем температуру t`w=95˚С. Для этой температуры уже были рассчитаны константы фазового равновесия компонентов. Рассчитываем сумму

∑хi*mi=0,99·0,73+0,01·0,18=0,7245.

Найденная сумма значительно отличается от единицы, поэтому принимаем новое значение температуры конца конденсации пара, равное t``w=80˚С.

∑хi*mi=0,99·0,878+0,01·0,336=0,87236.

Методом линейной интерполяции определяем температуру tw, при которой сумма x1·m1+x2·m² равна единице.

tн=95+[(0,7245-1,0)·(80-95)/(0,7245-0,87236)]=80,06˚С;

tн=80 - [(0,87236-0,7245)·(80-95)/(0,7245-0,87236)]=80,06˚С.

Температура tw=80,06˚С является температурой конца конденсации пара.

Изменение температуры пара незначительно (от tн=85˚С до tw=80,06˚С), поэтому среднюю температуру конденсации пара можно найти как среднюю арифметическую:

tп=(tн+tw)/2; (6)

tп=(85+80,06)/2=82,93˚С.

В последующем расчете среднюю температуру конденсации пара tп следует уточнить.

Расчет теплового потока и расхода хладоагента. Расчет температуры воды в момент конденсации пара

Для определения теплового потока Q, передаваемого от конденсирующегося пара к охлаждающей воде, рассчитываем по уравнению удельную теплоту конденсации пара.

 

p

rсм=∑ri·yi, (7)

i=1

где ri - удельная теплота конденсации i-того компонента пара, кДж/кг или Дж/кг.

yi - массовая доля i-того компонента в паре;

p - число компонентов в паре.

Удельная теплота конденсации компонентов пара при температуре tп=82,93˚С:

r1=393 кДж/кг; r2=378 кДж/кг;

rсм=393·0,985+0,015·378=392,75 (кДж/кг).

Тогда тепловая нагрузка аппарата Q

Q=Gп·rсм+Gп·cсм+(tw-tвыхода) (8)

Где Gп - массовый расход пара, кг/с;

rсм - удельная теплота конденсации пара, кДж/кг или Дж/кг.

Q=2,78·392,75+2,78·2034,5·(80,06-40)=1357,4 кВт.

Расход воды Gв, необходимый для конденсации пара:

Gв=Q/св·(tвыхода-tвхода);

Gв=1357,4/4,18·(40-25)=21,6 кг/с.

Qб, т=Gп·rсм; (9)

Qв=Gв·св·(tвыход-tх). (10)

Приравнивая уравнения (9) и (10), получаем tx:

tх=40-2,78·392,75/21,6·4,18=27,9˚С.

Определение средней разности температур между теплоносителями. Расчет площади поверхности

Рис. 3.1. Схема движения теплоносителей

Разделяем схему на две зоны. I зона - зона конденсации паровой фазы, II зона - зона охлаждения образовавшегося конденсата пара.

Расчет площади поверхности для I зоны

∆tб=80-27,9=52,1˚С;

∆tм=86-40=46˚С;

∆tср=(52,1+46)/2=49,05˚С.

∆t`=(86+80)/2=83˚С,

∆t=∆t`-∆tср;

∆t=83-49,05=33,95˚С.

Ориентировочно принимаем коэффициент теплопередачи равным Kор=345 Вт/(м²·К).

Ориентировочная площадь поверхности теплопередачи FорI, необходимая для конденсации пара:

Fор=Q/(Кор·∆t); (11)

FорI=1092·103/(345·33,95)=93,23 м²

Расчет площади поверхности для II зоны

∆tб=80-27,9=52,1˚С;

∆tм=40-25=15˚С;

∆tср=(52,1-15)/[ln (52,1/15)] =29,92˚С.

∆t`=(27,9+25)/2=26,45˚С,

∆t=∆t`+∆tср;

∆t=29,92+26,45=56,37˚С.

Ориентировочно принимаем коэффициент теплопередачи равным Kор=240 Вт/(м²·К).

Ориентировочная площадь поверхности теплопередачи FорI, необходимая для конденсации пара рассчитывается по формуле (11)

FорII =1092·103/(240·56,37)=16,74 м²

Общая ориентировочная площадь поверхности теплопередачи Fобщ:

Fобщ= FорI+ FорII (12)

Fобщ=93,23+16,74=109,97 м².

Таблица 3.1. Свойства теплоносителя и хладоагента

Свойство

Размерность

Теплоноситель

Хладоагент

tср

˚С

t1ср=83˚С

t2ср=33,95˚С

ρ

кг/м³

809,98

995

с

Дж/(кг·К)

2,0345

4180

μ

Па·с

0,30547·10-3

0,785·10-3

λ

Вт/(м·К)

0,1299

62·10-2

r

кДж/кг

392,75

-


Выбор теплообменника

В кожухотрубчатых аппаратах конденсирующийся пар проходит по межтрубному пространству, в котором обычно имеются поперечные перегородки. Охлаждающая вода или другой хладагент движется по трубам. Одноходовые и многоходовые теплообменники могут быть вертикальными или горизонтальными. Вертикальные аппараты более просты в эксплуатации и занимают меньшую производственную площадь. Горизонтальные теплообменники обычно применяют многоходовыми и они работают при больших скоростях теплоносителей, чем вертикальные, чтобы свести к минимуму расслоение жидкостей вследствие разности их температур и плотностей, а также устранить образование застойных зон.

По данным справочных таблиц выбираем конденсатор вариант 1, вариант 2 и вариант 3. Геометрические характеристики аппаратов занесены в табл. 11. Ориентировочная масса аппаратов М, представленная в табл. 3.2, взята из [8, с. 56].

Таблица 3.2. Конструктивные характеристики кожухотрубчатых теплообменников

Характеристики

Вариант 1

Вариант 2

1. Диаметр кожуха D, мм

800

600

2. Диаметр труб d, мм

25х2

25х2

3. Число ходов z

6

2

4. Площадь сечения одного хода по трубам f, м²

0,022

0,042

5. Длина труб L, м

4,0

6,0

6. Площадь поверхности теплопередачи F, м²

121

113

7. Число труб n

384

240

8. Ориентировочная масса аппарата М, кг

3950

3130



Скорость-воды в трубах теплообменников:

W=Gв (ρв·fтр), (12)

где Gв - расход воды, необходимый для конденсации пара, кг/с;

ρв - плотность воды при температуре 27,9˚С;

fтр - площадь сечения одного хода по трубам, м².

для варианта 1 W1=21,6 (990·0,022)=0,99 м/с;

для варианта 2 W2=21,6 (990·0,042)=0,52 м/с.

Расчет варианта 1

Коэффициент теплоотдачи от пара к трубам α1 при пленочной конденсации пара и ламинарном отекании пленки конденсата для вертикального аппарата рассчитывается по уравнению (13), а для горизонтального - по уравнению (14) [8, с. 53]:


где dн - наружный диаметр труб;

n - число труб;

ε - коэффициент, зависящий от числа труб;

при n ≤ 100, ε = 0,7; при n > 100, ε = 0,6.

Теплофизические характеристики конденсата λ, ρ, μ рассчитываются при средней температуре конденсации пара tп=83°С.

Плотность пленки конденсата р определяется из соотношения

 (15)

где ρi - плотность компонентов конденсата при tп=83°С [2, с. 512];

ρ1 = 810 кг/м³, ρ2 =804 кг/м³

1/р = 0,99/810 + 0,01/804 = 0,0012346 м³/кг,

откуда ρ = 1 / 0,0012346 =809,98 кг/м³.

Вязкость пленки конденсата μ рассчитывается по формуле

 (16)

где μi - вязкость компонентов конденсата [2, е. 556 или 4];

хi - мольные доли компонентов в конденсате; в случае полной конденсации пара хi = уi.

Вязкость компонентов конденсата:

μ1 = 0,305·10-3 Па·с, μ 2 = 0,308·10-3 Па·с,

lgμ =0,99·lg0,305·10-3+0,01·lg0,308·10-3 =-3,6638,

откуда μ= 0,30547·10-3 Па·с.

Коэффициент теплопроводности пленки конденсата λ рассчитывают приближенно по формулам (17) и (18) и в дальнейших расчетах используют меньшее значение λ. [10].

 (17)

 (18)

где λi - коэффициенты теплопроводности компонентов конденсата [2, с. 561].

λ1 =0,13 Вт/(м·К);

λ2=0,1225 Вт/(м·К);

λ`=0,99·0,13+0,01·0,1225=0,1299 Вт/(м·К);

λ``=0,985·0,13+0,015·0,1225=0,1298 Вт/(м·К);

Принимаем λ=λ``=0,1298 Вт/(м·К).

α'1, верт =3,78·0,1299·=959,7 Вт/(м²·К);

Для горизонтального-аппарата коэффициент теплоотдачи от пара к трубам α '1 гор в соответствии с уравнением (14)

α'1, гор =2,02·0,6·0,1299·=1912 Вт/(м²·К);

Величина критерия Рейнольдса для воды:

Rе=w·dвн·ρв/μв, (19)

где dвн - внутренний диаметр труб, м.

Rе=0,99·0,021·970/0,34·10-3=59312,6>104=>

=> турбулентное течение.

Коэффициент теплоотдачи от труб к воде α2 при устойчивом турбулентном течении (Rе > 10000) рассчитывается из соотношения (20) [8, с. 49]:

 (20)

где dэкв - эквивалентный диаметр канала; при движении по трубам (dэкв равен внутреннему диаметру трубы dвн.

Из уравнения (20) величина α2

 (21)

В уравнениях (20) и (21) физические величины, входящие в критерии Рейнольдся и Прандтля, берутся при средней температуре жидкости tср = 27,9˚С. Физические величины, входящие в критерий Ргст, берутся при температуре стенки со стороны жидкости tст2.

Температура tст2 еще неизвестна, поэтому в первом приближении принимаем отношение (Рг / Ргст)0,25=1,0. Величину этого отношения уточним последующим расчетом.

Из табл. 10 значение Рг = 5,5.

Величина α2

α2=0,023·(0,618/0,021)·593120,8·5,50,4 = 8813,7 Вт/(м²·К)

Принимаем термическое сопротивление со стороны конденсирующегося пара органических веществ r1=1/11600=0,00009 (м²·К)/Вт, а со стороны воды г2=1/1860=0,00054 (м²·К)/Вт [8, с. 48].

Для легированной стали коэффициент теплопроводности λст =17,5 Вт/(м·К) [2, с. 529]. Тогда термическое сопротивление стенки

rст=δст/λст=2·10-3/17,5=0,000114 (м²·К)/Вт

(δст - толщина стенки труб теплообменника).

Сумма термических сопротивлении г;.

 (22)

Коэффициенты теплопередачи для вертикального К'верт и горизонтального К'гор аппаратов:

К'верт=. (23)

К'верт==735,3 Вт/(м²·К).

К'гор=. (24)

К'верт==339,6 Вт/(м²·К).

Расчетная площадь поверхности теплопередачи для вертикального F'расч, верт и горизонтального F'расч, гор аппарата:

F'расч, верт=Q/(К'верт·∆tср);

F'расч, верт=1092·103/(735,3·33,95)=43,74 м²;

F'расч, гор=Q/(К'гор·∆tср);

F'расч, гор=1092·103/(339,6·33,95)=94,71 м².

Для вертикального аппарата запас площади поверхности теплопередачи ∆'верт значительно меньше номинального нормализованного аппарата Fнорм=121 м², поэтому следует отказаться от варианта установки вертикального аппарата.

Для горизонтального аппарата запас площади поверхности теплопередачи ∆'гор определяется по уравнению:

 (25)

Такой запас площади поверхности теплопередачи является допустимым. Рассчитываем температуру стенок со стороны пара t`ст1 и воды t`cт2 для горизонтального аппарата из соотношения (26) для поверхностной плотности теплового потока

q=Q/F=K`гор·∆tср= α`1 гор (tп-tст1=α2 (tст2-tср), (26)

откуда:

t'ст1=tп - K'гор·∆tср/α'1, гор;

t'ст1=83-339,6·33,95/1912=77°С;

t'ст2=tср - K'гор·∆tср/α2;

t'ст2=27,9+339,6·33,95/8813,7=29,2°С.

Разность температур ∆t между паром и стенкой

∆t=tп - t'ст1=83-77=6°С<40°С

Значение ∆t не превышает 40°С, поэтому уточнять температуру пленки конденсата t'пл и рассчитывать коэффициент теплоотдачи от пара к стенке при новом значений температуры пленки конденсата не требуется.

t'пл=0,5 (83+77)=80°С.

Проверим ранее принятое допущение (Рr/Рrст)0,25=1,0. Критерий Прандтля при температуре стенки tст. Величина (Рr/Рrст)0,25=1,03 близка к единице, поэтому в расчет коэффициента теплоотдачи от стенок труб к воде α2 корректировок вносить не требуется.

Для проверки правильности выполненных расчетов из соотношения (26) найдем поверхностную плотность тепловых потоков со стороны - пара

q`=α1, гор·(tп-tст1), со стороны воды q``=α2·(tст2-tср) и передаваемую от пара к воде q```=Kгор·∆tср.

q`=1912·(83-77)=11472 Вт/м²;

q``=8813,7·(29,2-27,9)=11457,81 Вт/м²;

q```=339,6·33,95=11529 Вт/м².

Расхождение величин q` и q`` со значением q```:

, (27)

 (28)

Значения ∆` и ∆`` меньше допустимых (3 - 5)%, поэтому никаких корректировок в расчет вносить не требуется.

Значения параметров процесса теплопередачи представлены на рис. 3.2

Рис. 3.2. Схема теплопередачи варианта 1

Расчет варианта 1

Коэффициент теплоотдачи от пара к трубам α1 при пленочной конденсации пара и ламинарном отекании пленки конденсата для вертикального аппарата рассчитывается по уравнению (13), а для горизонтального - по уравнению (14) [8, с. 53]:

Коэффициент теплоотдачи от пара к трубам для вертикального аппарата α'1 верт в соответствии с уравнением (13):

α'1, верт =3,78·0,1299·=820,6 Вт/(м²·К);

Для горизонтального-аппарата коэффициент теплоотдачи от пара к трубам α '1 гор в соответствии с уравнением (14)

α'1, гор =2,02·0,6·0,1299·=1634 Вт/(м²·К);

Величина критерия Рейнольдса для воды:

Rе=0,52·0,021·970/0,34·10-3=31154>104=>

=> турбулентное течение.

Коэффициент теплоотдачи от труб к воде α2 при устойчивом турбулентном течении:

α2=0,023·(0,618/0,021)·311540,8·5,50,4=5265,6 Вт/(м²·К).

Коэффициенты теплопередачи для вертикального К'верт и горизонтального К'гор аппаратов по формулам (23) и (24):

К'верт==476 Вт/(м²·К).

К'верт==666,67 Вт/(м²·К).

Расчетная площадь поверхности теплопередачи для вертикального F'расч, верт и горизонтального F'расч, гор аппарата:

F'расч, верт=Q/(К'верт·∆tср);

F'расч, верт=1092·103/(476·33,95)=67,57 м²;

F'расч, гор=Q/(К'гор·∆tср);

F'расч, гор=1092·103/(666,67·33,95)=48,3 м².

Для горизонтального аппарата запас площади поверхности теплопередачи ∆'гор значительно меньше номинального нормализованного аппарата Fнорм=113 м², поэтому следует отказаться от варианта установки горизонтального аппарата.

Для вертикального аппарата запас площади поверхности теплопередачи ∆'верт определяется по уравнению (25)

Такой запас площади поверхности является недопустимым, поэтому от варианта 2 следует отказаться. Дальнейшие расчет производим, используя данные варианта 1.

4. Гидравлический расчет варианта 1.

Гидравлическое сопротивление трубного пространства теплообменника ∆Р рассчитывается по формуле

∆Р=∆Ртр+∑∆Рм.с, (29)

где ∆Ртр - сопротивление трения;

∑∆Рм.с.i - сумма местных сопротивлений.

Сопротивление трения для неизотермического потока

∆Ртр=λтр·(z·L/dвн)·(w2)·ρ·(Рrст/Рr)0,33, (30)

где λтр - коэффициент трения;

z - число ходов по трубам;

L - длина труб.

Примем, что трубы аппарата имеют незначительную коррозию и их шероховатость составляет е= 0,2 мм. Отношение внутреннего диаметра труб к шероховатости dвн/е=21/0,2=105. По рис. 1.5 [2, с. 22-] для Rе=59312,6 и dвн/е=105 находим λ=0,045.

Потеря давления на преодоление трения в трубах

∆Ртр = 0,045·(6·4,0/0,021)·(0,992 / 2)·970·(5,43/5,5)0,33=11367 Па.

Потеря давления на преодоление местных сопротивлений ∑∆Рм.с.i складывается из нескольких величин:

∑∆Рм.с.i=∆Р1+∆Р2+∆Р3 (31)

где ∆Р1 - сопротивление на входе в аппарат и выходе из него;

∆Р2 - сопротивление при входе в трубы и выходе из них;

∆Р3 - сопротивление при повороте потока на 180˚ из одного хода в другой.

Условные диаметры, штуцеров dу трубного пространства кожухотрубчатых теплообменников приведены в табл. 4.1 [8, с. 55].

Таблица 4.1 Диаметры условного прохода штуцеров кожухотрубчатых теплообменников

D кожуха, мм

Диаметр условного прохода штуцеров для трубного пространства при числе ходов 2 по трубам, мм

Диаметры условного прохода штуцеров для межтрубного пространства, мм


1

2

4

6


159

80

-

-

-

80

273

100

-

-

-

100

325

150

100

-

-

100

400

150

150

-

-

150

600

200

200

150

100

200

800

250

250

200

150

250

1000

300

300

200

150

300

1200

350

350

250

200

350

1400

-

350

250

200

-


Для D=800 мм и z=2 условный диаметр штуцера dу =200 мм.

Скорость воды в штуцерах

Wш=Gв/(ρ·0,785·dу2);

Wш=21,6/(970·0,785·0,152)=1,26 м/с.

Скорость воды в штуцерах больше скорости в трубах, поэтому потери давления для входа в аппарат и выхода из аппарата находим по скорости в штуцерах Wш, а потери давления при входе в трубы и выходе из них и при повороте из одного хода в другой - по скорости в трубах. Тогда

∆Р1= ζ1·n1·(Wш2/2)·ρ; (32)

где ζ 1=1,5 - коэффициент местного сопротивления при входе в аппарат и выходе из него;

n1=2 - число штуцеров.

∆Р1= 1,5·4·(1,262/2)·970=4622 Па.

∆Р2= ζ2·n2·(W2/2)·ρ; (33)

где ζ2=1 - коэффициент местного сопротивления при входе в трубы и выходе из ним;

n2=12 - число входов в трубы и выходов из труб.

∆Р2= 1·12·(0,992/2)·970=5704 Па.

∆Р3= ζ3·n3·(W2/2)·ρ; (34)

где ζ3=2,5 - коэффициент местного сопротивления при повороте потока на 180˚;

n3=5 - число поворотов.

∆Р3= 2,5·5·(0,992/2)·970=5940 Па.

Общее гидравлического сопротивление трубного пространства теплообменника:

∆Р=∆Ртр+∆Р1+∆Р2+∆Р3; (35)

∆Р=11367+4622+5704+5940=16268 Па.

5. Элементы механического расчета

В данной части курсового проекта приведены расчеты на прочность отдельных узлов и деталей выбранного конденсатора с целью определения их размеров.

Расчету на прочность предшествует выбор конструкции материала в зависимости от необходимой химической стойкости, дефицитности и стоимости материала и других факторов.

Исходя из этих параметров выбрана марка стали ст20. Ее основные характеристики приведены в табл. 5.1. [1]

Таблица 5.1. Характеристики стали марки ст20

Марка ст

δв, МПа, не <

δт, МПа, не < при толщине листа 250

δ5, %

20 по ГОСТ 1050-74

420

250

25


5.1 Расчет толщины обечайки

Главным составным элементом корпуса большинства химических аппаратов является обечайка. В химическом аппаратостроении наиболее распространены цилиндрические обечайки, отличающиеся простотой изготовления, рациональным расходом материала и достаточной прочностью. Цилиндрические обечайки из стали изготавливают вальцовкой листов с последующей сваркой стыков.

Толщину рассчитывают:

; (36)

где Dн - наружный диаметр обечайки;

δд - допускаемое напряжение на растяжение для материала обечайки, МПа;

φ - коэффициент, учитывающий ослабление обечайки из-за сварного шва и наличия неукрепленных отверстий, φ=0,9 [1].

см - прибавка толщины, см=1 мм.

; (37)

=161,6·106 Н/м²;

=166,6·106 Н/м².

Первое значение, как меньшее, является расчетным.

Проверим равенство

=> величиной Р в формуле 36 можно пренебречь.

=3,1·10-3, толщина значительно меньше допустимой, принимаем s=10 мм.

5.2 Расчет трубной решетки

Одним из основных элементов кожухотрубчатых теплообменных аппаратов являются трубные решетки. Они представляют собой перегородки, в которых закрепляются трубы и которыми трубное пространство отделяется от межтрубного. При конструировании теплообменного аппарата одновременно с проведением теплотехнического расчета необходимо выбрать способ размещения и крепления труб в трубной решетке, конструкцию трубной решетки и рассчитать ее толщину. Наиболее рационально по плотности упаковки труб размещение их по вершинам равносторонних треугольников.

Крепление труб в трубных решетках осуществляется сваркой, пайкой или развальцовкой. Минимальный шаг между трубами рекомендуется принимать в зависимости от диаметра труб dн:

t≥1,3dн+5 мм; (38)

Рассчет толщины трубной решетки зависит от ее конструкции и от конструктивной схемы аппарата.

Наиболее распространенные конструкция трубных решеток изображеа на рис. 5.1.

Рис. 5.1. Выбранная конструкция трубных решеток.

Толщина трубной решетки данного типа определяется по формуле (39):

; (39)

.

В виду малой расчетной толщины принимаем sp=10 мм (0,01 м).

.3 Выбор крышки

Наиболее распространены крышки круглые фланцевые, которые могут быть плоскими и эллиптическими, реже - сферическими и цилиндрическими. Присоединяются фланцевые крышки на уплотняющих прокладках закладными ил откидными болтами.

Руководствуясь известными значениями внутреннего диаметра Dв=800 мм обечайки, толщиной днища s=10 мм, выбираем крышку эллиптическую отбортованную стальную с внутренними базовыми диаметрами (ГОСТ 6533-53) [2]. Основные конструктивные характеристики данного вида крышки приведены в табл. 5.2.

Таблица 5.2. Основные конструктивные характеристики эллиптической отбортованной стальной с внутренними базовыми диаметрами

Характеристики

Значение

1. Диаметр кожуха аппарата Dв, мм

800

2. Толщина днища s, мм

10

3. Высота закругленной поверхности hв, мм

200

4. Высота плоской поверхности днища h, мм

40

5. Внутренняя поверхность днища, Fв, м²

0,80

6. Емкость днища, V·10-3, м³

87,2

7. Диаметр заготовки, D, мм

1018

Рис. 5.2. Эллиптическая крышка. Конструктивные размеры

5.4. Выбор опор

Выбор типа опоры зависит от ряда условий: места установки аппарата, соотношения высоты и диаметра аппарата, его массы и т.д. Для горизонтальных аппаратов с эллиптическими днищами, устанавливаемых на фундамент внутри помещения, рекомендуется применять опоры, изображенные на рис. 6.3.

Рис. 5.3. Опоры для горизонтальных аппаратов, жестко соединенные с аппаратом


Не нашли материал для своей работы?
Поможем написать уникальную работу
Без плагиата!
Без нейросетей!