Разработка конструкции прямоточного парогенератора АЕС
Содержание
Введение
1. Тепловой расчет поверхности нагрева парогенератора
1.1 Уравнения теплового и материального баланса ПГ АЭС. Тепловая
диаграмма парогенератора
1.2 Теплообмен со стороны теплоносителя. Теплообмен со стороны
рабочего тела на испарительном участке
1.3 Рассчитываем коэффициент теплоотдачи со стороны теплоносителя
1.4 Рассчитываем коэффициент теплоотдачи со стороны рабочего тела
на испарительном участке поверхности нагрева парогенератора
2. Конструкторский расчет элементов парогенератора
2.1 Расчет массовой скорости в межтрубном пространстве
парогенератора
2.2 Расчет высоты трубного пучка парогенератора
2.2.1 Расчет коэффициентов теплоотдачи от стенки трубы к рабочему
телу
2.2.2 Расчет поверхности нагрева парогенератора
3. Расчет на прочность элементов парогенератора
3.1 Поверочный расчет толщины трубки поверхности нагрева
3.2 Расчет толщины стенки трубной доски
3.3 Расчет толщины стенки корпуса
3.4 Расчет сферических камер раздачи и сбора теплоносителя
4. Гидродинамический расчет первого контура парогенератора
5. Результаты расчетов
Выводы
Перечень ссылок
Введение
Парогенератор АЭС представляет собой единичный теплообменный
аппарат или их совокупность. В парогенераторах осуществляется производство
рабочего пара с использованием тепла, отводимого из активной зоны реактора
охлаждающей средой, направляемой в поверхности нагрева парогенератора. Этот
агрегат наряду с ядерным реактором и паровой турбиной относится к основному
оборудованию двухконтурной паротурбинной АЭС. В общем случае парогенератор
состоит из подогревательного (водяной экономайзер), паропроизводящего
(испаритель), и пароперегревательного (пароперегреватель) элементов.
Прямоточные парогенераторы характеризуются включением всех элементов в одну
последовательную цепь с однократным принудительным движением в них рабочего
тела за счет напора, создаваемого питательным насосом. В результате прямоточные
парогенераторы выдают слабо перегретый пар.
Конечная цель данного проекта - разработать конструкцию
прямоточного парогенератора, простую в своей тепловой и гидродинамической
схемах, компактную в компоновке, технологичную в изготовлении, удобную для
монтажа, эксплуатации и ремонта, предусмотреть габаритные размеры деталей
агрегата с точки зрения удобства при транспортировке на монтажную площадку. Все
элементы парогенератора должны соответствовать всем критериям прочности,
надежности и безопасности при работе.
Весь расчет был разбит на четыре главы: тепловой,
конструкционный, прочностной и гидравлический расчеты. В первой главе
рассчитываются теплофизические параметры теплоносителя и рабочего тела на
границах экономайзерного, испарительного и пароперегревательного участков. Во
второй главе проводится расчет основных геометрических параметров трубного
пучка, других деталей парогенератора. В третьей рассчитываются толщины деталей
парогенератора удовлетворяющих условиям прочности. В четвертой главе
рассчитывается мощность главного циркуляционного насоса необходимая для
преодоления гидравлических сопротивлений.
прямоточный парогенератор контур конструкция
1.
Тепловой расчет поверхности нагрева парогенератора
1.1 Уравнения
теплового и материального баланса ПГ АЭС. Тепловая диаграмма парогенератора
По формулам методических указаний [2]:
(1.1)
где
,
,
,
- тепловая мощность соответственно экономайзерного,
испарительного и пароперегревательного участков, а также всего парогенератора,
кВт;
,
- соответственно паропроизводительность
парогенератора и величина продувки, кг/с;
,
,
,
- энтальпия соответственно питательной
воды, воды и пара на линии насыщения при давлении рабочего тела, перегретого
пара, кДж/кг;
- скрытая теплота парообразования,
кДж/кг.
Расход теплоносителя, кг/с:
, (1.2)
где
,
- энтальпия теплоносителя соответственно на входе и выходе
парогенератора, кДж/кг;
- КПД парогенератора,
.
Граничное массовое паросодержание при прямоточном течении рабочего
тела внутри труб
(1.3)
где,
; в свою очередь а = 1,2
рассчитывается во второй главе.
Тепловая мощность участков, кВт:
развитого кипения
; (1.4)
ухудшенного теплообмена
. (1.5)
Температура теплоносителя на границе участков развитого кипения и
ухудшенного теплообмена
, (1.6)
где
- энтальпия теплоносителя, кДж/кг;
- его давление, МПа:
(1.7)
Температура теплоносителя,
на входе испарительного участка:
; (1.8)
(1.9)
На выходе из него:
; (1.10)
, (1.11)
где
- давление на входе в испарительный
участок, МПа;
где
,
- энтальпия соответственно на входе в испарительный участок и
выходе из него, кДж/кг.
Рисунок 1.1 - Тепловая диаграмма парогенератора
1.2
Теплообмен со стороны теплоносителя. Теплообмен со стороны рабочего тела на
испарительном участке
Коэффициент теплоотдачи со стороны теплоносителя согласно с
[1] рассчитывается по эмпирическим зависимостям для случая течения однофазной
среды в трубах, кВт/ (м2. K):
, (1.12)
где
- коэффициент теплопроводности воды, кВт/
(м. К);
,
- соответственно наружный диаметр и толщина стенки труб
поверхности нагрева, м;
- число Рейнольдса;- число Прандтля.
Число Рейнольдса:
, (1.13)
где
- массовая скорость теплоносителя, кг/
(м2 с);
- динамическая вязкость воды, Па. с.
Коэффициент теплоотдачи со стороны рабочего тела на испарительном
участке поверхности нагрева парогенератора АЭС определяется по формуле
приведенной в [1] методом постепенного приближения, кВт/ (м2. K):
, (1.14)
где
- температура насыщения при давлении
рабочего тела в испарителе,
;
- удельный тепловой поток, кВт/м2.
Удельный тепловой поток, кВт/м2:
, (1.15)
где k - коэффициент теплопередачи кВт/ (м2. K);
- температурный напор,
, определенный для фиксированного
расчетного сечения как разность температур теплоносителя и рабочего тела.
Коэффициент теплопередачи, кВт/ (м2. K):
(1.16)
где
,
- термическое сопротивление соответственно стенки трубы и пленки
оксидов на поверхности труб, м2. K/кВт.
Необходимость использования итерационного способа определения
связана с тем, что на первом шаге
итерации
неизвестно и термическое сопротивление
принимают равным нулю.
В последующих итерационных шагах уточняются значение удельного
теплового потока, коэффициента теплоотдачи со стороны рабочего тела и
коэффициент теплопередачи. Вычисления считаются законченными, если расхождение
значение значений удельного теплового потока, полученных в двух последних
итерациях, не превышает заранее оговоренного отклонения, например 5%:
. (1.17)
Термическое сопротивление стенки трубы
, (1.18)
где
- толщина стенки трубы, м;
- коэффициент теплопроводности материала
трубы, кВт/ (м. K). Так как теплопроводность материала зависит от его
температуры, то в первом приближении можно принять
, где
- температура рабочего тела.
Термическое сопротивление оксидных пленок принимается
м2. K/кВт.
1.3
Рассчитываем коэффициент теплоотдачи со стороны теплоносителя
. Вход теплоносителя в перегревательный участок:

Параметры теплоносителя можна определить по [4]:
;
;
;
;
.
. Вход теплоносителя в участок c ухудшенным теплообменом:

;
;
;
;
.
. Вход теплоносителя в 1-ый испарительный участок:

;
;
;
;
.
. Выход теплоносителя из испарительного участка:
;
;
;
;
.
. Выход теплоносителя из экономайзерного участка:
;
;
;
;
.
1.4
Рассчитываем коэффициент теплоотдачи со стороны рабочего тела на испарительном
участке поверхности нагрева парогенератора
1. Выход из экономайзерного участка:
;

;
.
Необходимость использования итерационного способа определения
связана с тем, что на первом шаге
итерации
неизвестно и термическое сопротивление
принимают равным 50
:
)
) 
) 
На этом участке
. Выход из 1-ого испарительного участка:
;

;
.
Необходимость использования итерационного способа определения
связана с тем, что на первом шаге
итерации
неизвестно и термическое сопротивление
принимают равным 50
:
) 
) 
) 
На этом участке
2.
Конструкторский расчет элементов парогенератора
2.1 Расчет
массовой скорости в межтрубном пространстве парогенератора
Одним из основных режимных параметров, определяющих интенсивность
конвективного теплообмена при течении однофазных сред, является массовая
скорость
, кг/ (м2. с). Согласно [2] для рабочего
тела в экономайзерном и пароперегревательном участках парогенератора АЭС:
(2.1)
где
- паропроизводительность парогенератора,
кг/с;
- площадь проходного сечения межтрубного
пространства теплообменного пучка определяется формой поверхности теплообмена и
способом ввода поверхности теплообмена в корпус парогенератора.
По найденному
можем найти
:
(2.2)
Рациональная форма поверхности нагрева выбирается в основном
исходя их двух условий: достижения наибольшей компактности и предотвращения
возникновения температурных напряжений.
Для снижения температурных напряжений, возникающих из-за
существенного различия температур теплоносителя и рабочего тела, используют
либо специальные компенсаторы, либо элементы выполняются самокомпенсирующимися.
Большое влияние на конструктивную схему парогенератора оказывают
способы ввода поверхности теплообмена в корпус. Они бывают с трубными досками,
внешними коллекторами и внутрикорпусными коллекторами.
Способ ввода теплообмена в корпус с трубными досками представляет
собой наиболее простое конструктивное решение. Однако его применение ограничено
из-за температурных напряжений, возникающих в трубной доске от перепада
температур между теплоносителем и рабочим телом. Схема с внешними коллекторами
удорожает корпус парогенератора, так как предусматривает большое количество
вводов и выводов труб через стенку корпуса.
Такая схема при высоких давлениях нецелесообразна. Схема с
внутрикорпусными коллекторами несколько сложнее и дороже, чем с трубными
досками, но она значительно надежнее.
Площадь проходного сечения межтрубного пространства теплообменного
пучка существенно зависит от способа ввода поверхности нагрева в корпус
парогенератора.- общее число труб поверхности нагрева
(2.3)
- количество труб расположенных по диагонали шестиугольника,
вписанного в окружность диаметром
.
Рисунок 2.1 - Поперечное сечение трубной доски
(2.4)
Рисунок 2.2 - Поперечное сечение труб поверхности нагрева
парогенератора
- шаг расположения труб по вершинам равностороннего треугольника
- гексагональная упаковка труб,
;
- наружный диаметр труб, м.
- диаметр трубной доски, м;
(2.5)
Площадь проходного сечения межтрубного пространства прямотрубного
пучка с трубными досками
(2.6)
массовая скорость, кг/ (м2. с).
(2.7)
2.2 Расчет
высоты трубного пучка парогенератора
Площадь поверхности нагрева парогенератора
в общем случае определяется как сумма
площадей поверхностей нагрева экономайзерного, испарительного и
пароперегревательного участков. При этом фактическая площадь поверхности
нагрева берется с некоторым запасом по отношению к расчетной, м2:
, (2.8)
где
- расчетная площадь поверхности нагрева
парогенератора,
;
- коэффициент запаса,
Используя [3], площадь поверхности нагрева отдельных участков
(экономайзерного, испарительного, пароперегревательного)
, (2.9)
где
- тепловая мощность рассчитываемого
участка, кВт;
- усредненный коэффициент теплопередачи
на рассчитываемом участке, кВт/ (м2. K);
- средний температурный напор,
.
Усредненный коэффициент теплопередачи
, (2.10)
где
,
коэффициент теплопередачи соответственно на входе и выходе
рабочего тела (или теплоносителя) рассматриваемого участка поверхности нагрева.
. (2.11)
Больший
и
температурные напоры определяются как разность температур,
теплоносителя и рабочего тела на границах (вход, выход теплоносителя)
рассматриваемого участка поверхности нагрева.
При течении в межтрубном пространстве однофазной среды (рабочего
тела) вид расчетного соотношения зависит от способа омывания рабочим телом труб
поверхности нагрева (продольное, поперечное), расположения труб в пучке
(коридорное, шахматное), их шага, угла атаки потоком рабочего тела труб
поверхности нагрева и т.п.
При продольном омывании прямотрубного пучка труб поверхности
нагрева рабочим телом, находящимся в однофазном состоянии (например,
экономайзерный и пароперегревательный участки прямоточного парогенератора)
коэффициент теплоотдачи от стенки трубы рабочему телу равен:
. (2.12)
Число Рейнольдса:
,
где
- гидравлический диаметр;
- коэффициент, который зависит от расположения труб в пучке и их
шага.
Для раздвинутых (
) пучков труб, расположенной в треугольной решетке, можно
воспользоваться соотношениями [2]:
(2.13)
. (2.14)
2.2.1 Расчет
коэффициентов теплоотдачи от стенки трубы к рабочему телу
Вход в экономайзерный участок
Параметры рабочего тела, используя [4]:
:
;
Число Рейнольдса:
;
Коэффициент теплоотдачи от стенки трубы к рабочему телу на входе в
экономайзерный участок:
.
Выход из экономайзерного участка:
Параметры рабочего тела:
.
;
Число Рейнольдса:
;
Коэффициент теплоотдачи от стенки трубы к рабочему телу на выходе
из экономайзерного участка:
.
Ищем
на входе в пароперегревательный участок:
Параметры рабочего тела:
(все значения для пара).
;
Число Рейнольдса:
;
Коэффициент теплоотдачи от стенки трубы к рабочему телу на входе в
пароперегревательный участок:
.
Ищем
: для участка с ухудшенной теплоотдачей
вводим поправки
(2.15)
;
;
.
Ищем
:
:
;
;
.
2.2.2 Расчет
поверхности нагрева парогенератора
Економайзерный участок
Температура стенки трубы
Теплопроводность материала стенки трубы
Термическое сопротивление стенки трубы:
;
Коэффициент теплопередачи на входе теплоносителя в экономайзерный
участок:
;
Коэффициент теплопередачи на выходе теплоносителя из
экономайзерного участка:
Усредненный коэффициент теплопередачи на экономайзерном участке:
;
Температурный напор на экономайзерном участке:
,
;
Площадь поверхности нагрева экономайзерного участка:
.
Испарительный участок
Коэффициент теплопередачи на входе теплоносителя в испарительный
участок:
;
Коэффициент теплопередачи на выходе теплоносителя из
испарительного участка:
;
Усредненный коэффициент теплопередачи на испарительном участке:
;
Температурный напор на испарительном участке:
;
Площадь поверхности нагрева испарительного участка:
.
Участок ухудшенного теплообмена
Коэффициент теплопередачи на участке ухудшенного теплообмена:
;
Усредненный коэффициент теплопередачи на участке ухудшенного
теплообмена:
;
Температурный напор на на участке ухудшенного теплообмена:
;
Площадь поверхности нагрева участка ухудшенного теплообмена:
.
Пароперегревательный участок
Коэффициент теплопередачи на входе теплоносителя в
пароперегревательный участок:
;
Коэффициент теплопередачи на выходе теплоносителя из
пароперегревательного участка:
;
Усредненный коэффициент теплопередачи на пароперегревательном
участке:
;
Средний температурный напор на пароперегревательном участке:
;
.
- расчетная площадь поверхности нагрева парогенератора, м2,
;

;
,
;
.
Полученная площадь поверхности нагрева дает возможность рассчитать
суммарную длину труб поверхности нагрева, м:
. (2.16)
где
- расчетный диаметр, м; выбирается по
поверхности трубы, со стороны которой существует максимальное термическое
сопротивление (минимальный коэффициент теплоотдачи): если
, то
; если
, то
; если
, то
. Этот случай наиболее характерен для водо-водяных парогенераторов
АЭС
. Ищем
- длина экономайзерного участка:
значит
;
;
. Ищем
- длина первой части испарительного
участка
значит
;
;
. Ищем
-длина второй части испарительного участка
значит
;
;
. Ищем
-длина пароперегревательного участка
значит
;
;
Общая длина труб поверхности нагрева
.
3. Расчет на
прочность элементов парогенератора
3.1
Поверочный расчет толщины трубки поверхности нагрева
Толщину трубки поверхности нагрева согласно [1] можно
определить по формуле:
, (3.1)
где Рр - расчетное давление, которое определяется с учетом
увеличения давления при осмотре и сертификации сосуда (25%), а также с учетом
того, что Рр составляет 90%
давления, при котором срабатывает предохранительный клапан. Также
в формулу (3.1) Рр необходимо поставлять в кгс/мм2. Расчет ведется по
максимальной температуре и давлению. Учитывая сказанное, расчетное давление
. (3.2)
кгс/мм2;
Согласно исходным данным материал труб - 0Х18Н10Т, для него при
температуре 320 оС
[sн] = 11,72
кгс/мм2, примем j = 1, тогда
= 1,27 + С;
прибавка С определяется как
С = С1+ С2+ С3+ С4; (3.3)
где С1 - прибавка на минусовый допуск, мм
С1 = 0,11 (dр - С) (3.4)
С1 =
= 0,14 мм;
принимаем поправку на уменьшение толщины стенки за счет коррозии
С2 = 0,05 мм.
поправку на уменьшение толщины стенки по технологическим,
монтажным и другим соображениям принимаем С3 = 0, поправка на уменьшение
толщины стенки в месте гибов
С4 = 0, таким образом С = 0,19 мм, и толщина стенки
dр = 1,46 мм.
Ближайшее большее значение толщины стенки трубы по сортаменту 1,6
мм, округлить в меньшую сторону не удается, так как в этом случае будет
превышена допустимая точность округления - 3%. Таким образом, окончательно
принимаем dр = 1,6 мм.
3.2 Расчет
толщины стенки трубной доски
Рисунок 3.1 - Трубная доска
Расчет толщины трубной доски выполняется по наибольшему
давлению и температуре, допустимое напряжение [sн] =0,85*s*. Толщина трубной доски,
приваренной к корпусу по контуру
d =
. (3.5)
где коэффициент c
определяется по графику в зависимости от dк/dтд
в первом приближении примем dтд = 600 мм, тогда
dк/dтд = 72,64/600
= 0,121;
расчет толщины стенки корпуса представлен в следующем параграфе
откуда находим c =
0,985.
тд = 1,2*dн, тогда
j = 0,935 - 0,65*14,2/16,2 = 0,3856;
получаем новое значение
dтд =
= 655,4 мм;
очевидно, найденное значение сильно расходится с принятым, то есть
необходимо выполнить следующую итерацию dк/dтд =
81,12/655,4 = 0,111 откуда находим c = 0,988 получаем новое значение:
dтд =
= 664 мм;
принимаем окончательно dтд = 664 мм.
3.3 Расчет
толщины стенки корпуса
Толщину стенки корпуса можно определить по формуле (3.1)
расчетное давление
Рр = 1,25∙0,9∙0,102∙5,9 = 0,677 кгс/мм2
Принимаем материал корпуса - 22К, для него при температуре
305 оС
[sн] = 12,63 кгс/мм2, примем j = 1, С = 0, тогда
= 81,12 мм.
Определим диаметр отверстия выхода пара, при этом скорость пара
считаем равной 50 м/с;
вп =
. (3.6)вп =
@ 0,59 м,
где n -
количество отверстий
предельный
диаметр отверстия, не требующего укрепления
пр =
. (3.7)пр = 88,74 мм;
расстояние между
кромками отверстий выхода пара
= 2,5p/2 - 0,59 = 3,3 м;
то делаем вывод,
что данные отверстия считаются ослабляющим рядом и их необходимо укрепить с
помощью штуцеров. Минимально возможная толщина штуцера в этом случае
ош =
= 17,2 мм;
примем Sш = 30
мм, тогда высота штуцера, больше которой его выполнять не имеет смысла
ш =
. (3.8)ш =
= 142,8 мм;
принимаем hш =
140 мм, тогда
ш = 2 hш (Sш -
Sош-С). (3.9)ш = 2 ∙143 (30 - 17,2) = 3,66∙10-3 м2;
Рассчитаем
коэффициент ослабления неукрепленным отверстием
. (3.10)
= 1,406
так как А>1, то применяю следующее соотношение
. (3.11)
= 0,587;
Коэффициент
прочности с укрепленным отверстием
. (3.12)
= 0,62;
с учетом этого
коэффициента толщина обечайки
др =
= 119 мм;
Расчет для hш =
140 мм, Sш = 30 мм дает для Sдр значение 119 мм, принимаем окончательно толщину
обечайки в части отвода пара и подвода питательной воды Sдр = 120 мм.
Рассчитаем
ориентировочно диаметры и толщины тороидального коллектора и подводящих трубок
(скорость питательной воды в коллекторе - 6 м/с).
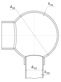
Рисунок 3.2 -
Коллектор раздачи питательной воды
Диаметр
коллектора:
тк =
@ 0,45 м;
Диаметр
подводящей трубки:
тп =
@ 0,137 м;
толщина
коллектора:
= 12,4 мм;
толщина трубки:
= 4 мм;
3.4 Расчет
сферических камер раздачи и сбора теплоносителя
Рисунок 3.3 - Сферическая камера
Камеры раздачи и сбора теплоносителя считаем аналогичными в
конструктивном исполнении, поэтому расчет проводится для одной из них.
Принимаем камеру сферической формы. Минимально допустимая
толщина камеры
. (3.13)
принимаем С = 0, j = 1,
тогда
при этом выполняется условие применения данной зависимости dдр/dвд = 0,04
1
предельный диаметр отверстия, не требующего укрепления
. (3.14)
пр = 107 мм;
то есть делаем
вывод, что отверстия подвода и отвода теплоносителя (dптн = 1,5 м) необходимо
укрепить с помощью штуцера. Минимально возможная толщина штуцера в этом случае
примем Sш = 180
мм, тогда высота штуцера, больше которой его выполнять не имеет смысла
. (3.15)
принимаем hш =
500 мм, тогда
ш = 2 hш (Sш -
Sош-С). (3.16)ш = 2∙500 (180 - 129) = 0,062 м2.
Рассчитаем
коэффициент ослабления неукрепленным отверстием
. (3.9)
так как А>1, то принимаем следующее соотношение
. (3.17)
Коэффициент
прочности для камеры с укрепленным отверстием
. (3.18)
с учетом этого
коэффициента толщина камеры
4.
Гидродинамический расчет первого контура парогенератора
Рисунок 4.1 - Гидродинамическая схема парогенератора
Большинство гидродинамических расчетов в ядерной энергетике
связано с течением в каналах. Главные задачи при расчете таких течений
(преимущественно несжимаемых однофазных сред) - определение гидравлических
сопротивлений каналов различной формы и местных сопротивлений; расчет
распределения расходов и распределения скоростей и т.д.
Одна из задач расчета гидравлического сопротивления -
определение потерь давления в каналах и затрат на прокачку теплоносителя.
Мощность ГЦН, затрачиваемая на прокачку теплоносителя по
трубам поверхности нагрева парогенератора по формуле, взятой из [3], кВт:
. (4.1)
где
- расход теплоносителя, кг/с;
- гидравлическое сопротивление
парогенератора, кПа;
- плотность теплоносителя на выходе из
парогенератора, кг/м3;
- КПД ГЦН,
.
Диаметр штуцера подвода (отвода) теплоносителя:
.
Коэффициент сопротивления при внезапном увеличении сечения (выход
теплоносителя из штуцера в камеру):
.
Исходя из особенностей течения среды в конструктивных элементах
парогенератора, они разбиваются на участки, для которых определяются потери
напора.
Гидравлическое сопротивление камеры подвода теплоносителя:
;
- массовая скорость теплоносителя, кг/ (м2. с);
- удельный объем теплоносителя, м3/кг.
; (4.2)
.
Гидравлическое сопротивление второго участка
. (4.3)
где
- сумма коэффициентов местных
сопротивлений;
- коэффициент трения;
,
- соответственно гидравлическая длинна и
диаметр, м;
Коэффициент местного сопротивления
определяется типом последнего. Для любого практически важного
случая на основе эксперимента либо получены эмпирические зависимости для
вычисления коэффициентов местного сопротивления, либо приводятся
непосредственно числовые значения, содержащиеся в справочниках и нормативных
материалах.
.
;
.
Коэффициент сопротивления при внезапном уменьшении проходного
сечения (выход теплоносителя из камеры в штуцер):
;
.
Сумма потерь напора (гидравлическое сопротивление) на этих
участках и определит мощность, затрачиваемую не прокачку теплоносителя через
парогенератор [3]:
. (4.4)
.
где n - число участков, на которые расчленяется тракт
теплоносителя в пределах парогенератора;
- гидравлическое сопротивление i-го участка, кПа.
Коэффициент трения
- зависит от вида жидкости, режима течения Re и состояния поверхности
канала (шероховатости стенки
). Начиная со значения
, коэффициент трения не зависит ни от свойств среды, ни от
скорости течения и определяется только относительной шероховатостью. Для
режимов течения с
коэффициент трения определяется по
формуле Никурадзе.
Шероховатость труб из углеродистой стали не превышает 0,1 мм, из
аустенитной стали - 0,05мм.
При продольном движении потока в каналах любой формы
гидравлическое сопротивление по гидравлическому диаметру
. При течении в круглых трубах
, для кольцевого канала
. Для более сложных случаев эквивалентный
гидравлический диаметр рассчитывается по формулам, приведенным в справочникам.
5. Результаты
расчетов
Таблица 5.1 - Результаты теплового расчета
Таблица 5.2 - Результаты теплового расчета
|
ВеличинаЗначениеРазмерность
|
|
|
|
709000
|
|
|
|
650000
|
|
|
|
718000
|
|
|
|
721000
|
|
|
|
728152
|
|
|
|
44,2кВт/ (м2. K)
|
|
|
|
44,64кВт/ (м2. K)
|
|
|
|
42,24кВт/ (м2. K)
|
|
|
|
47,38кВт/ (м2. K)
|
|
|
|
47,24кВт/ (м2. K)
|
|
|
|
44,13кВт/ (м2. K)
|
|
|
|
66,7кВт/ (м2. K)
|
|
|
Таблица 5.3 - Результаты конструкторского расчета
|
ВеличинаЗначениеРазмерность
|
|
|
|
18048шт
|
|
|
|
156шт
|
|
|
|
16,8мм
|
|
|
|
2,638м
|
|
|
|
2,684м²
|
|
|
|
301,75кг/ (м2. с)
|
|
|
|
0,943
|
|
|
Таблица 5.4 - Результаты конструкционного расчета
|
ВеличинаЗначениеРазмерность
|
|
|
|
55,1
|
|
|
|
41,24
|
|
|
|
53,4
|
|
|
|
37,67
|
|
|
|
0,0823м
|
|
|
|
0,0252
|
|
|
|
0,886
|
|
|
|
0,956
|
|
|
|
6,68кВт/ (м2. K)
|
|
|
|
7,28кВт/ (м2. K)
|
|
|
|
44,13кВт/ (м2. K)
|
|
|
|
66,7кВт/ (м2. K)
|
|
|
|
2,81кВт/ (м2. K)
|
|
|
|
3,32кВт/ (м2. K)
|
|
|
|
2,78кВт/ (м2. K)
|
|
|
|
3,88кВт/ (м2. K)
|
|
|
|
7,585кВт/ (м2. K)
|
|
|
|
2,13кВт/ (м2. K)
|
|
|
|
2,278кВт/ (м2. K)
|
|
|
|
1172м2
|
|
|
|
3901,3м2
|
|
|
|
593,3м2
|
|
|
|
1161м2
|
|
|
|
6827м2
|
|
|
|
9,56м
|
|
|
Таблица 5.5 - Результаты прочностного расчета
|
ВеличинаЗначениеРазмерность
|
|
|
|
1,4мм
|
|
|
|
73мм
|
|
|
|
144мм
|
|
|
|
664мм
|
|
|
|
606мм
|
|
|
|
220мм
|
|
|
|
680мм
|
|
|
|
1500мм
|
|
|
Таблица
5.6 Результаты гидравлического расчета
|
ВеличинаЗначениеРазмерность
|
|
|
|
0,51
|
|
|
|
0,0198
|
|
|
|
0,33
|
|
|
|
30,35кПа
|
|
|
|
243,65кПа
|
|
|
|
17,67кПа
|
|
|
|
292кПа
|
|
|
|
4985кВт
|
|
|
Выводы
В результате выполнения данного курсового проекта был проведен
учебный расчет конструкции прямоточного парогенератора. Расчет состоял из
четырех основных частей: теплового, конструкционного, прочностного и
гидравлического расчетов.
В первой главе были рассчитаны тепловая мощность
парогенератора и отдельных его элементов, расход теплоносителя, температуры
рабочего тела и теплоносителя на границах экономайзерного, испарительного и
пароперегревательного участков.
Во второй главе были рассчитаны основные геометрические
параметры парогенератора: количество трубок теплоносителя и их длина, шаг
трубок в трубной доске, массовая скорость теплоносителя и граничное массовое
паросодержание, диаметр трубной доски, площади теплопередающих поверхностей,
диаметры входных и выходных отверстий теплоносителя и рабочего тела.
В третьей главе проведен прочностной расчет трубки
теплоносителя, корпуса парогенератора (с учетом ослабляющих отверстий), толщины
трубной доски, крышки парогенератора, камер подвода и отвода теплоносителя.
В четвертой главе были рассчитаны гидравлические сопротивления
камерыподвода и отвода теплоносителя, гидравлические сопротивления в
трубкахтеплоносителя, что позволило определить мощность главного
циркуляционного насоса, затрачиваемую на преодоление этих сопротивлений
кВт.
Перечень
ссылок
1.
Рассохин Н.Г. Парогенераторные установки атомных электростанций: Учебник для
вузов. - 3-е изд., перераб. и доп. - М.: Энергоатомиздат, 1987. - 384 с.
.
Методические указания к самостоятельной работе по дисциплине
"Парогенераторы АЭС" для студентов специальности "Атомные
электрические станции" / Сост.В.П. Рожалин. - К.: КПИ, 1990. - 80 с.
.
Методические указания к курсовому проекту по дисциплине "Парогенераторы
атомных электростанций” для студентов специальности 0520
"Парогенераторостроение” /Сост.В.К. Щербаков - К.: КПИ, 1984. - 40 с.
.
Вукалович М.П., Ривкин С.Л., Александров А.А. Таблицы теплофизических свойств
воды и водяного пара. - М.: Изд-во стандартов, 1969. - 408 с.