Проектирование производственного холодильника птицефабрики
Введение
В данном курсовом
проекте предусматривается расчёт холодильника птицефабрики в городе Наровля.
При производительности холодильника 60 тонн в смену, требуется рассчитать
планировку здания холодильника, планировку камер. Произвести теплотехнический
расчёт ограждений и перегородок холодильника, рассчитать теплопоступления в
помещение холодильника в целом. Построить циклограмму теплопоступлений по
месяцам и определить нагрузки для установок холодоснабжения. Определить
нагрузку на компрессор. Указать технические рекомендации по эксплуатации
данного холодильника и технологические рекомендации и правила хранения грузов и
продукции.
Холодильники
птицефабрик являются частью производственного предприятия. Их ёмкость
определяется производственной мощностью птицефабрики. Камеры предназначены для
холодильной обработки и для хранения мяса птицы и яиц. Пропускная способность
каждой камеры охлаждения и замораживания должна быть не менее 80% сменной
производительности комбината. Число камер зависит от времени холодильной
обработки и сменности работы и определяется технологическими соображениями. На
многих действующих предприятиях испытывается недостаток в камерах для
замораживания мяса птицы, так как при проектировании предусматривали одну, две
камеры замораживания.
Камеры хранения
охлаждённого мяса птицы рассчитывают обычно на его двухсуточный запас. Кроме
того, в составе холодильника следует предусматривать камеры приёма мяса птицы и
помещения для загрузки камер охлаждения и замораживания, а также разгрузочные
камеры при них. На холодильнике могут быть камеры хранения и холодильной
обработки субпродуктов и яиц, хранения яиц, камеры с универсальными
температурным режимом, экспедиции. При проектировании производственных
холодильников необходимо предусматривать максимальную блокировку всех входящих
в их состав зданий и сооружений с учётом требований действующих норм
проектирования и правил техники безопасности.
1.
Расчёт вместимости и планировка промышленного холодильника птицефабрики на
основании технологических требований и требований по его грузообороту
1. Выбираем состав
холодильника. Согласно таблице 7.4 он должен включать 4-7 камер хранения
мороженых продуктов (55%), камер хранения охлажденных грузов (30%); 2-3
универсальные камеры (15%); 1-2 морозильные камеры суточной производительностью
0,06% общей вместимости холодильника.
2. Размер
колонн принимаем 6 ×12 м.
. Предусматриваем
транспортные коридоры, ширину коридора принимаем 6 м каждый. Высоту камер
равной 6 м.
. Определяем
площадь основных камер по формуле:
Fk
= 
, где

- вместимость камер
хранения в т.; 
- норма нагрузки на 1 м3
грузового объёма камеры из табл. 8 [1]; 
- грузовая высота
штабеля, м; 
- коэффициент
использования строительной площади камеры.
а) Рассчитываем площадь
камеры хранения мороженных продуктов:
F k
зам. = 
б) Площадь камеры
хранения охлаждённых продуктов:
F k
охл. = 
г) Площадь камеры с
универсальным режимом хранения продуктов:
F k
унив. = 
д) Рассчитываем площадь
камер охлаждения по следующей формуле:
F k
о.
,
где

-
норма нагрузки на 1 м2 грузовой площади камеры.
е) Рассчитываем площадь
камер замораживания по следующей формуле:
F k
з.
Рассчитываем число
строительных прямоугольников по следующей формуле:

,
где 
- площадь одного
прямоугольника 6 ×12 м. Принимаем целое значение.




;
Рассчитываем общую
площадь камер хранения:
F k
хр. = 656+656+328+200=1840 м2
Определяем площадь
вспомогательных помещений:
F всп. = 0,35 
F k
хр = 0,35 
1840 = 644 м2,
следовательно 
Требуемая площадь
машинного отделения
F мо. = 0,1
F общ = 0,1
= 184 м2 (
Требуемая площадь
служебных помещений
F сл. = 0,3
F общ = 0,3
1840 = 552 м2
(
Число автомашин, которые должны
прибывать за сутки:
авт = Gавт / gавт ·
ηисп.авт = 80 / 3·0,5 = 53
где gавт -
грузоподъемность автомашины, среднее ее значение
принимается 3 т; ηисп.авт - коэффициент использования грузоподъемности автомашины, можно
считать ηисп.авт = 0,5.
Длина автомобильной платформы:
авт = nавт bавт ψпер τавт mавт / 8 =
53·4·1·0,5·1,25/ 8 = 16 м. (принимаем 28 м)
где bавт - ширина, кузова
автомашины, включая промежуток между машинами при постановке их у платформы; bавт
= 4 м; ψпер - доля от общего числа
машин, характеризующая количество машин, прибывающих в течение первой (дневной)
смены = 1; τавт - время загрузки или
выгрузки одной автомашины; оно составляет 0,5 ч; mавт - коэффициент
неравномерности прибытия автомобилей по отношению к среднечасовому их
количеству; можно считать mавт = l, 25. Длину автомобильной
платформы следует округлять до значения, кратного ширине bавт.
2.1 Теплотехнический
расчет ограждений и перегородок холодильника
Общий коэффициент теплопередачи
многослойной ограждающей конструкции с последовательно расположенными осями
рассчитывается по формуле:
k0=
=
R0
- общее сопротивление теплоотдаче многослойной ограждающей конструкции, м2К
/ Вт;
Rн
- сопротивление теплоотдаче соответственно с наружной или более теплой стороны
ограждения, м2К / Вт;
Rн=
Ri
- сопротивление теплопроводности i-го
строительного слоя конструкции (кроме слоя теплоизоляции), м2К / Вт:
Ri=
Rв
- сопротивление теплоотдаче с внутренней стороны ограждения, м2К /
Вт:
Rв=
Rиз
- сопротивление теплопроводности термоизоляционного слоя, м2К / Вт:
Rиз=
αн,
αв - коэффициенты теплоотдачи с наружной и внутренней сторон
ограждения, Вт/(м2К);
δi - толщина строительных слоев конструкции, м;
λi - коэффициент теплопроводности строительных слоев конструкций,
Вт/(м2К);
δиз
- толщина теплоизоляционного слоя, м.
Толщину слоя
теплоизоляции определяем по формуле:
δизтр=
λиз[R0тр-Rн-Rв-∑Ri]
После расчета толщины
изоляционного слоя, в случае использования плиточных материалов, может
оказаться, что расчетная величина отличается от стандартной толщины выпускаемых
плит. В таком случае принимаем толщину изоляционного слоя кратной стандартной
толщине плит. Если принятая толщина отличается от расчетной более чем на 10%,
то следует определить действительное значение коэффициента теплопередачи по
формуле:
kд0=1/(
)+
δизд
- принятая толщина теплоизоляционного слоя, м.
2.2 Наружные стены
Принимаем, что все
наружные стены здания выполнены из кирпича с теплоизоляцией из матов РАRОС. Среднегодовая температура в городе Наровля t=+7,40С.
Требуемый сопротивление
теплопередаче R0тр=2,4 м2К / Вт
Rн
- сопротивление теплоотдаче соответственно с наружной или более теплой стороны
ограждения Rн=0,043 м2К / Вт
Rв
- сопротивление теплоотдаче с внутренней стороны ограждения Rв =0,091м2К / Вт

м2·К / Вт.
Требуемая толщина
изоляционного слоя

Принимаем толщину
теплоизоляционного слоя 50 мм
Наружная стена между
камерами смежными с корпусом машинного отделения и служебных помещений, по
противопожарным требованиям выполняется массивной - кирпичной, толщиной 380 мм.
|
Наименование и конструкция ограждения
|
№
|
Наименование и материал слоя
|
Толщина δi, м
|
Коэффициент теплопроводности  , Вт/(м2К)Тепловое
сопротивление  , м2·К / Вт
|
|
|
Наружная стена
|
1
|
Штукатурка сложным раствором по металлической сетке
|
0,020
|
0,98
|
0,020
|
|
2
|
Маты PAROC
|
Требуется определить
|
0,035
|
Требуется определить
|
|
3
|
Пароизоляция - 2 слоя гидроизола на битумной мастике
|
0,004
|
0,30
|
0,013
|
|
4
|
Штукатурка цементно-песчаная
|
0,020
|
0,90
|
0,022
|
|
5
|
Кладка кирпичная на цементном растворе
|
0,380
|
0,81
|
0,469
|
Наружная стена камер хранения
мороженных продуктов
Требуемый сопротивление
теплопередаче R0тр=4,3 м2К
/ Вт
Rн - сопротивление
теплоотдаче соответственно с наружной или более теплой стороны ограждения Rн=0,043 м2К / Вт
Rв - сопротивление
теплоотдаче с внутренней стороны ограждения Rв =0,111 м2К / Вт

м2·К / Вт.
Требуемая толщина
изоляционного слоя

Принимаем толщину теплоизоляционного
слоя 125 мм (один слой толщиной 100 мм, один слой 25 мм)
2.3 Внутренние стены
Принимаем, что внутренние стены
между охлаждаемыми помещениями и грузовыми коридорами (тамбурами) (с
температурой 13оС) выполнены из керамзитобетона с теплоизоляцией из матов PAROC
Наименование и
конструкция ограждения № Наименование и материал слоя Толщина δi, м Коэффициент
теплопроводности 
, Вт/(м2К)Тепловое
сопротивление
|
 , м2·К / Вт
|
|
|
|
Наружная стена
|
1
|
Панель из керамзитобетона (ρ1100
кг/м3)
|
0,240
|
0,47
|
0,51
|
|
2
|
маты PAROC
|
Требуется определить
|
0,035
|
Требуется определить
|
|
3
|
Пароизоляция - 2 слоя гидроизола на битумной мастике
|
0,004
|
0,30
|
0,013
|
|
4
|
Штукатурка сложным раствором по металлической сетке
|
0,020
|
0,98
|
0,020
|
Для камер 1-3,11-12,8
Требуемый сопротивление
теплопередаче R0тр=4,65 м2К
/ Вт
Rн - сопротивление
теплоотдаче соответственно с наружной или более теплой стороны ограждения Rн=0,043 м2К / Вт
Rв - сопротивление
теплоотдаче с внутренней стороны ограждения Rв =0,111 м2К / Вт

м2·К / Вт.
Требуемая толщина
изоляционного слоя

Rд=0,697+(0,15/0,035)=5
м2·К / Вт
Принимаем толщину теплоизоляционного
слоя 150 мм (один слой толщиной 100 мм, один слой 50 мм)
Для камер 4-6
Требуемый сопротивление
теплопередаче R0тр=2,76 м2К
/ Вт
Rн - сопротивление
теплоотдаче соответственно с наружной или более теплой стороны ограждения Rн=0,043 м2К / Вт
Rв - сопротивление
теплоотдаче с внутренней стороны ограждения Rв =0,091м2К / Вт

м2·К / Вт.
Требуемая толщина
изоляционного слоя

Принимаем толщину теплоизоляционного
слоя 75 мм (один слой толщиной 50 мм, один слой 25 мм)
Для камер 9-10
Требуемый сопротивление
теплопередаче R0тр=4,92 м2К
/ Вт
Rн - сопротивление теплоотдаче
соответственно с наружной или более теплой стороны ограждения Rн=0,043 м2К / Вт
Rв - сопротивление
теплоотдаче с внутренней стороны ограждения Rв =0,111 м2К / Вт

м2·К / Вт.
Требуемая толщина
изоляционного слоя

Принимаем толщину теплоизоляционного
слоя 125 мм (один слой толщиной 100 мм, один слой 25 мм).
2.3 Внутренние
перегородки
Принимаем, что внутренние
перегородки выполнены из плит пенобетона толщиной 240 мм, с теплоизоляцией из
матов PAROC.
|
Наименование и конструкция ограждения
|
№
|
Наименование и материал слоя
|
Толщина  , мКоэффициент
теплопроводности  , Bt/(m2K)Тепловое сопротивление  , м2К / Вт
|
|
|
|
Внутренняя перегородка
|
1
|
Штукатурка сложным раствором
по металлической сетке
|
0,02
|
0,93
|
0,022
|
|
2
|
маты PAROC
|
Требуется определить
|
0,035
|
Требуется определить
|
|
3
|
Пароизоляция - 2 слоя борулина
|
0,006
|
0,3
|
0,02
|
|
4
|
Панель из пенобетона (плотность 600 кг/м3)
|
0,100
|
0,14
|
0,714
|
Для камер 1-4,8-6,11-12
Требуемый сопротивление
теплопередаче R0тр=3,6 м2К
/ Вт
Rн - сопротивление
теплоотдаче соответственно с наружной или более теплой стороны ограждения Rн=0,091 м2К / Вт
Rв - сопротивление
теплоотдаче с внутренней стороны ограждения Rв =0,111 м2К / Вт

м2·К / Вт.
Требуемая толщина
изоляционного слоя

Принимаем толщину теплоизоляционного
слоя 100 мм
Для камер 2-3
Требуемый сопротивление
теплопередаче R0тр=1,7 м2К
/ Вт
Rн - сопротивление
теплоотдаче соответственно с наружной или более теплой стороны ограждения Rн=0,111 м2К / Вт
Rв - сопротивление
теплоотдаче с внутренней стороны ограждения Rв =0,111 м2К / Вт

м2·К / Вт.
Требуемая толщина
изоляционного слоя

Принимаем толщину теплоизоляционного
слоя 25 мм
Для камер 8-9,10-11
Требуемый сопротивление
теплопередаче R0тр=2,2 м2К
/ Вт
Rн - сопротивление
теплоотдаче соответственно с наружной или более теплой стороны ограждения Rн=0,111 м2К / Вт
Rв - сопротивление
теплоотдаче с внутренней стороны ограждения Rв =0,111 м2К / Вт

м2·К / Вт.
Требуемая толщина
изоляционного слоя

Принимаем толщину теплоизоляционного
слоя 50 мм
2.5 Покрытие охлаждаемых
камер
Теплоизоляцию и конструкцию покрытия
всех охлаждаемых камер принимаем одинаковой и подобной покрытию камеры хранения
мороженных продуктов (-20оС), так как эти камеры занимают большую
часть охлаждаемого склада.
|
Наименование и конструкция ограждения
|
№
|
Наименование и материал слоя
|
Толщина  , мКоэффициент
теплопроводности  , Bt/(m2K)Тепловое сопротивление  , м2К / Вт
|
|
|
|
Покрытие охлаждаемых камер
|
1
|
5 слоев гидроизола
на битумной мастике
|
0,012
|
0,3
|
0,040
|
|
2
|
Стяжка из бетона по металлической
сетке
|
0,040
|
1,86
|
0,022
|
|
3
|
Пароизоляция
(слой пергамина)
|
0,001
|
0,15
|
0,007
|
|
4
|
Маты PAROC
|
Требуется определить
|
0,035
|
Требуется определить
|
|
5
|
Железобетонная плита покрытия
|
0,0350
|
0,204
|
0,017
|
Требуемый сопротивление
теплопередаче R0тр=4,6 м2К
/ Вт
Rн - сопротивление
теплоотдаче соответственно с наружной или более теплой стороны ограждения Rн=0,043 м2К / Вт
Rв - сопротивление
теплоотдаче с внутренней стороны ограждения Rв =0,111 м2К / Вт

м2·К / Вт.
Требуемая толщина
изоляционного слоя

Принимаем толщину теплоизоляционного
слоя 150 мм (один слой толщиной 100 мм, один слой 50 мм).
.6 Полы охлаждаемых
камер
Теплоизоляцию полов принимаем
одинаковой для всех охлаждаемых помещений. В качестве расчетной конструкции
принимаем конструкцию пола в камерах хранения мороженых грузов. В расчете
учитываем только слои, лежащие выше бетонной подготовки с нагревательными
устройствами.
|
|
№ слоя
|
Наименование и материал слоя
|
Толщина δ,
м
|
Коэффициент теплопроводности λ, Вт/мК
|
Тепловое сопротивление R, мК / Вт
|
|
1
|
2
|
3
|
4
|
5
|
|
1
|
Монолитное покрытие из
тяжёлого бетона
|
0,05
|
1,86
|
0,022
|
|
2
|
Армобетонная стяжка
|
0,08
|
1,86
|
0,043
|
|
3
|
Пароизоляция (1 слой
пергамина)
|
0,001
|
0,15
|
0,007
|
|
4
|
Маты PAROC
|
Требуется определить
|
0,035
|
Требуется определить
|
|
5
|
Цементно-песчаный
раствор
|
0,025
|
0,025
|
0,026
|
|
6
|
Уплотнённый песок
|
1,35
|
0,58
|
2,338
|
|
7
|
Бетонная подготовка с подогревом
|
-
|
-
|
-
|
|
∑
|
Требуемый сопротивление
теплопередаче R0тр=5,5 м2К
/ Вт
Rн - сопротивление
теплоотдаче соответственно с наружной или более теплой стороны ограждения Rн=0,142 м2К / Вт
Rв - сопротивление
теплоотдаче с внутренней стороны ограждения Rв =0,142м2К / Вт

м2·К / Вт.
Требуемая толщина
изоляционного слоя

Принимаем толщину теплоизоляционного
слоя 100 мм
Результаты расчетов
|
Ограждения
|
|
Вт/(м2·К)
|
Вт/(м2·К)
|
Вт/(м2·К)
|
Толщина теплоизоляционного слоя, м
|
Коэффициент теплопередачи, Вт/(м2·К)
|
|
|
|
|
|
|
|
|
|
|
Наружные стены:
|
|
Камера 1-3,8
|
-20
|
0,043
|
0,111
|
0,524
|
0,126
|
0,125
|
4,3
|
4,3
|
|
Камера 4-6
|
0
|
0,043
|
0,091
|
0,524
|
0,059
|
0,05
|
2,4
|
2,4
|
|
Наружная стена смежная
с машинным отделением и служ. помещениями:
|
|
Камера 11-12
|
-20
|
0,043
|
0,524
|
0,126
|
0,125
|
4,3
|
4,3
|
|
Камера 9-10
|
-30
|
0,043
|
0,111
|
0,524
|
0,154
|
0,150
|
5,1
|
5,1
|
|
Внутренние стены
смежные с коридором:
|
|
Камера 1-3,12,11,8
|
-20
|
0,043
|
0,111
|
0,543
|
0,138
|
0,15
|
4,65
|
5
|
|
Камера 4-6
|
0
|
0,043
|
0,091
|
0,543
|
0,072
|
0,075
|
2,76
|
2,76
|
|
Камера 9-10
|
-30
|
0,043
|
0,111
|
0,543
|
0,12
|
0,125
|
4,92
|
4,92
|
|
Внутренние
перегородки:
|
|
Камера 1-2,3-4,8-6,11-12
|
-20/0
|
0,091
|
0,111
|
0,756
|
0,092
|
0,1
|
3,6
|
3,6
|
|
Камера 8-9,10-11
|
-30/-20
|
0111
|
0,111
|
0,756
|
0,042
|
0,05
|
2,2
|
2,2
|
|
Внутренние перегородки
с одинаковыми температурами:
|
|
Камера 2-3
|
-20/-20
|
0,111
|
0,111
|
0,756
|
0,025
|
0,025
|
1,7
|
1,7
|
|
Покрытие охлаждаемых
камер:
|
|
-20
|
0,043
|
0,111
|
0,086
|
0,152
|
0,150
|
4,6
|
4,6
|
|
Полы охлаждаемых
камер:
|
|
-20
|
0,142
|
0,142
|
2,43
|
0,102
|
0,1
|
5,5
|
5,5
|
2.7
Проверка на невыпадение конденсата в строительных конструкциях
Условия не выпадения конденсата:
если толщина теплоизоляции недостаточна, то температура поверхности ограждения
со стороны помещения с более высокой температурой может опуститься ниже
температуры точки росы воздуха в этом помещении t т.р. и на поверхности
ограждения выпадает конденсат в виде росы или инея. Это приводит к
переувлажнению ограждающих конструкций и их ускоренному разрушению. Поэтому при
разности температур в смежных камерах свыше 10°С перегородки проверяют на
выпадение конденсата. Такую же проверку выполняют и для наружных стен и
перекрытий в камерах с положительными температурами при расчетной зимней
температуре наружного воздуха. Температуру внутренней поверхности ограждающей
конструкции определяют по формуле:
Чтобы не происходило
выпадения конденсата, должно соблюдаться условие 
т.р.
Температура точки росы воздуха
определяют по i - d-диаграмме при расчетных значениях tв и φв воздуха в помещении с
более высокой температурой.
Посчитаем температуры в коридоре и
тамбуре:
,6*(tн - tпм) = 8,86°С (для
помещений не смежных с наружным воздухом)
,7*(tн - tпм) = 13,67°С (для
помещений смежных с наружным воздухом)
Внутренняя стена между камерой 9
(-30°С) и коридором (+13,67°С), φв=60%.
По i-d диаграмме нашли, что температура
точки росы равна tт.р.= 4,1°С при температуре
12оС и влажности 60%.
Температура наружной поверхности:

≥ 6°С - условие
выполняется, следовательно конденсат не выпадет и толщина теплоизоляции выбрана
правильно.
Следовательно, и на
стенах камер 1 (-20°С), 2 (-20°С), 3 (-20°С), 12 (-20°С), 8,11 (-20°С), которые
смежные с коридором (+12°С), не будет выпадать конденсат, так как условия более
благоприятные.
Наружные стены камер 1-3
(-20°С), 8 (-20°С), φв=90%.
Максимальная температура
наружного воздуха в городе Наровля:

оС
(tсрм = 24оС - среднемесячная температура самого тёплого
месяца - июля, tам
= 38оC - абсолютный максимум
температуры.)
По i-d диаграмме нашли, что температура точки росы равна tт.р.= 25,4°С
Температура наружной поверхности:

≥ 25,4°С -
условие выполняется, следовательно конденсат не выпадет и толщина теплоизоляции
выбрана правильно.
Наружная стена камер:
10-9 (-30°С) смежной с машинным отделением птицефабрики (+18°С),
φв=60%.
По i-d диаграмме нашли, что температура
точки росы равна tт.р.= 9,6°С.
Температура наружной поверхности:

≥ 9,6°С - условие
выполняется, следовательно конденсат не выпадет и толщина теплоизоляции выбрана
правильно.
Следовательно, и на
стенах камер 11 (-20°С), 12 (-20°С), которые смежные с машинным отделением
птицефабрики (+18°С), не будет выпадать конденсат, так как условия более
благоприятные.
Определение необходимой
пароизоляции из условия отсутствия конденсации водяного пара внутри ограждения.
Абсолютная максимальная
температура воздуха в г. Наровля 380 Сφ=55%
- влажность воздуха в 15 часов наиболее тёплого месяца.
Находим тепловой поток
через ограждение:
q=
(tн-tк)/R = (28,2 -
(-20))/4,3=11,2Вт/м2
Находим температуру на
поверхности раздела слоёв материалов ограждения.
t1=
tн - q
=28,2-
= 27,70С.
t2=
t1 - q
= 27,7-
= 27,470С.
t3=
t2 - q
= 27,47-
= 22,440С.
t4=
t3 - q
= 22,44-
= 22,290С.
t5=
t4 - q
= 22,29-
= 22,140С
t6=
t5 - q
= 22,14-
= -18,180С.
t7=
t6 - q
= -18,18
= -18,40С.
По таблице находим
давление насыщенного пара, соответствующее данным температурам:
|
Номер поверхности
|
Температура, 0С
|
Давление насыщенного пара р»,
мм рт ст
|
|
1
|
27,70С
|
27,88
|
|
2
|
27,47
|
27,4
|
|
3
|
22,44
|
20,38
|
|
4
|
22,29
|
20,2
|
|
5
|
22,14
|
20,1
|
|
6
|
-18,18
|
1,13
|
|
7
|
-18,4
|
1,1
|
Общее сопротивление
паропроницаемости:
Hн
= 2 
+ 
+2· 
+ 
,
где δ
- толщина соответствующего слоя ограждения, м; 
- коэффициент
сопротивления паропроницанию, г/(м
)
Hн
= 2 
+ 
+2· 
+ 
= 9б73 м2
/г.
Парциальное давление
пара на наружной поверхности ограждения:
p1=pн= φн
pн»
= 0,55
49,73 = 27,35 
.
Парциальное давление
пара на внутренней поверхности ограждения:
pк=
φк
pк»
= 0,9
0,77 = 0,693 
.
pн»
= 27,35 
(для температуры 380С)
pк»
= 0,77 
(для температуры (-200С))
Условие стационарности
потока влаги:
ω=
= 
/(м2
)
Действительное
парциальное давление водяного пара в воздухе на поверхности слоёв ограждения
находиться по формуле:
px
= pн - ωHx
p2
= pн - ω
= 27,35 - 2,7
= 22,85 
p3
= p2 - ω
= 22,85 - 2,7
= 13,5 
p4
= p3 - ω
= 13,5 - 2,7
= 9,9 
p5
= p4 - ω
= 9,9 - 2,7
= 6,3 
p6
= p5 - ω
= 6,3 - 2,7
= 5,54 
p7
= p6 - ω
= 5,54 - 2,7
= 1,04 
Н<H Значит были произведены правильно
Дальше строим графики
температуры, давления насыщения и парциального давления пара в зависимости от
координаты и сопротивления паропроницанию. Так как графики не пересекаются, то
конденсат не выпадает.
3. Расчет теплопритоков
в охлаждаемые помещения и определение тепловой нагрузки для подбора камерного
оборудования и компрессоров
Определение расчетной
тепловой нагрузки для подбора камерного оборудования
Для поддержания заданной
температуры в охлаждаемом помещении необходимо, чтобы все теплопритоки
отводились камерным оборудованием - испарителями.
При определении этой
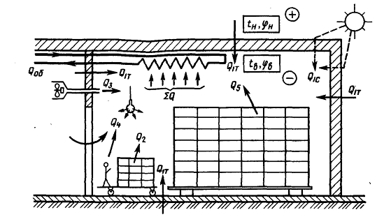
нагрузки учитывают следующие теплопритоки: через ограждающие конструкции
помещения Q1; от продуктов (грузов) или материалов при их
холодильной обработке (охлаждении, замораживании, домораживания) Q2;
с наружным воздухом при вентиляции помещений Q3; от различных
источников при эксплуатации камер Q4.
Схема теплопритоков в
охлаждаемое помещение от фруктов и овощей в процессе «дыхания», необходимом для
жизнедеятельности клеток, Q5
Каждый из этих видов
теплопритоков, как правило, непрерывно изменяется, причем их максимальные
значения не совпадают по времени. Поэтому для точного определения величины
максимума результирующего теплопритока в камеру и времени его наступления
необходимо построить графики изменения каждого из теплопритоков в течение
длительного периода (летне-осенний период, в течение года) и произвести их
сложение. Однако такой метод достаточно сложен. Поэтому в практике курсового и
дипломного проектирования пользуются методикой расчета, при которой все
теплопритоки считаются постоянными во времени и приходящимися на летний период
года.
Нагрузку на камерное
оборудование определяют как сумму всех теплопритоков в данную камеру, так как
камерное оборудование должно обеспечить отвод теплоты при самых неблагоприятных
условиях.
Теплопритоки через
ограждающие конструкции
Теплопритоки через
ограждающие конструкции Q1
определяют как сумму теплопритоков (через стены, перегородки, перекрытия или
покрытия, через полы), вызванных наличием разности температур снаружи
ограждения и внутри охлаждаемого помещения Q1т,
а также теплопритоков в результате воздействия солнечной радиации Q1с
через покрытия и наружные стены:
Теплопритоки через
стены, перегородки, перекрытия или покрытия Qlт
(в кВт) рассчитывают по формуле:
где kд - действительный
коэффициент теплопередачи ограждения, определяемый при расчете толщины
изоляционного слоя, Вт/(м2К); F - расчетная площадь
поверхностей ограждения, м2; Θ - расчетная разность температур (температурный напор),°С; tн - расчетная температура
воздуха с наружной стороны ограждения, °С; tв - расчетная температура воздуха внутри охлаждаемого помещения,
°С.
При расчете площади поверхности стен
и перегородок длину наружных стен не угловых помещений определяют как
расстояние между осями внутренних стен; угловых помещений - как расстояние от
наружной поверхности наружных стен до оси внутренних. Длину внутренних стен
определяют как расстояние между внутренней поверхностью наружных стен и осью
внутренних, а высоту стен - как расстояние от уровня чистого пола данного этажа
до уровня чистого пола вышележащего этажа или до верха засыпки покрытия.
Площадь потолка и пола определяют как произведение длины камеры на ширину,
которые измеряются между осями внутренних стен или от внутренней поверхности
наружных стен до оси внутренних.
С достаточной степенью точности все
размеры помещений в плане можно определить между координационными осями (т.е.
без учета толщины стен). При этом погрешность при определении площади ограждающих
конструкций по сравнению с более точным методом, указанным выше, не превысит
5%. Линейные размеры принимают с округлением до 0,1 м, а площадь - с
округлением до 0,1 м2. Температуру tв принимают в соответствии
с рекомендациями.
При расчете теплопритоков через
наружные ограждения температуру наружного воздуха tн принимают как
среднемесячную самого тёплого месяца. При расчете теплопритоков через
внутренние ограждения (стены и перегородки), отделяющие одно помещение от
другого, температура которого известна, вместо температуры наружного воздуха
принимают температуру данного помещения.
Теплоприток через пол (в
кВт), расположенный на грунте и имеющий обогревательные устройства, определяют
по формуле
где 
-
коэффициент теплопередачи конструкции пола; 
- средняя температура
поверхности устройства для обогрева грунта (при обогреве горячим воздухом,
проходящим по каналам, принимаем 3°С).
Теплоприток от солнечной
радиации через наружные стены и покрытия холодильников Qlc
(в кВт) определяют по формуле
где 
-
действительный коэффициент теплопередачи ограждения; F -
площадь поверхности ограждения, облучаемой солнцем, м2; 
- избыточная разность
температур, характеризующая действие солнечной радиации в летнее время,°С.
Количество теплоты от
солнечной радиации зависит от зоны расположения холодильника (географической
широты), характера поверхности и ориентации ее по сторонам горизонта.
Для плоской кровли
избыточная разность температур зависит только от тона окраски и не зависит от
ориентации и широты. Для плоских кровель с окраской светлых тонов принимаем
14,9°С.
Список литературы
1. Явнель Б.К., Свердлов Г.З. Курсовое и дипломное
проектирование холодильных установок и систем кондиционирования воздуха. - М.,
Пищевая промышленность, 1972 - 384 с.
2. Явнель Б.К. Курсовое и дипломное проектирование
холодильных установок и систем кондиционирования воздуха. - 3-е изд., перераб.
и доп. - М.: Агропромиздат, 1989 - 223 с.; ил.
. Курылев Е.С., Герасимов Н.А. Примеры, расчеты и
лабораторные работы по холодильным установкам. - Л., «Машиностроение», 1971 -
256 с., ил.
. Курылев Е.С. и др. Холодильные установки: Учебник для
студентов вузов специальности «Техника и физика низких температур»,
«Холодильная криогенная техника и кондиционирование» - 2-е изд., стереотип. -
СПб.: Политехника, 2002. - 576 с: ил.
. ТКП 45-3.02-151-2009 (02250) «Здание холодильников
строительные нормы проектирования» Минск 2009.
. Крылов Ю.С., Пирог П.И., Васютович В.В., Дементьев А.И.,
Карпов А.В. «Проектирование холодильников» 1972 г.
холодильник камера конденсат промышленный