Проектирование и расчет лазерно-искрового эмиссионного анализатора
Оглавление
Введение
1.
Научно-исследовательская часть
1.1 Физические
основы лазерно-искровой эмиссионной спектроскопии
1.2 Свойства
лазерно-индуцированной плазмы
1.3
Интенсивность излучения, испускаемого плазмой
1.4 Анализ
зависимости интенсивности излучения спектральных линий от температуры плазмы
для разных химических элементов
2.
Проектно-конструкторская часть
2.1
Принципиальная схема приборов ЛИЭС
2.2 Расчет
необходимой импульсной мощности лазерного излучателя
2.3 Выбор типа
лазерного излучателя для ЛИЭС - анализатора
2.4 Описание
структурной схемы
2.5 Выбор и
обоснование элементов структурной схемы
2.5.1 Источник
излучения реперного канала
2.5.2 Источника
излучения передающего канала
2.5.3
Оптическое волокно.
2.5.4
Спектральный прибор
3. Оптическая
часть
3.1 Расчет
оптической системы реперного канала
3.2 Габаритный
расчет передающей системы
3.3
Энергетический расчет передающей системы
3.4 Расчет
приемной оптической системы
4.
Технологическая часть
4.1 Анализ
влияния взаимоположения компонентов приемного канала на радиус и положение
пятна рассеяния
4.2 Анализ
влияния взаимоположения компонентов передающего канала на характеристики
лазерного пучка
4.3 Анализ
влияния взаимоположения компонентов реперного канала на радиус пятна рассеяния
4.4 Разработка
технологического процесса сборки и юстировки лазерного искрового эмиссионного
спектроанализатора
4.4.1.
Разработка технологической карты сборочного процесса
4.4.2.
Разработка технологической карты эскизов сборочного процесса
5.
Экономическая часть
5.1 Описание цели
проведения НИОКР
5.2 Определение
стадий и этапов НИОКР
5.3 Определение
трудоемкости и продолжительности этапов НИОКР
5.3.1
Определение трудоёмкости отдельных этапов НИОКР прибора
5.3.2
Определение фонда рабочего времени за заданный период НИОКР
5.3.3 Определение
количества и категории исполнителей
6. Промышленная
экология и безопасность.
6.1
Планирование системы безопасности в ЛИЭС
6.2 Опасные
факторы при работе с лазерами
6.3 Образование
аэрозолей
6.4 Расчет
лазерно-опасных зон
6.5
Безопасность при работе с системой ЛИЭС
Список
используемой литературы.
Введение
Использование лазеров в спектроаналитических целях началось с создания
первых образцов твердотельных лазеров. К достоинствам лазерного испарения и
возбуждения спектров вещества можно отнести высокую локальность отбора пробы,
малые, до 10-8 г, количества вещества, испаряемого за один импульс, слабую
зависимость процесса испарения от физико-химических свойств, возможность
осуществлять анализ без какой-либо специальной химической или механической
обработки образцов, применимость метода к широкому классу веществ. Отдельно
следует отметить возможность проводить лазерный спектральный анализ образцов
послойно с шагом до 0,05 мкм.
Одним из перспективных спектральных методов анализа, позволяющих проводить
экспрессные аналитические измерения, является лазерно-искровая эмиссионная
спектроскопия. Она основана на регистрации эмиссионного спектра плазмы,
создаваемой с помощью сфокусированного лазерного излучения на поверхности или в
объеме исследуемого образца .
В настоящее время лазерно-искровая эмиссионная спектроскопия бурно
развивается в связи с возможностью на ее основе создания универсальных
приборов, способных неконтактно в реальном масштабе времени анализировать любые
типы образцов на все элементы сразу с высоким пространственным разрешением без
какой-либо подготовки проб.
1.
Научно-исследовательская часть
Целью данной части проекта является исследования зависимости излучения
плазменного факела от различных параметров плазмы.
.1 Физические основы лазерно-искровой эмиссионной спектроскопии
Лазерно-искровая эмиссионная спектроскопия (ЛИЭС) превратилась в
современный аналитический метод в течение последних двух десятилетий (В
зарубежной литературе для обозначения лазерно-искровой спектроскопии часто используется
аббревиатура LIBS - laser-induced breakdown spectroscopy, реже ее синонимы: LIPS - laser-induced plasma spectroscopy и LA-OES - laser ablation optical emission spectroscopy). В этом методе, как правило,
используется маломощный импульсный лазер (обычно, с энергией от десятков до
сотен миллиджоулей в импульсе) и фокусирующая система для того, чтобы испарить
очень малое количество пробы и получить плазму. Основные узлы прибора для
проведения анализа методом ЛИЭС схематически представлены на рис. 1.1.
Излучение плазмы собирается и направляется в спектрограф, который разлагает
свет, испускаемый возбужденными атомами и ионами в плазме, детектор
регистрирует эмиссионный сигнал, а компьютер оцифровывает и выводит результаты
анализа.
Привлекательность метода ЛИЭС обусловлена очень простой, по сравнению со
многими другими методами элементного анализа, подготовкой оборудования для
проведения измерений. Действительно, чтобы получить лазерно-индуцированную
микроплазму, необходимо только лишь сфокусировать лазерное излучение на
поверхность образца или в его объем. При этом образцом может быть газ,
жидкость, аэрозоль или твердое тело. Эмиссионные спектры образующейся лазерной
плазмы используют для определения элементного состава анализируемого образца.
Рис. 1.1.Схема основных узлов экспериментальной установки для проведения
анализа с помощью ЛИЭС
Однако основные физические и химические процессы, протекающие при
лазерном испарении вещества не столь просты. Так, возникновение, образование и
затухание лазерной плазмы - очень сложные физические процессы. Поглощение
падающего на образец лазерного излучения происходит через механизм обратного
тормозного излучения, включающего столкновения между тремя сортами частиц:
фотонами, электронами и атомами или молекулами. В газах и жидкостях плазма
образует ударную волну, которая переносит энергию в окружающую среду. Если
лазерное излучение воздействует на образец в вакууме, то плазма и испаренное
вещество свободно распространяются от поверхности образца с разными скоростями.
Возбуждение атомов на определенные энергетические уровни также сложный процесс,
зависящий от таких факторов, как термодинамическое равновесие и взаимодействия
с другими атомами и молекулами. После окончания воздействия лазерного импульса
(который обычно имеет длительность ~ 10 нс) плазма затухает в течение
последующих одной или нескольких микросекунд, в зависимости от используемой
плотности мощности падающего лазерного излучения.
Рис. 1.2. Эмиссионные спектры лазерной плазмы на поверхности титана
В вакууме этот процесс значительно сокращается. Отметим, что большинство
анализов с лазерной искрой проводят с частотой повторения лазерных импульсов 10
Гц и выше.
Спектры испускания плазмы со временем изменяются, как показано на рис.
1.2.
Здесь показаны эмиссионные спектры лазерной плазмы на поверхности титана.
По оси ординат отложена интенсивность в относительных единицах, по оси абсцисс
- длина волны излучения в нанометрах. Временные интервалы, в течении которых
накапливались спектры, составляют: а): 0 - 0,5 мкс; б): 0,5 - 5 мкс; в): 10 -
110 мкс. Из рисунка видно, что вскоре после возникновения плазмы наблюдается
сплошной спектр и спектр ионов. Сплошной спектр представляет собой «белый свет»
плазмы, содержащий минимальную спектроскопическую информацию (см. рис. 1а). По
мере затухания плазмы наблюдаются спектры атомов и. в конечном счете, простых
молекул, образующихся в результате рекомбинации атомов. Со временем
интенсивность фонового сплошного спектра уменьшается из-за рекомбинации
свободных электронов с ионами. Использование эмиссионных спектров (в которых
интенсивность спектров атомов больше интенсивности фонового сплошного спектра)
обеспечивает получение быстрой и качественной информации о составе исследуемого
образца.
.2 Свойства
лазерно-индуцированной плазмы
Плазма - это в целом электронейтральный ансамбль атомов, ионов и
свободных электронов, в котором поведение заряженных частиц является
коллективным. Плазма описывается множеством параметров, но наиболее важным из
них является степень ионизации. Слабоионизованной называют плазму, в которой
доля электронов по отношению к числу других частиц составляет менее 10%. Как
другой крайний случай, в высокоионизованной плазме атомы могут потерять много
своих электронов, что приводит к очень высокому значению отношения числa электронов к числу атомов/ионов.
Лазерно-индуцированную плазму обычно относят к категории слабоионизованных.
На рис. 1.3 представлено схематически развитие во времени лазерной плазмы,
инициированной одиночным лазерным импульсом.
На ранних стадиях ионизация является высокой. По мере протекания
ионно-электронной рекомбинации образуются нейтральные атомы, а затем и
молекулы. На протяжении всего этого периода наблюдается непрерывный фон,
интенсивность которого спадает быстрее, чем интенсивность спектральных линий.
Этот непрерывный фон связан в первую очередь с тормозными рекомбинационными
процессами. Рекомбинация происходит, когда свободный электрон захватывается на
ионный или атомный энергетический уровень и отдает избыток своей кинетической
энергии в виде фотона. Использование временного стробирования в ЛИЭС позволяет
выделить область, в которой преобладают информативные для исследования состава
вещества сигналы.
Величина
представляет время задержки от начала лазерного
импульса до открытия «окна» (строба) длительностью
, в течение которого будет регистрироваться сигнал.
Вставки на рисунке 2 иллюстрируют виды эмиссионных спектров, которые можно
наблюдать в различные промежутки времени. Шкала времени показанная на рисунке
2, соответствует плазме, индуцированной на воздухе при давлении 1 атм лазерным
импульсом Nd:ИАГ- лазера с длиной волны 1064 нм и длительностью
порядка 5 - 10 нс.
Рис. 1.3 Развитие во времени лазерной плазмы, инициированной одиночным
лазерным импульсом
.3
Интенсивность излучения, испускаемого плазмой
Интенсивность
излучения
, испускаемого плазмой, можно представить в следующем
виде:
,(1.1)
где:
-
коэффициент испускания(см
);
-
коэффициент поглощения (см
);
- длина
плазмы вдоль линии наблюдения.
Отметим,
что для малых значений
формула (1) принимает вид:
,(1.2)
что
является условием существования оптически тонкой (прозрачной плазмы).
Существуют два относительно простых способа проверки, является ли плазма
оптически тонкой. Относительные интенсивности сильных cпектральных линий элементов хорошо известны. Когда
самопоглощение становится заметным, наблюдаемые интенсивности будут отклоняться
от ожидаемых величин, причем в центре более сильных линий насыщение
интенсивности будет эффективнее. При заметном самопоглощении контур линии
представляет собой пик с плоской вершиной. В более крайнем случае одиночная
линия может иметь провал на центральной частоте. В таком случае говорят о
самообращении линии.
Описание плазмы начинают с попытки охарактеризовать свойства ансамбля
атомов, молекул, электронов и ионов, а не отдельных части. Если существует
термодинамическое равновесие, то свойства плазмы, такие, как относительная
заселенность энергетических уровней, распределение частиц по скоростям, можно
описать с использованием понятия температуры. В действительности полное
термодинамическое равновесие недостижимо и физики были вынуждены
довольствоваться локальным термодинамическим равновесием (ЛТР). Все, что при
этом требуется, - чтобы такое равновесие существовало в небольшой области
пространства, хотя оно может несколько различаться от области к области. ЛТР
обычно существует после того, как произошло достаточное для термализации плазмы
количество столкновений. Термализация означает распределение энергии по объему
плазмы и частицам. Даже в этом случае некоторые частицы могут не находиться в
термодинамическом равновесии. Это является обычным для тяжелых частиц (атомов и
ионов) и легких частиц (электронов), которые по отдельности достигают
равновесия быстрее, а позже - и друг с другом.
Разработаны разнообразные тесты, позволяющие установить наличие
термодинамического равновесия. Возможно, простейший из них заключается в том, что
относительные интенсивности спектральных линий с близких верхних уровней одного
и того же мультиплета согласуются с предсказанными основной теорией.
1.4 Анализ
зависимости интенсивности излучения спектральных линий от температуры плазмы
для разных химических элементов.
Для термически равновесной плазмы распределение атомов по степеням
возбуждения определяется законом Больцмана :
(1.3)
где:
- число
атомов, находящихся в состоянии
при
температуре Т;
- число
атомов, находящихся в основном (невозбужденном) состоянии при температуре Т;
-
статистические веса возбужденного и основного состояний, соответственно;
-
постоянная Больцмана.
Из
формулы (3) относительная заселенность энергетических уровней атомов или
молекул имеет вид:
,
где
индексы i и j указывают на два уровня.
Интенсивность
излучения спектральной линии приближенно определяется выражением :
(1.4)
или
где:
-
вероятность перехода из возбужденного состояния
в более
низкое состояние
;
(
) - частота (длина волны), соответствующая этому
переходу;
-
постоянная Планка,
=6,626 10
Дж с.
Отношение
интенсивностей двух линий выглядит следующим образом:
Или
(1.5)
Измеряя
относительные интенсивности линий атомов, для которых известны параметры g, A, E, а
также значения их длин волн, можно рассчитать температуру Т с помощью метода
двух линий. Если ширины линий значительно различаются, следует измерять
интегральные интенсивности линий.
Однако,
точно измерять относительные интенсивности бывает непросто. Для улучшения
точности измерения температуры целесообразно одновременное использование многих
линий и проведение графического анализа. Приведем уравнение (1.4) для
интенсивности излучения спектральной линии к следующему виду:
(1.6)
Это
уравнение прямой линии с наклоном
.
Следовательно, если построить зависимость выражения в левой части уравнения от
Е (энергии верхнего уровня для случая испускания) и если выполняется
распределение Больцмана, получим прямую линию. Чем больше различаются значения
энергий верхних уровней, тем легче будет определить наклон линии.
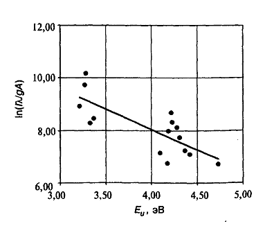
Рис.
1.4 Эмиссионный спектр базальта
Для
иллюстрации этого вывода, на рис. 1.4 показан ЛИЭС спектр базальта, где линии
железа, используемые для построения зависимости
от
, отмечены звездочками.
Полученный
график изображен на рис. 4 [1]. Температура, определенная по наклону линии на
рис. 4, составляет 7500 К.
Рис.1.5
График, построенный по данным, приведенным на рис. 1.4
Температура,
получаемая в плазме ЛИЭС, конечно, зависит от подводимой энергии,
следовательно, и от плотности потока и плотности энергии. Для значений
плотности энергии порядка 1010 Вт/см2 температура составляет обычно 8000-12 000
К при временах 1-2 мкс с момента образования плазмы. На рис. 5 приведены
результаты расчета температур в ЛИЭС.
Рис.
1.6 Результаты расчета температуры плазмы.
Теперь,
зная диапазон температур излучения плазмы, проанализируем зависимость
интенсивности спектральных линий атомов различных элементов от температуры
излучения плазмы. Для расчета интенсивности спектральной линии используется
формула (4)
В
таблицах 1.1 - 1.4 приведены данные для спектральных линий, обладающих
максимальным значением относительной интесивности (Rel.Int.)
Таблица
1.1. Параметры излучения спектральных линий атома Fe
Для удобства расчета интенсивности спектральных линий приведем формулу
(4) в следующий вид:
Получим
графическое представление зависимости интенсивности излучения спектральной
линии от температуры плазмы (рис 1.7 - 1.11)
Рис
1.7. Зависимость интенсивности излучения спектральных линии (Вт/ср) от
температуры плазмы (К) для атома Fe.
Графики
на рис 1.7
- для
спектральной линии
=344,6нм;
- для
спектральной линии
=349,05нм;
- для
спектральной линии
=370,55нм;
- для
спектральной линии
=374,55нм;
- для
спектральной линии
=387,85нм;
Таблица
1.2. Параметры излучения спектральных линий атома Na
Рис
1.8. Зависимость интенсивности излучения спектральных линии (Вт/ср) от
температуры плазмы (К) для атома Na.
Графики
на рис 1.8
- для
спектральной линии
=313,55нм;
- для
спектральной линии
=314,93нм;
- для
спектральной линии
=316,37нм;
- для
спектральной линии
=588,99нм;
- для
спектральной линии
=589,59нм;
Таблица
1.3. Параметры излучения спектральных линий атома Mg
Рис
1.9. Зависимость интенсивности излучения спектральных линии (Вт/ср) от
температуры плазмы (К) для атома Mg.
Графики
на рис 1.9
- для
спектральной линии
=285,21нм;
- для
спектральной линии
=516,21нм;
- для
спектральной линии
=517,26нм;
- для
спектральной линии
=518,36нм;
- для
спектральной линии
=880,67нм;
Таблица
1.4. Параметры излучения спектральных линий атома Al
Рис
1.10. Зависимость интенсивности излучения спектральных линии (Вт/ср) от
температуры плазмы (К) для атома Al.
Графики
на рис 1.10
- для
спектральной линии
=281,61нм;
- для
спектральной линии
=308,85нм;
- для
спектральной линии
=466,31нм;
- для
спектральной линии
=559,33нм;
Таблица
1.5. Параметры излучения спектральных линий атома Be
Рис
1.11. Зависимость интенсивности излучения спектральных линии (Вт/ср) от
температуры плазмы (К) для атома Be.
Графики
на рис 1.11
- для
спектральной линии
=313,04нм;
- для
спектральной линии
=313,10нм;
- для
спектральной линии
=436,1нм;
- для
спектральной линии
=467,34нм;
- для
спектральной линии
=527,08нм;
При
постоянной температуре и других условиях возбуждения уравнение (4) для
интенсивности излучения переходит в:
(1.7)
Здесь
объединяет все сомножители в уравнении (4), кроме
.
Если
режим работы источника возбуждения достаточно стабилен и скорость подачи
вещества в плазму постоянна, наступает некоторое стационарное состояние, при
котором число атомов элемента в плазме оказывается пропорциональным
концентрации этого элемента в пробе [2]:
,(1.8)
где:
-
концентрация вещества в пробе;
-
коэффициент пропорциональности.
Подставляя соотношения (1.8) в (1.7) получаем:
,(1.9)
где:
.
Если
условия разряда не меняются при изменении концентрации, то коэффициент
остается постоянным и уравнение (9) и выполняется
достаточно хорошо. Коэффициент
зависит от
параметров разряда, условий поступления вещества в плазму и констант,
характеризующих возбуждение и последующие переходы.
При
логарифмировании уравнения (1.9) получаем:
(1.10)
Линейная
зависимость
от
очень
удобна для построения градуировочного графика.
Однако
не все кванты, испускаемые возбужденными частицами, достигают приемника света.
Квант света может быть поглощен невозбужденным атомом и, таким образом, не
будет зафиксирован приемником излучения. Это так называемое самопоглощение. С
увеличением концентрации вещества самопоглощение возрастает.
Самопоглощение
учитывается в уравнении Ломакина-Шайбе, которое хорошо описывает
концентрационную зависимость интенсивности спектральной линии:
,(1.11)
где
коэффициент
зависит от режима работы источника возбуждения, его
стабильности, температуры и т. д.;
-
коэффициент самопоглощения, учитывающий поглощение квантов света
невозбужденными атомами.
Таким
образом, вследствие самопоглощения прямая пропорциональная зависимость
интенсивности от концентрации заменяется степенной зависимость (11) с
.
2.
Проектно-конструкторская часть
В этой части рассмотрены основные аспекты проектирования
лазерно-искрового эмиссионного анализатора, проведен выбор и обоснование
оптической и структурной схемы прибора, а так же отдельных её узлов.
.1 Принципиальная схема приборов ЛИЭС
ЛИЭС - это метод, основанный на регистрации излучения плазмы с помощью
атомной эмиссионной спектроскопии. Уникальные свойства метода ЛИЭС являются
следствием применения мощного лазерного импульса как для «подготовки» пробы,
так и для возбуждения образовавшихся атомов, излучение которых регистрируют.
При воздействии сфокусированного лазерного пучка на исследуемый образец
(мишень) происходит испарение небольшой массы образца в виде атомов и частиц.
Одновременно с абляцией происходит образование микроплазмы в фокальной области
лазерного пучка, что приводит к возбуждению испаренных атомов. Процесс
возбуждения атомов в плазме продолжается и после окончания действия лазерного
импульса. Вещество исследуемого образца испаряется с образованием атомов и
ионов, которые в свою очередь также могут быть переведены в возбужденное
состояние.
На рис. 2.1 представлена структурная схема установки ЛИЭС.
Основными составными частями установки ЛИЭС являются:
· импульсный лазер 1, который генерирует мощный оптический
импульс, используемый для создания микроплазмы;
· система фокусировки 3 (состоящая из зеркал и линз), которая
направляет и фокусирует лазерное излучение на поверхность мишени;
· держатель образца или контейнер 4 (при необходимости);
· система сбора излучения 5 (линзы, зеркала или оптоволокно),
которая собирает излучение лазерной искры и направляет его на систему
регистрации;
· система регистрации, включающая блок выделения части спектра
6 (с помощью, например, спектрографа), а также приемник 7 (детектор) излучения;
· компьютер 8 и блок электроники.
Рис. 2.1 Структурная схема установки ЛИЭС
Основные части любой системы ЛИЭС одинаковы, однако специфика составных
частей зависит от конкретного применения. Эта специфика включает тип
анализируемого вещества, вид проводимого анализа, а также физические параметры,
такие, как размер, вес, компоновка, мощность и вспомогательное оборудование.
.2 Расчет
необходимой импульсной мощности лазерного излучателя
Как было сказано в пункте 1.4, чтобы получить плазму с температурой
8000-12000 К при временах 1-2 мкс с момента образования, необходимо создать на
поверхности исследуемого образца плотность энергии порядка 109 - 1010 Вт/см2.
Согласно определению, поверхностная плотность потока энергии - это
величина потока, приходящегося на единицу площади:
(2.1)
Очевидно,
что эта величина главным образом зависит от двух параметров
· импульсной мощности лазера
· площади сечения лазерного пучка, падающего на исследуемый
образец.
При наличии фокусирующей системы лазерного пучка, можно получить пятно
лазера на поверхности исследуемого образца диаметров 0,1-0,5мм.
Рис. 2.2 Зависимость поверхностной плотности энергии от мощности лазера
при разных диаметрах пятна лазерного излучения, сфокусированного на исследуемом
образце
Из графика видно, что для создания оптического пробоя с плазменным
факелом указанной выше температурой, импульсная мощность лазера должна быть не
менее 1МВт, сфокусированной на поверхности исследуемого образца в пятно радиусом
не более 0,5мм.
Такой мощности соответствует большинство современных малогабаритных
твердотельных импульсных лазеров.
2.3 Выбор
типа лазерного излучателя для ЛИЭС - анализатора
В ЛИЭС используют лазерные импульсы с пиковой мощностью порядка единиц МВт
для формирования микроплазмы при фокусировке лазерного излучения на исследуемом
образце.
Технические характеристики обычно применяемых в ЛИЭС лазеров представлены
в таблице 2.1.
Для большинства областей применения ЛИЭС наиболее предпочтительны Nd: ИАГ-лазеры, потому что они надежны,
компактны и их легко использовать в качестве источников лазерных импульсов,
обеспечивающих высокую плотность мощности излучения. Более того, можно легко
получить гармоники основной длины волны генерации от ближнего ИК до ближнего
УФ-диапазона спектра.
Из
сопоставления экспериментальных данных и расчетов можно сделать вывод, что
наиболее целесообразно использовать для испарения и нагрева вещества в
аналитических целях излучения лазеров с длиной волны 0,7-1,06 мкм энергией в
импульсе ~ десятых и сотых долей джоуля и длительностью импульса
=10-30 нс [5]. При этом эффективный нагрев паров
осуществляется при мощности лазерного излучения, обеспечивающей образование
плазмы передним фронтом импульса при создании на поверхности образца плотности
мощности ~
Вт/см
. Радиус
пятна фокусировки
должен определяться соотношением
, где
-
скорость расширения плазмы. При температуре плазмы
эВ величина
см/с.
Таблица 2.1 Технические характеристики используемых в ЛИЭС лазеров
|
Тип лазера
|
Длина волны, нм
|
Длительность импульса, нс
|
Комментарии по применению в
ЛИЭС
|
|
Nd: ИАГ (твердотельный)
|
основная: 1064 гармоники:
532, 355, 255
|
4-15
|
(1) простота преобразования
основной частоты генерации в гармоники (2) небольшие размеры лазера (3)
хорошее качество пучка (4) возможность реализации двухимпульсного режима на
одном лазере (5) возможность оптической накачки с помощью импульсной лампы
или диодов
|
|
Эксимерный (газовый)
|
ХеС1: 308 KrF: 248
ArF: 194
|
~20
|
(1) необходима
периодическая замена газовой смеси (2) качество пучка хуже, чем у Nd:
ИАГ-лазера (3) генерация только в УФ-диапазоне
|
|
СО2 (газовый)
|
10 600
|
эффективная длительность
импульса~ 200; длительность заднего фронта импульса ~1000 нс
|
(1) необходима
периодическая замена газовой смеси (2) практически не поглощается многими
материалами (3) качество пучка хуже, чем у Nd: ИАГ -лaзера
|
|
Диодный
|
~1000
|
< 1 нс
|
(1) высокая стабильность
лазерных импульсов (2) высокая частота повторения ~ 10 кГц
|
Важными
свойствами лазерного излучения для ЛИЭС являются: длина волны лазера,
длительность импульса и плотность мощности сфокусированного импульса (плотность
потока излучения на поверхности образца). Эти параметры определяют свойства
лазерной плазмы и соответственно возможность проведение анализа при образовании
данной плазмы. Например, излучение лазера на некоторых длинах волн поглощается
в веществе гораздо лучше, чем излучение другого спектрального диапазона. Так
медная мишень, а также и другие металлы имеют высокий коэффициент отражения для
длины волны СО
-лазера (10600 нм). Однако данное излучение хорошо
поглощается стеклами и водными растворами, которые обладают высоким поглощением
в среднем ИК-диапазоне спектра. Следует отметить, что хотя фокусировкой
лазерного импульса можно добиться плотности мощности порядка ГВт/см2, если
энергия будет слишком мала, то аблированного и испаренного материала может быть
недостаточно для формирования необходимого эмиссионного сигнала.
Другим
важным свойством лазерного излучения для некоторых приборов ЛИЭС может быть
качество поперечного сечения пучка, так как оно определяет минимальный размер
пятна, в которое можно сфокусировать излучение.
В
методе ЛИЭС обычно используют лазерные импульсы с энергией в диапазоне от 10
мДж до 500 мДж. Длительность импульсов
в методе
ЛИЭС обычно ~ 10 нс.
Способность
лазерного импульса распространяться на большие расстояния в виде
коллимированного пучка является важным свойством для дистанционного анализа
объектов методом ЛИЭС. В методе дистанционного анализа лазерный импульс может
распространяться к объекту и через оптоволокно.
Длина
волны излучения (например,1064 нм для Nd: ИАГ) может быть неоптимальной
для выполнения ЛИЭС анализа. Поскольку Nd: ИАГ -лазеры
обычно имеют хорошее качество пучка и с их помощью возможно получение высокой
пиковой мощности излучения, то для получения излучения другой длины волны можно
использовать метод генерации гармоник. Эффективность преобразования энергии
составляет обычно порядка 50%. В простейшем случае основная длина волны
излучения 1064 нм преобразуется в 532 нм (вторая гармоника), которая, в свою
очередь, может быть удвоена до 266 нм (четвертая гармоника). Сочетанием
оставшейся после преобразования основной гармоники 1064 нм и второй гармоники
532 нм получают третью гармонику 355 нм.
Однако,
при всех преимуществах Nd: YAG лазеров, у них есть один существенный недостатот, а
именно - данный тип лазера относится к IV классу
безопасности и не может эксплуатироваться без индивидуальной защиты, так как
даже рассеянное ИК излучение с длиной волны 1024нм, невидимое человеческим
глазом, легко проходит сквозь роговицу и фокусируется оптической системой глаза
на сетчатку, в результате чего это приводит к ожогам сетчатки вплоть до полной
потери зрения.
Лазеры
высокой пиковой мощности с модуляцией добротности, работающие в узком
спектральном окне между 1.5нм и 1.6нм примерно в 8000 раз более
"безопасные для глаз", чем другие устройства лазера, работающего в
видимом и ближнем инфракрасном диапазоне. Например, лазер на 1.54мкм может
излучать до нескольких мДж энергии в импульсе и по-прежнему считается лазером I
класса безопасности (никакой защиты лазерной глазной требуется).
Тем не менее, несмотря на свою компактность и безопасность, лазеры Er: Glass имеют существенный недостаток перед традиционными
лазерами, используемыми в лазерной эмиссионной спектроскопии, а именно - низкую
энергию в импульсе.
К примеру, сверхкомпактные эрбиевые лазеры фирмы Kigre Inc имели выходную энергию порядка 4-10 мДж при длине
импульса 6 нсек, что создавало поверхностную плотность энергии на образце
исследуемого материала около 6МВт/см2, в то время как Nd: YAG лазер, излучающий
на длине волны 1,064мкм при той же длине импульса и апертуре выходного пучка
давал плотность мощности на порядок больше. Поэтому для такого лазера
необходима фокусирующая оптическая система.
2.4 Описание
структурной схемы
Структурная схема лазерно-искрового эмиссионного анализатора представлена
на рисунке 2.3.
Схема включает в себя 3 оптических канала - реперный, передающий и
приемный, фокальные плоскости всех этих систем находятся на поверхности
исследуемого объекта, закрепленном на механизированном столики с регулировкой
по высоте. Образец устанавливается на столик, далее подъемом столика добиваются
минимального пятна сфокусированного реперного лазера на исследуемом образце.
Как только это условие выполнено, плоскость сечения перетяжки лазера,
создающего плазменный факел, совпадает с плоскостью проведения анализа на
образце. Так же реперный лазер служит для точного указания именно того места, в
котором будет происходить оптический пробой. Это очень удобно в тех случаях,
когда нужно провести анализ с площадки минимальной площади, например
проанализировать минеральное вкрапление в горной породе.
После того, как фокальные плоскости реперного, и, следовательно,
передающего канала совмещены с плоскостью анализа, производится серия выстрелов
лазера, в результате которых возникает плазменный факел. Излучение плазменного
факела проецируется с помощью приемного объектива в торец оптического волокна,
затем попадает в спектральный прибор. Далее путем обработки спектра программным
обеспечением, производится анализ состава исследуемого вещества.
Рис. 2.3. Структурная схема ЛИЭС-анализатора.
2.5 Выбор и обоснование элементов структурной схемы
2.5.1
Источник излучения реперного канала
В качестве источника излучение реперного канала целесообразно выбрать
лазерный диод, так как это наиболее дешевый и практичный вариант, который
хорошо зарекомендовал себя в подобных задачах. Такой лазерный диод должен
обладать следующими параметрами.
· относительно высокая мощность излучения ( более 8мВт)
· одинаковая расходимостью в разный плоскостях
· длина волны видимого диапазона.
Этим требованиям отвечает множество лазерных полупроводниковых диодов,
которые в огромном ассортименте представлены на современном рынке. Остановимся
на модели HL6344G фирмы Hitachi
с диаметром выходного отверстия 9мм.
Рис. 2.4. Лазерный диод HL6344G
спектроскопия лазерный
искровый
2.5.2
Источника излучения передающего канала
Исходя из всего перечисленного в главе 2.3, выбираем компактный Er: Glass лазер на безопасной для глаз длине волны с
максимальной энергией в импульсе.
Kigre AO-1010
Hz, ~10mj, 6ns/Q-Switched Diode Pumped Eye-Safe LaserPumped
Solid State (DPSS) High Efficiency Side Pumped (HESP) Laser
Рис. 2.5. Лазерная головка Kigre AO-1010
Таблица 2.2.
Параметры лазерной головки Kigre AO-1010.
|
Длина волны излучения
|
1534
|
|
Напряжение и ток накачки
|
12В, 100А
|
|
Выходная энергия
|
~10мДж
|
|
Ширина выходного импульса
|
~6нс
|
|
Диаметр выходного пучка
|
0.8мм
|
|
Расходимость луча
|
~4.2мрад
|
|
Отклонение луча
|
<0.5мрад
|
|
Частота следования
импульсов
|
10Гц
|
|
Вес лазерной головки
|
0.61кг
|
|
Габариты
|
1.4"x 2.2"x
5.0"
|
|
Ширина спектра FWHM 4.5nm
|
4.5нм
|
|
Рекомендуемая температура
эксплуатации
|
от -35 до +71 °С
|
|
Критическая температура
|
от -55 до +90 °С
|
Поверхностная плотность энергии в пятне, полученном без использования
фокусировки, будет равна
Согласно
расчетам, произведенным в пункте 2.2, такая поверхностная плотность энергии
недостаточна для запуска процесса оптического пробоя и образования плазмы,
поэтому целесообразно установить между лазерной головкой и исследуемым образцом
фокусирующую оптическую систему.
В
этой ситуации, если сфокусировать излучение данного лазера в пятно диаметром
0.1мм, поверхностная плотность энергии будет равна
В этом случае поверхностная плотность полностью соответствует тем
расчетам, которые были произведены ранее.
2.5.3
Оптическое волокно
Оптическое волокно должно передавать излучение плазменного факела в
спектральный прибор в довольно широком диапазоне длин волн 200-900нм, то есть
охватывать, УФ, видимую и ближнюю ИК области спектра. Так же оно должно
обладать диаметром сечения сердцевины не менее 500мкм - это нужно для
обеспечения фокусировки приемным объективом всего заданного диапазона длин волн
излучения плазмы.
Для этой цели подходит волокно P600-1-SR фирмы OceanOptics.
Характеристики оптического волокна
· Рабочий диапазон длин волн 200-1100нм;
· Диаметр сердцевины 600±10мкм;
· Рабочий радиус изгиба 16см;
· Минимальный радиус изгиба 8 см;
· Аппертурное число NA=0.22.
· Длина 1м
Рис. 2.6. Оптиковолоконный кабель.
Знание числовой апертуры оптоволокна необходимо для эффективного ввода
излучения в оптоволокно.
Рисунок 2.7 - Распространение излучения в оптоволокне
- показатель преломления волокна сердцевины- показатель преломления
волокна оболочки- показатель преломления окружающей среды
θпр - предельный угол внутреннего
отражения
θm - наибольший угол падения лучей,
испытывающих полное внутреннее отражение
n0 sin θm= n1 cos θпрθпр= n2/ n12θпр=1- sin 2θпр
n0sin θm=(n12- n22)1/2
Числовая апертура волновода NA:
NA=n0 sin θm=( n12- n22)1/2≈[2 n1(n1-
n2)]1/2
Рисунок 2.8 - Аппертурный угол оптического волокна
2.5.4
Спектральный прибор
Устройство для выделения регистрируемых участков спектра может быть
простым, таким как оптический фильтр (для регистрации излучения на одной длине
волны), и сложным, таким как, например, эшелле-спектрограф, который позволяет
проводить одновременную регистрацию в широком спектральном диапазоне (200-800
нм) многих линий, например, при анализе методом ЛИЭС в атмосфере воздуха. В
таблице 4 [1] перечислены устройства для выделения спектральных линий и
диспергирующие устройства для разложения излучения в спектр, используемые в
ЛИЭС, а также их особенности.
Таблица 2.3 Спектральные устройства, применяемые в ЛИЭС
|
Устройство
|
Особенности
|
|
Спектральный фильтр
|
Одна фиксированная длина
волны, компактный размер, недорогой
|
|
Акусто-оптический фильтр
|
Одна длина волны,
перестраиваемая длина волны
|
|
Монохроматор с
дифракционной решеткой
|
Одна длина волны, высокое
разрешение, перестраиваемая длина волны
|
|
Эшелле- спектрограф
|
Высокое разрешение,
регистрация спектра в широком диапазоне, критичен к юстировке оптической
системы, необходима ПЗС-матрица
|
|
Полихроматор с
дифракционной решеткой
|
Регистрация участка
спектра, высокое разрешение, перестраиваемая длина волны, возможность
использования различных дифракционных решеток
|
Однако, современный компактные спектрометры, работающие в широком
диапазоне длин волн, реализованы по схеме с голографической дифракционной
решеткой. Одним из таких спектрометров, специально разработанным для ЛИЭС
анализа, является прибор Stellar Net BLACK-Comet Model Super Range 200-1100nm.
Рис. 2.9.
Спектральный прибор.
Таблица 2.3 Характеристики модели спектрометра Stellar Net BLACK-Comet
Рис. 2.10.
Пример обработки спектра.
3. Оптическая
часть
Лазерно-искровой эмиссионный спектроанализатор включает в себя три
оптические системы, выполняющие следующие функции
· указание места на поверхности исследуемого образца для
последующей лазерной абляции
· фокусировка излучения лазера Glass: Er,
создающего оптический пробой на поверхности исследуемого образца
· сбор и фокусировка в оптоволоконный кабель излучения плазмы,
образовавшейся в результате лазерной абляции
3.1 Расчет
оптической системы реперного канала
Данная оптическая система служит для фокусировки излучения реперного
диодного лазера, который выполняет функцию прицела на поверхность исследуемого
образца. Так как указание точки, в которой будет происходить лазерная абляция,
осуществляется визуально «на глаз», то ввиду данной особенности, диаметр
сфокусированного пучка реперного лазера должен быть не более 0,15мм.
Данный узел последовательно включает в себя 3 оптические системы
· коллиматор излучения реперного диодного лазера;
· афокальный расширитель лазерного пучка
· фокусирующая линза.
За основу возьмем существующий коллиматор диодного лазера 06GLC002 фирмы
Melles Griot

Прооптимизируем его в программе ZEMAX на длину волны красного лазера - 635мкм
Рис.3.2 Конструктивные параметры диодного коллиматора.
Рис.3.3 Оптическая схема диодного коллиматора.
Данная оптическая система дает коллимированный пучок диаметром 8мм
Следующий шаг - создание афокального расширителя пучка.
Рис.3.4 Конструктивные параметры афокального расширителя пучка.
Рис.3.5 Оптическая схема афокального расширителя пучка.
Соединим 2 получившиеся систем
Рис.3.6 Конструктивные параметры коллиматора с расширителем
Рис.3.7 Оптическая схема коллиматора с расширителем
Добавим фокусирующую линзу. После оптимизации получим
Рис.3.9 Конструктивные параметры реперного канала.
Рис.3.10 Оптическая схема реперного канала
Рис.3.11 Диаграмма пятна рассеяния в плоскости изображения.
3.2 Габаритный
расчет передающей системы
Для осуществления значений поверхностной плотности, описанных выше,
одного лазерного излучателя недостаточно. Поэтому для формирования нужных
выходных параметров необходимо использовать внешнюю оптическую систему - лазерную
оптическую систему.
Для решения данной конкретной задачи необходимо использовать
двухкомпонентную оптическую систему. Использование двухкомпонентной оптической
системы объясняется тем, что одновременно нужно выдержать сразу 2 параметра:
размер пучка в сечении перетяжки и расстояние между системой и плоскостью
образования оптического пробоя - расстояние от второй линзы до исследуемого
образца.
Необходимость выдерживать размер пучка объясняется тем, что для нагрева
вещества до температуры абляции необходимо излучение определенной интенсивности
→ для большей интенсивности в плоскости размер пучка должен быть
небольшим.
Устройство - лазерная согласующая оптическая система с переменным
продольным увеличением, с помощью которого реализуется заявляемый способ измерения
поперечных линейных размеров малых объектов.
Она включает лазер 1, пучок которого имеет исходную перетяжку 2 c
параметром конфокальности Zk, согласующую оптическую систему, состоящую из
первого 3 и второго 4 компонентов и формирующую в плоскости объекта 5 перетяжку
6 выходного лазерного пучка.
В
номинальном состоянии размер (полудиаметр) исходной перетяжки равен Hp0. В
процессе эксплуатации размер перетяжки может меняться в небольшом диапазоне -
от минимального Hpмин до максимального Hpмах. Требуемый размер (полудиаметр)
выходной перетяжки H'p, поэтому номинальное продольное увеличение ЛОС -
известно и равно
. Длина системы от исходной до выходной перетяжки
равна L и сохраняется постоянной.
В
номинальном положении конструктивные параметры: фокусные расстояния f1 первого
и f2 второго компонентов системы, а также положение исходной перетяжки Zp0 и
дефокусировка D0, выбираются так, чтобы удовлетворялись условия
заданной длины системы
(1)
и
требуемого значения полинома
(2)
Расположение
компонентов ЛОС зависит от выбора рабочей точки (т.е. совместным заданием 2-х
параметров:
и Zp), которая определяет как значение полинома
, так и
длину системы L.
При
выполнении этих условий необходимо также обеспечить физическую реализуемость
ЛОС, когда все продольные расстояния d1, d2,d3>0 (взять из патента на лет
оптику) Zp<f1
Для
существования возможности указанного выбора параметров ЛОС: f1, f2, Zp0 и D0 необходимо чтобы подкоренное выражение было бы положительным. При
P<1 это достигается за счет выполнения условия Zp2 ³ Z2pkr=Zk2 (1-P)/P, а при P>1 это условие
выполняется для любых Zp. Прямой расчет выражения (1) при известном Zk
показывает, что при выборе параметра P за счет соответствующего выбора f1 и Zp
(Zp <- Zpkr при P<1) можно обеспечить любую положительную длину системы
L. При этом
.
Для
физической реализуемости ЛОС необходимо (взять из патента на лет оптику)
Для
этого достаточно чтобы Zp<f1, когда d1>0. При этом всегда расстояния
d2,d3>0.
Таким
образом, конструктивных параметров ЛОС всегда можно выбрать так, чтобы
обеспечить выполнение условий её физической реализуемости и условий (1), (2)
для обеспечения необходимого размера и положения выходной перетяжки.
При
этом в номинальном положении продольные расстояния в лазерной согласующей
оптической системе (рис. 3) будут таковы:
При
любом ином размере Hp исходной перетяжки из диапазона [Hpмин, Hpмах]
конструктивные параметры D и Zp выбираются так, чтобы обеспечить условия (1')
(сохранения неизменным положение выходной перетяжки) и (2') ( для получения
необходимого значения полинома
и,
следовательно, постоянства размера выходной перетяжки)
При
этом дефокусировка исходной перетяжки Zp определяется из решения уравнения
(3),
где
Zk известен, а параметры ЛОС: f1, f2 выбраны ранее.
Затем
вычисляется параметр D из соотношения
. (4)
Как
указывалось, найденные D и Zp однозначно определяют расстояния в лазерной
согласующей оптической системе (рис. 4 и 5), которые для произвольной исходной
перетяжки будут равны
размера
входной перетяжки включает лазер 1, пучок которого с параметром конфокальности
Zk имеет исходную перетяжку 2 с переменным в диапазоне [hpmin; hpmax]
полудиаметром при номинальном значении hpo, лазерную оптическую систему,
состоящую из первого 3 и второго 4 подвижных компонентов, формирующую в
плоскости облучаемого объекта 5 выходную перетяжку 6 лазерного пучка
постоянного размера h'p и на постоянном расстоянии L от исходной перетяжки
отличающееся тем, что в номинальном положении конструктивные параметры:
фокусные расстояния первого f1 и второго f2 компонентов системы, а также
положение исходной перетяжки Zp и дефокусировка D, выбираются
так, чтобы удовлетворялись условия заданной длины
(1)
и
требуемого значения полинома
(2)
а
при любом ином размере Hp исходной перетяжки из диапазона [Hpмин, Hpмах]
конструктивные
параметры ЛОС D и Zp должны выбираться так, чтобы обеспечивать
необходимое значение
при
и длину системы L
При
этом параметр Zp определяется из уравнения
(3)
(4) ,
где
а
расстояния в ЛОС равны
Рис.3.11. Лазерная двухкомпонентная оптическая система
По результатам моделирования получаем следующую систему
ИСХОДНЫЕ ДАННЫЕ ДЛЯ РАСЧЕТА "согласующей " ОС Об1+Об2
для формирования гaуccoвого пучка с перетяжкой заданного радиуса
и требуемой длины.
.54 - DLмкм - длинa вoлны излучeния лазера( мкм ),
.14 - H'тр - требуемый радиус выходной перетяжки (мм).
.050 - deHp - возможный перепад paдиуса исходной пеpeтяжки .
- способ задания пучка (1 - через Hp; 2- через Zk; 3- через tgU ).
.10 - Hp paдиус исходной номинальной пеpeтяжки ( мм ).
.0 - Zk исходный конфокальный параметр ( мм ).
.00420 - tg(U) - Tg угла расходимости Ugr лазерного пучка по уровню
J=1/e**2
.0 - Sp,мм -paccтoяниe от об-ва 1 дo исходной пеpeтяжки ( д.б.< 0 мм
).
.0 - Lном - номинальная длина СПУ, (мм).
.0 - deLном - шаг по длине СПУ (мм).
- кол-во шaгoв пo длине СПУ Lном.
Пapaмeтpы cинтeзиpуeмoй ЛОС :
.0 - ND1min-минимальное диафрагменное число 1-го компон. ЛОС
.0 - коэффициент запаса по Dcb.
.100 - максимальное значение параметра Pmax0
.000 - минимальное значение параметра Pmaxt
- кол-во шaгoв пo параметру Pmax.
- кол-во шaгoв пo параметру P от Pmin до Pmax.
- кол-во шaгoв пo фокусному расстоянию f1.
+01.0 - шaг пo фокусному расстоянию f1, мм.
- признак вывода конструктивных параметров и закона перемещения СПУ.
F1= 5.602 F2=30.785=65.303 Pmin=53.725= 275.0 мм
*************************At Zp Delta zp2 Z'p d1 d2 d3 h'
.303 0.462 -29.775 6.117 -5.649 166.3 35.377 42.504 197.119
0.100
.017 0.472 -29.311 6.098 -5.631 166.8 34.913 42.485 197.602
0.100
.730 0.481 -28.837 6.078 -5.613 167.3 34.439 42.466 198.095
0.100
.444 0.491 -28.352 6.058 -5.594 167.8 33.955 42.446 198.600
0.100
.157 0.502 -27.856 6.038 -5.575 168.3 33.458 42.425 199.117
0.100
.871 0.513 -27.348 6.017 -5.555 168.9 32.950 42.404 199.646
0.100
57.584 0.524 -26.827 5.995 -5.535 169.4 32.429 42.382
200.189 0.100
56.298 0.536 -26.293 5.973 -5.515 170.0 31.895 42.360 200.745
0.100
.011 0.549 -25.744 5.949 -5.494 170.5 31.347 42.336 201.317
0.100
.725 0.562 -25.180 5.925 -5.473 171.1 30.783 42.312 201.905
0.100= 275.0 Nd1= 3.86 Nd2= 3.56 Zp0= -29.8 Zpt= -25.2 dZp= 4.6 d_delta=0.154
Жирным шрифтом выделена система, наиболее подходящая под исходные данные
Длина волны: 1.540 мкм.
- cпособ задания пучка: 1 - через Hp; 2- через Zk; 3- через tgU
Радиус перетяжки: 0.140 мм.
Синус аперт. угла исходного пучка: 0.420E-02(по ур. J=1/e**2)= 0.241
U_05(J=0.5)= 0.142 град.
Конфокальный параметр: 33.347 мм.
Инвариант пучка: 0.588 мкм. Коэффициент M2 качества пучка 1.20
Коэффициент запаса по Dcb 4.00
Треб. радиус перетяжки на выходе: 0.10 мм.
Треб. продольное увеличение: 0.5098E+00_TREB= 0.510 K_ALFA_m-m=0.5620
0.4624
[1:44:36] chiaroragazza: Dcb2= 0.38 мм Dполн2= 7.69 Z2= 0.00
ммнcтpуктивныe пapaмeтpы синтезированнoгo oбъeктивa :диуcы: 4.0926 2.2909
2.2909 -6.8549
Ошибки рaдиуcов и номер ряда при стандартизации
.3% 250 0.1% 250 0.1% 250 0.1% 250лщины :
.396 1.853 0.000 1.853
Пoкaзaтeли пpeлoмлeния :
.51637 1.51637
Максимальная расфокусировка перетяжек пучка: 0.00 мм
Аберрационное увеличение радиуса перетяжки: 1.00
Аберрационный радиус перетяжки: 0.02 мм
: Dcb2= 0.39 мм Dполн2= 7.75 Z2= 0.00 ммнcтpуктивныe пapaмeтpы
синтезированнoгo oбъeктивa :диуcы: 36.3078 -11.4288 -11.4288 -28.0543
Ошибки рaдиуcов и номер ряда при стандартизации
.3% 250 0.0% 500 0.0% 500 0.4% 250лщины :
.887 0.723 0.000 0.723
Пoкaзaтeли пpeлoмлeния :
.51637 1.51637
.3
Энергетический расчет передающей системы
Энергетический расчет оптическом системы заключается в определении
коэффициента пропускания τ оптической системы:
τ =Ф'/Ф.
где Ф' и Ф - соответственно поток на выходе и входе оптической системы.
Зная величины τ и Ф, находят поток на выходе оптической системы. Если
на выходе оптической системы установлен приемник излучения, то. пользуясь
величиной Ф', находят величину электрического сигнала на выходе приемника
излучения. Часто поток на выходе оптической системы сравнивают с порогом
чувствительности приемника или глаза.
Коэффициент пропускания оптической системы рассчитывают исходя из потерь
энергии (мощности), имеющих место при прохождении излучения через систему.
Целесообразно рассматривать различные виды потерь отдельно, а суммарный
коэффициент пропускания определить как произведение коэффициентов,
соответствующих этим видам потерь.
Потери на поглощение в толще материала.
Коэффициент пропускания вследствие этих потерь рассчитывают по формуле
где
ε
- коэффициент поглощения; l -
длина пути света в материале с данным ε.
Если
оптическая система изготовлена из материалов с разными коэффициентами
поглощения, то суммарный коэффициент поглощения находится как произведение
отдельных коэффициентов
.
При
расчете
необходимо иметь в виду, что спектральные величины
коэффициента поглощения
, могут в несколько раз отличаться от интегрального
значения
для одной и той же марки стекла, причем наблюдается
большой разброс этого отличия.
Потери на отражение при преломлении.
Коэффициент пропускания оптически прозрачных поверхностей раздела двух
сред с различными показателями преломления
,
где
ρ
- коэффициент отражения от границы
раздела. Разумеется,
характеризует преломленное излучение (прошедшее через
границу раздела). Если нас интересует отраженное от поверхности излучение, то
для него
Известно,
что коэффициент отражения при преломлении зависит не только от угла падении, но
и от состояния поляризации падающего излучения (рис. 10 ). Если излучение
поляризовано в плоскости падения, то
,
где
ε
и ε’ соответственно угол падения и преломления.
Угол
преломления рассчитывают по формуле
,
где
п и п' - показатели преломления соответствующих сред.
Если
преломление происходит из воздуха в среду, то
Если
плоскость поляризации перпендикулярна плоскости падения, то
Угол
на рис. 47 представляет собой так называемый угол
Брюстера, который рассчитывается по формуле
. При
этом угле падения и соответствующем состоянии поляризации отражение от
поверхности не происходит, и нее излучение преломляется в среду. Если излучение
не поляризовано или поляризовано по кругу, то коэффициент отражении можно
рассчитать но формуле
,
хотя
на практике в этом случае обычно пользуются приближенной формулой, справедливой
для нормального падения:
Эта
формула может быть использована для приближенного расчета при любых состояниях
поляризации, однако с увеличением угла падения растет и ошибка расчета.
Наконец, если плоскость поляризации составляет угол φ
с плоскостью падения, то
Как
показывают вычисления коэффициента отражения для наиболее распространенных
марок оптических стекол с показателем преломления в диапазоне от 1,514 до
1,7437, величина суммарного коэффициента отражении
для них изменяется незначительно, в то время как
для каждой отдельной марки различие между перпендикулярной и параллельной
составляющей отражения существенное. Для угла падения 45° оно составляет 13% и
увеличивается с увеличением угла падения до максимальной величины при падении
под углом Брюстера, после чего различие начинает уменьшаться. Чем больше
показатель преломления стекла, тем существеннее различие между коэффициентом
отражения для перпендикулярной и параллельной составляющих отражения.
Учитывать зависимость коэффициента отражения от угла падения и состояния
поляризации для сферических поверхностей (линз) очень трудно, и часто расчет
потерь на отражение при преломлении ведут по известной приближенной формуле,
справедливой для нормального падения, которая дает заниженные результаты.
Следует отметить, что показатель преломления зависит от длины волны излучения,
и с его увеличением потери на отражение растут. Поэтому, например, для
некоторых оптических материалов этот вид потерь энергии может составить
значительную величину.
Для уменьшения потерь на отражение при преломлении можно устанавливать
оптические детали таким образом, чтобы угол падения составлял угол Брюстера.
Например, так называемые «брюстеровские» линзы имеют коэффициент потерь
примерно в десять раз меньший, чем у одиночной линзы, и не требуют
просветления. Однако, линзы, установленные под углом Брюстера, характеризуются
различными фокусными расстояниями в меридиональной и сагиттальной плоскостях,
которые соответственно равны:
где
,
и
- радиус кривизны поверхностей линзы.
Кроме
того, брюстеровские линзы и пластинки обладают большими аберрациями.
Коэффициент
пропускания потерь на отражение при преломлении при прохождении излучения через
всю оптическую систему равен:
,
где
. - число преломляющих поверхностей.
Если
имеется N поверхностей с одинаковым значением ρ, то
Потери на отражающих поверхностях.
Коэффициент отражения от металлических или диэлектрических отражающих
поверхностей также загасит от угла падения и состояния поляризации излучения.
Однако расчеты соответствующих коэффициентов здесь весьма затруднены, так как
они зависят от некоторых констант отражающего покрытия, которые не всегда
известны. Для металлизированных отражателей должны быть известны оптические
постоянные - показатель преломления п и показатель поглощения χ,
которые зависит от угла
падения следующим образом:
,
,
где n и χ оптические постоянные при ε=0,
которые называются
главными показателями преломления и поглощения. На рис. 48 показаны зависимости
и
для некоторых поглощающих сред (отражающих покрытий).
При известных константах формулы для коэффициентов отражения от отражающего
покрытия намного сложнее, чем для коэффициентов отражения от преломляющей
поверхности. Поэтому обычно пользуются справочными данными, которые приводится
для нормального падения, и, следовательно, не зависят от состояния поляризации
излучения.
Потери
на виньетирование.
Практически
в любой оптической системе происходит ограничение (срезание) пучка различными
диафрагмами. Доля прошедшего излучения зависит от распределении интенсивности в
поперечном сечении пучка и размеров и формы диафрагмы. При многомодовом режиме
излучения описать абсолютное распределение энергии в пучке практически
невозможно, так как соотношение энергий в различных модах меняется как для
различных образцов одного и того же типа лазера, так и для одного и того же
лазера в зависимости от многих причин. Поэтому при расчете коэффициенте
пропускания в случае многомодового пучка следует либо пользоваться
экспериментальными данными, либо принимать, что распределение интенсивности в
пучке примерно равномерное со спадами на краях пучка Чем больше число мод, тем
точнее это приближение. При одномодовом характере излучения лазера потери на
виньетирование легко рассчитать аналитически. Так как распределение в пучке
- моды представляет собой кривую Гаусса, то доля
энергии пучка, прошедшего через диафрагму радиусом а, т. е. коэффициент
пропускания вследствие виньетирования,
,
де ω - размер пятна в плоскости диафрагмы по уровню 1/е2;
l
- распределение плотности в гауссовом пучке;
Ф
- полная мощность лазерного пучка,
Как
следует из уравнения , при a=ω, т. е. при ограничении пучка по уровню 1/е2. коэффициент пропускания
равен 0.86.
Коэффициент
пропускания кольцевой диафрагмы можно найти, воспользовавшись зависимостью для
внутреннего
и внешнего
радиусов
кольца:
Для
стекла К8
Показатель
преломления n на длине волны излучения лазера (
=1534нм)
n=1.51637
Коэффициент
пропускания
на длине волны излучения лазера (
=1534нм)
>0.999
Показатель
поглощения a на длине волны излучения лазера (
=1534нм)
а=0
В
фокусирующей системе используются 2 симметричные двояковыпуклые линзы.
Получаем
При
нанесении просветляющего покрытия с ρ=0,01 на все рабочие поверхности фокусирующей системы
получаем
Нанесение
покрытия увеличивает коэффициент пропускания системы на 10%. Потерь на
виньетирование нет, так как диаметр рабочих поверхностей фокусирующей системы
больше диаметра лазерного пучка.
3.4 Расчет
приемной оптической системы
Основная задача данного оптического узла - сфокусировать максимальное
количество энергии плазменного факела, образовавшейся в результате лазерной
абляции, в торец волокна с диаметром сердцевины 0,6мм. Излучение плазменного
факела диаметром 3мм должно попасть в волокно для заданного диапазона длин волн
(Δλ=0.2-0.9мкм). Критерием оценки качества
данного объектива является то, что излучение от каждой точки предмета
(плазменного факела) проецируется в волокно для всего диапазона длин волн.
Исходная схема объектива выглядит следующим образом
Рис. 3.12. Оптическая схема приемного объектива
Рис.3.13. Конструктивные параметры премного объектива
Поле системы задано в линейной величине объекта по 5 точкам, каждая из
которых излучает отдельно от других. Вместе они моделируют плазменный факел
диаметром 3мм (-1,5мм;1,5мм).
Рис. 3.14. Диаграммы кружков рассеяния в плоскости изображения для каждой
точки объекта в заданном диапазоне длин волн
4.
Технологическая часть
Лазерно-искровой эмиссионный спектроанализатор включает в себя три
оптические системы, выполняющие следующие функции
· указание места на поверхности исследуемого образца для
последующей лазерной абляции
· фокусировка излучения лазера Glass: Er,
создающего оптический пробой на поверхности исследуемого образца
· сбор и фокусировка в оптоволоконный кабель излучения плазмы,
образовавшейся в результате лазерной абляции
Проанализируем влияние различных факторов для каждой системы в отдельности
4.1 Анализ
влияния взаимоположения компонентов приемного канала на радиус и положение
пятна рассеяния
Основная задача данного оптического узла - сфокусировать максимальное
количество энергии плазменного факела, образовавшейся в результате лазерной
обучения, в торец волокна с диаметром сердцевины 0,6мм. Излучение плазменного
факела диаметром 3мм должно попасть в волокно для заданного диапазона длин волн
(Δλ=0.2-0.9мкм). Критерием оценки качества
данного объектива является то, что излучение от каждой точки предмета
(плазменного факела) проецируется в волокно для всего диапазона длин волн.
С помощью программы ZEMAX
определены предельно допустимые значения децентрировок 1-ого и 2-ого рода
каждого компонента оптической системы, а так же проведен анализ влияния
изменеия воздушных промежутков между линзами на форму, размер, экранирование и
спектральный состав пятна рассеяния, формируемого в плоскости изображения (на
торце оптического волокна).
Исходная схема объектива выглядит следующим образом
Конструктивные параметры системы
Поле системы задано в линейной величине объекта по 5 точкам, каждая из
которых излучает отдельно от других. Вместе они моделируют плазменный факел
диаметром 3мм (-1,5мм;1,5мм)
Диаграммы кружков рассеяния в плоскости изображения для каждой точки
объекта в заданном диапазоне длин волн имеют вид
|
λ,мкм
|
Кол-во излучения,
сфокусированного в торец волокна, %
|
|
0 мм
|
1 мм
|
1.5 мм
|
-1 мм
|
-1.5мм
|
|
0.2
|
59.71
|
59.71
|
59.71
|
59.71
|
59.71
|
|
0.3
|
67.66
|
67.66
|
67.66
|
67.66
|
67.66
|
|
0.4
|
69.55
|
69.55
|
69.55
|
69.55
|
69.55
|
|
0.5
|
70.35
|
70.35
|
70.35
|
70.35
|
70.35
|
|
0.6
|
70.77
|
70.77
|
70.77
|
70.77
|
70.77
|
|
0.7
|
71.04
|
71.04
|
71.04
|
71.04
|
71.04
|
|
0.8
|
71.23
|
71.23
|
71.23
|
71.23
|
71.23
|
|
0.9
|
71.37
|
71.37
|
71.37
|
71.37
|
71.37
|
Среднее количество излучения для всех точек поля и длин волн 69%
Для того, чтобы оценить влияние погрешности взаимоположения линз,
установим в плоскости изображения апертурную диафрагму диаметром 0,6мм. С её
помощью на диаграммах кружков рассеяния можно наблюдать, какая часть излучения
попадает в торец волокна.
Децентрировка первого рода
Причиной децентрировки первого рода является наклон компонента
относительно оптической оси системы
1-й
компонент
=1°
Диаграммы
пятен рассеяния в плоскости изображения для разный точек предмета при наклоне
первого компанента
|
λ,мкм
|
Кол-во излучения,
сфокусированного в торец волокна, %
|
|
0 мм
|
1 мм
|
1.5 мм
|
-1 мм
|
-1.5мм
|
|
0.2
|
59.70
|
59.70
|
58.62
|
59.34
|
28.77
|
|
0.3
|
67.63
|
67.63
|
67.63
|
67.63
|
33.82
|
|
0.4
|
69.52
|
69.52
|
69.52
|
69.52
|
12,5
|
|
0.5
|
70.32
|
70.32
|
70.32
|
70.31
|
30.50
|
|
0.6
|
70.74
|
70.74
|
69.89
|
70.74
|
31.54
|
|
0.7
|
71.01
|
71.01
|
68.87
|
70.58
|
31.65
|
|
0.8
|
71.19
|
71.19
|
68.20
|
69.91
|
31.74
|
|
0.9
|
71.34
|
71.34
|
67.05
|
69.19
|
31.80
|
Среднее количество излучения для всех точек поля и длин волн 60,56%
2-й
компонент
=2°
Диаграммы
пятен рассеяния в плоскости изображения для разный точек предмета при наклоне
второго компонента
|
λ,мкм
|
Кол-во излучения,
сфокусированного в торец волокна, %
|
1 мм
|
1.5 мм
|
-1 мм
|
-1.5мм
|
|
0.2
|
59.97
|
59.70
|
16.18
|
59.69
|
54.66
|
|
0.3
|
67.63
|
67.63
|
19.94
|
67.52
|
65.59
|
|
0.4
|
69.52
|
69.52
|
21.75
|
69.52
|
66.49
|
|
0.5
|
70.31
|
70.32
|
20.32
|
70.31
|
64.39
|
|
0.6
|
70.74
|
70.71
|
23.43
|
70.74
|
63.51
|
|
0.7
|
71.01
|
71.01
|
23.51
|
70.58
|
61.61
|
|
0.8
|
71.19
|
71.19
|
25.29
|
70.76
|
60.91
|
|
0.9
|
71.34
|
71.13
|
26.20
|
70.05
|
60.61
|
Среднее количество излучения для всех точек поля и длин волн 58,16%
3-й
компонент
=1.2’
Диаграммы
пятен рассеяния в плоскости изображения для разный точек предмета при наклоне
второго компонента
|
λ,мкм
|
Кол-во излучения,
сфокусированного в торец волокна, %
|
|
0 мм
|
1 мм
|
1.5 мм
|
-1 мм
|
-1.5мм
|
|
0.2
|
59.70
|
59.70
|
57.54
|
45.36
|
32.00
|
|
0.3
|
67.63
|
67.63
|
67.63
|
48.12
|
41.97
|
|
0.4
|
69.52
|
69.52
|
69.52
|
42.81
|
32.25
|
|
0.5
|
70.32
|
70.32
|
69.89
|
43.56
|
36.85
|
|
0.6
|
70.74
|
70.74
|
68.62
|
49.21
|
34.52
|
|
0.7
|
71.01
|
71.01
|
68.02
|
41.53
|
34.65
|
|
0.8
|
71.19
|
71.19
|
66.06
|
44.96
|
34.31
|
|
0.9
|
71.34
|
71.34
|
65.33
|
43.42
|
33.95
|
Среднее количество излучения для всех точек поля и длин волн 56,87%
|
№ компонента
|
Изменение количества
излучения, , %Величина децентровки 1 рода , град
|
|
|
1
|
8,44
|
1°
|
|
2
|
10,74
|
2°
|
|
3
|
12,01
|
1,2’
|
Рассчитаем
коэффициенты влияния децентрировки I рода
:
Несмотря
на то, что децентрировки I рода приводят к векторным ошибкам, величины допусков
рассчитаем по известной формуле для скалярных ошибок
(т. е. для наихудшего случая):
,
где
- коэффициент, определяющий вероятность наличия
децентрировки первого рода i-го компонента; n - общее
количество степеней свободы де- центрировки второго рода для всех значимых
компонентов. Примем, что все возможные
децентрировки первого рода подчиняются нормальному закону распределения, т.е.
=1 для любого i , поскольку в нашем случае де- центрировка первого рода
присуща трем элементам, а для каждого элемента данная децентрировка имеет по
две степени свободы (вдоль осей OX и OY ), то n=6.
Допуск на отклонение поступаемого излучения в волокно примем равным
=15%
Результаты
расчетов
представлены в таблице
|
№ компонента
|
|
|
1
|
43,8’
|
|
2
|
1.1°
|
|
3
|
6’
|
Децентрировка второго рода
Причиной децентрировки II
рода является параллельное смещение оптических компонентов относительно
оптической оси системы.
1-й
компонент
=0.1мм
Диаграммы
пятен рассеяния в плоскости изображения для разный точек предмета при смещении
первого компонента
|
λ,мкм
|
Кол-во излучения,
сфокусированного в торец волокна, %
|
|
0 мм
|
1 мм
|
1.5 мм
|
-1 мм
|
-1.5мм
|
|
0.2
|
59.97
|
59.97
|
59.97
|
59.97
|
29.85
|
|
0.3
|
67.63
|
67.63
|
67.63
|
67.63
|
8.45
|
|
0.4
|
69.52
|
69.52
|
69.52
|
69.52
|
0.11
|
|
0.5
|
70.31
|
70.31
|
70.31
|
70.31
|
17.59
|
|
0.6
|
70.74
|
70.74
|
70.74
|
70.74
|
26.54
|
|
0.7
|
71.01
|
71.01
|
71.01
|
71.01
|
26.64
|
|
0.8
|
71.19
|
71.19
|
71.19
|
71.19
|
26.71
|
|
0.9
|
71.34
|
71.34
|
71.34
|
71.34
|
26.76
|
Среднее количество излучения для всех точек поля и длин волн 59,23%
2-й
компонент
=0.1мм
Диаграммы
пятен рассеяния в плоскости изображения для разный точек предмета при смещении
второго компонента
|
λ,мкм
|
Кол-во излучения,
сфокусированного в торец волокна, %
|
|
0 мм
|
1 мм
|
1.5 мм
|
-1 мм
|
-1.5мм
|
|
0.2
|
59.97
|
56.82
|
27.69
|
59.97
|
59.97
|
|
0.3
|
67.63
|
67.63
|
27.31
|
67.63
|
67.63
|
|
0.4
|
69.52
|
69.52
|
13.83
|
69.52
|
69.52
|
|
0.5
|
70.31
|
69.89
|
28.81
|
70.31
|
70.31
|
|
0.6
|
70.74
|
69.47
|
32.39
|
70.74
|
70.74
|
|
0.7
|
71.01
|
68.87
|
32.94
|
71.01
|
70.58
|
|
0.8
|
71.19
|
68.20
|
33.02
|
71.19
|
69.91
|
|
0.9
|
71.34
|
67.48
|
32.66
|
71.34
|
68.76
|
Среднее количество излучения для всех точек поля и длин волн 60,43%
3-й
компонент
=0.1мм
Диаграммы
пятен рассеяния в плоскости изображения для разный точек предмета при смещении
второго компонента
|
λ,мкм
|
Кол-во излучения,
сфокусированного в торец волокна, %
|
|
0 мм
|
1 мм
|
1.5 мм
|
-1 мм
|
-1.5мм
|
|
0.2
|
59.97
|
59.97
|
59.97
|
47.83
|
9.35
|
|
0.3
|
67.63
|
67.63
|
67.63
|
67.63
|
0
|
|
0.4
|
69.52
|
69.52
|
69.52
|
69.10
|
0
|
|
0.5
|
70.31
|
70.31
|
70.31
|
69.93
|
0
|
|
0.6
|
70.74
|
70.74
|
70.74
|
64.79
|
0
|
|
0.7
|
71.01
|
71.01
|
71.01
|
62.46
|
0.42
|
|
0.8
|
71.19
|
71.19
|
71.19
|
60.91
|
1.71
|
|
0.9
|
71.34
|
71.34
|
71.34
|
58.89
|
3.02
|
Среднее количество излучения для всех точек поля и длин волн 54,79%
|
№ компонента
|
Изменение количества
излучения, , %Величина децентровки 2 рода
|
|
|
1
|
9,77
|
1°
|
|
2
|
8,57
|
2°
|
|
3
|
14,21
|
1,2’
|
Рассчитаем
коэффициенты влияния децентрировки I рода
:
Несмотря
на то, что децентрировки II рода приводят к векторным ошибкам, величины допусков
рассчитаем по известной формуле для скалярных ошибок
(т. е. для наихудшего случая):
,
где
- коэффициент, определяющий вероятность наличия
децентрировки второго рода i-го компонента; n - общее
количество степеней свободы де- центрировки второго рода для всех значимых
компонентов. Примем, что все возможные
децентрировки первого рода подчиняются нормальному закону распределения, т.е.
=1 для любого i , поскольку в нашем случае де- центрировка первого рода
присуща трем элементам, а для каждого элемента данная децентрировка имеет по
две степени свободы (вдоль осей OX и OY ),
то n=6.
Допуск
на отклонение поступаемого излучения в волокно примем равным
=15%
Результаты
расчетов
представлены в таблице.
|
№ компонента
|
,мм
|
|
1
|
0.103
|
|
2
|
0.101
|
0.045
|
Влияние изменения величин воздушных промежутков
|
λ,мкм
|
Кол-во излучения,
сфокусированного в торец волокна, %
|
|
0 мм
|
1 мм
|
1.5 мм
|
-1 мм
|
-1.5мм
|
|
0.2
|
59.97
|
51.43
|
34.52
|
51.43
|
34.52
|
|
0.3
|
67.63
|
67.63
|
54.19
|
67.63
|
54.19
|
|
0.4
|
69.52
|
68.68
|
46.07
|
68.68
|
46.07
|
|
0.5
|
70.31
|
67.35
|
44.48
|
67.35
|
44.48
|
|
0.6
|
70.74
|
65.63
|
42.19
|
65.63
|
42.19
|
|
0.7
|
71.01
|
65.03
|
42.35
|
65.03
|
42.35
|
|
0.8
|
71.19
|
63.91
|
41.18
|
63.91
|
41.18
|
|
0.9
|
71.34
|
63.18
|
40.83
|
63.18
|
40.83
|
Среднее количество излучения для всех точек поля и длин волн 56,73%
|
λ,мкм
|
Кол-во излучения,
сфокусированного в торец волокна, %
|
|
0 мм
|
1 мм
|
1.5 мм
|
-1 мм
|
-1.5мм
|
|
0.2
|
59.70
|
59.70
|
56.82
|
59.70
|
56.82
|
|
0.3
|
67.64
|
67.64
|
43.60
|
67.64
|
43.60
|
|
0.4
|
69.52
|
69.52
|
49.01
|
69.52
|
49.01
|
|
0.5
|
70.32
|
70.32
|
53.81
|
70.32
|
53.81
|
|
0.6
|
70.75
|
70.75
|
58.40
|
70.75
|
58.40
|
|
0.7
|
71.01
|
71.01
|
62.89
|
71.01
|
62.89
|
|
0.8
|
71.20
|
71.20
|
65.63
|
71.20
|
65.63
|
|
0.9
|
71.34
|
71.34
|
70.05
|
71.34
|
70.05
|
Среднее количество излучения для всех точек поля и длин волн 64,37%
|
λ,мкм
|
Кол-во излучения,
сфокусированного в торец волокна, %
|
|
0 мм
|
1 мм
|
1.5 мм
|
-1 мм
|
-1.5мм
|
|
0.2
|
59.70
|
59.70
|
43.51
|
59.70
|
43.51
|
|
0.3
|
67.63
|
67.63
|
67.63
|
67.63
|
67.63
|
|
0.4
|
69.52
|
69.52
|
67.43
|
69.52
|
67.43
|
|
0.5
|
70.31
|
70.31
|
61.85
|
70.31
|
61.85
|
|
0.6
|
70.74
|
70.74
|
54.98
|
70.74
|
54.98
|
|
0.7
|
71.01
|
71.01
|
52.20
|
71.01
|
52.20
|
|
0.8
|
71.19
|
71.19
|
50.19
|
71.19
|
50.19
|
|
0.9
|
71.34
|
71.34
|
48.57
|
71.34
|
48.57
|
Среднее количество излучения для всех точек поля и длин волн 63,67%
|
λ,мкм
|
Кол-во излучения,
сфокусированного в торец волокна, %
|
|
0 мм
|
1 мм
|
1.5 мм
|
-1 мм
|
-1.5мм
|
|
0.2
|
59.70
|
59.70
|
45.67
|
59.70
|
45.67
|
|
0.3
|
67.63
|
67.63
|
61.12
|
67.63
|
61.12
|
|
0.4
|
69.52
|
69.52
|
68.68
|
69.52
|
68.68
|
|
0.5
|
70.31
|
70.31
|
65.67
|
70.31
|
65.67
|
|
0.6
|
70.74
|
70.74
|
62.23
|
70.74
|
62.23
|
|
0.7
|
71.01
|
71.01
|
58.19
|
71.01
|
58.19
|
|
0.8
|
71.19
|
71.19
|
54.91
|
71.19
|
54.91
|
|
0.9
|
71.34
|
71.34
|
53.30
|
71.34
|
53.30
|
Среднее количество излучения для всех точек поля и длин волн 64,84%
|
№ воздушного промежутка
|
Изменение количества
излучения, , %Величина смещения ,
мм
|
|
|
1-2
|
12,27
|
-1
|
|
1-2
|
5,33
|
+1
|
|
2-3
|
4,63
|
-1
|
|
2-3
|
4,16
|
+1
|
Рассчитаем
коэффициенты влияния изменения воздушных промежутков
:
Величины
допусков
рассчитаем по известной формуле для скалярных ошибок
(т. е. для наихудшего случая):
,
где
- коэффициент, определяющий вероятность наличия
отклонения воздушного промежутка i-го компонента; n - общее
количество степеней свободы для всех значимых компонентов.
Допуск
на отклонение поступаемого излучения в волокно примем равным
=15%
Результаты
расчетов
представлены в таблице.
|
№ компонента
|
,мм
|
|
1-2
|
±0.10
|
|
2-3
|
±0.10
|
4.2 Анализ
влияния взаимоположения компонентов передающего канала на характеристики
лазерного пучка
Исходные данные для:
r0=0.2
мм - радиус пучка в сечении перетяжки перед первым компонентом оптической
системы;
zk0=33.34
мм - конфокальный параметр пучка перед первым компонентом оптической системы;
zp0=-350.5
мм - расстояние от передней фокальной плоскости первой линзы лазерной
оптической системы до плоскости сечения перетяжки пучка на входе лазерной
оптической системы;
Δ=7.7 мм - расстояние от задней фокальной
плоскости первой линзы лазерной оптической системы до передней фокальной
плоскости второй линзы лазерной оптической системы;
r’2=0.05
- радиус пучка в сечении перетяжки после лазерной оптической системы;
d=200
мм - расстояние от второй линзы лазерной оптической системы до положения
плоскости сечения перетяжки;
f’1=10.78
мм - фокусное расстояние первой линз
f’2=51.7
мм - фокусное расстояние второй линзы.
В ходе эксперимента было установлено, что наибольшее влияние на выходные
параметры системы (диаметр и положение перетяжки) оказывают следующие
погрешности:
· Децентрировка 1-го рода
· Децентрировка 2-го рода
· Изменение толщины воздушных промежутков
Моделирование оптической системы проведем в программе SOGL_OPT_4
Влияние децентрировки первого рода на величину размера пучка в плоскости
сечения перетяжки приведено в таблице:
|
№ компонента
|
Изменение радиуса пучка, Δri,
мм
|
Величина децентрировки I-ого
рода, ΔI,°
|
|
1
|
0.0039
|
0.1
|
|
2
|
0.0026
|
|
Определим коэффициенты влияния децентрировки I-ого рода на изменение радиуса пучка в плоскости сечения
перетяжки:
для первого компонента оптической системы
для
второго компонента оптической системы
Величина
допуска на децентрировку первого рода определяется по формуле:
Закон
распределения случайной величины будет считать нормальным. Это означает, что k=1.
Параметр
M - общее количество степеней свободы децентрировки для
всех компонентов. Для каждого из двух компонентов децентрировка имеет две
степени свободы (вдоль осей OX и OY), поэтому М=4.
Допуск
на децентрировку для первого компонента:
Допуск
на децентрировку для второго компонента:
Влияние
децентрировки первого рода на положение плоскости сечения перетяжки приведено в
таблице:
|
№ компонента
|
Смещение плоскости сечения
перетяжки, Δzi,
мм
|
Величина децентрировки I-ого
рода, ΔI,°
|
|
1
|
2.3
|
0.1
|
|
2
|
1.8
|
|
Определим коэффициенты влияния децентрировки I-ого рода на положение плоскости сечения перетяжки:
для первого компонента оптической системы
для
второго компонента оптической системы
Величина
допуска на децентрировку первого рода определяется по формуле:
Закон
распределения случайной величины будет считать нормальным. Это означает, что k=1.
Параметр
M - общее количество степеней свободы децентрировки для
всех компонентов. Для каждого из двух компонентов децентрировка имеет две
степени свободы (вдоль осей OX и OY), поэтому М=4.
Сопоставляя
значения допусков на децентрировку I-ого рода для двух случаев,
приходим к выводу, что децентрировка для 1-ого и 2-ого компонента имеет
значение:
|
№ компонента
|
.’
|
|
1
|
4,2
|
|
2
|
6,2
|
Влияние децентрировки второго рода на величину размера пучка в плоскости
сечения перетяжки приведено в таблице:
|
№ компонента
|
Изменение радиуса пучка, Δri,
мм
|
Величина децентрировки II-ого
рода, ΔII,
мм
|
|
1
|
0.00058
|
0.01
|
|
2
|
0.00037
|
|
Определим коэффициенты влияния децентрировки II-ого рода на изменение радиуса пучка в плоскости сечения
перетяжки:
для первого компонента оптической системы
для
второго компонента оптической системы
Величина
допуска на децентрировку второго рода определяется по формуле:
Закон
распределения случайной величины будет считать нормальным. Это означает, что k=1.
Параметр
M - общее количество степеней свободы децентрировки для
всех компонентов. Для каждого из двух компонентов децентрировка имеет две
степени свободы (вдоль осей OX и OY), поэтому М=4.
Допуск
на децентрировку для первого компонента:
Допуск
на децентрировку для второго компонента:
Влияние
децентрировки II-ого рода на положение плоскости сечения перетяжки
приведено в таблице:
|
№ компонента
|
Смещение плоскости сечения
перетяжки, Δzi,
мм
|
|
1
|
0.38
|
0.01
|
|
2
|
0.11
|
|
Определим коэффициенты влияния децентрировки II-ого рода на положение плоскости сечения перетяжки:
для первого компонента оптической системы
для
второго компонента оптической системы
Величина
допуска на децентрировку II-ого рода определяется по формуле:
Закон
распределения случайной величины будет считать нормальным. Это означает, что k=1.
Параметр
M - общее количество степеней свободы децентрировки для
всех компонентов. Для каждого из двух компонентов децентрировка имеет две
степени свободы (вдоль осей OX и OY), поэтому М=4.
Допуск
на децентрировку для первого компонента:
Допуск
на децентрировку для второго компонента:
Сопоставляя
значения допусков на децентрировку II-ого рода для двух случаев,
приходим к выводу, что децентрировка для 1-ого и 2-ого компонента имеет
значение:
|
№ компонента
|
.мкм
|
|
1
|
39
|
|
2
|
61
|
4.3 Анализ
влияния взаимоположения компонентов реперного канала на радиус пятна рассеяния
Данная оптическая система служит для фокусировки излучения реперного
диодного лазера, который выполняет функцию прицела на поверхность исследуемого
образца. Так как указание точки, в которой будет происходить лазерная абляция,
осуществляется визуально «на глаз», то ввиду данной особенности, диаметр
сфокусированного пучка реперного лазера должен быть не более 0,15мм.
В ходе эксперимента было установлено, что наибольшее влияние на выходные
параметры системы (диаметр и положение пятна) оказывают следующие погрешности:
· Децентрировка 1-го рода
· Децентрировка 2-го рода
· Изменение толщины воздушных промежутков
Влияние децентрировки 1-го рода
Причиной децентрировки первого рода является наклон компонента
относительно оптической оси системы
По результатам компьютерного моделирования в программе ZEMAX децентрировок 1-го рода были
составлены таблицы
|
№ компонента
|
Увеличение радиуса пятна
рассеяния Δr, мкм
|
Величина децентрировки 1
рода , град
|
|
1
|
26,2
|
1
|
|
2
|
25,2
|
1
|
|
3
|
18,4
|
1
|
|
4
|
13,4
|
0,5
|
|
5
|
39
|
0,5
|
|
6
|
6,3
|
2
|
Рассчитаем
коэффициенты влияния децентрировки I рода
:
Несмотря
на то, что децентрировки I рода приводят к векторным ошибкам, величины допусков
рассчитаем по известной формуле для скалярных ошибок
(т. е. для наихудшего случая):
,
где
- коэффициент, определяющий вероятность наличия
децентрировки первого рода i-го компонента; n - общее
количество степеней свободы де- центрировки второго рода для всех значимых
компонентов. Примем, что все
возможные
децентрировки первого рода подчиняются нормальному закону распределения, т.е.
=1 для любого i , поскольку в
нашем случае де- центрировка первого рода присуща шести элементам, а для
каждого элемента данная децентрировка имеет по две степени свободы (вдоль осей OX и OY ),
то n=12.
Допуск
на отклонение радиуса кружка рассеяния примем равным
=75мкм-51,9мкм=13,1мкм
Результаты
расчетов
представлены в таблице.
|
№ компонента
|
.’
|
|
1
|
6,5
|
|
2
|
6,8
|
|
3
|
9,3
|
|
4
|
6,4
|
|
5
|
2,2
|
|
6
|
54,5
|
Влияние децентрировки 2-го
рода
Причиной децентрировки II
рода является параллельное смещение оптических компонентов относительно
оптической оси системы.
По результатам компьютерного моделирования в программе ZEMAX децентрировок 2-го рода были
составлены таблицы
|
№ компонента
|
Увеличение радиуса пятна
рассеяния Δr, мкм
|
Величина децентрировки 2-го
рода , мкм
|
|
1
|
0
|
0
|
|
2
|
42,9
|
200
|
|
3
|
47,3
|
1000
|
|
4
|
12
|
500
|
|
5
|
7,4
|
1000
|
|
6
|
37,7
|
500
|
Рассчитаем
коэффициенты влияния децентрировки I рода
:
Несмотря
на то, что децентрировки II рода приводят к векторным ошибкам, величины допусков
рассчитаем по известной формуле для скалярных ошибок
(т. е. для наихудшего случая):
,
где
- коэффициент, определяющий вероятность наличия
децентрировки второго рода i-го компонента; n - общее
количество степеней свободы де- центрировки второго рода для всех значимых
компонентов. Примем, что все возможные
децентрировки второго рода подчиняются нормальному закону распределения, т.е.
=1 для любого i , поскольку в нашем случае де- центрировка второго рода
присуща шести элементам, а для каждого элемента данная децентрировка имеет по
две степени свободы (вдоль осей OX и OY ), то n=12.
Допуск на отклонение радиуса кружка рассеяния примем равным
=75мкм-51,9мкм=13,1мкм
Так
как первый элемент представляет собой плоскопараллельную пластину, а
следовательно его смещение относительно оптической оси не влияет на размер
пятна рассеяния, то зададим допуск на децентрировку исходя из того, чтобы не
допустить экранирования краевых лучей
Результаты
расчетов
представлены в таблице.
|
№ компонента
|
,мкм
|
|
1
|
1000
|
|
2
|
608,2
|
|
3
|
119,1
|
|
4
|
386,3
|
|
5
|
37,9
|
|
6
|
168,2
|
|
7
|
25,8’
|
Влияние изменения величин воздушных промежутков
Данный узел последовательно включает в себя 3 оптические системы
· компоненты 1-3 - коллиматор излучения реперного диодного
лазера;
· компоненты 4-5 - афокальный расширитель лазерного пучка
· компонент 6 - фокусирующая линза.
Следовательно, влияние изменения воздушных промежутков между этими
компонентами незначительно.
По результатам моделирования в программе ZEMAX получим следущие данные
|
№ воздушного промежутка
|
Увеличение радиуса пятна
рассеяния Δr, мкм
|
Величина смещения , мкм
|
|
1-2
|
35,9
|
-100
|
|
1-2
|
47,3
|
+100
|
|
2-3
|
31,2
|
-50
|
|
2-3
|
28,9
|
+0,50
|
|
4-5
|
14,3
|
-100
|
|
4-5
|
16,1
|
0,100
|
Рассчитаем
коэффициенты влияния изменения воздушных промежутков
:
Величины
допусков
рассчитаем по известной формуле для скалярных ошибок
(т. е. для наихудшего случая):
,
где
- коэффициент, определяющий вероятность наличия
отклонения воздушного промежутка i-го компонента; n - общее
количество степеней свободы для всех значимых компонентов.
Допуск на отклонение поступаемого излучения в волокно примем равным
=15%
Результаты
расчетов
представлены в таблице.
|
№ компонента
|
,мм
|
|
1-2
|
±0,03
|
|
2-3
|
±0.02
|
|
4-5
|
±0.05
|
Исходя из полученных данных по допускам на оптические компоненты можно
сделать вывод, что компоненты являются изделиями массового изготовления и не
требуют особых условий по контролю и юстировке. Кроме того, для крепления
оптических компонент используются свинчивающиеся оправы, так как данный вид
крепления разрешен в рамках полученных допусков и наименее трудоемок.
4.4
Разработка технологического процесса сборки и юстировки лазерного искрового
эмиссионного спектроанализатора
.4.1
Разработка технологической карты сборочного процесса
Схема деления прибора
Особенность сборки реперного канала состоит в том, что число юстировочных
операций сведено к минимуму, так как данная оптическая система состоит из 3-х
составляющих, положение которых относительно друг друга слабо влияет на
положение и размер пятна рассеяния в плоскости изображения
|
№ этапа
|
Содержание этапа
|
Контролируемые параметры
|
|
1
|
Установка пластины
РЛ2.01.01.01.01.003 в оправу РЛ2.01.01.01.01.004
|
|
|
2
|
Установка кольца
РЛ2.01.01.01.01.005 в оправу РЛ2.01.01.01.01.004
|
|
|
3
|
Установка линзы
РЛ2.01.01.01.01.006 в оправу РЛ2.01.01.01.01.004
|
|
|
4
|
Установка кольца
РЛ2.01.01.01.01.007 в оправу РЛ2.01.01.01.01.004
|
|
|
5
|
Установка линзы
РЛ2.01.01.01.01.002 в оправу РЛ2.01.01.01.01.
|
|
|
6
|
Установка резьбового кольца
РЛ2.01.01.01.01.001 в оправу РЛ2.01.01.01.01.004
|
|
|
7
|
Установка лазерного диода
РЛ2.01.01.01.02.000 в оправу РЛ2.01.01.01.01.004
|
|
|
8
|
Установка резьбового кольца
РЛ2.01.01.01.02.000 в оправу РЛ2.01.01.01.01.004
|
|
|
9
|
Юстировка положения
лазерного диода в оправе с помощью винтов А.М1.6х3 ГОСТ 1491 - 80.
|
Контроль расходимости и
диаметра выходного пучка
|
|
10
|
Установка линзы
РЛ2.01.02.04.03.000 в оправу РЛ2.01.01.01.05.000
|
|
|
11
|
Установка кольца
РЛ2.01.02.04.02.000 в оправу РЛ2.01.01.01.05.000
|
|
|
12
|
Установка линзы
РЛ2.01.02.04.04.000 в оправу РЛ2.01.01.01.05.000РЛ2 01.01.01
|
|
|
13
|
Установка резьбового кольца
РЛ2.01.02.04.02.000 в оправу РЛ2.01.01.01.05.000
|
Контроль афокальности
|
|
14
|
Установка кольца
РЛ2.01.02.03.00.000 в телескопическую насадку РЛ2.01.02.04.00.000
|
|
|
15
|
Установка линзы
РЛ2.01.02.02.00.000 в телескопическую насадку РЛ2.01.02.04.00.000
|
|
|
16
|
Установка резьбового кольца
РЛ2.01.02.01.00.000 в телескопическую насадку РЛ2.01.02.04.00.000
|
Контроль заднего фокального
отрезка
|
|
17
|
Соединение коллимирующего
узла в сборе РЛ2.01.01.00.00.000 с фокусирующим узлом в сборе
РЛ2.01.02.00.00.000
|
Контроль диаметра пятна в
задней фокальной плоскости
|
В связи с тем, что допуска на изготовление и сборку компонент мягкие и
возможностью минимизации контрольно - юстировочных операций, при сборки
установки проводятся только одна операции.
4.4.2
Разработка технологической карты эскизов сборочного процесса
1 часть: сборка узла коллиматора
) Установить плоскопараллельную пластину РЛ2.01.01.01.01.003 в оправу
РЛ2.01.01.01.01.004
) Установить кольцо РЛ2.01.01.01.01.005 в оправу РЛ2.01.01.01.01.004
) Установить линзу РЛ2.01.01.01.01.006 в оправу РЛ2.01.01.01.01.004.
) Установить кольцо РЛ2.01.01.01.01.007 в оправу РЛ2.01.01.01.01.004.
) Установить линзу РЛ2.01.01.01.01.002 в оправу РЛ2.01.01.01.01.004.
) Ввернуть резьбовое кольцо РЛ2.01.01.01.01.001 в оправу
РЛ2.01.01.01.01.004. тем самым зафиксировав положение оптических компонентов.
) Установить лазерный диод РЛ2.01.01.01.02.000 в оправу
РЛ2.01.01.01.01.004.
) Ввернуть резьбовое кольцо РЛ2.01.01.01.02.000 в оправу
РЛ2.01.01.01.01.004.
) Установить коллимирующий узел в сборе РЛ2.01.01.00.00.000 на оптическую
скамью, юстировку положения лазерного диода в оправе провести с помощью 3-х
винтов А.М1.6х3 ГОСТ 1491 - 80. Добиться совмещения плоскости излучения диода с
фокальной плоскостью коллимирующей насадки. параллельность пучка лазерного
диода на выходе контролировать при помощи измерителя КИ-2П.
Измерительная камера КИ-2П
)После проведения контрольно-юстировочных операций в п 9, затянуть винты
А.М1.6х3 ГОСТ 1491 - 80, тем самым зафиксировав положение лазерного диода
РЛ2.01.01.01.02.000 в оправе РЛ2.01.01.01.01.004.
часть: сборка телескопической насадки.
)Установить линзу РЛ2.01.02.04.03.000 в оправу РЛ2.01.01.01.05.000
) Установить компенсационное кольцо РЛ2.01.02.04.02.000 в оправу
РЛ2.01.01.01.05.000
) Установить линзу РЛ2.01.02.04.04.000 в оправу РЛ2.01.01.01.05.000
) Ввернуть резьбовое кольцо РЛ2.01.02.04.01.000 в оправу
РЛ2.01.01.01.05.000. тем самым зафиксировав положение оптических компонентов.
) Установить телескопическую насадку в сборе РЛ2.01.02.04.00.000 на
оптическую скамью ОСК-2, при помощи автоколлиматора f’=1600мм со светоделительным кубиком, фильтром КС-15 и
эталонного плоского зеркала контролировать афокальность системы.
часть: сборка фокусирующего узла.
) Установить линзу РЛ2.01.02.02.00.000 в телескопическую насадку
РЛ2.01.02.04.00.000.
) Ввернуть резьбовое кольцо РЛ2.01.02.01.00.000 в телескопическую насадку
РЛ2.01.02.04.00.000.
) Установить фокусирующий узел в сборе РЛ2.01.02.00.00.000 на оптическую
скамью, с помощью коллиматора и микроскопа измерить задний фокальный отрезок Sf=200мм.
часть: сборка реперного канала.
) С помощью резьбового соединения соединить коллимирующий узел в сборе
РЛ2.01.01.00.00.000 с фокусирующим узлом в сборе РЛ2.01.02.00.00.000.
2)Установить
реперный канал в сборе РЛ2.01.00.00.00.000 на оптическую скамью. Контролировать
диаметр пятна лазерного излучения при помощи измерительной камеры КИ-2П.
Диаметр пятна должен быть не более 0,15мм
В данной главе проведен анализ допусков на расположение оптических
компонентов в передающей, реперной и приемной оптический системах лазерного
эмиссионного искрового спектроанализатора. Был разработан технологический
процесс сборки и контроля реперной системы прибора.
Основными требованиями к взаимному расположению этих систем является
точное совмещение фокальных плоскостей. На это влияют следующие параметры
· Смещения сфокусированного на исследуемом образце лазерного излучения,
прошедшего через передающую систему.
· Расфокусировка излучения лазера, создающего плазменный факел
· Расфокусировка излучения реперного лазера
Так же на работу спектрального прибора влияют следующие факторы
· Непопадание излучения плазменного факела в приемный объектив вследствие
его углового смещения.
· Расфокусировка излучения плазмы на торце волокна.
· Несоосность приемного объектива и волокна.
Более подробное внимание в данной работе уделено моделированию распределения
пятна рассеяния на торце волокна вследствие различных факторов, таких как
децентрировка 1-го и 2-го рода, изменение воздушных промежутков между
оптическими компонентами.
Наиболее жесткими получились допуски на сборку передающего канала,
наиболее мягкими на сборку реперного канала. Так же хотелось бы отметить
важность точного положения последнего компонента в приемной оптической системе,
так как допуски на его положение относительно всей оптической системы влияют на
положение пятна рассеяния от излучения плазменного факела, относительно
плоскости сечения сердцевины волокна.
Разработана раздельная схема сборки и контроля элементов оптической схемы
реперного канала, ввиду чего данная оптическая система после полного процесса
сборки не нуждается в какой-либо дополнительной юстировке.
Технологическая карта сборочного процесса и карта эскизов сборочного
процесса приведены в графической части дипломной работы.
5.
Экономическая часть
.1 Описание
цели проведения НИОКР
Целью проведения данной НИОКР является создание опытного образца
лазерно-искрового эмиссионного спектроанализатора. Такие приборы только начали
выпускаться за рубежом и не имеют аналогов на отечественном рынке. Создание
качественного и недорогого ЛИЭ спектроанализатора безопасного для глаз является
важной и комммерчески выгодной задачей.
Поскольку производство спектроанализатора представляется сравнительно
сложным процессом, требующим навыков расчета оптических систем,
конструирования, создания программ для управления и т.п., очень важно грамотно
запланировать проведение НИОКР для получения ее результатов. Правильное
планирование НИОКР и последующего производства позволит в краткие сроки окупить
расходы на исследовательскую работу и получить прибыль.
При планировании НИОКР предусматривается выполнение следующих этапов:
1. Определение стадий и этапов НИОКР
2. Определение трудоемкости и продолжительности этапов
. Составление план-графика выполнения НИОКР
. Расчет затрат на выполнение НИОКР
.2
Определение стадий и этапов НИОКР
Цикл НИОКР состоит из стадий, разбивающихся на этапы. Под стадией
понимается логически обоснованный комплекс работы, имеющий самостоятельное
значение и являющийся объектом планирования и финансирования.
. На первой стадии - разработке технического задания (ТЗ) - подбираются и
изучаются научно-техническая литература, патентная информация и другие
материалы по теме, обсуждаются полученные данные, на их основе составляется
аналитический обзор и выдвигаются гипотезы. По результатам анализа выбираются
направления работы и пути реализации требований, которым должно удовлетворять
изделие. Составляется отчетная документация по стадии, определяются необходимые
исполнители, подготавливается и выдается техническое задание.
В техническом задании определяется назначение будущего изделия, тщательно
обосновываются его технические и эксплуатационные параметры и характеристики:
производительность, габариты, скорость, надёжность, долговечность и другие
показатели, обусловленные характером работы будущего изделия. В нём также
содержатся сведения о характере производства, условиях транспортировки,
хранения и ремонта, рекомендации по выполнению необходимых стадий разработки
конструкторской документации и её составу, технико-экономическое обоснование и
другие требования.
. На второй стадии - проведении теоретических и экспериментальных
исследований - осуществляются:
1) теоретическая разработка темы, в процессе которой проверяются
научные и технические идеи, разрабатываются методики исследований,
обосновывается выбор разного рода схем, выбираются методы расчётов и
исследований, выявляется необходимость проведения экспериментальных работ,
разрабатываются методики их проведения;
2) если определена необходимость проведения экспериментальных работ,
осуществляются проектирование и изготовление макетов и экспериментального
образца;
) проводятся стендовые и полевые экспериментальные испытания
образца по разработанным программам и методикам, анализируются результаты
испытаний, определяется степень соответствия полученных данных на
экспериментальном образце расчетным и теоретическим выводам. Если имеют место
отклонения, то дорабатывается экспериментальный образец, и проводятся
дополнительные испытания, при необходимости вносятся изменения в разработанные
схемы, расчеты, техническую документацию.
. Эскизный проект состоит из графической части и пояснительной записки.
Первая часть содержит принципиальные конструктивные решения, дающие
представление об изделии и принципе его работы, а также данные, определяющие
назначение, основные параметры и габаритные размеры. Таким образом, она дает
конструктивное оформление будущей конструкции изделия, включая чертежи общего
вида, функциональные блоки, входные и выходные электрические данные всех узлов
(блоков), составляющих общую блок-схему. На этой стадии разрабатывается документация
для изготовления макетов, осуществляется их изготовление и испытания, после
чего корректируется конструкторская документация. Вторая часть эскизного
проекта содержит расчет основных параметров конструкции, описание
эксплуатационных особенностей и примерный график работ по технической
подготовке производства.
В состав задач эскизного проекта входит и разработка различных
руководящих указаний по обеспечению на последующих стадиях технологичности,
надежности, стандартизации и унификации, а также составление ведомости
спецификаций материалов и комплектующих изделий на опытные образцы для
последующей передачи их в службу материально-технического обеспечения. Макет
изделия позволяет добиться удачной компоновки отдельных частей, найти более
правильные эстетические и эргономические решения и тем самым ускорить
разработку конструкторской документации на последующих стадиях. Эскизный проект
проходит те же стадии согласования и утверждения, что и техническое задание.
. Технический проект разрабатывается на основе утвержденного эскизного
проекта и предусматривает выполнение графической и расчетной частей, а также
уточнения технико-экономических показателей создаваемого изделия. Он состоит из
совокупности конструкторских документов, содержащих окончательные технические
решения, которые дают полное представление об устройстве разрабатываемого
изделия и исходные данные для разработки рабочей документации.
В графической части технического проекта приводятся чертежи общего вида
проектируемого изделия, узлов в сборке и основных деталей. Чертежи обязательно
согласовываются с технологами. В пояснительной записке содержатся описание и
расчет параметров основных сборочных единиц и базовых деталей изделия, описание
принципов его работы, обоснование выбора материалов и видов защитных покрытий,
описание всех схем и окончательные технико-экономические расчеты. На этой
стадии при разработке вариантов изделий изготавливается и испытывается опытный
образец. Технический проект проходит те же стадии согласования и утверждения,
что и техническое задание.
.3
Определение трудоемкости и продолжительности этапов НИОКР
За основу расчета трудоемкости возьмём примерное соотношение трудоёмкости
этапов проектных работ, характерное для приборостроения, из учебного пособия
«Организация и планирование проведения НИОКР.Методические указания по
разработке организационно-экономической части дипломных проектов
исследовательского и конструкторского профиля» (Таблица 5.1):
Таблица 5.1
|
№
|
|
Содержание этапа
|
Трудоёмкость, %
|
|
1
|
КПП
|
Согласование и утверждение
технического задания
|
3
|
|
2
|
|
Сбор, изучение, анализ и
обобщение подобранных материалов и научно-технической информации
|
5
|
|
3
|
|
Проведение теоретических и
экспериментальных исследований
|
5
|
|
4
|
|
Эскизное проектирование
изделия
|
10
|
|
5
|
|
Техническое проектирование
изделия
|
15
|
|
6
|
|
Оформление конструкторской
документации
|
12
|
|
7
|
ТПП
|
Технологическая и
материальная подготовка производства, изготовление деталей, сборка и монтаж
узлов
|
30
|
|
8
|
|
Проведение стендовых и
эксплуатационных испытаний
|
10
|
|
9
|
|
Разработка методики наладки
и ввода изделия в эксплуатацию
|
10
|
|
|
Итого:
|
100
|
Так как хорошо известен состав конструкторской документации,
воспользуемся методом расчета по структуре трудоемкости НИОКР. Этот метод
применяется в тех случаях, когда имеется надежно рассчитанная трудоемкость
одного из основных этапов исследования и структура (в процентах или долях)
трудоемкости НИОКР по этапам.
Итак, определим трудоемкость стадии оформления конструкторской
документации по нормативно-статистическому методу, воспользовавшись документом
«Типовые нормы времени на разработку конструкторской документации». За единицу
нормирования принимается время разработки одного чертежа технической
документации требуемого формата. Трудоемкость технического проектирования
вычисляется по следующей формуле:
, (5.1)
где
- число ожидаемых чертежей, шт.,
- трудоемкость технического проектирования, чел. час,
- норма времени на разработку одного чертежа данного
формата и сложности,
- поправочный коэффициент в зависимости от
фактического формата (табл. 1 [14]),
-
поправочный коэффициент к типовым нормам времени в зависимости от типа
производства проектируемых изделий (единичный, серийный или массовый)
- поправочный коэффициент к типовым нормам времени в
зависимости от масштаба исполнения чертежа При проектировании изделия, не
имеющего аналога, к норме времени применяется коэффициент
для сборочных чертежей и
для деталировок.
Лазерные
телевизоры планируется выпускать серийно, а для серийного производства
. Для всех чертежей примем
, поскольку в основном мы будем иметь дело с
увеличивающими масштабами. Для сборочных чертежей примем
как для изделий, не имеющих аналогов.
Составим таблицу разрабатываемых чертежей (таблица 5.2).
Таблица 5.2. Нормы времени на разработку чертежей.
|
Название
|
Формат
|
Кол-во
|
K2К3КА , ч
|
|
|
|
|
|
Проектно-конструкторская
часть
|
Теоретический чертеж
|
А1
|
2
|
1
|
1,1
|
1,1
|
1,2
|
5,42
|
|
Сборочный чертеж
|
А1
|
3
|
1
|
1,1
|
1,1
|
20,7
|
|
Сборочный чертеж
|
А3
|
7
|
0,4
|
1,1
|
1,1
|
1,5
|
18,0
|
|
Рабочие чертежи деталей
|
А4
|
25
|
0,2
|
1,1
|
1,1
|
2,0
|
1,3
|
|
Спецификации
|
А4
|
10
|
0,2
|
1,1
|
1,1
|
1,2
|
1,5
|
|
Оптическая часть
|
Оптическая схема
|
А1
|
1
|
1
|
1,1
|
1,1
|
1,5
|
5,42
|
|
Технологическая часть
|
Карта эскизов
Технологическая карта сборочного процесса
|
А1
|
2
|
1
|
1,1
|
1,1
|
1,5
|
7,18
|
|
Организационно-экономическая
часть
|
Теоретический чертеж
|
A1
|
1
|
1
|
1,1
|
1,1
|
1,5
|
6,24
|
Подставив все данные, получим трудоемкость технического проектирования:
Руководствуясь
данными таблицы 6.1, определим общую трудоемкость НИОКР:
(5.2)
.3.1
Определение трудоёмкости отдельных этапов НИОКР прибора
Трудоёмкость отдельных этапов НИОКР, рассчитанная в соответствии общей
трудоемкостью, приведена в Таблице 5.3.
Таблица 5.3. Трудоёмкость отдельных этапов КПП
|
№
|
|
Содержание этапа
|
Трудоёмкость
|
|
|
|
%
|
чел./ч
|
|
1
|
КПП
|
Согласование и утверждение
технического задания
|
3
|
70,91
|
|
2
|
|
Сбор, изучение, анализ и обобщение
подобранных материалов и научно-технической информации
|
5
|
118,18
|
|
3
|
|
Разработка основных
направлений работ и теоретических вопросов
|
5
|
118,18
|
|
4
|
|
Эскизное проектирование
изделия
|
10
|
236,35
|
|
5
|
|
Техническое проектирование
изделия
|
15
|
354,53
|
|
6
|
|
Оформление конструкторской
документации
|
12
|
283,62
|
|
7
|
ТПП
|
Технологическая и
материальная подготовка производства, изготовление деталей, сборка и монтаж
узлов
|
30
|
709,05
|
|
8
|
|
Проведение стендовых и
эксплуатационных испытаний
|
10
|
118,18
|
|
9
|
|
Разработка методики наладки
и ввода изделия в эксплуатацию
|
10
|
118,18
|
|
|
Итого:
|
100
|
2363,5
|
5.3.2 Определение фонда рабочего времени за заданный период НИОКР
Определим фонд рабочего времени в соответствии с требованиями по срокам
проведения проектно-конструкторских работ (в соответствии с заданием на
проектирование с 06.02.2012 г. по 31.05.2012 г.) при 40-часовой рабочей неделе
(8-часовой рабочий день, 7-часовой предпраздничный; 5 рабочих дней в неделю).
Таким образом, фонд рабочего времени за период НИОКР будет составлять
(табл. 6.4):
(5.3)
Фонд рабочего времени при пересчёте в рабочие часы:
, (5.4)
где
- общее количество предпраздничных дней за период
проектирования;
- общее количество обыкновенных рабочих дней за тот
же период.
Таблица 5.4. Трудовой календарь за установленный период проведения НИОКР.
|
Февраль
|
Март
|
Апрель
|
Май
|
|
Календарные дни
|
29
|
31
|
30
|
31
|
|
Предпраздничные дни
|
1
|
1
|
1
|
1
|
|
Выходные и праздничные дни
|
9
|
10
|
9
|
10
|
|
Рабочие дни
|
20
|
20
|
20
|
20
|
|
Рабочие дни, выходящие за
пределы периода проектирования
|
3
|
0
|
0
|
0
|
|
Предпраздничные дни,
выходящие за пределы периода проектирования
|
0
|
0
|
0
|
0
|
|
Итог: рабочие дни в рамках
периода проектирования
|
16
|
20
|
20
|
20
|
|
Итог: предпраздничные дни в
рамках периода проектирования
|
1
|
1
|
1
|
1
|
.3.3
Определение количества и категории исполнителей
При выполнении НИОКР с директивным сроком окончания темы требуемое
количество исполнителей для выполнения этапа в заданный срок определяется по
формуле [13]:
, (5.5)
где
- трудоёмкость
-го этапа КПП, чел./час;
- коэффициент дополнительных работ,
учитывающий затраты времени на работы, не предусмотренные нормативами (
);
- коэффициент, учитывающий
выполнение норм (
);
- фонд рабочего времени исполнителя за период, определяемый
директивными сроками.
На
предприятии директивные сроки назначаются таким образом, что расчётное
количество исполнителей на любом этапе КПП примерно одинаковое и составляет
приблизительно 3 человека, за исключением двух первых и двух последних этапов.
На первом, втором и последнем этапах обычно закреплено два сотрудника. Для
определённости зададимся величиной
на любом
из этапов КПП и ТПП.
Длительность
каждой из стадий ПКР определяется по формуле:
,(5.6)
где
- трудоёмкость этапа;
- доля
дополнительных работ;
- принимаемое количество исполнителей;
- количество часов в рабочем дне.
Для примера рассчитаем продолжительность первого этапа:
.
Аналогично
рассчитаем остальные
, результаты занесём в Таблицу 6.5.
Таблица 6.5. Расчётная и принимаемая продолжительность этапов КПП и ТехПП
|
№ этапа
|
1
|
2
|
3
|
4
|
5
|
6
|
7
|
8
|
9
|
Итого
|
|
Количество исполнителей,
чел.
|
2
|
3
|
3
|
4
|
6
|
3
|
6
|
3
|
3
|
|
|
Расчётная
продолжительность, часы
|
70,91
|
118,18
|
118,18
|
236,35
|
354,53
|
283,62
|
709,05
|
118,18
|
118,18
|
2363,5
|
|
Расчётная
продолжительность, дни
|
5,32
|
5,9
|
5,9
|
8,86
|
8,86
|
14,18
|
17,73
|
5,9
|
5,9
|
|
|
Принимаемая
продолжительность, дни
|
6
|
6
|
6
|
9
|
9
|
15
|
18
|
6
|
6
|
78
|
В соответствии с классификаторами и единым тарифно-квалификационным
справочником назначим квалификацию и разряды работников, выполняющих этапы КПП
и ТехПП [15, 16] (таблица 5.6).
Таблица 5.6.Квалификация и разряд оплаты труда исполнителей КПП
|
№ этапа
|
Содержание работ
|
Квалификация исполнителей
|
Разряд
|
|
1
|
Согласование и утверждение
технического задания
|
Ведущий инженер
|
13
|
|
|
Инженер-конструктор I
категории
|
13
|
|
2
|
Сбор, изучение, анализ и
обобщение подобранных материалов и научно-технической информации
|
Ведущий инженер
|
12
|
|
|
Техник
|
8
|
|
|
Техник
|
8
|
|
3
|
Разработка основных
направлений работ и теоретических вопросов
|
Инженер-конструктор I
категории
|
13
|
|
|
Инженер-конструктор II
категории
|
12
|
|
|
Техник
|
8
|
|
4
|
Эскизное проектирование
изделия
|
Инженер-конструктор I
категории
|
13
|
|
|
Инженер-конструктор II
категории
|
12
|
|
|
Техник
|
8
|
|
5
|
Техническое проектирование
изделия
|
Инженер-конструктор I
категории
|
13
|
|
|
Инженер-конструктор II категории
|
12
|
|
|
Техник
|
8
|
|
6
|
Оформление конструкторской
документации
|
Инженер-конструктор III
категории
|
11
|
|
|
Техник
|
8
|
|
|
Техник
|
8
|
|
7
|
Технологическая и
материальная подготовка производства, изготовление деталей, сборка и монтаж
узлов
|
Инженер-технолог
|
13
|
|
|
Инженер-технолог
|
13
|
|
|
Техник
|
8
|
|
8
|
Проведение стендовых и
эксплуатационных испытаний
|
Инженер-технолог
|
13
|
|
|
Инженер химик
|
13
|
|
|
Техник
|
8
|
|
9
|
Разработка методики наладки
и ввода изделия в эксплуатацию
|
Иженер-конструктор I
категории
|
13
|
|
|
Инженер-технолог
|
13
|
|
|
Специалист по работе с ПО
|
13
|
6.
Промышленная экология и безопасность
.1
Планирование системы безопасности в ЛИЭС
Компоненты, применяемые в измерениях методом ЛИЭС, обычно производятся
промышленно и в целом безопасны, если их использовать надлежащим образом.
Лаборатория является контролируемой средой, в которой можно управлять
экспериментальными условиями, и меры безопасности соблюдать в ней гораздо
проще, чем в полевых условиях. Поскольку ЛИЭС используют в полевых условиях, в
местах и для материалов, которые нельзя предусмотреть здесь, каждую ситуацию
следует оценивать исходя из того, что включает конкретные эксперимент или
применение. В течение многих лет, когда велись работы с ЛИЭС, рабочим
окружением были система газификации угля в пустыне летом с температурой около
43 °С в тени при прокладке туннеля и производство стали. Каждое место и
измерение ЛИЭС имеет свои уникальные требования к безопасности. Чтобы адекватно
учесть эти опасности при работе, должен быть подготовлен план безопасности,
стандартная рабочая процедура или план контроля за рисками, которые были бы
согласованы с персоналом, обученным по каждому из рисков, связанных с работой.
Примеры включают, в частности, должностное лицо по лазерной безопасности,
специалистов по производственной гигиене и по промышленной безопасности. Часто
бывает целесообразно, чтобы любая операция с химическими реактивами была
рассмотрена химиком, который может заметить опасности, не очевидные для других
специалистов. В данном проекте представлен краткий обзор некоторых наиболее
общих вопросов, связанных с безопасностью, которые необходимо рассматривать и
во многих случаях принимать меры.
6.2 Опасные
факторы при работе с лазерами
Лазерные системы промышленного производства - это тщательно
разработанные, надежные и безопасные приборы, которые должны удовлетворять
определенным государственным требованиям. Напряжения и токи, используемые во
многих лазерах, опасны и потенциально смертельны. Персонал защищен от высокого
напряжения и электрического удара с помощью блокировок и заземленного
металлического корпуса. Блокировки иногда отключают, чтобы можно было выполнить
монтаж и установку, и в это время следует соблюдать крайнюю осторожность, чтобы
обеспечить безопасную работу. Лазеры, используемые в экспериментах по ЛИЭС, обычно
имеют IV класс опасности в отношении
воздействия лазерного излучения на глаза и кожу. Поскольку ЛИЭС все более
широко используют в полевых условиях и для дистанционного анализа с открытым
прохождением излучения на расстояниях нескольких метров, следует соблюдать
особую осторожность при разработке и проведении измерений ЛИЭС. Здравый смысл и
нормативы безопасности, такие, как ГОСТ Р 50723-94 «Лазерная безопасность.
Общие требования безопасности при разработке и эксплуатации лазерных изделий»
обеспечивают общепринятые правила и инструкции по безопасному использованию
лазеров, и к ним следует обращаться во всех случаях. В дополнение следует
отметить, что защита глаз зависит от длины волны лазерного излучения. Например,
защита для глаз от излучения с длиной волны 1064 нм не годится для длин волн
гармоник, таких, как 532 нм. Лазерный институт Америки в Орландо, Флорида,
имеет информацию, относящуюся к лазерной безопасности, обучению мерам
безопасности, а также материалам и устройствам для минимизации воздействия
лазерного облучения.
Таблица 6.1.
Некоторые возможные источники опасности, связанные с элементами по ЛИЭС
|
Источник
|
Опасность
|
Источники информации
|
|
Лазерное излучение
|
Повреждение глаз и/иди кожи
|
ГОСТ Р 50723-94; инженер по
лазерной безопасности; СПиН №5804-91; руководство для оператора лазеров (ANSI,
2000)
|
|
Высокое напряжение
(например, блоки питания лазеров)
|
Потенциально смертельное
напряжение
|
Руководство для оператора
лазеров; инженер по электробезопасности; консультация с производителем
лазеров до начала работы с электрической системой; организация работы с
помощью технического специалиста, имеющего знание системы (NFPA,
2005)
|
|
Работа и хранение
материалов, используемых для LIBS
|
Токсические, коррозийные,
могут реагировать с другими материалами
|
MSDS ( Сертификат безопасности материала)
|
|
Аэрозоли, полученные при
воздействии лазера
|
Опасность при вдыхании (Be,
As, Сг и его соединения, Т1, силикатная пыль и т. д.)
|
MSDS; специалист по промышленной гигиене; предельные
допустимые концентрации приведены в OSHA и ACGIH (ACGIH, 2005а,Ь)
|
|
Воспламенение при
воздействии лазера
|
Взрывоопасные смеси
(например, Нг и Ог; растворители в виде аэрозолей; жидкие растворители)
|
MSDS; инженер по технике безопасности; химические
эксперты; ГОСТ 12.1.004-85.
|
6.3
Образование аэрозолей
Лазерный импульс, направленный на твердое тело или жидкость, может
образовывать тонкодисперсное вещество, которое хотя и образуется в малом
количестве при одном лазерном импульсе, может накапливаться после многих
импульсов вплоть до токсических уровней. Например, при действии, одного
лазерного импульса с энергией 100 мДж на металлический бериллий высвобождается
10 нг материала. Бериллий, который признан высокотоксичным при этих условиях,
токсичен более или менее по сравнению с другими материалами, которые могут быть
использованы в экспериментах по ЛИЭС. Следовательно, очевидно, что при
постановке и проведении измерений ЛИЭС следует проявлять крайнюю осторожность.
Предельно допустимые концентрации токсичных веществ в воздухе рабочей
зоны в зависимости от класса опасности (ГОСТ 12.1.007-76) приведены ниже:
. Чрезвычайно опасные……………………………......Менее 0
. Высокоопасные……………………………………….0.1-1.01
. Умеренно опасные……………………………………1.2-10.0
. Малоопасные………………………………………….более 10.0
Предельно допустимые концентрации некоторых цветных металлов и их вредных
соединений в воздухе рабочей зоны (ГОСТ 12.1.005) приведены в табл.1.
Таблица 6.2 ПДК цветных металлов и их соединений в воздухе рабочей зоны
(ГОСТ 12.1.005)
|
Металл (соединение)
|
ПДК в воздухе, мг/м
|
Класс опасности
|
Агрегатное состояние
|
|
Алюминий металлический
|
2
|
3
|
Аэрозоль
|
|
Бериллий и его соединения
(в пересчете на бериллий)
|
0,001
|
1
|
Аэрозоль
|
|
Германий
|
2
|
3
|
-"-
|
|
Кадмий и оксид кадмия
Кобальт:
|
0,03
|
1
|
-"-
|
|
металлический
|
0,5
|
2
|
-"-
|
|
оксид кобальта
|
0,5
|
-"-
|
|
Медь металлическая
|
0,5
|
2
|
-"-
|
|
Никель и его соединения:
|
|
|
|
|
никелевый порошок
|
0,05
|
1
|
Аэрозоль
|
|
закись и оксид никеля
|
0,5
|
2
|
Аэрозоль
|
|
Свинец и его соединения
|
0,007
|
1
|
|
|
Селен аморфный
|
2
|
3
|
-"-
|
|
Сурьма и ее соединения
|
0,2
|
2
|
-"-
|
|
Теллур
|
0,01
|
1
|
-"-
|
|
Цинк и его соединения:
|
|
|
-"-
|
|
оксид цинка
|
6
|
3
|
-"-
|
Хотя
считается, что воздействие веществ
<#"584238.files/image290.gif">
Рис. 5.1. Характер лазерно-опасной зоны, создаваемой прямым излучением
Исходные данные для расчета:
Длина волны
излучения лазера, 
мкм
Энергия в
импульсе лазера,
мДж
Длительность
лазерного импульса, 
нс
Начальный
диаметр пучка,
мм
Угол
расходимости луча,
мрад
Для
коллимированных пучков излучения в диапазоне 1400 <l £ 105 нм, представляющих наименьшую опасность для
сетчатки глаз, предельно допустимые параметры задаются в терминах энергии и
мощности излучения, проходящего через ограничивающую апертуру диаметром 
м [48].
Учитываем, что у нас импульсный лазер с частотой следования импульсов 10 Гц),
поэтому будем определять ПДУ для серий импульсов.
Предельно
допустимые уровни при воздействии на глаза серий импульсов излучения в
спектральном диапазоне III (1400 <l £ 105 нм) установлены для случаев, когда длительность
отдельного импульса в серии 
не
превышает 10 с (у нас 6 нс), а частота следования импульсов превышает 1,7·10-3
Гц (временной интервал между отдельными импульсами меньше 10 минут). В таком
случае, значение предельно допустимой энергии серии импульсов излучения
длительностью t при воздействии на глаза 
равно
меньшему из двух значений энергий 
и 
,
Значение
предельно допустимой энергетической экспозиции серии импульсов
коллимированного или рассеянного лазерного излучения
определяется как меньшее из двух значений H1 и H2,
заданных формулами:
Hпду -
предельно допустимое значение энергетической экспозиции лазерного излучения.
Hпду (tи) - предельно допустимое значение
энергетической экспозиции импульса лазерного излучения длительностью tи.
число импульсов в серии;

-
параметр, характеризующий нестабильность энергии импульсов в серии. Его
значение известно из спецификации нашего лазера: 
.
Длительность
лазерного воздействия 
выбираем
из соображения, что она определяется временем взаимодействия лазерного
излучение с исследуемым образцом - 1с. Из таблицы 3.7 [43], при однократном
воздействии на глаза коллимированного лазерного излучения в спектральном
диапазоне III длительностью воздействия 1 с (ограничивающая
апертура 
м) для
спектрального интервала 1400 < l £ 1800 нм и длительности облучения 
с
предельно допустимый уровень равен:
тогда:
Определим
второе значение энергии. В этом случае используем значение 
длительности
одиночного импульса. Оно определяется параметрами источника излучения и равно
для нашего лазера 6 нс. Тогда предельно допустимы уровень энергии смотрим для
диапазона длительности облучения 
с:
Значение
энергии тогда:
где

количество
импульсов в серии равно:
Подставим
в уравнение (6.4):


Сравнивая
два значения, получаем:
Среднее
значение предельно допустимой энергетической экспозиции одного импульса из
серии определяется делением
на число
импульсов в серии N.
Классификация лазера по степени опасности генерируемого им излучения
Определение класса лазера основано на учете его выходной энергии
(мощности) и предельно допустимых уровней при однократном воздействии
генерируемого излучения.
По степени опасности генерируемого излучения лазеры подразделяются на
четыре класса.
. К лазерам I класса относят полностью безопасные лазеры, то есть такие
лазеры, выходное коллимированное излучение которых не представляет опасности
при облучении глаз и кожи.
. Лазеры II класса - это лазеры, выходное излучение которых представляет
опасность при облучении кожи или глаз человека коллимированным пучком; диффузно
отраженное излучение безопасно как для кожи, так и для глаз.
. К лазерам III класса относятся такие лазеры, выходное излучение которых
представляет опасность при облучении глаз не только коллимированным, но и
диффузно отраженным излучением на расстоянии 10 см от отражающей поверхности и
(или) при облучении кожи коллимированным излучением. Диффузно отраженное
излучение не представляет опасности для кожи. Этот класс распространяется
только на лазеры, генерирующие излучение в спектральном диапазоне II.
. Четвертый (IV) класс включает такие лазеры, диффузно отраженное
излучение которых представляет опасность для глаз и кожи на расстоянии 10 см от
отражающей поверхности.
Класс опасности лазерного изделия определяется классом используемого в
нем лазера.
Энергия, выделившаяся за серию импульсов в течение одной секунды
Для лазера II класса безопасности, работающего в данном диапазоне длин
волн в режиме генерации серии импульсов, должно выполняться соотношение

180.6Дж
Из
этого следует что лазер, используемый в качестве источника образования
плазменной искры для анализа по методу ЛИЭС, относится ко II-му классу
безопасности, и следовательно, не требуются какие-либо дополнительные средства
защиты для глаз от воздействия лазерного излучения, так как ввиду
технологической конструкции прибора исключен прямой контакт непосредственно с
коллимированным пучком лазерного излучателя.
6.5
Безопасность при работе с системой ЛИЭС
Разрабатываемый лазерно-искровой эмиссионный спектроанализатор снабжается
сигнальными устройствами, работающими с момента начала генерации и до ее
окончания. Лазер следует маркировать знаком лазерной опасности в соответствии с
ГОСТ 12.1.040-96
Во избежание получения ожогов, запрещается помещать открытые участки кожи
на трассе «лазер - исследуемый образец» при непосредственном проведении анализа
по методу ЛИЭС (во время лазерной абляции).
Лазерные импульсы, используемые в ЛИЭС, образуют горячую плазму, которая
обычно содержит столь малое количество энергии, что не представляет сильного
источника воспламенения для большинства горючих материалов. Количество теплоты
будет минимальным, исключая лазеры с высокой частотой повторения. Большинство
материалов при воздействии этих лазерных импульсов будет иметь видимые
повреждения, но они будут в целом минимальны. Очевидно, что в некоторых
операциях ЛИЭС не следует использовать при обычных условиях работы. Примером
служит дистанционный анализ открытой поверхности в подземных шахтах, в которых
могут присутствовать горючие газы (например, метан). Другим примером является
запыленная атмосфера. Эти приложения следует оценивать критически, поскольку
наличие взрывоопасного вещества может привести к катастрофическим результатам.
Установить наличие такой потенциально опасной ситуации может быть не всегда
просто. Например, фильтры из ацетилцеллюлозы при облучении лазерным лучом,
разрушаются под действием лазерного импульса незначительно. Лазерный импульс
испаряет лишь малую часть поверхности фильтра. Однако тот же стать горючим, что
даст в результате подобие вспыхнувшей бумаги.
Некоторые исследуемые по методу ЛИЭС образцы могут содержать частицы
тяжелых металлов и других опасных для здоровья человека веществ, поэтому после
проведения анализа исследуемый образец следует утилизировать согласно тем
требованиям, которые изложены в сертификате безопасности материала.
Список
используемой литературы
. Кремерс Д., Радзиемски Л. Лазерно-искровая эмиссионная
спектроскопия. М.: Техносфера, 2009. 360 с.(D.A.Cremers, L. J. Radziemski
Handbook of laser-Induced breakdown spectroscopy. John Wiley & Sons, Ltd.
2006. 293 p.).
2. Васильев В.П. Аналитическая химия. Т.2 Физико-химические
методы анализа. М.: Дрофа, 2003. 384 с.
. Методы спектрального анализа металлов и сплавов.
Киев:Техника, 1988. 215с.
. Кузяков Ю.Я., Семененко К.А., Зоров Н.Б. Методы
спектрального анализа. М.: Изд-во МГУ, 1990. 213 с.
. Сухов Л.Т. Лазерный спектральный анализ. Новосибирск:
Наука, 1990. 143с.
. Менке Г., Менке Л. Введение в лазерный эмиссионный
микроспектральный анализ. М.: Мир, 1968. 250 с.
. Шмидт В. Мир физика и техники. М.: Техносфера, 2007. 368 с.
. Фельске А., Хагена В.-Д., Лаква К. Оптический спектральный
анализ с лазерным источником света // Успехи физических наук. 1972. Т. 106.
Вып. 3. С. 549-562.
. Зейдель А.Н., Калитеевский Н.И., Липис Л.В., Чайка М.П.
Эмиссионный спектральный анализ атомных материалов. Л., М..: Физмат, 1960, 688
с.
. Букин О.А., Большакова Е.Н., Свириденков Э.А., Сушилов
Н.В., Майор А.Ю., Холодкевич О.И. Смещение эмиссионных линий алюминия в
лазерной плазме, гененрируемой на поверхности твердой мишени в атмосфере //
Письма в ЖТФ. 1997. Т.23. № 23. С. 31-35.
. Букин О.А., Зинин Ю.А., Свириденков Э.А., Сушилов Н.В.,
Эдуардов С.Л. Определение макросостава морской воды методом лазерной искровой
спектроскопии // Оптика атмосферы и океана. 1992. Т. 5. № 11. С. 1213-1216.
. Букин О.А., Алексеев А.В., Ильин А.А., Голик С.С., Царев
В.И., Бодин Н.С. Использование лазерной искровой спектроскопии с
многоимпульсным возбуждением плазмы для мониторинга качества морской воды и
состояния фитопланктона // Оптика атмосферы и океана. 2003. Т. 16. № 1. С.
26-32.
. Gottfried J.L., Harmon R.S., LaPointe A. Progress in
LIBS for Landmine Detection // Proc. of SPIE. 2009. V. 7303. P. 73031F-1 -
73031F-11.
. Bugio L., Cristoforetti G., Legnaioli S., Palleschi
V., Pardini L., Savletti A., Tognoni E. Quantitative LIBS analysis of samples
from a Le Sueur bronze // Proc. of SPIE. 2006. V. 6162. P. 616206-1 - 616206-7.
. Andrassy L., Nemet B., Vihar L. Theoretical and
practical problems of application of lase-induced plasma emission spectroscopy
in geological prospecting // Proc. of SPIE. 1998. V. 3537. P. 343-346.
. Jandaghi M., Parvin P., Torkamany M.J., Sabbaghzadeh
J. Measurement of the composition change in Al5754 alloy during long pulsed
Nd:YAG laser welding based on LIBS // Journal of Physics D: Applied Physics.
2009. V. 42. 205301. P.-
. Ostrowski R., Skrzeczanowski W., Marczak J.,
Sarzynski A. LIBS identification of pigment from Aula Leopoldina Vault // Proc.
of SPIE. 2009. V. 7391. P. 73910Q-1 - 73910Q-12.
. Liangying Y., Jidong L., Wen C., Ge W., Kai S., Wei
F. Analysis of Pulverized Coal by Laser-Induced Breakdown Spectroscopy //
Plasma Science & Technology. 2005. V. 7. N 5. P.3041-3044.
.Справочник конструктора оптико-механических приборов под
ред. В. А. Панова. - Ленинград: Машиностроение, 1980. - 742 с.
.Тищенко О. Ф., Валединский А. С.
Взаимозаменяемость,стандартизация и технические измерения. - М. :
Машиностроение, 1977.
.Бардин А.Н. Сборка и юстировка оптических приборов.
М.Высш.шк.,1968. 325 с
.Оптико-электронные системы экологического мониторинга
природной среды: Учеб. пособие для вузов / В. И. Козинцев, М. Л. Белов, В. М.
Орлов и др.; под ред. В. Н. Рождествина. - М.: Изд-во МГТУ им. Н. Э. Баумана,
2002. -528 с.: ил. - (Электроника)
.Санитарные нормы и правила устройства и эксплуатации лазеров
N 5804-91 ГОСТ Р 50723-94 «Лазерная безопасность. Общие требования безопасности
при разработке и эксплуатации лазерных изделий»
.Федеральный закон Российской Федерации от 22 июля 2008 г. N
123-ФЗ «Технический регламент о требованиях пожарной безопасности».
.ГОСТ 12.1.005-88 «Общие санитарно-гигиенические требования к
воздуху рабочей зоны».
.Сажин Ю. Б., Самохин С. В. Методическое пособие по
выполнению организационно-экономической части дипломных проектов по разработке
и использованию программных продуктов: Учебное пособие. - М.: Издательство
МГТУ, 2004.
.Ипатов М. И., Скворцов Ю. В., Савченко Н. Н. и др.
Организационно-экономическая часть дипломных проектов конструкторского профиля:
Учебное пособие. - М.: Издательство МГТУ, 1991.
.Смирнов С. В., Степанов В. В., Лилейкина Г. А. и др.
Организационно-экономическая часть дипломных проектов исследовательского
профиля: Учебное пособие. - М.: Издательство МГТУ, 1989.
.Грачева К. А., Колобов А. А. и др.
Организационно-экономическая часть дипломных проектов технологического профиля:
Учебное пособие. - М.: Издательство МГТУ, 1988.
.ГОСТ 2.103-68 ЕСКД. Стадии разработки.
.ГОСТ 15.013-94 Система разработки и постановки продукции на
производство. Медицинские изделия
.Башин М.Л. Планирование НИР и ОКР. - М.: Экономика, 1973.