Исследование нанослоев Al2O3, синтезированных на пористом SiO2
Введение
Глобально развитие микроэлектроники
можно охарактеризовать следующими тенденциями: увеличение плотности размещения
на чипе транзисторов, усложнение структуры чипа и повышение его быстродействия.
При этом каждый шаг в данном процессе должен сопровождаться повышением
надежности и эффективности работы микросхемы. Но увеличение плотности
размещения транзисторов и повышение надежности и эффективности работы - вообще
говоря, две конкурирующие категории. В частности сегодня возникла следующая
трудность. Плотность размещения достигла таких значений, что основное
препятствие на пути к дальнейшему развитию связано теперь даже не с физикой
самих транзисторов, а с передачей электросигналов в схеме [1]. Дело в том, что
расстояния между проводниками становятся такими, что паразитная емкость,
образованная ими, может вызвать существенное замедление распространения сигнала
[1].
а) б)
Рисунок 1. а) Образование паразитных емкостей [1]. б) Замедление
распространения сигнала для разных поколений транзисторов
Также происходит диссипация мощности
сигнала, обусловленная токами утечки и динамическим рассеянием,
пропорциональным паразитной емкости:
P=бCfV2 (1)
где б - активность проводника (т.е.
доля времени, когда по линии передается сигнал), C - суммарная паразитная емкость, f - частота сигнала, V - напряжение. Очевидно, что
необходимо как можно сильнее уменьшить паразитную емкость. Для этого можно
заменить материал изолятора, в котором монтируются все элементы схемы, на low-k диэлектрик с низкой диэлектрической
проницаемостью. Одним из многообещающих low-k диэлектриков является пористый
диоксид кремния [1].
Поскольку пористый SiO2 - это новый материал, требуется своя особая технология выращивания
тонких пленок на подложке из этого материала. Такое требование обусловлено
сильным влиянием подложки на свойства тонкой пленки, и неизвестно, какова роль
пористости в этом вопросе. Действительно, размер пор может принимать значения
от долей нанометра до нескольких микрометров, распределение пор по поверхности
подложки также может быть различным: поры могут быть расположены на разных
расстояниях друг от друга, упорядоченно и случайно.
Рисунок 2. Слева представлены
хаотично и упорядоченно расположенные поры. Справа иллюстрация, поясняющая
проблему заполнения пор
В случае пленки, научный интерес
представляют следующие вопросы: 1) возможно ли формирование кристаллической
пленки на пористой подложке; 2) как зависит от свойств пористости соотношение
числа различных атомных координаций в аморфной пленке, характерных для разных
кристаллических модификаций материала пленки; 3) будет ли от толщины пленки
зависеть ее микроструктура - толщинный эффект.
В связи с этим целью данной работы
было изучение строения тонких пленок Al2O3 различной толщины,
синтезированных на пористом диоксиде кремния методом молекулярного наслаивания
(МН). Кроме того, были проведены измерения для пленок, выращенных на
кристаллическом Si и на термическом SiO2. В качестве материала
пленки выбран оксид алюминия, так как данное вещество химически стабильно при
нанесении на подложку, и выращивание таких пленок на традиционных подложках
хорошо изучено.
Непосредственными задачами работы
были:
§ Освоение физических
основ метода рентгеновской спектроскопии отражения.
§ Освоение методики
проведения эксперимента при использовании лабораторных источников излучения и
синхротронного излучения.
§ Изучение
электронного атомного строения пленок Al2O3 различной толщины,
синтезированных на подложке пористого SiO2
§ Изучение влияния
материала подложки на структуру пленок Al2O3, синтезированных методом молекулярного наслаивания.
1. Кристаллическая
структура
Кристаллическая структура полимофных
модификаций SiO2
Существует целый ряд кристаллических
модификаций диоксида кремния встречающихся в природе (б, в-кварц, тридимит, б, в-кристаллобалит), и полученных
искусственно (коэзит, кеатит, стишовит). Все модификации, кроме стишовита,
построены из одной структурной единицы - тетраэдра SiO4 (каждый атом Si окружен четырьмя атомами O, каждый атом O окружен двумя атомами Si) - и различаются лишь
взаимной ориентацией тетраэдров [3].
Рисунок 3. Структура б-кварца [6]
б-кварц.
Структура относится к тригональной системе, a=4.927 Å,
c=5.430 Å [4]. При этом характерно отсутствие центра инверсии.
Кремний-кислородные тетраэдры в
- кварце касаются друг
друга вершинами и слегка искажены: расстояния Si-O равны 1,597 и 1,617 Å.
Угол связи Si-O-Si равен 142° [5].
Аморфный диоксид кремния
представляет собой непрерывную трехмерную сетку правильных SiO4-тетраэдров [5], которые также касаются друг друга вершинами.
Прямыми структурно-чувствительными методами [5] установлено, что для аморфного SiO2 характерно сохранение ближайшего окружения атома кремния. Функция
распределения углов Si-O-Si отлична от нуля в пределах от 120° до 180° и имеет очень пологий
максимум при 144° (см. рисунок 4 [7]). Другими словами, SiO4-тетраэдры в аморфном диоксиде кремния разориентированы
относительно друг друга, что подтверждается исследованиями авторов [8]. Ими был
проведен анализ взаимного расположения тетраэдров в б-кварце
и аморфном SiO2. Показано, что при рассмотрении только трех тетраэдров в аморфном
SiO2 уже маловероятна
взаимная ориентация
тетраэдров, подобная той, что наблюдается для
-кварца.
Рисунок 4. Распределение
Si-O-Si углов в б-кварце
Кристаллическая
структура полиморфных модификаций Al2O3
Оксид алюминия Al2O3 имеет
несколько кристаллических модификаций, все они построены из двух структурных
единиц: тетраэдров AlO4
и октаэдров AlO6.
б-Al2O3
(корунд) - единственная фаза, построенная только из октаэдров. Данная фаза
наиболее термодинамически стабильна [9]. Анионы O
образуют приблизительно гексагональную плотнейшую упаковку, а катионы Al занимают 2/3 октаэдрических пустот. Элементарная ячейка,
представленная на рисунке, относится к тригональной сингонии [10].
Рисунок 5. Элементарная
ячейка корунда [10]
Все остальные фазы, так
называемые переходные оксиды алюминия, представляют собой смесь тетраэдров и
октаэдров в разных пропорциях.
г-Al2O3.
Традиционно принято описывать кристаллическую структуру г-Al2O3 как
структуру дефектной шпинели с катионными вакансиями:
□2
2/3Al21 1/3O32,
где □ - вакансия [11], существуют и другие модели структуры. Данная
формула записана в виде, подразумевающем, что обычная шпинель (MgAl2O4,
например) имеет в своей элементарной ячейке 32 аниона и 24 катиона - 8 катионов
в тетраэдрическом окружении и 16 катионов в октаэдрическом. Вакансии в
количестве 2 2/3 на одну элементарную ячейку необходимы для того, чтобы
удовлетворить стехиометрии Al2O3. Кристаллическая структура г-Al2O3 построена приблизительно на 70% из октаэдров AlO6 и на 30% из тетраэдров AlO4.
Образцы г-Al2O3 всегда
получаются поликристаллическими с присутствием пор и отсутствием дальнего
порядка [9], поэтому они могут отличаться по содержанию октаэдров и тетраэдров
[12].
Аморфный am-Al2O3 как и переходные оксиды алюминия является смесью октаэдров и
тетраэдров, но количество тетраэдров существенно превалирует [13]. Как показано
в работах [14, 15], структура может также содержать атомы Al, окруженные пятью
атомами O. Все координационные полиэдры соединяются либо вершинами, либо
ребрами, образуя беспорядочную структуру из N-членных колец и цепочек. N=2., 6.
Рисунок 6. Схема соединения
координационных полиэдров вершинами (a) и ребрами (b). Большие сферы обозначают атомы кислорода, меньшие - атомы
алюминия
Сведения об электронном строении
Кремний. Электронная конфигурация 1s22s22p63s23p2. Волновые функции валентных 3s23p2-электронов, как
правило, испытывают sp3 гибридизацию при
вступлении кремния в химическую связь. При этом один 3s электрон возбуждается в 3p-состояние, обеспечивая таким
образом валентность 4. По расчетам [3] для SiO2 с тетраэдрическим окружением атома Si на атомах О эффективный
заряд составляет -1, а не 0, как должно быть при ковалентной связи, и не -2,
как в случае ионной. Следовательно, кремний-кислородная связь носит
ковалентно-ионный характер.
Кислород. Электронная конфигурация 1s22s22p4. Валентными являются 2s22p4 электроны. По электроотрицательности кислород уступает лишь
фтору, поэтому в характере химической связи с кислородом всегда велика доля
ионности.
Алюминий. Электронная конфигурация 1s22s22p63s23p1. Валентными являются 3s23p1 электроны. При образовании химической связи происходит sp2 гибридизация, что обеспечивает атому Al валентность 3.
Метод рентгеновской спектроскопии
отражения
Формулы Френеля, полное внешнее
отражение (ПВО)
Отражение и преломление
электромагнитных волн в видимой области спектра традиционно описывается
формулами Френеля. При выводе этих формул используются следующие допущения:
поверхность отражателя идеально гладкая, изотропная и однородная. Такие
допущения вполне оправданы для видимого света, так как длины волн по порядку
величины в 102 раз превосходят максимальный размер шероховатостей.
Для рентгеновской области спектра длины волн составляют сотни Å и меньше, т.е. они уже
становятся сравнимыми с размером поверхностных шероховатостей. Наличие шероховатостей
приводит к уменьшению интенсивности зеркально отраженного излучения и появлению
рассеянного. В случае шероховатостей, при которых еще существует зеркальное
отражение, можно ввести поправки с помощью формулы Дебая-Валера:
(2)
где Ispec -
интенсивность волны, зеркально отраженной от шероховатой поверхности со
среднеквадратичной высотой шероховатостей у, I0
- интенсивность, исправленная на шероховатость, и - угол скользящего падения, л
- длина волны. Также в рентгеновском диапазоне необходимо учитывать эффекты,
связанные с пространственной анизотропией, так как, вообще говоря, из-за них
отражение от разных кристаллических граней происходит по-разному. Однако, для
высокосимметричных систем, обладающих центом инверсии эти эффекты малы, и для
них правомочно использование формул Френеля:
(3а)
(3б),
где е - это комплексная диэлектрическая проницаемость отражателя. е=е1+iе2, вещественная часть е1
характеризует способность вещества поляризоваться под действием
электрического поля, мнимая часть е2
связана с поглощением излучения.
Амплитудные коэффициенты
отражения rs и
rp, вообще говоря, комплексны и
представляют собой отношение комплексных амплитуд отраженной и падающей волн.
Индексы s и p определяют состояние
поляризации падающей волны: s
- перпендикулярно, p - параллельно плоскости
падения. rs,p может быть представлен в виде:
|rs,p|exp(iш) (4),
где ш - это разность фаз между отраженной и падающей волнами. Поскольку
в эксперименте измеряются не амплитуды, а интенсивности волн, то удобно
использовать коэффициенты отражения, определяемые как отношение интенсивностей
отраженного и падающего излучения. Они равны квадратам модулей амплитудных
коэффициентов:
и
(5),
в связи с чем,
информация о сдвиге фаз ш
теряется при рефлектометрических измерениях.
В рентгеновском
диапазоне длин волн вещественная часть диэлектрической проницаемости, как
правило, меньше единицы, поэтому материал отражателя является оптически менее
плотным, чем вакуум. В связи с чем, в рентгеновской области спектра, если можно
пренебречь поглощением (жесткая область спектра), наблюдается явление полного
внешнего отражения, аналогичное явлению полного внутреннего отражения в
оптическом диапазоне. Действительно, из формул (3а) и (3б) следует, что если
положить е2=0, то при углах
коэффициенты отражения
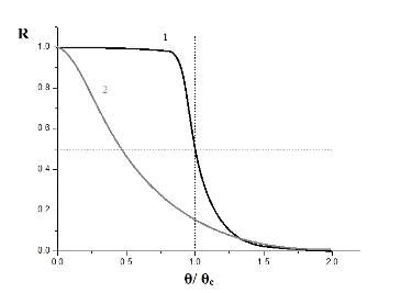
в точности равны единице, а при больших углах равны нулю. При наличии поглощения
угловая зависимость R(и)
представляет собой плавно спадающую кривую и может даже не иметь точек перегиба
(рисунок 7). Поэтому говорить о полном внешнем отражении в области мягкого
рентгеновского излучения, где поглощение в веществе всегда велико, можно только
в той или иной степени приближенно. Можно лишь выделить диапазон углов
скользящего падения, в котором отражение велико - область ПВО - и диапазон
углов, где оно мало. Иными словами от поверхности отражается лишь часть
излучения, при этом другая часть проникает внутрь вещества на некоторую
глубину, зависящую от оптических постоянных вещества. Под глубиной
проникновения понимают глубину D,
на которой интенсивность излучения уменьшается в e
раз. Эйхенвальдом была получена формула для глубины проникновения [16]:
(6)
где и - угол скользящего
падения, е - комплексная диэлектрическая проницаемость вещества, щ - круговая
частота излучения. Расчеты с помощью данной формулы дают примерно постоянную
глубину проникновения для углов падения, относящихся к области ПВО.
Рисунок 7. Качественный
вид угловой зависимости коэффициента отражения для 1) жесткой области спектра,
2) для мягкой области
Рисунок 8. Зависимость
глубины формирования отраженного излучения D
от угла скользящего падения и. 1 - экспериментальная кривая, 2 - расчет по
формуле 6
В области ПВО можно
пренебречь различием между Rs и Rp,
так как оно составляет
для
длин волн 10 - 0,1 нм, и, следовательно, можно не учитывать поляризацию
излучения.
Ближняя тонкая структура
рентгеновских спектров поглощения (БТС РСП).
Спектральные зависимости
коэффициента отражения представляют особый интерес в области аномальной
дисперсии. Именно в этой области формируется тонкая структура спектров
поглощения, которая высоко чувствительна к сорту поглощающего атома, его
окружению и химическому состоянию. Традиционным подходом к описанию электронной
структуры твердого тела является зонная теория. В рамках этого подхода БТС РСП
может быть связана с переходами электронов из внутренних уровней в свободные
состояния зоны проводимости. Спектральная зависимость коэффициента поглощения
неполяризованного излучения вблизи края поглощения может быть описана
выражением:
, (7)
учитывающим возможность
целого множества состояний электрона в зоне проводимости с данной энергией
и
различными волновыми векторами k.
Интегрирование ведется по поверхности равной энергии в пространстве волновых
векторов k. Член
представляет
собой квадрат матричного элемента вероятности перехода из внутреннего уровня с
энергией
,
описываемого атомной волновой функцией
, в свободные состояния
зоны проводимости с энергией
, описываемые волновыми
функциями
.
Матричный элемент зависит от энергии и волнового вектора, поэтому он не может
быть вынесен за знак интеграла. Однако часто пользуются приближением, в рамках
которого производится усреднение вероятности перехода по всей изоэнергетической
поверхности, и спектральная зависимость коэффициента поглощения может быть
представлена в виде:
, (8)
где
представляет
плотность свободных состояний в зоне проводимости с энергией
,
отсчитанной от внутреннего уровня,
- усредненная
вероятность перехода. Таким образом, зависимость м(E) несет информацию о распределении свободных состояний в зоне
проводимости, но только с учетом вероятности перехода.
Согласно дипольным
правилам отбора, вероятность перехода электрона с внутреннего уровня, волновая
функция которого оказывается близкой к nl
атомной волновой функции, оказывается отличной от нуля только для парциальных
состояний с
.
Тогда в рамках приближения (8) детали тонкой структуры РСП твердых тел следует
сопоставлять с особенностями распределения парциальных плотностей состояния
в
зоне проводимости. Представление кристаллической волновой функции
,
соответствующей энергии
,
в виде линейного разложения по решениям радиального уравнения Шредингера
и
сферическим гармоникам
:
позволяет произвести
разбиение общей плотности состояний на парциальные:
. (10)
Тогда выражение (8)
может быть представлено теперь как сумма парциальных плотностей состояний,
умноженных на соответствующие вероятности перехода:
, (11)
где l задает симметрию начального остовного состояния.
Важной особенностью
рентгеновских спектров поглощения является локальность электронных переходов в
свободные состояния зоны проводимости. Действительно, в выражение для
матричного элемента вероятности перехода входит
волновая функция
начального остовного состояния, локализованная вблизи ядра поглощающего атома.
Поэтому могут быть осуществлены переходы только в состояния с волновой
функцией, имеющей ненулевые значения вблизи атомного остова. Это означает, что
в процессе фотопоглощения основную роль играет только ближайшее окружение
поглощающего атома, и оправдано применение квазимолекулярного подхода. Так как
волновая функция конечного состояния зависит от результата интерференции
рассеянных электронных волн на ближайшем окружении поглощающего атома, тонкая
структура рентгеновских спектров поглощения несет информацию о кристаллическом
строении исследуемого вещества.
Расчет оптических
постоянных на основе экспериментальной зависимости коэффициента отражения
В основе рентгеновской
спектроскопии отражения лежит процесс фотопоглощения. При этом процессе под
действием падающих фотонов электроны из внутреннего уровня возбуждаются в
свободные состояния зоны проводимости. При электронном переходе меняется
волновая функция, т.е. изменяется пространственное распределение заряда -
происходит поляризация вещества. При релаксации системы происходит заполнение
вакансии на внутреннем уровне с излучением фотонов, которые образуют отраженную
волну. Ее интенсивность несет информацию о поглощательной способности вещества
и о способности поляризоваться под действием излучения, т.е. об оптических
постоянных вещества. Таким образом, появляется возможность определения
фундаментальных характеристик вещества непосредственно на основе
экспериментальных данных.
В области малых углов скользящего
падения можно не учитывать состояние поляризации излучения и описывать
отражение формулой Френеля:
, (12)
где
.
n
и k - вещественная и мнимая части коэффициента преломления
соответственно, и - угол скользящего падения.
Выражая комплексный
коэффициент отражения
через
его модуль
и
фазовый сдвиг волны
,
возникающий при ее отражении от поверхности твердого тела, можно получить:
(13)
Разделение уравнения
(13) на вещественную и мнимую части позволяет выразить величины a и b через экспериментальные
характеристики R и
:
. (14)
В данных выражениях
фигурирует величина фазового сдвига ш,
величина которого остается неизвестной при рефлектометрических измерениях. Величины R
и
связаны
между собой дисперсионным соотношением Крамерса-Кронига:
. (15)
Поскольку интеграл (15)
должен рассматриваться во всем интервале энергий от нуля до бесконечности,
неопределенность при определении фазового сдвига
может возникнуть из-за
ограниченности интервала энергий, в котором удается провести измерение
коэффициента отражения при заданном угле скользящего падения, т.е. фактически
интеграл (15) можно записать:
, (16)
где средний интеграл
вычисляется по экспериментально определенному спектру отражения
.
Для вычисления интегралов вне экспериментально определенной области необходимо
привлечение физически оправданных экстраполяций.
Мнимая часть коэффициента
преломления связана с линейным коэффициентом поглощения м следующим соотношением:
(17),
с его помощью
окончательно вычисляется спектр поглощения из спектра отражения.
2. Техника и методика
эксперимента
1. а) Экспериментальная
станция «REFLECTOMETER»
Экспериментальная станция «Рефлектометр»
(REFLECTOMETER) установлена на оптическом канале (Optics-Beamline) D-08-1B2
сконструированном на дипольном поворотном магните синхротрона BESSY-II.
Схематическое устройство оптического
канала приведено на рисунке 9.
Рисунок 9. Схематический вид
устройства оптического канала
Основные элементы канала:
тороидальное зеркало, расположенное перед монохроматором; диспергирующая
система - три сменяемые плоские дифракционные решетки, в сочетании с плоским
зеркалом; далее следует фокусирующее цилиндрическое зеркало, апертура и
выходная щель. Все зеркала канала имеют золотое покрытие. Радиальные размеры
светового пятна на образце составляют около 0.3 мм × 0.09 мм (горизонталь × вертикаль), а угловая
расходимость 3 × 1.5 мрад (горизонталь × вертикаль).
Тороидальное зеркало М1 расположено в вертикальной
плоскости и выполняет вертикальную коллимацию и горизонтальную фокусировку
пучка на образец. Зеркало М1 является
первым оптическим элементом в канале, поэтому чтобы избежать перегрева из-за
высокой интенсивности отражаемого излучения, имеет систему водяного охлаждения.
Угол скользящего падения на зеркало составляет приблизительно 2°. После зеркала
М1 коллимированный
пучок попадает на мононохроматор и вертикально диспергируется.
Основное назначение монохроматора -
выделение спектрально чистого излучения достаточной интенсивности и поддержание
достаточного спектрального разрешения в как можно более широкой области
энергий. В данном монохроматоре установлено 3 дифракционных решетки с различной
плотностью штрихов (150, 360 и 1228 штр./мм), оптимизированных для разных
диапазонов энергий (7 - 1000эВ, 18 - 2000эВ и 75 - 2000эВ соответственно), а
так же реализована возможность быстрой смены решеток без нарушения вакуума.
Сканирование по спектру в монохроматоре осуществляется за счет одновременного
вращения плоского зеркала М2 и
плоской решетки G вокруг фиксированных осей, при этом плоскость решетки всегда
остается параллельной плоскости зеркала. Диапазон изменения углов скользящего
падения на зеркало и решетку составляет 1.5° - 5.5°.
Рассмотренный монохроматор
обеспечивает проведение измерений в условиях высокого энергетического
разрешения. Так, например, при энергии 85эВ (в районе AlL2,3 края поглощения) и выходной щели 100 мкм энергетическое
разрешение составляет около 20 мэВ.
Отражаемое от решетки излучение
определенной длины волны л попадает на горизонтально отклоняющее цилиндрическое
зеркало М3, которое
вертикально фокусирует дифрагированное излучение на выходную щель. Угол
скользящего падения на фокусирующее зеркало зафиксирован и составляет 1.6°.
Зеркало М3 работает
в высоком отрицательном увеличении (уменьшает изображение) и, следовательно,
можно ожидать значительные кома - аберрации. Для уменьшения комы расстояние
зеркало - выходная щель максимально увеличено и составляет 11 м.
Дипольный поворотный магнит, на
котором построен оптический канал, обеспечивает горизонтально поляризованное
излучение с незначительной примесью циркулярной поляризации (порядка 5%).
Поскольку в камере отражения рефлектометра плоскость и ось вращения образца
расположены также в горизонтальной плоскости, излучение относительно
поверхности образца имеет s-поляризацию.
б) Камера отражения
Измерения зависимостей коэффициента
отражения проводились в камере отражения Рефлектометра. Схематическое
изображение основных элементов камеры приведено на рис. 10.
Рисунок 10. Схематический вид
основных элементов камеры отражения «Рефлектометр» (вид с боку). SH - держатель
образца, S - образец, D - система детекторов, A - система апертур, F - система
фильтров
Держатель образца (SH) устроен таким
образом, что позволяет устанавливать сразу три образца с максимальным размером
150×20 мм (длина×ширина). Система
перемещения держателя (перпендикулярно падающему пучку), позволяет менять
образец или исследуемый участок образца без нарушения вакуума. Аналогичное
перемещение позволяет полностью выводить держатель из излучения с целью записи
интенсивности падающего излучения. Вращение детектора и держателя образца
осуществляется относительно оси, перпендикулярной падающему пучку и лежащей в
плоскости, совпадающей с плоскостью поверхности исследуемого образца. Изменение
угла скользящего падения на образец и предусмотрено в диапазоне: от -90° до 90°
с высоким угловым разрешением (0.001°), а угла детектора 2и - от 0° до 360° с
шагом 0.0005°. На держателе детекторов (D) в плоскости падающего и отраженного
пучка последовательно установлены сразу несколько детекторов с входными окнами
разных диаметров (0.125 мм, 0.25 мм, 0.5 мм, 4 мм), в данной работе
использовался детектор с самым широким окном. В качестве детекторов
используются диоды GaAsP (Шоттки) с электрометром Keithley 617. Такая система
детекторов с учетом интенсивности падающего излучения обеспечивает диапазон
измерения порядка 108.
Управление всеми двигателями камеры и системой регистрации излучения
осуществляется посредством компьютера через программу SPEC.
Для ограничения размеров падающего
пучка в «Рефлектометре» установлена система апертур (A), обладающих различными
диаметрами (0.14 мм - 2.5 мм). Для подавления высоких порядков дифракции в
падающем излучении была разработана, установлена и апробирована система
фильтров поглощения (F).
Система вакуумной откачки позволяет
получать в канале вакуум порядка 10-9 - 10-10
мБар, а в камере отражения порядка 10-7мБар.
2. Спектрометр ультрамягкого
рентгеновского излучения PCM-500
Принципиальная схема рентгеновского
спектрометра-монохроматора РСМ-500 приведена на рисунке 11. В этом приборе
рентгеновская трубка A и входная щель S1 неподвижны. Диспергирующим элементом
является дифракционная решетка D, которая вместе с приемной щелью S2 и входной щелью S1 находится на круге
фокусировки Роуланда с радиусом, равным половине радиуса кривизны решетки R0. Сканирование спектра
осуществляется путем изменения скользящего угла падения излучения на
дифракционную решетку ц при сохранении угла дифракции ш = const.
Рисунок 11. Принципиальная
схема рентгеновского спектрометра монохроматора РСМ-500. APBS1DFS2L
- путь центрального рентгеновского пучка; А - источник излучения; P
- разделительная щель; В-фокусирующее зеркало; S1 - входная щель; D -
дифракционная решетка; F - диафрагма; S2 - приемная щель; L -
камера-приставка отражения; и - угол скользящего падения излучения на
фокусирующие зеркало, цо -
угол скользящего падения на дифракционную решетку, ш - скользящий угол
дифракции излучения (const)
Кинематически это
осуществляется следующим образом: дифракционная решетка D движется по
прямой S1G, а приемная щель S2 - по прямой S1H,
при этом решетка поворачивается так, что скользящий угол дифракции ш остается
постоянным. Угол между прямыми S1G и S1H,
равный углу дифракции ш может изменяться от 0° до 6°, что позволяет в принципе
использовать решетки разных радиусов кривизны. Для увеличения светосилы
спектрометра фокусирующий фильтр-отражатель B сделан в виде вогнутого
сферического зеркала с радиусом кривизны R, которое установлено таким образом,
что входная щель, фильтр-отражатель и фокальное пятно анода рентгеновской
трубки оказываются на круге фокусировки радиуса
.
Источником излучения в
спектрометре РСМ-500 является разборная рентгеновская трубка. Водоохлаждаемый
анод рентгеновской трубки представляет собой полый цилиндр, заканчивающийся
призмой, в отдельные грани которой можно монтировать пластинки различных
веществ. Питание рентгеновской трубки осуществляется от высоковольтного
источника питания со стабилизатором анодного тока.
С помощью
фильтра-отражателя эмитирующий участок анода рентгеновской трубки фокусируется
на входную щель спектрометра. Это зеркало выполняет две функции:
. предохраняет дифракционную
решетку от загрязнений, которые возможны при первичном способе возбуждения
рентгеновских эмиссионных спектров;
. фильтрует (подавляет)
коротковолновую составляющую излучения рентгеновской трубки. Это излучение,
отраженное дифракционной решеткой в высших порядках дифракции, может наложиться
на исследуемый участок спектра и существенно исказить его.
В основе работы
фильтра-отражателя лежит явление полного внешнего отражения рентгеновских лучей
от поверхности твердого тела. Так как явление полного внешнего отражения
излучения данной длины волны возникает лишь при углах скольжения, меньших
критического, а величина критического угла возрастает с увеличением длины
волны, то для каждого заданного угла скольжения длинноволновая часть излучения
будет отражена, а коротковолновая часть войдет в материал отражателя и
поглотится им. Поверхность фильтра-отражателя покрыта полистиролом для лучшего
поглощения коротковолнового излучения.
В спектрометре
используется стеклянная дифракционная решетка типа «эшелетт». Для исключения
структуры стекла возникающей в измеряемых спектрах, а также для улучшения
отражательной способности на дифракционную решетку вакуумным напылением нанесен
слой золота толщиной 50 нм. В спектральном диапазоне прибора ход коэффициента
отражения золота не имеет резких изменений.
В эксперименте
осуществляется раздельная откачка объемов рентгеновской трубки и спектрометра
системой из двух паромасляных (диффузионных) насосов Н-1с-2 и одного
форвакуумного насоса 2НВР-5ДМ. При этом рабочий вакуум в объеме рентгеновской
трубки был порядка 2*10-6мм.рт./ст,
а в объеме спектрометра порядка 2*10-5мм.рт./ст.
Разрешающая способность
прибора определяется в основном шириной входной и приемной щелей. В
роуландовской установке элементов спектрометра ширина приемной щели выбирается
равной ширине входной щели.
Аппаратурное разрешение
Дл спектрометра с вогнутой дифракционной решеткой определяется так:
(18)
где S - ширина щелей; n
- порядок дифракции; p - плотность штрихов; R - радиус кривизны решетки.
При исследовании
спектров отражения регистрируется излучение 1-ого порядка дифракции
дифракционной решетки p = 600 штр./мм и R = 2000 мм при ширине щелей
спектрометра S = 30 мкм. Минимально разрешаемый интервал длин волн Дл
составляет при этом величину 0.27Å.
Волновое разрешение Дл спектрометра может быть легко пересчитано в
энергетическое ДE посредством следующего соотношения:
(19)
Таким образом, ДE ~ 0.22
эВ вблизи SiL2,3 -края
поглощения (100 эВ) и ДE ~ 0.13 эВ в районе AlL2,3 - края поглощения (75 эВ).
Измерения угловых и
спектральных зависимостей коэффициентов отражения ультрамягкого рентгеновского
излучения от поверхности твердых тел проводятся в специальной камере-приставке
к РСМ-500. В вакуумном объеме камеры-приставки (рисунок 12) расположена
платформа, на которой установлен держатель образца. Изменение угла скользящего
падения на образец осуществляется путем поворота платформы вокруг собственной
оси. Вокруг этой же оси поворачивается рычаг, на котором установлен умножитель
ВЭУ-6 с фотокатодом CsI, служащий детектором отраженного излучения. Вращение
детектора может осуществляться независимо от вращения образца. Использование в
установке вакуумных вводов позволяет без нарушения вакуума в приборе изменять
угол скользящего падения излучения на образец и положение детектора.
Рисунок 12. Схематический
вид камеры отражения
В работе используются
два детектора излучения (два умножителя ВЭУ-6). Первый детектор (D1)
регистрирует падающее на образец излучение I0 и размещается сразу после приемной щели S2 в объеме спектрометра.
Второй детектор (D2), размещенный в объеме камеры-приставки,
регистрирует отраженное и рассеянное излучение. Благодаря тому, что фотокатод
первого детектора выполнен в виде горизонтальной решетки и пропускает около 75%
излучения, возможно использование в установке двух детекторов одновременно.
Одновременная регистрация и падающего, и отраженного излучения позволяет
отслеживать и учитывать флуктуации интенсивности рентгеновской трубки. Сигнал с
детекторов выводится на компьютер через устройство АЦП. Через это же устройство
осуществляется управление шаговыми двигателями, отвечающими за поворот
детектора и образца, а также сканирование по энергии. Коэффициенты отражения R
рентгеновского излучения от поверхностей отражателей определяются как отношение
интенсивностей отраженного IR и
падающего I0 пучков
(
)
с учетом поправки б(E) на различие эффективностей детекторов. Величина
параметра б(E) определяется путем сравнения интенсивностей падающего пучка,
измеренных обоими детекторами в отсутствии образца.
Тонкая структура спектров отражения
изучается с использованием тормозного спектра вольфрамового анода рентгеновской
трубки, работающей в режиме U = 4кВ и IA = 100мА. При таком режиме анод в процессе генерации
тормозного спектра разогревается добела (t ~ 1500°C), что обеспечивает чистоту
поверхности анода и, следовательно, стабильность интенсивности тормозного
спектра.
Градуировка спектрометра
осуществляется по характеристическим линиям вольфрама (материал анода
рентгеновской трубки).
2.1 Условия синтеза
образцов
Пористый SiO2 был получен методом «spin-on» из жидкой фазы с последующим высушиванием в инфракрасной печке.
Диаметр пор составлял 2 нм. Пленки Al2O3 синтезировались на
подложке пор-SiO2 методом МН. Во время
синтеза температура подложки была равна 280°C. Цикл МН состоял из двух реакций,
в первой в качестве прекурсора использовался триметилалюминий (Al(CH3)3), а во второй пары воды. Температура
реагента была равна 22°C.
Диоксид кремния SiO2

а) б)
Рисунок 13. а) SiL2,3-спектры отражения пористого SiO2 (и=4º), б-кварца и аморфного SiO2 (и=12º). Спектр пор-SiO2 измерен с использованием СИ, спектры б-кварца и аморфного SiO2 с использованием тормозного излучения рентгеновской трубки. б) SiL2,3-спектры поглощения пористого SiO2, б-кварца и аморфного SiO2, рассчитанные из
измеренных спектров отражения (13a). Все спектры нормированы по интенсивности пика b
На рисунке 13а представлены Si L2,3 - спектры отражения пористого SiO2, б-кварца и аморфного SiO2. Спектр пористого SiO2 измерен с использованием синхротронного излучения (в центре
синхротронного излучения BESSYII) при угле скользящего падения 4о спектры б-кварца и
аморфного SiO2 измерялись на
спектрометре РСМ-500 при угле скользящего падения 12о. Спектры
поглощения б-кварца, аморфного и пористого SiO2, рассчитанные с помощью дисперсионного соотношения
Крамерса-Кронига по экспериментальным спектрам отражения представлены на
рисунке 13б. Для всех спектров характерно наличие основных деталей структуры a, b, c. В рамках квазимолекулярного
подхода эти детали можно связать с переходами в возбужденные состояния кластера
[SiO4]4-: 6a1(Si3s), 6t2(Si3p), 2e(Si3d), соответственно [18, 19]. В скобках указаны атомные орбитали
иона Si, с которыми генетически связаны соответствующие молекулярные
орбитали. При совместном рассмотрении спектров можно выявить следующие
характерные черты. Ширина пика b последовательно увеличивается в ряду б-кварц, аморфный, пористый SiO2. При этом деталь b в спектре пористого SiO2 имеет такую большую
ширину, что происходит перекрытие детали a с ней. Во всех спектрах
присутствует расщепление детали a на два пика из-за спин-орбитального взаимодействия электронов на
начальном 2p-уровне. Пик c в спектре б-кварца имеет большую контрастность и наименьшую ширину, при этом
четко видны дополнительные детали структуры c'' и c'. В спектре аморфного SiO2 пики c и c'' сливаются и образуют одну уширенную полосу, сдвинутую в сторону
больших энергий, деталь c' имеет существенно
меньшую амплитуду по сравнению с б-кварцем. Аналогичная тенденция наблюдается для пиков c и c'' в спектре пористого SiO2, но в этом случае пики c и c'' все же различаются как разные. Пик c' выражается лишь в слабом искажении формы правого края пика b в районе 110 эВ из-за большой
ширины последней.
Может показаться странным, почему
пик b во всех рассмотренных SiL2,3 -спектрах поглощения
имеет существенно большую интенсивность, чем остальные детали спектра.
Напомним, что пик b генетически связан с переходами в молекулярное состояние T2, основной вклад в которое дают Si 3p - атомные состояния. Другими
словами переход носит p → p характер, запрещенный обычно по дипольным
правилам отбора ДL=±1, где L - орбитальное квантовое число.
Такое требование возникает как условие неравенства нулю матричного элемента
оператора дипольного момента в выражении для вероятности перехода
,
Где
и
-
начальное и конечное состояния электрона,
- плотность состояний.
Так как оператор дипольного момента нечетен, то волновые
функции начального и
конечного состояния должны обладать разной четностью, иначе матричный элемент
обратится в нуль вместе с вероятностью перехода. Последнее требование на
волновые функции имеет смысл для систем с центром инверсии, таких как атом,
например, где вообще возможно говорить о четности волновых функций. У всех же
модификаций диоксида кремния кроме стишовита атом кремния находится в
тетраэдрическом окружении, не имеющем центра инверсии. По этой причине молекулярные
орбитали в б-кварце ни четны ни нечетны, и, стало быть, правило ДL=±1 не имеет смысла, и p → p переходы разрешены [19]. В
указанной статье авторы приводят экспериментальное доказательство этого
утверждения. Ими произведены вычисления многократного рассеяния для SiL2,3-края поглощения б-кварца.
Вычисления велись с учетом рассеяния фотоэлектронов только на первой
координационной сфере. При этом отдельно рассчитаны вклады для переходов в p- и s+d - состояния. Ясно видно, что основной вклад в деталь b дают именно переходы в p
- состояния. В другой статье тех же авторов [20] приводится аналогичный расчет
только с учетом рассеяния уже на семи первых координационных сферах (рисунок
14). В итоге, при учете рассеяния на дальнем окружении кривая для p-состояний заметно изменяет свою форму, а кривая для s+d - состояний остается неизменной. Из этого факта можно сделать
однозначный вывод о том, что s-
и d-состояния зоны проводимости локализованы внутри тетраэдра [SiO4]4-, и, следовательно, вклад в молекулярные орбитали,
связанные генетически с этими состояниями, дают только атомные орбитали
ближайшего окружения атома Si.
Поэтому s+d - парциальная плотность состояний не зависит от взаимной
ориентации тетраэдров и наличия или отсутствия дальнего порядка в SiO2. p-состояния, напротив,
сильно делокализованы, и их парциальная плотность состояний поэтому зависит от
упорядоченности тетраэдров друг относительно друга.
Рисунок 14. Расчеты
многократного рассеяния [20] для кластера SiO4
(b) и расширенного кластера, включающего 7 первых коорд. сфер (с).
Представлены отдельно вклады d+s состояний p состояний, а также их линейная
комбинация (кривая LC)
В главе 1 упоминалось,
что ближняя тонкая структура спектра поглощения напрямую (при учете вероятности
перехода) связана с распределением свободных состояний в зоне проводимости.
Обратимся поэтому к теоретическим расчетам парциальных плотностей состояний для
интерпретации деталей тонкой структуры наших спектров.
В работе [4] произведен
расчет p- и s+d-парциальных плотностей свободных состояний в зоне проводимости
для б-кварца.
Рисунок 15. Рассчитанные
в [4] парциальные p- и s+d - плотности состояний в зоне проводимости для б-кварца. Для удобства восприятия p-
и s+d - кривые умножены на некоторые коэффициенты. Также на рисунке
наложены спектры поглощения пористого SiO2,
б-кварца и аморфного SiO2,
уже приводившиеся на рисунке 13
Кривая для p-состояний в целом повторяет по форме полосу, включающую детали b, c', c, c'': пику b соответствует узкий и большой по амплитуде пик, детали c' соответствует широкая и пологая полоса, детали c соответствует сдвинутый на 0,9 эВ в сторону больших энергий
максимум, детали c'' соответствует
максимум схожей формы. У кривой для s+d-состояний имеется два четких пика, по энергетическому положению
совпадающих с положениями деталей b
и c. Между этими пиками в районе полосы c'
есть небольшой максимум. Около полосы c''
на данной кривой никаких максимумов нет. Приведенный совместный анализ
указывает на то, что деталь c''
полностью определяется переходами в делокализованные p-состояния,
а деталь c связана частично с переходами в p-состояния
и частично в s+d-состояния. При отсутствии дальнего порядка в SiO2 эти полосы должны образовать одну уширенную и слегка сдвинутую в
сторону больших энергий полосу, что и наблюдается в спектре аморфной пленки SiO2. Таким образом, существование отдельной детали c'' может быть связано с существованием дальнего порядка. Деталь c' в спектре поглощения аморфной пленки, как отмечалось в начале,
различима, но ее контрастность меньше, чем в спектре б-кварца.
Это обусловлено тем, что пологий максимум в p-плотности
состояний, соответствующий этой детали, при отсутствии дальнего порядка
перестанет давать существенный вклад в деталь c',
и, следовательно, ее контрастность будет определяться только s+d-вкладом. Так как в формирование детали b
существенен вклад p-состояний, ее ширина
должна увеличиваться при нарушениях упорядоченности в окружения атома Si.
Связав вид деталей
структуры b, c', c, c'' с упорядоченностью в
расположении тетраэдров относительно друг друга в диоксиде кремния, обратимся
теперь к интерпретации SiL2,3-спектра
поглощения пористого диоксида кремния. То, что детали c
и c'' почти сливаются в одну полосу, но все-таки различимы в спектре
пор-SiO2, свидетельствует о существовании в образце какой-то степени
дальнего порядка, сильно нарушенного пористостью. При этом деталь b заметно шире, чем в спектре аморфной пленки SiO2, что может показаться странным, принимая во внимание наличие черт
дальнего порядка в пористом SiO2.
Ведь для аморфной пленки детали c
и c'' уже не разрешались как отдельные. Предположительно такая
большая ширина детали b
в спектре пористого SiO2
может быть связана с наличием огромного числа оборванных связей,
обусловленных пористостью материала.
На рисунке 16 представлен AlL2,3 - спектр поглощения б-Al2O3 (корунда) [13]. В
работе [21] в рамках SCF - Xб кластерного метода рассеянных волн произведен расчет
молекулярных орбиталей (МО) для октаэдрического кластера AlO6-9, и показано, что детали
a и b могут быть связаны с электронными
переходами в состояния 7a1g(Al 3s) и 2t2g(Al 3p). В скобках указаны атомные орбитали (АО) атомов Al, дающие основной вклад
в соответствующие МО.
Рисунок 16. Спектр поглощения
корунда б-Al2O3, измеренный методом
квантового выхода внешнего рентгеновского фотоэффекта [13]
Так как деталь b связана с p → p-образными переходами, запрещенными дипольными правилами отбора в
центросимметричных системах, таких как октаэдр AlO6-9, ее интенсивность
существенно меньше, чем у детали a. Энергетическое расщепление между деталями a и b составляет 0,9 эВ. Наличие деталей c и c’, согласно работе [22], может быть
связано с наличием дальнего порядка в кристаллической структуре б-Al2O3. Деталь d имеет дублетный характер с расщеплением порядка 4 эВ, так как она
соответствует переходам в 3d-образные состояния атома Al, испытывающие
расщепление по энергии полем атомов окружения (октаэдрического).
Рисунок 17. Спектр поглощения
аморфного Al2O3, измеренный методом
квантового выхода внешнего рентгеновского фотоэффекта
На рисунке 17 представлен AlL2,3-спектр поглощения аморфного оксида алюминия [13]. В работе [23] в
рамках того же метода произведен расчет МО для тетраэдра AlO4-5, и показано, что детали
a' и b' связаны с переходами в состояния 6a1(Al 3s) и 6t2(Al 3p), соответственно. Энергетическое
расщепление между деталями a' и b' существенно больше, чем для корунда и равно 2.5 эВ. Авторы [13]
объясняют это уменьшением эффективного заряда на атоме Al в аморфном Al2O3. Деталь d не расщеплена, что не противоречит утверждению авторов, о том,
что аморфный Al2O3 преимущественно состоит
из тетраэдров. Детали c и c' существенно меньше, чем в спектре корунда, что говорит о
нарушенности дальнего порядка в аморфном Al2O3.
На рисунке 18 представлен AlL2,3-спектр поглощения г-Al2O3 [13] вместе с уже
приводившимися спектрами аморфного Al2O3 и корунда. Все спектры
измерены методом квантового выхода внешнего рентгеновского фотоэффекта с
разрешением 0.3 эВ.
Рисунок 18. Спектры
поглощения б, г-Al2O3 и аморфного Al2O3 [13]. Все спектры приведены по интенсивности полосы b
В ряду am-Al2O3, г-Al2O3, б-Al2O3 изменяется соотношение октаэдрических и тетраэдрических
координаций атомов алюминия (увеличивается количество октаэдров), образующих
структуру. При этом отношение интенсивностей деталей a и b также возрастает: a/bam=0.68, a/bг=0.77, a/bб=1.65. Естественно связать величину данного отношения с
содержанием тетраэдров и октаэдров: чем отношение больше, тем больше доля
октаэдрических окружений. Также из представленного рисунка видно, что для
каждой кристаллической модификации характерно свое энергетическое расстояние
между деталями a и b: 2.5, 1.6, 0.9 эВ для am-, г-, б-Al2O3, соответственно. Авторы
[13] связывают такую закономерность с изменением эффективного заряда на атоме Al. Действительно, у
разных кристаллических модификаций различен угол Al-O-Al, а от этого должна
зависеть величина эффективного заряда. При этом в первом приближении можно
считать, что величина расщепления Дa-b зависит непосредственно от типа кристаллической структуры, а не
от содержания тетраэдров и октаэдров, так как изменение последнего вносит лишь
некоторые нарушения структуры, не меняя ее существенно. В среднем угол Al-O-Al остается прежним. Таким
образом, отношение интенсивностей деталей a и b связано с содержанием
тетраэдрических и октаэдрических координаций, величина расщепления несет
информацию о типе кристаллической структуры, характер полос с и c’ связан с наличием или отсутствием
дальнего порядка.
Все приводящиеся ниже спектры
отражения пленок Al2O3 измерены с
использованием синхротронного излучения в центре BESSY II с энергетическим
разрешением порядка 20 мэВ.

а) б)
Рисунок 19. а) Спектры
отражения (и=2.5º) в районе AlL2,3 края поглощения пленок Al2O3 с толщинами 13, 8.5, 4.5 нм, синтезированных на пор-SiO2 методом молекулярного наслаивания. б) Представлены рассчитанные спектры
поглощения, приведенные по интенсивности полосы b
На рисунке 19 приведены спектры
отражения пленок Al2O3 различной толщины (13, 8.5 и 4.5
нм) в области AlL2,3-края поглощения, синтезированных на пор-SiO2.
Измерения проводились при угле скользящего падения 2,5°. При выбранном угле
скользящего падения доля излучения, доходящего до подложки через самую тонкую
пленку Al2O3 толщиной 4.5 нм, не превышает 6%. Поэтому
можно предположить, что представленные спектры не искажены интерференцией волн,
отраженных от поверхности пленки и подложки. В этом случае использование
дисперсионного соотношения Крамерса-Кронига для расчета спектров поглощения
вполне оправдано. Рассчитанные спектры представлены на рисунке 19 б). Спектры
приведены по интенсивности пика b. Во всех спектрах расстояние между деталями a
и b составляет ∆E=2.7 эВ, что хорошо коррелирует с величиной ∆E=2.8
эВ для аморфного Al2O3 [24], и, как следствие, указывает
на аморфность исследованных пленок. Также на аморфность указывает отсутствие
деталей с и c’. Деталь d не расщеплена, что говорит о большой доле тетраэдров.
Как следует из рисунка 19 б), с
ростом толщины пленки увеличивается отношение интенсивностей деталей a/b, которое составляет a/b4,5нм=0.45, a/b8,5нм=0.53, a/b13нм=0.68. Представленный
выше анализ позволяет предположить, что наблюдаемое изменение соотношений
интенсивностей пиков a и b является следствием изменения соотношения вкладов от
тетраэдрических и октаэдрических координаций, образующих пленку Al2O3. Предположительно для более толстой пленки характерно большее
число октаэдрических координаций. Полученный результат интересно сопоставить с
результатом, представленным в статье [25]. Авторы провели измерение спектра
поглощения для монослоя Al2O3 толщиной 5Å, выращенного на Si(111). При сопоставлении
данного спектра со спектрами массивной пленки аморфного Al2O3 и б-Al2O3 авторы делают вывод о
том, что при синтезе пленки на кремниевой подложке пленка Al2O3 на начальной стадии роста в основном состоит из октаэдров. При
увеличении толщины пленки увеличивается доля тетраэдрических координаций. Как
следует из наших результатов, рост пленки Al2O3 на пористом SiO2 начинается с избытка
тетраэдров. По мере увеличения толщины пленки растет количество октаэдрических
координаций и при толщине пленки 13 нм достигается соотношение долей тетраэдров
и октаэдров, характерное для массивной аморфной пленки Al2O3. Для этой толщины отношение интенсивностей деталей a/b совпадает с отношением a/b в спектре массивного am-Al2O3 [13]. Данные спектры приведены вместе на рисунке 20.

Рисунок 20. Спектры
поглощения аморфного Al2O3 [13] и 13 нм пленки Al2O3, выращенной на пористом SiO2. Спектры приведены по
полосе b
Из рисунка видно, что в нашем
спектре поглощения детали с и c’полностью отсутствуют. В спектре поглощения работы [13] детали с
и c’ явно
прослеживаются, что указывает на существование некоторой степени
упорядоченности в стуктуре am-Al2O3. Вероятно по этой
причине расщепление Д a - b в спектре поглощения [13] на 0.2 эВ меньше.
а) б)
Рисунок 21. а) Спектры
отражения (и=2.5º) пленок Al2O3 c толщинами 13 и 32 нм, синтезированных на Si-подложке. б)
Рассчитанные спектры поглощения, приведенные по интенсивности полосы b
На рисунке 21 а) приведены спектры
отражения в области AlL2,3-края поглощения для пленок Al2O3 толщиной 13 и 32 нм, синтезированных на кремниевой подложке.
Измерения также проведены при угле скользящего падения 2,5º. В случае пленки
толщиной 13 нм доля излучения, доходящего до подложки, не превышает 0,5%.
Спектры поглощения, рассчитанные из спектров отражения приведены на рисунке 2
б). Отношения интенсивностей деталей a и b в приведенных спектрах
составляют a/b13=0,60, a/b32=0,63. В пределах погрешности эти значения можно считать
одинаковыми. Значит, структура пленки, синтезированной на кремнии, не меняется
при увеличении толщины, начиная с, по крайней мере, 13 нм.

а) б)
Рисунок 22 а) Спектры
отражения (и=4º)
пленок Al2O3 толщиной 13 нм,
выращенных на пористом и термическом SiO2, а также на
кристаллическом Si. б) Рассчитанные спектры поглощения, приведенные по интенсивности
полосы b
На рисунке 22 а) приведены спектры
отражения в области AlL2,3-края поглощения для пленок Al2O3 толщиной 13 нм, синтезированных на различных подложках: пор-SiO2, термическом SiO2 и Si. Измерения проведены
для угла скользящего падения 4º. Так как в представленных спектрах интерференционные эффекты не
наблюдаются (до подложки доходит не больше, чем 0,5% излучения), были
рассчитаны спектры поглощения, представленные на рисунке 22 б). Отношение
интенсивностей деталей a/b в пределах погрешности
одинаково для всех образцов и равно 0.6, что соответствует значению для
аморфной пленки. Это еще раз подтверждает установленный факт, что по крайней
мере при достижении толщины 13 нм структура аморфной пленки уже не зависит от
материала подложки.
Поскольку толщинный эффект (в
диапазоне маленьких толщин пленок) был обнаружен при формировании пленки Al2O3 на пористом SiO2, возникает вопрос о
сплошности выращенных пленок, т.е. была ли сформирована сплошная пленка или
просто происходило заполнение пор.
Рисунок 23. Спектры отражения
(и=2.5º) в области SiL2,3-края пленок Al2O3 с
толщинами 13, 8.5, 4.5 нм, выращенных на пористом SiO2, и спектр
самой подложки
На рисунке 23 приведены спектры
отражения в области SiL2,3-края поглощения для пленок Al2O3
различной толщины (13, 8.5, 4.5 нм), синтезированных на пористом SiO2,
и для самого пористого SiO2. Измерения проведены при угле
скользящего падения 2,5º. Видно, что контрастность тонкой структуры в районе SiL2,3-края
поглощения в спектрах отражения пленок Al2O3 существенно
меньше по сравнению со спектром отражения для пористой подложки. Спектры
отражения пленок Al2O3 в рассматриваемой спектральной
области по форме повторяют спектр отражения подложки. В то же время, по мере
увеличения толщины пленки контрастность тонкой структуры заметно уменьшается.
Отмеченные закономерности позволяют с уверенностью сделать вывод о сплошности
пленок Al2O3.
Выводы
1. Освоен метод
рентгеновской спектроскопии отражения; измерены спектры отражения пленок Al2O3 различной толщины, синтезированных методом молекулярного
наслаивания на подложках из различных материалов, при использовании
синхротронного излучения. На основе измеренных спектров отражения рассчитаны
спектры поглощения при использовании дисперсионного соотношения
Крамерса-Кронига.
2. Проведен анализ полученных
экспериментальных данных. Установлено, что, все изученные пленки являются
аморфными и, начиная с толщины 13 нм, структура пленки не зависит от материала
подложки.
3. Установлена зависимость
структуры тонких пленок Al2O3, синтезированных на
подложке пористого SiO2, от их толщины.
Показана сплошность изученных тонких пленок.
. Установлено, что на
начальной стадии роста на пористом SiO2 в пленке присутствует
избыток тетраэдров. В то же время, при синтезе пленки на кремниевой подложке
пленка Al2O3 на начальной стадии
роста в основном состоит из октаэдров.
оптический
отражение корунд пленка
Литература
[1] K. Maex, M.R. Baklanov, D. Shamiryan, J. Appl. Phys 93,
(2003) 8974-8841;
[2] The National Technology Roadmap for Semiconductors, (1997)
SEMATECH;
[3] Sokrates, T. Pantelides, phys. Rev. B 13, (1975)
2667-2691;
[4] Shang-Di Mo, W.Y. Ching, J. Appl. Phys 78, (2001) 3809-3811;
[5] Е.А. Порай-Кошиц, Физика и химия стекла 3, (1977)
292;
[6] http://www.webmineral.com;
[7] R.L. Mozzi, B.E. Warren, J. Appl. Crystallogr. 2, (1969) 164;
[8] А.Р. Силинь, Н.А. Трухин, Точечные дефекты и элементарные
возбуждения в кристаллическом и стеклообразном SiO2, Рига, «Зинатне» (1985), 244;
[9] W.Y. Ching, Lizhi Ouyang, Paul Rulis, phys. Rev. B 78, (2008) 014106;
[10] М.П. Шаскольская, Кристаллография, М., Высшая школа (1984);
[11] G. Gutierrez, A. Taga, B. Johansson, phys. Rev. B 65,
(2001) 012101;
[12] K. Kimoto, Y. Matsui, T. Nabatame, Appl. Phys. Lett. 83, (2003) 24;
[13] И.А. Брытов, Ю.Н. Ромащенко, Физика твердого тела 20,
(1978) 664-672;
[14] G. Gutierrez, phys. Rev. B 65, (2001) 104202;
[16] Эйхенвальд Ф.Ф., ЖРФХО 41, (1909) 131;
[17] Е.О. Филатова, А.С. Шулаков, В.А. Лукьянов, Физика твердого
тела 40 (1998) 1360-1363;
[18] Dien Li, G.M. Bancroft, M. Kasrai, American Mineralogist 79,
(1994) 622-632;
[19] P.L. Hansen, R. Brydson D.W. McComb, Microsc. Microanal.
Microstruct. 3, (1992) 213 - 219;
[20] D.W. McComb, R. Brydson, P.L. Hansen, R.S. Payne, J.
Php: Condens. Matter 4 (1992) 8363-8374;
[21] J.A. Tossel, J. Phys. Chem. Solids. 36, (1975)
1273428;
[22] A. Balzarotti, A. Biankoni, E. Burattini, Phys. Stat. Sol.
(b) 63, (1974) 77-87;
[23] J.A. Tossel, J. Am. Chem. Soc. 97 (1975) 4840;
[24] E.O. Filatova, V.A. Luk’anov, R.
Barchewitzet, J. Phys. Condens. Matter. 11,
(1999) 3355;