Аксиально-плунжерный насос с наклонным диском
Исходные данные
Задание
. Выполнить статический расчёт
гидромашины, т.е. рассчитать основные конструктивные и рабочие параметры.
. Просчитать конструктивные
параметры распределительного узла на ЭВМ (Gidracs).
. Выбрать оптимальные значения этих
конструктивных параметров.
. Занести оптимальный параметр в
базы данных.
. Распечатать результаты и
представить их в виде таблиц.
. Выполнить сборочный чертёж.
. Выполнить деталирование ходовой
части аксиально-плунжерной гидромашины.
. Выполнить плакат.
Задание
Рассчитать основные параметры
аксиально-поршневого(плунжерного) насоса с наклонным диском с точечным касанием
плунжеров. По полученным данным построить эскиз машины.
Исходные данные:= 33 см3/об;= 25 Мпа;=
3000 об/мин.
Введение
Аксиально-поршневые гидромашины при
передаче равной мощности по сравнению с другими поршневыми гидромашинами
отличаются наибольшей компактностью и, следовательно, наименьшей массой. Имея
рабочие органы с малыми радиальными габаритными размерами и, как следствие, с
малым моментом инерции, они способны быстро изменять частоту вращения вала.
Специальные свойства аксиально-поршневых гидромашин обусловили их широкое
применение в качестве регулируемых и нерегулируемых насосов и гидромоторов для
гидропередач, обслуживающих подвижные комплексы (дорожные, строительные,
транспортные машины, авиационные и судовые системы), а так же в следящих
гидроприводах большой точности.
Характерным признаком гидромашин с
наклонной шайбой является жесткая связь между валом и блоком цилиндров или
между валом и шайбой.
Рабочая поверхность наклонной шайбы
неподвижна по отношению к ротору или вращается с небольшой скоростью. Поршни
гидромашины не связаны с наклонной шайбой; они выполняются без шатунов и имеют рабочий
элемент, который скользит по поверхности наклонной шайбы или катится по ней.
Такие поршни называют плунжерами.
Рабочий элемент плунжеров может
быть выполнен сферическим, как показано на рис.1, а, или в виде подпятника
гидродинамического или гидростатического типа (рис.1, б, в, г).
Рис.1. Виды плунжеров:
а - со сферической головкой; б,
в - с гидродинамическими подпятниками;
г - с гидростатическим
подпятником.
Для прижатия плунжеров к
поверхности наклонной шайбы используют повышенное давление на стороне
всасывания или специальные пружины в рабочих цилиндрах гидромашины. Для
прижатия подпятников плунжеров к поверхности наклонной шайбы применяют
сепараторы различной конструкции.
Гидромашины с наклонной шайбой
обеспечивают большие расходы и давления при минимальных размерах и небольшой
массе. Для таких гидромашин характерны простота конструкции и высокая
технологичность.
Современные насосы и гидродвигатели с наклонной
шайбой работают при давлении р = 35,0...45,0 МПа, а в перспективе смогут
работать при давлении до p = 50,0...70,0 МПа.
Таким образом, аксиально-поршневые гидромашины с
наклонным диском наиболее просты в изготовлении, благоприятны по нагруженности
подшипников, имеют малые габаритные размеры и удобную для встраивания форму,
легко регулируются, однако уступают другим типам роторно-поршневых гидромашин
по КПД.
1. Конструкторская часть
.1 Описание конструкции
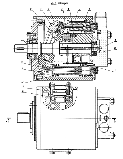
Регулируемый насос(рис.2)
представляет собой роторную аксиально-плунжерную машину с наклонным опорным
диском и плоским торцовым распределителем. Насос предназначен для эксплуатации
в закрытых гидросистемах или в открытых контурах с подпиткой линии всасывания.
Вращение вала 13 через шпонку 30 передается
барабану 4, который поводком 31 осуществляет ведение блока цилиндров 5. В силу
наклонного расположения опорного диска 7 толкатели 9 и плунжеры 8 совершают
сложное движение: вращательное - вокруг вала насоса и возвратно-поступательное
- относительно стенок блока цилиндров. При этом камеры цилиндров в течение
первой половины оборота вала увеличивают свой объем и заполняются рабочей
жидкостью, а за время второй половины оборота уменьшаются и плунжеры вытесняют
жидкость в напорную гидролинию насоса. Напорная и всасывающая линии
гидросистемы подключаются к штуцерам 14 задней крышки 2, выполняющей функции
распределителя. Опорный диск 7 насоса выполнен в виде радиально-упорного
подшипника, размещенного во внутренней расточке шайбы 3. Шайба 3 установлена в
подшипниковых опорах 17 на неподвижных цапфах 12. Регулирование рабочего объема
насоса осуществляется поворотом шайбы вокруг горизонтальной оси с помощью
цилиндра управления 6. Пружины 29, поршни 10 и стержни 11 стремятся развернуть
шайбу на максимальный угол наклона. С противоположной стороны на шайбу
воздействует гидроцилиндр управления. Таким образом, угол наклона шайбы
однозначно определяется величиной давления в линии управления. Насос
комплектуется блоком управления, поддерживающим постоянное давление в линии
нагнетания. Крепление блока управления к насосу осуществляется с внешней
стороны задней крышки 2.
Рис.2. Регулируемый насос типа 2Г
.2 Предварительный расчёт
Диаметр плунжера (поршня) определяем
выражением
:
где
- диаметр поршня;
- рабочий объём насоса;
- безразмерные коэффициенты;
- число поршня;
- угол наклона диска.
мм.
По ГОСТ 12447-80 округляем диаметр
поршня до ближайшего
мм.
Определяем площадь поршня
:
;
мм2.
Определяем диаметр разноски осей
отверстий в блоке цилиндров
, который находиться из формулы
рабочего объёма 
:
;
мм.
Рис. 3. Основные расчетные размеры
блока цилиндров
Определяем толщины условной
толстостенной трубы
и размера
перемычки 
:
,
,
мм,
мм.
Проверка выполнения условия
прочности
:
;
МПа,
где
- напряжения растяжения стенок
толстостенной трубы.
Проверка выполнения условия
жёсткости
;
мкм,
где
- расчётное значение деформации;
Е - модуль упругости материала блока
цилиндров;
- коэффициент Пуассона.
Сравниваем полученные значения
и
со
значениями [
]и [
]
соответственно.
[
]=102МПа;
[
]=10мкм.
Определяем геометрические размеры
блока цилиндров
:
,
где
- наружный диаметр блока цилиндров;
мм;
,
где
- внутренний диаметр расточки в
блоке цилиндров;
мм;
,
где В - высота блока цилиндров;=
0,018 м - ход поршня;= 0,004 м - ширина технологической проточки;= 0,005 м -
ширина дна блока цилиндров;=0,007 м - высота зуба блока цилиндров.
м.
.3 Расчёт поршня
Определяем ход поршня
:
;
мм.
Определяем коэффициент хода поршня
:
;
.
Определяем длину втулки в отверстии
блока цилиндров
:
;
мм.
Длина поршня
:
мм.
Диаметр втулки в отверстии блока
цилиндров
:
мм;
мм.
Радиус сферической головки поршня
:
где
- диаметр сферы поршня.
Радиус среза сферической головки
поршня
:
.
.4 Расчёт распределителя
Определение минимальной площади окна
блока цилиндров (рис.4)
:
,
где [
] - допустимое значение скорости
течения жидкости;
[
]=8
.max - максимальная подача одного
поршня
:
где
- угловая частота вращения вала
гидромашины;П - площадь поршня.
;
с-1;
л·с-1;
;
м·с-1.
Условие выполняется.
Определение радиуса cкругления окон
В первом приближении принимаем
:
;
м2.
далее определяем радиус скругления
окон
:
;
м.
Определяем угол охвата окна в блоке
цилиндров
:
;
,
где
- угол охвата окна в блоке
цилиндров.
Определяем угол охвата радиуса
скругления окон
:
;
,
где
- угол охвата радиуса скругления
окон.
Определяем площадь окна блока
цилиндров Fо
:
;
м2.
Рис.4. Основные расчетные размеры
распределителя.
Определяем ширину уплотняющего
пояска
:
;
м,
Далее проверяем условие:
.Условие
выполняется.
Определение геометрических размеров
дренажной канавки распределителя
:
,
где
Q - величина утечек;И -
теоретический расход
:
;
л·с-1,
где n - частота вращения вала
гидромотора;ф - фактический расход рабочей жидкости на выходе из гидромотора
:
;
л·с-1;
л·с-1.
Допустимая минимальная площадь
дренажной канавки
:
;
м2,
где [
] - допустимая скорость течения
жидкости в дренажной канавке не более 1,5 - 3,5м/с.
[
]=2
.
Конструктивно принимаем глубину
дренажной канавки b' и ширину дренажной канавки b" с условием, что площадь
дренажной канавки Fк больше [Fк].
Определяем угол охвата окна в
распределителе
:
;
,
где угол 0,5о - необходимое
положительное перекрытие.
Определяем площадь окна
распределителя
Допустимую минимальную площадь окна
распределителя определяем по формуле
:
;
м2,
где [
] - максимально допустимая скорость
движения жидкости в окне распределителя не более 4,5 м/с: [
]=4,5 м/с.
;
м2.
Проверяем условие, превышения расчётной
величины площади окна распределителя Fr над допустимой минимальной площадью
[Fr]. Условие выполняется.
Определяем геометрические размеры
распределителя (рис.5)
:
;
м;
;
м;
;
м;
;
м;
Рис. 5. Распределительный диск
Определяем силы, действующие в стыке
блок цилиндров распределитель (рис.6).
Прижимающая сила, действующая от
одного поршня
:
кН,- максимальное давление рабочей
жидкости в гидромашине.
Отжимающая сила
:
;
кН.
Рис. 6. Взаимодействие сил между
распределителем и блоком цилиндром
Сила со стороны пружины
:
;
кН.
Проверка на контактные нагрузки
:
,
где Sу - площадь уплотняющих
поясков, приходящихся на один сектор
:
;
м2;
Р - равнодействующая сила
:
кН;
МПа.
Так как расчётное значение
контактных нагрузок не превышает рекомендуемое(
МПа), то условие выполняется, тем
самым мы можем продолжать расчёт.
.5 Расчёт вала
Проектировочный расчёт вала
Задаём материал вала: для валов в
гидромашиностроении применяется СТАЛЬ 40Х (HRc 40-62).
Для СТАЛИ 40Х [σдоп]=360
МПа- допускаемые напряжения; [τ]=250 МПа-
предел прочности при кручении.
Крутящий момент насоса
:
;
Н·м.
Диаметр выходного конца вала
:
,
м.
Максимальная изгибающая сила
складывается из тангенциальных сил, передаваемых через блок цилиндров на вал
:
;
Н.
Предварительно реакция от полумуфты
на вал
:
;
Н.
Полная длинна вала насоса
:
,
где
мм - расстояние от полумуфты до
выходной опоры вала (А);
мм - расстояние между опорами вала
(А и В);
= 90 мм - расстояние от выходной
опоры вала (А) до точки приложения силы
(рис.7).
мм.
Реакции в опорах А и В
:
;
Н;
Н.
Изгибающие моменты в опорах А и В
:
;
Н·м;
.
Максимальный изгибающий момент
:
;
Н·м.
Эквивалентный момент
:
;
Н·м.
Рис.7. Схема нагружения вала
Определяем диаметр вала в наиболее
нагруженном сечении, при проектировочном расчёте для этого определим:
. Допустимое напряжение
:
,
где
МПа - предел текучести материала
вала;
- нормируемая величина коэффициента
запаса прочности,
.
МПа.
. Диаметр вала
:
;
м.
Полученное значение желательно
округлить до стандартного значения согласно ГОСТ 1139-80.
мм.
Полярный момент
:
,
где
- коэффициент момента сопротивления
.
м3.
Проверочный расчёт вала на
сопротивление усталости
Амплитудное нормальное напряжение
:
;
МПа.
Момент сопротивления кручению
:
;
м3.
Постоянная составляющая касательных
напряжений
:
;
МПа.
Постоянная составляющая нормальных
напряжений
:
;
МПа.
Коэффициент запаса по нормальным
напряжениям
:
,
где
МПа - предел выносливости при
симметричном цикле нагружения;
- амплитудное нормальное
напряжение;
- коэффициент чувствительности
материала к ассиметрии цикла нагружений;
- эффективный коэффициент
концентрации напряжений;
- коэффициент влияния абсолютных
размеров;
- среднее напряжение цикла
нагружений.
Коэффициент запаса по касательным
напряжениям
:
,
где
- предел выносливости материала при
кручении при симметричном цикле нагружения;
- коэффициент чувствительности
материала к ассиметрии цикла нагружений;
- эффективный коэффициент
концентрации напряжений;
- коэффициент влияния абсолютных
размеров;
- среднее напряжение цикла
нагружений.
Общий коэффициент запаса прочности
:
Коэффициент запаса прочности
не может
быть менее
.
.
Условие выполняется.
Прогиб вала в наиболее нагруженном
сечении
:
,
где
МПа - модуль упругости материала;
- момент инерции поперечного сечения
:
;
м4;
м.
.6 Расчёт подшипников качения
Предварительно назначаем подшипники
однорядные радиальные шариковые из сверхлегкой серии по ГОСТ 8338-75.
Для диаметра d =25 мм назначаем
подшипник 1000906 ГОСТ 8338-75.
Расчёт на статистическую
грузоподъёмность[5, с.113]:
С0r=4,55 кН.
Проверяем не превышает ли радиальная
Fr нагрузка на подшипник превосходить статистическую грузоподъёмность,
указанную в каталоге:≤C0r;
,463 кН≤4,55 кН.
Следовательно, выбранный подшипник
удовлетворяет нашим условиям.
Расчёт подшипника на заданный
ресурс[5, с.114]:
Сr=7,59 кН; C0r=4,55 кН; d=30 мм;
D=47 мм; Dw=5 мм
Находим значения X, Y, e исходя из
соотношения
,
где f0 - коэффициент, зависящий от
геометрии подшипника и применяемого уровня напряжения; Fa - внешняя осевая
сила, действующая на вал.берем из таблицы в зависимости от отношения
где Dw- диаметр шарика; α- угол
контакта (для радиальных подшипников α=0); Dpw- диаметр
окружности расположения центров шариков [5, с.114]:
=
мм;
.
Тогда из таблицы определяем
f0=15,2[5, с.112]
Так как подшипник шариковый
радиальный однорядный, то коэффициент осевого нагружения определяется как[5,
с.111]:
.
Так как внешней осевой силы
действующей на вал Fa нет, то значение коэффициента е принимаем равным нулю.
Значение коэффициента радиальной
нагрузки X=0,56[5, с.111].
Значение коэффициента осевой
нагрузки Y=0,44/e[5, с.111].
Так как е равен нулю, то Y=0.
Сравниваем соотношение
с
коэффициентом е.коэффициент вращения кольца. При вращении внутреннего кольца
подшипника относительно вектора радиальной силы V=0,7[5, с.115].
При
принимают X=1 и Y=0.
Вычисляем эквивалентную динамическую
нагрузку[5, с.115]:
=(VXFr+YFa)KБКТ,
где V- коэффициент вращения
кольца;коэффициент радиальной нагрузки;коэффициент осевой нагрузки;внешняя
осевая сила, действующая на вал;Радиальная нагрузка на вал;
КБ- коэффициент динамичности
нагрузки. КБ приблизительно принимаем равным значению отношения кратковременной
перегрузки к номинальной нагрузке. Тогда КБ=0,7.
КТ- температурный коэффициент. КТ
принимаем в зависимости от рабочей температуры подшипника. Тогда
КТ=0,7.=(0,7·1·4463+0·0)·0,7·0,7=1531 Н.
Определяем скорректированный по
уровню надёжности и условиям применения расчетный ресурс подшипника в часах[5,
с.117]:
,
где а1- коэффициент, корректирующий
ресурс в зависимости от надёжности. Тогда а1=1.
а23- коэффициент, корректирующий
ресурс в зависимости от особых свойств подшипника.
Тогда а23=0,8.
С- базовая динамическая
грузоподъёмность подшипника (радиальная Сr).
Р- эквивалентная динамическая нагрузка
(радиальная Pr).частота вращения кольца, мин-1.
Тогда,
ч.
Проверка[5, с.118]:
Подшипник пригоден, если расчетный
ресурс больше или равен требуемому
≥L
,
Где Lsah- расчётный ресурс,
=500 ч- требуемый ресурс.
,5 ч≥500 ч.
Следовательно выбранный типоразмер
подшипника удовлетворяет нашим условиям.
Для диаметра d=40 мм назначаем
подшипник 1000908 ГОСТ 8338-75.
Расчёт на статистическую
грузоподъёмность[5, с.113]:
С0r=9,3 кН.
Проверяем не превышает ли радиальная
Fr нагрузка на подшипник превосходить статистическую грузоподъёмность,
указанную в каталоге:≤C0r;
,024 кН≤9,3 кН.
Следовательно, выбранный подшипник
удовлетворяет нашим условиям.
Сr=13,8 кН; C0r=9,3 кН; d=40 мм;
D=62 мм; Dw=6,35 мм.
Находим значения X, Y, e исходя из
соотношения
Где f0- коэффициент, зависящий от
геометрии подшипника и применяемого уровня напряжения; Fa- внешняя осевая сила,
действующая на вал.берем из таблицы в зависимости от отношения
где Dw- диаметр шарика; α- угол
контакта (для радиальных подшипников α=0); Dpw- диаметр
окружности расположения центров шариков[5, с.114]:
=
мм;
.
Тогда из таблицы определяем f0=15,9.
Так как подшипник шариковый
радиальный однорядный, то коэффициент осевого нагружения определяется как[5,
с.111]:
Значение коэффициента радиальной
нагрузки X=0,56[5, с.111].
Значение коэффициента осевой
нагрузки Y=0,44/e[5, с.111].
Так как е равен нулю, то Y=0.
Сравниваем соотношение
с
коэффициентом е.коэффициент вращения кольца. При вращении внутреннего кольца
подшипника относительно вектора радиальной силы V=0,85[5, с.115].
При
принимают X=1 и Y=0.
Вычисляем эквивалентную динамическую
нагрузку[5, с.115]:
=(VXFr+YFa)KБКТ,
Где V- коэффициент вращения
кольца,коэффициент радиальной нагрузки,коэффициент осевой нагрузки,внешняя
осевая сила, действующая на вал,Радиальная нагрузка на вал,
КБ- коэффициент динамичности
нагрузки. КБ приблизительно принимаем равным значению отношения кратковременной
перегрузки к номинальной нагрузке. Тогда КБ=0,8.
КТ- температурный коэффициент. КТ
принимаем в зависимости от рабочей температуры подшипника. Тогда
КТ=0,8.=(0,85·1·5024+0·0)·0,8·0,8=2733 Н.
Определяем скорректированный по
уровню надёжности и условиям применения расчетный ресурс подшипника в часах[5,
с.117]:
,
Где а1- коэффициент, корректирующий
ресурс в зависимости от надёжности. Тогда а1=1.
а23- коэффициент, корректирующий
ресурс в зависимости от особых свойств подшипника. Тогда а23=0,8.
С- базовая динамическая
грузоподъёмность подшипника (радиальная Сr).
Р- эквивалентная динамическая
нагрузка (радиальная Pr).частота вращения кольца, мин-1.
Тогда,
ч.
Проверка[5, с.118]:
Подшипник пригоден, если расчетный
ресурс больше или равен требуемому
≥L
,
Где Lsah - расчётный ресурс,
=500 ч - требуемый ресурс.
,2 ч≥500 ч.
Следовательно выбранный типоразмер
подшипника удовлетворяет нашим условиям.
Заключение
В ходе курсовой работы были проведены расчёты
основных параметров аксиально-поршневого насоса с наклонным диском. По
полученным значениям был сформирован эскиз данного насоса, опираясь на
конструкцию насоса типа 2Г15-14.
вал поршень плунжерный насос
Список использованной литературы
1.
Анурьев, В.И. Справочник конструктора-машиностроителя / В.И. Анурьев М.:
Машиностроение, 2001. - 1000 с.
.
Башта, Т.М. Объёмные насосы и гидравлические двигатели, гидросистемы Т.М. Башта
- М.: Машиностроение 1974. - 606 с.
.
Башта, Т.М. Объёмные гидравлические приводы / Т.М. Башта - М.: Машиностроение,
1969. - 628 с.
.
Бим-Бад, Б.М.“Атлас конструкций гидромашин и гидропередач” / Б.М. Бим-Бад, М.Г.Кабаков,
С.П. Стесин - М.: Инфра - М, 2004. - 135с.
.
Воронов С.А. Программы автоматизированного расчёта объёмных гидромашин / С.А.
Воронов, Д.В. Багаев, А.В. Пузанов - Ковров: КГТА, 1999. - 48 с.
.
Дунаев, П.Ф. Конструирование узлов и деталей машин / П.Ф. Дунаев, О.П. Леликов
- М.: Издательский центр «Академия», 2006. - 496 с.
.
Круглов, В.Ю. Расчет объёмных гидромашин / В.Ю.Круглов, Д.В.Багаев - Ковров:
КГТА, 2005. - 184 с.
.
Орлов, П.И. Основы конструирования / П.И. Орлов - М.: Машиностроение, 1988. - 560
с.
.
Орлов, Ю.М. Объёмные гидравлические машины. Конструкция, проектирование, расчёт
/ Ю.М. Орлов - М.: Машиностроение, 2006. - 223 с.
.
Прокофьев, В.Н. Основы теории и конструирования объёмных гидропередач / В.Н.
Прокофьев. - М.: Высш. шк., 1968. - 400 с.
.
Норышкин, В.Н. Подшипники качения: Справочник-каталог / В.Н. Норышкин, Р.В.
Коросташевский. - М.: Машиностроение, 1984 - 180с.