Устройство судна УПС 'Херсонес'
Государственный КОМИТЕТ рыбного
хозяйства
Керченский Государственный морской
технологический университет
Кафедра «Судовождение»
ОТЧЕТ
по учебной практике
на
«УПС ХЕРСОНЕС»
(с 21.07.08 - 10.08.08)
г. Керчь
г
§1.Тактико - технические данные УПС “ Херсонес”
|
Киль заложен
|
24.12.87
|
|
Судно спущено на воду
|
10.06.88
|
|
Класс Регистра
|
КМ 1 А2
|
|
Номер регистрации Регистра ИМО
|
Керчь 003 873973 8511835
|
|
Цифровой избирательный
вызов
|
272 050 000
|
|
Длина наибольшая с
бушпритом
|
108,6м
|
|
Длина наибольшая
|
89,2м
|
|
Длина между
перпендикулярами
|
79,4м
|
|
Расстояние от мостика до:
нока бушприта кормы
|
83,3м 25,6м
|
|
Ширина
|
14м
|
|
Высота мачт от
ватерлинии: фок- мачта грот- мачта крюйс - мачта
|
49,5 м 51,5м 46,5м
|
|
Площадь парусов
|
2771м2
|
|
Площадь парусности рангоута
и такелажа
|
870м2
|
|
Количество парусов:
главных дополнительных
|
26шт 4шт
|
|
Осадка конструктивная
|
6,6 м
|
|
Водоизмещение: полное
порожнем
|
2968т 2146,1т
|
|
Дедвейт
|
840т
|
|
Вместимость: полная
чистая
|
2284 р.т 685р.т
|
|
Балласт твердый
|
388т
|
|
Балласт жидкий
|
295т
|
|
Бункер: пресная вода
дизельное топливо
|
335,9т 130т
|
|
Автономность по: топливу
при работе ГД по пресной воде
|
15дн 17дн
|
|
Количество спальных мест
|
199чел
|
|
Главные двигатели: Зульцер
- Цегельский 2x420 2x570
|
840кВт 1140л.с
|
|
Скорость под ГД
|
11узл
|
|
Минимальная
метацентрическая высота
|
0,15м
|
§2.Особенности устройства судна
Конструкция
наружной обшивки судна
Наружная обшивка, настил палуб и настил второго дна являются основными
связями, определяющими общую продольную прочность корпуса. Одновременно они образуют
непроницаемую оболочку, которая предотвращает попадание воды внутрь судна
сверху (настил верхней палубы), обеспечивает плавучесть судна (наружная
обшивка) и непотопляемость при повреждении наружной обшивки днища (настил
второго дна). Кроме того, настил второго дна образует междудонное пространство.
Наружная обшивка представляет ряд поясьев, состоящих из отдельных листов,
расположенных длинной кромкой вдоль корпуса судна. Ширина поясьев - 1,5 - 2,5
м, а на крупных судах - 3 метра. Длина листов - до 16 метров.
Разбивка наружной обшивки на поясья производится на чертеже
растяжки наружной обшивки, который представляет собой развертку наружной
обшивки одного борта на плоскость. Так как ширина растяжки наружной обшивки в
оконечностях меньше, чем в средней части судна, поясья наружной обшивки в
районе оконечностей начинают сужаться. Во избежании чрезмерного сужения в этом
случае вводят потеряи, т.е поясья, в которые переходят два смежных
суженных пояса, заканчиваемые в одном сечении.
Поясья наружной обшивки, образующие ее днищевую часть, называют
днищевыми, образующими бортовую часть,- бортовыми. Верхний пояс бортовой
обшивки называется ширстреком; пояс, идущий между днищем и бортом (по
скуле), - скуловым; а средний пояс, расположенный вдоль днища
симметрично ДП, - горизонтальным килем.
Горизонтальный киль в средней части судна делают толще примыкающих к нему
поясьев днищевой обшивки. Ширстрек также утолщают(по сравнению с поясьями
бортовой обшивки). Толщина листов наружной обшивки в оконеченостях меньше, чем в
средней части судна(кроме судов ледового плавания). На судах, имеющих ледовое
подкрепление, бортовая обшивка в районе ватерлинии делается утолщенной - это
так называемый ледовый пояс.
Палубный настил на листы разбивают на чертеже растяжки палубного настила.
Крайние примыкающие к борту листы палубного настила составляют палубный
стрингер; его делают толще, чем другие листы палубного настила, и
располагают вдоль судна. Кроме него, иногда утолщают листы, примыкающие к
большим вырезам в палубе, например в районе грузового люков или в местах
соединения с поперечными переборками. Внутренние листы палубного настила
располагают вдоль или, реже, поперек судна - в зависимости от наличия вырезов в
палубе и удобства раскроя.
Для соединения листов наружной обшивки и настилов палуб и второго дна
используют сварку. В виде исключения иногда прибегают к клепке - в месте
соединения палубного стрингера с ширстреком, а при необходимости образования
так называемых барьерных швов - в районе скулы и по верхней палубе.
Барьерные швы, идущие вдоль судна, препятствуют распространению случайных
трещин по всему поперечному сечению наружной обшивки и палубы.
Растяжка наружной обшивки (а) и настила верхней палубы (б).
- горизонтальный киль; 2 - скуловой пояс; 3 - потеряй; 4 - ширстрек;
- фальшборт; 6 - след поперечной переборки; 7 - палубный стрингер.
Корпус
Судно имеет стальной корпус с двойным дном, три
палубы: верхнюю, главную (палубу переборок) и твиндек. Все закрытия, выходящие
на верхнюю палубу, водонепроницаемые. Судно разделено шестью водонепроницаемыми
переборками на семь отсеков.
|
Отсек
|
Расположен между
шпангоутами
|
Помещения в отсеке
|
|
I
|
Форштевень-122
|
Форпик, боцманская
кладовая, фонарная и малярная кладовые
|
|
II
|
122-103
|
кладовая парусов, тросовая
кладовая, кладовые шкиперского имущества, столярная мастерская
|
|
III
|
103-83
|
Провизионные кладовые ,
камбуз, каюты и МОП обслуживающего персонала
|
|
IV
|
83-58
|
Вспомогательное МО, каюты
экипажа и трейнизов, уголок отдыха
|
|
V
|
58-33
|
МКО, ЦПУ, прачечная, кладовые
белья, МОП практикантов, помещение инсинератора, кубрик
|
|
VI
|
33-10
|
Тоннель гребного вала,
станция кондиционирования воздуха, каюты экипажа, МОП
|
|
VII
|
10-ахтерштевень
|
Румпельное отделение,
электротехническая кладовая
|
|
№
|
Наименование
|
К-во
|
Расположение
|
Назначение
|
|
1
|
Станция углекислотного
тушения
|
1
|
Рубка грота
|
Тушение пожара объемным
способом в помещениях: 1. машинно-котельное отделение (МКО) 2. фонарная и
малярная 3. кладовая легковоспламеняющихся жидкостей 4. помещение аварийного
дизель- генератора (АДГ) 5. помещение инсинератора
|
|
2
|
Водяная пожарная система
|
1
|
|
Поверхностное тушение
пожара по всему судну
|
|
2.1.
|
Пожарный насос Q=38-75
м3/час
|
2
|
Главный- МКО Резервный
-парусная мастерская
|
Подача воды в систему
|
|
2.2.
|
Пожарные рожки со шлангами
и комбинированными стволами
|
28
|
Верхняя палуба- 3 шт.
Главная палуба- 7 шт. Твиндек - 10 шт. Платформа - 1 шт. Второе дно-7 шт.
|
Подача воды к очагу пожара
|
|
3
|
Передвижная водсипенная
установка емкостью 50л
|
2 шт.
|
МКО
|
Тушение малых очагов пожара
поверхностным способом в МКО
|
|
4
|
Передвижная воздушно-пенная
установка емкостью 20 л
|
2 шт.
|
МКО
|
Тушение малых очагов пожара
поверхностным способом в МКО
|
|
5
|
Огнетушители ОУ-5
|
66
|
Палуба рубки крюйса-1 шт.
Верхняя палуба- 20 шт. Главная палуба- 15 шт. Твиндек- 19 шт. Платформа - 1
шт. Второе дно-10 шт.
|
Тушение малых очагов пожара
поверхностным способом
|
|
6
|
Огнетушители ОУ-7
|
1
|
Помещение АДГ
|
Тушение малых очагов пожара
поверхностным способом
|
|
7
|
Противопожарное покрывало
(кошма)
|
4
|
Верхняя палуба- 3 шт.
Твиндек - 1 шт.
|
Тушение малых очагов пожара
поверхностным способом
|
|
8
|
Противопожарный щит с
инвентарем
|
2
|
Главная палуба
|
Расчистка подходов к очагу
пожара, удаление горящих фрагментов
|
|
~9 1
|
Ящик с песком
|
1
|
Палуба рубки фока
|
Тушение малых очагов пожара
поверхностным способом
|
|
10
|
Противопожарный пост
|
2
|
Рубка фока-1 Рубка грота 1
|
Хранение средств борьбы с
пожаром
|
|
11
|
Главный осушительный насос Q
=38-75 м7час Р=0.25-0.18 Мпа
|
1
|
МКО
|
Осушение льял, коффердамов
и кингстонной магистрали
|
|
12
|
Осушительно-балластный
насос Q =38-75 м7час Р=0.25-0.18 Мпа
|
1
|
МКО
|
Осушение льял, коффердамов
, кингстонной магистрали и балластных цистерн
|
|
13
|
Осушительный насос МО
(?=10мУчасР=0.2Мпа
|
1
|
МКО
|
Осушение сборных колодцев в
МКО, в тоннеле гребного вала
|
|
|
|
|
|
|

Верхняя,
главная, и твиндечная палубы.
Конструкция
оконечностей судов
Оконечности судна представляют собой сложные конструктивные образования,
функции которых довольно разнообразны. В оконечностях размещают различные цистерны
и помещения, устанавливают оборудование и судовые устройства. Геометрическая
форма оконечностей, как правило, очень сложная, диктуется условиями ходкости,
мореходности, особенностями движителей и рулевого устройства. В конструктивном
отношении оконечности судна должны обеспечивать постепенный переход от
штевневой к средней части корпуса, а также осуществлять крепление продольных
балок судового набора.
Носовая оконечность судов заканчивается форштевнем, к которому крепится обшивка
и вертикальный киль. Внутри форпика устанавливают несколько платформ, служащих
опорами для форштевня. Между платформами устанавливают горизонтальные фигурные
пластины, называемые брештуками, к которым крепятся бортовые стрингеры.
Носовая оконечность ограничивается поперечной таранной переборкой. Внутри
носовой оконечности размещается цепной ящик, выполняющий роль опоры для якорных
механизмов, устанавливаемых на палубе бака.
Конструкция форштевня во многом определяется назначением судна. Форштевни
бывают литыми, коваными, сварными или комбинированными (литосварными). Сварные
форштевни выполняют из гнутых листов, подкрепляя их горизонтальными бракетами
(брештуками), согласованными с набором носовой оконечности. В плоскости
бортовых стрингеров в качестве распорок устанавливают холостые бимсы, лишенные
листового настила. Платформы и холостые бимсы в ДП опираются на продольную
переборку, которая увеличивает прочность носовой оконечности.
Конструкция кормовой оконечности судов во многом зависит от
количества гребных валов и рулей, а также от архитектурного типа кормы.
У одновинтовых судов в районе расположения дейдвуда устанавливают
поперечные переборки с уменьшенной шпацией, выполняющие роль диафрагм.
Аналогично подкрепляется обшивка в районе подзора кормы и в месте расположения
руля.
На двухвинтовых судах гребные валы проходят через специальные
подкрепления - мортиры. В месте выхода валов из корпуса судна имеются
выкружки. Внутри каждой выкружки размещен дейдвудный подшипник.
Конструкция фальшборта судна.
Фальшборт представляет собой конструкцию из листов с подкрепляющим набором,
предназначенную для ограждения открытых палуб от действия волн и ветра. На
верхней палубе фальшборт устанавливают в плоскости наружной обшивки. Высота
фальшборта должна быть не менее 1,0 м.
Фальшборт состоит из листов толщиной 3,0 - 8,5 мм ( в
зависимости от длины судна), устанавливаемых длинной кромкой вдоль палубы.
Через каждые две - три шпации, но не реже чем через 1,8 м ( на судах
перевозящих палубный груз, не реже чем через 1,2 м) устанавливают подкрепляющие
стойки в виде книц с отогнутым фланцем шириной 60 - 90мм. Толщина стоек на
1 мм больше толщины листов фальшборта, а ширина их внизу зависит от длины судна
и колеблется в пределах 200 - 360 мм. Ширину стоек вверху принимают равной
ширине планширя, представляющего собой горизонтально расположенную поверх листа
фальшборта полосу из профильной или полосовой стали шириной 75 - 150 мм. Поверх
металлического планширя иногда укладывают деревянный. В нижней части фальшборта
делают вырезы - штормовые портики, предназначенные для стока за борт
попавшею на палубу воды. В штормовых портиках имеются решетки, препятствующие
выбрасыванию за борт смываемых предметов. Площадь вырезов, определяемая по
Правилам о грузовой марке, должна быть достаточной для удаления всей массы воды
за полупериод качки. Иногда вместо штормовых портиков в фальшборте делают
сплошной вырез по линии соединения его с ширстреком.
Общее расположение механизмов во вспомогательном
машинном отделении (ВМО)
|
Поз.
|
Наименование
|
К-во
|
|
1
|
Вакуумная фановая установка
LK-200P
|
1
|
|
2
|
Гидрофор холодной воды
|
1
|
|
3
|
Рефкомпрессор №2
кондиционеров
|
1
|
|
4
|
Рефкомпрессор №3 провизионных
кладовых
|
1
|
|
5
|
Рефкомпрессор №4
провизионных кладовых
|
1
|
|
6
|
Панель нагнетания хладгента
|
1
|
|
7
|
Панель всасывания хладгента
|
1
|
|
8
|
Насосы охлаждения
рефустановок №№ 3,4
|
2
|
|
9
|
Насос охлаждения
рефустановки № 2
|
1
|
|
10
|
Щит автоматики рефустановок
№№ 2,3,4
|
1
|
|
11
|
Клапан кингстона
рефустановок
|
1
|
|
12
|
Циркуляционный насос №1
|
1
|
|
13
|
Циркуляционный насос №2
|
1
|
|
14
|
Циркуляционный насос №3
|
1
|
|
15
|
Счетчик расхода воды
|
1
|
|
16
|
Сверлильный станок
|
1
|
|
17
|
Верстак
|
1
|
|
18
|
Токарный станок
|
1
|
|
19
|
Инструментальный шкаф
|
1
|
|
20
|
Шкаф для крепежа
|
1
|
|
21
|
Заточный станок
|
1
|
|
22
|
Станок для резки металла
|
1
|
|
23
|
Насосы гидрофора
|
2
|
|
24
|
Щит для инструментов
|
1
|
|
25
|
Стеллаж для ЗИП
|
1
|
|
26
|
Насос цистерны сточных вод
В
|
1
|
|
27
|
Трап
|
1
|
Общее расположение механизмов в туннеле валопровода
|
.
|
Наименование
|
|
К-во
|
|
]
|
Гребной вал
|
|
1
|
|
2
|
Механизм изменения шага
(МИШ)
|
|
1
|
|
3
|
Вал МИШ
|
|
1
|
|
4
|
Промежуточный вал
|
|
1
|
|
5
|
Опорный подшипник
|
|
1
|
|
6
|
Стопор валопровода
|
|
1
|
|
7
|
Насосы гидравлики ВРШ
|
|
2
|
|
8
|
Насос цистерны сточных вод D
|
|
1
|
|
9
|
Насос прокачки масла дейдвуда
|
|
1
|
|
10
|
Аварийный масляный насос
ВРШ
|
|
1
|
|
11
|
Носовое дейдвудное
уплотнение
|
|
1
|
|
12
|
Напорный бачок дейдвудного
уплотнения
|
|
1
|
|
13
|
Аварийный пост управления
ВРШ
|
|
1
|
Общее расположение механизмов в машино-котельном
отделении (МКО)
|
Поз.
|
Наименование
|
К-во
|
|
1
|
Главный двигатель № 1
(ГД-1)
|
1
|
|
2
|
Главный двигатель № 2
(ГД-2)
|
1
|
|
3
|
Дизельгенератор (ДГ)
|
1
|
|
4
|
Главный судовой редуктор
(ГСР)
|
1
|
|
5
|
Валогенератор № 1 (ВГ-1)
|
1
|
|
6
|
Валогенератор № 2 (ВГ-2)
|
1
|
|
7
|
Паровой котел
|
1
|
|
8
|
Топливный сепаратор
|
1
|
Масляный сепаратор
|
1
|
|
10
|
Инструментальный шкаф
|
1
|
|
11
|
Опреснительная установка №
1
|
1
|
|
12
|
Опреснительная установка Jfe 2
|
1
|
|
13
|
Резервный насос забортной
воды ГД-1
|
1
|
|
14
|
Ресивер реф. компрессора №1
|
1
|
|
15
|
Реф.компрессор
кондиционеров № 1
|
1
|
|
16
|
Насос предпусковой смазки
ГД-1
|
1
|
|
17
|
Насос охлаждения
рефустановки №1
|
1
|
|
18
|
Резервный масляный насос ГД
|
1
|
|
19
|
Клапан кингстона ЛБ
|
1
|
|
20
|
Щит автоматики рефустановки
№1
|
1
|
|
21
|
Охладитель воды ГД-1
|
1
|
|
22
|
Фильтр масла ГД-1
|
1
|
|
23
|
Охладитель масла ГД-1
|
1
|
|
24
|
Насос предпусковой смазки
ДГ
|
1
|
|
25
|
Охладитель масла ДГ
|
1
|
|
26
|
Фильтр масла ДГ
|
1
|
|
27
|
Охладитель воды ДГ
|
1
|
|
28
|
Компрессор пускового воздуха
№2
|
1
|
|
29
|
Компрессор пускового
воздуха № 1
|
1
|
|
30
|
Компрессор воздуха для хоз.
нужд
|
1
|
|
31
|
Шламовый насос
|
1
|
|
32
|
Баллоны пускового воздуха
|
2
|
|
33
|
Щит управления
пневмоклапанами
|
1
|
|
34
|
Насос сточных вод цистерны
С
|
1
|
|
35
|
Клинкетная дверь
|
1
|
|
36
|
Поршневой осушительный
насос
|
1
|
|
37
|
Электроподогреватель воды
|
1
|
|
38
|
Гидрофор горячей воды
|
1
|
|
39
|
Насосы горячей воды
|
2
|
|
40
|
Питательный насос котла
|
1
|
|
41
|
Питательный насос теплого
ящика
|
1
|
|
42
|
Теплый ящик
|
1
|
|
43
|
Сепаратор льяльных вод
|
1
|
|
44
|
Клапан днищевого кингстона
|
1
|
|
45
|
Резервный насос пресной
воды
|
1
|
|
46
|
Топливоперекачивающий насос
|
1
|
|
.47
|
Насосы перекачки воды
|
2
|
|
48
|
Насос предпусковой смазки
ДГ
|
1
|
|
49
|
Клапан кингстона ПБ
|
1
|
|
50
|
Охладитель масла ГД-2
|
|
|
51
|
Фильтр масла ГД-2
|
2
|
|
Поз.
|
Наименование
|
К-во
|
|
52
|
Главный пожарный насос
|
1
|
|
53
|
Охладитель воды ГД-2
|
1
|
|
54
|
Резервный насос забортной
воды ГД-2
|
1
|
|
55
|
Насос смазки редуктора №2
|
1
|
|
56
|
Насос смазки редуктора №1
|
1
|
|
57
|
Фильтр масла редуктора
|
2
|
|
58
|
Охладитель масла редуктора
|
1
|
|
59
|
Охладитель масла редуктора
|
1
|
|
60
|
Мерный топливный бачок
|
1
|
|
61
|
Топливный фильтр
|
2
|
|
62
|
Валопровод
|
1
|
|
63
|
Электротрансформаторы
|
2
|
|
64
|
Осушительный насос
|
1
|
|
65
|
Балластный насос
|
1
|
§3. Характеристики судовых устройств и систем
Рулевое устройство
Руль УПС « Херсонес» полубалансирный пустотелый, площадью 15,8 м2.
Электрогидравлический привод состоит из:
рулевой машины поршневого типа 125 кНЪ с двумя насосными агрегатами, один
из которых резервный;
масляных цистерн, арматуры и т.п.;
указателей положения руля: 1 передатчик и 5 приемников.
Рулевой привод обеспечивает перекладку руля с борта на борт на угол 35°.
Время перекладки руля от +35° до -35° не больше 28 сек. при полной скорости
хода судна вперед, полной осадке и работе одного насоса.
Полубалансирный руль
Виды управления
- электрический - в рулевой рубке;
ручной - 2-мя штурвалами, приводящими гидронасос, работающий на один
гидроцилиндр машины (20 оборотов штурвала обеспечит перекладку руля с борта на
борт);
аварийный - из
румпельного отделения кнопками на электромагнитных клапанах.
Якорное устройство
В состав якорного устройства У ПС « Херсонес» входят:
■ один двойной брашпиль с гидравлическим
приводом;
■ якорные цепи с контрфорсами калибром 34 мм из
стали повышенной прочности общей длиной 385 м, по 192,5 м на каждый борт.
Смычки соединены скобами Кентера. Длина смычки 27.5 м., на левом борту 7, на
правом 8.Якорные и коренные смычки имеют вертлюги;
■ якоря типа Холла, 3 штуки, массой 1500 кг
каждый. 2 шт.- становые, 1 шт.- запасной;
■ винтовые стопоры якорь- цепи для крепления
якоря в клюзе -2 шт.;
■ стоянку судна на якоре обеспечивают палы
(«собачки») цепной звездочки, расположенные на брашпиле. Предусмотрена
аварийная отдача « собачки» под нагрузкой якорь- цепи;
■ два устройства для крепления и отдачи
коренного конца якорной цепи в цепном ящике с дистанционным приводом,
выведенным на верхнюю палубу в районе брашпиля;
■ два якорных и два палубных клюза. Отверстия
якорных и палубных клюзов закрываются крышками (клюз- саками).
Якорь Холла
- скоба
- веретено
- лапа
коробка
Винтовой якорный стопор
1- дуга
2- зажимная колодка
- Винтовой шпиндель
- Рукоятка
- подушка
Швартовное устройство
Назначение и состав швартовного устройства
Швартовное устройство служит для обеспечения надежной
стоянки судна у причала или у борта другого судна.
Швартовное устройство состоит из швартовных концов,
кнехтов, швартовных клюзов, киповых планок, кранцев, бросательных концов,
механизмов для выбирания швартовных концов
Схема швартовного устройства
I-
швартовные кнехты; 2-швартовные шпили; 3- брашпиль; 4- кормовые продольные
швартовый-кормовой прижимной шватров;6-кормовой шприкг;7- кранцы; 8- носовой
шпринг; 9-hocoboi/ прижимной: 10-носовой продольный.
На УПС « Херсонес» используются обычные
двухтумбовые кнехты, киповых планок нет.
Грузовое устройство
Грузовое устройство является средством механизации
погрузочно-разгрузочных работ.
Мачты
Мачты современных судов служат, прежде всего, для
монтажа на них грузового устройства и для монтажа на них средств сигнализации и
связи. Мачты бывают различных типов: -одиночная мачта (Рис.23,а)
представляет собой стальную трубу большого диаметра. Для крепления мачта
пропускается чере$ отверстие в верхней палубе - пнтнерс и ее
нижний конец-шпор, приваривают к настилу нижней палубы или
двойного дна. Место крепления шпора называют степсом.
Для увеличения высоты мачты устанавливается стеньга.
Для увеличения высоты мачты устанавливается стеньга. Для увеличения
вылета стрелы за борт в нижней части мачты устанавливают поперечную балку ~-
краспицу, на концах которой закрепляют стрелы. В верхней части мачты
имеется еще одна поперечина - салинг, на который крепятся верхние части
стрел. Для усиления крепления, мачты оснащаются стоячим такелажем - вантами,
фордунами и штагами.
Для обеспечения большего вылета стрел за борт
устанавливают грузовые колонки - П-образные мачты (Рис 23, б, в), состоящие из
двух трубчатых колонн, соединенных в верхней части регелем или решетчатым
салингом.
Стоячий такелаж затрудняет грузовые операции. Поэтому
часто применяют мачты без такелажа Л-образные мачты(Рис. 23,г).
Конструкция грузовой стрелы
Грузовая стрела представляет собой наклонное
рангоутное древо, нижний конец которого шарнирно с мачтой, а верхний
поддерживается специальным тросом - топенантом. Чаще всего стрелы бывают
трубчатые, стальные, переменного диаметра.
Для шарнирного соединения стрелы с мачтой. устанавливают башмак, имеющий
проушину и подпятник (Рис.24). Через отверстие в проушине пропускают
вертикальный штырь - вертлюг, нижний конец которого упирается в подпятник. На
верхнем конце вертлюг имеет сквозное отверстие, через которое горизонтальным
болтом с гайкой он соединятся с вилкой стрелы. Стрела оснащается такелажем
(Рис.25).
Топенант - снасть, служащая для придачи стреле
необходимого угла наклона и удержания ее в вертикальном положении. Топенант
состоит из стального троса, коренной конец которого крепиться к верхнему обуху
нокового бугеля стрелы, а второй, ходовой конец шкентеля топенанта, проходит
через топенант-блок, закрепленный на мачте. Ниже блока с шкентелю топенанта
крепится треугольная планка- треугольник топенанта. К другим углам
треугольника топенанта крепятся длиннозвенная цепь- стопор топенанта и
стальной трос - лопарь топенанта (Рис. 26,а). Лопарь топенанта служит
для подъема стрелы. Его выбирают с помощью грузовой лебедки, на турачку которой
заводят ходовой конец лопаря (Рис. 26,а). Грузовым стопором стрелу закрепляют в
нужном положении, для чего одно из звеньев цепи крепят скобой к обуху,
приваренному к палубе.
Вместо грузового стопора для крепления топенанта и
подъема стрелы могут устанавливаться топенантные вьюшки, приводящиеся в
движение от грузовой лебедки (Рис. 26,6). Вьюшка имеет два барабана на одном
валу. На одном намотан приводной трос - свистов, ходовой конец которого
берется на турачку грузовой лебедки. При выбирании свистова оба вращаются. В
результате чего выбирается лопарь топенанта, ходовой конец которого постоянно
закреплен на втором барабане. Для закрепления стрелы в нужном положении вьюшка
снабжена стопором и тормозом, позволяющим медленно опускать груз под
воздействием силы тяжести. Дтя подъема стрелы с грузом устанавливают топенантные
лебедки (Рис. 26,в) или грузовые лебедки снабжаются топенантным
барабаном. В этом случае топенант выполняется в виделей (топенант-тали),
что уменьшает нагрузку на топенантную лебедку. Оттяжка - снасть,
служащая для поворота стрелы в горизонтальной плоскости. Представляет собой
конец стального троса - мантылъ и тали, основанные растительным тросом.
Мантыли крепят за боковые обухи на ноке стрелы, тали нижними блоками крепят за
рымы или обухи, расположенные на палубе или на иных корпусных конструкциях.
Грузовой шкентель - гибкий трос, служащий для подъема
груза. На одном его конце закрепляют грузовой гак с противовесом, а другой
проводят через грузовой и направляющий блоки на барабан грузовой лебедки, где
он надежно крепится.
Грузовая лебедка служит для подъема груза. Грузовые
лебедки бывают электрические, паровые, гидравлические. Грузовые лебедки, кроме
грузового барабана, имеют швартовные турачки. Грузовые лебедки имеют постоянные
стопоры, а электрические и электротормоз. Грузоподъемность стрелы обычно до 5
т. Кроме легких стрел, грузовые суда часто оборудуются тяжеловесными стрелами
грузоподъемностью 40-50 т, в отдельных случаях до 300 т. Конструкция и
вооружение тяжеловесных стрел отличаются от легких (Рис. 27) :
шпор стрелы опирается не на мачту, а на фундамент;
несколько ниже нокового бугеля устанавливается врезной
блок;
наличие грузовых талей, что позволяет поднимать
тяжеловесы теми же грузовыми
лебедками, что и для легких грузов;
наличие топенант-талей, т.к. стрелу поднимают вместе с
грузом.
Способы работы стрелами.
Производительность грузового устройства зависит от
выбранного способа работы стрелами. Работа одной стрелой - стрела установлена
над люком и груз грузовым шкентелем поднимают несколько выше фальшборта, после
чего стрелу, с помощью оттяжек, вываливают за борт и груз опускают на берег.
Подобрав шкентель, стрелу возвращают оттяжками в прежнее положение.
Способ простой, но низко производительный, требующий
больших затрат ручного труда. Работа спаренными стрелами («на телефон»)- одна
стрела устанавливается над грузовым люком, а вторая в положении за бортом.
Стелы закрепляют с помощью оттяжек, контроттяжек, а также с помощью центральной
оттяжки между ноками стрел - «телефоном».Шкентели обеих ~реп с помощью
треугольника подсоединяются к одному грузовому гаку. Шкентелем стрелы,
становленной над люком трюма («морской»), груз поднимают из трюма, одновременно
рыбирая слабину шкентеля «береговой» стрелы. Подняв груз на достаточную высоту,
выбирают шкентель «береговой» стрелы, и одновременно потравливая шкентель
«морской», переводят груз под нок «береговой» стрелы. После этого груз опускают
на берег. Погрузка производится в обратном порядке. Разновидностью работы «на
телефон» является «работа на три шкентеля», применяемая при грузовых
операциях в море. (Рис.28).
На одном судне «морская» стрела устанавливается над
люком, а другая так, чтобы ее нок располагался над планширем борта швартовки.
Стрелы раскрепляют оттяжками, контроттяжками и «телефоном». На другом судне
одна из стрел устанавливается над грузовым люком и крепится оттяжками и
контроттяжками. Грузовые шкентели всех трех стрел соединены вместе и работают
на один грузовой гак. Сдающее судно своим шкентелем поднимает груз на нужную
высоту над палубой, на шкентелях принимающего судна выбирается слабина. Далее,
выбирая шкентель стрелы судна-приемщика, установленной над фальшбортом, и
потравливая шкентель судна-сдатчика, переводят груз под нок этой стрелы. Далее
работа идет, как при обычном способе «на телефон». Данный способ применяется
для уменьшения утла между шкентелями, то есть уменьшается работа шкентелей
«враздрай».
При работе «на телефон» обеспечивается высокая
производительность грузовых работ, но грузоподъемность стрел используется не
полностью, т.к. в момент передачи груза с одного шкентеля на другой, шкентели
работают «враздрай» и усилия в каждом из них превышают вес поднимаемого груза.
Поэтому при работе «на телефон» вес поднимаемого груза не должен превышать 60%
грузоподъемности одной стрелы.
Способ подвижной стрелы . Одна стрела закрепляется неподвижно,
а вторая («береговая») остается подвижной. Грузовой шкентель неподвижной стрелы
закрепляют на ноке подвижной и он служит для поворота этой стрелы. Стрела
вываливается за борт силой веса, для чего судно должно иметь крен 3-4 градуса
сторону причала. Подвижной стрелой, вываленной за борт, поднимают груз с
причала, выбирая шкентель неподвижной стрелы, заваливают подвижную стрелу в
положение над люком и опускают груз в трюм. После этого шкентель подвижной
стрелы подбирают, а неподвижной потравливают, и подвижная стрела вываливается
за борт. Выгрузка производится аналогично.
В практике случается, когда необходимо погрузить груз,
превышающий грузоподъемность стрел. Имеются несколько способов увеличения
грузоподъемности стрел в 1,5-2 раза. Но независимо от способа необходимо:
повысить тяговое усилие лебедки; обеспечить прочность грузового шкентеля;
обеспечить прочность топенанта; обеспечить устойчивость стрелы. Повысить
тяговое усилие лебедки в 2 раза и обеспечить при этом прочность грузового
шкентеля можно двойной проводкой его (Рис.29). При такой проводке грузовой гак
с противовесом снимают, свободный конец грузового шкентеля проводят через
подвижный блок с гаком. Коренной конец шкентеля крепят на запасном обухе
нокового бугеля стрелы или стропом прямо за нок стрелы.
Спасательные средства.
Спасательные средства подразделяются на коллективные и
индивидуальные.
К коллективным спасательным средствам относятся
спасательные шлюпки и спасательные плоты.
Спасательные шлюпки. Характерной особенностью спасательных
шлюпок является корпус, имеющий полные обводы и острые образования носа и
кормы, и наличие воздушных ящиков - герметичных емкостей для предания шлюпке
непотопляемости. По наружному борту спасательные шлюпки имеют спасательный леер
с поплавками, а на скуле - кили-поручни.
Шлюпки имеют различную вместимость от 10 до 110
человек. Шлюпки изготавливают из дерева, стали, легких сплавов и пластиков. Они
бывают открытого и закрытого типов. Шлюпки открытого типа снабжаются съемным
покрытием.
Спасательные шлюпки бывают моторными и гребными.
Гребные шлюпки часто снабжаются механическим приводом, который преобразует
качательные движения ручных рычагов во вращательное движение гребного винта.
Гребные шлюпки снабжаются также мачтой с парусом.
Предметы шлюпочного снабжения и их количество
|
№
|
Наименование
|
К-во
|
Ед. измерения
|
|
1
|
Пластырь облегченный 3x3 м
с оснасткой
|
1
|
комплект
|
|
2
|
Мат шпигованный 0.4x0.5 м
|
2
|
шт.
|
|
3
|
Брус сосновый 150х150х 4000
|
6
|
шт.
|
|
4
|
Брус сосновый 80x100x2000
|
2
|
шт.
|
|
5
|
Доска сосновая 50x200x4000
|
9
|
шт.
|
|
6
|
Ведро оцинкованное
|
2
|
шт.
|
|
7
|
Гайка шестигранная Ml6
|
10
|
шт.
|
|
8
|
Гвозди строительные 30x80
|
4
|
кг
|
|
9
|
Гвозди строительные 5.5x150
|
6
|
кг
|
|
10
|
Жир технический
|
16
|
кг
|
|
11
|
Клин аварийный сосновый
30x200x200
|
6
|
шт.
|
|
12
|
Клин аварийный сосновый
60x200x400
|
6
|
шт.
|
|
13
|
Кувалда 5 кг
|
1
|
шт.
|
|
14
|
Лопата
|
5
|
шт.
|
|
15
|
Пробка для иллюминатора В
335x375
|
4
|
шт.
|
|
16
|
Пробка аварийная А
10x30x150
|
4
|
шт.
|
|
17
|
Парусина суровая
|
6
|
м2
|
|
18
|
Войлок
|
2
|
м2
|
|
19
|
Резина листовая
|
1
|
м2
|
|
20
|
Пакля смоляная пеньковая
|
30
|
кг
|
|
21
|
Проволока низкоуглеродистая
в мотках по 50 м
|
2
|
шт.
|
|
22
|
8
|
шт.
|
|
23
|
Стекло жидкое натриевое
|
15
|
кг
|
|
24
|
Сумка с комплектом
слесарного инструмента
|
1
|
шт.
|
|
25
|
Сумка с комплектом
такелажно-плотницкого инструмента
|
1
|
шт.
|
|
26
|
Топор плотницкий
|
1
|
шт.
|
|
27
|
Упор раздвижной
|
3
|
шт.
|
|
28
|
Сурик
|
|
кг
|
|
29
|
Песок
|
300
|
кг
|
|
30
|
Цемент портленд
|
300
|
кг
|
|
31
|
Струбцина аварийная
|
1
|
шт.
|
|
32
|
Гидравлический домкрат 9,8
кН
|
1
|
шт.
|
|
33
|
Гидравлический домкрат 19,6
кН
|
1
|
шт.
|
|
34
|
Гидравлический домкрат
ручной
|
1
|
шт.
|
|
35
|
Лом
|
3
|
шт.
|
|
36
|
Кувалда кузнечная
|
1
|
шт.
|
|
37
|
Пила по дереву поперечная
|
1
|
шт.
|
|
38
|
Пила по дереву ножовка
|
1
|
шт.
|
|
|
39
|
Фонарь взрывобезопасный
|
1
|
шт.
|
|
|
40
|
Болт с 6-гранной головкой М
16x260
|
2
|
шт.
|
|
|
41
|
Болт с 6-гранной головкой М
16x400
|
2
|
шт.
|
|
|
|
|
|
|
|
|
|
Наряду с такими положительными качествами шлюпки как
спасательного средства, как мореходность, большая вместимость, надежное укрытие
людей она имеет значительный недостаток. Шлюпки сложно, а часто и невозможно
спустить в штормовую погоду, при большом крене судна, при обледенении. Спасательные
плоты бывают жесткие и надувные.
Жесткий спасательный плот - металлический или пластиковый состоит
из овального кольца плавучести, разделенного для обеспечения непотопляемости на
отсеки заполненные пенопластом. В середине кольцо плавучести имеет одинарное
или двойное днище. Для защиты от непогоды плот оборудован тентом, поднимаемым
на специальных дугах. Тент и дуги расположены по периметру плота таким образом,
чтобы они могли быть подняты на обе стороны, независимо от того^какой стороной
плавает плот. Снабжение размещают во втором дне, а если имеется только одно
дно, то в плавучем контейнере. Жесткие спасательные плоты изготовляются
вместимостью 6, 12 и 18 человек и имеют массу вместе со снабжением не более 180
кг, что позволяет сбрасывать его за борт вручную.
К недостаткам жестких спасательных плотов можно
отнести общую для плотов ограниченную плавучесть и риск повреждения, плота о
борт судна при спуске его в свежую погоду. Надувной спасательный плот(ПСН) -изготовляется
из многослойной прорезиненной ткани. Основой плота является камера плавучести,
образующая с дугами каркас плота. Камера имеет два отсека, каждый из которых,
при повреждении другого, обеспечивает непотопляемость плота с полной нагрузкой.
Плот имеет два надувных днища и двухслойный тент, поддерживаемый надувными
дугами. В тенте имеются два отверстия для входа, заковывающиеся двойными
шторками.
Плот приводится в рабочее состояние с помощью
пускового линя. Дерунув за линь, открывают баллон с углекислым газом. Плот
приводится в действие после его сбрасывания за борт. Плот оборудован ручным
мехом для подкачки, предохранительными клапанами, водобалластнымн карманами,
лампой-маячком, водосборником. В снабжение плота входят принадлежности для его
ремонта.
Плоты, как и шлюпки, имеют аварийные запасы и
специальное снабжение. ПСН имеют вместимость 6,10 и 20 человек.
ПСН плохо маневренны, но легко сбрасываются, нет риска
повреждения плота о борт судна. В настоящее время ПСН являются наиболее
надежным спасательным средством. Индивидуальные спасательные средства
(ИСС). К ИСС относятся спасательные нагрудники, жилеты, спасательные
круги и гидротермокостюмы.
По способу обеспечения плавучести ИСС делятся на два
типа: жесткие и надувные. Плавучесть жестких ИСС создается легкими твердыми
материалами (пробкой, пенопластом). Надувные ИСС надувают углекислым газом из
баллона, размещенного на лицевой стороне нагрудника или гидротермокостюма.
Кроме того, нагрудник и гидротермокостюм можно надуть ртом через трубку
поддува.
Спасательные круги бывают только жесткого типа и
предназначены для спасения человека, упавшего за борт.
Все ИСС имеют оранжевый цвет. Жилеты, нагрудники,
гидротермокостюмы снабжаются свистком и электролампочкой с батарейкой.
Спасательные круги оборудуются
самозажигающимися буйками и автоматически действующими
светодымящими буями. Нормы снабжения судов спасательными средствами
регламентированы Международной конвенцией об охране человеческой жизни на
море(СОЛОС-74) и Правилами РМРС. И зависят от района плавания и назначения
судна.
Устройства для спуска-подъема и
хранения спасательных средств.
Шлюпки устанавливают на палубе на специальных
ложементах (кильблоках), верхняя кромка
которых подогнана по обводам шлюпки.
Подъем и спуск шлюпок на воду производят с помощью
специальных устройств - шлюпбалок. В шлюпбалках системы Иолко механизм
вываливания имеет два винта. Один - с одноходовой резьбой, а другой
многоходовой с большим углом подъема ходовой линии. В начальный период, когда
поднимается с походного положения до вертикального, работает первый винт,
дающий больше выигрыша в силе. Когда стрела прошла вертикальное положение,
муфта начинает кращаться вместе с первым винтом, в результате вывинчивается
второй винт, что увеличивает скорость вываливания.
Шлюпбалки указанных типов занимают много места.
Серповидные шлюпбалки устанавливаются друг от друга на
расстоянии меньшем длины шлюпки. Для обеспечения большего вылета за борт,
нижние концы стрел загибают и проводят
од шлюпкой к борту. В шарнирно-хоботковых
шлюпбалках шарнирная опора находится на некотором расстоянии от борта, а необходимый
вылет обеспечивается хоботом, соединенным шарнирно с верхним концом шлюпбалки.
После вываливания за борт приводных шлюпбалок. Спуск
шлюпки на воду производится с помощью шлюпочных талей. Неподвижный блок талей
закреплен на ноке шлюпбалки. А нижний, подвижный, имеет кольцо или длинное
звено, которое закладывается за шлюпочный гак.
Вываливание за борт приводных шлюпбалок требует много
сил и времени, поэтому они применяются только для шлюпок массой до 2,3 т.
Гравитационные шлюпбалки имеют несколько разновидностей
(Рис. 33-1,33-2), но во всех случаях их вываливание производится силой тяжести
шлюпки.
Одношарнирная гравитационная
шлюпбалка нижним
концом закреплена к палубе шарниром, обеспечивающим поворот шлюпбалки вокруг горизонтальной оси.
Шарнир расположен на некотором расстоянии от борта, поэтому сила тяжести шлюпки
стремиться повернуть шлюпбалку. Поворот происходит до тех пор, пока нижний
прямой конец участок шлюпбалки не достигнет упора на палубе.
Двухшарнирная гравитационная
шлюпбалка состоит
из двух шарнирно соединенных рычагов. Нижний из них прямой и соединен шарнирно
с палубой. В начальный момент вываливания оба рычага вращаются вокруг
неподвижного шарнира, а специальный упор ограничивает поворот верхней части
шлюпбалки в обратном направлении. Когда нижний рычаг коснется палубы, верхний
рычаг поворачивается вокруг подвижного шарнира. Предельное положение верхней
части шлюпбалки ограничивается телескопической тягой, закрепленной на оси
неподвижного шарнира. Двухшарнирная шлюпбалка обеспечивает большой вылет. Склоняющаяся
шлюпбалка имеет два катка, перемещающиеся по направляющим, неподвижно
закрепленным на палубе. При вываливании верхний каток по наклонной направляющей
перемещается вниз и к борту. Нижний каток сначала перемещается к борту, а затем
вверх. При этом шлюпбалка совершает поступательно-вращательное движение и
вываливается за борт.
§4. Штурманские приборы, инструменты
и снабжение
Средства зрительной и звуковой связи (СЗЗС).
СЗЗС служат для связи с берегом и другими судами при условиях прямой
видимости и/или слышимости. К ним относятся:
|
Флаги Международного свода
сигналов (МСС)
|
Служат для связи в светлое
время суток
|
|
Флажной семафор
|
Служит для связи с помощью
флажков или рук азбукой Морзе
|
|
Лампа дневной сигнализации
(«Ратьер»)
|
Служит для передачи
сообщении азбукой Морзе
|
|
Клотиковый огонь
|
Служит для передачи
сообщений азбукой Морзе Н
|
|
Сигнальные прожекторы
|
Служит для передачи
сообщений азбукой Морзе ^Н
|
|
Пиротехника
|
Служат для передачи
сигналов бедствия и других сигналов, связанных с обеспечением безопасности
мореплавания и охраной человеческой жизни на море
|
|
Тифон
|
Служит для подачи сигналов
МППСС, сигналов бедствия, МСС азбукой Морзе
|
|
Колокол
|
Служит для подачи сигналов
МППСС
|
|
Туманный горн
|
Служит для подачи сигналов
МППСС
|
|
Гонг
|
Служит для подачи сигналов
МППСС
|
Технические средства судовождения
|
№ п.п.
|
Наименование, тип прибора
|
Назначение
|
Расположение
|
№ рис.
|
№ на рис.
|
|
1
|
Гирокурсоуказатель «Вега».
Основной прибор Штурманский прибор репитеры
|
Определение направлений в
море Выработка данных Управление всем комплексом Трансляция показаний
основного прибора
|
Гиропост, пом.257
Штурманская рубка Посты управления рулем, штурманские и рулевая рубки, крылья
мостика и рубки фока, каюта капитана
|
54 57 54 55 56 57
|
11 4 2 8 3 23
|
|
2
|
Магнитный компас
|
Определение направлений в
море
|
Пеленгаторная палуба
|
55
|
4
|
|
3
|
Приемоинди катор GPRS KODEN КGР-930
|
ОМС и параметров движения
судна по системе ИСЗ NAVASTAR
|
Штурманская рубка
|
57
|
29
|
|
4
|
Приемоиндикатор GPS
МХ400
|
ОМС и параметров движения
судна по системе ИСЗ NAVASTAR
|
Рулевая рубка
|
5
|
3
|
|
5
|
Приемоиндикатор GPS GARMIN МАР-225
|
Прием «индикатор GPS
ОМС и параметров движения судна по системе ИСЗ NAVASTAR
|
Рулевая рубка
|
55
|
2
|
|
6
|
Приемоиндикатор GPS GARMIN 240
|
ОМС и параметров движения
судна по системе ИСЗ NAVASTAR
|
Рубка трейнизов
|
56
|
2
|
|
7
|
Приемоиндикатор «Пирс-2»
|
ОМС по ГРНС DЕССА
|
Штурманская рубка
|
57
|
5
|
|
8
|
Радиопеленгатор АRC-1404
|
Измерение радиопеленгов
|
Штурманская рубка
|
57
|
2
|
|
9
|
Радиолокационная станция ROCAL
-DECCA 250- 3 см
|
Обнаружение объектов в
условиях плохой видимости, расчет маневра расхождения с судами
|
Рулевая рубка
|
55
|
9
|
|
10
|
Радиолокационная станция ROCAL-DECCA
340 - 10см
|
Обнаружение объектов в
условиях плохой видимости, расчет маневра расхождения с судами
|
Рулевая рубка
|
55
|
10
|
|
11
|
Виндтекс THIES
СLIМА
|
Измерение направления и
силы кажущегося ветра
|
Рулевая рубка
|
55
|
16
|
|
12
|
Индукционный лаг ИЭЛ-2М
Основной прибор репитеры
|
Измерение скорости ветра и
пройденного расстояния. Выработка данных Трансляция показаний прибора
|
Штурманская рубка Рубка
трейнизов Рулевая рубка Каюта капитана
|
57 56 55 57
|
3 1 12 24
|
|
13
|
Эхолот НЭЛ-МЗВ
|
Измерение глубины
|
Самописец-штурманская рубка
Индикатор- рулевая рубка
|
57 55
|
6 13
|
|
14
|
Лот ручной
|
Измерение глубины
|
Штурманская рубка
|
57
|
27
|
|
15
|
Хронометр
|
Измерение точного времени
|
Штурманская рубка
|
57
|
26
|
|
16
|
Секстан
|
Измерение углов
|
Штурманская рубка
|
57
|
28
|
|
17
|
Барометр
|
Измерение и запись
атмосферного давления
|
Рулевая рубка
|
55
|
1
|
|
18
|
Барограф
|
Измерение атмосферного
давления
|
Рулевая рубка
|
55
|
4
|
|
19
|
Аксиометр
|
Указание положения руля
|
Рулевая рубка
|
55
|
6
|
|
20
|
Кренометр
|
Измерение угла крена
|
Рулевая рубка
|
55
|
7
|
Средства радиосвязи
|
№ п.п.
|
Наименование и тип прибора
|
Назначение
|
Расположение
|
№ рис.
|
Ж на рис.
|
|
1
|
Р/ приемник и пульт
управления р/передатчиком ПВ/КВ DEBEG 3120
|
Прием и передача Сообщений
в радиотелефонии на ПВ/КВ ГМССБ
|
Рулевая рубка
|
55
|
21
|
|
2
|
ПВ/КВ контроллер цифрового
избирательного вызова (ЦИВ)DEBEG-3818
|
Прием и передача сообщений
ЦИВ на ПВ/КВ
|
Рулевая рубка
|
55
|
22
|
|
3
|
Приемник 2187,5 DEBEG
-21100
|
Дежурный прием на частоте
2187,5
|
Рулевая рубка
|
55
|
23
|
|
4
|
Репитер телекса INMARSAT-С DEBEG -1604В
|
Распечатка сообщений по
телексу INMARSAT-С, установленному в аппаратной
|
Рулевая рубка
|
55
|
20
|
|
5
|
Комплекс INMARSAT -С DEBEG - 3220В
|
Прием и передача телексных
сообщений ГМССБ
|
Рулевая рубка Аппаратная
|
55 57
|
24 11
|
|
6
|
УКВ ЦИВ контроллеры DEBEG
-3817В
|
Прием и передача сообщений
ЦИВ на УКВ ГМССБ
|
Рулевая рубка
|
55
|
15
|
|
7
|
УКВ радиостанции DEBEG
-6348
|
Связь в радиотелефонии на
УКВ ГМССБ
|
Рулевая рубка
|
55
|
14
|
|
8
|
Носимые УКВ радиостанции DEBEG
-6701
|
Связь в радиотелефонии на
УКВ ГМССБ
|
Рулевая рубка
|
55
|
11
|
|
9
|
Приемник КАУТЕХ DEBEG
-2900
|
Прием сообщений в системе NAVTEX
|
Рулевая рубка
|
55
|
5
|
|
10
|
Приемник факсимильных карт DEBEG
-2952
|
Прием факсимильных карт
погоды
|
Рулевая рубка
|
55
|
19
|
|
11
|
Радиолокационный буй
ответчик (РЛО) DEBEG -5900
|
Опознание места
бедствующего судна или плавсредства ГМССБ
|
Рулевая рубка
|
55
|
17
|
|
12
|
Автоматический радиобуй
(АРБ) системы COSPAS-SARSAT DEBEG -3540
|
Указание места бедствия в
системе COSPAS - SARSAT ГМССБ
|
Палуба мостика
|
54
|
8
|
|
13
|
ПВ/КВ радиопередатчик DEBEG
-520
|
Связь в радиотелефонии на
ПВ/КВ ГМССБ
|
Аппаратная
|
57
|
20
|
|
14
|
КВ радиопередатчик «Бриг-2»
|
Передача сообщений на КВ
|
Аппаратная
|
57
|
16
|
|
15
|
Радиоприемник «Циклоида»
|
Прием сообщений
|
Аппаратная
|
57
|
12
|
|
16
|
Комплекс INMARSAT-А MAGNAVOX МХ 2400
|
Телефонная, факсимильная и
телексная связь в системе INMARSAT-А
|
Аппаратная
|
18
|
|
17
|
Комплекс INMARSAT-М SР-2000М
|
Телефонная, факсимильная
связь в системе INMARSAT-М
|
Каюта капитана
|
57
|
22
|
Средства внутрисудовой связи
|
№ п.п
|
Наименование и тип прибора
|
Назначение
|
Расположение
|
№ рис.
|
№ на рис.
|
|
1
|
Система внутрисудовой
громкоговорящей вещательной связи
|
Передача команд и сообщений
по судну, связь между отдельными
|
Комплекс в помещении
трансляционной. Посты управления
|
57
|
13
|
|
2
|
«Рябина»
|
пунктами на судне
|
рулевая рубка, ЦПУ, рубка
дежурного по УСС, каюта капитана, бак, рубки трейнизов и штурманская
|
55 57
|
18 8
|
|
3
|
АТС OCTOPUS - 8818
|
Телефонная связь по судну
на 33 абонента
|
Жилые и служебные помещения
|
57
|
14
|
|
4
|
Сеть безбатарейных
телефонов
|
Связь между наиболее
важными пунктами судна
|
Рулевая рубка ЦПУ, пом.
АДГ, пост управления ВРШ, румпельное, аппаратная
|
-
|
-
|
|
5
|
Универсальная станция
сигнализации пожара UCPP - 10
|
Автоматическая сигнализация
о пожаре
|
Пост управления в рулевой
рубке, датчики по всему судну
|
55
|
25
|
|
6
|
Система авральной
сигнализации
|
Подача сигналов тревоги
|
Пост управления в рулевой
рубке, колокола по всему судну
|
|
|
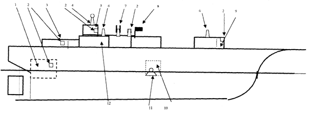
Расположение приборов навигации и связи на УПС «Херсонес»
- румпельное отделение; 2- репитер гирокомпаса; 3- каюта капитана; 4-
магнитный компас; 5- рулевая рубка; 6- репитеры и пиллорусы для пеленгования;
7- вспомогательный пост управления рулем: 8- АРБ; 9- рубка трейнизов; 10-
гиропост; 11- основной прибор гирокомпаса «Вега»; 12 - штурманская рубка
§5.Экипаж судна и основы организации
судовой службы
Экипаж судна состоит из капитана, других лиц
командного состава и судовой команды. Судовая команда состоит из машинной и
палубной команды (ст.36).
К командному составу относятся: капитан,
помощники капитана, механики всех специальностей, электромеханики, старший
мастер добычи, технолог, начальник радиостанции, радиооператоры,
электрорадионавигатор, инженеры, старший мастер по обработке рыбы, руководители
практики, заведующий продовольствием, судовой врач (фельдшер), боцман, другие
лица, занимающие на судне инженерно-технические должности (ст.37).
Старшим командным составом являются: капитан и
начальники служб (ст.38).
Все члены экипажа в зависимости от
выполняемых функций распределяются по службам:
1. Общесудовая служба обеспечивает безопасность
судовождения, ведение добычи рыбы и морепродуктов, техническую эксплуатацию
корпуса судна, палубных устройств и механизмов, навигационных приборов,
обслуживание и коллективное питание экипажа и пассажиров. Начальник службы -
старший помощник капитана
2. Судомеханическая служба обеспечивает техническую эксплуатацию
судовых машин и механизмов, технологического оборудования, судовых систем,
палубных и промысловых механизмов. Начальник службы - старший
механик.
3. Радиотехническая служба - обеспечивает радиосвязь и работу
радиотехнических средств, электрорадионавигационных и рыбопоисковых приборов. Начальник
службы -начальник радиостанции.
4. Служба добычи обеспечивает добычу рыбы и морепродуктов,
эксплуатацию орудий лова и промысловых механизмов, участвует в обработке улова
и перегрузке готовой рыбопродукции. Начальник службы - помощник
капитана по добыче (старший мастер добычи).
5. Служба обработки обеспечивает обработку рыбы и морепродуктов,
эксплуатацию технологического оборудования, перегрузку рыбопродукции. Начальник
службы -помощник капитана по производству (старший мастер обработки).
6. Учебная служба на учебных и учебно-производственных
судах обеспечивает организацию учебного процесса и плавательской практики
курсантов и студентов. Начальник службы -помощник капитана по
учебно-воспитательной работе
Основой организации службы на судне являются судовые
расписания. Составляются следующие расписания:
. Расписание по заведованиям;
. Расписание вахт;
. Расписание по судовым тревогам;
. Расписание по швартовым операциям;
. Расписание по жилым помещениям.
На судне могут составляться и другие расписания,
например: расписание по мачтам ( на парусных судах); промысловое расписание (
на добывающих судах)
Каждый член экипажа обязан (ст.42):
поддерживать престиж государства и флага Украины;
знать устройство судна и свое заведование, правила
технической эксплуатации оборудования и механизмов;
соблюдать внутренний распорядок, установленный на судне,
выполнять распоряжения капитана, лиц комсостава по подчиненности; знать и
выполнять свои обязанности по обеспечению живучести судна, уметь использовать
судовые технические средства борьбы за живучесть, аварийно-спасательное и
противопожарное имущество и инвентарь; уметь пользоваться спасательными
средствами;
знать и соблюдать правила техники безопасности,
пожарной безопасности, санитарные правила, правила охраны окружающий среды,
таможенные и пограничные правила, положения Настоящего Устава.
Любое лицо на судне, использующее технические средства
и средства бытового обслуживания, независимо от того, получило оно разрешение
на их использование или нет, полностью отвечает за их правильное использование
(ст.43).
Любой член экипажа, обнаруживший ненормальную работу
или неудовлетворительное состояние судовых технических средств, обязан
немедленно доложить вахте.-иному помощнику капитана (вахтенному механику),
приняв все возможные меры по их устранению, если такая работа или состояние
угрожает жизни и здоровью людей, безопасности судна или технических средств
(ст.44).
Без разрешения руководителя, в чьем заведовании
находятся механизмы, приборы, аппаратура, устройства и системы,и ведома
вахтенного помощника капитана запрещается производить какие бы то ни было работы,
связанные с выводом их из эксплуатации (ст.45).
Любое лицо, находящееся на судне,
при обнаружении опасности, грозящей судну, людям, грузу и техническим
средствам, обязано немедленно доложить об этом вахтенному помощнику капитана
(вахтенному механику) и одновременно принять все меры по ее ликвидации (ст. 46)
Все члены экипажа обязаны выполнять объявленные
капитаном аварийные и авральные работы. К аварийным работам могут привлекаться
все лица, находящиеся на судне (ст.47). Никто из членов экипажа не вправе
покинуть судно до окончания рейса без разрешения капитана (ст.49).
Члены экипажа могут убывать с судна только с
разрешения своих непосредственных начальников. При сходе с судна, а также по
прибытию на судно они обязаны извещать об этом вахтенного помощника капитана.
Увольнение на берег производится по указанию капитана
(ст.50).
Членам экипажа, также другим лицам, прибывающим на
судне, запрещается приступать к работе или заступать на вахту в состоянии
опьянения (алкогольного, наркотического, токсического) либо при наличии
болезни. Ответственность за возможные последствия такого допуска к работе или
вахте несет непосредственный руководитель работ или лицо, сдающее вахту. Лицо,
появившееся в состоянии опьянения; подлежит немедленному отстранению
от работы или вахты (ст.51).
§6. Обязанности матроса
судно экипаж прибор устройство
Обязанности матросов 2-го и 1-го
классов. 11.3.1. Матрос 2-го класса (ст. 175)
Матрос 2-го класса непосредственно подчиняется
боцману.
Матрос 2-го класса должен:
(01) уметь пользоваться палубными средствами
пожаротушения;
(02) знать общее устройство судна и расположения
аварийно-спасательного, противопожарного имущества, инвентаря и уметь
пользоваться ими по назначению;'
(03) уметь использовать коллективные спасательные
средства; (04) уметь выполнять малярные и такелажные работы.
Матрос 1-го класса (ст. 174)
Матрос 1-го класса непосредственно подчиняется
боцману.
Матрос 1-го класса должен:
(01) знать и уметь выполнять квалификационные
требования, предъявленные к матросу 2-го класса;
(02) знать сигналопроизводство;
(03) уметь управлять всеми техническими средствами по
корпусной части и промысловым механизмам;
(04) уметь пользоваться снаряжением пожарного,
дыхательными изолирующими приборами;
(05) знать и уметь выполнять все операции с орудиями
лова, работы по ремонту орудий лова и обработке морепродуктов;
(06) знать команды, подаваемые рулевому, в том числе
на английском языке, иметь навыки управления рулем судна;
(07) уметь управлять спасательными шлюпками и плотами;
Вахтенная служба
Вахтенная служба - специальный вид выполнения
служебных обязанностей членами экипажа, требующий повышенного внимания и
непрерывного нахождения на посту или рабочем месте, направленный на обеспечение
безопасности, живучести, обеспечение производственной деятельности судна,
охрану человеческой жизни на море и охрану окружающей природной среды и порядка
на судне в соответствии с требованиями международных документов,
законодательства Украины и местных правил.
Вахтенная служба осуществляет контроль за посещением
судна лицами, не являющимися членами экипажа и обеспечивает сохранность
находящегося на судне имущества и груза.
Возглавляет вахтенную службу вахтенный помощник
капитана.
Ответственность за надлежащее несение вахты
возлагается на лиц, несущих вахту.
Никто из лиц, несущих вахту, без
разрешения начальника по вахте не имеет права оставить пост (рабочее место) или
передавать другому лицу исполнение своих обязанностей.
При возникновении сомнений по ходу вахты,
возникновением отклонений в установленных параметрах, обстоятельствах несения
вахты, ухудшения самочувствия и необходимости помощи, вахтенный обязан
немедленно поставить в известность об этом своего начальника по вахте.
Очередная вахтенная смена должна прибыть к месту
несения вахты заблаговременно, чтобы иметь время на адаптацию.
Сменившаяся смена является подвахтенной и может
привлекаться для временного усиления вахты и подмены отдельных вахтенных.
В порту из состава экипажа выделяется дозорная вахта.
Судовые вахты подразделяются на ходовые и стояночные.
Продолжительность ходовой вахты не более 4 часов, а стояночной для комсостава -
243 часа, для рядового состава - 8 часов.
Каждый член вахтенной службы обязан:
знать свои обязанности по несению вахты;
уметь пользоваться системами внутрисудовой связи;
знать аварийные выходы, расположение аварийного,
противопожарного, спасательного имущества и средств и уметь ими пользоваться;
знать сигналы судовых тревог Схему организации
вахтенной дежурной службы на УПС «Херсонес» см. на Рис. 59. Подробно
обязанности вахтенной службы изложены в инструкциях, разрабатываемых на каждом
судне.
Вахтенный матрос-рулевой.
Вахтенный матрос-рулевой обязан:
с разрешения вахтенного помощника принять от сдающего вахту
курс судна, способ управления и доложить вахтенному помощнику капитана о
принятии вахты, повторив принятые параметры;
знать и выполнять команды, даваемые рулевому;
выполнять команды только капитана, вахтенного
помощника или лоцмана по указанию капитана;
знать основные сведения о компасах, автоматическом и
аварийном управлении рулем и уметь их эксплуатировать в соответствии с
правилами технической эксплуатации;
знать назначение огней, сигналов и знаков;
немедленно докладывать вахтенному помощнику об отклонениях
в работе и неисправности компасов и рулевого устройства.