|
Январь
|
Февр.
|
Март
|
Апрель
|
Май
|
Июнь
|
Июль
|
Август
|
Сентяб.
|
Октяб.
|
Ноябрь
|
Декаб.
|
|
т.план
|
63,0
|
63,0
|
40,2
|
48,0
|
63,0
|
52,0
|
52,0
|
52,0
|
52,0
|
52,0
|
52,0
|
52,0
|
|
2009
|
39,1
|
48,2
|
43,6
|
48,9
|
70,7
|
78,8
|
68,9
|
63,7
|
64,6
|
59,0
|
65,7
|
48,8
|
|
т.план
|
52,0
|
52,0
|
50,0
|
50,0
|
50,0
|
52,0
|
47,5
|
47,5
|
47,5
|
45,0
|
45,0
|
45,0
|
|
2010
|
40,8
|
48,7
|
50,9
|
52,0
|
49,7
|
51,0
|
46,4
|
51,5
|
47,6
|
72,4
|
61,4
|
51,4
|
|
т.план
|
45,0
|
45,0
|
46,0
|
45,0
|
45,0
|
45,0
|
45,0
|
45,0
|
45,0
|
46,0
|
45,0
|
45,0
|
|
2011
|
44,0
|
47,4
|
56,0
|
59,4
|
65,7
|
64,3
|
60,1
|
44,0
|
47,4
|
56,0
|
59,4
|
65,7
|
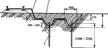
На рис.3.1. демонстрируется характеристика вагонопотоков по станции
Среднесуточный
оборот вагонов:
· транзитных без переработки - 0 вагонов,
· транзитных с переработкой - 52 вагонов,
· местных - 43 вагона.
Среднесуточный объём грузовой работы:
· погрузка - 28 вагонов;
· выгрузка - 37 вагонов;
· проходящих сдвоенные операции- 26 вагонов.
Среднесуточное количество поездов, прибывающих в расформирование:
3-4 поезда в сутки.
Среднесуточное количество вагонов в составе:
по прибытию с СПСМ- 40 вагонов (55усл. вагонов);
по отправлению на СПСМ- 40 вагонов (44 усл. вагонов);
по отправлению на Шувалово, Левашово, Белооостров- 20 вагонов (24 усл.
вагонов).
Среднесуточное количество отправленных и принятых спецвагонов:
отправлено- 1 спецвагон;
принято- 1 спецвагон.
Среднемесячное количество подготовленных под перевозку балластных
вертушек:
3 вертушки составностью 23 вагона.
2.2 Местная
работа на станции
Оперативное руководство маневровой работой по обслуживанию грузовых
пунктов и контроль выполнения плана погрузки и выгрузки осуществляется дежурным
по станции. Руководство и контроль выполнения грузовых операций осуществляется
старшим приемосдатчиком груза.
Руководство местной работой дежурный по станции осуществляет на
основании:
плана работы станции на смену;
планирования работы по подаче и уборке вагонов с грузовых пунктов по 4 -
6 часовым периодам;
номерного учета наличия, расположения и состояния (под погрузкой,
выгрузкой и другими операциями) вагонов на станционных и погрузо - выгрузочных
путях по собственникам.
единых технологических процессов работы станции и путей необщего
пользования, и договоров дороги с ветвевладельцами путей необщего пользования.
При вступлении на дежурство дежурный по станции знакомится со сменным
планом работы, наличием местных вагонов на путях станции, грузовых пунктах и
подъездных путях, ходом погрузо-разгрузочных работ, а также с данными
информации о подходе местных вагонов. В процессе дежурства дежурный по станции,
на основании информации о подходе поездов с местными вагонами, номерного учета
наличия местных вагонов на станционных, погрузо-выгрузочных и подъездных путях
составляет план работы по подаче и уборке вагонов на 4 - 6 часовой период и
выдает задание на ближайшие 1 - 2 часа составителям поездов на маневровую
работу по подаче и уборке вагонов, формированию поездов.
Составитель поездов, руководствуясь заданием дежурного по станции
производит подборку местных вагонов по пунктам подачи с таким расчетом, чтобы
обеспечить наименьшую затрату времени и маневровых средств на подачу и уборку
вагонов.
В процессе выполнения грузовых операций приемосдатчики груза периодически
информируют дежурного по станции о ходе выполнения грузовых операций и
предполагаемом времени их окончания, а по окончании погрузки или выгрузки
сообщают ему данные о погруженных вагонах с указанием рода груза, станции
назначения и др.. Приемосдатчики груза и багажа по окончании выгрузки,
убедившись в отсутствии остатков груза и повреждения вагонов, выписанной
грузоотправителем пересылочной накладной (ГУ №27сп) извещают дежурного по
станции об окончании грузовых операций и готовности вагонов к уборке. На
поврежденный вагон работниками ПТО составляется акт ВУ-25. На выгруженные и
очищенные порожние вагоны собственности других государств в товарной конторе
составляется пересылочная ведомость (накладная) ГУ-33а на перевозку вагона
другого государства. Эта ведомость сопровождает вагон на всем пути его
следования до сдачи железным дорогам государства собственника. В качестве
станции отправления в ведомости ГУ-33а указывается наименование (код) станции
выгрузки, в качестве кода станции назначения указывается код пограничной
станции, через которую вагон поступил на территорию России (из вагонного листа
груженого вагона по прибытии). При направлении вагона на станцию попутной
погрузки в качестве кода назначения указывается код этой станции. Кроме того,
указывается код пограничной станции, через которую вагон должен быть сдан
железным дорогам государства - собственника. После попутной погрузки
нероссийского вагона на станции погрузки в грузовых документах в качестве станции
отправления указывается код данной станции попутной выгрузки и, кроме того,
наименование (код) пограничной станции, по которой вагон должен быть сдан
собственнику.
Дежурный по станции, получив от приемосдатчика груза и багажа уведомление
об окончании грузовых операций и об отсутствии повреждений вагонов, дает
указание составителю поездов об уборке вагонов с грузовых пунктов и ставит в
известность приемосдатчика о времени заезда маневрового локомотива. Составитель
поездов по указанию дежурного по станции производит подачу и уборку вагонов.
После выводки вагонов с грузовых пунктов оператор СТЦ производит их списывание
и на основании грузовых документов проставляет против номера каждого вагона его
назначение по сетевой разметке. Номерной учет наличия, расположения и состояния
местных вагонов на погрузо-выгрузочных путях и путях необщего пользования,
ведет оператор СТЦ на основе информации, получаемой от приемосдатчиков груза и
багажа.
Организация подачи вагонов на пути необщего пользования. Осмотр вагонов в
техническом отношении перед подачей на путь необщего пользования производится
осмотрщиками ПОТ на путях станции. Дежурный по станции извещает старшего
осмотрщика вагонов по телефону или парковой связи о прибытии поезда с указанием
времени, номера поезда и пути прибытия с записью в книге ВУ-14. Старший
осмотрщик, получив сообщение о подходе поезда, дает указание осмотрщикам о
встрече поезда. Два осмотрщика выходят на путь приема поезда к месту остановки
хвостового вагона и становятся с разных сторон пути с таким расчетом, чтобы
пропустить мимо себя весь поезд. При обнаружении на ходу поезда неисправностей
или их признаков осмотрщики вагонов должны заметить эти вагоны, а после
остановки поезда тщательно их проверить. После отцепки локомотива старший осмотрщик
и осмотрщик-ремонтник производят ограждение состава переносными сигналами или
сигналами ограждения, после чего производят осмотр вагонов с обеих сторон. При
этом проверяется техническое состояние узлов, деталей и вагонов в целом.
Техническое состояние груженых вагонов проверяется наружным осмотром, порожних
- осмотром как наружных, так и внутренних поверхностей. Груженые вагоны,
передаваемые на подъездные пути, осматриваются под сдвоенные операции. После
окончания осмотра и ремонта вагонов осмотрщик результаты осмотра удостоверяет
записью в книге ВУ-14, с указанием страны собственника вагона. При выявлении в
составе вагонов с неисправностями, угрожающими безопасности движения, старший
осмотрщик выдает дежурному по станции уведомление формы ВУ-23 на его отцепку
для производства необходимого ремонта.
При возвращении вагонов с путей необщего пользования на пути станции
дежурный по станции извещает старшего осмотрщика о времени выводки вагонов и
номере пути. Старший осмотрщик, получив сообщение о выводке вагонов с пути
необщего пользования, дает указание осмотрщикам вагонов о встрече выводимого
состава. Осмотр вагонов производится порядком описанным выше. При осмотре
вагонов, прибывших с путей необщего пользования, особенно тщательно проверяются
узлы и детали вагонов, наиболее часто подвергающиеся повреждениям.
При повреждении вагонов на путях необщего пользования старший осмотрщик
вагонов оформляет акт о повреждении вагона ВУ-25. Если при выводе вагонов с
путей необщего пользования обнаружены повреждения угрожающие безопасности
движения, то после оформления акта ВУ-25 старший осмотрщик выдает уведомление
ВУ-23 на отцепку вагона для производства необходимого ремонта.
Прием вагонов в коммерческом отношении производится на выставочных путях
и на путях необщего пользования приемосдатчиком станции, в техническом
отношении производится на приёмо-отправочных путях.
При обнаружении коммерческих неисправностей оформляется акт общей формы
ГУ-23.
При приеме вагонов с пути необщего пользования пути особое внимание
обращается на правильность погрузки грузов на открытом подвижном составе,
полноту очистки вагонов после выгрузки, закрытие бортов, дверей, загрузочных и
разгрузочных люков вагонов, правильность наложения пломб (ЗПУ). Результаты
передачи оформляются памятками приемосдатчика (ГУ-45) отдельно на каждую подачу
и отдельно на каждую уборку вагонов, после подписей обеих сторон памятки
передаются в АФТО для расчета платы за пользование вагонами по ведомостям
подачи и уборки вагонов.
Организация переработки повагонных отправок. Станция осуществляет прием и
погрузку повагонных отправок средствами грузоотправителей, и выгрузку
повагонных отправок средствами грузополучателей. Выделение вагонов и подача их
под погрузку осуществляется в соответствии с планом перевозок или имеющимися
приказами на внеплановую погрузку. До начала погрузки грузоотправитель
предъявляет заполненную накладную товарному кассиру, который проверяет
правильность ее заполнения, наличие плана или дополнительного разрешения на
погрузку груза, наличие финансовых средств у грузоотправителя на соглашении в
Тех ПД, визирует накладную. Основанием на прием груза к перевозке
приемосдатчику служит письменное уведомление грузоотправителя об окончании
погрузки и завизированная ж.д. накладная. При погрузке на экспорт уведомление
об окончании погрузки грузоотправитель дает по получении «ВЫПУСКА» таможенными
органами и фактической загрузке вагона. О времени окончания погрузки
грузоотправитель извещает письменным уведомлением. Загруженные вагоны
грузоотправитель предъявляет приемосдатчику, который принимает его по наружному
осмотру с проверкой наложенных грузоотправителем пломб (ЗПУ) и правильности
размещения и крепления (если груз погружен на открытом подвижном составе).
После проверки правильности размещения и крепления груза порядком,
установленным Техническими условиями погрузки и проверки внесения об этом
необходимых отметок в накладной, приемосдатчик вносит в памятку на погрузку
время ее окончания, выписывает вагонный лист. Памятку на погрузку, вагонный
лист и перевозочные документы приемосдатчик передает в АФТО под роспись в книге
ГУ-48. На основании данных документов агент АФТО делает запись в Книгу приема
груза к перевозке и проставляет календарный штамп станции в накладной и
дорожной ведомости о приеме груза к перевозке.
О предстоящей подаче вагонов под выгрузку станция заблаговременно
извещает грузополучателя с указанием времени и места подачи с записью в книге
уведомлений по форме ГУ-2. Вагоны сдаются грузополучателю по наружному осмотру
с одновременным оформлением сдачи их в памятке приемосдатчика. После получения
уведомления об окончании выгрузки приемосдатчик принимает вагон от
грузополучателя (проверяет его исправность и качество очистки от остатков
груза, наличие пересылочной накладной формы ГУ-23СП (либо выписывает сам при
выгрузке на местах общего пользования), на собственный и арендованный подвижной
состав проверяет наличие оформленного комплекта перевозочных документов,
оформляет памятку на уборку.
Взвешивание повагонных отправок при приеме и выдаче груза. Массу груза
при приеме к перевозке повагонных отправок, отгружаемых на подъездных путях,
определяет грузоотправитель.
Для выборочного взвешивания вагонов, хопров-дозаторов после выгрузки и
лесных грузов после погрузки в имеются весы:
· на 211 приемо-отправочном пути установлены вагонные весы типа
ВТВ-Д для взвешивания железнодорожных составов в движении.
· на путях необщего пользования у ветвевладельца весы
отсутсутствуют.
Взвешивание производится с прокатом вагонов без остановки. Работы по
монтажу, ремонту и подготовке к государственной поверке вагонных весов
выполняются бригадой весовой мастерской станции Санкт-Петербург Финляндский, в
распоряжении которой имеется весоповерочный вагон.
3. Анализ выполнения нормы простоя вагонов на станции
3.1 Норы
времени простоя
Нормы времени нахождения на станции вагонов установлены на основании
объёма и характера работы станции, плана формирования и графика движения
поездов, принятой технологии и установленных норм на обработку поездов и
вагонов с учётом путевого развития, технического оснащения, наличия маневровых
средств, уровня механизации погрузочно-разгрузочных работ и др.
Исходные данные для расчета времени нахождения вагонов на станции
составляют:
Местный вагонопоток: - 41 вагон в среднем сутки, 1230 вагонов в среднем в
месяц.
Транзитный вагонопоток с переработкой - 51 вагон в среднем сутки, 1530
вагонов в среднем в месяц.
Погрузка - 842 вагона в среднем в месяц.
Выгрузка - 1133 вагона в среднем в месяц.
Количество вагонов, проходящих сдвоенные операции - 745 вагонов в среднем
в месяц.
Средний состав поезда по прибытию- 46 вагонов.
Средний состав поезда по отправлению на станцию Санкт-
Петербург-сортировочный Московский - 46 вагонов, на станцию Шувалово (с
группами вагонов до станций Белоостров и Левашово) - 26 вагонов.
Среднее количество групп в расформировываемом составе - 20.
Норма времени нахождения на станции местного вагона с одной грузовой
операцией складывается из следующих элементов:
Тм = t1 + t гр. + t2 , где
t1 - время нахождения вагона от прибытия до подачи;гр. - время нахождения
под грузовой операцией;
t2 - время нахождения вагона от окончания грузовых операций до
отправления.
Тм = 5,9 + 12,2. + 11,2 = 29,3 часа.
Расчет времени нахождения вагона от прибытия до подачи
= Т пп + Т ож.расф. + Т расф. + Т ож. под. + Т под., где
Т пп - время на операции по прибытию;
Т ож. расф. - время ожидания расформирования;
Т расф. - время на расформирование состава;
Т ож. подачи - время ожидания подачи;
Т под - время на подачу и расстановку вагонов по фронтам погрузки- выгрузки.
t1 = 1,7 + 0,4 + 2,0 + 1,5 + 0,3 = 5,9 часа.
Общая продолжительность технического обслуживания состава по прибытию
определяется согласно «Типовых норм оперативного времени и нормативов
численности работников на ПОТ грузовых вагонов», утвержденных 26 сентября
1997г.
Расчет норм времени на техническое обслуживание составов по прибытию
(таблица 3.1) произведен для поездов по прибытию согласно «Типовых норм
оперативного времени», п.3; таблица 33, профессия исполнителя -
осмотрщик-ремонтник вагонов.
Исходя из средней составности поезда по прибытию 46 вагонов и осмотром
состава поезда одним осмотрщиком вагонов, а также в соответствии с графиком
обработки грузового поезда по прибытию (рисунок 6.1), определяем, что:
Т пп = 103 минуты = 1,7 часа.
Согласно норм времени на маневровые работы выполняемые на железнодорожных
станциях ОАО «РЖД» время ожидания расформирования зависит от загрузки
маневрового локомотива Uл, работающего на станции, используемого не только для
расформирования - формирования поездов, но и для подачи - уборки вагонов на
ж.д. пути общего и необщего пользования.
Согласно табл. № 3.1.1 Норм времени на маневровые работы, выполняемые на
железнодорожных станциях ОАО «РЖД», при загрузке маневрового локомотива (Uл =
81%), время ожидания расформирования составляет:
Т ож. расф. = 0,4 часа.
Затраты времени маневровой работы по расформированию составов с вытяжного
пути зависят от способа производства маневров (осаживание) и определяются по
формуле:
Т расф. = (А*g)*l стр. зоны + (Б*n)*l стр. зоны + g*( t изъятия т.б. +
+ 0,01*l прохода + t укладки т.б.) + m*(0,01* lстеллаж + t доп.опер.),
где
А, Б - нормативные коэффициенты, учитывающие затраты времени на заезд
локомотива под состав, вытягивания состава (части его) на вытяжной путь,
осаживание для сортировки вагонов;число отцепов в расформировываемом
составе;среднее число вагонов в составе;количество групп накопления, m = 5
групп;стр. зоны - длина стрелочной зоны, по которой производится осаживание
вагонов на путь накопления группы, l стр. зоны = 300 метров;прохода -
расстояние, проходимое составителем поездов, при закреплении каждой осаживаемой
группы, lпрохода = 32 метра;стеллаж - расстояние, проходимое составителем
поездов от пути накопления групп вагонов к стеллажу для хранения тормозных
башмаков, lстеллаж = 50 метров;доп.опер. - время, затрачиваемое составителем
поездов на операции, связанные с открыванием и запиранием стеллажа для хранения
тормозных башмаков, t доп.опер. = 0,5 минут;изъятия т.б. - время, затрачиваемое
составителем поездов на изъятие одного тормозного башмака, t изъятия т.б. =
0,06 мин.;укладки т.б. - время, затрачиваемое составителем поездов на укладку
одного тормозного башмака, t укладки т.б. = 0,06 мин.;
Из Таблицы № 2.3.2 Методического указания по расчету норм времени на
маневровые работы, выполняемые на железнодорожном транспорте (при уклоне
вытяжных путей менее 1,5 %) значение А = 0,81; значение Б = 0,40.
Т расф. = (0,81*20) * 3 + (0,40*46) * 3 + 20*(0,06 + 0,01*32 +0,06) +
5*(0,01*50 + 0,5) = 117,6 мин = 2,0 часа.
Согласно Таблицы 3.1.1 Норм времени на маневровые работы, выполняемые на
железнодорожных станциях ОАО «РЖД», а также с учетом работы маневрового
локомотива по обработке пассажирских поездов,
Т ож. подачи = 91 мин. = 1,5 часа.
3.2
Определение времени на подачу вагонов
Технологическое время на подачу и расстановку вагонов по фронтам погрузки
- выгрузки с учётом перестановки вагонов из парка в парк, в среднем на вагон
определено хронометражными наблюдениями, и составляет:
Т под = 0,3 часа.
По данным КОО-4 ГТС Санкт-Петербург Финляндский по итогам работы среднее
время нахождения вагона под грузовыми операциями составляет:
t гр. = 12,2 часа.
Расчет времени нахождения вагона от окончания грузовых операций до
отправления
t2 = Т ож. уб. + Т уб + Тнак + Т отпр , где
Т ож. уб. - время ожидания уборки;
Т уб - время на уборку с погрузочно - выгрузочных фронтов;
Т нак. - время под накоплением до отправления;
Т отпр. - время на операции по отправлению.
t2 = 1,5+ 0,3 + 7,5 + 1,9 = 11,2 часа.
Согласно Таблицы 3.1.1 Норм времени на маневровые работы, выполняемые на
железнодорожных станциях ОАО «РЖД, а также с учетом работы маневрового
локомотива по обработке пассажирских поездов,
Т ож. уб. = 91 мин. = 1,5 часа.
Технологическое время на уборку вагонов с фронтов погрузки - выгрузки в
среднем на вагон определено хронометражными наблюдениями и составляет:
Т уб. = 0,3 часа.
Время накопления состава на пути отправления определяется по формуле:
К - число назначений плана формирования ( К = 1 );
С - параметр накопления ( 10,0 );
М- количество вагонов в составе отправляемого поезда;мощность
вагонопотока.
Время на операции по отправлению состава поезда из 46 вагонов двумя
осмотрщиком вагонов составляют:
Т отп. = 1,9 часа.
Для расчёта нормы нахождения на станции вагона с 2-мя грузовыми
операциями, помимо времени нахождения на станции вагона с одной грузовой
операцией, дополнительно учитывается время на перестановку вагонов и 2-ю
грузовую операцию:
Тсдв= Тм + Т ож.перест. + Т пер + Т гр,
где Т ож. перест. = Т ож. уб.= 1,5 часа;
Т пер = Т под = 0,3 часа;
Т гр = 12,2 часа;
Тсдв= 29,3 + 1,5 + 0,3 + 12,2= 43,3 часа.
Средний простой местного вагона на станции определяется:
Т 1 гр.опер., Т 2 гр.опер. - простой местных вагонов соответственно с
одной и двумя грузовыми операциями;одн , n дв - количество вагонов, участвующих
в одной и сдвоенных операциях.
Простой местного вагона, приходящийся на одну грузовую операцию
определяется по формуле:
К сдв - коэффициент сдвоенных операций.
Коэффициент сдвоенных операций определяется по формуле:
ПП - количество погруженных вагонов;
ПВ - количество выгруженных вагонов;
П - общее количество местных вагонов.
Простой транзитного вагона с переработкой определяется по формуле:
Т тр.перераб. = Т пп + Т ож. расф.+ Т расф + Т нак + Тож.форм. +
Т форм.транз. + Т отпр , где
Т пп - время на операции по прибытию;
Т ож. расф. - время ожидания расформирования;
Т расф - время на расформирование состава;
Т ож. форм. - время на ожидание формирования;
Тнак - время накопления состава;
Т форм.транз - время на формирование состава;
Т отпр - время на операции по отправлению.
Т тр = 1,7 + 0,4 + 2,0 + 8,4 + 0,4 + 0,2 + 1,2 = 14,3 часа.
Расчет времени накопления состава из транзитных вагонов.
К - число назначений плана формирования ( К = 1 );
С - параметр накопления ( 10,0 );количество вагонов в составе
отправляемого поезда;мощность потока (транзит).
Формирование состава многогруппного поезда включает в себя формирование
поезда по группам вагонов назначением на одну станцию назначения. Станция
Санкт-Петербург Финляндский формирует многогруппные поезда до станции Белоостров
из вагонов назначением на станции Белоостров, Левашово и Шувалово.
Технологическое время на формирование многогруппного поезда на станции
Санкт-Петербург Финляндский при накоплении вагонов на одном пути включает в
себя сборку подобранных в процессе расформирования состава групп вагонов с
разных путей в один состав:
Тформ. транз = Тсб, где
Тсб - время сборки с разных путей.
Тформ. транз = 11,8 минут = 0,2 часа.
Технологическое время на сборку групп вагонов с разных путей определяется
по формуле:
Тсб = 1,8 * p + 0,3 * nсб + G*( t изъятия т.б. + 0,01*l прохода + t
укладки т.б.), где- количество путей, с которых переставляются вагоны ;сб -
количество вагонов, переставляемых на путь сборки формируемого состава.-
количество групп многогруппного поезда, которые переставляются на путь сборки
формируемого состава.
Тсб = 1,8 * 2 + 0,3 * 18 + 2*(0,06 + 0,01*126 + 0,06) = 11,8 минут.
При расформировании поезда транзитные вагоны расставляются на три пути
(по количеству групп вагонов в формируемом составе). С учетом того, что при
расформировании состава одна из групп вагонов остается на пути расформирования
до полного формирования поезда из транзитных вагонов, количество путей, с
которых переставляются вагоны, определяется:
= К-1, где
К- количество путей накопления транзитных вагонов;= 3-1 = 2
Количество вагонов, переставляемых на путь отправления формируемого
многогрупного состава, определяется:
сб = nф (К-1) / К, где
ф- количество вагонов формируемого к отправлению состава.сб =26 (3-1) / 3
= 18 вагонов.
станция вагон поезд контейнерный
4. Поиск резервов совершенствования техпроцесса работы станции
.1 Управление
работой станции
Начальник станции осуществляет руководство работой станции на основе
единоначалия и несет полную ответственность за выполнение задач, возложенных на
него «Положением о железнодорожной станции».
Анализ работы станции, разработка и внедрение технологического процесса,
обобщение и внедрение передовых методов труда осуществляется заместителем
начальника станции под руководством начальника станции.
Грузовой и коммерческой работой в целом по станции руководит заместитель
начальника станции по грузовой и коммерческой работе. Непосредственно этими
операциями на местах общего пользования руководят старшие приёмосдатчики.
Оперативное руководство работой станции, контроль за выполнением суточных
и сменных планов, обработкой поездов и вагонов по технологическому процессу, в
том числе отправление порожних вагонов других государств с обязательным
соблюдением принципа возврата собственнику, либо приближения к нему,
своевременную обработку грузовых фронтов по подаче, уборке местных вагонов
возложено на заместителей начальника станции и сменных руководителей - дежурных
по станции.
Оперативное руководство организацией грузовой и коммерческой работы,
выполнение грузовых операций и в первую очередь с вагонами собственности других
государств возложено на заместителей начальника станции. Непосредственно на
местах руководство этими операциями осуществляют старший приемосдатчик смены и
агент системы фирменного транспортного обслуживания (далее СФТО).
Заместитель начальника по оперативной работе:
· По поручению начальника станции обеспечивает решение всех
вопросов эксплуатационной и хозяйственной деятельности станции;
· Организует выполнение заданий плана перевозок на основе
рационального использования основных производственных фондов;
· Определяет и контролирует основные направления деятельности
станции по развитию хозяйства и технического потенциала, укреплению
технологической дисциплины;
· Осуществляет руководство эксплуатационной работой;
· Несет ответственность за организацию работы цеха движения на
станции по выполнению технологического процесса;
· Производит расстановку работников цеха движения по сменам;
· Обеспечивает своевременное составление графиков работы смен;
· Осуществляет контроль и отвечает за обеспечение безопасности
движения поездов и производством маневровой работы работниками цеха движения,
выполнением требований приказов и инструкций МПС РФ, управления и отделений
дороги ТРА станции, правил техники безопасности и местных инструкций;
· Осуществляет контроль за работой устройств пути, СЦБ и связи,
контролирует устранение дефектов, выявленных при комиссионных осмотрах;
· Обеспечивает развитие информационного обслуживания, внедрение
современных методов и средств обработки информации;
· Осуществляет контроль за правильностью ведения поездной и
технической документации, документации по учету и использованию вагонных
парков;
· Организует и принимает участие в проведении технической
учебы.
Общее руководство грузовой и коммерческой работой на станции осуществляет
заместитель начальника станции по грузовой работе.
Заместитель начальника станции по грузовой работе:
· Осуществляет руководство грузовой и коммерческой работой на
местах общего пользования и подъездных путях;
· Организует внедрение механизации погрузочно-разгрузочных
работ;
· Несет ответственность за работу товарной конторы и
приемосдатчиков;
· Проводит работу с грузоотправителями и грузополучателями по
соблюдению норм простоя вагонов и полного использования их грузоподъемности;
· Контролирует выполнение плана погрузки по грузоотправителям и
установленной номенклатуре, своевременное оформление учетных карточек;
· Несет ответственность за разработку и внедрение мероприятий
по сохранности перевозимых грузов;
· Осуществляет контроль за своевременным и правильным ведением
коммерческой и финансовой отчетности;
· Осуществляет контроль за выполнением плана погрузки, выгрузки
грузов;
· Организует и принимает участие в проведении инструктажей с
работниками грузового цеха;
· Проводит работу по обучению и подготовке новых кадров
грузового цеха.
Инженер станции:
· Обеспечивает разработку, внедрение, корректировку
технологического процесса, ТРА станции и местных инструкций;
· Ведет учет неисправностей устройств СЦБ, анализирует работу
устройств СЦБ и связи на станции;
· Контролирует состояние техники безопасности на станции,
оформляет случаи травматизма на производстве и с посторонними лицами,
разрабатывает мероприятия по ликвидации травматизма;
· Отвечает за своевременное проведение инструктажей по охране
труда с работниками станции;
· Организует и проводит техническую учебу с работниками
станции, принимает участие в обучении и подготовке новых кадров станции по
вопросам охраны труда и техники безопасности;
· Согласно личным нормативам контролирует обеспечение
безопасности
· движения поездов и производства маневровой работы, производит
оформление документации по случаям брака в работе;
· Производит подсчет измерителей работы станции и смен,
проводит анализ выполнения основных показателей работы станции;
· Обеспечивает рабочие места необходимыми выписками бланками
документации, наглядными пособиями.
Руководство эксплуатационной работой станции.
Дежурный по станции (далее ДСП) обеспечивает:
Оперативное планирование и непосредственное руководство маневровой
работой, контроль за выполнением суточных и сменных планов, организацией
грузовой и коммерческой работы, обработкой поездов и вагонов по
технологическому процессу осуществляется дежурным по станции. Дежурный по
станции в процессе работы обеспечивает:
·
выполнение
сменного плана по приему, пропуску, расформированию, формированию и отправлению
поездов, развозу местного груза, погрузке, выгрузке;
·
своевременную
подачу, расстановку и уборку вагонов с грузовых фронтов, в первую очередь с
вагонами собственности других государств, обслуживаемых локомотивами станции;
·
выполнение
технологических норм времени на обработку поездов и вагонов, максимальное
сокращение межоперационных интервалов и общего времени нахождения вагонов на станции;
·
согласованную
работу станции с предприятиями, имеющими пути необщего пользования;
·
контроль за
соблюдением требований ТУП (технических условий погрузки), ТУ (технических
условий), МТУ (местных технических условий, эскизов, чертежей при постановке
груженых (порожних) вагонов в поезд;
·
контроль за
эффективным использованием технических средств станции: путевого развития,
средств СЦБ и связи и др.;
·
составление,
доведение до исполнителей и контроль за выполнением плана маневровой работы;
·
соблюдение правил
безопасности движения поездов и техники безопасности сменных работников;
·
в
автоматизированной системе управления грузовыми станциями (АСУ ГС):
перестановку вагонов из парка в парк и с пути на путь при производстве
маневровой работы; перестановку вагонов со станционных путей в парк подачи и из
парка уборки обратно на станционные пути.
- согласованную работу станции с другими службами, подъездными путями;
- подведение итогов работы за смену.
Предварительная информация о прибытии поезда на станцию поступает
дежурному по станции от поездного диспетчера.
При сгущенном поступлении транзитных и местных вагонов в переработку
дежурный по станции принимает меры к обеспечению беспрепятственного приема
поездов и своевременному обслуживанию грузовых пунктов за счет: ускоренной
обработки составов по прибытию и отправлению; организации ускоренного
обслуживания пунктов местной работы; первоочередного отправления готовых
составов с приемоотправочных путей.
К концу дежурства дежурный по станции должен создать вступающей смене
условия для нормальной работы, в том числе: обеспечить наличие свободных путей
для беспрепятственного приема поездов; подготовить приемоотправочные пути для
расформирования составов; в соответствии с оперативным планом и графиком движения
подготовить составы для отправления и группы вагонов для подачи их на
подъездные пути и к грузовым фронтам.
Распоряжения дежурного по станции по обеспечению своевременного и
безопасного приема, отправления и пропуска поездов, выполнению маневровых и
грузовых операций, а также рациональному использованию технических средств
станции являются обязательными для работников всех служб, связанных с
подготовкой, приёмом и отправлением поездов, грузовой и коммерческой работой.
Маневровую работу непосредственно выполняет маневровая бригада под руководством
составителя поездов. В маневровую бригаду входят: составитель поездов, машинист
маневрового локомотива. Для обеспечения слаженности в работе по выполнению
сменного плана, взаимной заинтересованности всех работников в повышении
производительности труда на станции организуются единые смены, руководителями
которых являются дежурные по станции. В состав смены входят работники станции,
пункта технического обслуживания, бригады маневровых локомотивов. Состав единых
смен утверждает начальник станции по согласованию с начальниками
соответствующих производственных подразделений.
·
взвешивание
вагонов своей погрузки согласно плана НОД-3, контрольное взвешивание вагонов
при наличии приказа НОД-3 и договоров на взвешивание вагонов с
грузоотправителями или грузополучателями;
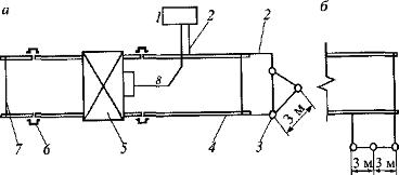
Схема
оперативного руководства ДСП работой станции. Рис.1
Руководителем маневров в каждом районе является составитель поездов,
который работает в одно лицо с применением переносной радиостанции. Составитель
поездов несет ответственность за правильность формирования поезда. Дежурный по
парку при ДСП (с исполнением обязанностей оператора СТЦ), ведет переговоры по
движению поездов с поездным диспетчером и ДСП соседних станций, уведомляет ДСП
о подходе поездов и устных распоряжениях ДНЦ; ведет журналы движения поездов и
диспетчерских распоряжений с предъявлением ДСП поступивших диспетчерских
приказов под роспись; при переходе на телефонные средства связи ведет журнал
поездных телефонограмм;
передает исходящие телефонограммы; принимает входящие телефонограммы;
заполняет бланки разрешений на право занятия перегона и вручает их машинисту;
по указанию ДСП осуществляет предъявление составов поездов и вагонов к
техническому обслуживанию, получает уведомление от работников ПОТ об окончании
осмотра с оформлением в книге предъявления вагонов грузового парка к
техническому обслуживанию и предъявлением этой книги на подпись ДСП.
Дежурный по парку №4 ведет книгу предупреждений, заполняет бланки
предупреждений и вручает их машинисту, по указанию ДСП производит закрепление и
снятие закрепления вагонов на путях станции.
Дежурный по парку №1 ведет книгу «Приема и сдачи документов машинистам
поездов», Журнал предъявления вагонов и поездов к техническрму осмотру»(ВУ-14),
заполняет бланки предупреждений и вручает их машинисту, по указанию ДСП
производит закрепление и снятие закрепления вагонов на путях станции.
Агенство Фирменного Транспортного Обслуживания (далее АФТО) осуществляет:
· контроль за выполнением плана погрузки по станции в целом и
по каждому грузоотправителю в отдельности;
· оформление перевозочных документов;
· ведение установленных форм учета и отчетности;
· расчет по перевозкам с грузоотправителями, имеющими
лимитированные справки на право централизованных расчетов, а также с
коммерческими структурами, которые не имеют справки и рассчитываются наличными
деньгами;
· подготовку всей почты за прошедшие сутки для отправки ее в
ТехПД, управления и отделения дороги.
Руководство АФТО осуществляет Начальник АФТО.
АФТО оснащено телефонной связью с грузовыми объектами и подразделениями
станции, с грузоотправителями и грузополучателями. На станции имеется АРМ
товарного кассира.
Основной задачей работников АФТО является обеспечение правильного и
качественного оформление перевозочных документов, полное взыскание всех
причитающихся железной дороге платежей и сборов при качественном обслуживании
грузоотправителей и грузополучателей, направлять все знания и силы на повышение
доходности дороги на основании применения всех указаний и распоряжений
управления и отделения дороги.
Производственный процесс переработки вагонов на станции протекает по двум
технологическим линиям: обработка непосредственно на путях и обработка грузовых
документов и информации в СТЦ.
4.2 Состояние
автоматизации функций управления работой станции
Операторы СТЦ обеспечивают:
· получение и обработку информации из отделения дороги о
прибывающих поездах, вагонах и грузах;
· прием перевозочных документов на прибывшие вагоны, передачу в
товарную контору станции документов на местные вагоны, прием перевозочных
документов из товарной конторы на погруженные на станции вагоны и передачу их
ДСПП;
· ведение номерного учета наличия неисправных вагонов;
· обработку документов на прибывающие поезда, натурную проверку
состава и меловую разметку вагонов;
· подборку, пакетирование, комплексность и сохранность
перевозочных документов на отправляемые со станции вагоны;
· передачу информации в ИВЦ Октябрьской железной дороги и
отделение дороги на отправляемые поезда;
· контроль за соблюдением плана формирования, установленных
норм веса и длины поезда;
· контроль за своевременным отправлением вагонов со станции;
· ведение установленных форм учета и отчетности;
· передачу информации о прибывающих на станцию поездах и грузах
дежурному по станции;
· контроль за правильностью нумерации вагонов и недопущением
отправления таких вагонов со станции, при выявлении вагонов с искаженной
нумерацией извещением об этом работников ПОТ для принятия мер.
Операторы СТЦ, несут ответственность за соблюдение плана формирования,
сохранность перевозочных документов в соответствии с наличием и расположением
вагонов в сформированных поездах, выполнение установленных норм времени на
обработку поездов и документов, соблюдение тайны сведений, содержащихся в
перевозочных документах.
При выполнении возложенных обязанностей операторы СТЦ руководствуются
информационно-справочными материалами.
Точная информация о составе поездов, поступает из ИВЦ Октябрьской
железной дороги по запросу оператора станционного технологического центра
(далее оператора СТЦ) в виде телеграммы-натурного листа по запросу следующих
макетов:
· 213 - форма запроса на прибывающий состав,
· 31 - запрос состава поезда в форме телеграммы-натурного
листа,
· 42 - итоговая справка о составе и весе поезда,
· 113 - наличие в составе вагонов с искаженными номерами,
· 118 - наличие в составе вагонов, подлежащих ремонту,
· 204 - наличие в составе поезда вагонов, принадлежащих другим
государствам;
Информация о планируемых поездах и подходе поездов к станции поступает из
ИВЦ Октябрьской железной дороги (автоматизированной системы АРМ ГИД) от
дежурного по парку (далее ДСПП), исполняющего обязанности оператора при
дежурном по станции.
О прибытии вагонов в адрес получателя старший приемосдатчик смены по
телефону информирует грузополучателя с записью в книге формы ГУ-2.
О времени подачи вагонов старший приемосдатчик смены уведомляет
грузополучателя не менее чем за 2 часа до подачи вагонов. Информация
согласовывается с дежурным по станции.
По мере окончания грузовых операций с вагонами на фронтах
погрузки-выгрузки старший приемосдатчик смены сообщает дежурному по станции о
готовности вагонов к уборке.
Прием и передача в ИВЦ Октябрьской железной дороги информации о
прибывающих и отправляемых со станции поездах осуществляется дежурным по парку,
исполняющего обязанности оператора при ДСП или оператором станционного
технологического центра.
ДСПП, исполняющий обязанности оператора при ДСП, оператор СТЦ передают и
получают информацию в ИВЦ по следующим макетам:
- время отправления поезда со станции;
- время прибытия поезда на станцию,
- проход (прибытие и отправление) грузовых поездов,
- расформирование состава поезда,
бросок поезда
-проход(прибытие и отправление) пассажир-ских поездов;
- изменение индекса поезда.
Старший приемосдатчик смены передает и получает информацию в ИВЦ по
следующим макетам:
- подача и уборка вагонов с пути необщего пользования,
- сведения об остатке вагонов под выгрузкой,
- выгрузка вагонов;
- остаток вагонов под выгрузкой после 18-00;
- пономерные сведения о погруженных и выгруженных вагонах;
Приемосдатчик по приемке поездов передает и получает информацию в ИВЦ по
следующим макетам:
- запрос макета о картотечных данных каждого вагона.грузоподъемность,
картотечные данные по остатку порожнего пробега и грузоподъемности вагона;
- запрос об аренде вагона и его курсировании.
- сведения об остатке вагонов под выгрузкой.
- предварительный осмотр вагонов после выгрузки.
- сведения о поржних вагонах на станции.
- картотечные данные о годности вагона.
оператор СТЦ- (телетайп)
Передача макетов станций:
подача и уборка вагонон вс п/п
- выгрузка,
- запрос о наличии денег на счету клиента,
- отчет о вагонном парке станции за сутки (ф.ДО-2),
- прибытие поезда на станцию,
- проследование грузового поезда,
- расформирование состава поезда,
- бросок поезда,
-форма запроса на прибывающий сос-тав
- сдача и вывод вагонов с пути необщего пользования пути и сдача вагонов
за парк,
- телеграмма-натурный лист (ф.ДУ-1) поезда своего формирования,
- отправление поезда со станции,
- изменение индекса поезда,
- подход поездов к станции..
- отцепка и прицепка вагонов к составу поезда,
- сдача вагонов в резерв, вывод из резерва и перевод в спецтехнадобность;
, 1839 - операции с вагонами.
, 2612, 2730 - последние сведения о вагоне для работников ПОТ (паспорт,на
вагон, место проведения ремонта, сведения по узлом и деталям вагонов).
- запрос наличия тепловозов и электровозовов, парк вагонов на любой
станции.
- справки об арендованных вагонах, и сведения орайоне курсирования.
- погружено- выгружено, занято-освобождено.
- порядковый номер выгрузки вагона.
- простои вагонов на станции.
- вагоны простаивающие на станции более 3-х суток.
- место нахождения локомотива.
- местонахождение машиниста.
-пономерное наличие вагонов по станции.
- вагоны находящиеся в резерве станции.
Начальник станции, в его отсутствие заместитель начальника станции по
оперативной работе, осуществляет контроль содержания и работы всех технических
устройств и сооружений станции.
Для обеспечения бесперебойного и безопасного движения поездов и
маневровой работы все сооружения и технические устройства осматриваются в
порядке и в сроки, установленные соответствующими нормативными документами.
Технические устройства, используемые в работе станции, осматриваются ежемесячно
комиссией под председательством начальника станции и заместителя начальника
станции по оперативной работе с участием работников, непосредственно
обслуживающих эти устройства.
При возникновении нарушений в работе технических устройств станции
дежурный по станции сообщает диспетчерам причастных подразделений станции о
нарушениях для устранения неисправностей, оформляет соответствующую запись в
журнале формы ДУ-46.
Для повышения надежности работы и улучшения содержания технических
средств на станции ежемесячно начальник станции проводит совместные совещания с
руководителями структурных подразделений станции по рассмотрению состояния и
работы технических средств за предыдущий месяц и разработке мер по их
стабильной работе.
Распределение обязанностей между структурными подразделениями по текущему
содержанию и ремонту сооружений и технических устройств станции установлено в
соответствии с Положением о железнодорожной станции №ВМ-12182 от 29.12.06г.
.3
Существующая технология обработки поездов
Дежурный по станции, получив ТГНЛ из АСОУП ,от поездного диспетчера
данные о подходе поезда в переработку, заблаговременно сообщает работникам
,участвующих в обработке поезда, его номер, индекс, и путь приема количество
вагонов и другие данные.При отправлении поезда с соседней станции в
переработку, дежурный по станции заблаговременно извещает (за 10 минут)
работников ПОТ, операторов СТЦ, приемосдатчиков груза и багажа о номере поезда
и пути приема для подготовки к встрече прибывающего поезда.
На путь приема выходят работники ,участвующие в обработке состава,
Обработка состава по прибытию состоит из следующих операций: технический осмотр
вагонов;
закрепление состава и его ограждение;
контрольная проверка состава и наличие перевозочных документов; натурную
проверку состава.
Техническое обслуживание вагонов и подготовка состава к расформированию;
коммерческий осмотр вагонов. В системе АСОУП автоматически формируется
сообщение о прибытии поезда (макет 201).Техническое обслуживание состава
производится порядком, установленным Технологическим процессом работы ПОТ
станции. Техническое обслуживание производится в одно лицо. Время на
техническое обслуживание состава из 35 вагонов по прибытию - 56 минут (на один
вагон 1,6 минуты, в зимнее время - 3,5мин на вагон).
пто= 4 х mc х tпто : nпто = 4 х 35 х 0,4 : 1= 56мин. (1)
При контроле технического состояния вагонов работники ПОТ выявляют вагоны
с неисправностями, угрожающими безопасности движения поездов и сохранности
перевозимых грузов.
Груженые вагоны, прибывшие под выгрузку и требующие после выгрузки замены
колесных пар, подаются на 70 путь.
В случае повреждения вагона при выгрузке приемосдатчик составляет акт
общей формы ГУ-23, осмотрщик вагонов - акт о повреждении вагона формы ВУ-25.
При невозможности устранения неисправности вагона на месте, вагоны
отправляются на ближайшее ПТО согласно плеч обслуживания (Приложение к Приказу
НОД-3 «О дополнительных указаниях к отдельным пунктам ПТЭ, ИСИ, ИДП»).
На каждый неисправный вагон осмотрщик вагонов выписывает уведомление на
ремонт формы ВУ-23 в двух экземплярах, один из которых прикладывается к
документам, другой остается в делах станции. Также на неисправный вагон
выписывается сопроводительный листок формы ВУ-26.
В случаях, когда прибывшие груженые вагоны, используются под погрузку,
работники ПОТ, по заявке старшего приемосдатчика смены, одновременно с
техническим обслуживанием состава, определяют годность вагона под погрузку - с
оформлением записи в книге формы ВУ-14, где указывают код железнодорожной
станции государства назначения, наименование груза, грузоподъемность
вагона, а также причины невозможности использования его под погрузку.
Об окончании технического обслуживания и его результатах работники ПОТ
сообщают дежурному по станции по телефону или парковой связи.
Записи в книге формы ВУ-14 удостоверяются подписями осмотрщика вагонов и
дежурного по станции в парках №2, №3 и №4, а в парке №1 дежурного по парку.
Параллельно с техническим обслуживанием оператор СТЦ производит натурную
сверку состава с одновременной меловой разметкой, порядком изложенным в пункте
Приемосдатчики груза и багажа производят осмотр состава в коммерческом
отношении.
Для проведения коммерческого осмотра приемосдатчики груза после получения
сообщения от ДСП о времени и номере пути прибытия поезда выходят заранее на
путь приема, располагаясь у места остановки хвостового вагона. В процессе
движения поезда ими, каждым со своей стороны состава, проверяется состояние
люков, дверей и кузовов вагонов, размещение и крепление грузов на открытом
подвижном составе, наличие запорно-пломбировочных устройств, пломб и закруток.
Коммерческий осмотр состава приемосдатчики груза производят параллельно с
техническим осмотром, одновременно с двух сторон, после того как состав
огражден. При осмотре выявляются неисправности вагонов, угрожающие сохранности
грузов и безопасности движения, проверяется наличие запорно-пломбировочных
устройств, пломб и закруток на вагонах с последующей сверкой их с данными
перевозочных документов. Порожние вагоны осматриваются на предмет очистки. На
вагоны с неисправностями, которые не могут быть устранены в ходе коммерческого
осмотра и при необходимости проверки состояния груза в вагонах, наносится
соответствующая меловая разметка. По окончании осмотра приемосдатчики груза
сообщают ДСП по парковой громкоговорящей связи или по телефону об окончании
коммерческого осмотра и выявленных вагонах с коммерческими неисправностями,
требующими отцепки, с последующим составлением актов общей формы ГУ-23 и
записью в книге формы ГУ-98, которая заверяется подписями работников производивших
коммерческий осмотр. Обо всех вагонах, отцепленных из-за коммерческих
неисправностей, угрожающих сохранности грузов или безопасности движения,
начальник станции немедленно сообщает НОДМ и по согласованию с ним принимает
меры к устранению выявленных неисправностей.
Вагоны, отцепляемые от поезда, для проверки состояния груза сдаются под
охрану стрелков ВОХР. Из группы, отцепленных для исправления коммерческого
брака вагонов в первую очередь обслуживаются нероссийские вагоны. Технический
осмотр состава и проверка состава работниками СТЦ производится порядком,
изложенным выше.
Подготовка сформированных составов к отправлению.
Обработка поезда по отправлению включает следующие операции:
· техническое обслуживание;
· коммерческий осмотр;
· списывание состава с натуры, подборку документов, составление
натурного листа и передача макета 02 в ИВЦ дороги;
· прицепку поездного локомотива и полное опробование
автотормозов;
· вручение перевозочных документов локомотивной бригаде под
роспись;
· отправление поезда;
· передача макета 200 на отправление поезда.
После окончания формирования состава на путях станции, дежурный по
станции предъявляет его к техническому обслуживанию и коммерческому осмотру,
сообщая работникам ПОТ и станции, участвующим в обработке, номер пути,
количество вагонов в составе, назначение поезда.
Предъявление состава к техническому обслуживанию производится с записью в
книге формы ВУ-14, которая находится у дежурного по парку №1 (на составы,
формируемые в парке №1), у дежурного по станции (на составы, формируемые в
парках №2, №3, №4) с указанием номера пути, номера поезда, времени предъявления
и окончания его обслуживания.
Техническое обслуживание сформированных составов перед отправлением
поезда производится осмотрщиками - ремонтниками вагонов ПОТ.
Старший осмотрщик вагонов, получив сообщение ДСП, направляет к составу
двух осмотрщиков-ремонтников. Осмотрщики-ремонтники, оградив сигналами
предъявленный для осмотра состав, производят контроль технического состояния и
текущий ремонт вагонов, проверку исправности автосцепки вагонов. Порядок
ограждения составов, осмотра и ремонта вагонов и время на выполнение операций
устанавливаются Технологическим процессом работы пункта технического
обслуживания станции.
При выявлении вагонов, требующих текущего отцепочного ремонта, работники
ПОТ выписывают уведомление формы ВУ-23, номер вагона сообщают дежурному по
станции с последующей передачей первого экземпляра уведомления формы ВУ-23
оператору СТЦ. На вагонах, требующих отцепочного ремонта, наносится соответствующая
меловая разметка. После производства отцепки, вагоны, требующие замены колесных
пар, подаются на 70 путь для ремонта. Остальные вагоны, требующие отцепочного
ремонта, отправляются на ближайшее ПТО согласно плеч обслуживания (Приложение к
Приказу НОД-3 «О дополнительных указаниях к отдельным пунктам ПТЭ, ИСИ, ИДП»).
Навешивание хвостового сигнального знака работники ПОТ производят после
полного технического обслуживания состава, с извещением дежурного по станции об
окончании осмотра по телефону или парковой связи.
Время на техническое обслуживание состава перед отправлением поезда,
включая полное опробование тормозов, устанавливается 78 минут.
Об окончании технического обслуживания и безотцепочного ремонта вагонов
работники ПОТ сообщают дежурному по станции.
Время предъявления к техническому обслуживанию и его окончание
удостоверяется росписью работников ПОТ в книге формы ВУ-14.
После прицепки поездного локомотива и опробования автотормозов сигналист
поста №9 в парках №№2, 3, 4, а в парке №1 дежурный по парку производит изъятие
тормозных башмаков из-под поезда, о чем немедленно докладывает дежурному по
станции по радиосвязи или по парковой связи.
При отправлении поезда работник ПОТ, находящийся в головной части поезда,
осматривает его в движении, контролируя состояние ходовых частей, автосцепных
устройств, тормозного оборудования.
В случае необходимости остановки поезда, работник ПОТ немедленно передает
информацию дежурному по станции по парковой связи или по телефону, а дежурный
по станции принимает меры для остановки поезда (информирует машиниста по
радиосвязи).
Проверка сформированного состава и оформление документов, а также
вручение документов локомотивной бригаде производится оператором СТЦ.
После отправления поезда дежурным по парку, исполняющим обязанности
оператора при ДСП, производится передача информации в ИВЦ дороги (макет 200) об
отправлении поезда.
Рис.2. График обработки поезда своего формирования по отправлению.
|
№ п/п
|
Наименование операции
|
До нача-ла об-работки
|
Время, минуты
|
Исполни-тели
|
|
1 2 3 4 5
6 7
|
Сообщение ДСП об око-нчании
формирования состава. Информация ра-ботников, участвующих в обработке.
Выход на путь работни-ков, участвующих в об-работке. Списывание состава с
натуры. Техническое обслужива-ние Коммерческий осмотр Подборка
документов, составление натурного листа и передача его в ИВЦ Прицепка
поездного ло-комотива, проба авто-тормозов, изъятие тор-мозных башмаков,
вру-чение документов и отправление поезда
|
|
20 56 45
25 42
|
Состави-тель поез-дов,
ДСП Приемосдат чики, работ ники ПОТ, ВОХР, опе-ратор СТЦ Оператор СТЦ
Работ. ПОТ пр.сдатчик, работник ВОХР Оператор СТЦ Лок.брига-да, состав.
поездов, опер. СТЦ, сигналист, ДСПП, работник ПОТ
|
|
ОБЩАЯ ПРОДОЛ-ЖИТЕЛЬНОСТЬ
|
|
98
|
|
Одновременно с контролем технического состояния и ремонтом вагонов
производится коммерческий осмотр состава и устранение обнаруженных
неисправностей, угрожающих сохранности грузов и безопасности движения.
Коммерческий осмотр производится двумя приемосдатчиками груза одновременно с
двух сторон. Осмотр состояния грузов, подлежащих сопровождению военизированной
охраной, производится с участием работников военизированной охраны. Об
окончании коммерческого осмотра поезда и готовности его к отправлению приемосдатчики
немедленно уведомляют дежурного по станции по парковой связи или по телефону
или парковой связи. Результаты осмотра поезда в коммерческом отношении
оформляются записью в книге формы ГУ-98, которая заверяется подписями
работников, производивших коммерческий осмотр.
После отправления поезда оператор ДСП передает поездному диспетчеру номер
и индекс поезда, его назначение, время отправления, номер локомотива, массу и
число вагонов в поезде, наличие вагонов с грузами ВМ и негабаритными грузами.
4.4Маневровая
работа по расформированию и формированию поездов
Маневровой работой по расформированию и формированию составов, подаче
вагонов под погрузку или выгрузку, а также по уборке вагонов с подъездных путей
предприятий руководит дежурный по станции. Вступая на дежурство, дежурный по
станции, получив план работы, обязан ознакомиться с наличием вагонов на
подъездных путях и путях на станции, также их назначением, согласно данным
оператора СТЦ. Дежурный по станции проверяет нахождение на местах всех
работников смены. Дежурный по станции дает задание на маневровую работу
составителю поездов. Составитель поездов, выполняя план маневровой работы,
обязан обращать внимание на разметку на вагонах и в случае расхождения между
разметкой и указанием дежурной по станции срочно уведомить по радиосвязи ДСП и
действовать по ее указанию. ДСП обязан проверить по докладу оператора СТЦ
назначение вагонов по разметке.
ДСП доводит сменное задание до исполнителей и дает задание по работе на
ближайшие один-два часа.
Маневровая работа на станции осуществляется маневровыми локомотивами
станции, которые производят расформирование, формирование составов, подачу и
уборку вагонов на пути необщего пользования, примыкающие к станции, расстановку
вагонов по фронтам погрузки-выгрузки, взвешивание вагонов.
Получив сообщение от работников ПОТ, оператора СТЦ, старшего
приемосдатчика смены об окончании обработки состава по прибытии дежурный по
станции снимает ограждение и дает план работы лично или по радиосвязи
составителям поездов на производство расформирования состава.
Перед началом производства маневровой работы составитель поездов знакомит
с планом работы работников, участвующих в производстве маневровой работы.
Расформирование и формирование составов производится порядком,
предусмотренным техническо-распорядительным актом станции (ТРА). При
расформировании составов учитывается скользящая специализация путей, время
включение автотормозов.
Перестановка вагонов из парка в парк и с пути на путь при производстве
маневровой работы производится дежурным по станции в автоматизированной системе
управления грузовыми станциями (АСУ ГС).
До начала маневров составитель поездов обязан:
убедиться, что все работники, участвующие в маневрах, включая
локомотивную бригаду, находятся на местах;
план маневровой работы и порядок ее выполнения довести до сведения
локомотивной бригады.
проверить, нет ли препятствия для движения вагонов, тормозных башмаков
под колесами, проволоки и т.п.;
Маневры составитель производит методом осаживания. При этом автотормоза
должны быть включены. По окончании маневров по расформированию или формированию
состава поезда ДСП обязан доложить оператору СТЦ обо всех изменениях по
сравнению с ранее намеченным планом маневровой работы.
В процессе расформирования состава составитель поездов производит
подборку вагонов по пунктам подачи с таким расчетом, чтобы обеспечить
минимальную затрату времени на подачу вагонов под грузовые операции и
расстановку по фронтам выгрузки-погрузки.
Закончив расформирование состава, составитель поездов докладывает об этом
дежурному по станции.
Подача и уборка вагонов на пути необщего пользования производится
составителями поездов после команды дежурного по станции.
О подаче вагонов на пути необщего пользования дежурный по станции
информирует всех причастных работников, производит перестановку вагонов со
станционных путей в парк подачи в автоматизированной системе управления
грузовыми станциями (АСУ ГС). Подача вагонов к фронтам погрузки-выгрузки и на
выставочный путь производится локомотивами станции, порядком предусмотренным в
ТРА станции и Договорах о порядке подачи и уборки вагонов на пути необщего
пользования.
Приемосдатчики груза и багажа в автоматизированной системе управления
грузовыми станциями (АСУ ГС) производят перестановку вагонов из парка подачи на
конкретные пути необщего пользования.
Заезд маневрового локомотива для подачи вагонов под грузовые операции
совмещается с уборкой вагонов после окончания грузовых операций.
После окончания грузовых операций старший приемосдатчик смены информирует
дежурного по станции о готовности вагонов к уборке. Дежурный по станции дает
указание составителю поездов о необходимости уборки вагонов с путей необщего
пользования.
Уборка вагонов с фронтов погрузки-выгрузки и с путей необщего пользования
производится порядком, предусмотренным ТРА станции и Договорах о порядке подачи
и уборки вагонов на пути необщего пользования.
После выводки вагонов с пути необщего пользования приемосдатчик груза и
багажа в автоматизированной системе управления грузовыми станциями (АСУ ГС)
производит перестановку вагонов с путей необщего пользования в парк уборки.
Дежурный по станции по прибытии маневрового состава на станционные пути
производит перестановку вагонов из парка уборки обратно на станционные пути в
АСУ ГС. Формирование составов производится в строгом соответствии с ПТЭ и
действующим планом формирования под руководством дежурного по станции. Об
окончании формирования состава составитель поездов докладывает дежурному по
станции по телефону или по радиосвязи. Для сокращения времени простоя вагонов на
станции по согласованию с поездным диспетчером для выполнения маневровой работы
привлекается вывозной локомотив, помощник машиниста которого совмещает
обязанности кондуктора грузовых поездов. Этим локомотивом на станции
выполняется следующая работа:
· подача и уборка вагонов (вертушек) под погрузку и выгрузку;
· отцепка, прицепка и перестановка групп вагонов на станционных
путях;
· опробование тормозов в составе своего поезда.
Закрепление вагонов при выполнении маневровой работы вывозным локомотивом
производит по указанию ДСП сигналист поста №9 или ДСПП парков №№1, 4.
.5Предложения
по сокращению простоя вагонов на станции
Основные предложения:
· оптимизация парка маневровых локомотивов;
· модернизация погрузочного оборудования
Далее приводится экономическое обоснование предложений
5.Экономическая
часть
5.1 Расчёт
потребного количества маневрового оборудования
Для маневровой работы используем локомотивы ТЭМ18ДМ. Расчет количества
локомотиво-минут, необходимых для производства маневровой работы по формированию
и расформированию составов, подачи и уборки вагонов на грузовые места, времени
на производство маневровой работы со спецвагонами и прочими маневровыми
передвижениями, необходимыми для выполнения станцией поставленных ей задач,
приведен в таблице 5.1.
Таблица 5.1
Расчет количества локомотиво-минут, необходимых для производства
маневровой работы
|
Наименование маневровой
работы
|
Количество операций в сутки
|
Время на одну операцию
|
Сумма локомотиво- минут за
сутки
|
|
1
|
Расформирование состава из
46 вагонов
|
2
|
118
|
236
|
|
2
|
Формирование состава из 26
вагонов
|
1,2
|
12
|
15
|
|
3
|
Подача вагонов под грузовые
операции
|
20
|
18
|
360
|
|
4
|
Уборка вагонов из- под
грузовых операций
|
20
|
18
|
360
|
|
5
|
Перестановка вагонов под
сдвоенные операции
|
16
|
18
|
288
|
|
6
|
Маневровая работа с
вагонами ОАО «Трансконтейнер»
|
4
|
112
|
448
|
|
7
|
Обработка спецвагонов и
спецпоездов по прибытию
|
1,3
|
23
|
30
|
|
8
|
Обработка спецвагонов по
отправлению и спецпоездов
|
1,3
|
23
|
30
|
|
9
|
Обработка ППВ
|
2
|
55
|
110
|
|
Итого
|
-
|
-
|
1877
|
Непроизводительный простой маневрового локомотива обусловлен наличием
поездных передвижений по маршрутам, враждебным маневровым передвижениям, а
также необходимостью производства с локомотивом очередных видов технического
обслуживания:
S Т пост = Т см. бригад + Тэкипир.+ Т враждбн., где
Т см. бригад - время смены бригад маневрового локомотива (ТО-1). Два ТО-1
в течении суток по 20 минут - всего 40 минут;
Тэкипир. - продолжительность прохождения ТО-2 один раз в неделю в
локомотивном депо Ручьи с учетом времени на движение до станции Ручьи, Тэкипир.
принимается равным 240 мин.;
Т враждбн. - время передвижений, враждебных поездным и маневровым
передвижениям определено хронометражным путем и составляет 40 минут в сутки.
S Т пост = 40 + 240/7 + 40= 115 минут в сутки.
Оптимальное количество маневровых локомотивов определяется по критерию
минимума среднесуточных эксплуатационных расходов Eсут. перебором вариантов
количества работающих на станции маневровых локомотивов М:
сут. = Eваг. + Eман. → min , где
Eваг. - суточные эксплуатационные расходы, связанные с простоем вагонов
на станции в части, зависящей от количества маневровых локомотивов;
Eман. - суточные эксплуатационные расходы, связанные с выполнением
маневровой работы.
Варианты количества локомотивов задаются в диапазоне загрузки
локомотивов:
,4 ≤ γл ≤ 0,85
Для каждого варианта значений М определяются:
. Загрузка локомотивов:

ас - коэффициент, учитывающий возможные перерывы в использовании
маневрового локомотива и вытяжного пути из-за наличия враждебных передвижений
(0,93);
St пост - непроизводительный простой маневрового локомотива (простой
маневрового локомотива в связи с его экипировкой, сменой бригад и наличием
поездных передвижений по маршрутам, враждебным маневровым передвижениям), ч;
М - количество локомотивов.
1.1. При М=1

=0,87
Вариант исключается по условию 0,4 ≤ γл ≤ 0,85
1.2. При М=2
.3. При М=3
1.4. При М=4
Вариант исключается по условию 0,4 ≤ γл ≤ 0,85
. Простой вагонов в ожидании расформирования-формирования t ож.рф.
определяется по табл. 3.1.1 Норм времени на маневровые работы, выполняемые на
железнодорожных станциях ОАО «РЖД», в зависимости от γл.
. Простой местных вагонов в ожидании подачи и уборки t ож.пу., так же
определяется по табл. 3.1.1 Норм времени на маневровые работы, выполняемые на
железнодорожных станциях ОАО «РЖД», в зависимости от γл.
. Вагоно-часы простоя вагонов, зависящего от количества маневровых
локомотивов:
ман = [(Nтр.пер. + Nм) * t ож.рф.+ Nм * t ож.пу.] / 60, где
тр.пер. - количество транзитных вагонов с переработкой;м - количество
местных вагонов.
1) NHман = [(51 + 41) * 19,4 + 41 * 52] / 60 = (1785 + 2132) / 60 =
65,3 вагоно-ч
2) NHман = [(51 + 41) * 2,2 + 41 * 3] / 60 = (202 + 123) / 60 = 5,4
вагоно-ч
5. Локомотиво-часы работы маневровых локомотивов за сутки:ман = 24 * M
. Суммарные среднесуточные эксплуатационные расходы определяются по
формуле:
сут. = NHман * eвч + MHман * eлч.ман. , где
вч , eлч.ман. - эксплуатационные расходы, приходящиеся на 1 вагоно-час
простоя и 1 локомотиво-час маневровой работы, принимаемые по данным
экономического сектора ДТЦ-3: eвч =7,83 руб., eлч.ман. = 1642,14 руб. (данные
взяты по состоянию на 01.05.09г.).
1) E сут. = 65,3 * 7,83 + 48 * 1642,14 = 511,3 + 78822,72 = 79334,0
руб.
2) E сут. = 5,4 * 7,83 + 72 * 1642,14 = 42,28 + 118234,08 = 118276,4
руб.
Расчеты для двух возможных вариантов количества маневровых локомотивов
сведены в таблицу 5.2.
Таблица 5.2
Расчет оптимального количества маневровых локомотивов
|
№ варианта
|
1
|
2
|
|
М
|
2
|
3
|
|
γл
|
0,77
|
0,51
|
|
t ож.рф. ,мин
|
19,4
|
2,2
|
|
t ож.пу. , мин
|
52
|
3
|
|
NHман., вагоно-ч
|
65,3
|
5,4
|
|
MHман., локомотиво-ч
|
48
|
72
|
|
E сут., руб.
|
79334,0
|
118276,4
|
Таким образом, оптимальным по условию Eсут. = Eваг. + Eман. → min ,
является вариант №1 - 2 маневровых локомотива.
.2 Расчет
суточных размеров выгрузки и погрузки
Основная работа станции заключается обслуживании грузовых фронтов общего
пользования и необщего пользования; в приеме к перевозке, взвешивании,
хранении, погрузке, выгрузке и выдаче грузов; оформлении перевозочных
документов; информировании грузополучателей и грузоотправителей о подходе, прибытии
грузов, подаче вагонов к погрузочно-выгрузочным фронтам
С учетом возможности дальнейшего роста грузопотока в будущем. Для
выполнения дальнейших расчетов необходимо на основании данных о годовой
погрузке и выгрузке получить размеры прибытия, отправления вагонов за средние
сутки максимального месяца по формуле, ваг/сут:
где
,
− соответственно суточная выгрузка, погрузка
данного груза;
−
годовой объем прибытия (выгрузки), отправления (погрузки) данного груза;пр.
год. − коэффициент месячной неравномерности перевозок (принимаем 1,09);
−
статическая нагрузка вагона, т.
Статическая
нагрузка вагона, т/ваг, определяется на основании данных о составе и
использовании вагонного парка по родам грузов, перерабатываемых на станции по
формуле:
где
,
−
грузоподъемность четырех-, шести- и восьмиосных вагонов, т;
,
− соответственно коэффициенты использования
грузоподъемности вагонов в долях единицы;
,
− соответственно удельный вес вагонов в долях
единицы.
Путем
анализа отчетных данных установлено, что все местные вагоны, с которыми
работает станция, являются исключительно четырехосными.
Контейнеры
крупнотоннажные
Площадка
для 20 футовых контейнеров, путь 5:
;
;
в
том числе порожних, ваг:
(5)
Расчет
для остальных площадок ведется в 40 футовом эквиваленте
Площадка
для переработки 20 и 40 футовых контейнеров, 1 путь:
;
Площадка для переработки 20 и 40 футовых контейнеров, 2 путь:
;
Площадка для переработки 20 и 40 футовых контейнеров, 3 путь:
;
Площадка для переработки 20 и 40 футовых контейнеров, 4 путь:
;
Результаты
расчетов сведены в таблицу 5.3
Таблица 5.3-Расчет суточных размеров выгрузки,погрузки на контейнерных
пунктах
Грузовые
пункты Годовой грузооборот, т Суточный грузооборот, т
,
|
т/ваг , ваг/сут ,
ваг/сут
|
|
|
|
|
  
|
|
|
|
|
|
|
|
1путь
|
737234
|
80160
|
2221,2
|
241,6
|
48,3
|
46
|
6
|
|
2 путь
|
324708
|
65302
|
983,8
|
196,8
|
24,6
|
40
|
8
|
|
3путь
|
440788
|
440788
|
1328
|
1328
|
24,6
|
54
|
54
|
|
4 путь
|
0
|
1093806
|
0
|
3295,6
|
48,3
|
-
|
134
|
|
5 путь
|
0
|
865248
|
0
|
2607
|
48,3
|
-
|
106
|
|
Итого:
|
1502730
|
2545304
|
4533
|
7669
|
-
|
140
|
208
|
Крупнотоннажные контейнеры, прибывающие на станцию, подразделяются на
двадцати- и сорокафутовые, причем последние составляют до 70% от общего
поступления (отправления). В качестве подвижного состава используются
фитинговые платформы с длиной базы 14,42 метра. При этом на каждой платформе
располагается либо три контейнера по 20 тонн, либо один сорокафутовый.
Комбинированная схема постановки контейнеров на платформы практически не
применяется из-за специфики грузопотоков по различным видам контейнеров.
5.3 Расчет
средней статической нагрузки вагона в целом по станции
Средняя статическая нагрузка вагона, т/ваг, по отправлению определяется
по формуле:
где
− сумма произведений статической нагрузки на
размеры погрузки отдельных грузов, т;
−
общая погрузка станции, ваг.
5.4
Планирование распределения порожних вагонов по грузовым пунктам
Погрузка грузов, отправляемых со станции, как правило, обеспечивается
вагонами, освобождающимися после выгрузки прибывших грузов. Распределение
порожних вагонов под погрузку производиться с учетом физических свойств грузов,
количества подлежащих отправлению грузов, максимального использования вагонов
по вместимости и грузоподъемности. При недостатке вагонов определенного рода
можно предусмотреть их подвод из сортировочного парка за счет
расформировываемых поездов на основании перспективного планирования работы
грузового двора.
Для определения избытка или недостатка порожних вагонов на станции
составляется балансовая таблица. Баланс порожних вагонов (по каждому роду
груза, типу вагона) по грузовому пункту и в целом по грузовому двору
определяется в результате сопоставления размеров выгрузки и погрузки. Если
выгрузка больше погрузки, то на грузовом дворе будет излишек порожних вагонов,
если выгрузка меньше погрузки - недостаток. Однако, разность значений погрузки
и выгрузки, взятая по абсолютному значению, не всегда точно отражает избыток
или недостаток порожних вагонов; часто на грузовых пунктах отсутствует
взаимозаменяемость подвижного состава, т.е. возникает необходимость
осуществлять подвод и отправление порожних вагонов, что отрицательно
сказывается на показателях работы станции и подвижного состава.
Планирование распределения порожних вагонов по грузовым пунктам
целесообразно свести в таблицу 5.4.
Таблица 5.4-Балансовая таблица вагонопотоков контейнерных пунктов
|
Грузовой пункт
|
Род вагона
|
Выгрузка, т
|
Погрузка, т
|
Недостаток порожних
|
Избыток Порожних
|
|
1путь
|
ПЛ(фит)
|
46
|
6
|
-
|
40
|
|
2 путь
|
ПЛ(фит)
|
40
|
8
|
-
|
32
|
|
3путь
|
ПЛ(фит)
|
54
|
54
|
-
|
-
|
|
4 путь
|
ПЛ(фит)
|
-
|
134
|
134
|
-
|
|
5 путь
|
ПЛ(фит)
|
-
|
106
|
106
|
-
|
|
Итого:
|
-
|
140
|
208
|
240
|
72
|
.5Основные
показатели объема работы контейнерных пунктов
На основе балансовой таблицы определяем следующие показатели работы
станции:
1.
Общая погрузка:
.
Общая выгрузка:
.Общее
прибытие, ваг/сут:
где
− общее прибытие порожних вагонов (табл.5.4)
4. Общее отправление вагонов, ваг/сут:
где
− общее отправление порожних вагонов (табл.5.4)
5.Общий грузооборот контейнерных пунктов:
6. Вагонооборот контейнерных пунктов:
Коэффициент
сдвоенных операций:
6. Средняя статическая нагрузка вагона, т/ваг по отправлению:
6.Механизация
.1 Краткая характеристика контейнерных площадок
Площадки асфальтированы, подъезды и проезды автотранспорта имеют также
асфальтовое покрытие. Часть площадки у 1 пути имеет усиленное железобетонное
покрытие для переработки груженых 40-ка футовых контейнеров.
Площадка у погрузочно-выгрузочного пути имеет площадь 9800 м2, на которой
перерабатываются 40-ка футовые контейнеры. Погрузка и выгрузка контейнеров
производится большегрузными автопергружателями «КАЛЬМАР». Фронт погрузки - 24
вагона. Контейнеры размещаются в 7 рядов вдоль железнодорожного пути. Первый
ряд находится на расстоянии 10 м от погрузочно-выгрузочного пути 2. Груженые
контейнеры устанавливают длиной стороной вдоль площадки попарно дверьми друг к
другу с зазором между контейнерами не более 0,2 м. Емкость площадки при
установке груженых контейнеров в три яруса составляет 588 контейнеров.
Площадка высокая 3 путь оборудована контейнерным краном МККС-42КМ, имеет
площадь 3000 м2; на которой перерабатываются 20 и 40 футовые груженые
контейнеры вместимость в 40 футовом эквиваленте-150 контейнеров.
Площадка расширенная 4 путь обслуживается электрокозловым краном
МККС-42КМ, площадь составляет 9600 м2, вместимость в 40 футовом эквиваленте-500
контейнеров.
Площадка у 5 погрузочно-выгрузочного пути имеет площадь 6235 м2, на
которой производится переработка 20-ти футовых контейнеров РЖД и приписных
(собственность фирм). Погрузка и выгрузка контейнеров производится
электрокозловым краном КК-20М грузоподъемностью 20 тонн, оборудованным
автоматическим спредером, ширина пролёта 18 метров. Фронт
погрузочно-разгрузочных работ -19 вагонов. Контейнеры размещают в 4 ряда и 2
яруса, устанавливают длинной стороной вдоль площадки попарно дверьми друг к
другу с зазором между контейнерами не более 0,2м. Емкость площадки составляет
787 контейнеров
6.2 Расчет
потребного числа погрузочно - разгрузочных машин для вариантов механизации
Принятие типов и расчет количества погрузочно-разгрузочных машин и норм
времени на выполнение грузовых операций с вагонами осуществляется для каждого
грузового пункта. Погрузочно-разгрузочные машины на грузовом дворе используются
для погрузки (выгрузки) не только вагонов, но и автомобилей.
Количество погрузочно-разгрузочных машин для грузового пункта на грузовом
дворе определяем по формуле:
, машин
где
Qсутвыгр - суточная выгрузка на грузовом пункте, т;сутпогр - суточная погрузка
на грузовом пункте, т;
α пр - коэффициент, учитывающий долю погрузочно-разгрузочных работ по
прямому варианту «автомобиль - вагон» и «вагон-автомобиль», можно принять в
диапазоне 0,2-0,5;
П
- техническая производительность погрузочно-разгрузочной машины, т/ч;
Тпер
- продолжительность работы грузового пункта за сутки, ч;
Тпост
- постоянные перерывы в работе грузового пункта, исходя из режима работы (прием
и сдача смен, обеденные перерывы, при круглосуточной работе Тпост = 4-5 ч);
Кпод,
Куб - количество подач и уборок вагонов с грузового пункта за сутки (принимаем
равным числу передаточных поездов за сутки);под, tуб - продолжительность подачи
и уборки вагонов на грузовой пункт, ч.
Норма
времени (мин) на выполнение грузовых операций с группой вагонов определяется по
формуле:
, мин
, т
где
mпод - количество вагонов в подаваемой группе (принимаем по разложению состава
передаточного поезда);тн - техническая норма загрузки, т;пз - время на
выполнение подготовительных и заключительных операций с группой вагонов, мин.
Для
тарно-штучных грузов (повагонные отправки). Механизация - аккумуляторный
погрузчик, грузоподъёмностью до 1,5 т.
погрузч.;
мин;
мин.
Для
тарно-штучных грузов (мелкие отправки).
Механизация
- аккумуляторный погрузчик, грузоподъёмностью до 1,5 т.
погрузч.;
мин;
мин.
Годовой
объем прибытия контейнеров,который может быть переработан выбранным средством
механизации составит:
где
Смес - коэффициент месячной неравномерности перевозок,Смес=1,1.
Для
грузов в контейнерах 40 фут. Механизация - контейнерный кран.
кранов
мин.
В качестве оборудования для переработки, и складирования контейнеров
выбираю:
вариант - козловой кран на железнодорожном ходу Технорос КК36-18-12,5-5;
вариант - портальный кран на пневмоходу Kalmar RTG
Таблица 6.1
Технические характеристики выбранных вариантов
|
Параметр/наименование
|
Технорос КК36-18-12,5-5
|
Kalmar RTG
|
|
Грузоподъемность, т
|
16
|
32
|
|
Пролет
|
10,5
|
10,5
|
|
Высота подъема
|
12,50
|
15,24
|
|
Скорость, м/мин
|
|
-подъема груза
|
66 м/мин
|
100 м/мин
|
|
-передвижения тележки
|
60 м/мин
|
70 м/мин
|
|
-передвижения крана
|
33 м/мин
|
56 м/мин
|
|
-скорость вращения, об/мин
|
1,5
|
1.5
|
|
Двигатель
|
Электро
|
Электро
|
|
Мощность, кВт
|
320
|
355
|
|
Масса, т
|
215
|
270
|
Из таблицы видно, что вариант 2 выгоднее с точки зрения эксплуатационных
характеристик.
Одним из основных показателей рассматриваемых вариантов является размер
капитальных вложений, необходимых механизации площадки. Определение стоимости
отдельных объектов необходима как для установления общей величины
капиталовложений, так и для дальнейших подсчетов отчислений на амортизацию и
ремонт.
Расчёт капитальных затрат приведен в таблице 6.2.
Таблица 6.2
|
Наименование оборудования и
сооружения
|
Единица измерения объема,
оборудования и сооружений
|
Кол-во единиц объема,
оборудования и сооружения
|
Единичная стоимость, тыс.
руб.
|
Коэф. учит, транспортные
расходы при установке
|
Сумма , тыс. руб
|
|
Вариант 1
|
|
Технорос КК36-18-12,5-5
|
шт
|
1
|
60000
|
1,25
|
75000
|
|
Итого:
|
|
|
|
|
75000
|
|
Вариант 2
|
|
Kalmar RTG
|
шт
|
1
|
72800
|
1,25
|
91000
|
|
Капитальные работы
|
|
|
1270
|
|
1270
|
|
Итого:
|
|
|
|
92270
|
|
|
|
|
|
|
|
Расчет текущих затрат по вариантам механизации.
Величина годовых эксплуатационных расходов определяется по формуле:
,
где
- отчисления на амортизацию;
-
текущий ремонт оборудования и сооружений;
-
расходы на содержание штата работников, обслуживающих установки;
-
расходы на электроэнергию, горючее и смазочные материалы расходуемые
механизмами установок;
-
накладные расходы.
Амортизационные
отчисления рассчитываются по формуле:
,
где
- стоимость основных фондов;
- норма
амортизационных отчислений, %;
- срок
полезного использования.
Затраты
на текущий ремонт:
,
где
- амортизируемая стоимость объектов;
-
коэффициент учитывающий затраты на текущий ремонт, принимают равным 0,3.
Расчет
амортизационных отчислений и затрат на текущий ремонт по рассматриваемым
вариантам приведен в таблице
Таблица
6.3.
|
Наименование оборудования и
сооружения
|
Амортизируемая стоимость
объекта, тыс. руб.
|
Норма амортизации, %
|
Сумма амортизации, тыс. руб
|
|
Вариант 1
|
|
Технорос КК36-18-12,5-5
|
75000
|
12,5
|
9450
|
25500
|
|
Итого:
|
75000
|
-
|
9450
|
25500
|
|
Вариант 2
|
|
Kalmar RTG
|
92270
|
12,5
|
11375
|
30375
|
|
Итого:
|
92270
|
-
|
11375
|
30375
|
Расходы на содержание рабочей силы складываются из расходов по заработной
плате персонала, обслуживающего механизмы по сдельной и повременной форме
оплаты труда. Расходы по фонду оплаты труда рассчитываются каждой категории
трудящегося с последующим суммированием:
где
- штатное количество персонала одной категории;
-
коэффициент замещения принимаемый равным 1,08 при непрерывной работе 1,14;
-
среднемесячная ставка персонала данной категории;
- число
месяцев работы за год;
-
социальные отчисления.
Страхование от несчастных случаев на железной дороге составляет 0,2 -1 №
от ФЗП. Результаты расчетов сведены в таблицу.
Таблица 6.4- Расходы на содержание персонала
|
Профессия
|
Списочный состав
|
Среднемесячная заработная
плата, руб
|
Годовой фонд заработной
платы, тыс. руб.
|
Годовой фонд оплаты труда,
тыс. руб.
|
|
штатный
|
расчетный
|
|
|
|
|
Вариант 1
|
|
1 .Машинист крана
|
5
|
5,7
|
37200
|
2544,48
|
3211,13
|
|
2.Электрик
|
4
|
4,56
|
27600
|
1510,27
|
1905,96
|
|
3.Слесарь - автомеханик
|
4
|
4,56
|
21600
|
1181,95
|
1480,82
|
|
Итого
|
13
|
14,82
|
-
|
5236,7
|
6597,91
|
|
Вариант 2
|
|
1 .Машинист крана
|
5
|
5,7
|
37200
|
2544,48
|
3211,13
|
|
2.Слесарь - автомеханик
|
4
|
4,56
|
27600
|
1510,27
|
1905,96
|
|
3. Электрик
|
4
|
4,56
|
21600
|
1181,95
|
1480,82
|
|
Итого:
|
13
|
14,82
|
-
|
5236,7
|
6597,91
|
Суммарные годовые расходы на электроэнергию и смазочные материалы
вычисляются по формуле:
где
- расходы на силовую электроэнергию, потребляемую
погрузочно - разгрузочными машинами и оборудованием, тыс. руб.;
-
расходы на топливо, потребляемую погрузочно - разгрузочными машинами и других
нужд тыс. руб.;
-
расходы на электроэнергию на освещение территории, тыс. руб.;
-
коэффициент учитывающий дополнительные расходы на смазочные и обтирочные
материалы.
Расходы на силовую электроэнергию:
где
- расходы на силовую электроэнергию, потребляемую
машинами циклического действия, тыс. руб.;
-
расходы на силовую электроэнергию, потребляемую машинами непрерывного действия,
тыс. руб.;
Расчет
расходов на электроэнергию для силовых электродвигателей рассчитывается по
формуле
где
- количество машин одного типа;
-
суммарная мощность электродвигателей, установленных на машине, кВт ;
-коэффициент
использования электродвигателей по мощьности;
-
фактическое время работы одной машины в течении года,ч ;
-
стоимость 1 кВт ч силовой электроэнергии, руб.
Таблица 6.5
Затраты на силовую электроэнергию, потребляемою машинами циклического
действия
|
Вариант
|
Наименование машины
|
    .
|
|
|
|
|
|
|
1
|
Технорос КК36-18-12,5-5
|
304
|
3000
|
0,6
|
1
|
4.2
|
1532,2
|
|
2
|
Kalmar RTG
|
355
|
3000
|
0,6
|
1
|
4.2
|
1789,2
|
где
- время работы одной машины за сутки.
Расчет
суммарных и прочих затрат на топливо, электроэнергию, смазочные и обтирочные
материалы в соответствии с предлагаемыми вариантами представлен в таблице
Таблица 6.6
Расходы на электроэнергию, смазочные и обтирочные материалы
|
Вариант
|
Затраты на электроэнергию,
потребляемую перегрузочным оборудованием
|
Прочие затраты на смазочные
и обтирочные материалы
|
Суммарные затраты тыс. руб.
|
|
1
|
2298,3
|
229,8,
|
2298,3
|
|
2
|
2683,8
|
268,3
|
2952,1
|
Суммарные основные эксплуатационные расходы по предлагаемым вариантам
составляет:
, (37)
Вариант
1:
Вариант
2:
Накладные
расходы для хозяйства грузовой и коммерческой работы могут быть рассчитаны в
процентах к основным эксплуатационным расходам:
,
где
- коэффициент учитывающий накладные расходы в
процентах к основным расходам (
).
Вариант
1: 
Вариант
2: 
Расчет общей сумму эксплуатационных расходов:
,
Вариант
1: 
Вариант
2: 
Определение
себестоимости переработки груза является одним из основных показателей, которые
учитываются при сравнении вариантов по формуле.
где
- годовой грузопоток.
Вариант
1:
=52
Вариант
2: 
Срок
окупаемости капитальных вложений для вариантов составит:
где
- величина капитальных вложений, руб.
Вариант
1:
Вариант
2:
7.Охрана труда на станции
.1Анализ
условий труда при погрузочно-разгрузочных работах на станции
Благоприятные условия труда обеспечивают сохранение высокой
работоспособности человека, содействуют повышению плодотворности труда,
развитию творческой инициативы и превращению труда из обязанности в
потребность, а неблагоприятные - могут привести к ряду отрицательных явлений, к
которым относятся переутомление, различные заболевания профессионального
характера, снижение производительности труда, рост травматизма и развитие общих
заболеваний.
Условия труда на станции главным образом определяются:
· Совершенствованием технологии;
· Организацией трудового процесса;
· Степенью его механизации и автоматизации;
· Состоянием действующего производственного и вспомогательного
оборудования, приспособлений и инструмента.
Производительность труда и самочувствие работников во многом зависят от
состояния окружающей их среды и прежде всего от изменения температуры,
влажности, скорости движения воздуха, атмосферного давления, теплового
излучения. На организм человека неблагоприятно влияют такие факторы, как
повышенный уровень шума, химические факторы, источниками которых являются
перевозимые химические грузы, физические перегрузки и другие.
Объектами анализа условий труда являются:
· производственное оборудование;
· технологический процесс;
· трудовые операции при погрузке и выгрузке;
· санитарно-гигиеническая производственная обстановка.
Погрузка и выгрузка грузов на станции производится круглосуточно на
открытом воздухе, что отрицательно влияет на условия труда. Работники станции
выполняют эту работу под руководством дежурного по станции, от правильности
действий которого зависит безопасность труда всех работников, находящихся на
грузовой площадке.
При погрузочно-разгрузочных работах работники станции часто оказываются
внутри рельсовой колеи или в непосредственной близости от нее и на подвижном
составе. В условиях движения поездов и маневровой работы эти лица подвергаются
значительной потенциальной опасности.
Так же очень влияет на безопасность труда работа погрузочно-разгрузочных
машин и механизмов, которая требует особой бдительности. Интенсивные шумы
приглушают сигналы, оповещающие работников об опасности. Безопасность
работающих зависит от условий не только эксплуатации грузоподъемных машин, но и
содержания их территории. Для этого проезжая часть дорог, а также места
погрузки и выгрузки имеют твердое покрытие. Твердые покрытия или настилы через
рельсовые пути должны иметь ширину не менее 1,5 м для прохода грузчиков и для
передвижения машин и механизмов не менее 3 м.
При погрузке тарно-штучных грузов создается возможность падения груза на
работников из-за неисправности технических устройств.
.2
Мероприятия по улучшению условий и повышению безопасности труда при
погрузочно-разгрузочных работах на станции
Территория маневровых районов и сооружения грузового хозяйства станции, в
основном, отвечают требованиям техники безопасности и производственной
санитарии. Необходимо, чтобы все подъездные дороги и места погрузки, выгрузки
имели твердое покрытие. Склады пылящих и химических грузов расположены на
расстоянии около 300 метров от служебных и жилых зданий. Санитарно-защитная
зона соблюдается.
Ряд требований отнесены непосредственно к оборудованию, погрузочно-разгрузочным
машинам, приспособлениям и инструментам. Автопогрузчики, тракторные погрузчики,
электропогрузчики, экскаваторы и другие машины, которые не регистрируют в
органах Ростехнадзора, разрешается эксплуатировать в соответствии с
техническими паспортами. Раз в год погрузочно-разгрузочные машины подвергаются
комиссионному осмотру. При вводе машин в эксплуатацию назначают лиц,
ответственных за безопасное их содержание и работу.
Санитарно-гигиеническое и бытовое обслуживание работников грузового хозяйства
станции осуществляют на основании строительных и санитарных норм.
На объектах грузового хозяйства станции оборудованы гардеробные,
помещения для сушки рабочей одежды, обогрева работающих, душевые, туалеты,
пункты питания и другие необходимые сооружения.
Все вспомогательные помещения расположены в пристройках к
производственным зданиям и на первых этажах зданий.
Число мест в гардеробах принимают равным числу работников, занятых во
всех сменах. Все остальные вспомогательные помещения рассчитывают на число
работников самой максимальной смены.
Все объекты грузового хозяйства обеспечены питьевой водой из расчета
потребления от 2,5 до 4 л в сутки на одного человека. Качество питьевой воды
отвечает установленным санитарным требованиям.
Чтобы обеспечить безопасность в местах, наиболее опасных, устанавливают
предупредительные знаки и надписи: «Не стой под стрелой и в зоне возможного ее
опускания », «Берегись поворота крана» и др.
Для повышения безопасности труда проводят инструктажи по охране труда для
того, чтобы предупредить работников от несчастных случаев и, чтобы каждый
работник четко соблюдал правила безопасности труда при погрузочно-разгрузочных
и других работах.
Работники не должны приступать к разгрузке или погрузке при неисправности
какого-либо устройства, крана, или любого другого механизма.
Для улучшения условий и повышения безопасности труда помимо инструктажей
по охране труда, необходимо проводить ежегодно аттестационные проверки и
занятия по охране труда при технической учебе.
Требования безопасности к производственным процессам при
погрузочно-разгрузочных работах на станции определены в инструкциях по видам
работ, которые разработаны на основе отраслевых правил по охране труда в
хозяйстве грузовой и коммерческой работы на федеральном железнодорожном
транспорте ПОТРО-13153-ЦМ-933-03.
7.3
Обеспечение пожарной безопасности на станции
На станции приказом начальника станции устанавливается противопожарный
режим, обязательный для выполнения во всех подразделениях станции и всеми
работающими.
Для проверки соблюдения противопожарного режима осмотр всех помещений
производится ежемесячно при проведении комиссионного месячного осмотра
устройств и сооружений, путей, стрелочных переводов станции в период с 5 по 10
число месяца, комиссией под председательством начальника станции (заместителя
начальника станции), с участием представителей всех смежных служб и с
отражением результатов осмотра в специальном журнале формы ДУ - 46;
курение непосредственно на рабочих местах запрещено.
по окончании смены работник отключает все электроприборы, компьютеры и
другую технику из сети (за исключением источников электропитания и
электроустановок, которые по условиям технологического процесса должны работать
круглосуточно); помещения могут быть закрыты только после их осмотра и устранения
всех пожароопасных недочётов (о недочётах, которые не могут быть устранены
проверяющим, последний обязан немедленно сообщить вышестоящему должностному
лицу для принятия соответствующих мер.
Противопожарный режим призван обеспечить недопущение пожаров.
Противопожарный режим устанавливает:
правила пользования открытым огнем и использования нагревательных
приборов;
ответственных за пожарную безопасность на каждом объекте.
порядок открытия и закрытия помещений;
хранения горючих веществ, ветоши ;
содержание проходов и путей эвакуации;
содержание средств пожаротушения;
действие личного состава при пожаре;
сигналы оповещения о пожаре;
тушение пожаров первичными средствами пожаротушения;
порядок разработки инструкций, обучения и инструктажа работающих по пожарной
безопасности;
места курения;
На станции назначены ответственные за пожарную безопасность объектов,
осуществляется контроль, создана пожарно-техническая комиссия, разработан план
эвакуации людей и материальных ценностей при пожаре, с учетом требований правил
пожарной безопасности на железнодорожном транспорте ППБО-109-92 (ЦУО-112).
Ответственность за обеспечение пожарной безопасности станции в целом
несёт начальник станции. Ответственность за пожарную безопасность
служебно-технических помещений и безопасную эксплуатацию оборудования несёт тот
работник станции, который выполняет свои служебные обязанности в данном
помещении. Таблички с указанием лиц, ответственных за пожарную безопасность,
вывешиваются на видных местах при входе в помещение. Работники, ответственные
за пожарную безопасность в помещениях (изолированных рабочих местах), обязаны:
знать пожарную опасность технологических процессов, технологического
оборудования, находящегося в помещении, категории помещений производственного и
складского назначения по взрывопожарной опасности и требования, предъявляемые к
ним, обеспечивая строгое их выполнение, а также безопасное хранение
взрывоопасных и пожароопасных веществ и материалов;
обеспечить соблюдение установленного противопожарного режима, правил противопожарной
безопасности;
проводить периодические осмотры территории, зданий, производственных и
служебных помещений с целью контроля за состоянием путей эвакуации, средств
пожаротушения и принимать меры по устранению обнаруженных нарушений и
недостатков;
следить за исправностью приборов отопления, вентиляции, электроустановок,
технологического и производственного оборудования и немедленно принимать меры
по устранению обнаруженных неисправностей, которые могут привести к
возникновению пожара;
следить за своевременной уборкой помещений и рабочих мест, отключением
бытовых электроприборов, за исключением дежурного освещения, после окончания
работы;
в случае возникновения пожара или обнаружения его признаков немедленно
сообщить об этом пожарной охране, известить руководителей станции и приступить
к его немедленной ликвидации.
Работники, виновные в нарушении правил пожарной безопасности, в
зависимости от характера нарушений и их последствий, привлекаются к
дисциплинарной, материальной, административной или уголовной ответственности в
соответствии с законодательством Российской Федерации.
Каждый работник станции при обнаружении любых признаков пожара или
открытого огня на объектах станции, подвижном составе, непосредственной
близости от территории станции обязан немедленно, любыми средствами связи,
сообщить дежурному по станции.
Дежурный по станции, получив информацию, при наличии поселковой пожарной
службы вызывает её для ликвидации возгорания по телефону 01, докладывает
поездному диспетчеру и вызывает начальника станции для дальнейшей организации
работ. Одновременно с вызовом оперативных служб, ДСП принимает меры по
уточнению ситуации, установлению характеристик и опасности груза, находящегося
в горящем помещении (вагоне) и зоне пожара. Схема оповещения при возгорании
аналогична оповещению при чрезвычайных ситуациях.
Вызов к месту возгорания пожарных поездов и пожарных команд
осуществляется через поездного диспетчера.В нашем варианте ближайший пожарный
поезд расположен на станции Малая Вишера.
Ответственность за оповещение и вызов аварийных служб, а также за
организацию тушения пожара на станции до прибытия начальника станции или
пожарного подразделения возлагается на дежурного по станции.
До прибытия пожарного подразделения, работниками станции, в зависимости
от создавшейся ситуации должны обеспечить следующие мероприятия:
Дежурный по станции -
принять меры по эвакуации из очага пожара людей, материальных ценностей и
ограждению опасного места в соответствии с аварийной карточкой на опасный груз;
обеспечить отключение неисправных электросетей и электроаппаратов,
которые вызывают искрение, короткое замыкание, сверхдопустимый нагрев горючей
изоляции кабелей и проводов, до приведения их в пожаробезопасное состояние;
Отключение питания устройств поста ЭЦ производится на щите выключения питания
(ЩВП) путём перевода автоматических выключателей в нижнее положение. Щит
выключения питания установлен в помещении дежурного по станции.
в случае невозможности произвести выключение щита питания дежурный по
станции должен совместно с энергодиспетчером определить возможность
обесточивания питания станции путём управления высоковольтными разъединителями;
по возможности освободить соседние пути от вагонов и пути подъезда к
очагу возгорания;
при необходимости прекратить движение по станции, а поезда задержать на
соседних станциях или перегоне;
проконтролировать через энергодиспетчера обесточивание и заземление
участка электрической сети на месте работы пожарных подразделений;
организовать применение первичных средств пожаротушения, с привлечением
для этой цели работников станции вне зависимости от их принадлежности к
структурным подразделениям;
дать задание работникам пути на очистку междушпальных лотков и подготовке
их к прокладке рукавных линий для подачи воды;
при необходимости вызвать к месту пожара медицинскую и другие службы
Составители поездов -
при возникновении пожара или получения указания ДСП расцепить и отвести
вагоны от горящего подвижного состава на безопасное расстояние не менее 100
метров, а при горении ЛВЖ, сжиженных газов - на расстояние не менее 200 метров.
Работники технологического центра -
вскрыть документы и доложить дежурному по станции о наименовании груза и
номер аварийной карточки груза.
После прибытия подразделения пожарной охраны на станцию, руководитель
станции (ДСП) руководивший тушением пожара поступает в распоряжение
руководителя тушения пожара (РТП) и действует по его указаниям.
Представитель станции в оперативном штабе тушения пожара обязан:
консультировать РТП по специфическим особенностям горящего груза, содержащихся
в перевозочных документах или аварийной карточке;
обеспечить выделение рабочей силы для выполнения работ по тушению пожара
и эвакуации имущества;
организовывать работы по отключению или переключению коммуникаций
согласно указаний руководителя тушения пожара;
корректировать действия служб и отдельных лиц, занятых выполнением работ,
связанных с тушением пожара.
Порядок пользования первичными средствами пожаротушения.
К первичным средствам пожаротушения относятся:
огнетушители;
пожарный инвентарь (бочки для воды, вёдра пожарные, ткани асбестовые,
ёмкости с песком, пожарные щиты);
пожарные инструменты (багры, топоры, лопаты, крючки);
пожарное оборудование (пожарные колонки, стволы, рукава, пожарные насосы
и помпы).
Огнетушители являются первичным средством тушения начинающихся пожаров.
Имеющиеся на станции в служебно-технических помещениях огнетушители (марка
ОУ-5, ОП-5) позволяют тушить ими очаги возгорания твёрдых горючих материалов,
упаковок из горючих материалов, ЛВЖ, ГЖ и плавящиеся при нагревании твёрдые
материалы (мазут, бензин, лаки, краски, спирты, каучук и др.), а так же горючие
газы (углеводород, водород, сероводород и др.). Углекислотные и порошковые
огнетушители типа ОУ-5, ОП-5 применяются также для ликвидации возгораний в
установках и агрегатах находящихся под электрическим напряжением.
Порошковые
огнетушители марки ОП-5 применяются в температурном диапазоне от -50 С
до +50 С
,
продолжительность подачи огнетушащего вещества составляет 8 секунд.
Углекислотные огнетушители марки ОУ-5 применяются в температурном диапазоне от
-40 С
до +50 С
,
продолжительность подачи огнетушащего вещества составляет 9 секунд.
При
использовании углекислотного огнетушителя необходимо помнить, что во время
работы огнетушителя раструб сильно охлаждается и во избежание обморожения
нельзя держать его голыми руками.
7.4
Требования безопасности при эксплуатации погрузочно-разгрузочного оборудования
7.4.1 Разрешение на пуск в работу
Разрешение на применение кранов должно выдаваться в соответствии с
Правилами применения технических устройств на опасных производственных
объектах.
Разрешение на пуск в работу крана, подлежащего регистрации в органах
госгортехнадзора, должно быть получено от этих органов в следующих случаях:
а) перед пуском в работу вновь зарегистрированного крана;
б) после монтажа, вызванного установкой крана на новом месте (кроме
стреловых и быстромонтируемых башенных кранов);
в) после реконструкции крана;
г) после ремонта с заменой расчетных элементов или узлов
металлоконструкций крана с применением сварки;
д) после установки на кране нового ограничителя грузоподъемности.
Разрешение на пуск крана в работу после его регистрации выдается
инспектором госгортехнадзора на основании результатов полного технического
освидетельствования, проведенного владельцем крана. При этом проверяются
состояние крана (кранового пути), а также организация надзора за кранами
(крановыми путями) и их обслуживания. О предстоящем пуске крана в работу
владелец обязан уведомить органы госгортехнадзора (инспектора) не менее чем за
10 дней.
Разрешение на пуск в работу гусеничных и пневмоколесных кранов после
перестановки их на новый объект выдается инженерно-техническим работником по
надзору за безопасной эксплуатацией грузоподъемных кранов на основании
результатов проверки состояния крана и обеспечения безопасных условий его
работы с записью в вахтенном журнале.
Разрешение на пуск в работу вновь изготовленного стрелового крана,
поставленного владельцу в собранном виде, выдается органами госгортехнадзора на
основании результатов испытания крана на предприятии-изготовителе и частичного
технического освидетельствования, проведенного владельцем, с записью в паспорте
крана.
Разрешение на пуск в работу кранов, не подлежащих регистрации в органах
госгортехнадзора, выдается инженерно-техническим работником по надзору за
безопасной эксплуатацией грузоподъемных кранов на основании документации
предприятия-изготовителя и результатов технического освидетельствования.
Разрешение на пуск в работу кранов, подлежащих регистрации в органах
госгортехнадзора, записывается в их паспорт инспектором госгортехнадзора, а
других кранов - инженерно-техническим работником по надзору за безопасной
эксплуатацией грузоподъемных кранов. Разрешение на эксплуатацию грузозахватных
приспособлений и тары записывается в специальный журнал учета и осмотра лицом,
ответственным за безопасное производство работ кранами.
7.4.2 Техническое освидетельствование и ремонт
Краны до пуска в работу должны быть подвергнуты полному техническому
освидетельствованию. Краны, подлежащие регистрации в органах госгортехнадзора,
должны подвергаться техническому освидетельствованию до их регистрации.
Техническое освидетельствование должно проводиться согласно руководству по
эксплуатации крана. При отсутствии в руководстве соответствующих указаний
освидетельствование кранов проводится согласно настоящим Правилам.
Краны в течение нормативного срока службы должны подвергаться
периодическому техническому освидетельствованию:
а) частичному - не реже одного раза в 12 мес;
б) полному - не реже одного раза в 3 года, за исключением редко
используемых кранов (краны для обслуживания машинных залов, электрических и
насосных станций, компрессорных установок, а также другие краны, используемые
только при ремонте оборудования).
Редко используемые грузоподъемные краны должны подвергаться полному
техническому освидетельствованию не реже одного раза в 5 лет. Отнесение кранов
к категории редко используемых производится владельцем по согласованию с
органами госгортехнадзора.
Внеочередное полное техническое освидетельствование крана должно
проводиться после:
а) монтажа, вызванного установкой крана на новом месте (кроме стреловых и
быстромонтируемых башенных кранов);
б) реконструкции крана;
в) ремонта расчетных металлоконструкций крана с заменой элементов или
узлов с применением сварки;
г) установки сменного стрелового оборудования или замены стрелы;
д) капитального ремонта или замены грузовой или стреловой лебедки;
е) замены крюка или крюковой подвески (проводятся только статические
испытания);
ж) замены несущих или вантовых канатов кранов кабельного типа.
После замены изношенных грузовых, стреловых или других канатов, а также
во всех случаях перепасовки канатов должна производиться проверка правильности
запасовки и надежности крепления концов канатов, а также обтяжка канатов
рабочим грузом, о чем должна быть сделана запись в паспорте крана
инженерно-техническим работником, ответственным за содержание грузоподъемных
кранов в исправном состоянии.
Техническое освидетельствование крана должно проводиться
инженерно-техническим работником по надзору за безопасной эксплуатацией
грузоподъемных кранов при участии инженерно-технического работника, ответственного
за содержание грузоподъемных кранов в исправном состоянии.
Кран, отремонтированный на специализированном ремонтном предприятии и
доставленный на место эксплуатации в собранном виде, должен пройти полное
техническое освидетельствование на ремонтном предприятии перед отправкой его
владельцу. Акт технического освидетельствования должен быть приложен к паспорту
крана. До пуска в работу владелец крана должен провести его частичное
техническое освидетельствование, результаты которого занести в паспорт.
Техническое освидетельствование имеет целью установить, что:
а) кран и его установка соответствуют настоящим Правилам, паспортным
данным и представленной для регистрации документации;
б) кран находится в состоянии, обеспечивающем его безопасную работу.
При полном техническом освидетельствовании кран должен подвергаться:
а) осмотру;
б) статическим испытаниям;
в) динамическим испытаниям.
При частичном техническом освидетельствовании статические и динамические
испытания крана не проводятся.
При техническом освидетельствовании крана должны быть осмотрены и
проверены в работе его механизмы, тормоза, гидро- и электрооборудование,
приборы и устройства безопасности. Проверка исправности действия ограничителя
грузоподъемности крана стрелового типа должна проводиться с учетом его грузовой
характеристики.
Кроме того, при техническом освидетельствовании крана должны быть
проверены:
а) состояние металлоконструкций крана и его сварных (клепаных) соединений
(отсутствие трещин, деформаций, утонения стенок вследствие коррозии, ослабления
клепаных соединений и др.), а также кабины, лестниц, площадок и ограждений;
б) состояние крюка, блоков. У кранов, транспортирующих расплавленный
металл и жидкий шлак, у механизмов подъема и кантовки ковша ревизия кованых и
штампованных крюков и деталей их подвески, а также деталей подвески
пластинчатых крюков должна проводиться заводской лабораторией по инструкции с
применением методов неразрушающего контроля. Заключение лаборатории должно
храниться вместе с паспортом крана.
При неразрушающем контроле должно быть проверено отсутствие трещин в
нарезной части кованого (штампованного) крюка, отсутствие трещин в нарезной
части вилки пластинчатого крюка и в оси соединения пластинчатого крюка с вилкой
или траверсой. Такая проверка должна проводиться не реже одного раза в 12 мес.
Необходимость и периодичность проверки деталей подвески устанавливаются
владельцем;
в) фактическое расстояние между крюковой подвеской и упором при
срабатывании концевого выключателя и остановки механизма подъема;
г) состояние изоляции проводов и заземления электрического крана с
определением их сопротивления;
д) соответствие массы противовеса и балласта у крана стрелового типа
значениям, указанным в паспорте;
е) состояние кранового пути и соответствие его настоящим Правилам, проекту
и руководству по эксплуатации крана;
ж) состояние канатов и их крепления;
з) состояние освещения и сигнализации. Нормы браковки кранового пути,
канатов и элементов крана должны быть указаны в руководстве по эксплуатации.
Статические испытания крана проводятся нагрузкой, на 25% превышающей его
паспортную грузоподъемность.
Статические испытания мостового крана проводятся следующим образом. Кран
устанавливается над опорами кранового пути, а его тележка (тележки) - в
положение, отвечающее наибольшему прогибу моста. Контрольный груз поднимается
краном на высоту 100-200 мм и выдерживается в таком положении в течение 10 мин.
Статические испытания козлового крана и мостового перегружателя
проводятся так же, как испытания мостового крана; при этом у крана с консолями
каждая консоль испытывается отдельно.
По истечении 10 мин груз опускается, после чего проверяется отсутствие
остаточной деформации моста крана. При наличии остаточной деформации, явившейся
следствием испытания крана грузом, кран не должен допускаться к работе до
выяснения специализированной организацией причин деформации и определения
возможности дальнейшей работы крана.
Статические испытания крана стрелового типа, имеющего одну или несколько
грузовых характеристик, при периодическом или внеочередном техническом
освидетельствовании проводятся в положении, соответствующем наибольшей
грузоподъемности крана и/или наибольшему грузовому моменту.
Испытания кранов, имеющих сменное стреловое оборудование, могут
проводиться с установленным на них для работы оборудованием. После установки на
кран сменного стрелового оборудования испытание проводится в положении,
соответствующем наибольшей грузоподъемности крана при установленном
оборудовании.
Испытания кранов стрелового типа, не имеющих механизма изменения вылета
(стрела поддерживается растяжкой), проводятся при установленных для испытаний
вылетах. С этими же вылетами, при условии удовлетворительных результатов
технического освидетельствования, разрешается последующая работа крана.
При статических испытаниях кранов стрелового типа стрела устанавливается
относительно ходовой опорной части в положение, отвечающее наименьшей расчетной
устойчивости крана, и груз поднимается на высоту 100-200 мм.
Кран считается выдержавшим статические испытания, если в течение 10 мин поднятый
груз не опустится на землю, а также не будет обнаружено трещин, остаточных
деформаций и других повреждений металлоконструкций и механизмов.
Динамические испытания крана проводятся грузом, масса которого на 10 %
превышает его паспортную грузоподъемность, и имеют целью проверку действия ее
механизмов и тормозов.
При динамических испытаниях кранов (кроме кранов кабельного типа)
производятся многократные (не менее трех раз) подъем и опускание груза, а также
проверка действия всех других механизмов при совмещении рабочих движений,
предусмотренных руководством по эксплуатации крана.
У крана, оборудованного двумя и более механизмами подъема, должен быть
испытан каждый механизм.
Если кран используется только для подъема и опускания груза (подъем
затворов на гидроэлектростанции), динамические испытания могут быть проведены
без передвижения самого крана или его тележки.
Статические испытания кранов мостового типа, предназначенных для
обслуживания гидро- и теплоэлектростанций, могут проводиться при помощи специальных
приспособлений, позволяющих создать испытательную нагрузку без применения
груза. Динамические испытания в этом случае не проводятся.
Для испытания кранов при помощи специальных приспособлений владельцем
крана или специализированной организацией должна быть разработана
дополнительная инструкция.
Результаты технического освидетельствования крана записываются в его
паспорт инженерно-техническим работником по надзору за безопасной эксплуатацией
грузоподъемных кранов, проводившим освидетельствование, с указанием срока
следующего освидетельствования. При освидетельствовании вновь смонтированного
крана запись в паспорте должна подтверждать, что кран смонтирован и установлен
в соответствии с настоящими Правилами, руководством по эксплуатации и выдержал
испытания. Записью в паспорте действующего крана, подвергнутого периодическому
техническому освидетельствованию, должно подтверждаться, что кран отвечает
требованиям настоящих Правил, находится в исправном состоянии и выдержал
испытания. Разрешение на дальнейшую работу крана в этом случае выдается
инженерно-техническим работником по надзору за безопасной эксплуатацией
грузоподъемных кранов. Проведение технического освидетельствования может
осуществляться специализированной организацией.
.4.3 Производство работ
Краны могут быть допущены к перемещению грузов, масса которых не
превышает паспортную грузоподъемность. При эксплуатации крана не должны
нарушаться требования, изложенные в его паспорте и руководстве по эксплуатации.
Краны, оснащенные грейфером или магнитом, могут быть допущены к работе
только при выполнении специально разработанных для этих случаев указаний,
изложенных в руководствах по эксплуатации крана и грузозахватного органа.
Перемещение грузов над перекрытиями, под которыми размещены
производственные, жилые или служебные помещения, где могут находиться люди, не
допускается. В отдельных случаях по согласованию с органами госгортехнадзора
может производиться перемещение грузов над перекрытиями производственных или
служебных помещений, где находятся люди, после разработки мероприятий,
обеспечивающих безопасное выполнение работ.
Подъем и перемещение груза несколькими кранами допускаются в отдельных
случаях. Такая работа должна производиться в соответствии с проектом или
технологической картой, в которых должны быть приведены схемы строповки и
перемещения груза с указанием последовательности выполнения операций, положения
грузовых канатов, а также должны содержаться указания по безопасному
перемещению груза.
При подъеме и перемещении груза несколькими кранами нагрузка,
приходящаяся на каждый из них, не должна превышать грузоподъемность крана.
Работа по перемещению груза несколькими кранами должна производиться под
непосредственным руководством лица, ответственного за безопасное производство
работ кранами.
Находящиеся в работе краны должны быть снабжены табличками с обозначением
регистрационного номера, паспортной грузоподъемности и даты следующего
частичного и полного технического освидетельствования.
Неисправные грузозахватные приспособления, а также приспособления, не
имеющие бирок (клейм), не должны находиться в местах производства работ. Не
допускается нахождение в местах производства работ немаркированной и
поврежденной тары.
При эксплуатации мостовых кранов, управляемых из кабины, должна
применяться марочная система, при которой управление краном разрешается лишь
крановщику, получившему в установленном владельцем порядке ключ-марку,
включающий электрическую цепь управления краном.
При эксплуатации кранов, управляемых с пола, должен быть обеспечен
свободный проход для рабочего, управляющего краном.
Выходы на крановые пути, галереи мостовых кранов, находящихся в работе,
должны быть закрыты на замок. Допуск персонала, обслуживающего краны, а также
других рабочих на крановые пути и проходные галереи действующих мостовых и
передвижных консольных кранов для производства ремонтных или каких-либо других
работ должен производиться по наряду-допуску, определяющему условия безопасного
производства работ.
Порядок выдачи наряда-допуска и инструктажа рабочих определяется владельцем
крана. О предстоящей работе должны быть уведомлены записью в вахтенном журнале
крановщики всех смен пролета, цеха, где производится работа, а при
необходимости - и крановщики смежных пролетов.
7.4.4 Расчет защитного заземления корпуса козлового крана
Под защитным заземлением понимают преднамеренное
соединение металлических частей электрооборудования с землей посредством
заземлителей и заземляющих проводников с целью создания между корпусом
защищаемого устройства и землей достаточно малого сопротивления для
электрического тока.
Защитное заземление электроустановок следует выполнять
во всех случаях, если номинальное напряжение переменного тока 380В и выше, а
номинальное напряжение постоянного тока 440В и выше.
Назначение защитного заземления состоит в устранении
опасности поражения электрическим током в случае прикосновения человека к
корпусу и другим нормально нетоковедущим металлическим частям электроустановки,
оказавшимися под напряжением в результате случайного замыкания на корпус.
Спроектируем защитное заземление для козлового крана
типа КК-6. Исходные данные: напряжение питания электродвигателя 380 В;
вертикальные электроды из труб длиной l = 3 м и диаметром d = 0,057 м;
расстояние между трубами в групповом заземлителе a = 3 м; горизонтальная соединяющая
полоса стальная шириной b = 0,04м; грунт в месте устройства защитного
заземления глина. Грузовая станция, где эксплуатируется козловой кран,
расположена во II климатической зоне. Заземлитель должен быть выполнен в виде
прямоугольника; естественных заземлителей нет.
Допустимое сопротивление заземляющего устройства Rдоп£ 4Ом.
Сопротивление одиночного вертикального электрода
подсчитываем по формуле:
где rрасч - расчетное удельное сопротивление грунта, Ом*м;
- длина
электрода, м;
-
диаметр электрода, м;
-
расстояние от поверхности земли до центра заземлителя.
rрасч = rгрунта * Кс = 40 * 1,5 = 60 Ом*м;
где
rгрунта - удельное сопротивление грунта (для глины rгрунта =40 Ом*м);
Кс
- коэффициент сезонности (для II климатической зоны =1,5).
Находим
ориентировочное число одиночных замедлителей:
’=RB/Rдоп=16,1/4
=4,03 ед.
где
hB - коэффициент использования вертикальных электродов;
hГ - коэффициент
использования горизонтального проводника связи.
Без
учета полосы связи необходимое число электродов составит:
Принимаем
к установке 6 заземлителей. Заземлители располагаем вдоль рельсовых путей как
показано на рисунке 1
Рис.1. Схема заземления рельсовых путей: а) расположение заземлителей у
торцов рельсовых путей; б) расположение заземлителей вдоль рельсовых путей; 1 -
распределительный пункт (щит); 2 - соединительный проводник; 3 - заземлители; 4
- рельсовый проводник; 5 - башенный кран; 6 - продольная перемычка; 7 -
поперечная перемычка; 8 - четырехжильный кабель
Соединение вертикальных заземлителей между собой и рельсовыми путями
показано на рисунке 2.
Рисунок 2. Соединение вертикальных заземлителей между
собой и рельсовыми путями
Вывод:
В этой работе были рассмотрены требования безопасности
при эксплуатации погрузочно-разгрузочного оборудования, а так же произведен расчет
защитного заземления корпуса козлового крана для его нормальной эксплуатации.
Таким образом, строго следуя требованиям эксплуатации можно достаточно высоко
повысить уровень охраны труда на предприятии и безопасность.
7.5
Безопасность жизнедеятельности в чрезвычайных ситуациях
Задание №7
Вариант №1
Расчет защитного сооружения (ЗС)
для персонала станции Санкт-Петербург - Финляндский
Объект, рассматриваемый в дипломном проекте, находится на территории,
отнесенной к группе гражданской обороны. Для защиты производственного персонала
объекта и близлежащих территорий необходимо подготовить защитное сооружение,
вместимость и основные характеристики приведены в таблице.
|
Вариант
|
Вместимость, чел
|
Материал и толщина
конструкций h, см
|
Расчетный срок пребывания, сут
|
Высота помещений H, сут
|
|
1
|
800
|
Бетон-23; грунт - 60
|
5
|
2,3
|
Примечание: Защитное сооружение предусматривает работу трех режимов
системы воздухоснабжения и наличия пункта управления на 20 человек.
7.5.1 Требования к защитным сооружениям
Защитные сооружения ГО - это инженерные сооружения, предназначенные для
коллективной защиты населения, от поражающих факторов в ЧС.
По вместимости данное защитное сооружение относится к убежищам большой
вместимости - 600-5000 человек и более.
Убежища,
размещенные в зоне возможных сильных разрушений (ЗВСР), должны выдерживать
нагрузку 
и
ослаблять ионизирующие излучения с коэффицентом защиты (ослабления) КЗ = 1000.
Убежища
в пределах проектной застройки АЭС должны обеспечивать защиту при 
и КЗ =
5000, за пределами границ проектной застройки АЭС - при 
и КЗ =
3000.
Системы
жизнеобеспечения убежищ и ПРУ должны обеспечивать непрерывное пребывание в них
расчетного количества укрываемых в течение пяти суток.
Большинство
защитных сооружений должно иметь двойное назначение, то есть использоваться в
мирное время для различных целей (производственные, складские помещения,
вспомогательные помещения лечебных учреждений, помещения бытового обслуживания
и торговли, спортивные помещения, гаражи и т.п.).
В
любом случае защитное сооружение должно быть готово к заполнению людьми через
12 часов. Запрещается проживать в защитных сооружениях или устраивать склады
сыпучих материалов.
На
АЭС, ХОО и ОЖДТ защитные сооружения должны содержаться в готовности к
немедленному приему укрываемых (запрещается эти ЗС использовать под другие
нужды).
Воздухоснабжение
убежищ, как правило, должно осуществляться по двум режимам: чистой вентиляции
(режим I) и фильтровентиляции (режим II).
В
местах возможной опасной загазованности воздуха продуктами горения, в зонах
опасного химического заражения, возможных сильных разрущений вокруг АЭС и
возможного катастрофического затопления следует предусматривать режим полной
или частичной изоляции с регенерацией внутреннего воздуха (режим III).
Убежища
должны иметь входы и выходы с той же степенью защиты, что и основные помещения,
а на случай завала - аварийные выходы.
Вид
проектируемого Защитного Сооружения - Убежище.
Убежища
должны обеспечивать защиту укрываемых от расчетного воздействия поражающих
факторов ССП (без учета прямого попадания), а также при необходимости - от
катастрофического затопления, АХОВ, РВ, высоких температур и продуктов горения
при пожарах.
7.5.2 Устройство убежищ
Убежища состоят из ограждающих конструкций, помещений и
санитарно-технического оборудования. Ограждающие конструкции воспринимают нагрузки
при воздействии избыточного давления во фронте воздушной ударной волны, а также
обеспечивают ослабление радиационного воздействия до допустимого уровня. К ним
относятся фундаменты, стены, колонны, перекрытия, двери и т.п.
Помещения убежищ подразделяются на основные и вспомогательные.
К основным - относятся помещения для урываемых, пунктов управления и
медпунктов.
К вспомогательным - фильтровентиляционные помещения, санитарные узлы,
помещения для защищенных дизельных электростанций (ДЭС), для хранения
продовольствия, тамбур-шлюзы, тамбуры, помещения для кислородных баллонов и
станции перекачки.
Высоту помещений убежища определяют в соответствии с требованиями их
использования в мирное время, но не менее 2,2 м при двухъярусном расположении
нар и не менее 2,7 м - при трехъярусном.
Внутренний объем помещений должен не менее 1,5 м3 на укрываемого. При
определении объема помещений на одного укрываемого учитывается объем всех
помещений убежища в зоне герметизации, за исключением помещения ДЭС, тамбуров,
расширительных камер.
В помещениях для укрываемых норма площади пола на одного укрываемого
составляет 0,5 м2 при 2-ярусном расположении нар (h = 2,2…2,7 м, число мест для
лежания принимается равным 20% отвместимостиубежища) и 0,4 м2при 3-ярусном
расположениинар (h = 2,7…3,5 м, число мест для лежания принимается 30% от
вместимости убежища).
В помещениях для укрываемых нижний ярус скамей-нар для сидения
устанавливается из расчета 0,45х0,45 м на человека, верхний (для лежания) - из
расчета 0,55х1,8 м на человека.
Пункт управления (ПУ) оборудуется, как правило, в убежище, имеющем
защищенный источник электроснабжения, и размещается вблизи одного из входов. В
рабочих помещениях ПУ норма площади пола на одного работающего составляет 2 м2.
Помещения для ПУ предусматриваются при количестве укрываемых 600 человек и
более.
Площадь вспомогательных помещений принимается в соответствии с их
внутреннем инженерным оборудованием и числом укрываемых в основных помещениях.
Медицинские пункты площадью 9 м2 предусматриваются в убежищах при
численности укрываемых 900-1200 человек. На каждые 100 укрываемых сверх 1200
человек площадь медицинского пункта увеличивается на 1 м2. Кроме того, в
помещениях для укрываемых оборудуются санитарные посты площадью 2 м2 на каждые
500 укрываемых, но не менее одного поста на убежище. На каждые 100 укрываемых
сверх 500 площадь санитарного поста увеличивается на 1 м2.
Фильтровентиляционные помещения устраиваются у наружных стен убежища
вблизи входов или аварийных выходов. Размеры помещений определяются в зависимости
от габаритов оборудования и площади, необходимой для его обслуживания.
Санитарные узлы оборудуются раздельно для мужчин и для женщин. Для женщин
устанавливается одна напольная чаша (или унитаз) на 75 укрываемых, для мужчин -
одна напольная чаша или унитаз и писсуар на 150 укрываемых. В санузлах
оборудуются умывальники из расчета один на 200 укрываемых, но не менее одного
на санузел.
Помещение для хранения продовольствия предусматривается площадью 5 м2 при
вместимости убежища до 150 человек. На каждые 150 укрываемых сверх 150 человек
площадь помещения увеличивается на 3 м2. Количество - одно помещение на 600
укрываемых.
При вместимости убежища до 300 человек допускается устраивать один вход,
при это вторым входом должен быть аварийным (эвакуационным) выход в виде
тоннеля с внутренними размерами 1,2х2 м.
В убежищах один из входов, расположенных вне зоны завалов, допускается
использовать как аварийный выход.
Тамбур-шлюз предусматривается при одном из входов в убежищах вместимостью
300 человек и более, причем в убежищах вместимостью до 600 человек -
однокамерный, в убежищах большей вместимости - двухкамерный. Наружная и
внутренняя двери тамбур-шлюза - защитно-герметические.
Тамбуры устраиваются при всех входах в убежище, кроме тех, которые
оборудованы тамбур-шлюзами.
Расчет требуемого количества ФВК ведется, по режиму II.
При недостаточной подаче воздуха этими комплексами в режиме I нужно
предусматривать установку дополнительных электроручных вентиляторов ЭРВ-72-2
(расчетная подача 900-1300 м3/ч) или ЭРВ-72-3 (подача 1300-1800 м3/ч).
В
убежищах большей вместимости, вентиляция которых может быть обеспечена с
помощью ФВК-1 и ФВК-2, система воздухоснабжения оборудуется на базе
промышленных вентиляторов с электроприводом, фильтров-поглотителей ФП-300
(подача 300 м3/ч), противопыльных фильтров ФЯР и ПФП-1000. Режим регенерации
обеспечивается установками РУ-150/6 с фильтрами ФГ-70. РУ-150/6 забирает воздух
из помещения убежища очищает от углекислого газа и обогащает кислородом.
Наружный воздух 400
40
м3/час, после прохождения через фильтр ФГ-70 и внутренний воздух после
регенерации в установках РУ-150/6 охлаждается в воздухоохладителях и
электроручным вентилятором. Фильтр-поглотитель ФГ-70(фильтр гопкалитовый ФГ-70)
входит в состав ФВК-2 и используется для очистки наружного воздуха от окиси
углерода в III режиме вентиляции при создании подпора воздуха в убежище.
Воздухозаборные
(приточные) и вытяжные каналы защищаются от затекания ударной волны установкой
противовзрывных устройств.
Отработанный
воздух из убежищ удаляется самотеком или с помощью вентиляторов через
санитарные узлы, дизельную или непосредственно из помещений для укрывемых. В
помещениях убежища должен обеспечиваться эксплуатационный подпор воздуха,
равный 5 кг/м2.
В
отдельных случаях на территориях, где возможны пожары, сильная загазованность
среды АХОВ и ОВ, предусматривается режим III - регенерации внутреннего воздуха.
При режиме III убежище полностью изолируется от поступления наружного воздуха.
Забираемый из помещения убежища воздух проходит через регенеративную установку,
где очищается от углекислого газа и обогащается кислородом.
Отопление
убежищ осуществляется от отопительной сети предприятия (здания) по
самостоятельным ответвлениям с запорной арматурой на вводах трубопроводов.
Водоснабжение
убежищ предусматривается от внешней водопроводной сети установкой на вводе
внутри убежища запорной арматуры. Кроме того, предусматривается запас питьевой
воды в проточных емкостях из расчета 3 литра в сутки на каждого укрываемого с
обеспечением полного обмена воды в течение двух суток.
Электроснабжение
убежищ предусматривается от сети предприятия (города) и от защищенного
источника ДЭС, который, как правило, устанавливается для группы близлежащих
убежищ. В убежищах вместимостью до 600 человек, в которых используются
электроручные вентиляторы и нет режима регенерации и воздухоохлаждающих
установок, ДЭС не устанавливается.
7.5.3 Разработка плана защитного сооружения
Состав основных и вспомогательных помещений
При разработке плана необходимо: определить состав основных и
вспомогательных помещений защитного сооружения (ЗС);
Помещения убежищ подразделяются на основные и вспомогательные.
К основным относятся помещения для укрываемых, медпунктов.
К вспомогательным фильтровентиляционные помещения, санитарные узлы,
помещения для защищенных дизельных электростанций (ДЭС), для хранения
продовольствия, тамбур-шлюзы, тамбуры, помещения для кислородных баллонов и
станции перекачки.
Расчет площади помещений
Объем всех помещений убежища:

,
где
n - вместимость убежища, чел.; Hv - нормаподачивоздуханаодногочеловека в час,
м3/ч; H - высота, м.
Расчет
площади основных помещений:
где

- норма
площади на укрытие, м2; 
, где n -
количество укрываемых, k1 - норма площади основных помещений равна 0,5 м2; 
- норма
площади на медпункты и санитарные посты, м2;
По
данному соотношению можем определить норму площади санитарного поста:
-
2 м2
-
Х м2

820 х
0,5 + 20 х 2 + 3,5 = 428,5 м2
Расчет
площади вспомогательных помещений
Площадь
вспомогательных помещений убежища определяется исходя из установленных норм.
Для убежища с автономной ДЭС и регенерацией воздуха норма площади
вспомогательных помещений на человека составит 0,15 м2/чел.

= 820 х
0,15 = 127,5 м2
Помещение
для хранения продовольствия

, так
как на каждые 150 укрываемых сверх 150 человек, площадь помещения увеличивается
на 3 м2.
Санитарный
узел
Установить
в санузле для женщин: напольных чаш (унитазов) - 11 штук; умывальников - 2
штуки. В санузле для мужчин установить: напольных чаш (унитазов) и писсуаров -
6 комплектов; умывальников - 2 штуки.
1- помещение для укрываемых,
- скамьи-нары
- медицинский пункт 3,5 м2
- пункт управления ГО 40 м2
- помещение для хранения продовольствия 19 м2
- баллонная
- тамбур
- фильтровентиляционная камера
- расширительная камера
- тамбур-шлюз
- вход №1
- помещение ДЭС
- склад топливно-смазочных материалов
- электрощитовая
- вход № 3 и аварийный выход
- санитарные узлы
- вход №2
Расчет внутреннего инженерно-технического комплекса
Расчету подлежит: потребное количество фильтровентиляционных комплексов
(ФВК) или фильтров-поглотителей (ФП) по режиму II (режим фильтровентиляции);
выбор оборудования зависит от вместимости ЗС; потребное количество
дополнительных электроручных или промышленных вентиляторов по режиму I (режим
чистой вентиляции); необходимый аварийный запас питьевой воды; потребная
емкость аварийного резервуара для стоков; потребное количество скамей-нар.
Режим II - фильтровентиляция:
При норме подачи очищенного воздуха на каждого укрываемого 2 м2/ч и
одного работающего на ПУ 5 м2/ч производительность системы должна быть:
х 2 = 1600 м3/ч - для укрываемых.
х 5 = 100 м3/ч - для работающих на ПУ.
Всего в убежище требуется подать 1700 м2/ч воздуха.
Так как требуется обеспечить работу системы воздухоснабжения в трех
режимах, то в убежище необходимо установить ФВК-2. Подача одного ФВК-2 по
режиму фильтровентиляции 300 м3/ч, тогда для обеспечения необходимой подачи
системы требуется:
1700
300 = 6
коплектов.
Установить
в убежищах 6 ФВК - 2.
Режим
I - чистая вентиляция:
Исходя
из нормы подачи воздуха на одного человека для районов II климатической зоны,
равной 10 м3/ч, подача системы воздухоснабжения в режиме чистой вентиляции
должна быть:
х
10 = 8200 м3/ч
Так
как один ФВК-2 имеет подачу по режиму чистой вентиляции 1200 м3/ч, то общая
подача шести комплектов 1200 х 6 = 7200 м3/ч, что ниже потребности, поэтому
необходимо дополнительно установить в убежище электроручной вентилятор ЭРВ-72-2
с производительностью 900-1300 м3/ч.
Режим
III -регенерация внутреннего воздуха:
Будет
обеспечиваться имеющимися в составе ФВК-2 регенеративными установками РУ-150/6
и фильтрами ФГ-70.
Водоснабжение
убежища:
Вместимость
емкостей из расчета на 5 суток должна быть:
где
n - количествоукрываемых, tрас - расчетное время, сут; k - норма расхода
питьевой воды, л;
Канализация
убежища
Должна
обеспечивать отвод сточных вод из санитарных узлов в наружную канализационную
сеть. Устроить резервуар для сбора стоков из расчета 2 литра в сутки на
укрываемого объемом:
где
n - количество укрываемых; tрас - расчетное время, сут; k - норма расхода
стоков, л.
Отопление
убежища:
Предусмотреть
от отопительных сетей предприятия по самостоятельным ответвлениям.
Потребное
количество скамей-нар
Количество
лежачих мест принимаем в размере 20% от вместимости убежища при двухъярусном
расположении 164, мест для сидения - 656.
Результаты расчетов приведены в таблице:
Результаты расчета внутреннего ИТК
|
Площадь помещений, м2
|
Количество лежачих мест
|
Количество ФВК (ФП)
|
Запас питьевой воды
|
|
Общая
|
Вспомогательная
|
Основных
|
|
|
|
|
535
|
127,5
|
428,5
|
164
|
6
|
12300
|
Определение коэффициента ослабления ЗС
Значение KОСЛ позволяет ориентировочно определить предельно допустимые
мощности дозы излучения (МДИ) на поверхности земли Д, при которых за расчетный
срок пребывания в ЗС укрываемы не получают дозу больше установленной Dу.
где

- коэффицент
ослабления бетона, грунта соответственно; l - толщина ограждающей конструкции,
коэффицент ослабления грунта, см; d - слой половинного ослабления;
Максимально
допустимая МДИ в ЗС может быть определена из неравенства:
где
Dу - установленнаядозаоблучениязарасчетныйсрокпребывания в ЗС, мГр;
Предельнодопустимая
МДИ наповерхности Dдоп, мГр/ч, определяется по формуле:

,
где

-
установленная доза облучения за расчетный срок пребывания в ЗС, мГр; 
-коэффицент
ослабления.
Тогда
ориентировочное значение 
на
поверхности земли, если 
в ЗС за
расчетный срок его функционирования не должна превышать 10 мГр.
Полученная

соответствует
для запроектных аварий зоне Г.
Выводы:
- Материал и толщина ограждающих конструкций расчитанного
защитного сооружения обеспечат условие не превышения установленной дозы
облучения производственного персонала объекта и близлежащих предприятий в
течение расчетного срока.
Для обеспечения надежной защиты производственного персонала
работающей смены проектируемого объекта необходимо:
. Построить убежище на 820 человек с защитными свойствами: по
ударной волне с избыточным давлением не менее 100кПа, по ионизирующему
излучению с коэффицентом ослабления радиации не менее 3500.