Выращивание синтетического сапфира по методу О. Вернейля

  • Вид работы:
    Контрольная работа
  • Предмет:
    Геология
  • Язык:
    Русский
    ,
    Формат файла:
    MS Word
    44,64 Кб
  • Опубликовано:
    2012-09-27
Вы можете узнать стоимость помощи в написании студенческой работы.
Помощь в написании работы, которую точно примут!

Выращивание синтетического сапфира по методу О. Вернейля

Федеральное государственное автономное

образовательное учреждение высшего профессионального образования

«СИБИРСКИЙ ФЕДЕРАЛЬНЫЙ УНИВЕРСИТЕТ»

Механико-технологический факультет

Кафедра «Машиностроение»




КОНТРОЛЬНАЯ РАБОТА

Выращивание синтетического сапфира по методу О. Вернейля

Студент, МТ 07-11 Фауст И. В.

Руководитель Давтян А. Р.






Красноярск 2011

Содержание

Задание

. Природный сапфир

. Диагностические признаки

. Синтетический сапфир

. Методы выращивания синтетических корундов

. Метод О. Вернейля

Заключение

Список литературы

Задание

1. Описать выращивание синтетического сапфира по методу О. Вернейля

. Определить диагностические признаки

. Провести сравнение стоимости природных и синтетических сапфиров

. Природный сапфир

Сапфир - это минерал, разновидность корунда. Сапфир имеет преимущественно синий цвет разных оттенков. Название «сапфир» произошло от греческого слова sappheiros, что означает синий камень. Синюю окраску камню придают примеси титана и железа. Сапфир - это драгоценный камень первой категории, в основном используется в ювелирной промышленности. Сапфир обладает сильным блеском. Кроме, привычных синих сапфиров, встречаются ювелирного качества корунды оранжевого, розово-оранжевого, желтого, розового и бесцветного цветов - так называемые фантазийные сапфиры. Высоко ценятся сапфиры с хорошо выраженным эффектом астеризма. Также как и желтые сапфиры, стоимость которых сравнивается со стоимостью бриллиантов.

Образование сапфиров в природе связано с внедрением гранитных магматических плит в известняковые отложения.

Таблица 1. Физико-оптические свойства сапфира

Формула

Al2O3

Примеси

Fe2+, Fe3+, Ti

Сингония

Тригональная

Цвет

Синий и голубой различных оттенков, бесцветный, розовый, оранжевый, жёлтый, зелёный, фиолетовый, чёрный

Цвет черты

Белый

Блеск

Стеклянный

Прозрачность

Прозрачный до непрозрачного

Твердость по Маосу

9

Спайность

Отсутствует

Излом

Неровный до раковистого

Плотность, (г/см3)

3,95 - 4,00

Показатель преломления

1,766 - 1,774


Месторождения сапфира обнаружены практически на всех континентах, кроме Антарктиды. Главными странами-экспортерами этого драгоценного камня являются: Таиланд, Шри-Ланка, Бирма, Индия, США - штат Каролина и Монтана, Австралия, остров Мадагаскар, многие страны Африки. Небольшие месторождения расположены во Франции, Чехии, Польше, Швейцарии, России.

Сапфир, как драгоценный камень, пользующийся огромным спросом, часто подделывают. При покупке сапфира можно нарваться на подделку из стекла, кордиерита, турмалина и других камней. В этом случае, рассматривать камень в лупу и искать в нем природные включения, свойственные натуральным камням - бессмысленно. Здесь природные дефекты не являются показателем подлинности сапфира. Можно природный сапфир отличить от подделки царапанием по поверхности камня. Благодаря высокой твердости сапфира, на нем следы не останутся, в отличие от подделки. Для распознавания подлинности сапфира пользуются различными жидкостями с определенным удельным весом. Опустив камень в такую жидкость, сапфир сразу «утонет», подделка же, наоборот, останется на поверхности.

Кроме того, в настоящее время сапфиры любят подвергать термообработки для придания камню иного цвета - таким способом ослабляют, усиливают, или выравнивают окраску. После нагревания серовато-голубые сапфиры становятся ярко-синими, а диффузионная обработка приводит к окрашиванию в различные цвета верхнего слоя пришлифованных сапфиров. Диффузия оксидов железа дает синюю окраску, железа и никеля - красную и оранжевую, титана - эффект астеризма. У этих методов есть определенный минус: полученный цвет может достаточно быстро потерять свою яркость и насыщенность под воздействием солнечного цвета или температуры.

. Диагностические признаки

Многие корунды с легкостью расщепляются на пластинки вдоль некоторых плоскостей. Но это явление не настоящая спайность, особый феномен, называемый псевдоспайностью. Он обусловлен полисинтетическим двойникованием в виде пластинок. Корунд - единственный минерал с твердостью 9. Его можно поцарапать только алмазом. Многие образцы корунда способны флюоресцировать в ультрафиолетовых лучах.

·        Наличие круглых, эллиптических или в форме колбы пузырьков.

·        Белесые блики свойственные природным сапфирам отсутствует в искусственных камнях.

·        Включения заполнены пузырьками не природного газа.

·        Различия в спектрах поглощения.

·        Неестественные цвета.

·        Эффект «астеризма» в синтетических сапфирах, кажется окрашенным.

·        Синтетики имеют аккуратное основание, в отличие от натуральных сапфиров

. Синтетический сапфир

Благодаря сходству физических, химических и оптических свойств с природным сапфиром, синтетические сапфиры широко используются в производстве ювелирных изделий, часовой и полупроводниковой промышленности. Некоторые синтетические сапфиры настолько совершенны, что определить искусственный это сапфир или натуральный может только опытный ювелир или геммолог.

Сапфир был впервые в лабораторных условиях синтезирован в 1902 году. Синтетический рубин - «красный сапфир», однако, был произведен ранее, в 1888, году французским химиком Вернеем, разработавшим классический метод выращивания камней в промышленных масштабах. Синтетические сапфиры или сапфиры созданные в лаборатории, в контролируемых условиях, имеют кристаллическую структуру, оптические свойства и химический состав аналогичные природным сапфирам.

Для получения свойств сапфиров подобных натуральным моделируются синтетические процессы геологических условий, необходимых для возникновения природного сапфира. Оба драгоценных камня, и сапфир и рубин являются разновидностью корунда - оксида алюминия. В природе корунд встречается в различных оттенках синего, а также бесцветный, красный, желтый, розовый, оранжевый, коричневый, пурпурный и зеленый. Корунд всех цветов известен как сапфир, за исключением красного сапфира, который, как известно, называется рубином.

Синтетические сапфиры выращивают почти всех цветов, но наиболее популярным является синий сапфир. Для получения различных цветов, в окись алюминия добавляются примеси. Температура получения синтетических сапфиров более 2000 градусов по Цельсию. Другими условиями производства синтетических сапфиров являются: высокое давление.

Ювелирные изделия с синтетическими сапфирами столь же прекрасны, как и украшения с природными драгоценными камнями. Хотя синтетические сапфиры технически можно назвать «подлинными», но они, конечно, не природные.

Таблица 2. Окраска и название синтетических ювелирных корундов

Название

Бесцветный

Белый сапфир

Красный

Рубин

Темно-красный

Цветной гранат

Розовый

Розовый сапфир

Темно-розовый

Розолин

Лилово-розовый

Роза Франции

Оранжевый

Падпараджа

Темно-желтый

Дамбурит

Желтый

Топаз

Коричнево-желтый

Топаз мадера

Коричневый

Пальмирский топаз

Зеленый

Зеленый сапфир

Бледно-зеленый

Амарил

Голубой

Бирманский сапфир

Пурпурный

Аметист

Пурпурно-зеленый (меняющийся в зависимости от характера освещения)

Александрит

. Методы выращивания синтетических корундов

На протяжении многих десятилетий кристаллы корунда выращивались в промышленных масштабах исключительно методом Вернейля. Однако новые области применения рубина и лейкосапфира потребовали разработки таких способов их выращивания, которые позволяли бы получать весьма совершенные в структурном отношении и достаточно крупные кристаллы. Такие способы были разработаны. Кроме того, были разработаны способы выращивания кристаллов рубина и лейкосапфира из растворов в расплаве (метод флюса), из газовой фазы, а также в гидротермальных условиях. Такое разнообразие различных методов выращивания окрашенных разновидностей корунда позволяет получать кристаллы, в значительной степени отличающиеся друг от друга, а также от природных камней как по структурно-морфологическим особенностям, так и по некоторым физическим свойствам. В ювелирных изделиях используют преимущественно корунд красного и синего цвета с различными оттенками; в меньшей степени применяют камни других расцветок.

Наиболее сложным оказалось получение синего сапфира. Попытки получить его методом Вернейля с добавкой в шихту окиси кобальта не привели к успеху; выращенные кристаллы имели неприятный серый оттенок, распределение окраски в них было пятнистым. Позднее было установлено, что цвет, близкий к природным сапфирам, может быть достигнут одновременным добавлением в шихту окиси титана и окиси железа. Введение в корунд трехвалентного марганца приводит к окрашиванию кристаллов в желтовато - розовый, титана - в розовато-фиолетовый и никеля - в желтый цвета. Однако наиболее яркие цвета с красивыми оттенками получают введением в шихту смеси различных компонентов.

Замечательными ювелирными камнями являются синтетические звездчатые рубины и сапфиры, обладающие астеризмом. Этот оптический эффект, так же, как и а природных кристаллах, обусловлен закономерно ориентированным расположением в них многочисленных мельчайших кристаллов рутила, образующихся при добавлении в шихту окиси титана.

На западе наиболее крупные производства синтетических рубинов (сотни миллионов каратов в год) сосредоточены в Швейцарии, Франции, Германии, США и Великобритании. В значительно меньших количествах (десятки миллионов каратов в год) рубин выращивается в Японии, Индии и Израиле.

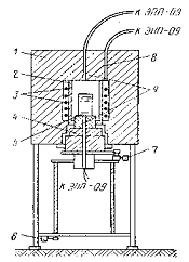
·        Синтез кристаллов из раствора в расплаве флюсов (флюсовый метод) осуществляется при высоких давлениях способом обратного температурного перепада либо в изотермических условиях за счет испарения расплава.

Рис.1. 1 - кристаллизационная печь, 2 - циллиндрический карборундовый экран, 3 - нагревательные силитовые стержни, 4 - под печи, 5 - тигель, 6 - устройство для вертикального перемещения, 7 - устройство для реверсивного вращения, 8 - термопара-датчик, 9 - контрольные термопары.

·        Гидротермальный метод применяется для выращивания кристаллов в автоклавах на затравочных пластинках из растворов при температурах 250-6000 С и давлениях в десятки и первые сотни мегапаскалей.

Рис. 2. Схема автоклава для гидротермального синтеза: 1 - раствор; 2 - кристалл; 3 - печь; 4 - вещество для кристаллизации.

·        Метод газотранспортных реакций, осуществляемый в контейнерах из жаропрочных сплавов при высоких температурах в условии перепада последних.

Рис. 3. Схема установки для кристаллизации из газовой фазы; пунктиром показано распределение температуры вдоль печи.

сапфир драгоценный камень синтетический

5. Метод О. Вернейля

Кристаллы, выращиваемые по методу Вернейля, известны как були (бульки). Этот термин, введенный Годеном и применявшийся Вернейлем, стал обычным в лексиконе специалистов по выращиванию кристаллов и геммологов.

Метод Вернейля заключается в применении вертикальной горелки с подачей порошка глинозема, без утечки кислорода. В холодной части пламени помещен керамический штифт, на котором собираются капли жидкого глинозема, образующиеся при плавлении порошка, просыпающегося через горячую зону пламени. Пламя окружается керамическим муфелем, играющим роль изолятора и защищающим растущую булю от «сквозняков». Муфель снабжен смотровым окном. Чрезмерный нагрев верхней части аппарата за счет тока тепла из горячей зоны предотвращается применением водяного охлаждения.

В начальной стадии роста були порошок, попадая на штифт, затвердевает и образует конус из материала относительно невысокой плотности. В дальнейшем конус перемещают в горячую зону пламени, где его вершина начинает плавиться. В этот момент образуется несколько кристаллов, но один из них ориентирован в направлении наибольшей скорости роста. Он подавляет рост остальных кристаллов и служит затравкой для развивающейся були. После того как в центральной части начнется преобладающий рост одного кристалла, чтобы увеличить диаметр були повышают скорость подачи питающего порошка и постепенно увеличивают температуру пламени регулировкой скорости потока кислорода. Верхняя поверхность були становится округлой, и на нее попадают свежие порции глинозема в виде падающих капель расплава. Далее подставку со штифтом опускают со скоростью, соответствующей скорости роста були.

Наиболее важным условием для выращивания высокого качества является равномерная подача порошка, поэтому большие усилия тратятся на приготовление питающего материала с тем, чтобы он обладал хорошей сыпучестью. Если порошок слишком грубый, внедрение крупных холодных частичек может вызвать затвердевание тонкого расплавленного слоя. Тогда зарождается много мелких кристаллов и буля утрачивает структуру монокристалла. Применение слишком мелкого порошка связано с опасностью испарения глинозема в пламени. Оптимальные размеры частиц лежат в субмикронном интервале (меньше тысячных долей миллиметра). Частицы должны иметь правильную форму, так как только в этом случае они одинаково реагируют на воздействие вибратора. Вернейль получал глинозем из аммониевых квасцов, содержащих 2,5% примеси хромовых квасцов (эта концентрация хрома обеспечивала получение камней красного цвета). Порошок такого состава нагревался до разложения квасцов и образования окислов, которые измельчались и просеивались через проволочное сито для селекции частиц необходимого размера.

Заключение

Природные сапфиры высокого качества и большого размера встречаются редко. Такие камни, как правило, используются для изготовления ювелирных изделий.

Сапфиры используются не только в ювелирной промышленности. Лейкосапфир применяется в технике, например, вместо стекла в часах или в иллюминаторах самолетов и космических ракет.

Высокая стоимость природных сапфиров объясняется не только их редкостью, физическими и оптическими свойствами, но и большими затратами на разработку месторождений. Размеры и качество природных камней не могут контролироваться человеком в процессе роста кристалла. Рост синтетических минералов можно контролировать. Можно вырастить кристалл необходимого цвета, размера, качества, для любых целей.

Список литературы

Д. Эллуэл Искусственные драгоценные камни, 1986 г.

Тематический портал о камнях и минералах. Режим доступа: <http://www.jewellery.org.ua/stones/sintetica2.htm>

Каталог интернет-магазинов. Режим доступа: <http://www.info-shop.ru/stat/ruby-sapfir.htm>

Wonderland - All About Magic. Режим доступа: <http://wonderland.ucoz.net/publ/3-1-0-103>

В мире ювелирных украшений и камней. Режим доступа: http://www.jewelgold.ru/2009/10/02/synthetic_-sapphire/

Энциклопедия технологий и методик. Режим доступа: <http://patlah.ru/etm/etm-01/dom-promsl/uvelir/dragocennost/drag-06.htm>

Большая советская энциклопедия. Режим доступа: <http://bse.sci-lib.com/particle001145.html>

Википедия. Режим доступа: <http://ru.wikipedia.org>

Похожие работы на - Выращивание синтетического сапфира по методу О. Вернейля

 

Не нашли материал для своей работы?
Поможем написать уникальную работу
Без плагиата!
Без нейросетей!