Получение древесно-полимерных композитов из древесных отходов

  • Вид работы:
    Курсовая работа (т)
  • Предмет:
    Экология
  • Язык:
    Русский
    ,
    Формат файла:
    MS Word
    1,03 Мб
  • Опубликовано:
    2012-10-26
Вы можете узнать стоимость помощи в написании студенческой работы.
Помощь в написании работы, которую точно примут!

Получение древесно-полимерных композитов из древесных отходов














КУРСОВоЙ проект

по дисциплине: «Утилизация промышленных отходов»

на тему

Получение древесно-полимерных композитов из древесных отходов

Студент

Д.В. Строков






МОСКВА 2012

Содержание

древесный полимерный композит отходы

Введение

. Литературный обзор

1.Древесные отходы

. Древесно-полимерный композит

3. Состав, свойства и обработка изделий из ДПК

. Применение древесно-полимерного композита

. Получение древесно-полимерного композита

.1 Технологии производства изделий из ДПК

. Технологическая часть

1. Выбор линии по утилизации древесных отходов с получением гранул ДПК

2. Оборудование, входящее в автоматическую линию переработки древесных отходов

Заключение

Список используемой литературы

Введение

Отходы - это та часть сырья, которая отделяется в процессе обработки как не соответствующая техническим условиям на изготовляемую заготовку, деталь или изделие. Отходы могут быть использованы в качестве основного сырья при изготовлении продукции другого вида или размера. Таким образом, используемые отходы представляют собой вторичное сырье или материал.

Масштабы производства предметов из древесины и темпы развития деревообрабатывающей промышленности в целом всегда находятся на высоком уровне. Количество образующихся отходов пропорционально масштабам производства. В этих условиях важной задачей является утилизация древесных отходов.

В России опилки и станочная стружка раньше практически не использовались и в основном направлялись в отвалы. Только в последнее время, в связи с наметившимся ростом производства в деревообрабатывающей промышленности, многие лесопильные и деревообрабатывающие предприятия стали искать применение отходам. Широкое распространение получило их использование в качестве дешевого древесного топлива в виде брикетов без применения связующих веществ. Кроме топлива мягкие отходы в небольших количествах используются в гидролизном производстве, для изготовления арболита.

Переработка леса в России и за рубежом - это не только переработка древесины как сырья: технологии рубок, транспортировка, хранение древесины, лесопиление, т.е. деревообработка. Но и переработка вторичных лесных ресурсов (из отходов лесосек и деревообработки); целлюлозно-бумажное производство (ЦБП); мебельное производство. Если говорить о самых современных технологиях в области лесного комплекса, то это и биотехнология - применение микроорганизмов для бесхлорной, бездиоксинной отбелки целлюлозы, - очистки стоков целлюлозно-бумажных комбинатов и гидролизных производств. Даже для беглого обзора всех перечисленных направлений не хватит и нескольких сотен страниц, поэтому, характеризуя всю переработку леса, мы остановимся лишь на некоторых - наиболее современных и перспективных отраслях хозяйства, которые еще недавно бурно развивались, и за которыми будущее.

Однако наиболее перспективным направлением переработки отходов является изготовление на их основе композиционных материалов, способных заменить массивную древесину.

В данной работе основное внимание уделяется переработке древесных отходов в качественный наполнитель для дальнейшего получения гранул древесно-полимерного композита.

1. Литературный обзор

. Древесные отходы

В зависимости от вида производства, при котором образуются древесные отходы, выделяют отходы лесозаготовок и отходы деревообработки.

К древесным отходам при лесозаготовках относятся отделяемые части дерева в процессе заготовки леса. Это листья и хвоя, не одеревеневшие побеги и кора, сучья и ветви, козырьки, вершинки, откомлевки, фаутные вырезки ствола, отходы производства колотых балансов. Получаемые при лесозаготовках древесные отходы в своем естественном виде малотранспортабельны, а при использовании энергетическом их предварительно измельчают в щепу.

Отходы деревообработки образуются при деревообрабатывающем производстве. Это горбыль и рейки, короткомер и срезки, опилки и стружка, отходы производства технологической щепы и древесная пыль, кора.

В зависимости от характеристики биомассы древесные отходы могут быть из элементов кроны, из стволовой древесины, из коры, а также древесная гниль. Форма и размер древесных отходов говорит о кусковых древесных отходах и мягких древесных отходах. К кусковым древесным отходам относятся откомлевки и фаутные вырезки, горбыль и козырьки, срезки и рейка, короткомеры. Стружки и опилки относят к мягким древесным отходам.

Количество древесных отходов определяется по доле отходов из древесины, не использованной в данном технологическом процессе при производстве конкретного вида товара. Исчисление количества образованных древесных отходов проводится в процентном соотношении от объема древесного сырья, которое было использовано при производстве продукции. Вид продукции влияет на количество отходов.

Многочисленные исследования установили линейную зависимость между объемом вывозимой стволовой древесины и количеством отходов при заготовке леса.

Древесные отходы лесопиления представлены кусковыми отходами, используемыми в ряде случаев для энергетических целей. Кусковые отходы лесопиления - это отходы из периферийной части бревен. Бревна без предварительной окорки имеют в изобилии кору, что исключает возможность их применения для производства древесных плит и варки целлюлозы.

В зависимости от местных условий количество древесных отходов лесопиления может изменяться и зависит от объема распиливаемого сырья. Количество коры на древесине зависит в большей степени от породы и возраста деревьев. Условия произрастания исходного материала также сказываются на количестве древесных отходов. Диаметр ствола дерева также влияет на количество коры. На общем количестве коры, которую получают при окорке, сказывается ее потеря во время лесозаготовок. Транспортировка древесины сплавом способствует отваливанию коры и уменьшает ее общий выход до 8 - 10 % от объема окоренной древесины.

Учитывая практические расчеты, количество коры составляет 10 % от объема окоренной древесины. Это немалое количество коры на древесине, что определяет важность и возможность применения отходов окорки древесины. Ведь окорка древесины обязательна при производстве все возрастающих объемов целлюлозно-бумажных товаров производства.

Количество отходов деревообрабатывающих производств зависит от качества поставляемого сырья, типа и размера изготовляемой продукции, техновооруженности предприятия и его мощности. Количество отходов в деревообработке составляет 45-63% исходного сырья.

2. Древесно-полимерный композит

Древесно-полимерный композит (ДПК) - композиционный материал, содержащий полимер и древесный наполнитель, модифицированный, как правило, химическими добавками. Другие используемые названия древесно-полимерных композитов: "жидкое дерево", древесно-пластиковый композит, древопласт, поливуд, древотермопласт и т.п. Особенность древесно-полимерных композитов заключается в том, что готовые изделия получаются из отходов производства и потребления: опилок, стружек, древесной муки, сельскохозяйственных отходов и различных видов отходов потребления.

По внешнему виду древесно-полимерный композитный профиль с высоким содержанием древесины более всего напоминает твердую ДВП, а с малым ее количеством - пластмассу. Его можно пилить, строгать рубанком, вбивать гвозди. Он может окрашиваться в массе или подвергаться лакокрасочной отделке обычными красками и эмалями, или облицовываться синтетическими пленками или натуральным шпоном.

Древесно-полимерный композит - современный материал, который имеет все лучшие природные свойства дерева, но так же имеет и ряд недостатков, таких как подверженность гниению и плесени, горючесть, дефекты поверхности, не впитывает влагу и т.д.

Состав ДПК: древесная мука (или мелкая щепа) с фракцией 0,5-2мм, полимер и аддитивы. В качестве полимера может быть ПВХ (50/50), полиэтилен (70/30) или полипропилен (60/40).

Производство древесно-полимерных композитов - один из наиболее перспективных в области рационального использования отходов лесопиления, мебельного и деревообрабатывающего производств, использования низкосортной древесины, растительных целлюлозосодержащих отходов и вторичных пластмасс для переработки в высококачественные профильные детали для широкого спектра применений, включая строительство и мебель.

3. Состав, свойства и обработка изделий из ДПК

Используемые материалы и состав

Древесно-полимерные композиционные материалы состоят из трех основных компонентов:

· частиц измельченной древесины, 30-80% (в зависимости от используемого полимера)

· термопластичного полимера

· комплекса специальных химических добавок (модификаторов, аддитивов), улучшающих технологические и другие свойства композиции и получаемой продукции. 0-5%

В настоящее время на рынке существуют 3 разновидности древесно-полимерных композитов: ПЭ ДПК, ПП ДПК и ПВХ ДПК. В профильных изделиях большее распространение получили материалы на основе ПЭ и ПВХ. При этом изделия, изготовленные на основе ПВХ, имеют самые лучшие характеристики в сравнении с ПЭ и ПП по прочности, негорючести и т.д.

Рецептура изделий напрямую зависит от вида и условий эксплуатации самих изделий и в каждом случае подбирается индивидуально.

   Свойства получаемого композита определяются свойствами полимерной матрицы, частиц древесины и характером связей и взаимодействий между ними. Количество древесины в композите (по весу) находится в диапазоне от 50 до 80 %. Иногда такие материалы называют супернаполненными полимерами. Последние исследования свидетельствуют о принципиальной возможности изготовления композита с долей древесины до 90 - 95 % .

В производстве ДПК могут использоваться любые термопластичные полимеры и их смеси, однако на практике применяются три группы термопластов : полиэтилен (ПЭ), полипропилен (ПП) и поливинилхлорид (ПВХ). Больше всего используется полиэтилен - до 70 %. Для управления технологическим процессом и свойствами ДПК в их состав вводят различные добавки-модификаторы: антиокислители, антимикробные средства, поверхностно-активные вещества, связующие, противоударные модификаторы, смазочные материалы, температурные стабилизаторы, пигменты, огнезащитные средства, светостабилизаторы и вспенивающие агенты.

Еще одним направлением в производстве ДПК является применение в качестве связующих биологических полимеров - например, зерновых крахмалов, отходов кожевенного и бумажного производств и т.п. Биополимеры дешевы, к тому же из них можно изготавливать легко утилизируемые биоразлагаемые композиты.

По внешнему виду ДПК с высоким содержанием древесины более всего напоминает МДФ или твердую ДВП, а с малым содержанием - пластмассу. Они могут окрашиваться в массе или подвергаться лакокрасочной отделке обычными красками и эмалями, облицовываться синтетическими пленками или натуральным шпоном.качестве древесного наполнителя может быть использована не только древесина хвойных пород, как этого требуется при изготовлении ДСП, но практически любой вид древесины, а также различные отходы (рейка, обрезки, шпон, стружки, опилки) лесопильных и деревообрабатывающих производств и не востребованная древесина санитарных рубок в лесах. Кроме того, дополнительным сырьевым ресурсом является целлюлозосодержащие отходы сельскохозяйственного производства (костра льна, рапс, рисовая шелуха и др., а также самовозобновляемые растения: камыш, тростник и др.).

Размер частиц древесной муки может быть различным - от 0, 001 до 1 мм, и чем крупнее частицы наполнителя, тем дешевле конечное изделие. Крупные фракции имеют ограничение в использовании, поскольку размер частиц наполнителя тесно связан с прочностью и качеством поверхности получаемого материала.

Свойства древесно-полимерного композита

Материалы ДПК обладают уникальным набором свойств:

· поддаются механической обработке;

· сырьём служат отходы производств;

· возможность эксплуатации изделий на открытом воздухе при любых погодных условиях, - материал не трескается на морозе и не коробится;

· экологически чистая основа, отсутствие токсичных выделений;

· разнообразные и сложные конфигурации профиля;

· экономия на весе при производстве полого профиля (с пустотами);

· окраска по всему объёму.

Многие рецептуры ДПК обладают исключительной стойкостью к атмосферному и биологическому воздействию: ультрафиолетовому излучению, влаге, воде, минеральным растворам, устойчивы к атакам микроорганизмов и насекомых. Некоторые фирмы - изготовители ДПК предоставляют гарантии на 10 - 50 лет эксплуатации готовых изделий на улице, без специальной защиты.

Обрабатываются они теми же инструментами, что и древесина. Легко пилятся, строгаются, сверлятся и т.п. Хорошо удерживают гвозди, скобы, шурупы, многие поддаются склеиванию обычными клеями для дерева. Некоторые композиты можно сваривать, подобно пластмассе. Возможно их гнутье в подогретом виде.

Профили из ДПК могут эффективно комбинироваться с металлическими или стеклопластиковыми профилями (полосами, трубами, уголками, таврами и т.п.) для создания очень прочных и жестких конструкций.

Таблица 1. Физические и механические свойства ДПК

Наименования показателей, ед. измерения

Значения

Плотность [кг/дм 3]

1,0- 1,4

Временное сопротивление [МПа]

15 - 50

Модуль упругости при растяжении [ГПа]

4- 8

Сопротивление изгибу [МПа]

25 - 60

Модуль упругости при изгибе [ГПа]

3 - 6

Относительное удлинение при растяжении [%]

0,5 - 1

Ударная вязкость [KJ/m2]

3 - 4


. Применение древесно-полимерных композитов

ДПК широко применяются для изделий, эксплуатируемых в уличных условиях .ДПК не гниет и не плесневеет, не рассыхается и не трескается от перепадов температуры и прямого нагрева солнца. Из этого материала получаются превосходные отделочные элементы внешнего архитектурного дизайна - садовые дорожки, веранды, обрамление бассейнов, ступени, беседки, декинг, сайдинги, элементы кровли, ограждения, мостовые конструкции и причальные элементы, транспортные поддоны, садовая и парковая мебель. Облицовка загородного дома блок-хаусом из ДПК будет гораздо практичнее и красивее, нежели сайдинг.

Благодаря способности хорошо изгибаться в подогретом виде возможно получать не только прямые погонажные профили, но придавать им изогнутые формы. Это открывает практически бесконечные возможности использования данных материалов в архитектурном декоре, ограниченные лишь фантазией дизайнеров.

ДПК также используются в транспортном машиностроении: можно уверенно прогнозировать их применение в сельскохозяйственном производстве, в горном деле, а также во многих других сферах.

Материалы ДПК стремительно завоевывают отрасли, где позиции дерева и пластика еще совсем недавно казались непоколебимыми.

Среди них можно выделить:

Декинг <#"582233.files/image001.gif">

Рис.1 Декинг

Двери <#"582233.files/image002.gif">

Рис.2 Сайдинг

Мебель <#"582233.files/image003.gif">

Рис. 3 Гранулятор с водокольцевой резкой

Данная операция подходит для таких полимеров как ПП, ПЭ, ПА, ПС, АБС.

Предварительно измельченное сырье загружается в приёмный бункер, откуда непосредственно поступает в цилиндр экструдера. В цилиндре под воздействием подведенного от нагревателей тепла и вращения шнеков, сырье проходит последовательно через фазы плавления, сжатия, перемешивания, гомогенизации, фильтрации через сетку-фильтр и далее выдавливается через экструзионную головку. На данном этапе нарезка гранул осуществляется подобно мясорубке вращающимися ножами, где циркуляционный насос непрерывно осуществляет подачу охлаждённой воды. Далее гранулят вместе с водой поступает в агрегат отделения гранулы от воды (центрифуга). После сушки гранула попадает на вибростол для разделения гранул на фракции, и далее с помощью центробежного вентилятора и системы воздуховодов, дополнительно подсушенная вторичная гранула транспортируется в бункер-накопитель.

5.1 Технологии производства изделий из ДПК

 

Формование из компаунда

Основным направлением в технологии производства этих изделий является формование, которое может осуществляться несколькими описанными ниже способами.

ДПК изготавливаются из компаунда, состоящего из смеси древесных частиц, термопластичного полимера и небольшого количества функциональных и технологических добавок. Компаунд для формования подготавливается заранее или смешивается непосредственно в ходе технологического процесса формования.

Во время формования полимер, содержащийся в компаунде, размягчается под действием температуры и становится пластичным, что позволяет придавать компаунду самые разнообразные геометрические формы. Специальные технологические добавки, вводимые в компаунд, улучшают пластические свойства и текучесть рабочей смеси и облегчают протекание процесса. Высокая пластичность древесно-полимерного компаунда дает возможность осуществлять производство изделий несколькими индустриальными методами.

Прессование

Прессование изделий из ДПК проводится в стандартных гидравлических прессах или специальных прессовых установках. Могут быть получены листовые изделия, бруски и детали более сложных форм. Используется предварительно приготовленный древеснополимерный компаунд, например в гранулированном виде.

Прессование осуществляется при температуре, обеспечивающей достаточную пластичность полимерной матрицы (130-180оС). Изделия извлекаются из прессформы после остывания до температуры ниже температуры размягчения полимера.

Этот метод часто применяется в лабораторных опытах, но в производстве термопластичных ДПК большого распространения пока не получил. Заметим, что прессование широко используется в промышленности при формовании древесных композитных материалов на основе термореактивных смол (например, бакелита, древесностружечных и древесноволокнистых плит).

Достоинством этого метода является относительная простота получения изделий большой площади (до нескольких квадратных метров), включая детали довольно сложных геометрических форм.

Прокатка

Метод прокатки реализуется на специальных прессовых установках непрерывного действия.

Транспортировка компаунда внутрь пресса и вынос готового листа осуществляется при помощи бесконечных стальных лент, перемещаемых внутри плит пресса.

Литье под давлением

Литье под давлением является широко распространенным способом промышленного изготовления изделий сложных геометрических форм из термопластичных материалов. Этот метод реализуется при помощи специальных литевых машин, т. н. термопласт-автоматов.

В термопласт-автомате разогретый компаунд подается в закрытую прессформу посредством поршня, но чаще - шнекового нагнетателя, создающего достаточно высокое давление.

Литье под давлением - способ изготавливать как небольшие, так и крупногабаритные детали, например, элементы дверных коробок длиной более 2 м. Размеры получаемых изделий лимитируются параметрами пресс-формы и мощностью литьевой машины.

Этим методом перерабатывается сейчас примерно 15% от всех термопластичных ДПК - например, для производства кровельных изделий, соединительных и декоративных элементов в баллюстрадах, мебельных деталей и др.

Литье является одним из наиболее перспективных способов изготовления изделий из ДПК, т. к. подходит для массового производства продуктов самого широкого назначения: деталей машин и механизмов, сантехники, архитектурного декора, игрушек и других товаров народного потребления, включая мебель, мебельные детали и мебельную фурнитуру.

Экструзия

Метод экструзии широко применяется при выработке полимерных листов и пленок, но особенно эффективен для выпуска труб и профильных деталей. В настоящее время экструзия является основным способом переработки термопластичных ДПК.

Экструзия фактически представляет собой процесс непрерывного литья под давлением в бездонную пресс-форму, позволяющую получать изделия бесконечной длины. Для экструзии можно использовать заранее приготов- ленный гранулированный компаунд. Однако в последнее время в экструзии ДПК становятся популярными специальные экструзионные установки для т. н. прямой экструзии.

В установку для прямой экструзии подаются все необходимые компоненты смеси (измельченная древесина, базовая смола, технологические и функциональные аддитивы), которые тщательно смешиваются в ходе вращения шнеков экструдера и затем выдавливаются через фильеру.

Возможно использовать технологию экструзии для получения и продольно-армированных изделий, таких как металло-древесно-полимерные трубы или продольно-армированные профили. В отрасли переработки пластмасс такой вид экструзии называется пултрузией.

Повторное термическое формование

Этот метод позволяет изменить форму изделия, уже изготовленного из термопластичного композита (листа, трубы, профиля).

При повторном формовании изделие подогревается в печи или в специальной установке до температуры размягчения композита (но не до его расплавления), а затем деформируется при помощи специальной оснастки.

Данный метод чаще всего применяется для получения тонкостенных изделий довольно сложных форм из листового ДПК (например при помощи вакуумформовочной оснастки), в частности, в автомобильной промышленности.

Также горячее тиснение становится одним из важных способов декорирования профильных изделий, полученных методом экструзии. В этом случае тиснение поверхностной более или менее глубокой текстуры или другого декора производится проходным методом на тиснильных станках вальцового типа.

Последующее термоформование начинают также использовать в конструкциях мебели.

При необходимости повторное термоформование может быть сопряжено с облицовыванием шпоном, декоративной пленкой, тканью, нетканым полотном, кожей и т. д.

Горячее гнутье профильных элементов используют и в строительстве, например, для гнутья перил, арочных конструкций, досок пола, труб и других профильных элементов.

2. Часть. Технологическая

1.       Выбор линии переработки древесных отходов с получением гранул древесно-полимерного композита

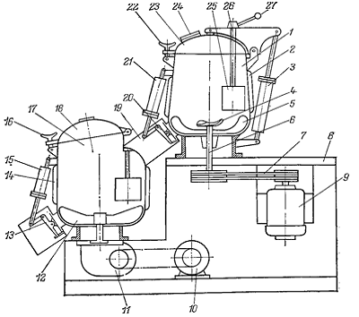
Рис. 4. Схема линии переработки древесных отходов с получением гранул древесно-полимерного композита:


Особенности линии грануляции АБС

1. Шнековая пара (шнек и цилиндр), изготовленная из импортированной высококачественной конструкционной стали, прошла наладку, окончательную обработку и азотацию и является надежной в использовании и имеет долгий срок службы.

. В линии присутствует высокоскоростной смеситель, гарантирующий нужную степень гомогенности.

. Головка червячного пресса оборудована электрическим или гидравлическим устройством прессования, таким образом улучшается производительность.

. Использование высокотехнического устройства контроля температуры гарантирует качество готовой продукции.

. Главный электродвигатель использует мотор с регулируемой скоростью, что обеспечивает применяемость любого вида полимера для грануляции.

Состав оборудования автоматической линии горячего брикетирования металлической стружки

1. Автоматический погрузчик отходов

o     пластинчатый транспортер с накопительной емкостью

2. Молотковая дробилка (мельница)

o     предварительное измельчение

3. Барабанная сушилка

o     удаление влаги до 5-8%

4. Магнитный сепаратор

o     полное извлечение магнитной фракции из отходов

5. Мукомольные жернова

6. Дозатор

. Высокоскоростной смеситель

o     Смешение компонентов ДПК

8. Экструдер

9. Стренговая головка

. Сменный фильтр

. Ванна охлаждения из нержавейки

. Устройство для обдува сжатым воздухом

. Устройство приемо-гранулирующее

. Приемный бункер гранулята

Описание комплекса оборудования

Условие:

· Отходы вторичной деревообработки (без коры): древесная стружка, щепа мелкой крупности, опилки, древесная пыль

· Производительность системы 60-120 кг/час

· Способ отделения влаги - во взвешенном состоянии в потоке высокотемпературной газовоздушной смеси

В результате:

· Отходы измельчаются до состояния древесной муки низкой крупности

· Происходит дозирование и смешение компонентов

· Производится экструдирование отходов

· Получение стренгов (протаскивание через фильерную головку)

После процесса охлаждения получаются гранулы размером 0,5-15 мм

Рабочий процесс линии

Крупные отходы лесопиления(горбыли, рейки и т.д.) попадают через наклонный патрон в рубильную машину(21) и измельчаются. Измельченные отходы в виде древесной стружки, щепы мелкой крупности, опилок, и древесной пыли загружаются в бункер-накопитель(1). Из бункера проходят через магнитный сепаратор(12), для удаления металлических частей, которые могут попасть в массу опилок, и подают в молотковую мельницу(3) для предварительного размельчения. Крупный сход поступает вторично в молотковую мельницу, а мелкая фракция схода - в жернова для вторичного помола. От молотковой мельницы измельченные опилки поступают в мукомольную установку(4). Из мукомольной установки полученная древесная мука попадает в специальную сушилку барабанного типа(5), где сушатся до 5-8% влажности. Из барабанной сушилки древесная мука направляется по элеватору(6) в бункер-накопитель(10). Из бункера по ленточному конвейеру мука попадает в двухстадийный смеситель(13) . При помощи дозатора(20) в смеситель поступают также: полимер (полиэтилен, полипропилен), стабилизаторы, модификаторы, пигменты. В двухстадийном смесителе происходит смешение компонентов. Затем масса попадает на цилиндр экструдера(14), где она плавится, перемешивается, превращается в гомогенную массу. Далее сырье проходит фильтрацию и дозируется через фильеру(15), приобретая вид нитей. Эти нити охлаждаются в специальной ванне(16), затем сушатся устройством обдува сжатым воздухом(17) и нарезаются на гранулы нужной величины на гранулирующем устройстве(18). Гранулят складируется в бункер(19) или упаковывается.

Преимущества данной автоматической линии утилизации отходов АБС-пленки с получением вторичного пластика

· В линии присутствует двухстадийная система измельчения, позволяющая полностью классифицировать по крупности и перерабатывать все поступающие древесные отходы

· Работа линии не требует привлечение большого количества человеческих ресурсов (необходимы 1-2 человека)

· Все единицы оборудования не требуют специального фундамента при установке, достаточно ровной поверхности

· Экологически чистая технология.

. Оборудование, входящее в автоматическую линию по утилизации отходов АБС-пленки

)Рубильная машина

Рубильная машина МРНП-30 дисковая с наклонным загрузочным патрубком предназначена для измельчения в щепу низкокачественной древесины и крупномерных отходов лесопиления (горбылей, реек и т.д.)

Рис. 5.Рубильная машина МРНП-30

-рама; 2,5-подшипники; 3-наклонный патрон; 4-кожух диска; 6-вал диска; 7-муфта; 8-тормоз; 9-рычаг управления тормозом; 10-электродвигатель; 11-патрубок выброса щепы

Рабочим органом рубильной машины МРНП-30 является ножевой диск, который крепится на валу, установленном в двух сферических роликоподшипниках. На лицевой стороне диска закреплены рубильные ножи. Вдоль режущей кромки ножа расположена сквозная подножевая щель для прохода отрезаемой щепы на противоположную сторону диска. При верхнем выбросе щепы на ободе диска установлены лопасти.

Ножевой диск закрыт кожухом, сваренным из листовой стали. Один из секторов кожуха откидывается на шарнире при смене режущих ножей и техническом осмотре. При необходимости правый сектор кожуха также может быть снят для проведения ревизии и осмотров. Все элементы рубильной машины - подшипники, патрон, кожух, тормоз и электродвигатель смонтированы на общей раме машины. Привод ножевого диска осуществляется от асинхронного электродвигателя через втулочно-пальцевую муфту. Полумуфта, закрепленная на валу рубильной машины, является одновременно и тормозным шкивом.

Для остановки ножевого диска после отключения электродвигателя служит ленточный тормоз. Расчетное время торможения - 60 с. Наиболее сложным узлом рубильной машины является ножевой диск. Он состоит из собственно диска, на котором установлены режущих ножей. Каждый нож зажимается между накладкой и подкладкой двумя шпильками. Для равномерного затягивания древесины задние грани режущих ножей и накладок имеют геликоидальную (винтовую) поверхность.

Принцип действия

Отходы лесопиления загружаются в наклонный патрон(3).Далее происходит измельчение с помощью ножей, закрепленных на диске, находящемся под кожухом(4).Таким образом крупные отходы лесопиления(горбыли, рейки и т.д.) превращаются в щепу.

Таблица 1. Технические характеристики

Производительность, м3/час

20

Длина щепы, мм

15-25

Размеры приемного окна загрузочного патрона(ШхВ), мм

250х400

Мощность двигателя, кВт

75

Размеры перерабатываемого сырья(диаметр), мм

220-250

 

2) Молотковая дробилка (мельница)
Предназначены для измельчения древесных отходов (щепа, стружка технологическая, отходы после сортировки опилок).

Применение установок

Установки могут применяться как самостоятельно, так и входить в состав линий, например, на пеллетных заводах. Получаемую мелкую фракцию применяют для изготовления прессованных изделий, используют в линиях для производства топливных гранул; специального пористого кирпича, древесно-полимерных материалов; для получения биологически-активных веществ; в физико-химических технологических процессах. Важным условием применения дробилки является работа на сухом сырье, предназначена для эксплуатации в закрытом помещении. Допустимые климатические условия: температура окружающего воздуха от -20 - +15 С, относительная влажность 95%.

Принцип действия

От электродвигателя через шкивы посредством клиноременной передачи вращение передается на вал ротора. Ротор состоит из двух сварных секций, сидящих на шпонках на валу и конструктивно связаны с шестью осями, на каждой из которых свободно сидят 16 молотков. Под действием центробежной силы инерции молотки занимают радиальное положение и поступающая стружка крошится на мелкие фракции, и отбрасывается на сито. Готовая измельченная фракция падает на щит, далее через патрубок центробежного вентилятора отсасывается и подается в транспортное устройство. Центробежный вентилятор и ротор имеют независимые приборы.

 

Таблица 2. Технические характеристики

Максимальная производительность, кг/час

500

Тип установки

Молотковая роторная

0,2-1

Подача материала в установку, мм

механическая непрерывная, ручная

Удаление фракции из установки, мм

воздухом

Тип и номер вентилятора, мм

центобежный, ЦП7-40-5 (№5)

Максимальный диаметр ротора, мм

715

Частота вращения ротора, об/мин

1500

привод ротора

18,5

вентилятора

7,5

Максимальные размеры перерабатываемых отходов древесины, мм


длина, мм

35

ширина, мм

20

толщина, мм

5

Число молотков, шт

144

Габаритные размеры машины, мм


длина

2280

ширина

1100

высота

1100

Масса с электроприводом, кг

1000

 

3) Барабанные сушилки (рис.6.) предназначены для сушки зерна, опилок, других легких, сыпучих и зернистых материалов мелкой фракции.

Барабанные сушилки с пневматической загрузкой предназначены для сушки зерна, опилок, других легких, сыпучих и зернистых материалов мелкой фракции. В пневматических сушилках воздух является не только агентом сушки, но и осуществляет полностью или частично перемещение материала, а также способствует его подвижности и разрыхлению.

Рис. 6. Барабанная сушилка

- загрузочный бункер; 2 - разгрузочный бункер; 3 - бандаж; 4 - барабан; 5 - упорная станция; 6 - редуктор; 7 - электродвигатель; 8 - опорная станция

Влажный материал непрерывно подается шнековым или скребковым транспортером в загрузочный бункер(1), откуда по трубе поступает во вращающийся барабан(4). В барабане материал перемешивается и распределяется по сечению барабана с помощью внутренней насадки. Горячий воздух, нагреваемый в топке или электрокалорифере, подается вентилятором в барабан и продувает материал. Непрерывно перемешиваясь, материал перемещается к выходу за счет потока воздуха. Высушенный материал удаляется через шлюзовой затвор, смонтированный в нижнем отверстии разгрузочного бункера(2). Отработанный воздух выходит через верхнее отверстие и очищается от пыли в циклоне.

 

Таблица 3. Технические характеристики

Подача, кг/час

1350-12500

Начальная влажность,%

от 50

Конечная влажность,%

6

Испаряемая влага, кг/час

585-6035

Общая мощность, кВт

30-120


) Подвесной магнитный сепаратор.

Магнитный сепаратор предназначен для более эффективной подготовки материала к производственному процессу: для обнаружения и удаления металлических включений, которые при попадании в термопласт автомат в процессе производства могут стать причиной его поломки. Магнитный сепаратор обеспечивает непрерывность при производстве и значительно снижает расходы, связанные с ремонтом таких блоков термопласт автомата, как шнек и его цилиндр, а также блока впрыска.

Подвесной (навесной) магнитный сепаратор (рис. 7) предназначен для очистки сыпучих продуктов, подаваемых по конвейерной ленте, от случайно попавших металломагнитных включений (проволока, гвозди, болты, гайки, стружка, и т.д.).

Рис. 7. Сепаратор ЭПР-120

- Опорный барабан; 2 - Разгрузочная лента; 3 - электромагнит; 4 - ведущий барабан; 5 - рама; 6 - натяжной барабан; 7 - привод.

Принцип действия подвесного (навесного) магнитного сепаратора.

Подвесной (навесной) магнитный сепаратор на основе постоянных магнитов(3) Nd-Fe-B устанавливается над транспортерной лентой, по которой перемещается материал.

Магнитные подвесные сепараторы на постоянных магнитах помогают очистить от ферромагнитных включений сыпучие материалы, перемещаемые по ленточному транспортёру. Например, древесную стружку, песок, щебень, руду и так далее.

Сепараторы помогут защитить технологическое оборудование от повреждения случайными металлическими предметами. Магнитные подвесные сепараторы устанавливаются над ленточным конвейером поперек направления движения материала на высоте 100-400 мм от конвейерной ленты. Эффективность процесса очистки сыпучих продуктов значительно повышается, если установить сепараторы этой серии в тех местах транспортерной ленты, где он находится в состоянии свободного падения.

Магнитный подвесной сепаратор представляет собой горизонтально расположенный ленточный транспортер небольшого размера, состоящий из механизма движения собственной транспортерной ленты и магнитной системы. Магнитный блок сепаратора, создающий мощное магнитное поле, устанавливается над конвейерной лентой, перемещающей сепарируемый материал. В зоне мощного магнитного поля из-за различной магнитной восприимчивости сыпучего продукта и металлических предметов под воздействием магнитных сил металломагнитные предметы выделяются из немагнитного потока продукта, притягиваются к нижней части магнитного блока и удерживаются на нем до момента очистки, а очищенный продукт проходит дальше по конвейеру.

За счет наличия в сепараторе собственной транспортерной ленты, движущейся в нижней части сепаратора под магнитным блоком, налипшие на него металлические предметы выносятся собственной транспортерной лентой из зоны действия магнитного поля и сбрасываются в специально подготовленный для этого контейнер. Для удаления задержанных металломагнитных примесей в сепараторах применяется автоматическая очистка. металлосборник.

Магнитные сепараторы серии СМП-ПК применяются на предприятиях строительной промышленности, очищая материал от посторонних частиц перед его подачей на сортировочное и дробильное оборудование.

Аппараты применяются и на предприятиях деревообрабатывающей промышленности, особенно необходимы при производстве древесностружечных плит. Сепараторы этой серии устанавливаются и на предприятиях, профилем которых является литейное производство - как иначе очистить формовочные смеси и песок, руду от металлических предметов. Впрочем, сепараторы этой серии можно применять и в других случаях очистки крупных сыпучих материалов, особенно в тех случаях, когда нет возможности постоянного присутствия обслуживающего персонала.

Таблица 4.Технические характеристики

Максимальная индукция магнитного поля на поверхности магнитного блока(при 20°С)

до 500мТл

Максимальная рабочая температура

до 150°С

Автоматическая

Масса задерживаемых металлических частиц

до 25 кг.

Глубина зоны извлечения

до 400 мм.

Габаритные размеры

Зависят от установленных типоразмеров

 

4)Двухстадийный смеситель

Данный тип аппаратов относится к категории смесителей периодического действия. Это значит, что все подлежащие смешению ингредиенты одновременно или в заданной последовательности вводятся внутрь рабочей камеры смесителя. Процесс смешения продолжается до тех пор, пока не будет получена смесь с заданной степенью гомогенности.

Конструкция двухстадийного смесителя горячего/холодного смешения представлена на рисунке 8.

Типичная схема такого двухступенчатого смесителя представлена на рисунке. Смеситель снабжен двумя смесительными камерами - для «горячего»(1) и «холодного»(17) смешения, установленными вместе с электродвигателями роторов на общей сварной станине(8). Для удобства чистки обе камеры имеют откидные крышки, на которых располагаются смотровые люки с подсветом. Обогрев верхней камеры осуществляется жидким теплоносителем (глицерин, минеральное масло), циркулирующим в рубашке (2). Верхняя камера закрывается откидной крышкой(23), на которой расположен загрузочный люк(24). Крепление крышки к камере осуществляется откидным винтовым зажимом(22). Открывание и закрывание крышки осуществляет пневмоцилиндр(3).

Рис. 8.Двухстадийный смеситель

В верхней камере на валу(6) установлен комбинированный ротор, состоящий из крыльчатки(4) и лопастного диска(5). Привод ротора осуществляется от двухскоростного электродвигателя(9) через клиноременную передачу(7). Для управления направлением потоков смешиваемого материала в верхней камере установлена направляющая лопатка(25) с рукояткой(27). Внутри полой оси лопатки(26) расположена термопара, контролирующая температуру массы. Выгрузка смеси из верхней камеры производится через разгрузочный люк, перекрываемый затвором(20) с приводом от пневмоцилиндра(21). Нижняя камера(17) имеет охлаждающую рубашку(14). Она закрывается откидной крышкой (18) с помощью откидного винтового прижима(16). Перемешивание смеси в нижней камере осуществляется двухлопастным ротором(12), для привода которого используется двухскоростной злектродвигатель, соединенный с ротором коробкой передач и редуктором(11). Готовая смесь выгружается через разгрузочный люк, перекрываемый затвором(13) с приводом от пневмоцилиндра(15).

Обе камеры смесителя во избежание коррозии должны изготавливаться из нержавеющей стали. На всех затворах с пневматическими приводами и на крышках обеих камер установлены конечные выключатели, предотвращающие запуск двигателей смесителя при незакрытых затворах или крышках камер.

Порошкообразные компоненты подают в верхнюю камеру через имеющийся в крышке пневматический клапан. Во время загрузки ротор смесителя вращается с малой скоростью, соответствующей начальной стадии псевдоожижения. Одновременно с загрузкой порошкообразных компонентов в горячую камеру подаются жидкие компоненты - стабилизатор и краситель (из дозатора или вручную). Стадия загрузки занимает 1-3 мин. Через 30 с после завершения загрузки электродвигатель смесителя автоматически переключается на большую скорость, и материал в камере переходит в состояние интенсивного вихревого движения. В процессе смешения материал разогревается за счет трения частиц друг о друга и за счет тепла, подводимого от стенок корпуса (примерно 85% тепла генерируется за счет трения). Повышенная температура позволяет стабилизаторам и красителю равномерного распределиться в полимерном связующем. По достижении заданной температуры (около 120 С) термопара подает команду на выгрузку смеси в нижнюю камеру, предназначенную для охлаждения готовой смеси. Одновременно двигатели обеих камер переключаются на меньшую скорость вращения. Открывается заслонка(20) разгрузочного окна, и горячая смесь по патрубку(19) пересыпается в нижнюю камеру. Когда смесь из верхней камеры полностью пересыпается в нижнюю, заслонка вновь закрывается, а двигатель нижней камеры переключается на максимальную скорость вращения. При этом реализуется начальная стадия псевдоожижения. Смесь охлаждается за счет контакта с холодными стенками камеры.

Когда температура смеси снижается до 20-40 С, заслонка(13) разгрузочного люка открывается, а двигатель привода ротора вновь переключается на минимальную скорость вращения. Готовая смесь выгружается на транспортер или в приемный бункер для дальнейшего движения по технологическому циклу.

Производительность двухстадийного смесителя горячего/холодного смешения может достигать до 800 кг/час.

Следует отметить, что иногда для производства древесно-полимерного композита на основе ПЭ или ПП производители предлагают комплектовать экструзионную линию двухстадийном смесителем горячего/холодного смешения. Особенно распространено это явление в среде азиатских поставщиков оборудования. Нужно иметь в виду, что данный тип смесителя предназначен для порошкообразных сыпучих материалов, и качество смешения при работе с гранулированным полимером всегда будет хуже. Это вызвано прежде всего подплавлением только верхних слоев гранулы, в то время как внутренние слои остаются в твердом неподплавленном состоянии. Кроме того, при загрузке в бункер экструдера наблюдается расслоение смеси, что дополнительно снижает ее гомогенность. По этой же причине не рекомендуется хранить смесь материалов, а сразу же перерабатывать ее в гранулу ДПК. Смеси на основе ПП и ПЭ требуют обязательной предварительной грануляции, в то время как композиции на основе ПВХ можно экструдировать в изделие сразу после смешения, минуя промежуточное производство гранулы.

Таблица 5. Технические характеристики

Объем холодного смешивания, л.

600

Объем горячего смешивания, л.

300

Скорость вращения, об/мин.

950

Мощность двигателя, кВт.

55

Метод нагревания

Электрический

Метод загрузки сырья

Пневматический

 

5) Экструдер Серии ТТВ

Технические характеристики экструдера представлены в таблице 6.

Таблица 6. Технические характеристики

Технические характеристики

TTB35

Диаметр шнека

45 мм

Частота вращения червяка

10 об/мин

Мощность оборудования

45,46 Кв/ч

Производительность

До 120 кг/час


Рис. 9. Схема экструдера:

- червяк; 2- гильза; 3 - цилиндр; 4 - система нагрева; 5 - система охлаждения; 6 - загрузочная воронка; 7 - узел упорного подшипника; 8 - редуктор; 9 - муфта; 10 - электродвигатель; 11 - формующая головка.

Схема червячного пресса представлена на рисунке 15.

Червяк - основной рабочий орган экструдера. Он забирает материал от загрузочного отверстия, пластифицирует его и равномерно подает в виде гомогенного расплава к головке. Продвигаясь по каналу червяка, материал разогревается за счет теплоты, выделяющейся вследствие вязкого трения, и теплоты, подводимой от внешних нагревателей.

По характеру процессов, протекающих на каждом участке червяка, выделяют три основные зоны :

зона питания (или загрузочная), в которой перерабатываемый материал находится в твердом состоянии;

зона сжатия (или пластикации), в которой почти полностью происходит плавление материала;

зона дозирования (нагнетания, гомогенизации, выдавливания), по которой течет поток расплава полимера.

Конструкция прессов обеспечивает возможность применения сменных червяков с разными характеристиками в зависимости от перерабатываемого материала и сменного формующего инструмента.

Привод пресса (электродвигатель постоянного тока) через упругую эластичную муфту приводит во вращение зубчатые пары редуктора и червяк. Первая ступень редуктора привода одночервячных прессов имеет сменные шестерни, что позволяет изменять частоту вращения червяка в зависимости от вида перерабатываемых термопластов. Бесступенчатое регулирование частоты вращения червяка в диапазоне 1-10 обеспечивается тиристорным электроприводом, монтируемым в отдельном шкафу.

На картере редуктора установлен узел охлаждения червяка, трубчатый барботер которого помещается в осевом канале червяка. На выходном валу редуктора соосно с выходным валом смонтирован узел упорного подшипника, воспринимающий осевые усилия, возникающие при экструзии расплава.

К узлу подшипника прикреплен цилиндр пресса (червяка), имеющий радиальное отверстие для монтажа бункера. Цилиндр пресса сварной (из толстостенной сварной трубы; внутри него запрессована износостойкая гильза из азотированной стали). Загрузочная часть цилиндра изолирована от первой зоны нагрева водяной рубашкой для предотвращения преждевременного плавления и зависания термопласта во время работы пресса и для защиты упорного подшипника редуктора от нагрева. Передняя часть цилиндра заканчивается резьбой, на которую навинчен фланец головки с откидными болтами. Внутренняя стенка цилиндра в зоне загрузки выполняется рифленой с целью увеличения производительности. К горловине цилиндра прикреплена загрузочная воронка для непрерывной подачи перерабатываемого материала (вместо воронки может быть установлен бункер устройства для нагрева и подсушивания гранул). Для наблюдения за уровнем материала и регулирования его подачи в воронке имеются смотровое окно и шибер.

Степень охлаждения загрузочной воронки, внутренней полости червяка и масла в картере редуктора регулируют вручную. Температуру отходящей воды контролируют термометрами сопротивления с логометром и переключателем на 10 точек.

Цилиндр разделен по длине на тепловые зоны, включающие нагреватели сопротивления (или индукторы), установленные на его наружной поверхности, и трубчатые змеевики, запрессованные в стенку корпуса для прохождения жидкого хладагента (конденсат или умягченная вода, параметры которых следующие: жесткость 2-7 мг-экв/л; давление 0,4-0,6 МПа; температура 15-20 °С).

Системы обогрева и охлаждения прессов предназначены для автоматического регулирования и поддержания теплового режима по зонам, С этой целью в каждой зоне установлена термопара с выводом на регулирующий прибор (милливольтметр или потенциометр). Для охлаждения зон корпуса в пресс вмонтирована система ручной и автоматической подачи хладагента с управлением от шкафа теплового контроля и регулирования.

Принцип действия Стренговой головки экструдера

Шнек затем продавливает расплавленный полимер через фильеру, которая определяет конечную форму. «Сердце» любого экструдера - фильера. Именно она определяет форму получаемой продукции и во многом - его качества. Видов фильер и их конструкций существует огромное множество. Однако, технология требует, чтобы и этот элемент оборудования был определенной температуры. В зависимости от конструкции фильеры, для ее нагрева применяются плоские <http://www.elcer.com.ua/flat/> или патронные <http://www.elcer.com.ua/patron/> нагреватели.

Используем многоручьевую головку для грануляции.

Могут применяться для производства любых видов изделий небольшого размера. Целесообразность применения многоручьевой оснастки определяется технологической схемой производства, имеющимся оборудованием, свойствами перерабатываемого материала, экономическими соображениями. Чаще всего многоручьевая оснастка применяется при производстве профильных изделий, экструзии с раздувом. Стренговая грануляция или производство моноволокон не относятся к многоручьевой экструзии, хотя одновременно из головки выдавливается несколько прутков. Это обусловлено самой схемой производства изделий.

Стренговый гранулятор

Гранулятор - это специальное устройство, которое еще называется окомкователем. Применяется оно для грануляции, то есть окомкования (озернения, окускования, пеллетизации) различных тонкоизмельченных материалов, что способствует увеличению производительности современных агломерационных машин. Заправка же пучка стренг в гранулятор производится исключительно вручную от экструдера <http://www.polimech.com/SLE.html> через ванну охлаждения.

Таким образом, областью применения современных грануляторов являются все виды пластмассы, которые и гранулируются непосредственно из стренг - АБС, ПЭТХ, ПЭ, ПП, ПА, САН, ПС и иные. Итак, назначение данного устройства заключается в получение гранул непосредственно путем нарезки стренг. Конечный продукт представляет собой цилиндрическую гранулу 2-4мм.

На предприятиях по переработке полимерных материалов как часть линии.


В данной работе были рассмотрены основные существующие методы и схемы (включая комплексные) переработки отходов деревообработки с получением гранул древесно-полимерного композита. Все они предлагают похожие решения задачи, во все линии по утилизации входит стандартный набор оборудования, но существует и множество принципиальных отличий, выходящих из некоторых особенностей самих отходов и их количества. В технологической части был осуществлен и обоснован оптимальный выбор оборудования (из всего существующего на данный момент) и основной технологической линии по утилизации. Подобранная линия состоит из: магнитного сепаратора, молотковой мельницы, экструдера со сменным фильтром и фильерой, барабанной сушилки, мукомольной установки, дозаторов компонентов, высокоскоростного двухстадийного смесителя, охлаждающей ванны, устройства обдува сжатым воздухом и гранулирующего устройства. Обладает рядом преимуществ: работа не требует привлечения большого количества человеческих ресурсов, имеет высокую производительность, не требует специального фундамента. Экологически чистая технология.

Выбранная линия состоит из основных операций:

Измельчение

Магнитная сепарация

Помол

Сушка

Смешивание с компонентами

Прессование

Фильтрация

Охлаждение

Грануляция

позволяющих быстро и качественно перерабатывать отходы, что в конечном итоге приводит к своевременному очищению рабочего пространства, нормализации технологического процесса и получению качественного вторичного сырья с большой пользой для работы всего предприятия и уменьшения промышленных отходов в целом.

Список используемой литературы

1. Бобович Б.Б. Переработка промышленных отходов: Учебник для вузов. - М.: "СП Интермет Инжиниринг", 1999. - 445 с.

. Потапин, В.В. Автоматические линии переработки полимерных отходов/ Экология и промышленность России. -2006. -№11 - С. 18-21

. С.И. Головков, Использование древесных отходов - Л.: Химия, 1987. - 223 с.,

. Клесов А.А. Древесно-полимерные композиты. - СПб.: Научные основы и технологии, 2010. - 736 с.

. http://www.plasticwood.ru/2009-12-02-16-09-41/42--wpc.html

6. Сайт: <http://www.e-plast.ru/proizvodstvo-drevesno-polimernykh-profilei>

. Сайт: http://www.technologywood.ru/drevesnye-otxody/klassifikaciya-drevesnyx-otxodov.html

. Сайт: http://e-plast.ru/pererabotka-polimerov/31-linii-granulyaczii

Похожие работы на - Получение древесно-полимерных композитов из древесных отходов

 

Не нашли материал для своей работы?
Поможем написать уникальную работу
Без плагиата!
Без нейросетей!