Устройство и основные характеристики предохранителей

  • Вид работы:
    Реферат
  • Предмет:
    Физика
  • Язык:
    Русский
    ,
    Формат файла:
    MS Word
    241,64 Кб
  • Опубликовано:
    2012-09-16
Вы можете узнать стоимость помощи в написании студенческой работы.
Помощь в написании работы, которую точно примут!

Устройство и основные характеристики предохранителей

Содержание

 

Введение

1. Общие сведения о предохранителях

2. Применения предохранителей

3. Основные требования, предъявляемые к плавким предохранителям

4. Классификация

Список используемых источников

Введение

Основная цель, поставленная в данной работе заключается в изучении предохранителей, их устройства, основных характеристик, требований предъявляемых к ним. Современный плавкий предохранитель представляет собой достаточно сложное электротепломеханическое устройство со стабильными характеристиками и свойствами, знание которых является необходимым условием успешного применения предохранителей и надежной защиты силовых систем в аварийных режимах.

В данной работе большую актуальность приобретает задача защиты устройств от перегрузок и токов короткого замыкания. Актуальность рассматриваемой темы состоит в том, что в последние годы существенно возрос уровень сложности силовых электронных устройств, применяемых на объектах транспорта, добывающих и перерабатывающих отраслей промышленности, в системах генерирования и распределения электрической энергии. Одновременно с усложнением силовых устройств, увеличением их функциональности и улучшением экономичности, важным условием успешной работы таковых является надежная защита силовых полупроводниковых приборов, трансформаторов, коммутирующих, фильтровых и накопительных конденсаторов, токоведущих устройств в условиях аварийных и перегрузочных режимах. Наиболее надежным средством защиты от экстратоков, которые в свою очередь являются одной из категории электрических аварийных режимов, не зависящим от внешних условий, механического состояния и т.п., являются предохранители.

Не смотря на то, что плавкие предохранители как устройства защиты электрических цепей известны и применяются уже почти полторы сотни лет, ряд их характеристик остается непревзойденным другими системами токовой защиты.

1. Общие сведения о предохранителях


Предохранитель - электрический аппарат, выполняющий защитную функцию. В цепи обозначается буквами "FU" (международное обозначение, от слова англ. Fuse) или прямоугольником со сплошной линией в центре. Обычно предохранители бывают плавкими. Плавкие предохранители - это электрические аппараты, защищающие установки от перегрузок и токов короткого замыкания.

Плавкий предохранитель обычно представляет из себя стеклянную или фарфоровую оболочку, на основаниях которой располагаются контакты, а внутри находится тонкий проводник из относительно легкоплавкого металла. Определённой силе тока срабатывания соответствует определённое поперечное сечение проводника. Если сила тока в цепи превысит максимально допустимое значение, то легкоплавкий проводник перегревается и расплавляется. Основными элементами предохранителя являются плавкая вставка, включаемая в рассечку защищаемой цепи, и дугогасительное устройство, гасящее дугу, возникающую после плавления вставки. [3]

2. Применения предохранителей


Предохранители являются защитными аппаратами. Они применяются для защиты от токов КЗ и перегрузок как низковольтных так и высоковольтных электрических цепей.

Широкое распространение получили пробочные и трубчатые предохранители напряжением до 1000 В типов ПР-2, ПН-2, НПН (трубчатые) и ПРС (пробочные). Пробочные предохранители применяются для защиты маломощных цепей электрического освещения, отопления, электродвигателей и др.

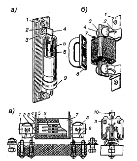
а - предохранители типа ПР-2; б - типа ПН-2; в - внутреннее устройство ПН-2 Трубчатые предохранители без наполнителя типа ПР-2 (рис. 1 а) являются разборными.

Патроны этих предохранителей 5 выполняются из толстостенной фибровой трубки, на концы которой насажены латунные обоймы с резьбой для предотвращения ее разрыва. Резьба служит для завинчивания колпачков 9, обеспечивающих герметизацию предохранителя. Плавкая вставка 6 крепится винтами к контактным ножам 4. У предохранителей на токи До 60 А контактных ножей нет, их заменяют колпачки, которые при завинчивании прижимают плавкую вставку к специальной шайбе, чем обеспечивается ее крепление и хороший контакт. Предохранитель вставляется ножами в контактные стойки 3. Давление в контактном соединении обеспечивается стальными пружинами 2. Болты 1 служат для присоединения проводников. Плавкая вставка б изготовляется из листового цинка, стойкого против коррозии, в виде пластины с вырезами, уменьшающими сечение в определенных местах, где происходит ее перегорание. При появлении электрической дуги фибровая трубка выделяет газы, деионизирующие дугу и создающие в патроне давление, что способствует эффективному гашению дуги.

Предохранители разборные с наполнителем типа ПН-2 предназначаются для защиты цепей напряжением 380 В переменного и 220 В постоянного тока (рис. 1 б). Контактные стойки 3 своими основаниями 1 с зажимами для крепления проводов устанавливаются на изоляционной плите. Предохранитель контактными ножами 4 вставляется в стойки 3. Пружины 2 обеспечивают необходимое контактное нажатие. Выступы 7 служат для снятия предохранителя под напряжением с помощью специальной изоляционной рукоятки 8 с вырезами для захвата выступов 7 предохранителя.

Наполнителем в предохранителя служит кварцевый песок. Он хорошо поглощает тепло, охлаждает газы, в результате чего дуга деионизируется и гасится настолько быстро, что ток не успевает достигнуть максимального значения, которое имело бы место в защищаемой цепи при отсутствии в ней такого предохранителя. Предохранители с наполнителем обладают токоограничивающим свойством и имеют меньшее время отключения цепи, чем трубчатые без наполнителя.

На рис., в показано внутреннее устройство предохранителя ПН-2. Фарфоровая трубка 7, квадратная снаружи и круглая внутри, имеет по углам четыре резьбовые отверстия, в которые ввинчиваются винты 3, крепящие пластинки 4. К этим пластинам винтами 2 присоединены диски 5 с приваренными с одной стороны медными плавкими вставками 6, а с другой - ножами 1. Для увеличения контактного нажатия контактных стоек 8 на ножи служат стальные кольца 9. Плавкая вставка имеет прямоугольную форму с продольными вырезами, уменьшающими ее сечение. В местах сужения напаяны оловянные шарики, которые, расплавляясь, играют роль растворителя меди, имеющей высокую температуру плавления (1080°). При расплавлении плавкой вставки дуга горит в узком канале, образованном ее испарившимся телом, энергично охлаждается кварцевыми песчинками и деионизируется на их поверхности. Перегоревшую плавкую вставку заменяют новой. Использованный кварцевый песок можно оставить, если он не спекся и не отсырел. При сборке предохранителя после замены плавкой вставки необходимо обеспечить герметичность, чтобы в него не мог проникнуть влажный воздух. Предохранитель НП-2 можно перезаряжать многократно.

Насыпные неразборные предохранители типа НПН-2 однократного действия применяются в электрических цепях, где перегрузки и КЗ крайне редки.

В электроустановках напряжением от 6 до 35 кВ нашли применение предохранители типов ПК внутренней и ПКН наружной установки с кварцевым заполнением для защиты силовых цепей; ПКТ - для защиты трансформаторов напряжения внутри помещения и ПКТН - снаружи.

 

Рис. 2. Предохранитель типа ПК-10 Предохранитель ПК-10 на напряжение 10 кВ (рис. 2) смонтирован на основании 7, к которому крепятся два опорных изолятора 1. На изоляторах закреплены контактные губки 4 с упорами 3. В губках устанавливается фарфоровый или стеклянный патрон 6, фиксируемый замком 5. Зажимы 2 служат для присоединения проводов электрической цепи, в которую включается предохранитель.

Патрон предохранителя 10 (рис.2, б и в) имеет на концах латунные колпачки 9. Он заполнен чистым кварцевый песком is, который охватывает плавкую вставку 11 из одной или нескольких медных проволок, намотанных на керамическое ребристое основание 14 (для предохранителей на ток до 7,5 А на рис.24,6) или выполненных в виде спиралей 12 (для предохранителей на ток выше 7,5 А на рис.24, в). На спиральные плавкие вставки напаиваются оловянные шарики. При нагреве проволоки до температуры плавления олова (232°С) начинается растворение меди проволок в олове и происходит срабатывание предохранителя, которое фиксируется указателем 16. Указательная спираль 15 перегорает вслед за плавкой вставкой, указатель 16 выталкивается пружиной наружу, сигнализируя о перегорании предохранителя. Крышка 8 герметически запаивается.

Патрон предохранителя ПКТ отличается тем, что имеет плавкую вставку из одной константановой проволоки, намотанной на керамическое основание, и не имеет указателя срабатывания. Перегорание плавкой вставки ПКТ определяется по приборам, подключенным ко вторичной обмотке защищаемого трансформатора напряжения. Благодаря малому сечению плавкой вставки предохранители ПКТ обладают значительным токоограничивающим эффектом и способны отключать токи КЗ в цепях, где мощность КЗ достигает 1000 МВА.

3. Основные требования, предъявляемые к плавким предохранителям


К предохранителям предъявляются следующие требования:

.        Времятоковая характеристика предохранителя должна проходить ниже, но возможно ближе к времятоковой характеристике защищаемого объекта.

предохранитель устройство плавкий ток

Рисунок 3. Согласование характеристик предохранителя и защищаемого объекта

.        При коротком замыкании предохранители должны работать селективно.

3.       Время срабатывания предохранителя при коротком замыкании должно быть минимально возможным, особенно при защите полупроводниковых приборов. Предохранители должны работать с токоограничением.

4.       Характеристики предохранителя должны быть стабильными. Разброс параметров из-за производственных отклонений не должен нарушать защитные свойства предохранителя.

.        В связи с возросшей мощностью установок предохранители должны иметь высокую отключающую способность.

.        Замена сгоревшего предохранителя или плавкой вставки не должна требовать много времени.

4. Классификация


ГОСТ 17242-86 ПРЕДОХРАНИТЕЛИ ПЛАВКИЕ СИЛОВЫЕ НИЗКОВОЛЬТНЫЕ ОБЩИЕ ТЕХНИЧЕСКИЕ УСЛОВИЯ

1.1 Предохранители подразделяют:

по виду плавких вставок в зависимости от диапазона токов отключения на типы:

g - с отключающей способностью в полном диапазоне токов отключения;

а - с отключающей способностью в части диапазона токов отключения;

по виду плавких вставок в зависимости от быстродействия:

небыстродействующие (типы а и g);

быстродействующие (типы aR и gR);

по наличию и конструкции основания:

с калиброванным основанием;

с некалиброванным основанием;

без основания;

по способу монтажа:

на собственном основании;

на основаниях комплектных устройств;

на проводниках комплектных устройств;

по способу присоединения внешних проводников к выводам предохранителя:

с задним присоединением;

с передним присоединением;

с передним и задним (универсальным) присоединением;

по конструкции плавкой вставки:

с разборной плавкой вставкой (со сменными плавкими элементами);

с неразборной плавкой вставкой (с несменными плавкими элементами);

по наличию указателя срабатывания и бойка:

с указателем срабатывания и бойком;

с указателем срабатывания;

с бойком;

без указателя срабатывания и бойка;

по наличию свободных контактов:

со свободными контактами;

без свободных контактов;

по количеству полюсов:

однополюсные;

трехполюсные.

ОСНОВНЫЕ ПАРАМЕТРЫ

.1 Номинальное напряжение предохранителей с плавкими вставками типов а и g следует выбирать из ряда:

, 220, 440 В - для постоянного тока;

, 380, 660 В - для переменного тока.

Номинальное напряжение предохранителей с плавкими вставками типов aR и giR следует выбирать из ряда:

, 220, 345, 440, 600, 750, 1000, 1200, 1500, 2400, 3000 В - для постоянного тока;

, 380, 500, 660, 800, 1000, 1250, 1600, 2000, 3000 В - для переменного тока.

Номинальное напряжение свободных контактов следует выбирать из ряда:

, 220 В - для постоянного тока;

, 380 В - для переменного тока.

Номинальное напряжение предохранителя представляет собой наименьшее значение из номинальных напряжений его частей: держателя предохранителя и плавкой вставки.

Номинальное напряжение предохранителя следует выражать:

при переменном токе - действующим значением периодической составляющей тока синусоидальной формы номинальной частоты;

при постоянном токе при наличии пульсации - средним значением.

.2 Номинальная частота предохранителей должна соответствовать ГОСТ 6697-83.

.3 Номинальный ток предохранителей при верхнем рабочем значении температуры воздуха должен соответствовать ГОСТ 6827-76.

Номинальные токи следует выбирать из ряда:

; 25; 31,5; 63; 100; 160; 250; 400; 630; 800; 1000; 1250; 1600; 2000; 2500 А - для держателей (или оснований) предохранителя;

; 4; 6,3; 10; 16; 20; 25; 31,5; 40; 50; 63; 80; 100; 125; 160; 200; 250; 315; 400; 500; 630; 800; 1000; 1250; 1600; 2000; 2500 А - для плавких вставок.

Номинальный ток предохранителя определяется номинальным током установленной в нем плавкой вставки.

Номинальный ток предохранителя, плавкой вставки и держателя предохранителя следует выражать:

при переменном токе - действующим значением периодической составляющей тока синусоидальной формы номинальной частоты;

при постоянном токе при наличии пульсации - средним значением.

Номинальный ток держателя (или основания) предохранителя представляет собой наибольший номинальный ток плавкой вставки, которая предназначена для использования в нем.

.4 Условное обозначение серий и типов предохранителей должны быть установлено в стандартах или технических условиях на конкретные серии и типы предохранителей.

.5 Пример записи условного обозначения предохранителей при заказе и в документации другого изделия должен быть установлен в стандартах или технических условиях на предохранители конкретных серий и типов.

ГОСТ 2213-79 ПРЕДОХРАНИТЕЛИ ПЕРЕМЕННОГО ТОКА НА НАПРЯЖЕНИЕ 3 кВ И ВЫШЕ ОБЩИЕ ТЕХНИЧЕСКИЕ УСЛОВИЯ

. КЛАССИФИКАЦИЯ

.1 Предохранители подразделяются по нижеследующим основным признакам.

.1.1 По роду установки:

для работы в помещениях (категории размещения 3 и 4*);

для работы на открытом воздухе (категория размещения 1*);

для работы в металлических оболочках комплектных распределительных устройств (КРУ), устанавливаемых в помещениях (категории размещения 3 и 4*) и на открытом воздухе (категория размещения 2*).

* По ГОСТ 15150.

.1.2 По назначению - для защиты:

силовых трансформаторов, воздушных и кабельных линий;

конденсаторов;

электродвигателей;

трансформаторов напряжения.

Примечание. Предохранители, предназначенные для защиты одного вида оборудования, могут быть использованы для защиты другого вида оборудования, если это предусмотрено в соответствующих стандартах или технических условиях (далее именуемых "Стандарты на конкретные серии или типы предохранителей").

.1.3 По способности ограничивать ток при отключении:

токоограничивающие;

нетокоограничивающие.

.1.4 По диапазону токов отключения *:

* На предохранители трансформаторов напряжения не распространяется.

класса 1 - с диапазоном от одночасового тока плавления до номинального тока отключения (общего применения);

класса 2 - с диапазоном от нормированного минимального тока отключения, превышающего одночасовой ток плавления, до номинального тока отключения (применяются, главным образом, для совместной работы с выключателем нагрузки или другим аппаратом, способным отключать токи, меньшие нормированного минимального тока отключения предохранителя).

.1.5 По способу гашения дуги:

с приведением дуги в тесное соприкосновение с мелкими зернами наполнителя (предохранители с мелкозернистым наполнителем);

с резким расширением (выхлопом) газов, образующихся при воздействии дуги на твердый газогенерирующий материал (выхлопные предохранители).

.1.6. По наличию цоколя основания:

с цоколем;

без цоколя.

.1.7 По конструктивной связи между полюсами:

трехполюсное исполнение** - с общей рамой на 3 полюса;

однополюсное исполнение **.

** В стандарте, если не оговорено иначе, под "предохранителем" понимается любое исполнение - однополюсное или трехполюсное.

.1.8 По положению заменяемого элемента (держателя - у выхлопных предохранителей) относительно контактов основания после срабатывания предохранителя:

с неизменяющимся положением;

с откинутым положением.

.1.9 По наличию устройств сигнализации, блокировки и управления:

с местным указателем срабатывания или без него;

с ударным устройством для местного управления присоединенным аппаратом или устройством дистанционной сигнализации, блокировки и управления;

без устройств дистанционной сигнализации, блокировки и управления.

.1.10 По виду заменяемого элемента:

в виде одиночного патрона;

в виде двух или нескольких параллельных или последовательных патронов;

в виде плавкого элемента (с дополнительными деталями).

. ОСНОВНЫЕ (НОМИНАЛЬНЫЕ) ПАРАМЕТРЫ

номинальное напряжение предохранителя Uном (соответствующее наибольшее рабочее напряжение предохранителя - Uнр);

номинальный ток предохранителя Iном;

номинальный ток заменяемого элемента Iном, э, равный Iном;

номинальный ток основания предохранителя Iном, ос;

номинальный ток патрона Iном, п (для токоограничивающих предохранителей);

номинальный ток держателя заменяемого элемента Iном, д (при наличии держателя);

номинальный ток отключения предохранителя Io, ном.

Предохранителям трансформаторов напряжения приписывается только номинальное напряжение Uном (и соответствующее наибольшее рабочее напряжение Uнр).

Значения номинальных параметров должны выбираться из числа стандартных значений, приведенных в табл.1.

Таблица 1

Обозначение параметра

Значение параметра

 

токоограничивающие предохранители

нетокоограничивающие предохранители

Uном/Uнр, кВ

3/3,6; 6/7,2; 10/12; 15/17,5; 20/24; 35/40,5

6/7,2; 10/12; 15/17,5; 20/24; 35/40,5; 110/126; 150/172; 220/252

Iном и Iном, э, А

2; 2,5; 3,2; 5; 6,3; 8; 10; 16; 20; 25; 31,5; 40; 50; 63; 80; 100; 125; 160; 200; 250; 315; 400; 630; 800; 1000

2; 2,5; 3,2; 5; 6,3; 8; 10; 16; 20; 25; 31,5; 40; 50; 63; 80; 100; 125; 160; 200

Iном, ос, А

10; 25; 40; 63; 100; 125; 160; 200; 400; 630; 800; 1000

25; 63; 100; 200

Iном, д, А

25; 63; 100; 200

Iном, п, А

2; 2,5; 3,2; 5; 6,3; 8; 10; 16; 20; 25; 31,5; 40; 50; 63; 80; 100; 125; 160; 200; 250; 315; 400

-

I*о, ном, кА

2,5; 3,2; 4; 5; 6,3; 8; 10; 12,5; 16; 20; 25; 31,5; 40; 50; 63

1,6; 2; 2,5; 3,2; 4; 5; 6,3; 8; 10; 12,5; 16; 20


* Значения Iо, ном установлены для отключения тока короткого замыкания в индуктивной цепи. Предпочтительное значение Iо, ном при отключении тока короткого замыкания в емкостной цепи для предохранителя, защищающего конденсатор, должно превышать в 20 или 50 раз Iном, э (в случае однородной серии предохранителей - наибольший Iном, э).

(Измененная редакция, Изм. № 1,2).

.2 В стандартах на конкретные серии или типы предохранителей и (или) в эксплуатационной документации должны указываться технические данные предохранителей согласно приложению 2.

Группа букв и цифр условного обозначения, расположенных до первого тире, означают серию, совокупность серии и значения номинального напряжения - тип, а обозначение в целом - типоисполнение предохранителя.

Пример условного обозначения предохранителя с мелкозернистым наполнителем, предназначенного для защиты силового трансформатора конструктивного исполнения 101, на номинальное напряжение 10 кВ, номинальный ток 20 А, номинальный ток отключения 20 кА, климатического исполнения У, категории размещения 1 по ГОСТ 15150:

Предохранитель ПКТ 101-10-20-20 У1

.3 Структура условного обозначения предохранителя

П

Х

Х

Х -

 Х -

Х -

Х

Х

Х




















Категория размещения по ГОСТ 15150



















Климатическое исполнение по ГОСТ 15150



















Номинальный ток отключения предохранителя в килоамперах



















Номинальный ток предохранителя в амперах



















Номинальное напряжение предохранителя в киловольтах



















Трехзначное число, означающее условное обозначение конструктивного исполнения: однополюсное или трехполюсное исполнение, габарит заменяемого элемента (держателя) и количество патронов, материал корпуса патрона и др.



















Назначение: Т - для защиты силовых трансформаторов и линий; К - для конденсаторов; Д - для электродвигателей; Н - для трансформаторов напряжения



















Буквы К (с мелкозернистым кварцевым наполнителем) или В (выхлопной)



















Предохранитель


Примечание. Если предохранитель предназначен для отключения тока короткого замыкания в индуктивной и емкостной цепи, то в условном обозначении предохранителя указывают Io, ном в индуктивной цепи, а Io, ном в емкостной цепи указывают в стандартах на конкретные серии или типы предохранителей.

В условном обозначении указывают Io, ном в емкостной цепи, если предохранитель предназначен только для отключения тока короткого замыкания в емкостной цепи.

Список используемых источников


1.       Чунихин А.А. Электрические аппараты: Общий курс. Учебник для вузов. - 4-е изд., стереотипное. - М.: ООО Альянс, 2008. - 720с.: ил.

2.       Хмельницкий Р.С., Шеховцова Н.А. Быстродействующие плавкие предохранители. М.: Информэлектро, 1983. 44с.

.        Намитоков К.К. Плавкие предохранители. М.: Энергия, 1979. 176с.

.        Голубев А.И. Быстродействующие автоматические выключатели. М.: Энергия, 1964.240с.

.        Таев И.С. Электрические аппараты управления. - М.: Высшая школа, 1984. - 224с.

.        Официальный сайт http://electrik. info/ [Электронный ресурс].

.        Официальный сайт http://electricalschool. info/ [Электронный ресурс].

Похожие работы на - Устройство и основные характеристики предохранителей

 

Не нашли материал для своей работы?
Поможем написать уникальную работу
Без плагиата!
Без нейросетей!