Система обработки добавочной воды

  • Вид работы:
    Реферат
  • Предмет:
    Химия
  • Язык:
    Русский
    ,
    Формат файла:
    MS Word
    329,57 Кб
  • Опубликовано:
    2012-10-27
Вы можете узнать стоимость помощи в написании студенческой работы.
Помощь в написании работы, которую точно примут!

Система обработки добавочной воды

Содержание

1. Назначение и состав СОДВ

. Конструкция и принцип действия основного оборудования системы

. Описание работы установки

Литература

1. Назначение и состав СОДВ

Установка обработки добавочной воды цирксистемы производительностью 8350 м3/ч предназначена для предварительной очистки добавочной воды перед ее обработкой серной и дифосфоновой кислотами и выполнена по схеме:

− известкование совместно с коагуляцией сернокислым железом с добавлением полиакриламида (ПАА) в осветлителях ВТИ-1000.

−       осветление на высокоскоростных механических фильтрах ВСФ-2000.

−       стабилизация серной или дефосфоновой кислотой.

ОС - осветлитель, ПБ - промежуточный бак, МФ - механический фильтр, БФ - бак флоукулянта, БНРИ - бак насыщенного раствора извести, БС - бак-сатуратор, БК H2SO4 - бак серной кислоты, БК ОЭДФК - бак ОЭДФК

Рисунок 1 - Принципиальная схема СОДВ

Обработка воды ведется без предварительного подогрева, температура воды от +5 до +25 °С.

В состав СОДВ входит двенадцать осветлителей типа ВТИ, производительностью по 1000 м3/ч, четыре промежуточных бака, шесть высокоскоростных механических фильтров (ВСМФ), производительностью 2000 м3, три бака-сатуратора (осветлители третьего ряда), два бака насыщенного раствора извести (один из которых бывший промежуточный бак), два бака-мерника серной кислоты, четыре насоса-дозатора серной кислоты, десять баков-мерников ПАА, десять баков-мерников коагулянта, двадцать баков-мешалок известкового молока, центробежные насосы, насосы-дозаторы, запорная и регулирующая арматура, трубопроводы обвязки.

2. Конструкция и принцип действия основного оборудования системы

вода осветлитель известкование коагуляция

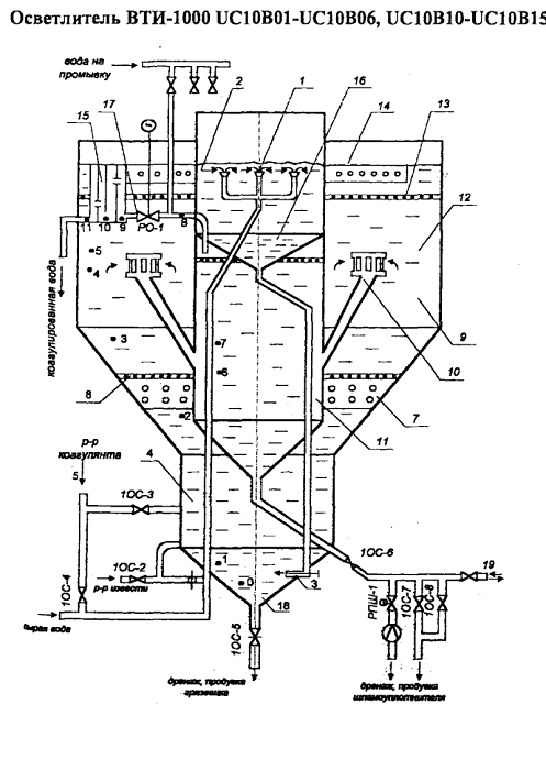
Осветлитель ВТИ-1000 (рис. 2) представляет собой стальной цилиндрический сосуд с коническим днищем, установленным вертикально. В днище установлено сопловое устройство, которое обеспечивает регулируемый подвод воды в осветлитель путем изменения площади выходного сечения воды. Маховик привода устройства расположен вне корпуса осветлителя и снабжен указателем, шкала которого проградуирована в дециметрах длины свободного потока устройства.

Внутри корпуса осветлителя установлена обечайка, нижняя часть которой является шламоуплотнителем, а верхняя - воздухоотделителем. Последний имеет распределительное устройство с восемью соплами для равномерного подвода воды. К цилиндрической части шламоуплотнителя приварены восемь шламоотводящих труб, в верхней части которых имеются шламоприемные трубы с прямоугольными окнами.

Между внутренним цилиндром и корпусом осветлителя в нижней части установлены восемь вертикальных перегородок и одна горизонтальная кольцевая решетка. Вторая кольцевая решетка (распределительная) установлена в верхней части аппарата.

- распределительная система; 2 - воздухоохладитель; 3 - регулирующее сопло; 4 - смеситель; 5 - ввод раствора извести; 6 - ввод раствора флокулянта (коагулянта); 7 - вертикальная смесительная решетка; 8 - горизонтальная смесительная решетка; 9 - контактная среда; 10 - шламоприемные трубы; 11 - шламоуплотнитель; 12 - зона осветления; 13 - верхняя распределительная решетка; 14 - кольцевой желоб; 15 - приемный короб; 16 - водозаборное устройство; 17 - дроссельная заслонка («отсечка»); 18 - грязевик; 19 - заполнение и опорожнение шламоуплотнителя

Рисунок 2 - Осветлитель ВТИ-1000

В верхней части осветлителя под дренажной решеткой установлен кольцевой желоб прямоугольного сечения с приемным коробом.

Шламоуллотнитель представляет собой встроенный в осветлитель напорный вертикальный отстойник, в котором шлам отделяется от воды, уплотняется и удаляется при продувке в дренаж. На отводящей трубе (из шламоуплотнителя в распределительное устройство) имеется дроссельная заслонка («отсечка»), с помощью которой регулируется отвод воды из шламоуплотнителя.

Исходная вода, проходя через воздухоотделитель, освобождается от воздуха и затем по опускной трубе через тангенциально направленный ввод, снабженный регулирующим соплом, поступает в нижнюю коническую часть осветлителя - смеситель.

Раствор коагулянта вводится в трубопровод сырой воды до воздухоотделителя. Насыщенный раствор извести или известковое молоко вводится в смеситель непосредственно перед регулирующим соплом. Раствор полиакриламида вводится в зону смесителя.

В процессе перемешивания в смесителе реагенты взаимодействуют с примесями воды. Продукты этого взаимодействия выделяются в виде хлопьев. Затем поток воды вместе с продуктами взаимодействия, поднимаясь вверх, проходит через успокоительную зону осветлителя (вертикальные и горизонтальные перегородки) для гашения вращательного движения и поступает в цилиндрическую часть осветлителя.

На уровне шламоприемных окон устанавливается верхняя граница взвешенного слоя шлама. Избыток шлама, непрерывно образующийся в осветлителе, поступает через шлакоприемные окна в шламоуплотнитель, где за счет резкого снижения скорости восходящего потока шлам оседает, уплотняется и удаляется из шламоуплотнителя непрерывной продувкой. Осветленная вода, попавшая вместе со шламом в шламоуплотнитель, отводится из него через водозаборные устройства в приемный карман осветлителя, где смешивается с основным потоком известково-коагулированной воды. Отвод воды из шламоуплотнителя регулируется дроссельной заслонкой («отсечкой»). Основной поток обрабатываемой воды (до 80%), минуя шламоуплотнитель и пройдя взвешенный слой шлама («шламовый фильтр») и верхнюю горизонтальную решетку, предназначенную для равномерного распределения воды по поперечному сечению осветлителя, сливается в кольцевой желоб и затем поступает в приемный короб, где смешивается с водой из шламоуплотнителя.

Из приемного кармана известково-коагулированная вода самотеком поступает в промежуточные баки.

Часть грубодисперсных веществ, поступивших вместе с исходной водой, а также крупные кристаллы образующегося осадка осаждаются в нижней части осветлителя - «грязевике».

Из «грязевика» осадок удаляется периодической продувкой.

Осветлители установки предназначены для:

) получения осветленной (известково-коагулированной) воды;

) образования комплексного шлама и поддержания в рабочем состоянии шламового фильтра, служащего для углубления процессов очистки воды;

З) осаждения и удаления осадков, образующихся при обработке воды.

Очистка исходной воды в осветлителях осуществляется проведением в них следующих фаз обработки:

) известкования;

) коагуляции сернокислым железом.

Назначением известкования исходной воды является:

снижение щелочности исходной воды;

декарбонизация (удаление из воды свободной углекислоты);

частичное умягчение и снижение солесодержания исходной воды. При известковании в обрабатываемую воду подается насыщенный раствор извести или известковое молоко, где содержание Са(ОН)2 превышает растворимость на 10 - 20%. В процессе известкования протекают следующие реакции с образованием труднорастворимых соединений СаСО3 и Мg(ОН)2.

 (2.1)

Реакция (5) показывает, как идет декарбонизация (удаление из исходной воды свободной углекислоты); реакции (1) и (2) иллюстрируют снижение щелочности и, одновременно, карбонатной жесткости воды; последние две реакции (3) и (4) показывают, что, несмотря на удаление ионов магния, величина некарбонатной жесткости воды практически не изменяется (она вся становится кальциевой). Образующийся в процессе известкования воды карбонат кальция (СаСО3) и гидрат окиси магния (Мg(ОН)2) выпадают в виде осадка (шлама).

Процесс коагуляции показан ниже:

 (2.2)

Структура хлопьев, образующихся при коагуляции:

Рисунок 3 - Структура образующихся хлопьев

Назначением процесса коагуляции является:

удаление коллоидных примесей исходной воды;

образование комплексного рабочего шлама.

При дозировании в осветлитель сернокислого железа (FeS04) в щелочной среде, обусловленной наличием в воде гидроокиси кальция, происходит следующая реакция:

 (2.3)

Образующийся в процессе реакции Fе(ОН)2 при наличии в воде кислорода окисляется в менее растворимую гидроокись железа (III) - Fе(ОН)3:

 (2.4)

е(ОН)3 первоначально образует коллоидную систему, частицы которой коагулируют коллоидные примеси исходной воды. На втором этапе процесса коагуляции образуются крупные хлопья размером 1-3 мм, которые, обладая высокой сорбционной способностью, дополнительно очищают исходную воду от примесей различной степени дисперсности (в том числе и грубодисперсных). Крупные хлопья под действием силы тяжести и восходящего потока воды остаются во взвешенном состоянии, образуя т.н. шламовый фильтр, проходя через который исходная вода очищается от частиц различной степени дисперсности в результате сорбционных и адгезионных процессов.

Химические показатели осветленной воды, приняты следующие (табл. 1).

Таблица 1 - Химические показатели осветленной воды

Жобщ = 1,8 мг-экв/дм3

Ca2+ = 1,6 мг-экв/дм3

Жк = 0,3 мг-экв/дм3

Mg2+ = 0,2 мг-экв/дм3

Жнк = 1,6 мг-экв/дм3

Cl- = 0,6 мг-экв/дм3

Na+ + K+ = 0,5 мг-экв/дм3

SO42- = 1,5 мг-экв/дм3


Для интенсификации процесса образования и укрупнения хлопьев применяется флокуляция - ввод раствора полиакриламида.

Ввод раствора ПАА в обрабатываемую воду позволяет увеличить эффект осветления воды и фактическую производительность осветлителя.

Привод предназначен для вращения промывочного устройства. В качестве привода использован мотор-редуктор МП02-15ВК-1,5/14ВА0-22-4 с мощностью электродвигателя 1,5 КВт. Выходной вал мотора-редуктора имеет 14 об/мин. Мотор-редуктор устанавливается на крышке спецредуктора, а его вал соединяется прямозубой передачей с полым валом промывного устройства. За счет этой передачи полый вал имеет 2,2 об/мин.

Промывное устройство предназначено для очистки фильтрующего элемента и состоит из полого вала и двух коробов, соединяющихся коленом. Короба плотно прижаты к фильтрующим элементам специальными пружинами.

Фильтрующий элемент предназначен для задержания механических примесей и состоит из перфорированных дисков, между которыми зажат пакет сеток. Пакет включает две каркасные сетки 2-025 ГОСТ 46011-49 и, заключенную между ними, сетку С-200 ГОСТ 3187- 65 двойную, саржевого плетения.

Верхний и нижний отсеки ВСМФ являются одновременно отсеками исходной воды. Средний отсек предназначен для приема чистой воды и отвода ее из фильтра через выходной трубопровод.

Для управления автоматической работой фильтра на площадке рядом с фильтром установлен щит управления, который включает в себя питание привода, систему контроля и автоматизации работы фильтра и управляющие органы.

Известковано-коагулированная вода подается через входные штуцера в верхний и нижний отсеки ВСМФ. Проходя через фильтрующие элементы, вода очищается от механических примесей и поступает в средний отсек фильтра, откуда через выходной трубопровод отводится к узлу подкисления.

Промывка фильтрующих элементов осуществляется обратным током очищенной воды. Часть очищенной воды под действием перепада давлений в среднем отсеке и полом валу, соединенном с атмосферной задвижкой, проходит через фильтрующий элемент в обратном направлении и удаляет осадок с фильтрующих сеток в короб. Из короба по коленам и полом валу шлам выводится из фильтра в дренаж. Промывка фильтрующих элементов работает периодически и включается автоматически при достижении перепада давлений на фильтрующих элементах. Промывка всей фильтрующей поверхности осуществляется перемещением промывочных коробов по перфорированным дискам.

ВСМФ предназначен для очистки воды (технической, оборотной, речной и т.п.) от механических примесей. Фильтр может быть применен также для очистки других, невязких жидкостей.

Техническая характеристика ВСМФ представлена ниже.

Таблица 2 -Техническая характеристика ВСМФ

Параметр

Значение

Производительность, м3/час

2000

Скорость фильтрации, м/час

600-700

Рабочее давление, кгс/см2

3-10

Максимально допустимый перепад давления на фильтрующем элементе, кгс/см2,

1

Площадь фильтрации, м2

3,1

Степень очистки по фракции взвеси, мм

От 0,05 и более

Число оборотов вала, об/мин

2,2

Рабочая среда

Коррозионная, не токсичная, не взрывоопасная, t° среды - от +1 до +45°С

Привод

Мотор-редуктор МПО2-15ВК-1,5/14-ВАО-22-4

Основной материал

Двухслойная сталь Вст3сп2+ 12х18Н10Т.

Бак промежуточный. UС10ВI6, UС10В17, UСIОВI9. UС1ОВ20

Баки промежуточные (БП) предназначены для создания запаса и извеcтковано-коагулированной воды, при наличии которого соблюдается необходимая плавность режимов очистки воды.

БП представляют собой стальные цилиндрические емкости. Подвод и отвод известковано-коагулированной воды выполнен с нижней части емкостей.

Насос обрабатываемой воды UС1ОDО1-UС1ОD05.

Насосы обрабатываемой воды (НОВ) предназначены для подачи известковано-коагулированной воды на ВСМФ, а также для подачи известковано-коагулированной воды на собственные нужды СОДВ и на промывку фильтров коагулянта.

Бак-сатуратор UС10В07-UС10В09.

Бак-сатуратор предназначен для получения насыщенного раствора извести (НРИ). В качестве сатуратора используется осветлитель ВТИ-1000.

Сверху по трубе, опускающейся в конус осветлителя, подается известковое молоко. Это решение предотвращает вспучивание НРИ при загрузке известкового молока в конус работающего бака-сатуратора.

В конус сатуратора подается сырая вода, которая, проходя сквозь слой известкового молока, выщелачивает известь с получением на выходе НРИ с постоянной концентрацией равной 35 - 42 мг-экв/кг. НРИ через перелив сатуратора поступает в баки запаса НРИ.

Применение НРИ и автоматизация его дозирования позволяет повысить эффективность работы осветлителей и быстро отрабатывать отклонения от заданного режима, вызванные изменением концентрации извести, качеством исходной воды, дозой коагулянта, расходом исходной воды.

Баки запаса НРИ UС1ОВI8, UС10В21.

Баки запаса ИРИ предназначены для создания запаса НРИ для обеспечения бесперебойной работы осветлителей.

В качестве бака запаса НРИ V = 2000 м3 используется промежуточный бак UС1ОВ18 и бак V = 160 м3 перелива промежуточного бака V = 2000 м3, который используется как второй бак запаса НРИ. Баки запаса НРИ соединены между собой трубопроводом перелива.

Насос насыщенного раствора извести UС10D06 - UС10D09.

Насосы насыщенного раствора извести (HHРИ) предназначены для подачи HРИ на осветлители.

Мешалка известкового молока UС22В01 - UС22В20.

Мешалка известкового молока (МИМ) предназначена для создания запаса известкового молока и стабилизации режима его дозирования в осветлители.

МИМ оборудована перемешивающим устройством, предназначенным для перемешивания известкового молока, что препятствует осаждению суспензии извести.

Насос-дозатор известкового молока UС22В01 - UС22D30.

Насос-дозатор известкового молока (НДИМ) предназначен для дозирования рабочего раствора известкового молока в осветлители.

Бак-мерник коагулянта UС23В01 - UС23В10.

Бак-мерник коагулянта предназначен для корректировки концентрации рабочего раствора коагулянта, для создания запаса рабочего раствора коагулянта и стабильного режима его дозирования в осветлители.

Бак-мерник коагулянта оборудован подводящими и отводящими трубопроводами, а также трубопроводами перелива и дренажа.

Насос-дозатор коагулянта UС2ЗD01 - UС2ЗD30.

Насос-дозатор коагуляyта предназначен для дозирования рабочего раствора коагулянта в осветлители.

Фильтр раствора коагулянта

Фильтр раствора коагулянта предназначен для очистки коагулянта от механических примесей.

Фильтр представляет собой цилиндрическую емкость, загруженную фильтрующим материалом (антрацитом). Фильтр раствора коагулянта обвязан системой наружных трубопроводов для подвода и отвода раствора коагулянта, а также трубопроводами подачи и отвода промывочной воды на взрыхляющую отмывку фильтрующего материала.

Бак-мерник полиакриламида UС21В01 -UС21B10.

Бак-мерник раствора полиакриламида предназначен для создания запаса рабочего раствора ПАА и стабилизации режима его дозирования в осветлители.

Бак-мерник раствора ППА оборудован подводящими и отводящими трубопроводами раствора ППА, а также трубопроводами перелива и дренажа.

Насос-дозатор ППА (UС21D01 - UС21В30).

Насос-дозатор ПАА предназначен для дозирования рабочего раствора ПАА в осветлители.

Бак-мерник серной кислоты UН20В07 - UН20В08.

Бак-мерник серной кислоты предназначен для создания запаса концентрированной серной кислоты и стабильного режима ее дозирования в смесители узла подкисления.

Баки-мерники серной кислоты представляют собой цилиндрические стальные емкости. Баки-мерники оборудованы подводящими и о и дренажа.

Насос-дозатор серной кислоты UН20D05 - UН20D08.

Насос-дозатор серной кислоты предназначен для дозирования серной кислоты в смесители узла подкисления.

Бак-мерник дифосфоновой кислоты предназначен для создания запаса концентрированной дифосфоновой кислоты и стабильного режима ее дозирования в смесители узла раскисления.

Баки-мерники дифосфоновой кислоты представляют собой цилиндрические стальные емкости, внутри которых выполнено антикоррозионное покрытие. Баки-мерники оборудованы подводящими и отводящими трубопроводами, а также трубопроводами перелива и дренажа.

Насос-дозатор дифосфоновой кислоты UН24D03 - UН24D04.

Насос-дозатор дифосфоновой кислоты предназначен для дозирования дифосфоновой кислоты в смесители узла подкисления.

Бак сбора шламовых вод (приямок) UС11В01 - UС11В05.

Бак сбора шламовых вод предназначен для сбора шлама из осветлителей, а также дренажей и переливов от баков-мерников коагулянта, ПАА, и мешалок известкового молока.

Для эффективного удаления шлама в бак сбора шламовых вод осуществлен подвод воздуха.

Насос шламовых вод осветлителей UС11D01 - UС11D10.

Насос шламовых вод осветлителей (НШВО) предназначен для откачки шламовых вод осветлителей, дренажей и переливов от баков-мерников коагулянта, ПАА, мешалок известкового молока на шламоотвал.

Приямок дренажей механических фильтров 10UС12В01.

Приямок дренажей механических фильтров предназначен для сбора промывочных вод механических фильтров. Приямок оборудован трубопроводами сжатого воздуха.

Насос подачи промывочных вод механических фильтров в осветлители UС12D01 - UС12D03

Насос подачи промывочных вод механических фильтров в осветлители предназначен для откачки промывочных вод из приямка механических фильтров в осветлитель.

Насос опорожнения осветлителей UС11D11 - UС11D15.

Насос опорожнения осветлителей предназначен для откачки вод из осветлителя при его опорожнении.

. Описание работы установки

Все оборудование системы взаимосвязано: в осветлитель подается сырая вода, сюда же дозируется насыщенный раствор извести, раствор коагулянта и ПАА. После коагулированния и известкования вода самотеком поступает в промежуточные баки, откуда насосами обрабатываемой воды подается в механические фильтры. Осветленная в механических фильтрах вода, после обработки ее серной и дифосфоновой кислотами, поступает на подпитку цирксистемы.

Известкование и коагуляция воды производится путем дозировки в осветлители растворов известкового молока и сернокислого железа. При известковании с коагуляцией достигается снижение щелочности воды (и, как правило, соответствующее снижение жесткости воды и сухого остатка), удаление взвеси, снижение содержания железа, кремнекислоты и органических соединений. На высокоскоростных механических фильтрах (ВСМФ) удаляются из известковано-коагулированной воды грубо и мелкодисперсные механические примеси.

Из осветлителя обработанная вода поступает в промежуточные баки самотеком, откуда насосами подается на высокоскоростные механические фильтра ВСФ-200.

Ввод кислоты (серной и дифосфоновой) для стабилизации известкованной воды выполнен после механических фильтров на двух потоках 125 и 1000 мм, выполнены из коррозионностойкой стали.

Дозировка кислоты производится по расходу воды в градирню с корректировкой по рН, замеряемой на выходе обработанной воды. Проектом предусмотрены две технологии приготовления и дозирования извести в осветлители:

Известковое молоко приготавливается в мешалках известкового молока с перемешивающим устройством и насосами дозаторами подается в осветлители (15 шт.).

Насыщенный раствор извести приготавливается в сатураторах, в качестве которых предполагается использовать три осветлителя 3-го блока осветлителей. Подача известкового молока в сатураторы организована сверху через специальную опускную трубу. Сырая вода из коллектора добавочной воды подается в низ конуса непрерывно, проходя снизу вверх сначала насыщается СаО, а затем осветляется. Полученный насыщенный раствор постоянной концентрации (около 40 мг-экв/кг), которая практически не зависит от температуры, самотеком по переливной трубе поступает в бак известкового раствора 2000м3. В качестве бака известкового раствора предполагается использовать промежуточный бак 2000 м3 3го блока осветлителей. Бак известкового раствора 160 м3 установлен для сбора аварийного перелива насыщенного раствора извести из бака 2000 м3.

Подача насыщенного раствора извести к осветлителям 1,2,4,5 блоков осветлителей осуществляется насосами насыщенного раствора извести (2 рабочих и 2 резервных). Для поддержания постоянного давления в трубопроводе установлены 2 регулятора давления ДУ-50 со сбросом в бак известкового раствора. Регуляторы расхода регулируют подачу насыщенного раствора в осветлители по расходу исходной воды с корректировкой по рН в осветлителях.

Для периодического взмучивания осевшего известкового теста в сатуратор подводится сжатый воздух. Сатуратор периодически должен продуваться для удаления недопала и неактивной извести.

Опыт показывает, что работа осветлителей на насыщенном растворе извести позволяет повысить производительность осветлителей на 10 - 15%.

Работа на насыщенном растворе извести позволяет значительно снизить в соотношении объемов обрабатываемой воды и раствора извести, улучшить условия их смешивания и протекания реакции осаждения, что особенно важно при обработке воды низкой температуры.

Продувочные воды осветлителя собираются в баках 150м3 сбора шламовых вод (приямки), насосами расходом 250м3/ч направляются в баки отстоя известкового шлама установки обезвоживания известкового шлама. При проведении ремонтных и наладочных работ вакуум-фильтров отстоявшиеся шламовые воды насосом расходом 120м3/ч подаются в шламонакопитель. Объем шламонакопителя 40000м3 рассчитан на прием шлама в течении 40 дней. Осветленная вода расходом 80 м3/ч из накопителя возвращается на СОДВ. После пуска вакуум-фильтра шлам с накопителя расходом 40 - 80 м3/ч подается на переработку в установку обезвоживания известкового шлама.

Оборудование расположено в помещении СОДВ на отметке 0,00.

Таблица 3 - Режимная карта контролируемых параметров СОДВ

№ п/п

Нормируемый показатель

Величина

Периодичность

1

Условия работы осветлителя:




 - нагрузка осветлителя, мЗ/час

500-1000

постоянно


 - температура воды, °С

2-25

постоянно


 - изменение нагрузки, %

10

в течение 10 мин.


 - открытие "отсечки",%

75

постоянно


 - непрерывная продувка шламоуплотнителя, % нагрузки;

1,5-2,0

постоянно


 - периодическая продувка шламоуплотнителя, мин.

3

при появлении шлама в пробоотборной точкой №4 или №8


 - продувка «грязевика», мин.

1-2

один раз в неделю

2

Дозирование извести:




 - концентрация НРИ, мг-экв/дм

35-42

через 4 часа


 - расход раствора извести в осветлитель, м3/ч

80-160

два раза в смену

3

Дозирование коагулянта:




 - доза коагулянта, мг-экв/дм

0,5-0,7

через 2 часа

400044080

один раз в смену

4

Дозирование ПАА:




 - доза ПАА, мг/дм

0,6-1,0

через 2 часа


 - концентрация раствора ПАА, мг/дм3

2,5

один раз в смену

5

Качество коагулированной воды:




 - щелочность общая, мг-экв/дмЗ

0,5-0,6

через 2 часа


 - щелочность гидратная мг-экв/ дм3

0,1-0,3

через 2 часа


 - жесткость общая, мг-экв/дм3

1,2-1,4

через 2 часа


 - рН

10,0 ± 0,1

через 2 часа


 - прозрачность по "кресту", не менее, см

30

через 2 часа


 - железо, мг/дм3

0,3-1,0

один раз в неделю


 - кремнекислота растворимая, мг/дм3

8-12

один раз в месяц


 - кремнекислота общая, мг/дм3

17-25

один раз в месяц

6

Условия работы ВСМФ: - производительность, м3/ч

 1000-2000

 постоянно


 - рабочее давление, кгс/см2

3-10

постоянно


 - максимально допустимый перепад давления на фильтрующем элементе, кгс/см2

1

постоянно

7

Качество осветленной воды после ВСМФ:




 - прозрачность осветленной воды, не менее, см

30

через 2 часа


 - щелочность общая, мг-экв/ дм3

05-06

через 2 часа


 - жесткость общая, мг-экв/ дм3

1,2-1,4

через 2 часа


 - жесткость карбонатн., мг-экв/ дм3

0,6-0,8

через 2 часа


 - хлориды, мг/дм3

0,6-1,6

1 раз в неделю


 - сульфаты, мг/дм3

0,5-3,1

1 раз в неделю


- окисляемость, мг/ дм3 не более

8-10

1 раз в смену


Оперативный химконтроль проводится дежурным персоналом путем отбора проб обрабатываемой воды и определения в них ряда показателей. Кроме того, оперативный персонал определяет концентрацию приготовления рабочих растворов реагентов.

Литература

1. Акимов А. М. Системы и оборудование химических цехов/Акимов А. М. Кулибов А. В. Кузьмин А. А. - С.: СИЯЭиП, 2002.

2. В.А. Кишневский «Технология подготовки воды в энергетике», Одесса, Феникс, 2008г.

. Кувшинский «Курсовое проектирование по предмету «Процессы и аппараты химической промышленности»», Москва. 1980 г

4. «Обработка добавочной воды в системе циркуляционного водоснабжения». Раздаточный материал. УТЦ

5. «Система обработки добавочной воды в схеме циркуляционного водоснабжения». Техническое описание и инструкция по эксплуатации.171-15-Э-ХЦ

. М.И. Хоршева «Спецхимводоочистка. Водоподготовка и химический контроль воды на АЭС».

Похожие работы на - Система обработки добавочной воды

 

Не нашли материал для своей работы?
Поможем написать уникальную работу
Без плагиата!
Без нейросетей!