Свойства гетинакса

  • Вид работы:
    Реферат
  • Предмет:
    Химия
  • Язык:
    Русский
    ,
    Формат файла:
    MS Word
    248,27 Кб
  • Опубликовано:
    2012-12-11
Вы можете узнать стоимость помощи в написании студенческой работы.
Помощь в написании работы, которую точно примут!

Свойства гетинакса

Оглавление

Введение

1. Общие характеристики гетинакса

2. Сырье для производства гетинакса

2.1 Связующие

2.2 Наполнители 

3. Физико-химические основы производства гетинакса

4. Применение гетинакса

5. Марки гетинакса и их характеристики

Заключение

Список используемой литературы

Введение

Неметаллические материалы находят все возрастающее применение в различных отраслях техники. Достаточная прочность, жесткость, эластичность при низкой плотности, химическая стойкость во многих агрессивных средах, уровень диэлектрических свойств при их технологичности делают неметаллические материалы незаменимыми. По происхождению неметаллические материалы различают природные, искусственные синтетические искусственные органические материалы получает с природных полимерных продуктов

Полимерами называют вещества, макромолекулы которых состоят из многочисленных повторяющихся элементарных звеньев, представляющих собой одинаковую группу атомов. Молекулярная масса таких молекул составляет от 500 до 1000000.

Пластическими массами, или пластмассами, называют материалы, изготовленные на основе полимеров и обладающие на некоторой стадии переработки свойством пластичности. Пластичностью называется способность тела к пластической деформации, которая заключается в изменении формы тела под влиянием внешних механических усилий без нарушения связи между частицами, причем новая форма сохраняется после прекращения внешнего воздействия. Как правило полимер, входящий в состав пласмассы, в период формования изделия находится в вязкотекучем или высокоэластичном состоянии, а при эксплуатации - в стеклообразном (аморфном) или кристаллическом.

Состав композиций разнообразен: простые пластмассы - это полимеры без добавок, сложные пластмассы - это смеси полимеров с различными добавками (наполнители, стабилизаторы и т.д.).

Технические наименования пластмасс (формирование названий):

Пластмассы без наполнителя или с порошковым наполнителем получают название от связующего полимера с окончание «пласт». Например, фторопласт, ферропласт.

Пластмассы с волокнистым наполнителем получают названия от наполнителя с окончанием «волокнит»: х/б - волокнит; асбест - асбоволокнит; стекло - стекловолокнит.

Пластмассы со слоистыми наполнителями получают название от наполнителя с добавлением окончания «лит»: х/б - текстолит; асбест - асботекстолит; стекло - стеклотекстолит; шпон - древолит.

Пластмассы пористые малой плотности: поропласты (g > 0,3 г/см), пенопласты (g > 0,3 г/см).

Пластмассы толщиной менее 0,5 мм называют пленками.

Классификация пластмасс

. По способу синтеза полимеров пластмассы делятся на следующие классы:

~ на основе полимеров, получаемых цепной полимеризацией, т.е. когда полимер состоит из структурных звеньев, соответствующих элементарному составу мономеров;

~ на основе полимеров, получаемых ступенчатой полимеризацией или поликонденсацией, т.е. когда полимер имеет структурные звенья, отличные от элементарного состава мономеров;

~ на основе химически модифицированных природных продуктов.

. Все пластические массы по поведению при нагревании делятся на:

~ термопластические (термопласты), допускающие многократное размягчение при нагревании и становящиеся твердыми при нормальных условиях;

~ термореактивные (реактопласты), необратимо переходящие при нагревании в твердое состояние, т.е. отверждающиеся.

. По степени пластичности и эластичности: пластомеры (пластики) и эластомеры (эластики).

. В зависимости от структуры: гомогенные (однофазные) и гетерогенные (многофазные).

. По виду наполнителя: с твердым (например слоистые) и с газообразным наполнителями.

. По применению пластмассы можно подразделить на конструкционные, прокладочные, фрикционные и антифрикционные, электроизоляционные, теплоизоляционные, облицовочно-декоративные.

Наполнители - это органические и неорганические вещества в виде порошков, волокон, листов. Их добавляют в количестве 40 - 70 % для повышения механических свойств, снижения стоимости, изменения других параметров.

Слоистые пластики - это материалы, изготовленные горячим отвержением предварительно пропитанных синтетическими смолами и уложенных слоями полотен ткани, бумаги, древесного шпона и т.д. Представляют собой группу самых прочных и универсальных по применению конструкционных пластмасс. Листовые наполнители, уложенные слоями, придают материалам анизотропность.

Слоистые пластики играют большую роль при изготовлении различного вида машин и оборудования, особенно электротехнического назначения. Рост электротехнической промышленности и совершенствование электрических машин и аппаратов, выпускаемых ею, требует как неуклонного увеличения объемов производства, усовершенствования самих слоистых пластиков, так и рационального их применения.

1. Общие характеристики гетинакса

Гетинакс представляет собой слоистый пластик, получаемый на основе модифицированных фенольных, анилиноформальдегидных и карбамидных смол и различных сортов бумаги. Гетинакс устойчив к действию химикатов, растворителей, пищевых продуктов. Обладает высокими электроизолирующими свойствами, особенно хорош в условиях повышенной влажности атмосферы.

.

Рис. 1. Зависимость предела прочности для гетинакса

По назначению гетинакс подразделяют на электротехнический и декоративный. Гетинакс электротехнический листовой ГОСТ 2718-74 представляет собой слоистый материал, полученный методом горячего прессования бумаги, пропитанной термореактивным связующим на основе фенолформальдегидных или эпоксидных смол. Длительно допустимая рабочая температура гетинакса от -65 °С до +120 °С. Электротехнический листовой гетинакс бывает различных марок: гетинакс марки I, гетинакс марки V, гетинакс марки X, гетинакс марки ЛГ.

Таблица 1. Общие физико-механические свойства гетинакса

Плотность

кг/м1300 - 1400


Предел прочности

при растяжении

МПа

80 - 100


при сжатии


160 - 290


при изгибе


80 - 100

Относительное удлинение при разрыве

%

1 - 3

Твердость по Бринеллю

кгс/мм25


Ударная вязкость

кДж/м12 - 25


Модуль упругости

МПа

10000

Теплостойкость по Мартенсу

°С

150

Теплопроводность

кал/(см ·с·°С)

(5 - 8)·10


Гетинакс, как и все слоистые пластики, является анизотропным материалом. Его свойства неодинаковы в различных направлениях. Поэтому при описании этих свойств указывают, к какому направлению относится упомянутый показатель. Анизотропия у наблюдается как в механических, так и электрических свойствах. Анизотропия электрических свойств может быть иллюстрирована примером, когда электрическая прочность высоковольтного гетинакса в направлении, перпендикулярном слоям, составляет 25 - 30 МВ/м, в то время как вдоль слоев (параллельно слоям) она всего 1 - 2 МВ/м.

Гетинакс, как и все слоистые пластики, поддается обычным способам механической обработки: обточке, сверлению, фрезерованию, распиловке и штамповке.

2. Сырье для производства гетинакса

.1 Связующие

В качестве связующих для производства гетинакса в основном применяют феноло- и крезолоформальдегидные, эпоксидные, эпоксиднофенольные и меламиноформальдегидные водно-спиртовые смолы, иногда феноланилинформальдегидные.

Фенолоформальдегидные и крезолоформальдегидные связующие

Для изготовления этих смол применяют главным образом различные фенолы и формальдегид в виде формалина. Если для изготовления смолы применен фенол то смолу называют фенолформальдегидной или фенольной. Если применяют смесь резолов, то смолу называют крезолоформальдегидной или крезольной. Наибольшее применение находят фенол и трикрезол.

Фенол  в чистом виде - бесцветные игольчатые кристаллы с характерным запахом, на воздухе и под действием света окрашивается в розоватый, а потом в красноватый цвет. Плотность 1,06 г/см, температура кристаллизации 41 °С, температура кипения 182,1 °С, содержание фенола в техническом продукте 98 - 99,9 %. При температуре выше 65,3 °С фенол растворяется в воде в любых соотношениях. Он хорошо растворяется в спирте, эфире, бензоле. Фенол, а также его растворы ядовиты и оказывают сильное обжигающее действие на кожу. Различают синтетический фенол, который получают из бензола, и фенол, извлекаемый из продуктов термической переработки топлива.

Крезол  выпускается в виде три-, ди- и ортокрезола. По внешнему виду крезолы представляют собой темные маслянистые жидкостисо специфическим запахом; плотность 1,03 - 1,05 г/см. В воде растворяются хуже, чем фенол. Хорошо растворяются в водных растворах щелочей, эфире и спирте. По токсичности сходны с фенолом. Получают крезолы выделением из фракции среднего масла каменноугольных смол, перегоняющейся между 205 - 220 °С.

Формальдегид - бесцветный газ с резким специфическим запахом. Получают его окислением синтетического метилового спирта (метанола) или метана. Формальдегид хорошо растворяется в воде, и в промышленности обычно используют 37%-ный водный раствор формальдегида - формалин.

Эпоксидные связующие

Эпоксидные смолы характеризуются наличием в составе молекул исходной смолы эпоксидных групп, обладающих высокой реакционной способностью по отношению к веществам, содержащим подвижный водород (амины, кислоты, спирты). Благодаря этому эпоксидные смолы можно переводить с помощью соответствующих отвердителей в высокополимеры трехмерной структуры и получать с их применением необходимую жесткость. Смолы отличаются высокими механическими и электрическими свойствами, а также нагрево- и влагостойкостью. Для изготовления листового гетинакса электротехнического назначения применяются эпоксидные смолы с эпоксидным числом от 14 до 25.

В настоящее время наиболее широко применяются эпоксидные смолы на основе продуктов реакции дифенилолпропана и эпихлоргидрина (диановые эпоксидные смолы).

Дифенилопропан (диан)представляет собой бесцветные кристаллы, температура плавления 156 - 157 °С, температура кипения 250 - 252 °С. Растворяется в метиловом, этиловом и бутиловом спиртах, ацетоне, уксусной кислоте; в углеводородах и воде растворяется плохо. В промышленности получается конденсацией фенола с ацетоном в присутствии кислот или ионообменных смол в качестве катализаторов.

Эпихлоргидрин - бесцветная прозрачная жидкость с температурой кипения 117-118 °С и плотностью 1,172 - 1,185 г/см. В воде не растворяется, но смешивается со многими растворителями (бензолом, толуолом, спиртом, ацетоном). Получается из пропилена под действием хлора и хлорноватистой кислоты.

Меламиноформальдегидные связующие.

Меламин  - белый кристаллический порошок с плотностью около 1,6 г/см и температурой плавления около 350 °С. В воде он растворяется плохо (до 5 - 6 % при 100 °С), однако хорошо растворяется в формалине.

Меламиноформальдегидные смолы получаются из меламина и водного раствора формальдегида. Меламиноформальдегидная смола для слоистых пластиков электротехнического назначения изготовляется при соотношении: 1 моль меламина на 3 моля формальдегида (на 100 массовых частей меламина 250 частей 37%-ного формалина). Смесь меламина и формалина в присутствии катализатора (до 20 % триэтаноламина к массе меламина) нагревают до 40 - 60 °С, так чтобы получился 50%-ный водный раствор смолы с рН среды 8,0 - 8,5. Реакцию практически заканчивают тогда, когда весь меламин растворится и вязкость продуктов реакции достигнет такого уровня, что при добавлении воды происходит легкое их высаживание из раствора.

При изготовлении меламиноформальдегидных смол не получается надсмольных вод, в чем состоит одно из преимуществ этих смол перед фенолформальдегидными. Вторым преимуществом этих смол является их повышенная дугостойкость. Наряду с этим механические и диэлектрические свойства слоистых пластиков, изготовляемых на основе этих смол, не уступают тем, которые получаются на основе фенолформальдегидных смол.

Однако сравнительно высокая стоимость меламина сдерживала до сих пор их широкое применение. Дороговизна меламина объяснялась тем, что он получался через дициандиамид. Однако в последнее время разработан промышленный способ получения меламина из мочевины и аммиака. В связи с этим стоимость меламина может оказаться даже ниже стоимости фенола и меламиноформальдегидные смолы могут оказаться серьезным конкурентом фенолформальдегидных смол.

Феноланилинформальдегидные связующие

Связующее на основе фенола, анилина и формальдегида находит сравнительно ограниченное применение вследствие того, что слоистые пластики на основе такого связующего обладают меньшими монолитностью и теплостойкостью по Мартенсу. Однако этот вид смол по своим электрическим свойствам превосходит даже крезолоформальдегидные.

Анилин - маслянистая жидкость от светло-желтого до красновато-коричневого цвета. Плотность 1,023 г/см, температура кипения 184 °С, застывает при -8 °С. Сильно ядовит. В воде растворяется слабо. В промышленности анилин получают в большинстве случаев восстановлением нитробензола железом в присутствии электролитов.

.2 Наполнители

Для гетинакса электротехнических марок в качестве наполнителя применяют бумагу из сульфатной целлюлозы, так как она механически более прочная, более термостабильная и имеет меньшую кислотность, чем например сульфитная бумага. Для декоративных сортов гетинакса используют бумагу на основе сульфитной целлюлозы или смеси сульфитной и хлопковой целлюлоз. Для толстых листов гетинакса применяют пропиточную бумагу, лучше впитывающую смолу, а для намоточных изделий (цилиндров, стержней, труб) - намоточную, хуже впитывающую.

Бумаги из целлюлозы относятся к органическим наполнителям, они изготавливаются из целлюлозных волокон следующим способом. Сначала волокна подвергают размолу в массных роллах с избытком воды. После размола длина целлюлозных волокон находится на уровне от 0,1 до 2,5 мм и не превышает 4 мм. Толщина волокон при этом колеблется в пределах 0,01 мм. К полученным таким образом волокнам добавляют избыток воды и взвесь их в воде подается на движущуюся сетку бумажной машины, где волокна, перепутываясь друг с другом, формируют бумагу, содержащую еще значительное количество воды. При этом волокна располагаются главным образом вдоль движения сетки машины (продольное направление бумаги). В дальнейшем из мокрой бумаги избыточное количество воды удаляется сначала вакуумным отсосом, затем отжимом между валами, и наконец, сушкой на горячих барабанах бумажной машины. Полученная бумага разрезается на нужную ширину и сматывается в рулоны.

Целлюлоза - наиболее распространенный природный полимер, главная составная часть клеточных стенок растений. Выделение целлюлозы из природных материалов основано на действии реагентов, разрушающих или растворяющих нецеллюлозные компоненты клеток растений.

Хлопковую целлюлозу получают из короткого хлопкового волокна - линта, с длиной волокна не более 6 мм. Технологический процесс состоит из следующих стадий: механическая очистка линта, варка и промывка линта, отбелка, промывка и сушка.

Сульфитная целлюлоза является разновидностью древесной целлюлозы. Она производится следующим способом: древесная щепа обрабатывается в больших котлах водным раствором бисульфита кальция, содержащим 1,5 - 2,5 % связанной и 3 - 6 % свободной двуокиси серы. Варка проводится 10 - 15 ч при 125 - 150 °С под давлением 4 - 6 кгс/см. В результате лингин образует с сернистой кислотой сульфоновые кислоты, которые затем переходят в водорастворимые соли кальция. Прочие примеси гидролизуются до низших поли- и моносахаридов.

Сульфатную целлюлозу также получают из древесины, но уже с добавлением сульфата натрия. Древесина обрабатывается 6 - 8%-ным раствором NaSO при 150 - 180 °C в течение 6 ч под давлением 6 - 8 кгс/см. Лингин при этом растворяется с разложением, гемицеллюлозы гидролизуются, смолы растворяются в виде натриевых солей смоляных кислот, а жиры омыляются. В результате получается высококачественная целлюлоза.

Асбестовые бумаги относятся к неорганическим наполнителям и изготовляются из асбестовых волокон по технологии и на оборудовании, аналогичным применяемым для изготовления целлюлозных бумаг.

Асбестовые волокна, получаемые из минерального природного асбеста, состоят главным образом из силикатов магния. Асбест, или «горный лен», представляет собой природный волокнистый материал, обладающий огнестойкостью, кислото- и щелочестойкостью и достаточно высокой механической прочностью. Известны два вида асбеста: серпентиновый и амфиболовый. Для изготовления электротехнических бумаг и тканей применяют хризотиловый асбест, который является разновидностью серпентинов и отличается высокими механическими свойствами и пониженной кислотостойкостью. В его состав входят силикаты в примерных соотношениях (в пересчете на окислы): SiO до 42 %, MgO до 40 %, Fe2O3 и FeO до 2 %.

Характерной особенностью асбеста как волокнистого наполнителя является отсутствие внутренних каналов в элементарных волокнах, благодаря чему асбестовые волокна не пропитываются, а только обволакиваются связующим, что затрудняет равномерное распределение связующего в наполнителе. Поэтому для улучшения пропитки применяют специальные методы, например добавление бумажных волокон к асбестовым.

Для электротехнических видов гетинакса применяют два вида асбестовых бумаг: с добавкой до 10 % хлопкового волокна и 100%-ные асбестовые бумаги, имеющие в своем составе от 3 до 5 % проклеивающего состава. В качестве проклейки применяют поливинилацетатную или каучуковую эмульсию. Добавление 10 % хлопковых волокон увеличивает разрывную прочность асбестовых бумаг. Однако такая добавка снижает нагревостойкость и поэтому первый тип асбестовой бумаги применяется для слоистых пластиков с нагревостойкостью только до класса В.

3. Физико-химические основы производства гетинакса

Производство состоит из следующих основных процессов:

подготовка сырья;

пропитка наполнителя связующим;

сушка пропитанного наполнителя;

раскрой и укладка пакетов;

прессование.

При изготовлении гетинакса для пропитки и сушки бумаги применяют горизонтальные машины. В таких машинах сушильная камера располагается горизонтально, и пропитанная бумага проходит на поддерживающих валиках. В процессе эксплуатации валики обрастают прилипающей к ним смолой, что является крупным недостатком горизонтальных машин. Но несмотря на подобные недостатки, применение вертикальных пропиточно-сушильных машин, в которых они отсутствуют, для пропитки бумаги невозможно, поскольку бумага в мокром виде становится непрочной и рвется под собственной тяжестью.

Метод пропитки, который используется при изготовлении гетинакса, называется мокрым методом пропитки, так как при в качестве связующего применяются водно-спиртовые растворы смол. Данный способ является наиболее экономичным, но возникает необходимость улавливать и использовать растворитель. Для использования ценных продуктов, содержащихся в виде паров (фенола, спирта), и улучшения санитарно-гигиенических условий на производстве и состояния окружающей среды воздух из пропиточной машины направляется на рекуперационную установку. Установка состоит из вентилятора высокого давления, холодильников, ловушек, адсорберов, конденсатора, сборников, насосов и ректификационной колонны. Паро-воздушная смесь поступает из пропиточной машины в ловушку-брызгоотделитель, откуда капли фенола и начальные продукты конденсации стекают в сборник конденсата. После этого паро-воздушная смесь подается вентилятором высокого давления через серию холодильников, охлаждаемых от 20 - 25 до 5 - 8 °С, и освобождается от фенола. Улавливание спирта происходит в двух работающих поочередно адсорберах, заполненных активированным углем. После насыщения активированного угля спиртом адсорбер отключается и в работу включается второй адсорбер, а первый переводится на регенерацию угля продувкой паром. Смесь водяных паров и спирта поступает из адсорбера в конденсатор. Конденсат подается в сборник разбавленного спирта, откуда перекачивается насосом на ректификацию.

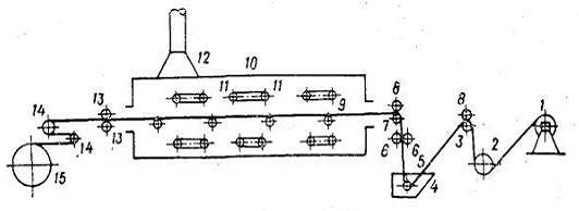
Паровые обогревающие трубы в горизонтальной пропиточно-сушильной машине расположены как над проходящей через шахту бумагой, так и под ней. Бумага подается с рулона 1 через сушильный барабан 2 и ролик 3 в пропиточную ванну 4. пропитанная бумага проходит отжимные валики 6 и поступает на сушку в камеру 10. Температура в сушильной шахте постепенно повышается от зоны к зоне. Скорость движения бумаги в среднем ~10 м/мин при конечной температуре сушки ~120 °С. Высушенная бумага наматывается в рулон 15, который переносится на бумагорезательную машину для на резания листов и складывания их в пакеты.

Рис. 2. Схема горизонтальной пропиточно-сушильной машины:

- рулон наполнителя; 2 - сушильный барабан; 3, 7 - направляющий ролик; 4 - пропиточная ванна; 5 - валик; 6 - отжимные валики; 8 - прижимные валики; 9 - поддерживающие ролики; 10 - сушильная камера; 11 - обогревающие трубы; 12 - вытяжной зонт; 13 - ведущие валики; 14 - натяжные валики; 15 - рулон, пропитанный связующим.

Во время сушки удаляются летучие (спирт, вода и др.) и происходит дальнейшая поликонденсация связующего, в частности резольная смола частично переходит в резитол.

Таблица 2. Основные параметры режима пропитки и сушки наполнителей

Скорость пропитки

м/мин

10 - 15

Температура сушки

начальная

°С

70 - 80


конечная


120

Содержание в высушенном материале

связующего

%

38 - 68


летучих


0,5 - 12


Физико-механические и электрические свойства зависят от вида и содержания связующего, типа и толщины листового наполнителя, способа нанесения связующего и метода переработки пропитанных листовых материалов. При увеличении содержания смолы улучшаются электрические свойства, уменьшается водопоглощение, делаются более постоянными все свойства, снижается износ и уменьшается коэффициент трения. Одновременно увеличивается хрупкость и снижаются механические свойства. Чем выше содержание смолы, тем легче его прессовать. В бумаге для влагостойких сортов гетинакса содержится 62 - 67 % смолы. Для понижения горючести в состав вводят антипирены.

Пропитанная бумага гигроскопична и поэтому перед прессованием подвергается дополнительной просушке. Из пропитанной бумаги прессуют плиты различной толщины на этажных прессах и трубы на трубонамоточных машинах.

Из пропитанных высушенных полотен намоткой и отвержением при нагреве получают так называемые намоточные изделия - трубы, стержни, втулки и т.п.

Изготовление листов складывается из следующих операций: раскроя пропитанной бумаги, набора пакетов, прессования и обрезки готовых листов.

Пропитанная бумага в рулонах разматывается и нарезается на листы требуемого размера на специальных резальных машинах либо на раскладочно-раскройных станках.

Набирают пакеты пропитанного материала по наборному числу (коэффициенту), т.е. числу слоев пропитанного материала на 1 мм толщины готового листа. При наборе пакетов полотна ткани должны укладываться совершенно ровно по длине и ширине.

Прессование проводится на этажных гидравлических прессах. Так как пропитанная бумага менее хрупка, то гетинакс можно прессовать при более высоких удельных давлениях.

Толщина листа

мм

0,3 - 50

Выдержка на 1 мм толщины

мин

4 - 5

Удельное давление

кгс/см100 - 150


Температура греющих плит

°С

150 - 160

Дополнительная термообработка


При 120 - 130 °С в масле или воздухе


Выдержка считается с момента достижения плитами пресса температуры прессования. Обогревают плиты пресса обычно паром 5 - 8 кгс/см. Загрузка пакетов в пресс начинается при подогретых до 40 - 60 °С плитах. Прогрев пакетов материала проводят под небольшим давлением. Нагревают плиты пресса до температуры прессования постепенно. За 10 - 15 минут до окончания выдержки подачу пара прекращают. После окончания выдержки через плиты пресса пропускают воду для охлаждения до 20 - 50 °С, после чего начинают разгрузку пресса.

Вынутые из пресса листы и плиты поступают на обрезку. Обрезку проводят механическими гильотинного типа ножницами или круглыми пилами (фрезами). Чем ровнее были сложены листы, тем меньше получается отходов при обрезке.

Рис. 3. Этажный пресс:

- верхняя неподвижная плита;

- рабочие плиты;

- колонны;

- нижняя плита;

- подвижный стол;

- рабочий плунжер;

- вспомогательные плунжеры для

предварительного сжатия;

- цилиндры вспомогательных плунжеров;

- рабочий цилиндр.

4. Применение гетинакса

Электротехнический гетинакс применяют в качестве электроизоляционного материала в производстве электромашин, в трансформаторах и телефонной аппаратуре, в радиотехнике, в высоковольтной аппаратуре. Из него изготавливают электроизоляторы, пластинчатые и трубчатые панели, колодки зажимов, изолирующие шайбы, прокладки, трубы и цилиндры. Фольгированный гетинакс применяют для изготовления плат для печатных схем.

Декоративный гетинакс используется для внутренней облицовки стен кают, коридоров, салонов кораблей, самолетов, автобусов, троллейбусов и железнодорожных вагонов, а также для отделки мебели и в строительстве.

5. Марки гетинакса и их характеристики

Гетинакс марки I. Производится на основе фенолформальдегидной смолы и электроизоляционной пропиточной бумаги. Изготавливается толщиной в диапазоне от 0,4 до 50 мм. Имеет высокие механические свойства, поэтому прекрасно поддается механической обработке резанием и сверлением. Отличается низким водопоглощением и сохранением своих электроизоляционных свойств при изменении влажности. Применяется в низковольтной технике с напряжением до 1000 В и частотой тока 50 Гц. Предназначен для работы на воздухе в условиях нормальной относительной влажности окружающей среды (45 - 75 %) при температуре 15 - 35 °С и в трансформаторном масле.

Гетинакс марки V. Данная марка гетинакса производится на основе совмещенных эпоксидной и фенолформальдегидной смол (эпоксифенольное связующее) и электроизоляционной пропиточной бумаги. Изготавливается толщиной от 0,1 до 50 мм. Помимо высоких механических свойств имеет отличные электроизоляционные показатели: повышенную электрическую прочность вдоль слоев и низкое значение тангенса угла диэлектрических потерь. Как электроизоляционный материал применяется в условиях нормальной относительной влажности воздуха и в трансформаторном масле при напряжении свыше 1000 В и частоте тока до 106 Гц.

Гетинакс марки Х. Гетинакс на основе модифицированной фенолформальдегидной смолы и электроизоляционной пропиточной бумаги. Изготавливается в диапазоне толщин от 0,4 до 2,5 мм. Имеет высокий уровень физико-механических свойств, отлично подвергается механической обработке, великолепно штампуется на холоде. Используется в качестве электроизоляционного материала в условиях нормальной относительной влажности окружающей среды и в трансформаторном масле при напряжении до 1000 В.

Гетинакс марки ЛГ (ТУ 16-503). Гетинакс лавсановый электротехнический представляет собой слоистый прессованный материал, состоящий из нескольких слоев полиэфирной (лавсановой) бумаги, пропитанной термореактивным эпоксифенольным связующим. Изготавляется толщиной от 0,5 до 50 мм. Применяется в качестве электроизоляционного материала. Пригоден для работы на воздухе в условиях нормальной относительной влажности (45 - 75 %) при температуре 15 - 35 °С без дополнительного влагозащищенного лакового покрытия, а также в условиях повышенной влажности (93±2) % при температуре (40±2) °С.

Таблица 4. Физико-механические и электрические свойства гетинакса различных марок

Наименование показателей

Ед. изм.

I

V

X

ЛГ

Разрушающее напряжение при изгибе перпендикулярно слоям, не менее

МПа

135

130

80

80

Разрушающее напряжение при растяжении, не менее

МПа

120

100

65

60

Водопоглощение для листов толщиной до 3,5 мм, не более

мг

575

280

280

50

Электрическая прочность перпендикулярно слоям (одноминутное проверочное испытание) в условиях М (90 °С), трансформаторное масло для листов толщиной 3,0 мм, не менее

кВ/мм

3,7

10,2

-

11,5

Пробивное напряжение параллельно слоям (одноминутное проверочное испытание) в условиях М (90 °С), трансформаторное масло, не менее

кВ

12

32

30

Удельное объемное электрическое сопротивление после кондиционирования в условиях 24 ч/ 23 °С/ 93 % для листов толщиной до 4 мм, не менее

Ом·м

1010105·10




Тангенс угла диэлектрических потерь при частоте 50 Гц после кондиционирования в условиях 96 ч/ 105 °С, не более

-

-

0,05

-

0,04

Плотность

кг/м1300-14001250-1400



гетинакс пластик смола наполнитель

Заключение

Слоистый пластик гетинакс играет большую роль при изготовлении различного вида машин и оборудования, особенно электротехнического назначения. Рост электротехнической промышленности и совершенствование электрических машин и аппаратов, выпускаемых ею, требует как неуклонного увеличения производства, усовершенствования технологии, так и рационального их применения.

Важную роль в том, что гетинакс получил столь широкое применение, сыграл его состав. Листовые наполнители - это такие наполнители пластмасс, которые служат основой для получения слоистых пластиков, к которым относится гетинакс. Эти наполнители имеют ряд технологических преимуществ перед другими. Материалы, полученные с такими наполнителями пластмасс обладают значительной анизотропией свойств.

Слоистые пластики электротехнического назначения находят широкое применение для изготовления из них электроизоляционных деталей путем механической обработки и главным образом в тех случаях, когда изготовление деталей из пресскомпозиций нецелесообразно либо по техническим причинам (недостаточная механическая прочность пресскомпозиции, недостаточная электрическая прочность прессованных деталей), либо по экономическим, например громоздкость и дороговизна прессформ и прессового оборудования при ограниченном количестве требующихся деталей.

Список используемой литературы

1. Брацыхин Е.А. Технология пластических масс. Л.: Химия. 1975

. Воробьев В.А., Андрианов Р.А. Технология полимеров: Учебник для вузов. М.: Высшая школа. 1980.

. Кацнельсон М.Ю., Балаев Г.А. Полимерные материалы. Справочник. Л.: Химия. 1982.

. Лахтин Ю.М., Леонтьева В.П. Материаловедение. М.: Машиностроение. 1990.

5. Пик И.Ш., Азерский С.А. Технология пластических масс. М.: Высшая школа. 1975.

1.      


Не нашли материал для своей работы?
Поможем написать уникальную работу
Без плагиата!
Без нейросетей!