Разработка цифроаналоговой следящей системы для автоматического управления телекамерой
Введение
Курсовой проект по дисциплине «Проектирование систем
автоматического управления» посвящен разработке следящей системы и включает в
себя выбор основных элементов замкнутой системы регулирования, разработку
принципиальной схемы управляющего устройства и электрический расчет основных ее
узлов, синтез параметров следящей системы из условия обеспечения заданных
показателей качества ее работы, расчет показателей надежности системы.
В качестве объекта автоматизации выбран телевизионный
комплекс, с помощью которого осуществляется слежение за наблюдаемой на экране
монитора движущейся целью. Рассмотрение задач, решаемых данным комплексом,
позволило выделить четыре различных режима работы следящего привода, которые
явились основой разработки четырех тем курсового проекта.
Основой при выполнении курсового проекта являются конспект
лекций по «Проектированию систем управления», знания, полученные студентами при
изучении таких дисциплин, как «Элементы и устройства автоматики», «Электроника
и микросхемотехника», «Теория автоматического управления».
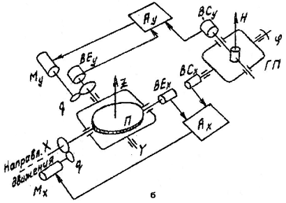
1. Оптическая телевизионная система сопровождения цели
Современные технические комплексы характеризуются наличием
ряда следящих приводов (СП), различных по назначению, но образующих единую
систему управления объектом. Примером тому может служить оптическая
телевизионная система (ОТС) сопровождения цели.
Задача, решаемая ОТС, сводится к обеспечению вращения
телевизионной камеры (ТК) (рис. 1) в азимутальной и угломестной плоскостях перемещения цели.
Конструктивно телекамера закрепляется на платформе, имеющей две оси вращения и
снабженной двумя СП. Данные СП обеспечивают вращение телекамеры по азимуту (ось
I) и по углу места (ось 2). Работа следящих приводов должна быть направлена к
тому, чтобы совместить оптическую ось телекамеры с направлением на цель. При
таком совмещении на экране монитора, на который поступает сигнал изображения с
телекамеры, изображение цели будет находиться в центре, что даст возможность
или получить информацию о текущих координатах цели с датчиков углов поворота
телекамеры (на рисунке не показаны), или организовать подсветку цели лазерным
лучом прибора, направленным по оптической оси телекамеры. Вполне понятно, что
механическая часть ОТС должна располагаться на неподвижной несущей платформе, а
в случае размещения ОТС на подвижном объекте (корабле, самолете и т.п.) - на
платформе, положение которой можно стабилизировать в плоскости горизонта.
Рис. 1. ОТС сопровождения цели
2. Цифроаналоговая следящая система для автоматического
сопровождения цели
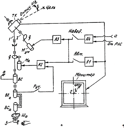
Уже на этапе ручного сопровождения цели специализированное
цифровое вычислительное устройство (ЦВУ) А1 (рис. 1а) осуществляет обработку
оцифрованного изображения телекамеры и по ряду признаков, отличающих движущийся
объект (цель) от окружающего его фона, определяет элементы изображения,
принадлежащие объекту, формируя тем самым «эталон» изображения объекта и
корректируя его по необходимости.
Сформированный эталон изображения объекта используется на этапе
автоматического сопровождения цели для нахождения местоположения объекта в
каждом текущем изображении телекамеры, а, следовательно, и выдачи в цифровой
форме отклонения объекта от центра всего изображения (ошибки сопровождения).
Информация об ошибке, преобразованная в аналоговый сигнал, поступает на входы
усилителей А2 и А3, которые управляют работой исполнительных двигателей
и
. Исполнительные двигатели вращают телекамеру в сторону уменьшения
ошибки сопровождения, удерживая в установившемся режиме слежения объект в
центре изображения.
Особенность данных следящих приводов заключается в том, что их
замыкание происходит через пространство и цель, реальные задающая и исполнительная
оси отсутствуют, а ошибка рассогласования определяется в виде разности угловых
положений оптической оси телекамеры и направления на цель. Поэтому цифровой код
рассогласования вырабатывается не с помощью датчиков угла, а цифровым
устройством А1, ведущим обработку изображения с телекамеры. Другой особенностью
является дискретный по времени характер информации о рассогласовании в системе,
определяемый частотой формирования кадров изображений телекамерой (в проекте
следует принять частоту поступления кадров изображений, равную 50Гц). Кроме
того, следует иметь в виду наличие запаздывания в выдаче кода рассогласования,
определяемого временем, необходимым для обработки кадра изображения устройством
А1 и равным, как правило, интервалу времени между поступлением двух соседних
кадров изображений.
3. Исходные данные
Исходные данные для проектирования приведены в таблице 1, где
использованы следующие обозначения:
- максимальный момент инерции нагрузки (подвижной платформы
с закрепленной на ней телекамерой);
- максимальный момент сопротивления на оси нагрузки;

- требуемые максимальные значения скорости и ускорения вращения
оси телекамеры;
- максимально допустимая ошибка следящей системы, учитывающая
влияние момента сопротивления на оси нагрузки, скоростную ошибку системы при
скорости изменения угла задания, равной по величине
, и инструментальную погрешность
измерителя рассогласования;

- максимально допустимые значения перерегулирования и времени
регулирования в следящей системе;
- коэффициент передачи вычислительного устройства А1, не
разрабатываемого в проекте.
Погрешность измерителя рассогласования принять равной цене
младшего разряда кода ошибки, выраженной в угловых минутах.
Таблица 1
№ варианта







|
|
|
|
|
|
|
|
|
|
|
3
|
24
|
6
|
0,15
|
2
|
5
|
30
|
0,2
|
0,7
|
4. Задание на проектирование
1. Дать описание функциональной схемы следящей системы при
автоматическом сопровождении цели по азимуту.
2. Выбрать исполнительный двигатель следящей системы и передаточное
отношение силового редуктора, связывающего исполнительный двигатель с
нагрузкой.
. Определить передаточную функцию двигателя и численные значения
ее параметров.
. Выбрать для системы цифроаналоговый преобразователь, полагая,
что код ошибки с выхода вычислителя А1 представлен восемью разрядами прямого
двоичного кода (семь значащих плюс знаковый).
. Разработать принципиальную схему усилителя.
. Рассчитать требуемые значения коэффициентов усиления разомкнутой
системы и усилителя, исходя из допустимых значений скоростной и моментной
ошибок слежения.
. Произвести динамический расчет системы.
. Дать электрический расчет принципиальной схемы.
. Сделать заключение по разработанному проекту
. Привести библиографический список.
5. Выбор исполнительного двигателя следящей системы и
передаточного отношения силового редуктора
Чтобы выбрать исполнительный двигатель системы, рассчитаем
требуемую от него мощность для обеспечения необходимых параметров движения
нагрузки (максимальные значения скорости и ускорения вращения исполнительного
вала) при заданных моментах инерции и сопротивления со стороны нагрузки,
полагая, что оптимальное передаточное отношение силового редуктора выбирается
из условия минимизации требуемого от двигателя момента вращения.
Зададимся коэффициентом полезного действия редуктора: h = 0,8,
полагая, что
меньше 100 Вт.
Требуемая от двигателя мощность при заданных характеристиках
нагрузки определяется согласно [2] как:
Вт.
Выбираем двигатель СЛ-261 со следующими характеристиками:
Вт;
об/мин
рад/с;
В;
А;
Ом;
Н×м;
-
Н×м;
При дальнейших расчётах учтём момент инерции редуктора. Выберем
согласно[1] приведённый к оси двигателя момент инерции редуктора равный:
.
Требуемый
вращающий момент на валу двигателя определяется при заданных характеристиках
нагрузки как:
где
h - КПД редуктора, i - передаточное отношение
редуктора,
- момент
инерции якоря двигателя.
дает
оптимальное значение передаточного отношения редуктора:
Подставляем
, получаем:
Далее
произведём проверку выбранного нами двигателя на перегрузку по требуемому от
него максимальному моменту и скорости вращения, которая не должна превышать
допустимую:
допустимый
коэффициент перегрузки по моменту:
;
допустимый
коэффициент перегрузки по скорости:
.
двигатель
по моменту перегружен, но в допустимых пределах.
двигатель
недогружен по скорости.
Ограничения
по перегрузкам выполняются, следовательно, выбранный двигатель подходит для
использования в системе с заданными характеристиками.
6. Определение передаточной функции двигателя и ее параметров
Структурную схему коллекторного двигателя постоянного тока с
независимым возбуждением, который мы используем в системе в качестве
исполнительного устройства, можно представить [7], как показано на рисунке 2:
Рис. 2. Структурная схема двигателя
Здесь
- момент нагрузки, приведённый к оси
двигателя;
- коэффициент пропорциональности по противо-ЭДС;
- коэффициент пропорциональности по моменту.
Полагаем, что электромагнитная постоянная времени двигателя много
меньше, чем электромеханическая постоянная, т.е.
. Тогда передаточные функции двигателя будут иметь следующий вид:
передаточная функция по скорости, где
;
передаточная функция по моменту.
Определить неизвестные параметры
,
,
. Для их нахождения рассчитаем сначала коэффициенты
,
:
.
Тогда коэффициент пропорциональности по противо-ЭДС равен:
.
Коэффициент пропорциональности по моменту определится как:
.
Рассчитаем постоянную времени
по следующей формуле:
с.
Вычислим коэффициент
:
.
Теперь, использую полученные выше результаты, вычислим искомые
передаточной функции двигателя.
В итоге получили следующие результаты:
,
.
7. Выбор цифроаналогового преобразователя
В проекте будем использовать микросхему 8-разрядного
быстродействующего ЦАП К1108ПА2, предназначенную для обработки высокочастотных
сигналов. Эта микросхема может быть использована в телевизионных и
радиолокационных системах, системах сбора и обработки данных в реальном
масштабе времени, в измерительной аппаратуре и так далее. Конструктивно она
выполнена в герметизированном металлокерамическом 33-выводном корпусе с
двухсторонним вертикальным расположением выводов.
Микросхема К1108ПА2 построена на основе ЭСЛ
(эмиттерно-связанная логика) структур и по выходным логическим уровням
совместима с ТТЛ (транзисторно-транзисторная логика) и ЭСЛ ЦИС. Микросхема способна
выполнять функцию преобразования двоичного или биполярного прямого кода в
выходное напряжение.
Рис. 3. Типовая схема включения ЦАП
Обозначения выводов микросхемы:- напряжение источника
питания;- напряжение источника питания;- опорное напряжение;
- выход;
- общий цифровой;
, 6, 8 - общий аналоговый;
- вход С2;
- вход Н;
- вход L;
- прямой вход С;
- прямой вход G;
- инверсный вход C;
- инверсный вход G;
, 19, 23, 25, 27, 29, 31, 33 - прямые цифровые входы;
, 18, 22, 24, 26, 28, 30, 32 - инверсные цифровые входы.
Параметры устройства:
- напряжение источника питания Ucc1 £ 7 В; Ucc2 ³ -7 В;
- входное напряжение высокого уровня U1H ³ -7 В;
- входное напряжение низкого уровня U1L £ 7 В;
- напряжение опорного источника -7 В £ UREF £ 7 В;
- общий -1 В £ UGND £ 1 В.
8. Разработка принципиальной схемы устройства управления
исполнительным двигателем
Техническое совершенство привода следящей системы с
двигателем постоянного тока определяется усилителем мощности (УМ). В настоящее
время применяют полупроводниковые - транзисторные УМ. Транзисторные УМ работают
в режиме класса Д с широтно-импульсной модуляцией (ШИМ) силовых транзисторов.
Область применения транзисторных УМ расширяется и они вытесняют тиристорные
преобразователи, что связано с освоением сильноточных транзисторов с
коммутируемым током до 500 А и коллекторным напряжением до 700 В. Схема
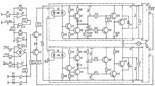
усилителя мощности приведена на рисунке 4 [4].
Рис. 4. Принципиальная схема усилителя мощности
Устройство состоит из генератора пилообразного напряжения,
выполненного на операционных усилителях D1 и D2; двухпорогового компаратора D3
с диодным ограничителем V1; двухплечевого импульсного усилителя мощности на
транзисторах V4 и V5; четырех плеч мостового усилителя: двух верхних А1 и А3 и
двух нижних А2 и А4.
Верхнее плечо А1 (А3) состоит из оптронного усилителя типа
249ЛП1Б, выполненного на диодной оптопаре V6 и транзисторах V7, V8, V10;
дифференцирующей RC-цепи на конденсаторе C2 и резисторе R19 с усилителем
мощности дифференцирующего сигнала на транзисторе V11; управляющего транзистора
V12 и силового транзистора V13.
Нижнее плечо А2 (А4) состоит из тех же элементов, что и
верхнее, но отличается от верхнего местом подключения дифференцирующей RC-цепи
и противоположным типом проводимости транзисторов V11-V13.
Помимо двух основных источников питания ±15В, УМ нуждается в двух
дополнительных источниках напряжения 5В для схем управления нижними и верхними
плечами моста.
а) - пилообразное напряжение Uоп, снимаемое с Д2, входное
напряжение Uу.м. и пороговое напряжение ±Uпор компаратора Д3;
б) - импульсное напряжение Uа, снимаемое с выхода компаратора
Д3;
в) - выходное напряжение первого Ub1 и второго Ub2 оптронных
усилителей;
г) - выходные напряжения первой Ud1 и второй Ud2
дифференцирующих RC-цепей;
д), е), ж), з) - коллекторные напряжения Uc1-Uc4 выходных
транзисторов соответственно первого-четвертого плечей моста; и) - выходное
напряжение Uя на якоре двигателя.
Период работы усилителя состоит из отрезков времени, в которые
импульс сигнала Ua=0, Ua>0 и Ua<0. При Ua=0 напряжение
. При этом в верхнем плече А1 транзистор
V12 закрыт, выходной транзистор V13 открыт током, протекающим через резистор
R23. Выходной транзистор V13 нижнего плеча А2 будет закрыт. Состояние левых
плеч А1 и А2 усилителя не изменится и при Ua>0, так как их оптронные
усилители включаются напряжением Ua отрицательной полярности. При Ua<0
выходные напряжения оптронных усилителей
. При этом транзистор V13 верхнего плеча А1 будет закрыт, а V13
нижнего плеча А2 открыт. Импульс напряжения, открывающий транзисторы V13,
подается с задержкой времени относительно импульса напряжения, снимаемого с
выхода соответствующего оптронного усилителя. Эта задержка обеспечивается
дифференцирующими импульсами напряжений Ud1 и Ud2. Импульс напряжения Ud1
положительной полярности открывает транзистор V11 верхнего плеча, который в
течение времени действия импульса сохраняет открытым транзистор V12 и закрытым
V13.
Аналогично дифференцирующий импульс Ud2 отрицательной полярности,
открывая транзистор V11 нижнего плеча А2, оставляет открытым транзистор V12,
задерживая тем самым включение транзистора V13 нижнего плеча, пока транзистор
V13 верхнего плеча не перешел в режим отсечки. Время задержки определяется
постоянной времени дифференцирующей цепи, которая выбирается несколько больше
времени запирания выходных транзисторов. Так как выходные транзисторы V13 при
запирании шунтируются управляющими транзисторами V12, то время запирания и
задержки получается минимально возможным. Два других плеча УМ А3 и А4 работают
аналогично при положительной полярности сигнала Uа. Диаграмма выходного
напряжения УМ зависит от соотношения напряжений
и амплитуды пилы Uоп. При Uу.м.=0 и
c выхода УМ снимаются симметричные разнополярные импульсы с
коэффициентом заполнения
. При этом крутизна статической
характеристики на начальном участке
будет вдвое выше, а коэффициент усиления равен:
,
где
.
Схема усилителя универсальная, так как она удовлетворяет всем
требованиям, предъявляемым к УМ приводов следящих систем. Отметим ее
достоинства:
- минимальные потери и максимальная частота ШИМ,
обеспечиваемые шунтированием цепи база-эмиттер при запирании силовых
транзисторов и использованием низковольтных источников в цепях управления;
- симметрия верхнего и нижнего плеч
усилителя с использованием одних и тех же однотипных элементов;
- простая схема защиты от сквозного
короткого замыкания, основанная на формировании импульсного сигнала в
слаботочном участке схемы;
- отсутствие влияния выходных каскадов на
входную цепь благодаря их гальванической развязке;
- простая схема ШИМ входного сигнала,
основанная на использовании двух порогового компаратора;
- безынерционность цепи управления;
- наличие схемы ограничения движения привода
(V2, V3, SI, S2)
- обеспечение режима динамического
торможения двигателя М, так как при Ua=0 выходные транзисторы V13 верхних плеч
А1 и A3 находятся в режиме насыщения; отлаженная на определенную нагрузку схема
не требует настройки последующих образцов.
Недостатком этой схемы является то, что требуется много
источников питания (122В, 15В, 5В). Параметры схемы на рис. 5(а) соответствуют
току нагрузки 10А при минимальном коэффициенте усиления по току транзисторов
V13 β = 100.
9. Расчёт требуемых значений коэффициентов усиления разомкнутой
системы и усилителя
Для обеспечения заданной точности работы системы при заданном
входном воздействии необходимо правильно рассчитать коэффициент усиления
разомкнутой системы. Для его расчета используем методику, приведенную в [1].
В проектируемой системе имеется запаздывание в выдаче кода
рассогласования, определяемое временем, необходимым для обработки кадра
изображения цифровым вычислительным устройством и равным, как правило,
интервалу времени между поступлением двух соседних кадров изображений. Ввиду
того, что частота поступления кадров равна 50Гц, будем считать Т = 1/50 =
0,02с. Выбранный для управления двигателем усилитель имеет крайне малую
постоянную времени, поэтому можно считать его безынерционным, а передаточную
функцию усилителя представить в виде коэффициента усиления Кус.
Перейдем от данной структуры цифровой следящей системы к
эквивалентной непрерывной системе [1], представленной на рис.7. Для этого
заменим передаточную функцию квантователя на передаточную функцию
безынерционного звена: 1/Т, где Т - период квантования. Так как частота
формирования кадров изображения в нашем случае равно 50Гц, то Т = 1/50 = 0,02
с. Передаточная функция непрерывной разомкнутой системы:
, где
.
Коэффициент передачи редуктора:
Коэффициент передачи двигателя по скорости:
= 4,256.
Коэффициент передачи двигателя по моменту:
= 1431,118.
Коэффициент передачи ЦАП:
Коэффициент передачи вычислительного устройства:
Ошибка системы определится так:
где
= 0;
= 1/К;
= (Тд - 1/К)/К.
Рассмотрим ошибку системы при линейно изменяющемся задающем
воздействии:
,
где
- допустимая ошибка следящей системы;
- элементная ошибка (ошибка рассогласования).
Погрешность измерителя рассогласования следует принять равной цене
младшего разряда кода ошибки выраженного в угловых минутах:
Отсюда:
.
Таким образом, передаточная функция разомкнутой
нескорректированной системы определится следующим выражением:
.
В дальнейших расчетах пока не будем учитывать задержку в 0,03 с.
Если потом окажется, что ее влияние слишком велико, то с согласия руководителя
проекта определим возможный путь уменьшения этого влияния.
10. Динамический расчёт
системы
Синтез системы будем проводить методом логарифмических
амплитудно-частотных характеристик [5], т.к. построение ЛАЧХ, как правило,
может делаться почти без вычислительной работы. Особенно удобно использовать
асимптотические ЛАЧХ. Построение будем проводить с помощью программы SISO
Design Tool пакета MATLAB 6.5.
Процесс синтеза методом ЛАЧХ включает в себя следующие этапы:
построение располагаемой ЛАЧХ;
построение желаемой ЛАЧХ;
определение вида и параметров корректирующего устройства;
техническая реализация корректирующего устройства;
поверочный расчёт и построение переходного процесса.
.1 Построение располагаемой ЛАЧХ
Под располагаемой ЛАЧХ (рис. 8) понимается характеристика
исходной системы управления, не снабженная необходимыми корректирующими
средствами. ПФ нескоррективанной системы имеет следующий:
.
Рис. 8. Располагаемая ЛАЧХ и ЛФЧХ
двигатель силовой редуктор транзистор
Следящая система не удовлетворяет заданному качеству переходного
процесса (рис.9). Необходимо построить корректирующее устройство, чтобы
обеспечить требуемые точностные характеристики системы: заданные
перерегулирование s ≤ 30% и
длительность переходного процесса
≤ 0,2 с.
Рис. 9. Переходная характеристика нескорректированной системы
10.2
Построение желаемой ЛАЧХ
Построение желаемой ЛАЧХ делается на основе тех требований,
которые предъявляются к проектируемой системе управления, а именно:
время переходного процесса
.
Для заданного перерегулирования s = 30% по номограммам Солодовникова (рис. 10а) находим зависимость
между длительностью переходного процесса
= 0,2 с и частотой
(интервал положительности):
рад/с.
Теперь найдём частоту среза
желаемой ЛАЧХ так, чтобы она удовлетворяла условию:
= (0,6 ¸ 0,9) ×
.
рад/с.
а)
б)
Рис. 10. Номограммы Солодовникова
При синтезе системы необходимо обеспечить не только её
устойчивость, но и определённый запас устойчивости. Для заданного значения
перерегулирования s = 30% выбираем
требуемое значение запаса по модулю ∆L = 13 дБ и запаса по фазе ∆φ
= 35 град (рис. 10б).
Построение желаемой асимптотической ЛАЧХ производится в следующем
порядке (рис. 11). Первая низкочастотная асимптота
проводится так, чтобы она имела наклон -20 дБ/дек, соответствующий астатизму
первого порядка. Среднечастотный участок желаемой ЛАЧХ образуется асимптотой с
наклоном -20 дБ/дек, проводимой так, чтобы она пересекала ось частот при
. Этот участок проводится влево и вправо
до достижения модуля, равного ∆L. Затем производится сопряжение
среднечастотного участка с низкочастотными асимптотами и высокочастотной
частью.
Рис. 11.
Желаемая ЛАЧХ и ЛФЧХ
.3. Определение вида и параметров корректирующего устройства
Спроектируем корректирующее устройство последовательного
типа.
- ПФ желаемой системы;
.
- ПФ нескорректированной системы;
.
- ПФ корректирующего устройства последовательного типа.
Можно записать равенство:
Построим ЛЧХ корректирующего устройства с помощью пакета MATLAB
6.5 (рис. 12).
Рис. 12.
ЛАЧХ и ЛФЧХ корректирующего устройства
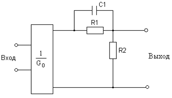
.4 Техническая реализация корректирующего устройства
Схема и параметры корректирующего звена подбирается по виду
ЛАЧХ.
Рис. 14. Пассивное дифференцирующее звено
Передаточная функция данного звена имеет вид:
.
Сопрягающие частоты
,
определяются по графику. При этом
постоянные времени будут равны следующим значениям:
;
.
Далее необходимо определить номиналы элементов корректирующего
звена, исходя из следующих выражений:
;
;
Решаем систему из этих уравнений, принимая
, и получаем следующие результаты:
;
.
Передаточная функция корректирующего устройства имеет следующий
вид:
.
Корректирующее устройство должно иметь единичный коэффициент
передачи, поэтому для выполнения этого условия необходимо на входе КУ поставить
усилитель с коэффициентом передачи, равным:
.
Окончательная структурная схема корректирующего устройства
представлена на рис. 15.
Рис. 15. Структурная схема КУ
.5 Поверочный расчёт и построение переходного процесса
Построим переходную характеристику полученной замкнутой
системы управления вместе с корректирующим устройством и проверим удовлетворяет
ли данная система заданному качеству переходного процесса.
Переходная характеристика замкнутой скорректированной системы
представлена на рис. 16.
Рис. 16. Переходная характеристика скорректированной системы
Из графика можно увидеть, что выполняются следующие условия:
s = 5,2% <
= 30%;
= 0,11 c <
= 0,2 c.
Таким образом, для скорректированной системы выполняются требуемые
условия относительно качества переходного процесса.
Проверим, как влияет задержка в 0,03с на качество переходного
процесса. Построим переходную характеристику полученной замкнутой системы
управления вместе с корректирующим устройством.
Переходная характеристика замкнутой скорректированной системы
представлена на рис. 17.
Рис. 17. Переходная характеристика скорректированной системы
Из графика видно, что данная переходная характеристика не
удовлетворяет заданным требованиям, т.к система имеет большую колебательность и
не удовлетворяет заданным требованиям относительно перерегулирования и времени
регулирования. Чтобы решить данную проблему можно увеличить частоту
формирования кадров изображения. Возьмем 500 Гц, то Т = 1/500 = 0,002 с.
Следовательно задержка 0,002*(-1,5)=0,003. Построим переходную характеристику
(рис. 18):
Рис. 18. Переходная характеристика системы
Из графика можно увидеть, что полученные значения меньше требуемых
(
= 30%;
= 0,2 c).
Таким образом, для скорректированной системы выполняются требуемые
условия относительно качества переходного процесса.
11. Электрический расчет принципиальной схемы
Параметры схемы на рис.6 соответствуют току нагрузки 10А при минимальном
коэффициенте усиления по току транзисторов V13 b=100.
Перейдём непосредственно к электрическому расчёту УМ.
.
Обычно
выбирают, чтобы
лежала в пределах 1…5 кГц.
Положим
= 4 кГц.
Подберём
переменный резистор
таким образом, чтобы выполнялось это условие. В
результате расчётов получаем
=7882
Ом.
Расчёт
мостовой схемы УМ сводится к выбору величины напряжения источника питания
этой схемы, к выбору силовых транзисторов и диодов.
.1 Выбор силовых транзисторов
Транзисторы работают в ключевом режиме, при подаче питающего напряжения
транзисторы находятся либо в закрытом состоянии, либо в насыщенном. Воспользуемся
следующей рекомендацией [2].
Должны выполняться следующие ограничения:
-
;
;
.
Так
как отношение
,
то
выберем значение
.
Рассеивание
мощности в основном имеет место в периоде включения и запирания транзистора.
Для получения простого расчётного значения рассеиваемой мощности
предполагается, что в периоды включения и запирания транзистора ток и
напряжение на нём меняются по линейному закону.
=
+
;
;
, где
кГц.
.
Для
рассмотренной схемы:
» 0.5 мкс,
» 2.5 мкс.
.
Требуемый
ток базы силового транзистора:
, где
b - коэффициент
усиления транзистора по току;
выбирается
из диапазона (1,5 … 2). Положим
.
Выбираем
транзисторы КТ850А (n-p-n) и КТ851А (p-n-p) со следующими параметрами:
= 200 В;
= 2 А;
= 25 Вт;
b = 40 ¸ 200 = 100;
£ 1 В;
£ 0,5 А.
Проверим
требование по ограничению тока базы:
.
Требование
по ограничению тока базы выполняется.
11.2 Схема ограничения тока якоря двигателя
При разработке схемы управления двигателем постоянного тока следует
предусмотреть возможность ограничения тока якоря двигателя.
Стабилизация момента двигателя в данной системе осуществляется с помощью
обратной связи по току (см. рис. 18), обеспечивающей резкое снижение скорости
двигателя при приблизительно постоянном моменте. Связь используется с отсечкой,
задерживающей действие связи при низких нагрузках. Это обусловлено
необходимостью защиты двигателя или механизмов от недопустимых перегрузок в
статическом и динамическом режимах. Стабилизация момента в установившихся
режимах необходима в приводе механизмов, работающих с резко переменной
нагрузкой или на упор.
Рис. 18.
Схема ограничения тока якоря
Сопротивление
шунта
выбирается много меньше сопротивления якорной обмотки
, чтобы не оказывать существенного влияния на динамику
системы. Выберем
.
Необходимо
обеспечить выполнение условия:
£
.
Напряжение
шунта определяется по формуле:
;
;
Таким
образом, ток отсечки определяется напряжением стабилизации стабилитронов.
Пока
, сопротивление стабилитронов близко к бесконечности,
коэффициент деления равен нулю, отрицательная обратная связь отсутствует. Как
только
, всякое превышение
включает
отрицательную обратную связь, т.е. передаётся на сопротивление R.
.3 Выбор диодов
Силовые диоды выбираются из условий:
Uобр
доп ³Uобр диода = U0 = 122,22 В;
Iпр
доп ³ Iпр диода = IКЭ
max = 1,68 А.
Выбираем диоды Д243Б со следующими параметрами:
Uобр
доп = 200 В;
-
.
Заключение
В данном курсовом проекте была разработана часть следящей системы -
цифроаналоговая следящая система для автоматического управления телекамерой.
Были выбраны основные элементы системы: исполнительный механизм,
цифроаналоговый преобразователь, устройство управления двигателем,
корректирующее устройство. При синтезе системы с заданными показателями
качества переходного процесса использовался пакет Matlab 6.5.
В результате была разработана следящая система рассчитанная на условия
работы, предусмотренные заданием, обладающая предъявленным к ней требованиям
точности и качества работы.
Библиографический список
1. Степашкин А.И., Алпатов Б.А. Проектирование и надежность
систем автоматики и телемеханики: Учебное пособие. Рязань, 1984.
2. Руководство по проектированию систем автоматического
управления. Под ред. В.А.Бесекерского. М.: Высш. школа, 1983.
. Основы проектирования следящих систем /Под ред.
Н.А.Лакоты. М.: Машиностроение, 1978.
. Смирнова В.И., Разинцев В.И. Проектирование и расчет
автоматизированных приводов. М.: Машиностроение, 1990.
. Кочергин В.В, Следящие системы с двигателем
постоянного тока. Л.: Энергоатомиздат. Ленингр. отд-ние, 1988.
. Ахметжанов А.А., Кочемасов А.В, Следящие системы и
регуляторы. М.: Энергоатомиздат, 1986.
. Бесекерский В.А., Попов Е.П. Теория систем
автоматического регулирования. М.: Наука, 1966.
. Кузнецов В.П. Промышленные роботы. Проектирование
электромеханических приводов: Учебное пособие. Рязань, 1991.
. Справочник по средствам автоматики. Под ред. В.Э.
Низэ и И.В. Антика. М.: Энергоатомиздат, 1983.