Полимербензин

  • Вид работы:
    Реферат
  • Предмет:
    Химия
  • Язык:
    Русский
    ,
    Формат файла:
    MS Word
    321,8 Кб
  • Опубликовано:
    2012-10-27
Вы можете узнать стоимость помощи в написании студенческой работы.
Помощь в написании работы, которую точно примут!

Полимербензин

Содержание

1. Общая характеристика объекта

1.1 Назначение установки

.2  Место в составе НПЗ

2. Основы технологии

2.1 Краткое описание технологической схемы

.2  Особенности технологического режима

.3  Основное оборудование

.4  Особенности автоматизации

.5  Особенности электроснабжения

3. Особенности проектирования объекта

Список использованной литературы

1. Общая характеристика объекта

Полимеризация является нераспространенной реакцией ненасыщенных углеводородов. С повышением степени непредельности склонность углеводородов к полимеризации возрастает. Так, ацетилен полимеризуется легче этилена, а бутадиен - легче бутенов. При полимеризации олефинов могут образовываться низкомолекулярные олигомеры (димеры, тримеры, тетрамеры) или высокомолекулярные полимеры.

С3H6 → C12H242H4 → (-CH2-CH2 -)n

На реакции первого типа наряду с полимеризацией пропилена и бутенов основан промышленный метод производства ряда олефинов, а также полимербензина - высокооктанового компонента бензинов и сырья для нефтехимического синтеза, в том числе присадок к маслам, поверхностно-активных веществ, лаков.

В настоящее время полимеризация пропилена и бутенов для получения высокооктановых компонентов потеряла свое значениев связи с широким применением каталитического риформинга. Однако полимеризация этих и других для получения нефтехимической продукции имеет исключительно большое значение. Каталитическая полимеризация для получения полимербензинов обычно осуществляется в реакторах в присутствии катализатора при 160 - 220ºС и 3 - 8 МПа. По сравнению с термической полимеризацией выход целевых продуктов больше - процесс происходит более селективно, крекинг полимеров практически отсутствует. При каталитической полимеризации наиболее легко вступает в реакцию изобутилен, затем н-бутилены, пропилены и труднее всего - этилен.

1.1 Назначение установки

Полимеризация олефинов - процесс получения низкомолекулярных полимеров пропилена и бутилена. Цель процесса - производство моторного топлива (полимербензина) и сырья для нефтехимии.

Основой процесса служит реакция соединения молекул низкомолекулярных веществ - мономеров в продукты с большей молекулярной массой - полимеры, не сопровождающаяся образованием побочных продуктов. Ограниченная реакция полимеризации с получением низкомолекулярных соединений называется олигомеризацией.

.2 Связь с технологической схемой завода

Сырьем установок полимеризации являются пропан-пропиленовая фракция (ППФ) - используется как сырье пиролиза, бытовой сжиженный газ, хладагент и бутан-бутиленовая фракция (ББФ) - применяется как бытовой сжиженный газ, сырье производства синтетического каучука; в зимнее время добавляется к товарным автомобильным бензинам для обеспечения требуемого давления паров, получаемые на газофракционирующей установке (ГФУ) непредельных газов.

2. Основы технологии

Полимеризацию ППФ проводят в двух вариантах: 1) получение в качестве целевого продукта полимербензина; 2) производство тримеров и тетрамеров пропилена - сырья для нефтехимии. При работе в режиме выработки полимербензина получают:

) полимербензин - компонент автомобильных бензинов; обладает низкой химической стабильностью; характеристика: ; бромное число 110 - 140; октановое число 82 -84 (моторный метод), 94 - 97 (исследовательский метод); давление паров при 38ºС ≤ 350 мм. рт. ст.;

) фракцию выше 205ºС - компонент дизельного топлива;

) отработанную пропан-пропиленовую фракцию

Если задачей установки является выработка сырья для нефтехимии, то полимеризат делится на фракции: н. к. - 125ºС (димеры), 125 - 175 ºС (тримеры), 175 - 260 ºС (тетрамеры), выше 260ºС.

Полимеризацией бутан-бутиленовой фракции получают изооктилен, который затем методом гидрирования превращается в технический изооктилен (2,2,4 - триметилбутан).

.1 Описание технологической схемы

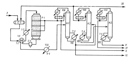
Рисунок 1 - Схема установки полимеризации пропан- пропиленовой фракции

I - свежая пропан-пропиленовая фракция; II - отработанная пропан-пропиленовая фракция; III - смесь димеров и тримеров пропилена (фракция н.к.-175ОС); IV - тетрамеры пропилена (фракция 175 - 260ОС);V - тяжелые полимеры; VI-полимербензин; VII - пар; VIII - вода.

Сырье из емкости высокого давления Е-1 через теплообменник Т-1 и подогреватель Т-2 подается в реактор Р-1, который состоит из нескольких вертикально расположенных секции, заполненных катализатором. Существуют также реакторы типа «труба в трубе», в которых трубки заполнены катализатором, а в межтрубное пространство подается хладагент. Продукты реакции, пройдя через теплообменник Т-1 и холодильник Х-1, направляются в депропанизатор К-2. Верхним продуктом депропанизатора является отработанная пропан-пропиленовая фракция, часть которой используется как хладагент в реакторе Р-1, а балансовый избыток выводится с установки. Нижний продукт колонны К-1 представляет собой полимеризат, который в случае, если установка работает в режиме получения компонента автомобильного бензина, выводится с установки. При выработке нефтехимического сырья полимеризат разделяется на узкие фракции в колоннах К-2 и К-3. С верха колонны К-2 отбирается смесь димеров и тримеров, значительная часть которой через емкость Е-1 возвращается в реактор Р-1, с верха колонны К-3 - тетрамеры пропилена, с низа колонны К-3 - тяжелые полимеры.

риформинг каталитический пропан пропиленовый

2.2 Особенности технологического режима

В процессе полимеризации чаще всего используют так называемую твердую фосфорную кислоту, содержащую 57 - 64 % свободной P2O5и 36 - 43 % SiO2(кизельгура). Основная реакция идет через образование алкилфосфорных эфиров, которые распадаются, а освобождающиеся олефины полимеризуются.

В качестве катализаторов помимо фосфорной кислоты для полимеризации олефиновых углеводородов применяют применяют сернистую кислоту, хлористый алюминий, фтористый бор, пирофосфат меди, металлорганические соединения и др. Наряду с этим продолжаются совершенствование фосфорнокислотного катализатора, а также разработка новых катализаторов, в том числе и цеолитсодержащих. Так, механическую прочность и активность ортофосфорной кислоты на кизельгуре повышают добавлением 5% цеолита. Последний вначале смешивают с кизельгуром, а затем к смеси добавляют ортофосфорную кислоту и далее приготавливают катализатор обычным образом. Эффективность такого катализатора следующая: в продукте, полученном на обычном катализаторе, содержится 85,2% моноолефиновых углеводородов, в том числе 36,5% тетрамера С12H24, а на катализаторе, содержащем 5% цеолита NaX - соответственно 96,9 и 83,4%.

Основные технологические параметры

На процесс полимеризации олефинов С3 - С4 с применением фосфорной кислоты влияют концентрация кислоты, давление, температура, и объемная скорость подачи сырья.

Концентрация кислоты. Наилучшие результаты (по скорости реакции) достигается при концентрации смеси кислот в пересчете наH3PO4, равной 106 - 107%. Кислота любой концентрации характеризуется определенным равновесным давлением водяного пара. Поэтому к сырью, поступающему в реактор, необходимо добавить воду в таком количестве, чтобы парциальное давление водяных паров в реакторе было равно давлению водяного пара над кислотой требуемой концентрации.

Давление. Установлено, что скорость подачи сырья, необходимого для получения данной глубины превращения, прямо пропорциональна давлению в реакторе. Эта зависимость подтверждена при полимеризации пропилена под давлением от 1,75 до 12,6 МПа. Во всем этом интервале проведение процесса возможно. При более высоких давлениях образуется жидкая фаза, которая, вытесняя тяжелые полимеры с поверхности катализатора, препятствует его дезактивации и способствует образованию более низкокипящих полимеров. При очень низких давлениях на его поверхности скапливаются полимеры, и катализатор быстро дезактивируется.

Температура. В большинстве случаев температура каталитического процесса составляет 160 - 220ºС. При температурах выше 220ºС протекают реакции с переносом водорода (сопряженная полимеризация), в которых наряду с алкенами образуются алкадиены. Полимеризация последних способствует дезактивации катализатора.

Объемная скорость подачи сырья. С увеличением ее снижается скорость расхода мономеров в реакции и наоборот.

Промышленная установка полимеризации олефинов С3

Показатели работы установок полимеризации могут быть различные в зависимости от вида сырья, катализатора и режима работы.

Технологический режим:

Температуры в реакторе, ºС 180 - 230

Давление в реакторе, кгс/см2 75 - 85

Скорость подачи сырья, ч-1 1 - 4

Расход катализатора, % (масс.) 0,09 - 0,20

Мощность и материальный баланс. В СССР и за рубежом эксплуатируются установки мощностью от 50 - 100 до 350 тыс. т/год. Поскольку алкилирование позволяет получать высокооктановые компоненты автомобильного бензина из олефинов в одну ступень, а при использовании полимеризации для производства тех же продуктов необходимо последующее гидрирование, новые установки полимеризации для выработки бензина не строятся.

Материальный баланс установок полимеризации, работающих в режиме получения полимербензина приводится ниже:

Поступило

Пропан-пропиленовая фракция100,0

Получено

Полимербензин (фракция н. к. - 205 ºС)31,5

Димеры (фракция н. к. - 125ºС) -

Тримеры (фракция н. к. 125 - 175ºС) -

Тетрамеры (фракция н. к.175 - 260ºС) -

Остаток выше 205 ºС3,6

Остаток выше 260ºС -

Отработанная пропан-пропиленовая фракция 64,0

Расходные показатели (на 1 т сырья):

Пар, ГДж (Гкал) 0,62 - 0,75 (0,15 - 0,18)

Электроэнергия, кВтч 10 - 18

Вода оборотная, м3 18 - 22

Катализатор, кг 0,6

.3 Основное оборудование

Емкости и резервуары

Емкости и резервуары изготавливают для безопасной эксплуатации с расчетом на избыточное давление до 0,05 МПа и на давление 2,0 кПа и вакуум до 0,25 Кпа.

Для сокращения потерь при хранении легких нефтей и бензиновых фракций применяют резервуары с «плавающей» крышей. При такой крыше купол резервуара поднимается и опускается, что практически отделяет резервуар от внешней среды и способствует большему сокращению потерь легких нефтепродуктов.

Теплообменные аппараты

На установках нефтеперерабатывающих заводов расходуется большое количество топливаи энергии на нагрев и охлаждение нефти и продуктов. Для снижения их расхода широко используют регенерацию тепла. Аппараты, в которых осуществляется регенерация тепла, называются теплообменными. В зависимости от назначения теплообменные аппараты делятся на теплообменники, подогреватели с паровым пространством (кипятильники) и конденсаторы-холодильники.

Принцип работы этих аппаратов заключается в том, что благодаря контакту двух продуктов через стенки аппарата или труб тепло от одного продукта переходит к другому. Например, мазут с установки, пройдя теплообменный аппарат и передав часть тепла нефти, охлаждается, а нефть нагревается. Благодаря этому расход топлива, необходимого для нагрева нефти до требуемой температуры, уменьшается. Уменьшается и расход воды, необходимой для охлаждения мазута до заданной температуры.

Теплообменники

Кожухотрубчатые теплообменники состоят из пучка труб, закрепленных в трубных решетках, которые заключены в общий кожух, Один из теплоносителей циркулирует по трубам, а другой - по межтрубному пространству.

Конденсаторы-холодильники

Конденсаторы воздушного охлаждения позволяют охлаждать нефтепродукты в летнее время примерно до 35ºС. Это достигается соприкосновением мощного потока воздуха с поверхностью оребренных или гладких труб из цветного металла, внутри которых проходят пары охлаждаемого продукта или жидкий продукт.

Конденсаторы воздушного охлаждения имеют ряд преимуществ: меньший расход металла, электроэнергии. Их особенно целесообразно применять в районах где имеются трудности с водой. Кроме того, уменьшение расхода воды облегчает очистку сточных вод и снижает капитальные вложения.

Обслуживание насосов

Пускать в работу и эксплуатировать центробежные насосы при отсутствии ограждения на муфте соединения их с двигателем не разрешается.

При обслуживании насосов необходимо постоянно следить:

·   за наличием масла в картерах подшипников, за поступлением масла в золотниковые коробки поршневых насосов;

·   за поступлением воды на охлаждение сальников и подшипников;

·   за исправностью манометров на насосах и давлением;

·   за состоянием сальниковых и торцевых уплотнений (отсутствие пропусков и оптимальная затяжка сальников);

·   за состоянием ограждений муфт сцеплений;

·   за нормальной работой всего агрегата;

·   за температурой поступающего продукта на насос;

·   за состоянием амперметра, стрелка которого не должна превышать красной черты.

При остановке насоса поступление воды на охлаждение сальников необходимо прекратить во избежание попадания ее через неплотности сальника к картеру насоса.

При кратковременном текущем ремонте, не требующем вскрытия насоса (набивка сальника) и при нормальных задвижках отключать насос на трубопроводе заглушками необязательно. В таких случаях на закрытых задвижках должны быть вывешены плакаты “Не открывать - работают люди”.

При ремонте центробежного насоса с приводом от электродвигателя последний должен быть обесточен, а на пусковом устройстве электродвигателя вывешен плакат “Не включать - работают люди ”. Снимать плакат можно только с разрешения начальника или механика установки. Пускать в работу агрегат с вывешенным плакатом не разрешается.

Правила набивки сальников насосов

При производстве работ по набивке сальников насосов необходимо выполнить следующее:

·   насос отключается из работы;

·   перекрываются задвижки на приеме и выкиде;

·   продукт из корпуса насоса дренируется через дренаж. При этом необходимо убедиться, что приемная и выкидная задвижки не пропускают, отсутствует продукт через дренаж, давление по манометру при закрытом дренаже на насосе. В случае пропуска задвижек, набивку сальников не производить;

·   электродвигатель обесточить, на пусковую кнопку вывесить плакат “Не включать - работают люди ”.

·   перекрыть вентили на линиях подачи уплотнительной жидкости на сальники;

·   при набивке сальников насосов с пароприводом, перекрыть острый и мятый пар, давление пара из паровой части сбросить через дренаж;

·   корпус насоса должен быть охлажден до температуры не выше 60 оС;

·   дренажный вентиль на насосе должен быть открыт, на задвижках вывесить плакат “Не включать - работают люди ”;

·   набивку сальников насосов производить по письменному распоряжению ведущего инженера-технолога производства, при его отсутствии лица его заменяющего, с изложением в нем мероприятий, обеспечивающих безопасность выполнения этих работ и назначением лица, ответственного за их проведение.

В случае необходимости экстренного проведения подобных работ в выходные дни, вечерние, ночные смены при отсутствии ведущего инженера-технолога или лица его заменяющего, они могут выполняться при постоянном присутствии старшего по смене.

При проведении таких работ должно быть устное разрешение ведущего инженера-технолога (начальника установки), диспетчера завода.

При выполнении в этом случае работы в вахтовом журнале записывается должность и фамилия лица, разрешившего ее проведение.

Трубчатый реактор

В трубчатом реакторе, более совершенном, чем многосекционный реактор, внутри труб находится катализатор, а в межтрубном пространстве циркулирует паровой конденсат для снятия избыточного тепла, образующегося при полимеризации. В реакторе этого типа разность температур между выходом из реактора и входом в него составляет 8 - 10ºС. Относительные скорости полимеризации С3H6, C4H8-1 и изобутенов равны соответственно 1, 2 и 10. Такое различие позволяет селективно полимеризовать изобутилен в присутствии двух других бутенов при более низких температурах (на 30ºС ниже обычного)

Ректификационные колонны

Ректификационные колонны - аппараты для разделения путем ректификации жидких смесей взаимно растворимых компонентов. Они обеспечивают противоточное контактирование восходящего потока паров с нисходящим потоком жидкости

.4 Особенности автоматизации процесса

При выборе приборов, обеспечивающих контроль и регулирование параметров процесса, руководствуются следующими принципами:

приборы должны обеспечивать необходимую точность измерений, быть быстродействующими и надежными при измерении и регулировании;

показывающие приборы должны располагаться так, чтобы за ними было удобно наблюдать, они должны иметь наглядную шкалу и указатель;

приборы должны быть доступными и экономичными в работе;

приборы должны удовлетворять требованиям и правилам пожаровзрывобезопасности;

приборы должны быть современными и обеспечивать непрерывное преобразование значений измеряемых параметров.

Автоматизированная система управления технологическими процессами (АСУТП) на базе средств вычислительной техники должна соответствовать требованиям технического задания и обеспечивать:

постоянный контроль за параметрами процесса и управление режимом для поддержания их регламентированных значений;

регистрацию срабатывания и контроль за работоспособным состоянием средств ПАЗ;

постоянный контроль за состоянием воздушной среды в пределах объекта;

постоянный анализ изменения параметров в сторону критических значений и прогнозирование возможной аварии;

действие средств управления и ПАЗ, прекращающих развитие опасной ситуации;

действие средств локализации аварийной ситуации, выбор и реализацию оптимальных управляющих воздействий;

проведение операций безаварийного пуска, остановки и всех необходимых для этого переключений;

выдачу информации о состоянии безопасности на объекте в вышестоящую систему управления.

В помещениях управления должна предусматриваться световая и звуковая сигнализация, срабатывающая при достижении предупредительных значений параметров процесса, определяющих его взрывоопасность.

2.5 Электроснабжение

Основным электрооборудованием установки адсорбционной очистки масел являются электродвигатели различных насосов, вентиляторов, компрессоров, электрифицированных задвижек.

Основные приемники электроэнергии питаются от сети 0,4 кВ, работают в продолжительном режиме и являются потребителями электроэнергии первой категории надежности электроснабжения.

1.Устройство, монтаж, обслуживание и ремонт электроустановок должны соответствовать требованиям нормативных документов по устройству электроустановок, строительных норм и правил, государственных стандартов и настоящих Правил.

.Электроснабжение объектов, имеющих в своем составе технологические блоки I категории взрывоопасности, осуществляется не ниже чем по I категории надежности. При этом должна быть обеспечена возможность безаварийного перевода технологического процесса в безопасное состояние во всех режимах функционирования производства, в том числе и при одновременном прекращении подачи электроэнергии от двух независимых взаиморезервирующих источников питания.

.Электроприемники технологических систем, имеющих в своем составе блоки II и III категорий взрывоопасности, в зависимости от конкретных условий эксплуатации и особенностей технологического процесса по обеспечению надежности электроснабжения должны относиться к электроприемникам I или II категории.

.Линии электроснабжения от внешних источников, независимо от класса напряжения, питающие потребителей особой группы I категории надежности электроснабжения, не должны оборудоваться устройствами автоматической частотной разгрузки (АЧР).

.Прокладку кабелей по территории предприятий и установок рекомендуется выполнять открыто: по эстакадам, в галереях и на кабельных конструкциях технологических эстакад.

Похожие работы на - Полимербензин

 

Не нашли материал для своей работы?
Поможем написать уникальную работу
Без плагиата!
Без нейросетей!