Лабораторная установка для лаборатории гидравлики и теплотехники
ОГЛАВЛЕНИЕ
ВВЕДЕНИЕ
. ВИХРЕВОЙ
ЭФФЕКТ. ОБЗОР ЭКСПЕРИМЕНТАЛЬНЫХ ДАННЫХ
.1 Сущность
вихревого эффекта и конструкции вихревых труб
1.2
Экспериментальное исследование вихревого эффекта
.3
Исследование структуры потока в вихревой трубе
. ОСНОВЫ
ТЕОРИИ ВИХРЕВОГО ЭФФЕКТА
.1 Основные
уравнения
.2 Гипотеза
турбулентного энергообмена
.3 Предельная
оценка вихревого эффекта
. ОПИСАНИЕ
ЛАБОРАТОРНЫХ УСТАНОВОК
.1 Описание
действующего лабораторного стенда
.2 Описание
модернизированного лабораторного стенда
.3 Методика
измерений
. МЕТОДИКА
ПРОВЕДЕНИЯ ЛАБОРАТОРНОЙ РАБОТЫ «ВИХРЕВОЙ ТЕРМОТРАНСФОРМАТОР»
.1
Последовательность проведения лабораторной работы
. РЕЗУЛЬТАТЫ
ПРОВЕДЕНИЯ ЭКСПЕРИМЕНТОВ
ЗАКЛЮЧЕНИЕ
СПИСОК
ЛИТЕРАТУРЫ
ВВЕДЕНИЕ
Закрученные потоки в связи с их практическими приложениями представляют
собой важный раздел современной гидрогазодинамики.
Одно из технических приложений закрученных потоков основано на вихревом
эффекте энергетического разделения газов, открытом в 1931 году Жозефом Ранком.
Позже Р. Хилшем было разработано устройство, в котором реализуется такой
эффект. Такие устройства принято называть трубкой Ранка - Хилша.
В СССР вихревой эффект изучался в Одесском технологическом институте
пищевой и холодильной промышленности, а также в Куйбышевском авиационном
институте, где в 1956 г. была создана лаборатория промышленного применения
вихревого эффекта.
Поскольку с помощью трубки Ранка - Хилша осуществляется преобразование
энергии вращающегося потока в тепло с одновременным охлаждением части потока,
её называют «Вихревой термотрансформатор», или «Вихревой распределитель».
Эффект теплового разделения потока оказывается полезным во многих областях
техники в качестве холодильно-нагревательных установках.
В связи со сложностью математической модели (трехмерное течение вязкого
теплопроводного газа на турбулентном режиме) существуют затруднения в
разработке теории этого эффекта. Основные данные о работе этого устройства
получены экспериментально.
Построению основ теории вихревого эффекта посвящена работа А.П. Меркулова
[1].
В работе Тарунина Е.Л. и Аликина О.Н. [3] приводятся результаты
численного решения задачи об осесимметричном ламинарном течении вязкого
теплопроводного газа в вихревом термотрансформаторе.
Появление в арсенале исследователя прикладных программных систем
инженерного анализа в области гидрогазодинамических процессов, а также
современный уровень развития вычислительной техники, позволяет ставить задачу о
численном исследовании процессов протекающих в вихревом термотрансформаторе.
Целью данной работы является модернизация учебной лабораторной установки
для лаборатории гидравлики и теплотехники кафедры 34, МГИУ и разработка
соответствующих методических материалов.
В различных курсах теплотехнического цикла на кафедре 34 проводится
лабораторная работа «Вихревой термотрансформатор » для ознакомления студентов с
одним из эффектов реального газа.
В данной работе поставлена задача модернизации лабораторной работы для
наполнения ее более информативным методическим содержанием и обеспечения
измерения параметров газа в более полном объеме с помощью современного
регистрирующего оборудования и последующей их обработки с использованием
современной вычислительной техники.
Поскольку на предварительной стадии проведения экспериментов, в рамках
бакалаврской работы, было выявлено, что часть регистрирующего оборудования
позволяет нам работать только в низком диапазоне входных давлений, нами было
принято решение о покупке нового датчика расхода, и параллельном соединении уже
имевшихся, что позволило нам работать в более высоких диапазонах входных
давлений, и экономии денежных средств университета.
1. ВИХРЕВОЙ ЭФФЕКТ. ОБЗОР ЭКСПЕРИМЕНТАЛЬНЫХ ДАННЫХ
.1 Сущность вихревого эффекта. Конструкции вихревых труб
Вихревой эффект, или эффект Ранка [1], проявляется в закрученном потоке
вязкой сжимаемой жидкости и реализуется в очень простом устройстве, называемом
вихревой трубой (трубой Ранка-Хилша, вихревым энергоразделителем, вихревым
холодильником), схематическая конструкция которой изображена на рис 1.
Рис. 1
Вихревая труба представляет собой гладкую цилиндрическую трубу 1,
снабженную тангенциальным соплом 2, улиткой 3, диафрагмой 4 и дросселем 5.
При втекании газа через сопло образуется интенсивный круговой поток,
приосевые слои которого заметно охлаждаются и отводятся через осевое отверстие
диафрагмы в виде холодного потока, а периферийные слои подогреваются и вытекают
через дроссель в виде горячего потока.
По мере прикрытия дросселя общий уровень давления в вихревой трубе
повышается, и расход холодного потока через отверстие диафрагмы увеличивается
при соответствующем уменьшении расхода горячего потока. При этом температуры
холодного и горячего потоков также изменяются.
В результате многочисленных экспериментальных исследований создано несколько
конструктивных вариантов вихревых труб.
Основным их различием является конструктивное выполнение тангенциального
соплового входа сжатого газа, и длины цилиндрической части (вихревой зоны)
трубы в калибрах.
В таблице 1 приведены конструктивные особенности исследованных вихревых
труб, показавших хорошие результаты.
Разработанные Р. Хилшем [2] вихревые трубы имеют один круглый утопленный
тангенциальный сопловой вход и входную улитку прямоугольного сечения, ввиду
чего на срезе сопла имеется площадка, создающая зону завихрения.
Таблица
1.1
|
№ трубы
|
Автор
|
Конструкция соплового входа
|
Диаметр вихревой трубы D,
мм
|
Площадь соплового входа Fc, мм2
|
Диаметр отверстия диаграммы
Dд, мм
|
Длинна вихревой зоны, в
калибрах
|
Примечание
|
|
1
|
Р. Хилш
|
|
4,6 9,6 17,6
|
0,95 4,15 13,2
|
2,2 4,3 6,5
|
50 50 50
|
Круглое сопло
|
|
2
|
В.С. Мартыновский и В. П.
Алексеев
|
|
4,1 9,0 16,0 28,0
|
0,8 8,3 24,0 56,5
|
1,5 4,5 7,5 12,0
|
67 50 50 50
|
Двухсопловый вход
|
3 А. П. Меркулов
10
,5
,2
,59
|
9Прямоугольное сопло
|
|
|
|
|
|
|
|
4
|
М.Г. Дубинский
|
|
32
|
|
25
|
|
|
|
5
|
В.П. Хендал
|
|
10
|
7
|
6
|
4
|
Коническое сопло
|
|
6
|
С.Д. Фультон
|
|
6,1
|
0,8
|
1,75
|
33
|
Четырех- и шести- сопловые
входы
|
Этот недостаток устранен в конструкции В. С. Мартыновского и В. П.
Алексеева [5], которые создали тангенциально-лотковый вход, имеющий два круглых
наполовину утопленных в теле трубы сопловых входа, переходящих в лоток.
Подобная Конструкция позволила устранить зону завихрения и улучшить
эффективность вихревой трубы, хотя и усложнила изготовление соплового входа.
Оптимальной длинной вихревой зоны трубы (расстояние от соплового входа до
дросселя горячего конца) авторы двух рассмотренных выше конструкций считают 50
калибров.
Конструкцией Меркулова А. П. [3]. Имеет сопловой вход прямоугольного
сечения и прямоугольную входную улитку, построенную по спирали Архимеда, что
обеспечивает устранение зоны завихрения на сопловом срезе при сохранении
простоты конструкции.
Второй особенностью этой конструкции является сокращение длины вихревой
зоны до 9 калибров, осуществляемое за счет ограничения вихревой зоны
спрямляющей четырех лопастной крестовиной, установленной перед дросселем
горячего потока.
Введение этих двух элементов позволило еще более повысить эффективность
вихревой трубы и сделать ее значительно компактнее.
Рис. 1.2
На
рис. 1. 2 представлен общий вид вихревой трубы. Еще большее сокращение длины
вихревой трубы осуществлено в запатентованной Р. Хендалом [6] конструкции,
основной особенностью которой является конусность вихревой зоны с возрастанием
диаметра горячего конца вихревой трубы при приближении к дросселю. Оптимальным
углом конусности является угол в
;
конусность позволяет сократить длину вихревой зоны до 4-х калибров,
отсчитываемых по меньшему диаметру.
.2
Экспериментальные исследование вихревого эффекта
Первое широкое исследование вихревого эффекта было проведено Р. Хилшем и
результаты его опубликованы в 1946 г [2].
Благодаря этой работе вихревой эффект стал известен широкому кругу
ученых, ничего до этого не знавшим о его первооткрывателе Ранке, поэтому
вихревую трубу часто называли трубой Хилша.
В своей работе Р. Хилш ввел величины и критерии, являющиеся и в настоящее
время основными для построения характеристик вихревой трубы.
Если
полные температуру и давление у поступающего в сопло сжатого газа обозначить
через
и
, у
холодного потока - через
и
, а у
горячего потока - через
и
, то
эффект охлаждения холодного потока можно выразить так:
, (1.1)
а
эффект подогрева горячего потока
. (1.2)
При
общем секундном весовом расходе сжатого воздуха
, расхода
холодного потока
и горячего потока
относительный
весовой расход
(или весовая доля) холодного потока составит
, (1.3)
а относительный весовой расход горячего потока определяется из уравнения
расхода
, (1.4)
откуда
после деления на
получаем
. (1.5)
Начиная
с Р. Хилша характеристики вихревой трубы строились в виде
.
На
рис. 1.3 представлен типичный вид характеристик теплоизолированной вихревой
трубы при заданных размерах, параметрах
и
на входе и давлении
в холодном
потоке.
Рис.
1.3
Как
видно из характеристик, с возрастанием от нуля весовой доли
холодного потока резко увеличивается эффект его
охлаждения и достигает максимума при
. При
дальнейшем увеличении
эффект охлаждения уменьшается и исчезает при
, т.е. тогда, когда дроссель горячего конца трубы
полностью закрыт и весь поток выходит через отверстие диафрагмы.
Подогрев
горячего потока, возрастает с ростом
,
достигает максимального значения при
, близком
к 1, а затем резко падает до нуля при приближении
к единице (этот спад на кривых не показан).
Если
известен эффект охлаждения
холодного
потока, то нетрудно подсчитать эффект подогрева
горячего
потока, так как при отсутствии теплообмена с окружающей средой энергия
выходящих из вихревой трубы потоков равна энергии входящего потока.
Обозначив
полные удельные энтальпии входящего, холодного и горячего потоков через
,
,
соответственно, уравнение энергии для 1 кг
проходящего через вихревую трубу газа можно записать так:
. (1.6)
Используя
известное выражение
и принимая
, получим
,
откуда
после несложных преобразований имеем
или
. (1.7)
Последнее
выражение показывает, что количество тепла, отобранное от холодного потока,
равно количеству тепла, полученному горячим потоком. Это количество тепла,
отнесенное к 1 кг протекающего через вихревую трубу газа, называют удельной
холодопроизводительностью вихревой трубы
. (1.8)
Как
видно из рис. 1.3, удельная холодопроизводительность, возрастая с ростом
, имеет максимум при
.
При
общем секундном расходе
полная холодопроизводительность составит
. (1.9)
Экспериментами
установлено, что на характеристики вихревой трубы влияют такие геометрические
величины, как диаметр
отверстия диафрагмы, длина
и геометрия вихревой зоны (или горячей части)
вихревой трубы, площадь
проходного сечения сопла, масштаб вихревой трубы, а
также термодинамические параметры как-то: температура
и давление
поступающего
сжатого газа, давление
холодного потока, физические свойства газа (отношение
его теплоемкости
), отвод тепла от стенок горячей части вихревой трубы
и некоторые другие.
Рассмотрим
влияние отдельных факторов.
Диаметр отверстия диафрагмы
С полным основанием можно ожидать, что на характеристики вихревой трубы
различных диаметров будут влиять не абсолютные значения диаметров отверстия
диафрагмы, а их отношение к диаметру вихревой трубы
. (1.10)
Рис.1.4
Из
рис. 1.4 видно, что для каждого значения
существует
вполне определенное значение
,
обеспечивающее максимальный эффект охлаждения.
Рабочим
диапазоном вихревой трубы является диапазон
,
для
которого уравнение оптимальных значений
может
быть выражено линейной зависимостью
. (1.11)
При
расчете вихревой трубы зависимость (1.11) может быть использована для расчета
диаметров отверстия диафрагмы по выбранному значению величины
.
Длина вихревой зоны трубы
В
работах Хилша за оптимальную длину
вихревой
зоны трубы принималась длина, соответствующая 50 калибрам ее.
Это
делало вихревую трубу очень громоздкой, поэтому многие исследователи пытались
уменьшить ее.
В
одной из работ Меркулова было найдено конструктивное решение, обеспечивающее
резкое сокращение вихревой зоны. За счет установки на горячем конце вихревой
зоны четырехлопастной крестовины удалось сократить длину этой зоны до 9
калибров и при этом несколько улучшить эффективность вихревой трубы, как по
эффекту охлаждения, так и по холодопроизводительности.
Рис.
1.5
На
рис. 1.5 приведены опытные кривые зависимости максимальных значений эффекта
охлаждения от относительной длины вихревой зоны для двух отличных друг от друга
давлений и проходных сечений соплового входа.
При
сокращении длины вихревой зоны до оптимальной наблюдается небольшой рост
максимального значения эффекта охлаждения, а при
последний
резко снижается.
В
этой же работе показано, что и максимальная холодопроизводительность изменяется
аналогично.
Следующим
шагом по пути сокращения вихревой зоны явилось запатентованное В. Хендалом
предложение делать вихревую зону в виде усеченного конуса с расширением в
сторону дросселя и с углом конусности около
.
Это
позволило сократить длину вихревой зоны до 4-х калибров при сохранении
максимального эффекта охлаждения вихревой трубы.
Максимальное
значение холодопроизводительности (характеризуемой величиной
) у конической вихревой трубы оказывается все же ниже,
чем у цилиндрической, особенно при работе на больших значениях
.
Вероятно,
дальнейшие исследования и усовершенствования конической вихревой трубы позволят
повысить ее эффективность.
Площадь проходного сечения сопла
Экспериментами
установлено, что для получения оптимальных характеристик имеется определенное
соотношение между диаметром вихревой трубы и площадью
проходного сечения соплового входа.
С
увеличением
растет общий расход газа через вихревую трубу, что
приводит к повышению гидравлического сопротивления отверстия диафрагмы
(холодному потоку), а следовательно, и к повышению уровня давлений в вихревой
зоне. Последнее снижает получаемый эффект охлаждения. Но увеличение общего
расхода (и расхода холодного потока) уменьшает эффект подмешивания к холодному
потоку теплового пограничного слоя, текущего по плоскости диафрагмы, что
приводит к увеличению эффективности вихревой трубы.
Эти
два противоположно влияющих фактора дают оптимальное значение величины
проходного сечения сопла, которое удобнее выразить относительной величиной
, являющейся отношением площади
проходного сечения сопла к площади поперечного
сечения вихревой трубы
. (1.12)
Согласно
указанным выше экспериментам оптимальное значение относительной площади
проходного сечения сопла лежит в пределах
. (1.13)
При
повышении давления
питающего сжатого газа оптимальные значения
приближаются к нижнему пределу.
Для
случая получения максимального эффекта охлаждения при малых
значение
увеличивается.
Для
большинства случаев расчета вихревой трубы принимается
. (1.14)
Сопловой
ввод конструктивно должен быть выполнен так, чтобы при сохранении
тангенциальности он обеспечивал плавный вход сжатого газа в вихревую зону и
осевую симметрию формирующегося вихря.
Отсутствие
зон завихрения и плавности входа струи обеспечивает конструкция №3 (см. табл.
1.1), имеющая прямоугольное сечение сопла и входную улитку.
Хорошую
осевую симметрию и плавность входа обеспечивают конструкции №2 и 6, но они
труднее в изготовлении и требуют усложненной системы подвода сжатого газа,
поэтому чаще используется конструкция №3 с прямоугольным сечением сопла, в
котором экспериментально установлено оптимальное соотношение
. (1.15)
Давление сжатого газа
При
условии сохранения постоянным давления
холодного
потока за отверстием диафрагмы величина давления
,
подаваемого к соплу сжатого газа, играет существенную роль в получаемом эффекте
охлаждения.
С
повышением давления входа растут эффект охлаждения и холодопроизводительность.
На
рис. 1.6 изображены кривые эффектов охлаждения
и
холодопроизводительности
для различных давлений
.
С
увеличением
эффекты охлаждения увеличиваются, а максимумы их
незначительно сдвигаются к меньшим значениям
.
Для
более общей оценки влияния давления на характеристики вихревой трубы,
представляющей собой отношение полного давления
сжатого
газа к давлению
в холодном потоке, выраженных в абсолютных величинах:
. (1.16)
Рис.
1.6
Хотя
каждое из входящих в это выражение давлений влияет на характеристики вихревой
трубы, основной определяющей величиной является степень расширения
газа.
С
ростом
заметно возрастает эффект охлаждения, особенно в
диапазоне
При
дальнейшем возрастании
темп роста эффекта охлаждения снижается.
При
неизменном
и снижении уровня давления
и
эффект
охлаждения незначительно уменьшается, что объясняется снижением общего расхода.
Для
обобщения оценки эффективности вихревой трубы вместо эффекта охлаждения
рассматривают введенную Р. Хилшем безразмерную
величину
, называемую температурной эффективностью,
представляющую собой отношение получаемого эффекта охлаждения
к эффекту охлаждения
при
изоэнтропном расширении от параметров входа
и
до давления холодного потока
. (1.17)
Величина
может быть определена по известному
термодинамическому выражению
. (1.18)
Использование
безразмерных величин
,
позволяют
провести широкое обобщение результатов экспериментов и создать методику
термодинамического расчета вихревой трубы.
Так,
например, в диапазоне
максимальное значение
,
соответствующее максимальным эффектам охлаждения
,
изменяются в очень узком диапазоне от
при
и до
при
.
При
неизменном
и уменьшении уровня давления
и
величина
снижается незначительно.
Температура сжатого газа
В
одной из работ Меркулова исследовалось влияние температуры входа
на получаемые в вихревой трубе эффект охлаждения в
диапазоне температуры от 30 до
, в
работе Гуляева - при температурах 22 и
, в
работе Боргета - при температурах 24 и
.
Результаты
экспериментов показали, что с ростом температуры
растет
эффект охлаждения холодного потока и эффект подогрева горячего потока, значение
же температурной эффективности
при этом
практически остается неизменным, так как при росте
пропорционально возрастает и значение величины
, определяемой выражением (1.18).
Физические свойства газа
Большая часть исследований вихревого эффекта проводилась с использованием
воздуха, но не меньший интерес представляет его изучение на других газах.
Это важно не только с точки зрения выяснения возможностей применения
вихревого эффекта в различных областях техники, особенно в химической
промышленности, но и для более глубокого понимания его физической сущности.
С этой целью в одной из работ Мартыновского проводилось сравнительное
исследование вихревой трубы на различных газах: воздухе, метане, углекислом
газе и аммиаке, имеющих заметно отличные физические свойства.
Результаты
экспериментов показали, что при одинаковых условиях работы охлаждения имеют
вполне определенную закономерность, а именно: подсчитанные по ним значения
температурной эффективности
(1.17)
близки друг к другу.
1.3 Исследование структуры потока в вихревой трубе
лабораторный гидравлика теплотехника учебный
Исследование потока в вихревой трубе представляет значительные трудности,
так как он является трехмерным, высокоскоростным и турбулентным, что требует
создания специальных измерительных зондов и координатников.
Ограниченный располагаемый расход сжатого воздуха не позволял многим
экспериментаторам использовать для исследования в диапазоне умеренных давлений
вихревые трубы большого диаметра, а трубы малого диаметра требовали создания
микрозондов.
При исследовании выяснилось, что даже при максимально возможном снижении
габаритов вводимой в поток измерительной аппаратуры последняя создает заметные
возмущения и перестройку потока, ухудшающие работу вихревой трубы.
Оказались неприемлемыми в этих исследованиях и такие не вызывающие
возмущения потока методы, как теневой метод Фуко - Теплера и интерференционный
метод.
Попытки визуализации дымом также оказались безрезультатными ввиду высокой
турбулентности потока.
Единственно возможный метод - метод зондирования - позволил выяснить
качественную картину потока с приближенной количественной оценкой.
При
определении эпюр скорости для вихревых труб диаметром около 30 мм применялись
трехканальные зонды замера полного и статического давления с поперечным сечением,
доходящим до
мм, и армированные термопары с диаметром поперечного
сечения 2 мм, вводимые радиально через стенки трубы.
Радиальный
ввод зондов снижал точность измерений не только из-за вызываемых ими
возмущений, но из-за того, что их направление совпадало с направлением
градиентов давления и температуры в вихревой зоне.
Поэтому
в некоторых исследованиях зонды - измерители температуры - делались
осесимметричными в осевом направлении через плоскость отверстия диафрагмы.
Результаты
таких исследований, приведённых в работе [3], показаны на рис. 1.7 в виде эпюр
окружной и осевой составляющих скорости, угловой скорости потока, а также
температуры и давления.
Кривые,
обозначенные цифрой 1, соответствуют сечению, удаленному от соплового входа на
1 калибр, кривые 2 - на 5 калибров, кривые 3 - на 10 калибров.
Кривые
распределения тангенциальной скорости
(рис.
1.7, а) для определенного сечения показывают, что скорость
возрастает почти по линейному закону с увеличением
радиуса
от 0 и достигает наибольшего значения на определенном
радиусе. При дальнейшем увеличении
тангенциальная
скорость заметно уменьшается.
Рис.
1.7
По
мере удаления от соплового сечения (кривые 2 и 3) общий уровень тангенциальной
скорости снижается и уменьшается неравномерность ее по радиусу.
Наиболее
интенсивное круговое движение потока наблюдается в сопловом сечении вихревой
зоны трубы.
Согласно
эпюрам осевой составляющей скорости (рис. 1.7, б) периферийные слои закрученного
потока движутся с небольшой скоростью от соплового сечения по направлению к
дросселю. При
осевое движение практически отсутствует, а на меньших
радиусах наблюдается интенсивное осевое движение потока от горячего конца к
сопловому сечению.
В
непосредственной близости к оси трубы скорость
несколько
снижается. Такое же распределение
наблюдается
при полностью закрытой диафрагме.
Кривые
распределения полной температуры
по
радиусу для различных сечений (рис. 1.7, в) говорят о том, что полная
температура во всех сечениях растет с ростом радиуса. Низший уровень
температуры имеет место у соплового сечения, а по мере удаления к дросселю он
возрастает.
Наибольшая
неравномерность
наблюдается у соплового сечения, где в осевой зоне
текут наиболее охлажденные элементы газа.
При
удалении от соплового сечения неравномерность полной температуры по радиусу
сглаживается.
С
уменьшением
в сопловом сечении резко снижается статическое
давление
в потоке (рис. 1.7, г).
По
мере удаления от соплового сечения градиент статического давления по радиусу
уменьшается, при этом на периферии (у стенок трубы)
снижается при перемещении к дросселю, а в осевой зоне
- к сопловому сечению.
Такое
распределение статического давления и создает рассмотренную выше картину осевых
скоростей потока.
Эпюры
угловых скоростей
(рис. 1.7, д), построенными по знаниям тангенциальных
скоростей
, показывают, что в области от оси до определенного
радиуса поток вращается с практически постоянной угловой скоростью
,(1.19)
т.е. по закону вращения твердого тела.
В
теории вихревого эффекта эту зону, вращающуюся с
,
называют вынужденным вихрем.
В
периферийной области угловая скорость резко снижается с возрастанием радиуса.
Закон изменения скорости в этой области, особенно в сечениях, близких к
сопловому, приближается к закону потенциального течения жидкости
(1.20)
В
теории вихревого эффекта это течение принято называть свободным вихрем.
В
некоторых исследованиях холодный конец трубы был полностью закрыт. При этом
картина полей замеренных скоростей, температур и давлений оказались идентичной,
соответствующей кривым рис. 1.7, построенным по исследованию вихревой трубы с
отверстием в диафрагме.
Рис.
1.8 Схема течения газа в вихревой трубе
На
основании приведённых данных картину течения газа в вихревой трубе схематично
можно описать следующим образом (рис. 1.8). После истечения газа из
тангенциальных сопел закрученный поток распространяется по радиусу до тех пор,
пока статическое давление на его внутренней границе не уравняется с давлением
заполняющего приосевую область газа и образует течение, близкое к
потенциальному, т.е. свободному вихрю с радиальным распределением
тангенциальной скорости (1.20).
По
мере приближения к дросселю периферийный участок течения приобретает характер
вынужденного вихревого течения с распределением скорости (1.19). При этом
повышается уровень температуры потока, а распределение температуры по радиусу
становится более равномерным.
Такая
картина течения позволила большинству авторов, исследовавших сущность вихревого
эффекта, принять гипотезу о том, что рассматриваемый эффект связан с
преобразованием возникающего во входном сечении вихревой трубы свободного вихря
в вынужденный вихрь.
2.
ОСНОВЫ ТЕОРИИ ВИХРЕВОГО ЭФФЕКТА
2.1 Основные уравнения
Имеется несколько десятков теоретических работ, в которых делаются
попытки вскрыть физическую сущность вихревого эффекта и дать его аналитическое
решение.
Течение вязкого теплопроводного газа строго описывается системой
уравнений движения, сплошности, энергии и состояния, которая для ламинарного
осесимметричного потока в цилиндрических координатах имеет следующий вид.
Уравнения движения
(2.1)
(2.2)
(2.3)
Уравнение
сплошности
(2.4)
Уравнение
энергии
(2.5)
Уравнение состояния
(2.6)
Некоторые
авторы, задаваясь радиальным распределением скорости и статической температуры
в конечном сечении после процесса преобразования вихря и используя условия
сохранения момента количества движения, энергии и расхода, при условии
адиабатичности стенок находили распределение полной температуры в конечном
сечении как функцию скорости втекания газа через тангенциальные сопла и
диаметра отверстия диафрагмы.
В момент формирования свободного вихря осевую составляющую скорости можно
принять равной нулю. Вязкость и теплопроводность могут проявить себя только при
возникновении градиентов скорости и температуры, поэтому для выбранного момента
ими можно пренебречь и свести систему уравнений (2.1 - 2.5) к виду
(2.7)
(2.8
(2.9)
(2.10)
Эта система совместно с уравнением (2.6) дает распределение скорости
свободного вихря (1.19), адиабатное распределение статической температуры по
радиусу
(2.11)
и
постоянство полной температуры по радиусу
(2.12)
.2
Гипотеза турбулентного энергообмена
Распределение
(2.12) справедливо только в области свободного вихревого течения, которое
реализуется согласно приведённым на рис. 1.7 данным в пристеночном течении
.
Конечный
расход газа через сопло вихревой трубы и примыкающая к сопловому сечению стенка
диафрагмы вынуждают свободный вихрь после формирования сноситься вдоль трубы по
направлению к дросселю, при этом радиальные скорости в нем становятся
пренебрежимо малыми, а уровень окружных скоростей снижается за счет вязкостного
взаимодействия с приосевыми слоями и стенкой.
Силы вязкости обеспечивают поддержание постоянства момента по радиусу
вихря, поэтому все вносимые извне возмущения приводят лишь к снижению общего
уровня скоростей при сохранении закона их распределения по радиусу. Это подтверждается
экспериментально установленным фактом сохранения свободного вихря на большом
протяжении вихревой зоны трубы.
По мере снижения уровня окружных скоростей при движении вихря вдоль трубы
уменьшается радиальный градиент статического давления в ней, и вихрь
распространяется к оси. Уменьшение радиального градиента создает осевой
градиент давления, который вынуждает попавшие в приосевую область элементы газа
изменить свою осевую скорость на обратную и двигаться к сопловому сечению. При
этом вращение приосевых слоёв соответствует закону твёрдого тела (1.20). Многие
авторы склонны объяснять такой эффект интенсивной турбулизацией потока при
изменении направления осевого движения.
Возникший обратный приосевой поток при своем движении закручивается все
более интенсивным свободным вихрем.
Кроме
передачи кинетической энергии вращения от свободного вихря к вынужденному,
турбулизация потока может способствовать интенсификации теплообмена. При
перемещении элемента газа за счет радиальной турбулентной пульсационной скорости
с одной радиальной позиции на другую в поле с высоким
радиальным градиентом давления он адиабатно расширится или сожмется,
соответственно изменив свою температуру. В сущности, турбулентные элементы
совершают холодильные циклы, передавая тепло в периферийные слои, а источником
механической энергии этих циклов является турбулентность.
Г.
Шепер [7], используя модель пути смешения Прадтля, получил следующую оценку
величины удельного радиального теплового потока
(2.13)
Согласно
другому предположению Шепера за счет высокой скорости периферийного вихря
статическая температура в ней ниже, чем в приосевом, поэтому при их
взаимодействии осуществляется конвективный теплообмен, приводящий к
выравниванию статической температуры и снижению полной температуры приосевого
вихря. Однако экспериментально установленный факт монотонного убывания
статической температуры по радиусу к оси исключает предложенный Шепером
механизм конвективного энергообмена.
2.3
Предельная оценка вихревого эффекта
В
работе [3] А.П. Меркуловым была сделана оценка предельных возможностей
вихревого эффекта. С этой целью было принято допущение о том, что в сопловом
сечении полностью завершился энергетический обмен между вихрями, т. е.
отсутствует радиальное движение, а в вынужденном вихре установилось адиабатное
распределение статической температуры по радиусу. Учитывая тепловую и
механическую сопряженность свободного и вынужденного вихря, автор получил
выражение, определяющее радиус разделения вихрей как функцию числа Маха
на выходе из сопла и степени расширения
, где
-
статическое давление на оси соплового сечения.
(2.14)
Рис.2.1
Распределение осевой скорости в отверстии с диафрагмой
Записывая
уравнения баланса расходов, автор учёл, что при наличии в диафрагме
центрального кругового отверстия с относительным радиусом
у вихря соплового сечения имеется возможность
сообщатся с окружающей средой, давление в которой
. Там, где в области отверстия диафрагмы статическое
давление вихря соплового сечения окажется выше, чем
, появится осевое движение элементов вихря через
отверстие диафрагмы со скоростью
. Это
течение в первую очередь возникнет в периферийной области отверстия, где
уровень давления выше. На меньших радиусах вихря статическое давление может
оказать меньше, чем
и здесь будет наблюдаться подсос газа из окружающей
среды со скоростью
. Схематическая эпюра распределения осевой скорости в
отверстии диафрагмы изображена на рис. 2.1.
При
наличии в отверстии диафрагмы прямых и обратных осевых скоростей возникает
вторичный вихревой эффект, который может привести к реверсу вихревой трубы.
Этот эффект состоит в том, что вытекающие через периферийную область отверстия
диафрагмы элементы газа, имея достаточно высокую тангенциальную скорость,
закручивает текущий на встречу приосевой поток и обмениваются с ним энергией
так же, как в основной вихревой зоне.
За
счет этого турбулентного энергообмена обратный поток через отверстия диафрагмы
будет охлаждаться, а прямой, из которого формируется результативный холодный
поток, будет подогреваться.
Рис.2.2
Расчетные характеристики вихревой трубы
Полученные
А.П. Меркуловым выражения позволили оценить предельно возможные эффекты
охлаждения. На рис. 2.2 приведены предельные зависимости относительной
температуры холодного потока
от
относительного весового расхода холодного потока при различных значениях
относительного радиуса диафрагмы. Видно хорошее качественное совпадение с
экспериментальными данными, приведёнными на рис. 1.3.
3.
ОПИСАНИЕ ЛАБОРАТОРНЫХ УСТАНОВОК
3.1 Описание действующего лабораторного стенда
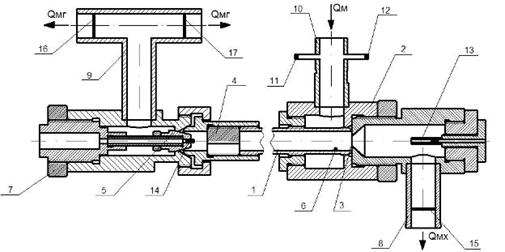
Схема экспериментальной установки представлена на рис. 3.1.
Рис.
3.1
Конструкция выполнена в сварном виде. На выходе горячего потока
установлен дроссель постоянного сечения.
Воздух из магистрали высокого давления через регулирующий дроссель 1
поступает в вихревой термотрансформатор 2. Давление воздуха на входе в вихревой
термотрансформатор измеряется с помощью манометра 3 с диапазоном измерения 0-6
кгс/см² и классом точности 0,6. На выходе в
потоке холодного воздуха установлен термометр жидкостной (-500С; 500С)
4, на выходе в потоке горячего воздуха установлен термометр жидкостной (00С;
1000С) 5.
.2 Описание модернизированного лабораторного стенда
Лабораторный стенд состоит из установки и измерительной части.
Конструкция установки (рис. 3.2.1) состоит из:
Корпуса 2
Вихревой трубки 1
Диафрагмы 3
Крестовины 4
Выходной конус 5
Тангенциальные отверстия (4 шт) 6
Регулировочный винт 7
Трубки отвода холодного воздуха 8
Трубки отвода горячего воздуха 9
Штуцера для подвода сжатого воздуха 10
Датчика давления на входе в устройство 11
Датчика температуры на в ходе в устройство 12
Датчика температуры (холодный) 13
Датчика температуры (горячий) 14
Датчика расхода на выходе холодного потока 15
Датчиков расхода на выходе горячего потока 16, 17
Рис. 3.2.1
Воздух из магистрали высокого давления через регулируемый вентиль по
трубопроводу (внутренний диаметр 20 мм) поступает в вихревой
термотрансформатор. Регулировочный винт 5, позволяет устанавливать необходимый
нам расход.
Температура и давление на входе в вихревой термотрансформатор, а так же
температура и расход на выходе горячего и холодного потоков измеряются с
помощью датчиков давления, температуры и расхода соответственно, которые
описаны в измерительной части.
В данной установке используются три трубки, отличающиеся друг от друга
расстоянием проходных отверстий от торца трубки. (а, б, в. рис. 3.2.2).
Рис. 3.2.2
Диаметр трубки D=12мм,
диаметр входных отверстий d=1.8мм
При откручивании регулировочного винта 7 рис. 3.2.1, дроссель начинает
открываться и перемещается на некоторую величину X, при этом меняется площадь проходного сечения. В данной
работе была посчитана площадь проходного сечения и построена графическая
зависимость изменения площади от осевого перемещения X.
На рис. 3.2.3 показана схема открытия дросселя.
Рис. 3.2.3
При расчете площади применялись следующие формулы:
X= n· 1.5 мм,
L= X· sin α мм,
r= R- L· cos α мм,
F= π· (R+ r)· L мм,
где n- количество оборотов.
На рис. 3.2.4 приведена графическая зависимость изменения площади
проходного сечения от осевого перемещения X.
Рис. 3.2.4
Измерительная часть включает в себя:
- ЭВМ.
- аналого-цифровой преобразователь (внешний вид АЦП показан на
рис. 3.2.5), осуществляющий преобразование аналогового сигнала с датчиков в
цифровой сигнал, передаваемый для обработки в ЭВМ через USB-интерфейс.
Устройство сбора данных М-серии USB-6218 компании National Instruments
использует питание от шины USB, при этом оно обеспечивает превосходную точность
измерений при высоких скоростях работы. Оно имеет 32 канала аналогового ввода,
опрашиваемых с частотой до 250 кГц в одноканальном режиме, 2 аналоговых выхода,
8 цифровых входов/выходов, возможность индивидуального конфигурирования входных
диапазонов для каждого из каналов (4 режима от ±0.2 до ±10 В), линии цифровой
синхронизации и два счетчика. Плата USB-6218 имеет встроенную систему изоляции
для увеличения точности измерений, повышения безопасности и надежности. Этот
USB-модули разработан специально для мобильных и компактных приложений. Наличие
же USB-питания позволят избавиться от ненужных внешних источников.
АЦП USB-6218
Рис. 3.2.5
- датчик температуры на входе в устройство AD22100 (Analog
Devices- аналоговый датчик) - монолитный температурный датчик со встроенным
модулем обработки сигнала. Прибор имеет диапазон измерения температуры от -50°C
до +150°C,
Фирма - производитель: Analog Devices
Общий вид датчика представлен на Рис. 3.2.6
При тарировке датчика плавно изменялась температура на всем диапазоне его
работы.
<#"581082.files/image128.gif">
Рис. 3.2.7
- датчик температуры (2шт) HEL705-T-1-12-C1 (диапазон температур от -200
до 260 градусов). Чувствительный элемент- платина (RTC)
Фирма - производитель: Honeywell
Общий вид датчика представлен на Рис. 3.2.8

Рис. 3.2.8
При тарировке датчика плавно изменялась температура на всем диапазоне его
работы.
Тарировка датчиков температуры представлена на Рис.3.2.9 - 3.2.10
Рис. 3.2.9
Рис. 3.2.10
- датчик давления на выходе из магистрали ST100PG2BPCF (ST серия с аналоговой трубкой давления,
с силиконовой диафрагмой и пределом измерений от 0 до 100 PSI, (рис.3.2.11). Чувствительный
элемент - силиконовая диафрагма.
Фирма - производитель: Honeywell.
При тарировке датчик равномерно нагружался давлением на всем диапазоне его работы.
Тарировка датчика давления представлена на Рис.3.2.12
Рис. 3.2.11
Рис. 3.2.12
- датчик измерения расхода на выходе горячего потока (2шт) газа-
AWM720P1 (расход газа 200л/мин. Измерение расхода осуществляется
посредством измерения термопереноса протекающим через датчик газом).
Чувствительный элемент-кристалл кремния
Фирма - производитель: Honeywell
Общий вид датчика представлен на Рис.3.2.13
Рис. 3.2.13
Тарировка датчика расхода представлена на Рис.3.2.14
Рис. 3.2.14
- датчик измерения расхода на выходе холодного потока газа TGM-0.25. Принцип работы: количество
теплоты, уносимое потоком вещества, прямо пропорционально массовому расходу.
Диапазон измерений: расход 0,1… 250 кг/ч, давление max. 10 bar, температура
-30...+ 70°C.
Общий вид датчика представлен на Рис.3.2.15
Рис. 3.2.15
Тарировка датчика расхода представлена на Рис.3.2.16
Рис. 3.2.16
.3 Методика измерений
1. Цель измерений: в процессе проведения эксперимента
осуществляется измерение давления и температуры в магистрали на входе в
устройство, температур и расходов на выходе из устройства.
. Схема измерений:
От датчиков аналоговый сигнал поступает в АЦП (аналого-цифровой
преобразователь), осуществляющий преобразование аналогового сигнала в цифровой
и передающий его на ЭВМ через USB- интерфейс. При помощи пакета LabVIEW была
написана программа, частичный алгоритм которой приведен на рис. 3.3.1. LabVIEW представляет собой высокоэффективную
среду графического программирования, в которой можно создавать гибкие и
масштабируемые приложения измерений, управления и тестирования с минимальными
временными затратами. Полноценный язык программирования, интуитивно понятный
процесс графического программирования, широкие возможности сбора, обработки и
анализа данных, управления приборами. С помощью этой программы производятся
расчеты, с дальнейшим построением тех или иных зависимостей.
Полученные в результате проведения эксперимента результаты выводятся в
виде графических зависимостей T(t) (изменение температуры от времени)
и P(t) (изменение давления на входе от времени) на экран монитора
средствами пакета LabVIEW. Значения температур, давлений и расходов соответствующих
выходных сечений также сохраняются в файл.
Рис. 3.3.1
3. Результаты эксперимента: в результате проведения эксперимента
измеряемые значения температур давления и расходов записываются в таблицу.
4. МЕТОДИКА ПРОВЕДЕНИЯ ЛАБОРАТОРНОЙ РАБОТЫ «ВИХРЕВОЙ ТЕРМОТРАНСФОРМАТОР»
Проведение лабораторной работы состоит из трех этапов:
рассказываются теоретические основы изучаемого явления, цели и задачи
проведения лабораторной работы
проводится исследование вихревого эффекта при различных задаваемых
входящих параметров давления.
Измерения проводятся в цикле изменения открытия дросселя. Каждый цикл
начинается выбором положения дросселя и заканчивается занесением всех
измеренных параметров в файл. Полный алгоритм сбора данных описан ниже.
Для проведения работы запускается файл VT.vi (Рис. 4.1).
Рис. 4.1
.1 Последовательность проведения лабораторной работы
С помощью регулируемого вентиля на входе в устройство устанавливается
давление воздуха, диапазон которого лежит в пределах от 1 - 5 атм.
Устанавливаем нужное нам положение дросселя, диапазон перемещения
которого лежит в пределах от 0 до 3.75мм.
С помощью датчиков фиксируются температура на выходе горячего и холодного
потоков, а так же их расход. Температура и давление на входе в устройство так
же фиксируются.
После того, как температуры устанавливаются, нажимаем кнопку «Опрос» в
интерфейсе программы LABVIEW,
после чего происходит фиксация параметров, как показано на (Рис.4.1.1). В результате
нажатия на кнопку «Опрос», все зафиксированные результаты автоматически
заносятся в файл VT.txt, а так же в таблицу (Рис. 4.1).
Первая колонка-температура горячего потока, вторая колонка- температура
холодного потока, третья колонка- давление на входе в устройство, четвертая
колонка- расход горячего потока, пятая колонка- расход холодного потока, шестая
колонка- температура на входе в устройство.
После проведения эксперимента нажимаем кнопочку «Стоп»,
(рис.4.1.1),происходит автоматическое сохранение всех снятых нами во время
проведения эксперимента данных. Закрываем программу и начинаем обработку
данных, снятых во время эксперимента.
В результате эксперимента предлагается построить графические зависимости
изменения температур на выходе и изменения температуры холодного потока воздуха
при изоэнтропийном процессе от степени понижения давления.
Рис. 4.1.1
5. РЕЗУЛЬТАТЫ ПРОВЕДЕНИЯ ЭКСПЕРИМЕНТОВ
Эксперименты проводились на трех трубках, отличающихся расстоянием входных
отверстий от торца трубки (7.5, 10, 12.5 мм). Испытания проводились на всем
диапазоне давлений (1, 2, 3, 4 и 5 атм.) при разных положениях дросселя. По
результатам экспериментов было необходимо выбрать трубку, с наилучшими
температурными показателями, которая в последствии будет применена для
проведения лабораторных работ «вихревой термотрансформатор» в лаборатории
гидравлики МГИУ.
На Рис 5.1-5.5 приведены графические зависимости температур горячего и
холодного потоков от относительного весового расхода μ для трубки с расстоянием входных
отверстий 7.5 мм.
Рис. 5.1
Рис. 5.2
Рис. 5.3
Рис. 5.4
Рис. 5.5
Для трубки с расстоянием входных отверстий 10 мм. рис. 5.6- 5.9
Рис. 5.6

Рис. 5.8
Рис. 5.9
Для трубки с расстоянием входных отверстий 12.5 мм. рис. 5.10- 5.14.
Рис. 5.10
Рис. 5.11
Рис. 5.12
Рис. 5.13
Рис. 5.14
Для наглядности построим графики сравнения температур горячего и
холодного потоков от относительного весового расхода для трех трубок при 1 и 5
атмосферах (рис.5.15- 5.16).
Рис. 5.15
Рис. 5.16
Как видно из графиков, наиболее высокие температурные показатели
получаются на трубке с наименьшим удалением проходных отверстий от ее торца
(7.5мм). Для 5-ти атмосфер температура горячего потока составляет Tг=87 °C, а
для холодного потока Tх=1.9 °C. На графиках первой трубки соответствуют кривые,
отображенные синим цветом. На основании обработанных экспериментальных данных
можно сделать вывод о том, что данную трубку можно утвердить и использовать при
проведении лабораторных работ «Вихревой термотрансформатор».
ЗАКЛЮЧЕНИЕ
. Проверена работоспособность модернизированной установки
. Отлажена работа установки и проведены эксперименты на трех
трубках
. Обработаны результаты экспериментов. Наилучший температурный
эффект наблюдается на трубке с наименьшим удалением проходных отверстий (7.5
мм). При 5-ти атмосферах температура горячего потока составила Tг=87 °C, а
холодного потока Tх=1.9 °C.
. Подготовлены материалы для написания методического пособия к
лабораторной работе
. Лабораторный стенд в полном объеме готов к эксплуатации
СПИСОК ЛИТЕРАТУРЫ
1. Меркулов
А. П., Вихревой эффект и его применение в технике, Машиностроение, 1969.
. Мартыновский
В. С. и Алексеев В. П., Вихревой эффект охлаждения и его применение,
Холодильная техника, 1953, №3
. Шейпак
А. А., Методические указания к лабораторной работе по курсу «Термодинамика и
теплопередача», 1980.