Автоматизація нормування технологічних процесів у відділі організації праці і заробітної плати державної акціонерної холдингової компанії 'Артем'

  • Вид работы:
    Дипломная (ВКР)
  • Предмет:
    Менеджмент
  • Язык:
    Украинский
    ,
    Формат файла:
    MS Word
    1,27 Мб
  • Опубликовано:
    2012-09-21
Вы можете узнать стоимость помощи в написании студенческой работы.
Помощь в написании работы, которую точно примут!

Автоматизація нормування технологічних процесів у відділі організації праці і заробітної плати державної акціонерної холдингової компанії 'Артем'

ВСТУП

Нормування праці покликане вирішувати важливі соціально-економічні завдання: забезпечувати науково обґрунтовану базу внутрішньозаводського планування й організації праці; сприяти виявленню й використанню резервів росту продуктивності праці й зниження собівартості продукції; стимулювати ріст кваліфікації працівників на основі наукового узагальнення й масового поширення передового виробничого досвіду; сприяти вдосконалюванню оплати праці, установленню більше повної відповідності між мірою праці й розміром винагороди за працю.

При нормуванні праці повинні враховуватися особисті, колективні й загальнодержавні інтереси, а також проблеми стимулювання й підвищення його продуктивності і якості, росту ефективності соціалістичного виробництва й підвищення народного добробуту. Необхідно значно поліпшити нормування праці, забезпечивши його тісне вв'язування з удосконалюванням форм організації оплати праці, атестації робочих місць, розширити застосування технічно обґрунтованих норм і нормативів, систематично переглядати їх з урахуванням впровадження нової техніки, передової технології.

Для того щоб оцінити роль нормування праці в підвищенні ефективності виробництва, потрібно більш докладно зупинитися на функціях норми, тому що виконання цих функцій забезпечує зниження витрат на оплату живої праці, зниження собівартості випускає продукції, що, ріст продуктивності суспільної праці, часто веде до збільшення прибутку, тобто до росту ефективності виробництва.

При правильній організації нормування норми повинні відбивати досягнення технічного прогресу й наукової організації праці. Нормування тільки в тому випадку може успішно виконувати свою роль, якщо воно вдосконалюється паралельно з удосконалюванням техніки й технології виробництва, відповідає передовій його організації. Від того, як поставлені робота з нормування праці на підприємствах машинобудування, залежить обґрунтованість планів по росту продуктивності праці, нормативне співвідношення між ростом продуктивності праці, чисельністю робітників та службовців і фондом заробітної плати, а, отже, і такими важливими результативними показниками, як собівартість і прибуток. Норми праці відбивають ефективність використання основних фондів і впровадження у виробництво досягнень науки й техніки, більше зроблених технологічних процесів тільки в тому випадку, якщо відбувається безперервне вдосконалювання методики нормування, росте кваліфікація нормувальників, а робітники постійно виховуються в дусі нетерпимості до безладдя, до хаотичного використання робочого часу зміни. Стан технічного нормування впливає на стимулюючу роль заробітної плати й всіх діючих систем матеріального заохочення.

Для того щоб правильно організувати працю на виробництві, необхідно визначити кількість й якість праці, які будуть потрібні на виконання заданої роботи.

Будь-яка робота може бути виконана за допомогою різних засобів і різноманітних методів. Час на виконання заданої роботи залежить від застосовуваної технології, устаткування, пристосувань, інструментів, режимів роботи, організації й обслуговування робочого місця, професійних навичок робітника й інших факторів. Щоб правильно встановити норму часу на виконання заданої роботи, необхідно вивчити вплив кожного з перерахованих факторів окремо й вибрати таке їхнє сполучення, що у сукупності забезпечує найменші витрати часу, найбільш раціональне використання встаткування, інструмента, високий рівень якості.

РОЗДІЛ 1. ТЕХНІЧНЕ НОРМУВАННЯ ПРАЦІ

.1 Сутність і завдання нормування праці

Норма праці - це економічний інструмент, без якого не може існувати сучасне виробництво. Вона повинна не тільки відбивати рівень розвитку виробництва, але й активно впливати на нього.

До основних завдань нормування праці на сучасному етапі ставляться наступні:

. Установлення й впровадження у виробництво для конкретних організаційно-технічних умов технічно обґрунтованих норм праці, розрахованих на підставі прогресивних міжгалузевих і галузевих нормативних матеріалів.

. Більше широкий охват нормуванням праці почасово оплачуваних робітників і фахівців.

. Підтримка постійної прогресивності норм праці шляхом своєчасної їхньої заміни й перегляду.

Технічне нормування охоплює також і ряд інших завдань: розробку нормативів (вихідних матеріалів) для встановлення технічно обґрунтованих норм, що відповідають сучасному рівню розвитку техніки, технології й організації виробництва; визначення кваліфікації робітників і тарифікації робіт; вивчення витрат робочого часу з метою підвищення продуктивності й поліпшення умов праці; розробку раціональної організації й обслуговування робочих місць; вивчення, узагальнення й поширення передових методів роботи новаторів виробництва й ін.

Таким чином, впровадження технічно обґрунтованих норм є основною, але не єдиним завданням технічного нормування праці на підприємстві.

Сучасна школа нормування опирається при науковому обґрунтуванні норм на такі вихідні положення:

. Обсяг вироблення продукції, або обсяг роботи, регламентується технологією виробництва, технічними нормами використання встаткування, параметрами й показниками: режимів його експлуатації. Якість норм, отже, багато в чому залежить від технологічних нормативів, покладених в основу їхнього визначення, ефективного використання виробничо-технологічного й трудового потенціалів.

. Тривалість виконання роботи значною мірою залежить від організації виробництва, тому форма організації виробництва повинна бути такий, щоб тривалості операційного й технологічного циклів були найменшими при даних конкретних умовах.

. Успіх трудової діяльності обумовлюється кваліфікацією працівників, їхнім виробничим досвідом, рівнем загального й професійного утворення, творчим відношенням до праці. У практиці нормувальної роботи на підприємствах повинні максимально використатися результати наукового вивчення й узагальнення передового виробничого досвіду з метою його масового поширення.

. Режими праці й відпочинку можуть бути науково обґрунтовані тільки на основі психофізіологічного аналізу, а щоб забезпечити змістовність і привабливість роботи для виконавця, необхідний і соціальний аналіз трудових процесів. Ніж повніше ці фактори враховуються при розробці норм, тим більше високий рівень їхнього наукового обґрунтування. Такі нір ми праці є прогресивними, науково обґрунтованими, сприятливому підвищенню продуктивності праці.

1.2 Використання норм праці в економічній роботі

Технічно обґрунтовані норми праці широко застосовуються в народному господарстві, дозволяючи вирішувати ряд конкретних завдань:

установлюються кількісні пропорції між працівниками різних професій і спеціальностей, що мають різний рівень кваліфікації, з метою більше раціонального використання робочого часу й забезпечення ритмічної високопродуктивної роботи бригад, ділянок, цехів, підприємств;

виробляється всебічне вивчення, узагальнення й поширення передового виробничого досвіду;

оцінюється економічна ефективність впровадження нової техніки, технології, визначаються найбільш доцільні варіанти рішення окремих виробничих питань, планування виробництва й праці;

установлюється найбільш раціональний регламент роботи й фізіологічно обґрунтовані режими праці й відпочинку;

порівнюються результати праці окремих працівників: і низових виробничих колективів, визначається частка їхньої участі в загальних результатах праці, а також право на винагороду (оплату) відповідно до їх внеску.

Таким чином, ефективність економічної роботи на підприємствах значною мірою залежить від якості норм праці й ступеня охвата нормуванням всіх робіт, включаючи обслуговування й керування.

Розглянемо деякі області застосування технічних норм часу в заводській практиці.

Технічне нормування лежить в основі планування. На всякому підприємстві робота здійснюється відповідно до техпромфінплану, що являє собою обґрунтований прогноз його виробничої, технічної й фінансово-господарської діяльності. В основі розробки техпромфінплану лежить система норм витрат робочого часу, витрати основних і допоміжних матеріалів, електроенергії, палива, пари, води, норм амортизаційних відрахувань і т.д. При цьому норми витрат робочого часу займають особливе місце, служачи вихідним маті ріалом для розрахунку основних елементів техпромфінплану підприємства.

На підставі норм часу виробляється розрахунок кількості й завантаження встаткування й робочих місць, визначення виробничої потужності ділянки, цеху, підприємства в цілому. На їхній базі розраховується чисельність працюючих, складаються планові завдання окремим робочим місцям, ділянкам, цехам на зміну, добу, місяць, рік; виробляється розрахунок циклу виготовлення окремих деталей і виробів. Таким чином, технічно обґрунтовані норми є важливим елементом заводського планування.

Найважливішою умовою госпрозрахунку є порівняння витрат і результатів. Однак дефіцит на багато видів продукції й монополія на її виробництво, відсутність механізму об'єктивної оцінки результатів виробничої діяльності не тільки не стимулює зниження витрат, але й приводить до необґрунтованого завищення цін і доходів виробників, до одержання незароблених грошей. Подібна практика перешкоджає поліпшенню нормування праці, робить невигідним визначення суспільно необхідних витрат.

Пряма зацікавленість у зниженні трудо- і матеріалоємності продукції створюється з розвитком конкуренції й ринкових відносин, що змушують виробників знижувати ціни. У цьому випадку норми витрат живої й упредметненої праці є основою оцінки ефективності роботи й визначення перспективних напрямків як традиційних, так і нових виробництв. З їхньою допомогою визначається трудовий внесок колективів і працівників.

Оскільки в нових умовах ринкові ціни будуть виступати діючим контролером ефективності витрат, тому що ріст їхній обумовлений підвищенням показника споживчих властивостей продукту праці, підприємства будуть зацікавлені в одержанні реальних сукупних витрат. Норми будуть бути основою для розрахунку як відпускної ціни, так і необхідних витрат конкретних підприємств у заданих умовах і використовуваних для розрахунку внутрівиробничих цін. У той же час споживач, використовуючи ці норми, може визначити обґрунтованість відпускної ціни. У цьому випадку доцільно розраховувати еталонні (для прогнозування ринкових цін) і заводські норми. Тоді оцінка результату роботи підприємства може виробляється зіставленням фактичного критерію з нормативним, отриманим по еталонним нормах.

Стало бути, в умовах перебудови економіки значення функцій норм значно зростає, а дотримання науково обґрунтованих норм праці необхідно розглядати як один з найважливіших показників оцінки ефективності і якості роботи в умовах ринкових відносин.

Особливо широко й всебічно вплив нормування на організацію праці, а тісний взаємозв'язок між ними обумовлено тим, що оптимальні норми встановлюються на основі вибору раціональної організації праці, ефективність якої оцінюється за допомогою нормування.

Норми служать найважливішою передумовою (умовою) впровадження прогресивних форм організації праці, оскільки за допомогою їх визначається міра праці учасників виробничого процесу, стосовно до якого встановлюється норма. На основі норм здійснюється проектування регламенту продуктивної роботи, розробляється раціональний трудовий процес. Нормування праці, як показано вище, не зводиться до встановлення норм, а містить у собі також більшу аналітичну й дослідницьку роботу з оцінки безлічі варіантів організації праці з метою відбору найбільш ефективних. Таким чином, витрати часу, розраховані стосовно до раціональних форм організації праці - це не тільки розрахунковий матеріал для встановлення обґрунтованих норм, але й керівництво при виборі тих або інших форм організації праці, тобто норми закріплюють і роблять обов'язковими для широкого застосування раціональні форми організації тру так. За допомогою норм, отже, оцінюється раціональність організації того або іншого трудового процесу й змін, що відбуваються в ньому, які тією чи іншою мірою позначаються на витратах робочого часу.

Тісний зв'язок нормування праці з його організацією проявляється особливо помітно при вдосконалюванні поділу й кооперації праці. Для відокремлення трудових функцій, забезпечення найбільш ефективного розміщення й використання працівників треба розташовувати не тільки даними про зміст операцій, але й нормативними матеріалами про необхідні витрати робочого часу для їхнього виконання. За допомогою нормованих, витрат робочого часу вирішується завдання визначення обсягу робіт, що сполучають, при сполученні професій, виробляється вибір зон обслуговування для багатоверстатників, їхнє раціональне розміщення, визначення оптимального состава бригад, підрядних й орендних колективів, розподіл робіт усередині них. Прогресивні технічно обґрунтовані норми є основою розробки річних, квартальних, місячних виробничих планів (завдань) виробничих бригад і колективів. Кожній бригаді (колективу) виробничі плани встановлюються виходячи з технічно обґрунтованих норм і виробничих потужностей, з урахуванням запланованих заходів по росту продуктивності праці.

Вивчення трудових процесів й оцінка їх у часі на основі нормування дозволяють спроектувати оптимальну організацію робочих місць, рівномірно й взаємозалежну їхню роботу.

Досить напружені й науково обґрунтовані норми сприяють зміцненню дисципліни праці, скороченню втрат робочого часу.

Таким чином, нормування праці, що дозволяє зв'язати воєдино інтереси суспільства й інтереси трудящого, має самий безпосередній зв'язок з економічною й соціальною політикою.

1.3 Виробничий процес і його структура

Найважливішим завданням нормування праці є визначення всебічно обґрунтованих норм витрат праці по кожній категорії працюючих.

З розвитком виробничих сил суспільства міняються вимоги, пропоновані до нормування праці й насамперед до обґрунтованості норм витрат праці. У сучасних умовах норму варто розглядати як багатоаспектну категорію, при встановленні якої враховують організаційно-технічні, економічні, соціальні й психологічні фактори. Норму необхідно встановлювати з обліком всіх основних факторів, що впливають на її значення, тому що тільки правильно розрахована норма може стимулювати підвищення продуктивності праці. Норми витрат праці лежать в основі визначення потрібної чисельності, професійного й кваліфікаційного составів працюючих.

Велике значення нормування праці має для організації оперативного планування. Розрахунок завантаження встаткування, виробничої потужності встаткування, кожного робітника місця, ділянки, цеху, підприємства здійснюють на основі норм витрат праці.

Метою виробничого процесу на машинобудівному підприємстві є випуск готової продукції з урахуванням установлених вимог по її обсязі, якості й собівартості. У складі виробничого процесу виділяють основні й допоміжні процеси (Рис 1). До основних процесів відносять процеси, у яких відбуваються зміна виду, форми, стану матеріалів, обробка й перетворення матеріалів у готову продукцію. Допоміжні процеси призначені для підтримки й організації основних процесів (транспортування, зберігання, контроль й ін.). Здійснення технологічного процесу припускає виконання в певній послідовності ряду технологічних операцій. Технологічна операція є частину технологічного процесу, здійснюваної над певним предметом праці одним робітником (або одночасно групою робітників) на одному робочому місці. Ознакою закінчення операції є передача предмета праці з одного робочого місця на інше, регламентована в умовах цеху вбранням на роботу. Операція є основним об'єктом нормування праці.

Рисунок 1.1 - Схема нормування процесів

Здійснення технологічної операції припускає участь виконавця й виконання їх конкретних необхідних для даної операції трудових прийомів і дій. Це вимагає при встановленні обґрунтованих норм часу виділення в операції поряд з технологічними також і трудових елементів. Трудові елементи операції включають трудові рухи, дії, прийоми.

Висновок

У першому розділі розглянута сутність і задачі нормування праці, а також розкриті питання використання норм праці в економічної роботі та визначені виробничий процес і його структура.

РОЗДІЛ 2. НОРМУВАННЯ НА ДЕРЖАВНІЙ АКЦІОНЕРНІЙ ХОЛДИНГОВІЙ КОМПАНІЇ «АРТЕМ»

.1 Організаційно-економічна характеристика ДАХК “Артем”

Однією з найбільш відомих холдингових компаній України є гігант промисловості Державна акціонерна холдингова компанія “Артем”. ДАХК “Артем”, до складу якої входить 16 відкритих акціонерних товариств - провідне підприємство авіаційної промисловості України та країн СНД. Історія ДАХК “Артем” свідчить про послідовне перетворення невеликого Лук'янівського заводу в сучасний холдинг, який є лідером в області виробництва авіаційних керованих ракет середньої дальності класу “повітря-повітря”, протитанкових керованих ракет різних модифікацій, автоматизованих комплексів “гурт” для перевірки і технічного обслуговування авіаційних керованих засобів нападу, а також приладів і устаткування для авіаційних літаків, що виготовляються в країнах СНД. Об’єднавши 16 відкритих акціонерних товариств, фінансові групи і ТОВ “Артем-банк”, компанія плідно працює як над випуском вже освоєної продукції, так і розробляє нові, конкурентоспроможні вироби. ДАХК “Артем” експортує свою продукцію в 36 країн світу, діловими партнерами холдингу є 29 держав.

Компанія “Артем" починає свою історію від дня заснування в 1892 році на Лук’янівці в Києві Дніпровського машзаводу. З 1992 року завод носить ім’я Артема, а у 1940 році, як одне з найкращих машинобудівних підприємств міста, завод було підпорядковано Наркомату Авіаційної промисловості СРСР. У 1975 році на базі заводу та його філій було створене Київське виробниче об’єднання ім. Артема, яке в 1996 році було перетворене в Державну акціонерну холдингову компанію “Артем”.

Державна акціонерна холдингова компанія “Артем” є акціонерним товариством відкритого типу і юридичною особою від дня її державної реєстрації. Засновником та акціонером компанії “Артем” є держава в особі Міністерства машинобудування, військово-промислового комплексу і конверсії України. Статутний фонд (капітал) компанії розподілений на 250 253 397 простих іменних акцій. Прибуток компанії формується за рахунок надходжень від здійснення господарської діяльності після покриття матеріальних і прирівняних до них витрат, витрат на оплату праці, виплати відсотків за кредитами банків та за облігаціями, а також податків, зборів і інших обов’язкових платежів до бюджетів. Чистий прибуток, одержаний після розрахунків, залишається в повному розпорядженні компанії і використовується відповідно до рішення вищого органу компанії.

Управління компанією здійснюють: Засновник в особі Міністерства промислової політики України, який виконує повноваження загальних зборів акціонерів, - вищий орган компанії; Наглядова (спостережна) рада; Правління; Ревізійна комісія. Спостережна рада є органом компанії, що з метою захисту інтересів держави здійснює контроль за діяльністю правління компанії. Правління є виконавчим органом, який здійснює керівництво її поточною діяльністю. Ревізійна комісія є органом компанії, який контролює фінансово-господарську діяльність виконавчого органу.

Згідно статуту ДАХК “Артем” метою діяльності компанії є: забезпечення ефективного функціонування та розвитку єдиного науково-технічного і виробничого комплексу з розробки, виробництва та впровадження сучасних зразків вітчизняної авіаційної техніки; створення та серійне виробництво нових зразків обладнання та іншої продукції для потреб безпеки держави, товарів народного споживання, технологічного обладнання для агропромислового комплексу, медичної техніки тощо; підвищення ефективності виробництва та одержання прибутку, підвищення конкурентоспроможності продукції на ринку.

Компанія “Артем” виготовляє та постачає на експорт понад 120 найменувань спеціальної авіаційної техніки та озброєння, а також виробляє промислове та медичне обладнання, сучасні побутові товари. Працюючи в авiацiйнiй промисловості більш як 60 років, компанія освоїла виробництво багатьох виробів авіаційної техніки i накопичила значний досвід у виробництві високонадiйних, технiчно-складних, наукоємних виробів оборонної продукції, громадського призначення та народного споживання.

Компанія має весь необхідний комплект технологічного обладнання для виконання операцій з металообробки, холодної та гарячої штамповки металовиробів, лиття чорних та кольорових металів i сплавів, переробки пластмас, зварювання, нанесення гальванічних покриттів, деревообробки, виконання електромонтажних та складальних робіт.

Головними нагородами та дипломами компанії “Артем” є: орден “Трудового червоного знамені” за успішне освоєння нової техніки (1972р.); Почесна відзнака Міжнародної Академії бізнесу та управління “Факел Бiрмiнгема” за успіхи в складних економічних умовах (1995р.); диплом учасника альманаху “Золота книга підприємництва України” (2000р.); диплом національного інформаційного видання “Золота книга ділової еліти України” за участь в міжнародному Форумі економічного співробітництва (2000р.); диплом переможця Міжнародного рейтингу популярності і якості “Золота Фортуна” за трудові досягнення (2001р.); почесний приз переможця відкритого рейтингу “100 найкращих підприємств м. Києва” (2002р).

За результатами комплексного рейтингового аналізу соціально-економічної діяльності підприємств і організацій авіаційної промисловості України за 2005 рік дочірнє підприємство холдингу “Машинобудівна фірма “Артем” зайняла перше місце, а сама ДАХК “Артем” посіла четверте місце, пропустивши вперед ВАТ “МОТОР-СІЧ” та Київський завод № 410.

Державна акціонерна холдингова компанія “Артем” виготовляє:

. Авiацiйнi керовані ракети класу “повiтря-повiтря”.

. Автоматизовані комплекси “Гурт” для підготовки та технічного обслуговування усіх видів керованих засобів ураження.

. Пускові пристрої для закріплення, транспортування та пуску ракет.

. Балкові утримувачі для транспортування контейнерів, паливних баків для всіх видів авіаційних літальних апаратів.

. Замки гальмових парашутів для швидкісних літаків.

. Автомати постановки перешкод для захисту літаків та гелікоптерів від ураження ракетами.

. Авiацiйнi електромеханiзми, електродвигуни постійного струму, прилади управління.

. Електромагнітні контактори струмом від 10 до 1000 А, напругою 27 В.

. Електропилососи “Артем” та “Супер” потужністю до 1200 Вт. Пилососи “Артем" мають змінні пакети для сміття.

. Iнвалiднi крісла призначені для пересування людей з втраченою функцією опорно-рухомого апарату в приміщеннях та на дорогах з твердим покриттям. Модельний ряд складають побутові, важільні та коляски активного типу.

. Зварювальні напівавтомати з робочою напругою 220 та 380 В. В комплект напівавтомата входять: подаючий механізм, пульт управління, пальник, газова апаратура.

. Автотракторне електрообладнання: вимикач маси, показники повороту та інше.

. Камера зональної декомпресії КЗДМ-АК-4 призначена для проведення фізіотерапевтичної процедури шляхом подачі пульсуючого від’ємного тиску разом з магнітним полем в область малого тазу, а також верхніх i нижніх кінцівок, що забезпечує зростання рівня обмінних процесів в організмі, нормалізує білковий та електронний баланс, гемодiнамiчнi показники, сприяє ліквідації очагiв захворювання, заважає новоутворенням.

. Столярні вироби: кухні, двері різної конфігурації, стільці та iншi меблі. Віконні грати. Поручні для сходів та балконів. Шафи для спецодягу. Двері, ворота, огорожі.

. Склоочисники для тролейбусів.

. Рiзноманiтнi ущільнювальні сантехнічні прокладки з резини i пластмас.

. Торгове i складське обладнання.

. Турнікети, шлагбауми.

. Контейнери для сміття. Контейнер може бути встановлений в міській зоні: на пішохідних тротуарах, у підземних переходах, в магазинах, на території парків i скверів, на зупинках міського транспорту, в аеропортах та вокзалах.

. Деталі світлофорів нової конструкції.

Технологічні можливості ДАХК “Артем”:

Обробка титанових сплавів і авіаційних сталей;

Зварювання титанових сплавів;

Точне штампування на пресах з швидкістю до 60 шт./хв.;

Швидкісне штампування на пресах з швидкістю до 600 шт./хв.;

Точний лазерний розкрій листових матеріалів на машині розкрою з розмірами заготівки 8х1350х2500;

Точна по елементна вирубка на діропробивному пресі з розмірами заготівки 3,9х1000х2000;

Електроерозійна обробка точних штампів і прес-форм на верстатах з габаритами заготівки 400х700х700;

Точна обробка деталей на оброблювальних центрах;

Вимірювання геометричних параметрів виробів на координатно-вимірювальній машині МР8-502;

Автоматизована система конструкторської розробки і підготовки з пакетом програмного забезпечення;

Ротаційне видавлювання тонкостінних деталей з алюмінієвих сплавів і неіржавіючих сталей довжиною до 1200 мм;

Термообробка конструкційних, неіржавіючих і інструментальних сталей у вакуумі, захисній атмосфер;

Хіміко-термічна обробка;

Нанесення полімерних порошкових покриттів в електростатичному полі;

Зміцнення і відпал кольорових сплавів;

Відливка деталей із сталі, алюмінієвих і магнієвих сплавів;

Переробка пластмас;

Термовакуумформуваняя полімерних матеріалів;

Екструзія пластмасових шлангів і рукавів;

Холодне і гаряче штампування на пресах з потужністю від 16 до 4000 т;

Вільне кування на молотах 450 і 1000 кг;

Деревообробка;

Сучасна випробувальна база.

Рисунок 2.1 - Організаційна структура ДАХК «Артем»

2.2 Організаційна структура відділу організації праці й заробітної плати та його штатний розклад

Рисунок 2.2 - Організаційна структура відділу праці й заробітної плати

Таблиця 2.1 - Штатний розклад інженерно-технічних робітників та службовців відділу праці й заробітної плати техніко-нормувального бюро

ОПіЗ

Посада

Кількість

ЗП

ФЗП міс., грн

ФЗП рік., грн

Начальник відділу

1

1363

1859,13

22309,58

Инженер-нормувальник

6

889

7275,58

87306,91

Усього

7

2252

9134,71

109616,49


2.3 Нормування робіт на металорізальних верстатах

Основна частина робіт у машинобудуванні виконується на металорізальних верстатах. Впровадження прогресивної технології у виробництво заготівель (порошкова металургія, профільний прокат, точне лиття й штампування) дозволяє істотно скоротити обсяг верстатних робіт, однак вони й зараз ще мають велику питому вагу й, безумовно, будуть широко застосовуватися в найближчому майбутньому. Більша диференціація технологічного процесу на верстатних роботах і широке впровадження новітнього встаткування (верстатів зі ЧПУ, роботизованних комплексів, технологічних центрів і т.п. аж до повної автоматизації технологічного процесу) вимагають особливо високої точності визначення витрат часу як на окремі елементи операції, так і на операцію в цілому.

Методичні основи нормування праці єдині й, власне кажучи, майже не залежать від виду виготовленої продукції. Тому первісне й більше докладне вивчення нормування робіт, виконуваних на металорізальних верстатах, створює базу для вивчення нормування інших видів робіт, що є цілком доцільним.

Нормування верстатної операції майже у всіх випадках починається з визначення оптимального режиму різання й розрахунку основного (машинного) часу.

2.3.1 Методика розрахунку основного (машинного) часу на верстатну операцію

Розрахунок основного машинного часу виконується по прийнятому режимі різання з урахуванням застосовуваного встаткування й інструмента по формулі механіки: Час = Шлях/Швидкість. Безпосереднє застосування цієї формули для розрахунку машинного часу припускає знання кінематики застосовуваного встаткування.

В автоматизованих процесах час на допоміжні елементи операції, власне кажучи, також час машинне з тим лише розходженням, що цей час визначається на стадії проектування верстата, технологічного процесу або додаткового встаткування (наприклад, робота). Таким чином, при нормуванні робіт в автоматизованому виробництві роботи конструктора, технолога й нормувальника перебувають у безперервному динамічному зв'язку.

При визначенні режимів різання необхідно враховувати, що поряд з високою продуктивністю повинне бути забезпечене висока якість, дотримання цієї вимоги в багатьох випадках викликає необхідність експериментальної перевірки запроектованого режиму роботи.

Металорізальні верстати досить різноманітні, однак для цілей технічного нормування припустимо розділити їх на дві групи: верстати з обертовим рухом різання й верстати зі зворотно-поступальним рухом різання.

Для першої групи верстатів необхідно знати наступні залежності процесу різання: швидкість різання, м/хв, v = πDn/1000, звідки частота обертання, хв-1 (про/хв) n = 1000 v/πD, де D - найбільший діаметр, на якому відбувається процес різання, мм.

Для другої групи верстатів варто враховувати, що робітник хід верстата чергується з допоміжним (зворотним) ходом, причому залежно від конструкції механізму верстата, що перетворить обертовий рух у зворотно-поступальне, швидкості робочого й допоміжного ходів можуть бути не рівні. Позначимо т відношення швидкості робочого ходу vp.x до швидкості допоміжного ходу, тоді число подвійних ходів у хвилину

= 1000 vp.x /[L(1 + т)], (2.1)

де L - величина переміщення інструмента або деталі в напрямку руху різання за один хід, мм.

Для здійснення процесу різання необхідно також рух подачі, тобто підведення до ріжучої крайки інструмента нових шарів оброблюваного матеріалу. Подача може мати різні розмірності:

а) подача в мм/про або мм/дв. хід s;

б) подача на зуб у мм/зуб sz = s/z, де z - число ріжучих елементів (зубів) інструмента;

в) подача хвилинна в мм/хв (швидкість подачі) s = szzn.

Розглянемо формулу для розрахунку основного (машинного) часу, хв, у загальному виді, тобто придатну для більшості верстатів:

Т0 = [L/(ns)] (h/t) = [(l+l1+l2)/(ns)] i ,(2.2)

де h - припуск на обробку (для даного переходу), мм; t - глибина різання, мм, тобто товщина шаруючи матеріалу, що зрізує за один прохід; l- розмір оброблюваної поверхні в напрямку подачі; для конкретної операції, при одноинструментной обробці l - величина постійна, обумовлена по кресленню деталі; l1 - врізання й перебіг інструмента; у більшості випадків l1 порівняно невелико, хоча бувають і виключення, наприклад при малій величині l або великій величині t (зубофрезерование, чистова обробка торцевою фрезою); l2 - додаткова довжина на узяття пробної стружки; звичайно l2 = 12...15 мм, при налагодженні верстата, що забезпечує одержання необхідного розміру, l2 = 0; i - число проходів; найбільше доцільно працювати в один прохід, тобто коли t = h, що намагаються виконати шляхом вибору способу одержання заготівлі, що забезпечує мінімальний припуск на обробку (у всіх випадках, коли це не буде обговорено особливо, у розрахунках приймається i = 1).

З формули для визначення машинного часу видно, що L, тобто повний шлях інструмента або деталі в напрямку подачі для конкретного переходу - величина постійна. Мінімальна величина машинного часу досягається при оптимальному співвідношенні п й S, коли хвилинна подача, мм/хв, s = sn буде максимальною. Збільшення подачі вимагає зниження швидкості різання, тобто зменшення п, але в незначному ступені. Отже, зі збільшенням s добуток sn збільшується.

Сформулюємо основні критерії оптимального визначення режиму різання:

по можливості працювати в один прохід, тобто при t = h;

працювати з можливо більшою подачею на оберт s, забезпечуючи необхідні технічними умовами шорсткість обробленої поверхні й точність одержуваних розмірів і форми деталі;

установлювати оптимальну швидкість різання після вибору глибини різання t і подачі s залежно від властивостей оброблюваного матеріалу, властивостей матеріалу ріжучої частини інструмента і його економічної коштуй кості, тобто часу роботи без переточування при встановленій величині припустимого зношування ріжучої крайки інструмента.

При коректуванні розрахункового режиму різання по паспорту верстата необхідно розрізняти два випадки:. Верстат, на якому буде виконуватися нормована операція, відомий. У цьому випадку необхідно перевірити можливість роботи на розрахунковому режимі різання: по потужності верстата з обліком його КПД, по величині діючих сил і по крутному моменті, а також уточнити частоту обертання або число подвійних ходів у хвилину й величину подачі.. Якщо при розрахунку норми є можливість вибору встаткування, то його варто підбирати по пари метрам, зазначеним у першому випадку, з урахуванням припустимих розмірів деталі, різального інструменту й проектованого пристосування.

Нормування машинного часу проводиться в наступному порядку:

. Визначення всіх параметрів різального інструменту (типорозміру, матеріалу ріжучої частини, геометричних параметрів і т.п.).

. Послідовне визначення елементів режиму різання: глибини різання (числа проходів), максимально припустимої подачі, швидкості різання (з обліком нормативної або необхідної стійкості різального інструменту), а також твердості системи верстат - пристосування - інструмент - деталь.

. Визначення діючих (при встановлених елементах режиму різання) сил і моментів і зіставлення їх із припустимими силами й моментами за умовами забезпечення нормальної експлуатації верстата, необхідної точності розмірів і припустимої шорсткості обробленої поверхні, а іноді й по твердості й міцності інструмента й всієї системи верстат - пристосування - інструмент - деталь.

. Перевірка режиму різання по питомої потужності в зіставленні з ефективною потужністю верстата, уточнення величини подачі й частоти обертання (числа подвійних ходів).

. Розрахунок основного (машинного) часу за формулою, що відповідає змісту операції.

Стосовно до різних видів устаткування розрахунок машинного часу наведений нижче.

2.3.2 Нормування токарських робіт

На токарських верстатах виконують різноманітні операції по обробці деталей, поверхні яких є тілами обертання; обробку зовнішніх і внутрішніх циліндричних і конічних поверхонь; торцевих поверхонь (поперечне гостріння); обробку канавок, виточень, фасок і т.п.; нарізування різьблення різцем і гребінками; обробку тіл обертання із криволінійними утворюючими із застосуванням копірувальних пристроїв або фасонних різців; обробку деталей з використанням гнізда задньої бабки для установки інструмента (свердління, зенкерцування, зенкування і розгортання); нарізування різьблення мітчиками й плашками. До числа токарських робіт відносять також накочування рифлень, хоча, власне кажучи, це обробка тиском.

Розглянемо нормування токарських робіт докладніше для того, щоб нормування інших робіт розглядати в зіставленні з нормуванням токарських робіт.

Вихідними даними, що роблять вплив на норму часу й фактичні витрати робочого часу на операцію, є:

) матеріал оброблюваної деталі, його основна характеристика, спосіб одержання заготівлі, тобто стан оброблюваної поверхні;

) розміри оброблюваних поверхонь (з урахуванням допусків), розміри після обробки, необхідна точність і припустима шорсткість обробленої поверхні;

) маса оброблюваної деталі;

) розмір технологічної партії;

) застосовуване встаткування (основні відомості з паспорта верстата, якщо верстат заданий), передбачувані ріжучі й вимірювальний інструменти;

) передбачуваний спосіб установки й закріплення деталі, конструкція пристосування, спосіб базування, забезпечення точності установки (з вивіркою або без вивірки), спосіб закріплення й відкріплення; для деталей, установлених за допомогою спеціальних пристроїв;

) планування робочого місця;

) порядок обслуговування робочого місця: забезпечення заготівлями, необхідною документацією, інструментами й пристосуваннями; забезпечення налагодження, підналагодження й ремонту верстата й т.п.

Всі перераховані дані в тім або іншому ступені впливають на проектовану структуру операції й витрати робочого часу, особливо при використанні механізованих й автоматизованих видів устаткування (роботи, багатоцільові верстати, технологічні комплекси й т.п.).

Розрахунок норми часу здійснюється в наступному порядку.

. Нормування основного (машинного) часу. Визначення основних параметрів різального інструменту (якщо вони не задані); визначення по нормативах режимів різання; глибини різання (числа проходів), подачі, швидкості різання, що діють сил різання й питомої потужності; вибір устаткування (якщо воно не задано), коректування нормативного режиму різання по динамічним і кінематичним даним верстата; розрахунок основного (машинного) часу.

. Нормування допоміжного часу. Допоміжний час нормують по наступних елементах або комплексам прийомів: час на установку й зняття деталі; час, пов'язане з переходом (комплекс прийомів); час на прийоми, що не ввійшли в комплекс; час на виміри (контроль остаточних розмірів). Всі ці дані необхідні й при розробці програми для верстатів зі ЧПУ.

Нормативи допоміжного часу на установку й зняття деталі в загально-машинобудівних нормативах охоплюють типові способи установки, вивірки й кріплення деталі незалежно від виду верстатів. У цей комплекс включений також час на пуск і зупинку верстата. Додатковим прийомом є установка деталей понад однієї (при роботі на багатомісних пристосуваннях). У комплекс включений також час на очищення пристосування від стружки. Основними враховувати нормативами, що, факторами є:

маса й габаритні розміри деталі;

пристрій, застосовуваний як для установки, так і для закріплення деталі;

стан настановної поверхні (бази) і потреба у вивірці точності установки.

В інших загально-машинобудівних нормативах норми на установку й зняття деталі мають інший зміст. Зокрема враховують тип й основні параметри верстата, але не враховують час на його включення й вимикання, на очищення пристосування від стружки, тому що ці прийоми нормуються окремо й включені під час, пов'язане з переходом.

Нормативи допоміжного часу, пов'язаного з переходом, розроблені з урахуванням типу верстата й містять час на складний комплекс прийомів, що регулярно повторюються при виконанні переходу (або обробці однієї поверхні).

Нормативи допоміжного часу на вимір передбачають контрольні виміри після обробки; всі проміжні виміри в процесі обробки враховані в часі, пов'язаному з переходом. Час на вимір залежить від вимірюваного розміру й застосовуваного вимірювального інструмента. Вибір вимірювального інструмента вимагає особливої уваги при розробці технологічного процесу, тому що він безпосередньо пов'язаний із забезпеченням якості роботи, усуненням причин шлюбу.

Необхідно також ураховувати рекомендує періодичність, що, вимірів, з урахуванням форми поверхні, виду обробки, квалітету точності й способу установки на розмір. У всіх випадках, коли передбачається виконання контрольних вимірів, що перекривають основною роботою верстата, необхідне зіставлення вільного машинного часу із часом на вимір, тобто час виміру повинне бути менше машинного вільного часу.

У загально-машинобудівних нормативах передбачений поправочний коефіцієнт на сумарний допоміжний час залежно від сумарної тривалості обробки партії деталей (у змінах), так званий коефіцієнт серійності . Якщо при встановленні норми часу відома кількість деталей у партії, то спочатку визначають допоміжний час, а потім розраховують орієнтовну сумарну тривалість обробки партії деталей. Для цього суму основного й допоміжного часу множать на розмір партії й ділять на 480хв (змінний фонд робочого часу). Отриманий результат дозволяє визначити по карті нормативів коефіцієнт серійності.

. Нормування часу на обслуговування робочого місця. В умовах серійного виробництва цей час виражають у відсотках від оперативного часу з урахуванням групи верстата по найбільшому діаметрі деталі, установлюваної над станиною верстата.

. Нормування часу перерв на відпочинок й особисті потреби виконавця. Цю категорію витрат робочого часу визначають у відсотках від оперативного часу незалежно від типу верстата з урахуванням характеру подачі: при механічній подачі - незалежно від маси деталі, при ручній подачі - з урахуванням загальної тривалості операції й маси деталі, при роботі на оправленні - з урахуванням маси оправлення.

. Нормування підготовчо-заключного часу (на партію деталей). Цей час розраховують із урахуванням групи верстата (по найбільшому діаметрі деталі, установлюваної над станиною) по елементах.. На налагодження верстата, інструмента й пристосування - залежно від типу пристосування й кількості інструментів у налагодженні;. На одержання інструмента, пристосувань до початку обробки й здачу їх після закінчення; цей час за умови централізованої системи обслуговування робочого місця в норму не включають; у противному випадку воно передбачено в нормативах, без обліку конкретних умов тривалістю 7-10хв;. На додаткові прийоми, пов'язані зі змістом операції.

При нормуванні робіт на верстатах зі ЧПУ зміст підготовчо-заключного часу істотно змінюється як по найменуванню прийомів, так і по тривалості. У цих випадках як наладчик, так і нормувальник повинні мати у своєму розпорядженні необхідні довідкові матеріали (технічними паспортами, інструктивними картами налагодження й т.п.).

. Після визначення всіх названих вище витрат робочого часу визначають штучний час Тш і норму часу на партію деталей або норму штучно-калькуляційного часу.

За умови, якщо за одну установку обробляють кілька деталей, рекомендується весь розрахунок вести на настановну партію, тобто на операцію, а штучний час на одну деталь визначати наприкінці розрахунку розподілом часу на операцію на розмір настановної партії.

праця нормування програмний забезпечення

2.3.3 Методика нормування токарської операції

Вихідні дані: деталь - диск із отвором й однобічною втулкою; довжина l = а = 85мм, маса 3,5кг. Заготівля - виливок із чистою кіркою із чавуну СЧ 32-52. Діаметр заготівлі зовнішній D = 200мм; діаметр отвору d0 = 60мм; припуск по торці h = 2,5мм; діаметр отвору після обробки d = 62мм. Орієнтовно приймаємо тривалість обробки партії деталей - одна зміна.

Зміст операції: обточити торець диска із припустимою шорсткістю обробленої поверхні Rz = 20мкм і розточити отвір по квалітеті I79. Ескізи налагоджень наведені на малюнках 1 й 2.

Устаткування: верстат токарно-гвинторізний 16ДО20, потужність 10квт.

Пристосування - патрон, що самоцентрує, кріплення - ключем.

Різальний інструмент: для гостріння торця - різець токарський прямої прохідної із пластинкою із твердого сплаву ВК6; для верстата 16ДО20 - перетин державки різця 25×25мм; геометричні параметри різця: форма перед нею поверхні плоска, кут φ = 45°, радіус округлення вершини різця r=1мм; для розточування отвору - різець розточувальної із пластинкою із твердого сплаву ВК6, φ = 60°, r = 1мм.

Вимірювальний інструмент: при обточуванні торця не застосовується (обточування без розміру), при розточуванні - калібр-пробка.

Рисунок 2.3 - Схема обробки для першого переходу - обточування торця

Рисунок 2.4 - Схема обробки для другого переходу - розточування отвору

Визначення режиму різання:

. Для першого переходу - обточування торця.

Глибина різання виходячи з умови обробки в один прохід t=h=2,5мм. Подача для параметра шорсткості Rz = 20мкм при радіусі округлення вершини різця r = 1мм, s до 0,4мм/про.

Швидкість різання при обробці чавуну СЧ 32-52, що ставиться до другої групи твердості по Бринеллю, при t до 4мм, s до 0,42мм/про, при поперечному гострінні для d0/D = 60/200 = 0,3 при куті φ = 45°, v = 116м/хв. При обробці по ливарній кірці Khv = 0,85. Тоді vр = vKhv =116×0,85=98,6м/хв.

Потужність, питома на різання, при t до 2,8мм, s до 0,47мм/про, v до 100м/хв Na = 2квт, що менше ефективної потужності верстата = Nη = 10?0,78 = 7,8квт.

Частота обертання:

= 1000 vр/(πD)(2.3)

n = 1000×98,6/(?200) = 157про/хв.

Коректуємо режим різання по паспорті верстата 16ДО20: s=0,39мм/про, п = 160про/хв.

. Для другого переходу - розточування отвору. Глибина різання t = (d-d0)/2 = (62-60)/2 = 1мм.

Подача при Ra = 2,5мкм, s до 0,20мм/про. При чистовій обробці перевірка режиму різання по потужності верстата й допустимості діючих сил не обов'язкова. Швидкість різання v до 110м/хв. Для попередньо обробленого отвору Khv = 1 Частота обертання п = 1000 v/(πd) = 1000×110/ (62π) = 565про/хв. Коректуємо по паспорті верстата: s=0,19мм/про, п = 530про/хв.

Розрахунок основного часу:

. Для першого переходу - обточування торця.

Довжина обробки l' = (D - d0)/2 = (200-60)/2 = 70мм. Величина врізання й перебігу при глибині різання t до 4мм і куті φ = 45°, l1 = 6мм.

Основний час:

Т01 = (l' + l1/(n×s)(2.4)

Т01 = (70 + 6)/(160×0,39) = 1,22хв.

. Для другого переходу - розточування отвору.

Величина врізання й перебігу l1 = 2мм, довжина на узяття пробної стружки 12 = 5мм.

Основний час:

Т02=(l + l1 + l2)/(n×s)(2.5)

Т02=(85+2+5)/(530×0,19)=0,91хв.

Основний час на операцію:

Т0 = Т01 + Т02(2.6)

Т0 = 1,22 + 0,91 = 2,13хв.

Розрахунок допоміжного часу:

Щодо нормативів, поправочний коефіцієнт на допоміжний час залежно від серійності роботи (середні верстати, сумарна тривалість обробки партії деталей 0,51-1 зміна) Kt = 1,15.

Допоміжний час на установку й зняття деталі в патроні, кріплення ключем без вивірки при масі деталі до 5кг tв. вуст = 0,37.

. Час на прохід:

а) при поперечному гострінні з установкою інструмента по лімбі, на верстаті з найбільшим діаметром виробу, встановленого над станиною верстата - 400мм tв.пер1= 0.20хв;

б) при поздовжнім гострінні з узяттям пробних стружок (квалітет IT9, вимірюваний діаметр до 100мм) tв.пер2 = 0,55хв.

Разом tв.пер= 0,20 + 0,55 = 0,75хв.

. Час на прийоми, що не ввійшли в комплекси:

а) закрити або відкрити щиток огородження від стружки (2 рази)щитка= 0,03×2 = 0,06хв (тільки для першого переходу, тому що при роботі із пробними стружками щиток звичайно не закривають);

б) змінити частоту обертання шпинделя (2 рази)в.доп1= 0,08×2 = 0,16хв;

в) змінити величину подачі (2 рази)в.доп2 = 0,07x×2 = 0,14хв;

г) перемінити різець поворотом резцовой головки (2 рази)в.доп3 = 0,07×2 = 0,14хв.

Разом tв.доп = 0,06 + 0,16 + 0,14 + 0,14 = 0,5хв.

У даному розрахунку передбачається, що час на контрольні виміри що перекриває, тобто в норму не включається. Періодичність контрольних вимірів при роботі із пробними стружками дорівнює 1, тобто вимірюють кожну деталь. Допоміжний час на вимір калібром-пробкою - по квалітеті IT9, діаметр до 100мм, довжина до двох діаметрів, t.изм = 0,27хв, по першому переході вимір не передбачений. Таким чином, t.изм набагато менше оперативного часу кожного з переходів, а виходить, воно що перекриває.

Сумарний допоміжний час на операцію:

ТВ = tв.вуст + tв.пер + tв.доп(2.7)

ТВ = 0,37+0,75+0,50 = 1,62хв.

З урахуванням коефіцієнта змінності:В = 1,62 × 1,15 = 1,86хв.

Розрахунок штучного часу:

Час на обслуговування робочого місця аобс = 4%. Час на відпочинок й особисті потреби (подача механічна) аотл = 4%.

Штучний час:

Тш = (Т0 + TBKtВ)×[1+ (аобc+ аотл)/100](2.8)

Тш = (2,13 + 1,86) [1+(4+4)/100]=4,31хв.

Розрахунок штучно-калькуляційного часу:

Підготовчо-заключний час на налагодження верстата, інструмента й пристосування ТПЗ = 14хв. Витрати на одержання й здачу інструмента не плануються, додаткових прийомів немає.

Штучно-калькуляційний час:

ТШК = Тш + Тпз/n(2.9)

де п - кількість деталей у партії. За умови, що час обробки партії дорівнює одній зміні (Тсм = 480хв), визначимо максимальний відповідний розмір партії:

= (Тсм - ТПЗ)/Тш(2.10)

п = (480-14)/4,31 = 108шт.

Приймемо п = 100шт.

Тоді час на партію:

Тпартии = Тш п + Таз(2.11)

Тпартии = 4,31×100+14 = 445хв.

Час штучно-калькуляційний:

Тшк = Tпарти /n - 445/100 = 4,45хв.

Виконання даної операції можливо також в інших варіантах, наприклад, можна виділити другий перехід (розточування) в окрему операцію. З погляду нормування це доцільно, тому що забезпечить економію сумарного допоміжного часу. Для окремої операції «обточування торця» допоміжний час

ТВ1 = tв.вуст + tв.пер1 + tв.щитка = 0,37 + 0,20 + 0,06 = 0,63хв.

Додатково виникає необхідність у другій установці й знятті деталі (ТВ.вуст = 0,37хв), але допоміжний час, пов'язане з переходом, скоротиться в обох операціях і можна проектувати виконання операції розточування різцем, установленим на розмір tв.пер2 = 0.12хв. Також скорочується час на прийоми, що не ввійшли в комплекси з 0,50 до 0,06 хв на прийом «закрити або відкрити щиток огородження від стружки». Загальне зменшення допоміжного часу з обліком другої установки деталі складе (0,55-0,12) + (0,50-0,06) - 0,37 = 0,40хв.

З погляду технологічних вимог такий варіант обробки доцільний тільки за умови, що обробка у дві установки можлива з урахуванням допуску на неперпендикулярність торцевої поверхні диска з віссю отвору. Виконання обох переходів в одну операцію, тобто одну установку, щодо цього більш доцільно.

Можливий варіант обробки в одну операцію, за одну установку, у два переходи, але не на токарському, а на токарно-револьверному верстаті із застосуванням для обробки отвору однорозмірних інструментів - зенкера або різцовой головки. У доцільності такого варіанта можна переконатися шляхом самостійних розрахунків.

2.4 Нормування слюсарних робіт

Слюсарні роботи в основному являють собою холодну обробку металів різанням, виконувану ручним або механізованим способом. Залежно від призначення слюсарні роботи можуть підрозділятися на слюсарно-заготівельні (виправлення, розмітка, різання матеріалу, зачищення заусенцев й ін.); слюсарно-інструментальні (доведення поверхні, вирубка, опіловка, шабрування поверхні); слюсарно-складальні (свердління, нарізування різьблення, зняття фасок, змазування, притирання й ін.).

Технічна норма часу на слюсарні роботи встановлюється на основі нормативів аналітично-розрахунковим методом. При відсутності розроблених нормативів в особливо специфічних умовах виробництва застосовується аналітично-дослідницький метод, при якому встановлюється хронометражна норма на слюсарну роботу, виконувану безпосередньо на даному робочому місці. При розрахунках норми штучного часу на слюсарні роботи в умовах дрібносерійного й одиничного виробництва виходять із розчленовування операції на два укрупнених комплекси: комплекс прийомів на деталь і комплекс прийомів, пов'язаних з операцією.

Перший комплекс включає час, зв'язаний зі способом установки й зняттям деталі (взяти, установити, закріпити, кантувати, відкріпити, відкласти деталь і т.д.). У другий комплекс входить як основний час обробки (роботи), так і час (допоміжне), затрачуване на дії з інструментом (взяти й відкласти інструмент, перемістити його до робочої крапки й т.д.). Сумарний час на виконання цих двох комплексів становить оперативний час Топ, що не підрозділяється на основне й допоміжне.

Норма штучного часу на слюсарні роботи:

Тш = Тов (1 + ДО/100),(2.12)

де ДО - сумарний час на обслуговування робочого місця, відпочинок й особисті потреби, % від оперативного часу, що визначається по відповідних нормативах залежно від виду робіт і типу виробництва з урахуванням поправочних коефіцієнтів (див. приклади рас чету).

Порядок нормування слюсарних робіт зводиться до наступного:

) вибір нормативів і карти норм виробітку для нормування залежно від типу виробництва, де здійснюється робота;

) аналіз фактично заданих умов роботи й прийнятих у нормативах (виявлення необхідності коректування й числа поправочних коефіцієнтів);

) усунення недоліків в організації робочого місця;

) визначення поправочних коефіцієнтів на фактичні умови роботи;

) визначення по нормативній карті нормованого часу;

) визначення розрахункового часу (оперативного);

) визначення часу на обслуговування робочого місця, відпочинок й особисті потреби по відповідній нормативній карті. У випадку укрупненого нормування цей час включається в табличний час на комплекс прийомів або операцію й окремо не визначається;

) розрахунок норми штучного часу на слюсарну операцію (див. приклади розрахунку);

) визначення підготовчо-заключного часу й при виготовленні партії деталей штучно-калькуляційного часу; якщо цей час включається до складу норми штучного часу, то воно задається відсотком від оперативного часу.

2.4.1 Методика розрахунку норм часу різання металу

Різання аркуша на смуги або розкрій смуги на окремі деталі звичайно виконуються на гільйотинних ножицях. Нормування цих операцій має наступні особливості:

. Різання виконується за один робітник хід устаткування незалежно від довжини різу.

. Основний час t0 залежить від конструктивних особливостей муфти включення ножиців.

. При розрахунку норми штучного часу оперативний час по нормативах треба ділити на число заготівель (деталей) q, одержуваних з аркуша (смуги).

. Норму штучного часу розраховують за формулою:

(2.13)

. Порядок розрахунку визначається структурою застосовуваних нормативів ступенем їхнього укрупнення. Пояснимо це на прикладі:

Вихідні дані: матеріал заготівель - вуглеродиста сталь, габарити аркуша: h = 0,8мм, В = 1250мм, L = 2500мм; габарити смуг (заготівель) 0,8×1250×400мм. Різання сталевого аркуша й смуг здійснюється із кроком аркуша b = 400мм, довжина різу 1250мм. Різання по упорі. Устаткування - гильотинні ножиці ИГ-474 із числом ходів ножа у хвилину 65. Партія заготівель 600 шт.

Порядок розрахунку:

. Використовуючи нормативи, знаходимо потрібну карту, що відповідає умовам роботи. Порівнюємо розрахунковий зміст роботи з фактичним, котре включає наступні переходи: установити упор на заданий раз мер (на партію заготівель), взяти аркуш, подать його на роликовий конвеєр устаткування, просунути до упору, різати аркуш на заготівлі, відкласти заготівлі й відходи.

. По карті визначаємо нормативний час на одну детальН = 0,67хв (при L до 1800мм, У до 450мм, h до 3мм).

. Визначаємо поправочні коефіцієнти: виправлень на метал і вид роботи ні, тому що умови приклада відповідають розрахунковим; поправочний коефіцієнт на число заготівель, одержуваних з аркуша= L/b = 2500/400 ≈ 6 заготівель , K1 = 0,9 (при q до 25 заготівель); поправочний коефіцієнт на партію деталей ДО2 = 0,85 при N понад 500шт.

Поправочний коефіцієнт на число ходів ножа ДО3 = 0,95 (при числі ходів у хвилину більше 20).

. Визначаємо норму штучного часу на заготівлю:

Тш = tн K1 K2 K3 (2.15)

Тш = 0,67×0,9?0.85?0,95 = 0,487хв.

Підготовчо-заключний час на різання на гильотинних ножицях становить 4% від штучного, тоді штучний калькуляційний час на заготівлю складе:

Тшк = 1,04 Тш = 1,04×0,487 = 0,506хв.

2.5 Нормування складальних робіт

Технологічний процес зборки являє собою сукупність операцій по з'єднанню деталей у певній конструктивній послідовності з метою одержання готової машини або механізму необхідної якості.

Зборка є заключною стадією загального процесу виробництва машин і механізмів, тому вона багато в чому визначає їхню якість. Підвищення якості машинобудівної продукції нерозривно пов'язане з нормуванням й організацією праці робочих складальних цехів і ділянок. З погляду технології складальний процес може бути неоднорідним і включати слюсарні й монтажні роботи. При цьому можуть мати місце роботи, пов'язані з розбиранням вироби (після перевірки, обкатування й т.д.). Ці роботи нормуються з обліком нормативного поправочного коефіцієнта щодо часу зборки.

При нормуванні границею розділу технологічного процесу зборки звичайно служить складальна одиниця, тобто комплект, що зберігається, переміщається й подається на подальшу зборку (з одного робочого місця на інше) як єдине ціле. Виходячи із цього, під складальною операцією розуміється закінчена частина технологічного процесу, обмежена роботою над однією складальною одиницею на одному робочому місці. Розчленовування операції є необхідною умовою нормування й вивчення ручної праці. На практиці при утворенні розрахункових комплексів прийомів часто керуються тією диференціацією, що прийнята в загальмашинобудівних нормативах часу, але при цьому враховують форму організації праці на робочому місці й вимоги НОТ. Для фактичних умов роботи відрізняющихся від нормативних, варто використати поправочні коефіцієнти на змінені умови роботи. Наприклад, при установці й кріпленні вузлів у стиснутих умовах (усередині виробу й т.п.) поправочний коефіцієнт до оперативного часу дорівнює 1,2.

2.5.1 Умови, що враховують при нормуванні праці робітників-відрядників

1. Технологічний процес зборки розробляється не для однієї деталі, а для двох і більше взаємосопрягаємих деталей, тому нормувальник повинен уміти читати складальні креслення (по них визначати складальну базову одиницю) і всю інформацію, необхідну для розрахунку норми часу (розмір і маса деталей, технічні умови зборки й т.д.), контролювати її відповідність із технологічної (інструкційної) картою, зборки, щоб уникнути пропуску в розрахунках окремих прийомів роботи й перекручування аналізу умов праці.

. У слюсарно-складальних роботах трудові прийоми, як основні (з'єднання деталей або зміна розміру або форми), так і допоміжні (переміщення деталі в робочій зоні, узяття інструмента й ін.), є ручними, тому при нормуванні оперативний час не підрозділяється на основне й допоміжне (у випадку автоматичної зборки виділяються прийоми, пов'язані з установкою базової деталі, і визначається неповний оперативний час).

. Відповідно до вимог НОТ при нормуванні слюсарно-складальних робіт виходять із оптимальних методів і прийомів, які здійснюються шляхом не перериваних рухів і без раптових змін їхнього напрямку й навантаження. Крім того, вони дозволяють виконувати роботу двома руками одночасно й симетричними рухами; за допомогою механізованого інструмента (більше зроблених знарядь праці); вони сприяють зменшенню зони трудових рухів і зниженню фізичних зусиль робітника; активному сприйняттю роботи навколишнього середовища (наприклад, відомо, що органи слуху менш піддані утоми, чим ока, тому оптимальним може бути метод зборки із застосуванням акустичних приладів); виключають або знижують монотонність праці, що досягається чергуванням навантаження на окремі органи людини. Виконуються ці прийоми в умовах, коли на робочому місці дотримується сталість у розміщенні предметів, що дозволяє досягти стабільної спрямованості рухів робітника, синхронності в роботі, що підвищує навички й увагу робітника, поліпшує якість зборки.

Норми часу, установлені на слюсарно-складальні операції з обліком застосування зазначених вище оптимальних методів роботи й трудових прийомів, є прогресивними й сприяють росту продуктивності праці й зниженню стомлюваності людини в процесі робіт.

. Вибір методів і способу нормування слюсарно-складальних робіт роблять залежно від того, з яким ступенем точності й обґрунтованості повинна бути встановлена норма. При цьому враховують тип виробництва, у якому виконується робота.

В умовах масового й багатосерійного виробництва при спеціалізованому оснащенні робочих місць, наявності детально розробленого технологічного процесу зборки (операційних, інструкційних карт і т.д.), коли на робочому місці виконуються постійно або періодично повторювані операції, використають диференційований аналітичний метод розрахунку по окремих елементах або окремих рухах (мікроелементний метод).

У складальних цехах серійного виробництва при виконанні зборки на універсальному устаткуванні або частково спеціалізованих для даного виду робіт верстатах, коли є поопераційно розроблена технологічна документація, аналітично розрахунковий метод може носити укрупнений характер, тобто розрахунки виробляються по укрупнених нормативах часу (типовим комплексам прийомів, які наведені в нормативах).

В умовах дрібносерійного й одиничного виробництва, коли зборка виконується на універсальних верстатах, застосовуваних для широкого діапазону робіт, у тому числі й слюсарних, і є лише маршрутно-технологічна карта й складальні креслення, які дозволяють робітникові за його розсудом установити порядок виконання операцій відповідно до конструкції виробу, нормування роблять по типових нормах методом порівняння або хронометражу.

При освоєнні нової техніки, технологічного процесу, нового виробництва норми часу варто встановлювати аналітично розрахунковим методом із застосуванням тимчасових поправочних коефіцієнтів.

. Якщо процес зборки розділити на операції не представляється можливим, то об'єктом нормування може бути комплекс операцій, тобто сукупний обсяг роботи зі зборки одного виробу на одній виробничій ділянці при незмінному составі виконавців. Зміст нормування слюсарно-складальних робіт багато в чому залежить від форми організації праці й застосовуваного інструмента й устаткування. Розрізняють індивідуальну й бригадну форми організації праці збирачів, що виконують зборку як на стаціонарному робочому місці (на верстаті, складальному столі, стенді й т.д.), так і на конвеєрі, що рухається.

Нормування праці при індивідуальній зборці зводиться до визначення норми штучного часу на операцію виходячи із тривалості виконання окремих трудових дій робітника в конкретних умовах виробництва. При автоматичній зборці із застосуванням промислового робота (складального автомата) норма часу встановлюється на основі паспортних дані встаткування (продуктивності) з урахуванням часу на організаційно-технічне обслуговування, відпочинок й особисті потреби робітника. Якщо оператор обслуговує одночасно кілька складальних автоматів, то встановлюється норма обслуговування.

. Ручний характер праці вимагає строгого обліку всіх трудових дій робітника, тому для цілей нормування операцію розчленовують на окремі складові частини. У трудовому розрізі розчленовування операції виробляється на основі «Базової системи мікроелементів» (комплекс прийомів, прийом, трудові дії, рухи), а в технологічному розрізі складальна операція підрозділяється на переходи, що представляють собою розрахункові комплекси технологічних елементів операції.

. Норма штучного часу на складальну операцію розраховується за формулою:

(2.16)

де m - число i-x розрахункових комплексів в операції; tпi - нормований час на виконання розрахункового комплексу прийомів; Ki - сумарний поправочний коефіцієнт i-му комплексу прийомів залежно від характеру й умов виконуваної роботи; К'-коефіцієнт, що враховує тип виробництва (число вузлів виробу, що збирають, у партії й напруженість праці).

У випадку, якщо час виконання комплексу прийомів на установку базової деталі iуст виділяється окремо, те формула норми штучного часу прийме наступний вид:

(2.17)

Порядок розрахунку норми штучного часу на складальні роботи наведений на мал. 2.5.

2.5.2 Методика розрахунку норми часу на установку штуцера

Рисунок 2.5 - Ескіз складального вузла

Вихідні дані: робота виконується на місці зборки агрегату при обмеженні (90)° обертання гайкового ключа. Виробництво середнєсерійне, партія зборки 200 виробів. Кількість і характеристика збирають дета лея: корпус циліндра - один, ущільнювач D == 18 мм - один, штуцер М18×1,5, L - 20 мм - один.

Порядок розрахунку:

. Підрозділяємо операцію на розрахункові комплекси прийомів відповідно до нормативів: а) змазування й установка ущільнювача на штуцер; б) укручування штуцера (у зборі) у корпус циліндра.

. Визначаємо нормативну тривалість виконання кожного комплексу прийомів.

Зміст розрахункового комплексу по карті включає: взяти кисть, занурити в клей, змазати ущільнювач, відкласти кисть, установити ущільнювач по місцю, пригорнувши по всій поверхні вручну.

По карті t1 = 0,15хв при D до 32мм.

По карті зміст розрахункового комплексу б включає: взяти штуцер, ввернути попередньо вручну, взяти ключ і загорнути остаточно, відкласти ключ. Відповідно до карти t2 = 0,3хв при s = 1,5мм, L = 20мм.

В умовах обмеженого руху інструмента вводиться поправочний коефіцієнт ДО1 = 1,4, тоді t2 = 0,3×1,4 = 0,42хв.

. Визначаємо час на обслуговування робочого місця, відпочинок й особисті потреби робітника й підготовчо-заключний час.

По карті для серійного виробництва установку штуцера можна віднести до простої групи складності, тому апз = 1,5%, аобс = 2,5% від оперативного часу Топ. По карті при відсутності підйомно-транспортних механізмів аотл = 1% від Топ. По карті визначаємо коефіцієнт К' = 0,9 при партії зборки 200 виробів.

. Розраховуємо норму штучного часу на операцію:


2.6 Нормування ІТП

В умовах промислового підприємства в технічній підготовці виробництва одне із провідних місць належить інженерам-технологам. Тому поліпшення якості їхньої роботи на сучасному етапі стає одним з вирішальних факторів, що забезпечують ріст ефективності суспільного виробництва.

Удосконалювання наукової організації праці інженерів-технологів I, II, III категорії сприяє росту ефективності їхньої роботи, скороченню обсягу допоміжних робіт й у результаті - збільшенню часу на продуктивну творчу роботу.

Для забезпечення ритмічності виробництва й високої якості випускає продукцію, що, велике значення має дотримання технологічної дисципліни на всіх операціях і стадіях виробництва продукції.

Це можливо тільки на базі Єдиної системи технологічної документації (ЕСТД), закладеної в дійсних типових нормах часу.

Творча діяльність інженерів-технологів I, II, III категорій в основному здійснюється в наступним на правліннях:

всебічне відпрацьовування конструкції виробів на технологічність;

установлення оптимального варіанта технологічного процесу й послідовності операцій;

визначення найвигідніших режимів роботи встаткування;

широке застосування принципів уніфікації, методів автоматизованого проектування;

участь у складанні перспективного плану розвитку підприємства.

Таблиця 2.2 - Норми часу на розробку технологічних документів механічної обробки

Види робіт

Група складності


1

2

3

4

5

6

7

8


Норма часу, год.

Відпрацьовування конструкції деталі на технологічність

0,21

0,4

0,76

1,226

1,78

2,32

2,88

3,58

Разробка ОК механічної обробки

1,86

3,5

6,66

11,2

16

21

26,1

32,7

Разробка безтекстовых ОК

1,09

2,13

4,06

6,82

9,73

12,7

15,9

19,9

Разробока МК

1,08

2,05

4,11

7,15

10,5

14

17,7

22,5

Креслення ескізів

0,65

1,19

2,16

3,57

5

6,5

8

9,9

 

 

 

 

 

 

6,5

 

 


Таблиця 2.3 - Характеристика груп складностей деталей

Група складності

1

2

3

4

5

6

7

8

В наведених розмірів

До 6

7-10

11-16

17-24

25-36

37-55

56-82

83-120

Приведемо приклад нормування роботи, виконуваної інженером-технологом III категорії.

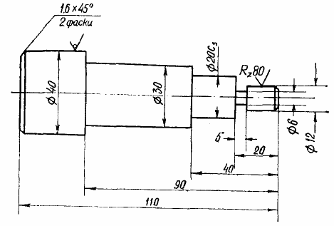
Завдання: визначити норму часу на розробку операційної, карти деталі «Вал» (рис. 2.6).

Рисунок 2.6 - Вал

Відповідно до завдання й рис. 2 по умовній кількості розмірів, що дорівнює 10,визначаємо групу складності за таблицею 5. Група складності дорівнює 2. Норму часу визначаємо по таблиці 2.2. Норма часу дорівнює 3,5 години.

У другому розділі розглянута Організаційно-економічна характеристика ДАХК “Артем”, показана схема організаційної структури відділу організації праці й заробітної плати та його штатний розклад, а також розглянуто нормування різних видів робіт на ДАХК «Артем» з прикладами розрахунку норма часу.

РОЗДІЛ 3. АВТОМАТИЗАЦІЯ ТЕХНОЛОГІЧНОЇ ПІДГОТОВКИ ВИРОБНИЦТВА НА ДАХК «АРТЕМ»

.1 Рішення завдання автоматизації ТПП

Значні економічні перетворення останнього років торкнулися всі галузі промисловості без винятку, підприємства випробували входження в ринок, зменшення впливу ролі держави в економіці, розрив устояних кооперативних зв'язків, зміна умов господарювання, зникнення традиційних каналів і ринків збуту продукції, поява більше ефективних закордонних конкурентів, що триває процес зміни власників

На сучасному етапі економічного розвитку в діяльності машинобудівних і приладобудівних підприємств намітилися наступні важливі тенденції:

Відновлюються існуючі регіональні й міжнародні кооперативні зв'язки між підприємствами;

Налагоджуються й зміцнюють кооперативні зв'язки в рамках знову створених корпоративних і державних структур (холдингів, асоціацій міністерств, федеральних агентств і т.д.);

Оптимізація бізнесу в рамках корпоративних структур приводить до об'єднання допоміжних виробництв підприємств холдингу й до перекладу допоміжного виробництва на аутсорсинг;

Розробка й випуск продукції підприємств відбувається під впливом твердих вимог ринку до якості, собівартості й строкам виготовлення;

Підвищується індивідуалізація замовлень, у результаті чого росте й часто міняється номенклатура виробів, що випускають;

Власникам і менеджерам потрібна достовірна інформація про результати всієї діяльності підприємств для оперативного прийняття правильних управлінських рішень;

Замовники вимагають забезпечення логістичної підтримки й обслуговування продукції, що, аж до закінчення строку її використання.

Настільки кардинальні зміни відбиваються, у першу чергу, на основної складової діяльності машинобудівного й приладобудівного підприємства - проведенні НИОКР і підготовці виробництва. Від строків випуску, якості й точності відповідності вимогам замовників залежать обсяги реалізації зробленої продукції, а, отже, прибуток і майбутній розвиток підприємства.

Щоб висококваліфіковані інженерні кадри підприємств змогли максимально скоротити строки й вартість підготовки виробництва до випуску новим, затребуваним ринком продукції, необхідно надати їм високоефективний інструмент Природним виходом у даній ситуації бачиться автоматизація робочих місць конструктора й технолога. Але, як не дивно, повноцінного ефекту від такої розрізненої автоматизації праці не відбувається.

Взаємодія й паралельне виконання робіт можуть бути організовані тільки за умови створення усередині підприємства або групи підприємств єдиного інформаційного простору (ЄІП) даних про корпоративну продукцію. Як автоматизована система, націленої на рішення завдань організації й координації робіт інженерного персоналу і являється ядром ЄІП. на машинобудівних і приладобудівних підприємствах використають системи керування даними про виріб (Product Data Management. PDM) корпоративного рівня. Конструктори, технологи й інші фахівці не тільки одержують інформацію про виріб, але також і доповнюють її, формуючи состав виробу, що буде актуальним для різних служб підприємства. Надалі, після виготовлення виробу, інформація про нього буде використана сервісними підрозділами для планового обслуговування, замовником для конфігурування готової продукції під свої специфічні потреби, а інженерним составом для модернізації й виготовлення нового виробу на основі раніше спроектованого.

У результаті з'являється можливість управляти інформацією на всіх етапах життєвого циклу виробу (концепція Product Lifecycle Management PLM).

Сьогодні все чітко усвідомлюють необхідність переходу від автоматизації розрізнених робочих місць до комплексної автоматизації всіх підрозділів. Автоматизація підготовки виробництва, технології керування інженерними даними, життєвим циклом виробу - застава збільшення ефективності роботи підприємства, скорочення кількості помилок при проектуванні й запуску виробу у виробництво, ріст швидкості розробок. В остаточному підсумку - це джерело підвищення прибутковості роботи.

Автоматизація процесів підготовки виробництва приводить до підвищення продуктивності праці, оптимізації роботи різних служб підприємства, дозволяє значно підвищити швидкість й якість прийнятих рішень, виробити ефективну стратегію розвитку виробництва й підприємства в цілому.

Комплексна автоматизація технологічної підготовки виробництва (ТПП) на базі інформаційних технологій забезпечує:

скорочення строків підготовки виробництва за рахунок автоматизації етапів ТПП, паралельного виконання конструкторського й технологічного проектування;

оптимізацію витрат праці й засобів на виготовлення виробів.

Для автоматизації процесів ТПП АСКОН пропонує широкий спектр програмних продуктів, орієнтованих на їхнє використання фахівцями машинобудівних підприємств: технологами, конструкторами технологічного оснащення, розроблювачами керуючих програм для верстатів зі ЧПУ, інженерами по нормуванню праці й матеріальних витрат, фахівцями з реконструкції цехів підприємства.

У технологічній підготовці виробництва задіяні практично всі основні служби підприємства. Рух даних у єдиному інформаційному просторі (ЄІП) здійснюється між системами всіх класів: PDM (керування інженерними даними), ERP (керування підприємством), CAPP (технологічна підготовка виробництва), CAD (конструкторська підготовка виробництва) і т.д.

ЛОЦМАН:PLM, КОМПАС-3D, ВЕРТИКАЛЬ дозволяють автоматизувати технологічну підготовку виробництва й організувати Комплекс ЄІП. САПР технологічних процесів (ТП) ВЕРТИКАЛЬ вирішує різні завдання автоматизації процесів технологічної підготовки виробництва, завдання розробки техпроцесів і випуску документації, дозволяє підвищити ефективність роботи технологічних підрозділів у цілому. Як компонент єдиного інформаційного простору підприємства, САПР ТП ВЕРТИКАЛЬ успішно інтегрується й з лінійкою ПО, що поставляє компанією АСКОН, і із програмними продуктами інших розроблювачів IT-рішень.

Рисунок 3.1 - Взаємодія компонентів комплексу систем

Інтеграція САПР ТП ВЕРТИКАЛЬ із системою тривимірного моделювання КОМПАС-3D забезпечує наскрізне рішення завдань конструкторсько-технологічної підготовки виробництва (КТПП). Використовуючи різноманітні прикладні бібліотеки сімейства КОМПАС, будь-яке підприємство може організувати по модульному принципі програмний комплекс, орієнтований на рішення типових завдань у різних предметних областях (наприклад, проектування приводів, механічних передач, технологічного оснащення, устаткування й інструмента). Система КОМПАС-3D дозволяє організувати класичний процес тривимірного параметричного проектування - від ідеї до асоціативної об'ємної моделі, від моделі до конструкторської документації. У технологічній системі ВЕРТИКАЛЬ реалізована можливість роботи з усіма видами графічних документів - 3D-моделями, кресленнями й ескізами виробів, розроблених у КОМПАС-3D. У техпроцес автоматично передаються всі необхідні дані з конструкторської документації.

Система управління інженерними даними ЛОЦМАН:PLM дозволяє впорядкувати (структурировать) технологічну документацію, полегшити й прискорити запозичення типових рішень, організувати роботу технолога із составом виробу, а також колективну роботу над всім проектом. Убудовані в неї Модуль керування робочим процесом і Модуль перегляду й анотування документів забезпечують паралельне виконання робіт. Взаємодія фахівців підприємства при розробці документації на виріб й організації виробництва дозволяє провести узгодження обраного рішення з іншими службами в найкоротший термін.

Додаток Лоцман-технолог забезпечує зв'язок САПР ТП ВЕРТИКАЛЬ із ЛОЦМАН:PLM. Таким чином, технолог одержує можливість працювати із составом виробу усередині технологічної системи. Модуль формування звітів, що входить до складу системи ЛОЦМАН:PLM, дозволяє сформувати відомості й зведені звіти в різних розрізах КТПП.

При розробці техпроцесу технологові постійно потрібна різна довідкова інформація - дані про матеріали, устаткування, інструмент і т.п. Її надають Універсальний технологічний довідник і Корпоративний довідник Матеріали й Сортаменти. Їх можна використати у всіх системах, що входять у комплекс, вони є постачальниками єдиної технологічної довідкової інформації для всіх служб підприємства.

Різноманітні розрахункові модулі вирішують завдання нормування трудових і матеріальних витрат. Всі додатки одержують технологічні дані із системи ВЕРТИКАЛЬ, а довідкові дані - з Універсального технологічного довідника й корпоративних довідників АСКОН.

У результаті Комплекс ЄІП дозволяє одержати всю інформацію про виріб у реальному масштабі часу, що є найважливішою умовою для прискорення процедур погоджень із замовником і постачальниками, швидкої розробки модифікацій виробу, оптимізації взаємодії всіх служб підприємства - тобто для рішення завдань, що дозволяють підвищити конкурентноздатність підприємства в цілому.

Рисунок 3.2 - Схема конструкторська підготовка виробництва

Рисунок 3.3 - Схема технологічної підготовки виробництва

Рисунок 3.4 - Схема керування проектними даними

3.2 САПР ТП Вертикаль

АСКОН пропонує два рішення для автоматизації проектування технологічних процесів і випуску документації САПР ТП ВЕРТИКАЛЬ і САПР ТП КОМПАС-Автопроект. Вибір оптимального рішення залежить від особливостей бізнесів-процесів підприємства, прийнятої стратегії автоматизації КТПП, схеми взаємодії компонентів комплексу систем в ЄІП.

ВЕРТИКАЛЬ - САПР технологічних процесів нового покоління, призначена для автоматизації процесів технологічної підготовки виробництва. У системі реалізований якісно новий підхід до організації даних про технологічні процеси, що базується на об'єктній моделі подання й обробки інформації.

САПР ТП ВЕРТИКАЛЬ дозволяє:

проектувати технологічні процеси в декількох автоматизованих режимах;

розраховувати матеріальні й трудові витрати на виробництво;

формувати всі необхідні комплекти технологічної документації, використовувані на підприємстві.

Універсальний технологічний довідник, що входить у САПР ТП ВЕРТИКАЛЬ, дозволяє організувати й розвивати бази дані підприємства, надає всю технологічну довідкову інформацію.

Інтеграція ВЕРТИКАЛЬ із LOCMAH:PLM вирішує завдання створення єдиного електронного середовища для спільної розробки виробу, підготовки виробництва. У результаті електронний опис виробу містить повну інформацію, необхідну для підтримки всіх етапів його життєвого циклу. На етапі підготовки виробництва забезпечується нагромадження даних про результати конструкторсько-технологічного проектування й обмін інформацією між інженерними службами.

Основними «постачальниками» довідкових даних є корпоративні довідники («Одиниці виміру»; «Матеріали й сортаменти») і універсальний технологічний довідник (УТС). Формування й ведення користувальницьких баз даних для УТС реалізується в додатку Вертикалі-довідники.

Графічні документи формуються в додатку KOMFIAC-3D (версія V8 або вище) на етапі конструкторської підготовки виробництва (3D-модель, креслення) і в процесі проектування технологічних процесів (ескізи).

Включення інформаційних потоків по технологічній підготовці виробництва в ЕИПП реалізується інтеграцією Вертикаль-технологія із системами керування документообігом (PDM - Product Data Management) і життєвим цик лом виробу (PLM - Product Life Management). Робота технолога із системою ЛОЦМАН, зазначеної на мал. 1.1. проводиться в програмному модулі Лоцман-технолог.

Автоматизація розрахунків, виконуваних у процесі проектування ТП. здійснюється спеціальними додатками до Вертикаль-технологія - «Система розрахунку режимів різання». «Система розрахунку режимів зварювання». «Система проектування технологічної розмірної структури»; «Система трудового нормування» й ін. До Вертикаль-технологія можуть також підключатися будь-які спеціалізовані додатки (auto sourcing tools) на основі СОМ.

Рисунок 3.5 - Взаємозв'язок САПР ТП ВЕРТИКАЛЬ із іншими додатками

У САПР ТП ВЕРТИКАЛЬ реалізована якісно новий підхід до організації даних про технологічні процеси, що базується на об'єктній моделі подання й обробки інформації. Объєктно-орієнтировочні методи організації технологічних баз даних, Сом-технології, нові інтерфейсні рішення, відкрита архітектура, заснована на компонентах Active, повною мірою були реалізовані в системі ВЕРТИКАЛЬ.

Систему може швидко освоїти користувач із будь-яким рівнем «комп'ютерної» підготовки. САПР ТП ВЕРТИКАЛЬ дозволяє зробити роботу технолога швидкою та зручною; зростає як швидкість, так і якість розробки технологічних рішень.

Рисунок 3.6 - Елементи САПР ТП ВЕРТИКАЛЬ

Технологічна частина моделі містить відомості щодо операцій, переходів, оснащення. "Конструкторська" - відображає состав і структуру оброблюваних поверхонь деталі. Об'єкти "переходи" й "конструктивні елементи" мають двосторонні зв'язки, що дозволяє визначати як список переходів по кожній поверхні, так состав поверхонь, оброблюваних на окремих технологічних операціях. Особливістю даної моделі є наявність в об'єкта "переходи" двох батьків: "операції" й "конструктивні елементи", що дозволяє одержати другу "просторову" точку зору на технологічний процес, що йде від конструкції деталі.

Рисунок 3.7 - Основне вікно САПР ТП ВЕРТИКАЛЬ

Нові завдання вимагають нових підходів. Насамперед, в області подання даних. Объектно-ориентированные методи організації технологічних баз даних, COM-технології, нові інтерфейсні рішення, відкрита архітектура, заснована на ActiveX-компонентах, повною мірою реалізовані в системі ВЕРТИКАЛЬ.

У системі Вертикаль-технологія реалізовані наступні методи проектування ТП:

Проектування на основі техпроцеса-аналога;

Проектування з використання бібліотеки часто повторюваних технологічних рішень;

Проектування з використанням бібліотеки КТЕ;

Запозичення технологічних рішень із раніше розроблених технологій;

Діалоговий режим проектування з використанням баз дані системи.

Технологові надана можливість вибору оптимального сполучення режимів проектування.

Рисунок 3.8 - Введення змін у технологічний процес

У системі Вертикаль-технологія передбачена також можливість роботи технолога із тривимірними моделями виробів і всіх видів графічних документів (кресленнями, ескізами). Користувач може підключити до технологічного процесу документи й моделі, створені на етапі конструювання, і використати їх при проектуванні ТП.

Система Вертикаль-технологія дозволяє користувачеві оперувати конструкторсько-технологічними елементами (КТЕ). Вони, як ясно вже з їхньої назви, поєднують у собі конструкторську й технологічну інформацію про елементи, з яких складається деталь. Будь-яку деталь можна представити як сукупність типових КТЕ, при цьому кожному елементу відповідає певний набір планів його обробки. Таким чином, КТЕ поєднують у собі й конструкторську, і технологічну інформацію про елементи, з яких складається деталь. У результаті це дозволяє забезпечити автоматизований перехід від геометрії деталі до технології її виготовлення.

У більшості випадків КТЕ має не один, а кілька можливих планів обробки. Щоб вибрати оптимальний план, необхідно використати уточнюючі параметри. По конструкції виробу до них ставляться геометричні параметри, значення шорсткості й квалітету, параметри поверхонь, що сполучають. З погляду технології - матеріал деталі, устаткування, пристосування, що ріже й вимірювальний інструмент.

Набір типових КЭ із планами їхньої обробки й алгоритмами синтезу цих планів у САПР ТП ВЕРТИКАЛЬ об'єднані в бібліотеку конструкторсько-технологічних елементів (Бібліотеку КТЕ).

У результаті для написання технології обробки якого-небудь елемента деталі потрібно виконати всього 4 дії (мал. 6):

вибрати необхідний елемент із Бібліотеки КТЕ;

указати значення параметрів обраного КТЕ (наприклад, для наскрізного отвору варто ввести його діаметр, глибину й необхідну шорсткість поверхні);

нажати кнопку «Одержати план обробки». На основі заданих параметрів система автоматично згенерує можливі плани обробки КТЕ у вигляді послідовності переходів із вказівкою необхідного інструмента й пристосувань;

вибрати один із запропонованих системою планів обробки й подвійним щигликом миші скопіювати його в техпроцес.

Крім прискорення проектування технологічного процесу, Бібліотека КТЕ дає можливість створювати базу знань, зберігати й передавати досвід, накопичений за багато років роботи фахівців.

Зв'язок конструкції деталі й технології її обробки через КТЕ істотно спрощує проектування ТП на основі техпроцеса-аналога. Крім операцій, переходів й оснащення (Дерево ТП), технологічний процес ВЕРТИКАЛЬ містить всі дані про використаний КТЕ (Дерево КТЕ). Між цими компонентами існує двосторонній взаємозв'язок, вибір КТЕ дозволяє автоматично побачити план його обробки; будь-який перехід із плану обробки КТЕ можна відразу знайти в тексті технології.

В "Дереві КТЕ" відображається состав й ієрархія поверхонь деталі. Вибір певного елемента в дереві автоматично збирає технологічні переходи по даному конструктивному елементі деталі й виводить їх на вкладці "План обробки".

Формування "Дерева КТЕ" здійснюється за допомогою спеціальної бібліотеки, у якій конструктивні елементи пов'язані з типовими технологічними планами їхньої обробки.

Між "Деревом КТЕ" й "Деревом ТП" існує двостороння синхронізація. Активізація переходу на закладці "План обробки" виділяє його в "Дереві ТП" і навпаки.

Видалення елемента з "Дерева КТЕ" приводить до автоматичного видалення підлеглих переходів з технології. Проектування ТП на основі техпроцеса-аналога з використанням розглянутих компонентів зводиться до простого редагування "Дерева КТЕ".

У системі ВЕРТИКАЛЬ можна зв'язати 3D-модель деталі з "Деревом КТЕ". При цьому як графічний редактор використається система КОМПАС-3D. в окремому вікні системи ВЕРТИКАЛЬ відображається 3D-модель деталі, на яку розробляється технологія.

У системі ВЕРТИКАЛЬ технолог працює відразу з декількома технологіями як зі звичайними документами. Відкривши потрібні в роботі техпроцессы, можна зручно розташувати їх у вікні системи й оперативно використати дані в новому ТП. Проектування технології на основі запозичення технологічних рішень із раніше розроблених ТП стає швидким, наочним і зручним.

Креслення й ескізи, необхідні для проектування техпроцесса в САПР ТП ВЕРТИКАЛЬ, можуть бути створені в будь-якій CAD-системі.

Максимальний ефект від спільної роботи конструкторських і технологічних САПР забезпечується взаємодією ВЕРТИКАЛЬ із КОМПАС-3D. 3D-модель і креслення деталі, на яку розробляється техпроцес, технолог бачить у вікні ВЕРТИКАЛЬ, де йому доступний певний набір функцій для роботи із графікою. Для 3D-моделі вимір геометрії й команди навігації по зображенню (обертання, виділення граней, масштабування й т.д.); а для креслення - вимір, зв'язок розміру креслення з переходом, автоматичне перенесення даних у текст ТП, імпорт параметрів, команди навігації по зображенню

Слід зазначити, що в САПР ТП ВЕРТИКАЛЬ реалізована новий підхід до пошуку й відображення інформації, у якому ЗD-модель деталі використається як засіб навігації в технологічному процесі. Двосторонній зв'язок 3D-моделі деталі із КТЕ дозволяє легко знайти план обробки будь-якої поверхні досить виділити цю поверхню на 3D-моделі. І навпаки: при виборі технологічного переходу відсвітлюється відповідний елемент КТЕ й оброблювана поверхня в 3D-моделі.

Таким чином, у САПР ТП ВЕРТИКАЛЬ реалізовані:

тісна інтеграція з KOMI1AC-3D;

робота з усіма видами графічних документів - 3D-моделями, кресленнями й ескізами виробів КОМПАС - безпосередньо у вікні ВЕРТИКАЛЬ;

автоматичне перенесення даних із креслення (і 3D-моделі) у текст ТП;

візуальна настроюва связь, що, графічних даних зі структурними елементами технологічного процесу;

перегляд і редагування планів обробки поверхонь КТЕ в прив'язці до елементів 3D-моделі;

навігація в тексті техпроцесу з ЗD-моделі й (або) з креслення;

робота з різними документами, включаючи графічні, розроблені в будь-якій CAD-системі.

Створювати й підключати технологічні ескізи до операції техпроцесу в САПР ТП ВЕРТИКАЛЬ дозволяє спеціальний додаток. Ескіз можна сформувати на основі шаблона, на основі підключеного креслення деталі, на основі 3D-моделі, на основі вже створених раніше ескізів до операцій даної технології.

До операцій ТП можна підключити довільна кількість ескізів, виконаних у будь-якому графічному форматі. Завдяки застосуванню у ВЕРТИКАЛЬ сучасних рішень, уміст будь-якого підключеного до операції документа можна відразу переглянути на вкладці системи не тільки графічні документи, але й фрагмент керуючої програми для верстатів зі ЧПУ, карту налагодження встаткування, скановану версію технічного паспорта й т.п.

Звертання до електронних довідкових баз даних є невід'ємною частиною роботи технолога в системах автоматизованого проектування технологічних процесів. Навички роботи технолога з довідковими базами даних багато в чому визначають швидкість й ефективність проектування технологічних процесів. При роботі в САПР ТП ВЕРТИКАЛЬ основним джерелом технологічної інформації є спеціальний додаток - Універсальний технологічний довідник.

Підбор інструмента й оснащення - одне із самих складних завдань при проектуванні ТП, особливо для починаючих технологів. У системі ВЕРТИКАЛЬ це завдання вирішене за допомогою фільтрації даних Універсального технологічного довідника. Використаються фільтри, як по застосовності, так і по асоціативних зв'язках між різними довідниками: «Верстат-Пристосування», «Верстат - Різальний інструмент», «Операції - Переходи», «Переходи - Вимірювальний інструмент» і т.д. Фільтри дозволяють автоматично підібрати дані за різними критеріями, швидко й безпомилково сформувати техпроцес.

У ВЕРТИКАЛЬ зручний доступ до всіх ресурсів Універсального технологічного довідника скорочує час пошуку інформації, необхідної для прийняття технологічних рішень. Різні режими пошуку (многокритеріальний, контекстний, сортування й т.д.) у довідниках й у технології значно допомагають технологові в роботі.

Корпоративний довідник Матеріали й Сортаменти (або Бібліотека Матеріали й Сортаменти при локальній установці систем) надає інформацію про хімічний склад, фізико-механічні властивості матеріалу з якого виготовлена деталь, допомагає сформувати позначення матеріалу відповідно до нормативно-технічної документації. Довідник можна використати як для вибору основного матеріалу деталі, так і для призначення допоміжних матеріалів при проектуванні техпроцесу.

Різні прикладні модулі до САПР ТП ВЕРТИКАЛЬ дозволяють одержувати в процесі роботи додаткову довідкову інформацію, здійснювати розрахунки, взаємодіяти з іншими програмами. Для процесів планування й керування особливу актуальність представляють додатки з розрахунку матеріальних і трудових витрат:

Система нормування матеріалів:

Універсальна система трудового нормування по укрупнених загальмашинобудівних нормативах часу;

Система розрахунку режимів різання для механообробки.

Важлива особливість системи ВЕРТИКАЛЬ - можливість зберігати технологічні процеси не тільки локально (на робочому місці технолога), але й у середовищі будь-якої PDM-системи. Це дозволяє організувати колективну роботу фахівців, полегшити й прискорити запозичення типових рішень, упорядкувати (структурировать) технологічну документацію, що в остаточному підсумку приводить до багаторазового збільшення ефективності роботи технологічних підрозділів у цілому.

Якщо підприємство повністю не перейшло на електронний документообіг, то після твердження техпроцесу й збереження його в єдиному електронному архіві можна сформувати комплект документації. Додаток Майстер формування технологічної документації дозволяє сформувати технологічні карти або комплект карт, при цьому форми карт і розподіл даних здійснюється відповідно ДО ДЕРЖСТАНДАРТУ, ОСТ і СТП. Технологічні карти розроблені у форматі Microsoft Excel й їх можна використати в будь-якому підрозділі підприємства - навіть там, де не встановлена система ВЕРТИКАЛЬ.

Розширений функціонал системи ВЕРТИКАЛЬ дає можливість передавати дані в різні системи планування й керування (системи класів PDM\MRPII\ERP), а також організувати спільну роботу САПР ТП із модулями й додатками, розробленими на підприємстві.

Застосування об'єктної моделі даних й об'єктної моделі технології забезпечують гнучке настроювання всіх компонентів програмного технологічного комплексу (наприклад, систему ВЕРТИКАЛЬ можна настроїти на будь-які види виробництв, а Універсальний технологічний довідник - на використання бази дані підприємства). Настроювання може вироблятися безпосередньо фахівцями підприємства без участі розроблювача.

Багаторівневе розмежування прав доступу дозволяє надійно захистити інформацію від несанкціонованого перегляду або зміни, а також запобігти втраті й псую даних, документів, умісту файлів й іншої відповідальної інформації.

У даному вікні технологові доступний мінімальний набір функцій по роботі з 3D-моделлю: обертання, виділення граней, масштабування, необхідні для навігації по зображенню. Грані 3D-моделі. Утворюючі оброблювані конструктивні елементи, за допомогою унікальних ідентифікаторів зв'язуються з елементами дерева КТЕ. Утвориться двосторонній зв'язок, що дозволяє при виділенні грані в 3D-моделі, активізувати відповідний елемент у дереві КТЕ разом з технологічним планом його обробки. При виборі технологічного переходу в дереві ТП активізується елемент КТЕ й підсвітлюється оброблювана поверхня в 3D-моделі. У цьому випадку можна говорити про те, що 3D-модель деталі є засобом навігації в технологічному процесі.

Формування комплекту технологічної документації здійснюється в середовищі MS Excel. Забезпечується автоматична вставка операційних ескізів, наскрізна нумерація технологічних карт у складі комплекту. У базову поставку входять бланки карт по ЄСТД (маршрутні й операційний-операційні-маршрутно-операційні карти, карти ескізів, контролю, карти технологічного процесу, відомості оснащення, комплектувальні карти). При необхідності користувач має можливість самостійно створити нові форми технологічних документів, у тому числі й по вимогах стандарту підприємства.

Рисунок 3.9 - Заповнення операційної карти

Немаловажливе те, що карти формуються в загальнопоширеному форматі. Їх легко передавати й використати в будь-якому підрозділі підприємства.

Система ВЕРТИКАЛЬ - це новий компонент єдиного інформаційного простору підприємства, що успішно інтегрується як з лінійкою ПО, так і із програмними продуктами будь-яких інших виробників.

Інтеграція із системою тривимірного моделювання КОМПАС-3D дозволяє організувати наскрізне рішення завдань конструкторсько-технологічної підготовки виробництва. Розробляючи технологічний процес, технолог безпосередньо використає тривимірну модель або креслення деталі, створені в КОМПАС-3D.

Інтеграція із системою керування інженерними даними ЛОЦМАН:PLM дозволяє організувати колективну роботу, упорядкувати (структурировать) технологічну документацію, полегшити й прискорити запозичення типових рішень.

Відкрита архітектура системи (Технологія-технології-сомів-технології, ActiveX-компоненти, підтримка VBS й JS) забезпечує можливість адаптації до особливостей ТПП підприємства й інтеграції з будь-якими системами класів PDM, ERP, CAD, CAM. Крім того, до системи можна підключити й специфічні розрахункові модулі, що вирішують завдання конкретного підприємства.

Основним компонентом програмного комплексу є система Вертикаль-технологія. У її середовищі користувач розробляє технологічні процеси.

Вертикаль-технологія одержує конструкторську інформацію про вироби (тривимірні моделі, креслення) із системи тривимірного твердотільного моделювання КОМПАС-3D. Крім того, у КОМПАС-3D розробляються операційні ескізи й інші графічні документи.

Модуль Лоцман-технолог забезпечує зв'язок системи Вертикаль-технологія з ЛОЦМАН:PLM. Таким чином, організується централізоване зберігання технологічних процесів у системі керування інженерними даними. Модуль формування звітів ( що входить до складу системи ЛОЦМАН:PLM) може бути використаний для одержання зведених звітів і відомостей. Під час відсутності цих компонентів (Лоцман-технолог і ЛОЦМАН: PLM) розроблені технологічні процеси зберігаються локально (наприклад, на робочому місці технолога). Можлива також інтеграція з іншими PDM-системами.

При розробці технологічного процесу технологові постійно потрібно різна довідкова інформація - дані про матеріали, устаткування, інструмент і т.п. Її надають Універсальний технологічний довідник і корпоративний довідник Матеріали й сортаменти. Для адміністрування, настроювання й створення нових довідників служить програма Довідник-довідники-вертикалі-довідники.

Крім одержання довідкової інформації технологові потрібно також можливість виконувати розрахунки. Її надають різноманітні прикладні модулі: Система розрахунку режимів різання, Система трудового нормування й т.д. Всі вони можуть одержувати технологічні дані із системи Вертикаль-технологія, а довідкові дані - з Універсального технологічного довідника й Корпоративних довідників.

Застосування об'єктної моделі даних й об'єктної моделі технології дає можливість гнучкого настроювання всіх компонентів програмного комплексу ВЕРТИКАЛЬ (наприклад, систему Вертикаль-технологія можна настроїти на будь-які види виробництв, а Універсальний технологічний довідник - на використання бази дані підприємства). Настроювання може вироблятися фахівцями підприємства.

Гнучке розмежування прав доступу дозволяє надійно захистити інформацію від несанкціонованого перегляду або зміни, а також запобігти втраті й псую даних, документів, умісту файлів й іншої відповідальної інформації.

Таким чином, на ринку систем автоматизованого проектування технологічних процесів з'явився новий програмний комплекс ВЕРТИКАЛЬ, у якому:

застосовані нові інтерфейсні рішення, що полегшують процес проектування технологій

уперше створена об'єктна модель технології, що поєднує конструкторську й технологічну інформацію

уперше розроблена бібліотека конструктивних елементів, пов'язаних з типовими планами обробки за допомогою логічних умов вибору, що набудовують

уперше Active вікно конструкторської САПР 3D інтегровано в САПР технологічних процесів.

3.3 Нормування матеріальних і трудових витрат

Розрахунок матеріальних і трудових витрат на виготовлення продукції, визначення її собівартості вимагає максимального пророблення питання автоматизації. Різні додатки дозволяють провести як укрупнене, так і точне нормування трудових витрат, оптимізувати витрату матеріалу, визначивши оптимальний варіант заготівлі при виконанні розрахунку.

Розроблювач пропонує як універсальні додатки, що працюють із системами різних класів (ERP\MRPII\PDM\CAPP), включаючи ВЕРТИКАЛЬ, КОМПАС-Автопроект, Л0ЦМАН:РLМ, так і додатка, що працюють тільки із САПР ТП.

3.3.1 Універсальна система трудового нормування по укрупнених загальномашинобудівних нормативах часу

Додаток «Система трудового нормування по укрупнених нормативах часу» (УНВ) призначено для автоматизованого розрахунку неповного штучно го часу на операції. У результаті розрахунків визначається підготовчо-заключний час, сума неповного штучного й допоміжного часу у хвилинах.

Неповний штучний час на верстатну операцію перебуває як сума часів виконання переходів цієї операції. Відповідно до нормативів НДІ праці в якості вихідних даних для розрахунку неповного штучного часу використовують:

вид технологічної операції;

вид устаткування;

потужність верстата (для токарської обробки):

матеріал заготівлі:

вид оброблюваної поверхні:

квалітет точності оброблюваної поверхні;

шорсткість оброблюваної поверхні:

вид інструмента.

Додаток передбачає можливість розробки й підключення користувальницьких карт трудового нормування: таблиць поправочних коефіцієнтів; коректування формул, що визначають результати розрахунку неповного штучного часу. Всі зазначені процедури проводяться в спеціальному модулі адміністрування системи. Файл модуля, що виконує, адміністрування WNConfig.exe розташований у підкаталозі WorkNorm кореневого каталогу продуктів АСКОН.

Рисунок 3.10 - АРМ трудового нормування ЄІП

Вирішує завдання автоматизованого розрахунку витрат часу на технологічні операції. У результаті розрахунків визначається підготовчо-заключний час, сума неповного штучного й допоміжного часу у хвилинах.

Рисунок 3.11 - Універсальна система трудового нормування по УНВ

Неповний штучний час на верстатну операцію розраховується як сума часів виконання переходів цієї операції. Відповідно до нормативів НДІ праці в якості вихідних даних для розрахунку неповного штучного часу використаються: вид технологічної операції, вид устаткування, потужність верстата (для обробки різанням), матеріал заготівлі, вид оброблюваної поверхні, квалітет точності оброблюваної поверхні, шорсткість оброблюваної поверхні, вид інструмента.

Частина цієї інформації визначається по кресленню деталі, інша частина призначається технологом за допомогою довідників при розробці технологічного процесу в САПР ТП ВЕРТИКАЛЬ. За даними з техпроцесу система відшукує найбільш підходящі карти трудового нормування. Виходячи з геометричних параметрів переходу, користувач по обраній зі списку карті визначає штучний час. Далі в більшості випадків необхідне застосування поправочних коефіцієнтів, що враховують стан поверхні заготівлі, твердість матеріалу та інші фактори. Коефіцієнти вибираються з відповідних довідкових таблиць. Неповний штучний час автоматично розраховується відповідно до формули, що враховує всі поправочні коефіцієнти карти. Підсумовування штучного часу на операцію виконується автоматично.

Система трудового нормування по УНВ (укрупнених нормативах часу) може працювати як автономно, так і разом із САПР ТП ВЕРТИКАЛЬ і ЛОЦМАН:PLM.

Після виконання розрахунку інформація про обрані карти, параметри й результати розрахунку передається або на вкладку Трудове нормування системи ВЕРТИКАЛЬ, або зберігається в окремому файлі. Користувач може переглянути перелік карт, використаних для нормування операції, а також при необхідності провести перерахунок по будь-якій карті.

Рисунок 3.12 - Вкладка Трудове нормування системи ВЕРТИКАЛЬ

У даний момент за допомогою Системи трудового нормування по УНВ можна реалізувати розрахунок тимчасових витрат на наступні операції:

Бесцентрово-шлифовальная

Вальцювання

Вертикально-свердлильна

Внутрішліфувальна

Вирубка заготівель

Гнучка листових заготівель

Горизонтально-фрезерна

Зубодолбежная

Зубострогальная

Зубофрезерна

Зубошлифовальная

Кування

Кругла-шліфувальна

Лакофарбові покриття

Надрізання

Обкатування

Осаду заготівель

Отрубка

Плоскошлифовальная

Поперечно-стругальна

Виправлення

Повздошно-стругальна

Повздошно-шліфувальна

Протягання заготівель

Розмітка листового матеріалу

Розкочування

Розточувальна

Різання на стрічку

Різання на смуги

Резьбошлифовальная

Складальний^-складальні-слюсарно-складальні роботи

Слюсарні (включаючи зачищення листового матеріалу)

Сушіння, фарбування

Токарно-гвинторізна

Хонинговальная

Шлицефрезерная

Шлицешлифовальная

До більшості нормувальних карт підключені переходи тексту технології, які відповідають виконаним операціям за дану норму часу. У результаті розрахунку технолог одержує не тільки норму часу, але й частина технологічного процесу, що потім може оперативно використати при проектуванні ТП у системі ВЕРТИКАЛЬ.

Рисунок 3.13 - Настроювання системи трудового нормування. Підключення переходів тексту технології до нормувальної карти

Зазначений підхід, заснований на використанні "принципу индуцируемых даних", дозволяє значно скоротити час розробки технологічного процесу. Крім того, інформація, представлена в типових фрагментах, буде корисна починаючим технологам і завжди можна подивитися процес обробки того або іншого елемента деталі.

Система передбачає можливість розробки й підключення користувальницьких карт по трудовому нормуванню; таблиць поправочних коефіцієнтів; коректування формул, що визначають результати розрахунку неповного штучного часу.

Система трудового нормування по укрупнених загальмашинобудівних нормативах часу універсальний - розрахунок часу можна здійснити для будь-яких видів виробництв, система спільно працює як з ВЕРТИКАЛЬ, так і з будь-якою системою класу ERP\PDM (інтеграція здійснюється завдяки API-функціоналові й використанню Сом-серверних технологій). Система працює під СУБД FireBird, Microsoft SQL Server й Oracle.

3.3.2 Система розрахунку режимів різання

Функціонує в середовищі САПР технологічних процесів ВЕРТИКАЛЬ. Вона призначена для розрахунку режимів обробки, основного (машинного) і допоміжного часу на основний перехід.

Рисунок 3.14 - Система розрахунку режимів різання

В основі алгоритмів використані методики розрахунку режимів різання з довідника "Загальмашинобудівні нормативи режимів різання: В 2-х т./ А.Д. Локтев, И.Ф. Гущин, В.А. Батуев й ін. - М.: Машинобудування,1991".

Нормативи режимів, що рекомендують, різання дозволяють вибрати подачу, глибину різання, швидкість різання залежно від точності і якості оброблюваних поверхонь, заданого експлуатаційного ресурсу й необхідної продуктивності. Таблиці нормативів режимів різання й витрати різального інструменту в сполученні з математичними моделями й алгоритмами зводять до мінімуму необхідні розрахунки й дозволяють полегшити праця технолога.

Розрахунок здійснюється для наступних видів обробки:

Фрезерна обробка:

фрезерование площини циліндричною фрезою;

фрезерование площини дисковою фрезою;

фрезерование площини кінцевою фрезою;

фрезерование фасонної канавки дисковою фрезою;

фрезерование площини торцевою фрезою в один прохід D>B;

фрезерование площини торцевою фрезою в кілька проходів D<B;

фрезерование кінцевою фрезою по контурі;

фрезерование шпонкової канавки;

Токарська обробка:

підрізання;

обточування;

розточування;

відрізка;

прорезка;

фасонне гостріння;

Обробка отворів осьовим інструментом:

свердління;

центрування;

Рассверливание;

зенкерование;

цекование;

розгортання;

зенкование;

Нарізування різьблення:

нарізування різьблення різцем;

нарізування різьблення мітчиком;

нарізування різьблення плашкою;

нарізування різьблення гвинторізною головкою.

Залежно від виду обробки змінюється й набір параметрів, що розраховують: подача й число обертів шпинделя, скоректовані по паспорті верстата, швидкість різання, сила різання, потужність різання й енерговитрати.

При розрахунку враховуються тип і геометрія оброблюваного конструктивного елемента, механічний-механічні-фізико-механічні властивості матеріалу й стан поверхневого шару заготівлі, твердість технологічної системи, паспортні дані верстата й параметри різального інструменту.

Особливостями системи розрахунку режимів різання є її гнучкість і налаштованість. Спеціальний модуль адміністрування дозволяє швидко скорегувати наявну методику розрахунку або створити свою, що повністю відповідає поточним завданням підприємства.

3.3.3 Система нормування матеріалів

Рисунок 3.15 - Автоматизоване робоче місце нормування матеріалів єдиного інформаційного простору

Нормування витрати матеріалів проводиться з метою встановлення їхньої планової кількості, необхідного для виготовлення виробів і забезпечення найбільш раціонального й ефективного використання сировини й матеріалів у виробництві.

Система нормування матеріалів призначена для розрахунку маси заготівлі, норми витрати й інших даних по заготівлі в технологічних підрозділах підприємств.

Система виконана у вигляді окремого додатку, інтегрованого з різними програмними продуктами компанії АСКОН: КОМПАС-3D, ЛОЦМАН:PLM, ВЕРТИКАЛЬ, Компас-автопроект, Корпоративним довідником «Матеріали й cортаменти». Від цих додатків Система нормування матеріалів одержує вихідні дані для розрахунків.

праця нормування програмний забезпечення

3.4 Обґрунтування застосування САПР ТП «Вертикаль»

Рисунок 3.16 - Креслення опори

Таблиця 3.1 - Технологічний процес

Операції

Час, хв


Вертикаль

Ручне

10. Фрезерувати заниження 1

5,70

10

15. Підібрати радіуса R4 у кутах заниження 1

2,5

5,5

20. Свердлити отв. у центрі кишень 2.3 для входу фрези;

1,2

3,5

25. Фрезерувати кишені 2,3;

4,6

7,2

30. Підібрати радіуса у верхніх кутах кишень 2,3

3,4

6,5

Усього

17,4

32,7

Рисунок 3.17 - Вибір нормувальної карти

Рисунок 3.18 - Діаграма порівняння

По діаграмі порівняння ручного й автоматизованого нормування праці помітно спостерігається скорочення часу за допомогою САПР ТП «Вертикаль».

3.5 Організація впровадження програмного забезпечення на ДАХК «Артем»

Успішна реалізація проекту впровадження немислима без щільної взаємодії постачальника й замовника. Важливої складової успішної реалізації проекту по впровадженню комплексу систем КТПП й їхньої інтеграції із системами керування виробництвом і підприємством є:

готовність постачальника даних рішень надати якісне програмне забезпечення;

потенціал постачальника в області виконання супутніх послуг (навчання, настроювання й адаптація, супровід і моніторинг впровадження й багато чого іншого);

щире бажання замовника сприяти реалізації проекту.

Впровадження комплексу, як і впровадження будь-якої складної інформаційної системи завдання, що вимагає обліку особливостей конкретного підприємства й планомірної погодженої роботи його фахівців і співробітників АСКОН.

Компанія має у своєму розпорядженні висококваліфікованих фахівців з більшим накопиченим досвідом у частині ефективної реалізації даних проектів (аналитики, техники-внедренцы, викладачі, фахівці з технічної підтримки).

Можна виділити кілька етапів впровадження:

. Проект впровадження для завдань автоматизації КТПП попередній аналіз завдань із урахуванням пріоритетів рішення, установка систем у досвідчену експлуатацію, навчання фахівців підприємства, аналіз структур існуючих на підприємстві баз даних, адаптація систем для перекладу наявних даних;

. Впровадження систем для автоматизації конструкторської (KOMПAC-3D) і технологічна підготовки виробництва ВЕРТИКАЛЬ, також аналіз завдань по передачі даних у системи планування й керування;

. Повномасштабне впровадження КОМПЛЕКСУ систем на базі ЛОЦМАН-PLM. Організація автоматизованих робочих місць, навчання персоналу, реалізація й налагодження інтеграції із системами планування й управління підприємством.

Перед початком комплексних проектів фахівці АСКОН проводять предпроектне обстеження підприємства. Його результатом стає план поетапного впровадження, погоджений із замовником. Також виробляються рекомендації із состава програмного комплексу, оптимальному для рішення завдань підприємства або його структурного підрозділу.

Якщо буде потреба (наприклад, стандартне ПО не повністю вирішує завдання підприємства) наші підрозділи розробляють за технічним завданням замовника спеціалізовані прикладні системи на базі КОМПАС-3D, ЛОЦМАН: РLМ, ВЕРТИКАЛЬ.

3.5.1 Навчання

АСКОН пропонує пройти курси навчання всім користувачам своїх програмних продуктів, тому що це дозволить звести до мінімуму час освоєння нових систем, прискорити одержання віддачі від інвестицій у ПО.

Практика показує, що економія на навчанні приводить до значних втрат часу й зменшенню ефективності використання програм. Щоб успішно виконувати роботу, треба добре володіти застосовуваним інструментом. Уже через тиждень після навчання ваші фахівці зможуть професійно використати можливості вивченого пакета, значно скоротивши строки виконання проектів. На курсах користувачі одержують всі необхідні навички для ефективної роботи з нашим ПО, на самостійне придбання яких може знадобитися значний час.

Навчання адміністраторів є обов'язковою умовою підтримки стабільної роботи інформаційної системи конструкторських і технологічних служб.

Якість навчання забезпечується високою кваліфікацією й більшим досвідом роботи наших викладачів, а також практикою реального впровадження систем на різних підприємствах.

Компанія пропонує своїм замовникам різні по тривалості й спеціалізації навчальні курси, зокрема:

Стандартний курс користувача по ЛОЦМАН:PLM;

Курс адміністратора по ЛОЦМАН:PLM;

Супровід проектів автоматизації на підприємстві-замовнику ;

Проектування й розробка конструкторської документації в Компас-графік;

Тривимірне моделювання деталей і складальних одиниць у КОМПАС-3D;

Стандартний курс по Компас-менеджер;

Стандартний курс по Компас-автопроект;

Курс адміністратора по Компас-автопроект;

Стандартний курс по Компас-штамп;

Стандартний курс по САПР ТП ВЕРТИКАЛЬ;

Таблиця 3.2 - План-графік виконання завдань автоматизації

 

Укрупнений план-графік виконання


1кв.

2кв.

3кв.

4кв.

5кв.

6кв.

Загальне попереднє обстеження підприємства, включаючи підготовку аналітичного звіту. Формування групи впровадження. Узгодження регламенту впровадження.

 

 

 

 

 

 

Довідник матеріалів

 

 

 

 

 

 

Довідник стандартних виробів

 

 

 

 

 

 

Впровадження САПР КОМПАС-3D, Вертикаль

 

 

 

 

 

 

Конструкторський состав виробів, архів електронних оригіналів КД, інтеграція із САПР КОМПАС і довідниками матеріалів і комплектуючих.

 

 

 

 

 

 

Архів КД, включаючи облік оригіналів, облік змін, абонентський облік, організацію перекладу паперового архіву в електронний вид.

 

 

 

 

 

 

Расцеховка, включаючи довідник виробничих підрозділів

 

 

 

 

 

 

Розрахунок заготівель і нормування основних матеріалів

 

 

 

 

 

 

Довідник операцій

 

 

 

 

 

 

Довідник устаткування

 

 

 

 

 

 

Довідник засобів технологічного оснащення

 

 

 

 

 

 

Довідник професій

 

 

 

 

 

 

Довідник тарифних сіток

 

 

 

 

 

 

Довідник технологічних переходів

 

 

 

 

 

 

Розробка технологічних процесів

 

 

 

 

 

 

Трудове нормування

 

 

 

 

 

 

Технологічний состав виробів

 

 

 

 

 

 

Проектування засобів технологічного оснащення

 

 

 

 

 

 

Архів ТД

 

 

 

 

 

 

Проектування технологічних планувань цехів

 

 

 

 

 

 

Розробка керуючих програм для верстатів зі ЧПУ

 

 

 

 

 

 

Керування нормативно-розпорядницькою документацією

 

 

 

 

 

 


Додаткові факультативні курси (консультації фахівців з виїздом на підприємство).

Навчання фахівців проводиться в офісах АСКОН, авторизованих Навчальних центрах або безпосередньо на вашому підприємстві із запрошенням викладача АСКОН.

Всім слухачам, що успішно закінчили курси, видаються посвідчення встановленого зразка.

3.5.2 Сертифікація

Сертифікація - загальноприйнятий метод оцінки компетентності й підтвердження високої кваліфікації фахівців, що працюють зі складним програмним забезпеченням, у тому числі - із системами автоматизованого проектування. АСКОН пропонує вашій увазі кілька програм сертифікації, розроблених при участі експертів із промисловості й утворення. Ці програми призначені для оцінки реальних знань фахівців, що працюють із нашим програмним забезпеченням. Проходження сертифікаційного іспиту надає певні переваги як організаціям у цілому, так й окремим фахівцям.

Організаціям:

максимальна віддача від інвестицій в автоматизацію підготовки виробництва;

зниження вартості володіння системою й витрат на її технічну підтримку;

надійний критерій оцінки кваліфікації персоналу при найманні нових працівників інженерних спеціальностей й адміністраторів;

єдиний об'єктивний метод оцінки компетентності й професіоналізму співробітників в області використання САПР;

підвищенні репутації компанії, її інженерного потенціалу, визнанні кваліфікації її співробітників партнерами й замовниками;

Фахівцям:

офіційне підтвердження знань і досвіду роботи із продуктами АСКОН;

кращі позиції при просуванні по службовим сходам перед не сертифікованими колегами;

повага й довіра керівництва й співробітників підприємства, підвищення власного статусу й репутації;

упевненість у своїх знаннях і здатностях;

іменний сер

Таблиця 3.3 - Рівні сертифікації

Спец.

Ступінь

Код

Що має на увазі статус "Сертифікований фахівець?"

Машинобудування

3 ступінь

М3

Має на увазі ефективну роботу в системі КОМПАСІВ-ГРАФІК, створення непараметричних ескізів, креслень, специфікацій і текстових документів будь-якого ступеня складності.


2 ступінь

M2

Має на увазі додатково до знань 3 ступені також ефективну роботу в системі КОМПАС-3D зі створенням тривимірних параметричних деталей і зборок будь-якого ступеня складності, а також уміння створювати параметричні креслення й ескізи, у тому числі асоціативні з 3D-моделями.


1 ступінь

M1

Має на увазі додатково до знань 2 ступені ефективне ведення електронного архіву й документообігу з використанням засобів PDM/PLM, настроювання всіх компонентів комплексу, адміністрування системи КОМПАС.

Розробка ПКД

3 ступінь

C3

Має на увазі ефективну роботу в системі КОМПАСІВ-ГРАФІК, створення непараметричних ескізів, креслень, специфікацій і текстових документів будь-якого ступеня складності по напрямку ПКД.


2 ступінь

C2

Має на увазі додатково до знань 3 ступені також ефективну роботу в системі КОМПАС-3D зі створенням тривимірних параметричних деталей і зборок будь-якого ступеня складності, а також уміння створювати параметричні креслення й ескізи, у тому числі асоціативні з 3D-моделями по напрямку ПКД.


1 ступінь

C1

Має на увазі додатково до знань 2 ступені ефективне ведення електронного архіву й документообігу з використанням засобів PDM/PLM, настроювання всіх компонентів комплексу, адміністрування системи КОМПАС.

3.5.3 Вимоги до устаткування й програмного забезпечення

Мінімальні вимоги до встаткування: IBM PC Pentium-3 1000 Мгц. 128 Мб RAM. 2.0 Гб HDD. CD-ROM, операційна система Windows 2000/XP: додаток Microsoft Excel 97/2000/XP.

Для найкращої роботи Вертикаль-технологія рекомендується наступна (оптимальна) конфігурація ПК: IBM PC Pentium-4 1700 Мгц. 256 Мб RAM, 2.0 Гб HDD. CD-ROM, операційна система Windows 2000 (SP1a або вище) або Windows ХР (SP1 або вище), додаток Microsoft Excel 97/2000/XP.

У комплекті з Вертикаль-технологія рекомендується встановити наступне основне й додаткове програмне забезпечення (ПО).

Основне ПО:

. Комплекс керування інженерними даними підприємства ЛОЦМАН:PLM.

. САПР баз дані Вертикалі-довідники.

. САПР тривимірного твердотільного моделювання КОМПАС-3D(версія V8 або вище).

. Корпоративний довідник «Матеріали й сортаменти».

. Корпоративний довідник «Одиниці виміру».

. Система керування базами даних. Додаткове ПО:

. Автоматизоване робоче місце нормування матеріалів.

. Система розрахунку режимів різання.

. Система трудового нормування.

. Трудове нормування укрупнених норм часу.

3.5.4 Технічна й сервісна підтримка

АСКОН забезпечує консультаційне обслуговування й повну технічну підтримку ПО. Ціль - забезпечення максимальної ефективності вашої роботи й підтримка постійної працездатності комплексу інформаційних систем замовника.

Компанія забезпечує навчання фахівців вашого підприємства, консультаційне обслуговування й повну технічну підтримку поставляємого ПЗ.

Перелік послуг Аскон в цьому напрямку включає:

багаторівневе навчання фахівців роботі з продуктами САПР;

установку придбаних систем на комп'ютери;

підключення периферійного встаткування (плотерів, сканерів);

технічну підтримку по придбаних продуктах;

моніторинг впровадження систем (періодичне відвідування підприємства).

Рекомендується при покупці програмного забезпечення відразу оформляти підписку на відновлення версій ПО і його технічну підтримку. Це дозволить вам найефективнішим образом застосовувати закуплені системи. Ви одержите повний доступ до всіх нових можливостей ПО й кваліфікованій допомозі співробітників служби технічної підтримки.

Річна підписка на супровід систем KOMHAC-3D, ЛОЦМАН:РLМ, ВЕРТИКАЛЬ забезпечує:

одержання всіх відновлень і нових версій ПО, що випускають у період дії підписки;

необмежена кількість звернень до служби технічної підтримки;

консультації в режимі «Гарячої лінії» (по телефоні, факсу або електронній пошті).

.5.5 Витрати на впровадження проекту

Таблиця 3.4 - Витрати на впровадження

Витрати

Сума, грн.

Комп’ютери

20000

Мережа

600

Вартість ПЗ

20000

Установка ПЗ

1000

Навчання

6000

Сертифікація

120

Усього

47720


Рисунок 3.19 - Діаграма витрат

.5.6 Організаційна структура нового відділу праці і заробітної плати та його штатний розклад

Рисунок 3.20 - Організаційна структура нового відділу праці і заробітної плати

Таблиця 3.5 - Штатний розклад

Посада

Кількість

ЗП

ФЗП (міс.), грн

ФЗП (річ.), грн

Начальник відділу

1

1460

1991,44

23897,28

Инженер-нормувальник 1 кат.

3

1140

4664,88

55978,56

Усього

4

2600

6656,32

79875,84


3.5.7 Розрахунки економічної ефективності впровадження

1. САПР ТП «Вертикаль» допомагає скоротити час нормування технологічних операцій (Таблиця 3.1):=32,7хв, t2=17,4хв.

. Скорочення часу дозволяє з 6 інженерів-нормувальників 2 категорії зробить відділ з 3 інженерів-нормувальників 1 категорії (Рисунок 3.21), що потребує переробки штатного розкладу (Таблиця 3.3).

. Заощадження по фонду заробітної плати на рік складає - 29740,65 грн., що зменшує витрати на нормування на 27%.

. Нормування складає 3-4% від загальної собівартості виробу:

 

Рисунок 3.21 - Частка нормування у собівартості виробу

. Програма виробу 120 штук на рік.

Собівартість виробу 20000 у.о. або 101600 грн., тоді:

Витрати на нормування одиниці виробу: 3556 грн.

Заощадження на нормуванні одиниці виробу: 960,12 грн.

Заощадження собівартості партії на місяць складає: 9601,26 грн.

Витрати на впровадження проекту: 47720 грн.

Отже окупність проекту складає 5 місяців.

3.5.8 Розробка посадової інструкції інженерові по організації й нормуванню праці ДАХК «Артем»

1.Загальні положення:

.1. Інженер по організації й нормуванню праці ставиться до професійної групи «Професіонали»;

.2. Призначення на посаду інженера по організації й нормуванню праці й звільнення з її здійснюється наказом голови правління підприємства по наданню старшого інженера по організації й нормуванню праці з дотриманням вимог Кодексу законів про працю України;

.3. Інженер по організації й нормуванню праці підкоряється безпосередньо старшому інженерові по організації й нормуванню праці;

.4. На продукцію загального призначення, що виготовляється, поширюються нормативні документи по якості;

.5. На авіаційну продукцію й спецтехніку повноваження й відповідальність персоналу визначаються нормативними документами системи;

.6. Інженер по організації й нормуванню праці у своїй роботі керується:

трудовим законодавством;

уставом підприємства;

СТП 14307699.154-2006 «Посібник з якості»;

СТП «Положення про відділ праці й заробітної плати»;

затвердженим планом робіт;

документами системи керування якістю продукції й послуг;

керівними й нормативними матеріалами по організації, нормуванню й оплаті праці;

наказами розпорядженнями вищестоящих керівників підприємства;

правилами внутрішнього трудового розпорядку;

правилами й нормами охорони праці, виробничій санітарії, пожежній безпеці й екології.

. Завдання й обов'язки:

.1. Виконує комплекс робіт з удосконалення організації й нормуванню праці, вивчає стан організації й нормування праці на закріплені за ним ділянках, розробляє й впроваджує заходу щодо їхнього вдосконалення з метою підвищення продуктивності праці й ефективності виробництва;

.2. Розробляє й впроваджує технічно обґрунтовані норми трудових витрат на основі використання міжгалузевих, галузевих й інших прогресивних нормативів по праці по всіх видах роботи виконуваних на підприємстві;

.3. Розробляє й впроваджує місцеві норми, що розраховують на основі технічних даних про продуктивність устаткування, результатів аналізу витрат робочого часу з урахуванням передових прийомів і методів праці;

.4. Установлює норми часу разові й додаткові роботи для сторонніх організацій і роботи, пов'язаної з відхиленням від технологічних процесів і встановленого порядку;

.5. Виконує ступінь і причини невідповідності фактичних витрат часу нормативним, застарілі й помилкові встановлені норми, проводить роботу зі своєчасної заміни їх новими, більше прогресивними, у міру впровадження організаційно-технічних заходів;

.6. Коректує норми трудових витрат при зміні організаційно-технічних умов виробництва;

.7. Аналізує існуючі організаційно-технічні умови виробництва, трудові процеси, сприяє підвищенню ефективності організації праці на основі матеріалів атестації й раціоналізації робочих місць;

.8. Проводить роботу з виявлення резервів продуктивності праці за рахунок поліпшення його організації й нормування, широкого використання цих резервів;

.9. Вивчає вітчизняний і закордонний досвід в області організації й нормування праці, узагальнює його й сприяє його впровадженню;

.10. Становить у повному обсязі звітність по організації й нормуванню праці відповідно до форм й у строки, установленими органами статистики;

.11. Виконує вимоги системи керування якістю продукції й послуг, що діє на підприємстві;

.12. Консультує працівників підприємства по формах і система оплати праці, матеріального й морального стимулювання, оплаті простоїв, шлюбу й інших видів нарахувань й утримань;

.13. Організовує роботу з тарифікації робіт і присвоєнню розрядів робітником;

.14. Контролює забезпечення випереджального росту продуктивності в порівнянні з ростом заробітної плати;

.15. Аналізує динаміку працевитрат і заробітної плати по виробах, розрядах, професіях і ділянках;

.16. Дотримує правил внутрішнього трудового розпорядку;

.17. Дотримує правил і норми охорони праці, виробничій санітарії, пожежній безпеці й екології;

.18. Дотримує комерційної таємниці й конфіденційність.

3.5.9 Розрахунок ризиків проекту впровадження

Ризик - це подія, здатне (у випадку його реалізації) вплинути на хід виконання проекту. Ризики існують у всіх проектах, але не завжди реалізуються. Ризик, що реалізувався, перетворюється в проблему.

Внутрішні ризики

. Порушення в роботі встаткування - при невеликій поломці неполадка відразу ж усувається, а у випадку неможливості налагодження фірма використає резерв коштів, створений спеціально для придбання встаткування в таких випадках.

. Пожежа, розкрадання - на цей випадок фірма може застрахуватися.

Зовнішні ризики

Для оцінки ризику можна застосувати метод експертних оцінок ризиків у різних фазах проекту. При аналізі ризиків передінвестиційної фази обертають уваги на фінансово-економічну життєздатність проекту, організаційно-технічний потенціал, функції й завдання основних учасників, виконувані роботи й рівень гарантій по інвестиціях і кредитам. В інвестиційній фазі оцінюють структуру керування проектом, фази реалізації проекту і якість виконання проектних робіт. В експлуатаційній фазі оцінці підлягають фактори, які негативно впливають на реалізацію проекту. Аналіз ризиків у передінвестиційній фазі лежить в основі вибору варіанта інвестування, однак при цьому прогнозуються ризики й в інвестиційної, і експлуатаційної фазах (таблиця).

По кожній фазі проекту складається вичерпний перелік факторів ризику. При цьому кожен фактор характеризується показниками пріоритету й питомої ваги кожного фактора і їхніх сукупностей. Значення пріоритетів і питомої ваги визначаються експертним шляхом.

У прикладі наведені три пріоритети (1, 2, 3). Вони визначають значення. Перший й останній пріоритети визначають відповідно мінімальне й максимальне значення. Скажемо, співвідношення, що відповідає першому й третьому пріоритетам, рівняється “10”. Якщо позначити всі фактори ризику в третьому пріоритеті як “х”, то середнєарифметичне значення в першому пріоритеті буде становити “10х”. Вага фактора ризику в другому пріоритеті буде становити (10+1)/2 = 5.5х.

У проекті враховані 16 факторів ризику. Питома вага фактора ризику в третьому пріоритеті рівняється 0.4. У другому відповідно - 2.2, у першому -4. Максимальний ризик - 160 (16·10), мінімальний - 16.

Таблиця 3.6 - Оцінка ризиків у різних фазах проекту

Фактор ризику

Пріоритет V

Середня оцінка P

Вага W

Імовірність PxW

1. Передінвестиційна фаза

1. Розробка проекту

3

8

0,4

3,2

2. Ефективність інвестицій

1

6

4

24

3. Ухвалення рішення щодо інвестування

3

7

0,4

2,8

Усього




30

2. Інвестиційна фаза

1. Зміни в проекті

3

7

0,4

2,8

2. Зрив строків впровадження

2

9

2,2

19,8

3. Зрив строків поставок устаткування

2

8

2,2

17,6

4. Кваліфікація персоналу

3

3

0,4

1,2

5. Підвищення цін на ПО

3

4

0,4

1,6

6. Невиконання контрактів партнерами

3

5

0,4

2

7. Підвищення витрат на заробітну плату

3

4

0,4

1,6

8. Підвищення витрат у зв'язку з несподіваними державними заходами податкового й митного регулювання

3

8

0,4

3,2

Усього




49,8

3. Експлуатаційна фаза

1. Забезпеченість оборотними коштами

3

6

0,4

2,4

2. Поява альтернативного продукту

3

5

0,4

2

3. Рівень інфляції

3

4

0,4

1,6

4. Надійність ПО

3

4

0,4

1,6

5. Недостатній рівень заробітної плати

2

8

2,2

17,6

Усього




25,2

Усього по фазах




105


У проекті експерти ставили оцінку з ранжируванням від кращих - “1” до гірших -“10”. Потім отримані в процесі експертизи бали підсумовуються по всім показниками з урахуванням вагових коефіцієнтів і складається узагальнена оцінка ризиків. Якщо узагальнена оцінка ризику рівняється від 16 до 70, проект ставиться до малоризикованих, від 70 до 120 - до середнєризикованих, 120 до 260 - до высокоризикованих. У прикладі вона рівняється 105. Отже, проект відноситься до середнєризикованих.

Кожне підприємство повинне прагнути до розвитку свого інноваційного потенціалу, забезпечуючи виробничі процеси новою технологією, технікою й можливістю випускати нові товари, але при ухваленні рішення про розробку інноваційного проекту (продукту) варто враховувати й ризики, які неодмінно будуть супроводжувати будь-які інновації на всіх стадіях їхньої розробки й впровадження. Одним з найбільш ефективних методів оцінки ризику при виборі варіанта інвестування можна застосувати метод експертних оцінок ризиків у різних фазах проекту, таких як: передінвестиційна, інвестиційна, експлуатаційна. По кожній фазі проекту складається вичерпний перелік факторів ризику. При цьому кожен фактор характеризується показниками пріоритету й питомої ваги кожного фактора і їхніх сукупностей. Однак жоден з розглянутих нами методів оцінки ефективності проекту сам по собі не є достатнім для прийняття проекту. Кожний з методів аналізу інноваційних проектів дає можливість розглянути лише деякі з характеристик розрахункового періоду, з'ясувати важливі моменти й подробиці. Тому для комплексної оцінки інноваційного проекту необхідно використати всі ці методи в сукупності. Як показує наш досвід, більшість успішно працюючих підприємств зобов'язані своїм успіхом розробці й випуску на ринок нових товарів, впровадженню нових методів виробництва й збуту, проникненню на нові ринки, розробці й впровадженню нових проектів. Все це пов'язане з ризиком. З іншого боку, без застосування інновацій практично неможливо створити конкурентноздатну продукцію, що має високий ступінь наукоємкості й новизни. Таким чином, у ринковій економіці інновації являють собою ефективний засіб конкурентної боротьби, тому що ведуть до створення нових потреб, до зниження собівартості продукції, до припливу інвестицій, до підвищення іміджу (рейтингу) виробника нових продуктів, до відкриття й охвата нових ринків, у тому числі й зовнішніх.

3.6 Безпека життєдіяльності

Тому що при розробці дипломного проекту використається комп'ютер, її необхідно організувати відповідно до Санітарних правил і нормами (Санпин 2.2.2.542-96), які призначені для запобігання несприятливого впливу на людину шкідливих факторів, що супроводжують роботи з відеодисплейними терміналами (ВДТ) і персональними електронно-обчислювальними машинами (ПЕВМ).

.6.1 Небезпечні й шкідливі фактори

До небезпечних і шкідливих факторів, відповідно до класифікації в ДЕРЖСТАНДАРТ 12.0.003-74, ставляться:

Фізичні:

підвищений рівень електромагнітного випромінювання

підвищений рівень рентгенівського випромінювання

підвищений рівень інфрачервоного випромінювання

підвищений рівень статичної електрики

підвищений рівень змісту позитивних аероіонов у повітрі робочої зони

знижений рівень змісту негативних аероіонов у повітрі робочої зони

підвищена або знижена вологість повітря робочої зони

підвищена або знижена рухливість повітря робочої зони

підвищений рівень шуму

підвищений або знижений рівень освітленості

Психофізіологічні:

напруженість зору

напруженість уваги

інтелектуальні навантаження

емоційні навантаження

тривалі статичні навантаження

монотонність праці

великий обсяг інформації, оброблюваний в одиницю часу

нераціональна організація робочого часу

нераціональна організація робочого місця.

3.6.2 Вимоги до роботи й заходу щодо їхнього здійснення

Вимоги до приміщень для експлуатації ВДТ і ПЕВМ

Приміщення із ВДТ і ПЕВМ повинні мати природне й штучне висвітлення.

Природне висвітлення повинне здійснюватися через світлопроєми, орієнтовані переважно на північ і північний схід і забезпечувати коефіцієнт природної освітленості (КЕО) не нижче 1,2% у зонах зі стійким сніжним покривом і не нижче 1,5% на іншій території.

Розташування робочих місць із ВДТ і ПЕВМ для дорослих користувачів у підвальних приміщеннях не допускається.

Площа на одне робоче місце із ВДТ або ПЕВМ для дорослих користувачів повинна становити не менш 6,0 кв. м, а обсяг - не менш 20,0 куб. м.

Приміщення із ВДТ і ПЕВМ повинні обладнатися системами опалення, кондиціонування повітря або ефективною приточно-витяжною вентиляцією. Розрахунок повітрообміну варто проводити по теплонадлишкам від машин, людей, сонячної радіації й штучного висвітлення.

Для внутрішньої обробки інтер'єра приміщень із ВДТ і ПЕВМ повинні використатися дифузні матеріали, що відбивають, з коефіцієнтом відбиття для стелі - 0,7 - 0,8; для стін - 0,5 - 0,6; для підлоги - 0,3 - 0,5.

Поверхня підлоги в приміщеннях експлуатації ВДТ і ПЕВМ повинна бути рівної, без вибоїв, неслизької, зручної для очищення й збирання, мати антистатичні властивості.

Вимоги до мікроклімату приміщень при експлуатації ВДТ і ПЕВМ

У виробничих приміщеннях, у яких робота на ВДТ і ПЕВМ є основною (диспетчерські, операторські, розрахункові, кабіни й пости керування, зали обчислювальної техніки й ін.), повинні забезпечуватися оптимальні параметри мікроклімату:

Таблиця 3.7 - Оптимальні норми мікроклімату для приміщень із ВДТ і ПЕВМ

Період року

Категорія робіт

Температура повітря, град. З, не більше

Відносна вологість повітря, %

Швидкість руху повітря, м/с

Холодний

легка 1а

22-24

40-60

0,1


легка 1б

21-23

40-60

0,1

Теплий

легка 1а

23-25

40-60

0,1


легка 1б

22-24

40-60

0,2


Для підвищення вологості повітря в приміщеннях із ВДТ і ПЕВМ варто застосовувати зволожувачи повітря, що заправляють щодня дистильованою або прокип'яченою питною водою.

Таблиця 3.8 - Рівні іонізації повітря приміщень при роботі ВДТ і ПЕВМ

Рівні

Число іонів в 1 див куб. повітря


n+

n-

Мінімально необхідні

400

600

Оптимальні

1500-3000

30 000-50 000

Максимально припустимі

50 000

50 000


Приміщення із ВДТ і ПЕВМ щогодини повинні бути провітрені, що забезпечує поліпшення якісного состава повітря, у тому числі й аероіонний режим.

Таблиця 3.9 - Оптимальні й припустимі параметри температури й відносної вологості повітря й приміщень із ВДТ і ПЕВМ

Оптимальні параметри

Припустимі параметри

Температура, град. З

відносна, вологість, %

температура, град.

відносна, вологість, %

19

62

18

39

20

58

22

31

21

55




У приміщеннях з надлишком явного тепла необхідно передбачати регулювання подачі теплоносія для дотримання нормативних параметрів мікроклімату.

У залах із працюючою обчислювальною технікою параметри мікроклімату повинні бути наступними:

у холодні періоди року температура повітря, швидкість його руху й відносна вологість повітря повинні відповідно становити: від 22 до 24 град. З; 0,1 м/с; від 60 до 40%; температура повітря коливається в межах від 21 до 25 град. С.

у теплі періоди року температура повітря, його рухливість і відносна вологість повинні відповідно становити: від 23 до 25 град. З; від 0,1 до 0,2 м/с; від 60 до 40%; температура повітря коливається від 22 до 26 град. С.

Повітря, що надходить у приміщення ОЦ, повинен бути очищений від забруднень, у тому числі від пилу й мікроорганізмів.

Кондиціонування повітря повинне забезпечувати автоматична підтримка параметрів мікроклімату в необхідних межах протягом всіх сезонів року, очищення повітря від пилу й шкідливих речовин, створення невеликого надлишкового тиску в чистих приміщеннях для виключення надходження неочищеного повітря. Температура повітря, що подається в приміщення із ВДТ і ПЕВМ, повинна бути не нижче 19 град. С.

Вимоги до рівня шуму й вібрації

У виробничих приміщеннях, у яких робота на ВДТ і ПЕВМ є допоміжної, рівні шуму на робочих місцях не повинні перевищувати значень, установлених для даних видів робіт "Санітарними нормами припустимих рівнів шуму на робочих місцях".

У приміщеннях, де працюють інженерно-технічні працівники, що здійснюють лабораторний, аналітичний або вимірювальний контроль, рівень шуму не повинен перевищувати 60 дба.

На робочих місцях у приміщеннях для розміщення гучних агрегатів обчислювальних машин (АЦПУ, принтери й т.п.) рівень шуму не повинен перевищувати 75 дба.

Знизити рівень шуму в приміщеннях із ВДТ і ПЕВМ можна використанням звуковбирних матеріалів з максимальними коефіцієнтами звукопоглинання в області частот 63 - 8000 Гц. Додатковим звукопоглащениєм служать однотонні занавеси із щільної тканини.

При виконанні робіт із ВДТ і ПЕВМ у виробничих приміщеннях рівень вібрації не повинен перевищувати припустимих значень згідно "Санітарним нормам вібрації робочих місць" (категорія 3, тип «в»)

Розрахунок висвітлення на ділянці

Висвітлення виконує корисну загально-фізіологічну функцію, що сприяє появі сприятливого психічного стану людей. З поліпшенням висвітлення підвищується працездатність, якість роботи, знижується стомлюваність, імовірність помилок, травматизму, аварійності. Недостатнє висвітлення веде до перенапруги очей, до загального стомлення людини. У результаті знижується увага, погіршується координація рухів, що може привести при конкретній фізичній роботі до нещасного випадку. Крім того, робота при низької освітленості сприяє розвитку короткозорості й інших захворювань, а також розладу нервової системи. Підвищена освітленість теж несприятливо впливає на загальне самопочуття людини і його зір, зокрема, викликаючи, насамперед сліпучий ефект. Висвітлення, що задовольняє гігієнічним й економічним вимогам, називається раціональним. До цих вимог ставляться: достатня освітленість, рівномірність, відсутність сліпимости, сприятливий спектральний склад, економічність.

Для висвітлення виробничих приміщень використають природне світло й світло від джерел штучного висвітлення.

Природне висвітлення

Джерелом природного висвітлення (денного світла) є сонячна радіація, тобто потік променистої енергії сонця, що доходить до земної поверхні у вигляді прямого або розсіяного світла. Природне висвітлення є найбільш гігієнічним. Якщо за умовами роботи його виявляється недостатньо, то використають спільне висвітлення.

Природна освітленість міняється в широкому діапазоні:

у безмісячну ніч - 0,00050 лк;

при повні - до 0,2 лк;

при прямому світлі солнца-до 100000 лк.

Штучне висвітлення

Штучне висвітлення передбачається в приміщеннях, у яких недостатньо природного висвітлення, або для висвітлення приміщень у годинники доби, коли природне висвітлення відсутнє.

Штучне висвітлення може бути загальним або комбінованим (до загального висвітлення додають місцеве). Використання тільки місцевого висвітлення неприпустимо, тому що різкий контраст між яскраво освітленими й неосвітленими місцями стомлює очі, сповільнює процес працездатності й може послужити причиною нещасних випадків й аварій. У сучасних будинках застосовую одночасно природне й штучне висвітлення (спільне висвітлення). Важливо, що б обоє висвітлення гармоніювали між собою. Для штучного висвітлення, у цьому випадку, доцільно використати люмінесцентні лампи. У цьому випадку використаємо розрахунок висвітлення методом коефіцієнта використання світлового потоку.

Світловий потік розрахуємо по формулі (3.1):

, (3.1)

де Еmin - номінальна освітленість 500 лк;- площа приміщення S = 60м2;- коефіцієнт мінімального висвітлення 1,1;

Кз - коефіцієнт запасу 1,5;

η - коефіцієнт світлового потоку 0,41;- кількість ламп 20 шт.

Підставивши значення у формулу (3.1.), визначимо:

.

Відповідно до стандартів, приймаємо наступну люмінесцентну лампочку:

Лампа ЛХБ (люмінесцентна холодно-білого світла) Fл = 6000 Лм і Р = 200Вт.

Потужність освітлювальної установки для приміщення складає:уст = Рл·N = 20·200 = 4000Вт

Заходи щодо протипожежної безпеки

Пожежі на підприємствах становлять більшу небезпеку для працюючих і можуть завдати матеріальної шкоди. Причиною пожежі на 33% випадків є порушення технологічного режиму. Складність протипожежного захисту збільшуються розмірами підприємств, великою щільністю забудови.

Щоб уникнути самозаймання використаного обтирального матеріалу (кінців, дрантя, ганчірок й ін.) його варто зберігати вдалині від нагрітих предметів, опалювальних пристроїв, електроустаткування й електроустановок у металевих ящиках, що щільно закриваються. Використаний обтиральний матеріал повинен убиратися з ящика не рідше одного разу в зміну.

У цеху особливу пожежну небезпеку представляє прибудова (архіви технологічної документації). Виробництво в цеху по ступені пожежній і вибухонебезпечній обстановці відповідно до СН і П2.01.02-85 ставиться до категорії Д, а будинок до 2-ий ступеня Вогнестійкості. У цеху використаються вогнегасники ОУ-2 безпосередньо для гасіння електропроводки, а також є ОХП-10 і пожежний щит. Передбачено евакуацію людей у випадку пожежі по СН і П2.01.02-85.

Для запобігання й ліквідації пожеж створюються групи ЦО, пожежні підрозділи, до складу яких входять працівники цеху. Постійно проводяться навчання з імітацією пожеж. Де працівники здобувають необхідні практичні знання на випадок виникнення пожежі безпосередньо в цеху. Ще в цих групах вони займаються прогнозуванням характеру й обсягу рятувальних й інших невідкладних робіт. При цьому основними видами невідкладних робіт можуть бути:

Розвідка маршрутів і ділянок робіт рятувальників;

Усунення й гасіння пожеж на маршрутах руху й ділянках робіт рятувальників;

Пошук потерпілих і порятунок їх з палаючих будинків;

Надання першої медичної допомоги й доставку потерпілих у лікарню;

Вивіз працівників у безпечні зони;

Ліквідація й гасіння інших пожеж;

Пошук і знешкодження інших вибухонебезпечних предметів;

Розглянемо випадок загоряння ГСМ на території заводу(120тонн):

. Розрахунок радіуса зовнішньої зони можливих суцільних пожеж:

 (3.2)

.Радіус зовнішньої границі можливих окремих пожеж:

.Радіус «калюжі» рідкої горючої речовини:

 (3.3)

.Втрати основних фондів:

.Розрахунок втрат виробничого персоналу:

Мзаг=3+72+30=105 (чіл).

Перерахування рятувальних й інших робіт:

Розвідка щирої пожежної ситуації на території заводу, особливо на 3-х шляхах руху й 3-х ділянках робіт рятувальників;

Евакуація виробничого персоналу в безпечні місця;

Локалізація аварій на енергетичних мережах заводу, їхній ремонт і відновлення

Вимоги до організації режиму праці й відпочинку при роботі із ВДТ і ПЕВМ

Режими праці й відпочинку при роботі з ПЕВМ і ВДТ повинні організовуватися залежно від виду й категорії трудової діяльності.

Види трудової діяльності розділяються на 3 групи:

група А - робота зі зчитування інформації з екрана ВДТ або ПЕВМ із попереднім запитом;

група Б - робота з уведення інформації;

група В - творча робота в режимі діалогу з ЕОМ.

Тривалість обідньої перерви визначається чинним законодавством про працю й Правилами внутрішнього трудового розпорядку підприємства (організації, установи).

Для забезпечення оптимальної працездатності й збереження здоров'я професійних користувачів, протягом робочої зміни повинні встановлюватися регламентовані перерви.

Час регламентованих перерв протягом робочої зміни варто встановлювати залежно від її тривалості, виду й категорії трудової діяльності.

Таблиця 3.10 - Час регламентованих перерв залежно від тривалості робочої зміни, виду й категорії трудової діяльності із ВДТ і ПЕВМ

Категорія роботи із ВДТ або ПЕВМ

Рівень навантаження за робочу зміну при видах робіт із ВДТ

Сумарний час регламентованих перерв, хв.


Група А, кількість знаків

Група Б, кількість знаків

Група В, година

При 8-ми годинній робочій зміні

При 12-ти вартовий робочій зміні

I

До 20000

До 15000

До 2,0

30

70

II

До 40000

До 30000

До 4,0

50

90

III

До 60000

До 40000

До 6,0

70

120


При 8-ми годинній робочій зміні й роботі на ВДТ і ПЕВМ регламентовані перерви варто встановлювати:

для 1 категорії робіт через 2 години від початку робочої зміни й через 2 години після обідньої перерви тривалістю 15 хвилин кожний;

для II категорії робіт через 2 години від початку робочої зміни й через 1,5-2,0 години після обідньої перерви тривалістю 15 хвилин кожний або тривалістю 10 хвилин через щогодини роботи;

для III категорії робіт через 1,5-2,0 години від початку робочої зміни й через 1,5-2 години після обідньої перерви тривалістю 20 хвилин кожний або тривалістю 15 хвилин через щогодини роботи.

У випадках виникнення в працюючих із ВДТ і ПЕВМ зорового дискомфорту й інших несприятливих суб'єктивних відчуттів, незважаючи на дотримання санітарно-гігієнічних, ергономічних вимог, режимів праці й відпочинку варто застосовувати індивідуальний підхід в обмеженні часу робіт із ВДТ і ПЕВМ, корекцію тривалості перерв для відпочинку або проводити зміну діяльності на іншу, не пов'язану з використанням ВДТ і ПЕВМ.

Працюючої на ВДТ і ПЕВМ із високим рівнем напруженості під час регламентованих перерв і наприкінці робочого дня показане психологічне розвантаження в спеціально обладнаних приміщеннях (кімната психологічного розвантаження).

У розділі «Автоматизація технологічної підготовки підприємства» були розглянуті питання рішення завдання автоматизації та вибір САПР. Розрахунки впровадження САПР ТП «Вертикаль» у відділі організації праці і заробітної плати та його штатний розклад. Проведені розрахунки витрат та економічної ефективності впровадження. Розглянуті небезпечні і шкідливі фактори.

ВИСНОВКИ

У даному дипломному проекті були розглянуті питання пов'язані з автоматизацією нормування технологічних процесів за допомогою системи автоматизованого проектування технологічних процесів «Вертикаль» у відділі організації праці й заробітної плати ДАХК«Артем».

вибрана САПР «Вертикаль»;

побудовано сітівий графік впровадження проекту;

розроблено стадії циклу впровадження із вказівкою трудоемкостей;

побудовано діаграму витрат;

розраховано бюджет проекту та економічну ефективість;

розроблено штатний розпис службовців техніко-нормувального бюро;

розроблено посадову інструкцію інженерові-нормувальнику 1 категорії;

ідентифіковано ризики й розроблені міри реагування;

Початок проекту: 01.04.07 закінчення: 26.06.07

Тривалість: 90 днів.

Бюджет: 47720грн.

Окупність проекту: 5 місяців

БІБЛІОГРАФІЧНИЙ СПИСОК

1. Погорелов М.И. Нормування труда в промисловості: Навч. посібник для внз. - Х.: Вид-во «Основа», 1991. - 184 с.

. Силантьєва Н.А., Малиновській В.Р. Технічне нормування праці в машинобудівництві: Підручник для навч. сер. спец. навч. - 2-е вид., перероб. і доп. - М.: Машинобудівництво, 1990. - 256 с.

. Аксенова Е.В. Нормування труда в машинобудівництві. - К,: Техніка, 1985. - 93 с.

. ДСТУ 3974-2001 Система розроблення та поставлення продукції на виробництво. Київ, 2001.

. Генкін Б.М. Нормування праці. - М.: Економіка, 1985. - 272 с.

. Загально машинобудівні норми часу. М.: 1984. - 470 с.

. Ахумов А.В. Довідник нормувальника. - Л.: Машинобдівництво, Ленінгр.1986. - 458 с.

. Управління персоналом організації: Підручник / Під ред. А.Я. Кибанова. - 2-і изд., доп. і перераб. - М.:ИНФРА-М, 2003. - 638 с.

. Мазур И.И., Шапиро В.Д., Ольдерогге Н.Г. Управління проектами: Учеб. посібник для вузів/ Під общ. ред. И.И. Мазура. - М.: Економіка, 2001.- 574с.

Похожие работы на - Автоматизація нормування технологічних процесів у відділі організації праці і заробітної плати державної акціонерної холдингової компанії 'Артем'

 

Не нашли материал для своей работы?
Поможем написать уникальную работу
Без плагиата!
Без нейросетей!