Технология сборки и сварки рештака

  • Вид работы:
    Дипломная (ВКР)
  • Предмет:
    Другое
  • Язык:
    Русский
    ,
    Формат файла:
    MS Word
    1,31 Мб
  • Опубликовано:
    2012-10-04
Вы можете узнать стоимость помощи в написании студенческой работы.
Помощь в написании работы, которую точно примут!

Технология сборки и сварки рештака

Введение

сварка металл рештак

Сварка - процесс получения неразъёмного соединения посредством установления межатомных связей между свариваемыми частями при их местном или общем нагреве, или одновременно действием того и другого.

Сварка металлов старый и в то же время современный, беспрерывно совершенствующийся и развивающийся технологический процесс. Развитие сварки обусловлено тем, что она увеличивает прочность и долговечность конструкции, экономит металл, снижает стоимость и сроки работ. Сварка применяется для возведения новых конструкций, для ремонта машин и аппаратов, восстановления разрушенных сооружений и т.д. Можно продлить срок службы сработавшихся деталей и узлов, наплавив на их поверхность новый слой металла. Сварные конструкции несут свою службу при сверхвысоких и сверхнизких температурах, при давлении, во много раз превосходящем атмосферное.

Сварка плавлением начинает свою историю с изобретения русского ученого Н. Н. Бенардоса, который в 1881 г. предложил частично расплавлять и сваривать металл с помощью электрической дуги, горящей между изделием и угольным электродом. В 1888 г. русский инженер Н. Г. Славянов предложил вместо угольного электрода использовать металлический, который в процессе сварки плавится и заполняет зазор между деталями.

Параллельно развивалась газовая сварка, при которой для плавления металла использовалось пламя, образующееся при сгорании газа в смеси с кислородом. В конце девятнадцатого века этот способ сварки считался даже более перспективным, чем дуговая, т. к. не требовал мощных источников электроэнергии, а пламя одновременно с плавлением металла защищало его от окружающего воздуха. Что и позволяло получать хорошее качество сварных соединений.

Сварка плавлением используется для соединения практически всех используемых в технике металлов толщиной от долей миллиметра до сотен сантиметров, а также некоторых неметаллов (стекла, керамики, графита и др.). Широкие возможности сварки плавлением облегчают решение задач, стоящих перед инженерами-технологами. Однако разработанный технологический процесс должен не только обеспечить требуемые свойства сварных соединений, но быть экономичным и экологически приемлемым.

Целью проекта является систематизация и внедрение более эффективных способов сварки. На основе имеющейся технологии замена механизированной сварки в углекислом газе на механизированную сварку в смеси газов аргона и углекислого газа, что позволит повысить производительность труда и даст экономический эффект. В данном проекте ставится следующая задача: анализ существующей технологии изготовления рештака, учет недостатков данной технологии и внедрение наиболее эффективной технологии.

1. Общая часть

.1 Описание сварной конструкции

Рештак А - 3480.ТАГ.002.06.01.100 входит в состав конвейера Анжера - 34. Длина конвейера до 350м, производительность до 2500 т/час. Рештачный став конвейера состоит из лито - сварных секций. В составе секции става непосредственно рештак с литыми боковинами (забойная боковина отлита с лемехом), и приваренным бортом с кронштейнами под установку реек, съемный желоб кабелеукладчика, пластины перекрытия от просыпа горной массы между желобами, рейки и фасонные соединители. Ширина по внутреннему каналу 800мм. Литые боковины рештаков имеют модернизированную форму профиля. И вследствие этого скребок не имеет на концах острых углов, что позволило поднять ресурс боковин и самого скребка. Кроме того, термообработка боковин в автоматизированной закалочной печи позволила получить равномерную заданную твердость. Что в совокупности с применением износостойких листов, толщиной 40мм и твердостью 300 - 600 Hb, для изготовления рештаков, позволило достигнуть ресурса 10 - 15 млн. тонн перемещенной горной массы.

Рисунок 1 Рештак А - 3480.ТАГ.002.06.01.100:

- козырек; 2 - козырек; 3 - боковина забойная; 4 - боковина завальная; 5 - днище верхнее; 6 - днище нижнее.

1.2 Материалы изделия

Козырьки изготавливают из стали 30ХГСА ГОСТ 11269 - 76 из листа толщиной 40мм по ГОСТ 19903 - 74.

ХГСА. Назначение - различные улучшаемые детали: валы, оси зубчатые колеса, фланцы, рычаги, ответственные сварные конструкции работающие при знакопеременных нагрузках.

Таблица 1 - Химический состав, % стали 30ХГСА ГОСТ 11269 - 76

С

Si

Mn

Cr

P

S

Cu

Ni





Не более

0,28-0,34

0.90-1.20

0.80-1.10

0.80-1.10

0,025

0,025

0,30

0,30


Таблица 2 - Механические свойства. Закалка 8800С, масло, отпуск 6000С, вода


Свариваемость - ограниченно свариваемая. Способы сварки: РДС, АДС, под флюсом и газовой защитой, АрДС, ЭШС. Рекомендуется подогрев и последующая термообработка. КТС без ограничений.

Флакеночувствительность - чувствительна.

Склонность к отпускной хрупкости - склонна

Литые боковины изготавливают из стали 30ГСЛ ГОСТ 977 - 88

Вид поставки - отливки ГОСТ 977 - 88. Назначение - зубчатые колеса, ролики, обоймы, зубчатые венцы, рычаги, фланцы, шкивы, сектора, колонны.

Таблица 3 - Химический состав. %(ГОСТ 977 - 88)

С

Mn

Si

P

S

Cr

Ni

Cu




Не более

0,25-0,35

1,10-1,40

0,60-0,80

0,040

0,040

0,30

0,30

0,30


Таблица 4 - Механические свойства (ГОСТ 977 - 88)

Режим термообработки

сечение

0,2

в

5

КСU. Дж/см2



МПа

%


Нормализация 8700-8900С, Отпуск 5700-6000С

До 100

350

600

14

25

29

Закалка 9200-9500С, Отпуск 5700-6500С

До 100

400

650

14

30

49


Свариваемость - способы сварки: РДС, АДС под газовой защитой, ЭШС.

Необходимы подогрев и последующая термическая обработка.

Флакеночувствительность - не чувствительна.

Склонность к отпускной хрупкости - не склонна.

Днище верхнее изготавливается из листа XARDOX 400.

Таблица 5 - Химический состав, %

C

Si

Mn

p

S

Mo

Cr

B

0.13

0.45

1.4

0.025

0.010



0.002


Таблица 6 - Механические свойства


Свариваемость - обладает хорошей свариваемостью, прекрасно сваривается со всеми другими конструкционными сталями с применением любого общепринятого метода сварки. Может свариваться общей толщиной листов до 40мм без предварительного нагрева.

1.3 Оценка технологичности

.3.1 Технологическая свариваемость металла сварного изделия

Свариваемость легированных сталей - это способность переносить сварочный термический цикл без образования в соединении участков металла с пониженными пластическими свойствами, способствующими возникновению трещин при сварке конструкций или разрушению сварных соединений в процессе эксплуатации согласно [2].

Само понятие свариваемости уже говорит о том, что свариваемость является комплексной характеристикой металла, отражающей его реакцию на физико-химическое воздействие процесса сварки и способность образовывать сварное соединение, отвечающее заданным эксплуатационным требованиям.

Свариваемость не является неизменным свойством металла, подобно физическим свойствам. Наряду с технологическими характеристиками металла свариваемость металла определяется способом и режимом сварки, составом присадочного металла, сварочного флюса, электродного покрытия, защитного газа, а также конструкцией сварного узла и условиями эксплуатации изделия.

Различают физическую и технологическую свариваемость

Физическая свариваемость предполагает способность металлов образовывать в результате сварки каким-либо способом монолитные соединения с химической связью. Большинство металлов и сплавов обладают хорошей физической свариваемостью.

Технологическая свариваемость представляет собой технико-экономический показатель и характеризует возможность получения сварного соединения требуемого качества, удовлетворяющего требованиям надежности конструкции при эксплуатации и наименьшей стоимости при изготовлении.

Технологическая свариваемость зависит как от свойств основного металла, так и от состава наплавляемого (присадочного, электродного) металла, способа и режима сварки, используемых флюсов, покрытий, защитных газов, конструкции сварного узла и условий эксплуатации изделия.

Считают, что все металлы и сплавы могут образовывать при сварке плавлением сварные соединения удовлетворительного качества. Разница между металлом с хорошей и плохой свариваемостыо заключается в том, что при сварке последних необходима более сложная технология сварки (предварительный подогрев, последующая термическая обработка, сварка в вакууме и т. д.).

В процессе сварки в результате нагрева и охлаждения происходят изменения структуры и свойств в участках основного металла, прилегающих к шву. Вся зона основного металла, в которой в результате нагрева и охлаждения происходит изменение структуры и свойств, называется зоной термического влияния. Ширина ее ограничивается участком с температурой около 100°С. В зависимости от способа сварки она может быть очень малой (до 1мм) или до 40-50мм. Строение зоны термического влияния для конструкционной стали показано на рис. 2.

Участок полного расплавления металла (металл шва) при остывании имеет крупнозернистую литую структуру, участок неполного расплавления металла является переходным от наплавленного металла к основному и называется зоной сплавления.

Участок перегрева нагревается до 1100 - 1300°С и характеризуется крупным зерном. Зона сплавления и зона крупного зерна называются околошовной зоной. В этой зоне в результате нагрева и охлаждения наиболее резко изменяются структура и свойства основного металла, определяющие свариваемость, снижается пластичность и ударная вязкость.

Рисунок 2 Строение зоны термического влияния сварного шва при дуговой сварке низкоуглеродистой стали

Участок нормализации нагревается выше критической точки Асз и характеризуется измельчением зерна и повышением механических свойств.

Участок неполной перекристаллизации характеризуется нагревом от точки Ас1 до точки Асз. Структурные изменения в этом участке влияют на свойства сварных соединений меньше, чем изменения в околошовной зоне.

Если до сварки металл подвергался холодной пластической деформации, то на участках при нагреве выше 500°С может происходить рекристаллизация. При нагреве ниже 500°С возможно старение стали, что сопровождается резким снижением вязкости.

Вследствие неравномерного нагрева деталей в шве и зоне термического влияния возникают значительные растягивающие напряжения.

При кристаллизации металла шва под влиянием растягивающих напряжений могут образовываться кристаллизационные (горячие) трещины нарушающие сплошность сечения и вызывающие брак конструкции. Определение стойкости металла шва против возникновения кристаллизационных горячих трещин является первым видом испытания свариваемости. В зонах закалки металл имеет пониженную пластичность и могут образовываться околошовные холодные трещины. Испытание металла околошовной зоны, шва и сварного соединения в целом на склонность к образованию холодных трещин является вторым видом испытания свариваемости.

В результате реакций, протекающих в сварочной ванне, и применения дополнительного присадочного металла химический состав металла шва может отличаться от химического состава основного металла. Поэтому в испытания на свариваемость включают испытания механических свойств металла шва и сварного соединения.

Горячие или кристаллизационные трещины образуются главным образом в металле сварного шва в процессе его кристаллизации во время пребывания в температурном интервале кристаллизации (), когда возникающие внутренние напряжения достаточны, чтобы вызвать разрушение по границам зерен. Горячие трещины наблюдаются при сварке высоколегированных сталей, алюминиевых и медных сплавов.

Качественную оценку сопротивляемости образованию горячих трещин при сварке проводят по результатам сварки жестких образцов (технологических проб).

Количественную оценку сопротивляемости горячим трещинам проводят на специальной испытательной машине. При испытании образцов кристаллизующаяся сварочная ванна подвергается деформации растяжения. Скорость растяжения, вызывающая образование горячих трещин, называется критической и является количественной оценкой сопротивляемости металла шва образованию трещин.

Холодные трещины по границам зерен и в зерне возникают в зоне термического влияния и шве после полного затвердевания сварного шва или последующего вылеживания сварной конструкции.

На склонность к образованию холодных трещин оказывают влияние водород, попадающий из флюсов или атмосферы в металл шва; структурное состояние металла, жесткость сварной конструкции, а также инородные включения и поры в металле.

Наиболее простым способом определения склонности к образованию холодных трещин являются специальные технологические пробы.

С учетом этого основными показателями свариваемости в настоящее время приняты следующие:

сопротивляемость образованию горячих трещин при сварке;

сопротивляемость образованию холодных трещин и замедленному разрушению;

чувствительность к образованию пор;

сопротивляемость образованию трещин при повторных нагревах и т.п.

В практике пользуются набором основных показателей, типовых для каждого вида материала и условий эксплуатации изготовленных из него сварных конструкций.

Сталь 30ХГСА обладает ограниченной свариваемостью. Это выражается в ограничении режимов сварки и тепловых условиях проведения процесса, при которых обеспечиваются требуемые свойства. Ограниченная свариваемость обусловлена повышенной прокаливаемостью этой стали и большой зависимостью механических свойств от режима термообработки.


Таблица 7 ¾Условия сварки углеродистых и низколегированных сталей перлитного класса в зависимости от их химического состава

Эквивалентное содержание углерода в стали, %

Технологический процесс, обеспечивающий отсутствие холодных трещин

Сэ ≤ 0,25

Сварка в обычных условиях (без подогрева)

0,25‹ Сэ ≤ 0,35

Сварка с низким подогревом (150-200 оС) и с последующей термообработкой (нормализация или отпуск)

0,35‹ Сэ ≤ 0,5

Сварка с высоким подогревом (500-600 оС), либо в некоторых случаях с сопутствующим подогревом и последующей термообработкой (нормализация или отпуск)


Наиболее опасный дефект околошовной зоны при сварке данной стали- холодные трещины. Независимо от исходного состояния свариваемой стали образование холодных трещин наблюдается в высокотемпературной области зоны аустенизации. При распаде остаточного аустенита с увеличением объема образуется хрупкая структура неотпущенного мартенсита, что вызывает дополнительные структурные напряжения. Чем грубее структура первичного мартенсита, тем она более хрупка, и образование трещин более вероятно. Образованию трещин с течением времени способствует водород, растворенный в металле; он затормаживает распад аустенита и снижает точку мартенситного превращения стали. Кроме этого, существует опасность образования кристаллизационных трещин. Иногда могут возникать затруднения при получении сварного соединения с механическими свойствами, близкими к свойствам основного металла.

К основным мерам, препятствующим образованию холодных трещин, относятся:

использование технологии сварки, обеспечивающей отсутствие грубой закалочной структуры литого металла шва, а также минимизацию перегрева зоны термического влияния;

избежание дополнительных растягивающих напряжений при остывании шва за счет реакций связи закрепленного изделия;

применение предварительного или сопутствующего подогрева;

снижение содержания водорода в соединении (водород способствует трещинообразованию);

термическая обработка после сварки (как правило, отпуск).

Склонность к образованию кристаллизационных трещин снижают путем уменьшения концентрации в металле шва серы, углерода, кремния и других элементов, оказывающих подобный эффект, а также за счет дополнительного легирования элементами, повышающими стойкость к образованию трещин, таких как марганец, хром, титан.

Для приближенной оценки влияния термического цикла на закаливаемость и ориентировочного определения необходимого подогрева перед сваркой используют эквивалент углерода. Если Сэ<0,45%, данная сталь может свариваться без предварительного подогрева; если Сэ>0,45%, необходим предварительный подогрев, тем больший, чем выше значение Сэ. Полный эквивалент углерода Сэ определяют по формуле:

Сэхр, (1)

где Сх - химический эквивалент углерода;

Ср - размерный эквивалент углерода.

Сх=С+1/9 Mn+1/9Cr+1/18Ni+1/12Mo; (2)

Cх=0,47 - 0,6

Ср=0,005S·Сх, (3)

где S - толщина свариваемой стали, мм.

Тогда полный эквивалент углерода;

Сэх·(1+0,005S) (4)

Сэ=0,48 - 0,61

Определив полный эквивалент углерода, необходимую температуру предварительного подогрева определим по формуле

Тпод= (5)

Тпод=167 - 2100С

Полученная температура предварительного подогрева должна быть проверена и откорректирована путем определения действительных скоростей охлаждения на принятых режимах и сопоставления результатов расчета с рекомендуемым для данной марки стали диапазоном допустимых скоростей охлаждения согласно [4].

Термическая обработка соединения после сварки необходима в случае требования равнопрочности соединения основному металлу в термоупрочненном состоянии. Если такое требование не выдвигается, то необходимости в последующей термообработке не возникает. Разупрочнение в зоне термического влияния для стали 30ХГСА не превышает в среднем 20% согласно [2]. При необходимости получения сварного соединения с высокими пластическими свойствами, без требования высокой прочности, широко применяется сварка высоколегированными материалами с целью получения устойчивой аустенитной структуры. Термообработка после сварки в данном случае не проводится согласно [2].

При сварке среднеуглеродистых высокопрочных сталей в защитных газах используют низкоуглеродистые легированные проволоки. Однако равнопрочности металла шва и свариваемой стали получить не удается. Обеспечить равнопрочность сварного соединения и основного металла можно за счет эффекта контактного упрочнения мягкого металла шва. В этом случае работоспособность сварного соединения при данном соотношении свойств мягкой прослойки - шва и основного металла определяется относительной толщиной мягкой прослойки.

В наиболее полной степени эффект контактного упрочнения может быть реализован при применении щелевой разделки, представляющей собой стыковое соединение с относительно узким зазором.

Отсутствие шлаковой корки на поверхности шва позволяет выполнять механизированную сварку в защитных газах короткими и средней длины участками (каскадом, горкой), сократить до минимума перерыв между наложением слоев многослойного шва. Возможно применять автоматическую двух - или многодуговую сварку дугами, горящими в различных плавильных пространствах так, чтобы тепловое воздействие от выполнения последующего слоя на околошовную зону предыдущего проходило при необходимой температуре. Все это позволяет регулировать температурный цикл и получать наиболее благоприятные структуры в околошовной зоне согласно [4].

1.3.2 Сварка металла толщиной до 40мм

Способы выполнения швов зависят от их длины и толщины свариваемого металла. Условно считают швы длиной до 250мм короткими, длиной 250мм ÷ 1000мм - средними, более 1000мм - длинными.

Короткие швы обычно сваривают напроход. Швы средней длины сваривают либо напроход от середины к краям, либо обратно - ступенчатым способом. Длинные швы также сваривают обратно - ступенчатым способом, либо участками вразброс.

Сущность сварки обратно - ступенчатым способом заключается в том, что весь шов разбивается на короткие участки длиной от 100 до 300мм, и сварка на каждом участке выполняется в направлении, обратном общему направлению сварки с таким расчетом, чтобы окончание каждого данного участка совпало с началом предыдущего.

Рисунок 3 Способы выполнения швов: а - от середины к краям;

б - обратно - ступенчатый; в - обратно - ступенчатый от середины к краям

Сварка обратно - ступенчатым способом применяется с целью уменьшения сварочных деформаций и напряжений. При сварке металла большой толщины шов выполняется за несколько проходов. При этом заполнение разделки может производиться слоями или валиками. При заполнении разделки слоями каждый шов выполняется за один проход. При заполнении разделки валиками в средней и верхней частях разделки каждый слой шва выполняется за два и более проходов путем наложения отдельных валиков. На практике первый способ чаще применяется при сварке угловых швов, второй - стыковых.

Рисунок 4 Способы заполнения разделки

При сварке толстого металла выполнение каждого слоя напроход является нежелательным, так как это приводит к значительным деформациям, а также может привести к образованию трещин в первых слоях. Образование трещин вызывается тем, что первый слой шва перед наложением второго успевает остыть полностью (или почти полностью). Вследствие большой разницы в сечениях наплавленного слоя и свариваемого металла все деформации, возникающие при остывании неравномерно нагретого металла, сконцентрируются в металле шва, что приведет к трещинообразованию.

Для предотвращения образования трещин заполнение разделки при сварке толстого металла следует производить с малым интервалом времени между наложением отдельных слоев. Это достигается применением каскадного метода заполнения разделки или заполнения разделки горкой. Длина каждого участка должна быть не более 300мм.

Рисунок 5 Способы наложения швов при многослойной сварке: а - напроход; б - каскадный; в - горкой

Если по окончании шва сразу оборвать дугу, то образуется незаполненный металлом кратер, который ослабляет сечение шва и может явиться началом образования трещин. Поэтому при окончании шва всегда должна производиться заварка кратера, которая осуществляется в течении короткого времени без перемещения электрода вдоль свариваемых кромок, а затем постепенное удлинение дуги до ее обрыва согласно [ 5].

При толщине металла 40мм сварку ведут с двух сторон. Зазор заполняют послойно со скоростью 25 - 30м/ч. Многослойная сварка обеспечивает раздробленную структуру металла шва с отсутствием грубых дендритов и малую протяженность зоны термического влияния.

.3.3 Технологичность сварного изделия

Технологичность сварных конструкций - одно из главных условий ускорения научно - технического прогресса в сварочном производстве, снижение металлоемкости, трудоемкости, энергоемкости и себестоимости машин и оборудования из сварных элементов, повышение их качества и надежности.

Сварная конструкция считается технологичной, если она скомпонована из такого количества элементов, с приданием им таких размеров и форм, с применением таких марок и видов материалов, технологии, оборудования, оснастки и методов организации производства, которые при заданном объеме выпуска и полном выполнении эксплуатационных функций конструкцией, обеспечивают ее простое и экономичное изготовление.

Технологичность конструкции оцениваем в соответствии с методикой изложенной в источнике [11].

Коэффициент механизации и автоматизации сварных работ, по протяженности сварных швов.

, (6)

где - длина сварных швов выполненных механизированной сваркой;

- общая протяженность сварных швов.


Коэффициент использования металла равен отношению веса металла заготовок  к весу используемого материала:


Коэффициент соотношения длины сварных швов и массы конструкции:

 (7)


Коэффициент использования оборудования по току:

, (8)


Коэффициент повторяемости конструктивных элементов деталей сварной конструкции:

, (9)

где - число наименований деталей с повторяющимся конструктивным элементом; ; -общее количество наименований деталей сварной конструкции; .


Коэффициент, характеризующий соотношение между общей массой наплавленного металла  и массой сварной конструкции  вычисляется по формуле:

 (10)

кг



2. Анализ способа сварки и сварочных материалов

2.1 Обзор способов сварки

Ручная дуговая сварка электродами с покрытием в настоящее время остаётся одним из распространенных методов, используемых при изготовлении сварных конструкций. Это объясняется простотой и мобильностью применяемого оборудования, возможностью выполнения сварки в различных пространственных положениях и в местах, труднодоступных для механизированных способов сварки. Сущность метода заключается в том, что к электроду и свариваемому изделию для образования и поддержания сварочной дуги от источников сварочного тока подводится постоянный или переменный сварочный ток (рис.6). Дуга расплавляет металлический стержень электрода, его покрытие и основной металл. Расплавляющийся металлический стержень электрода в виде отдельных капель, покрытых шлаком, переходит в сварочную ванну.

В сварочной ванне электродный металл смешивается с расплавленным металлом изделия (основным металлом), а расплавленный шлак всплывает на поверхность.

Рисунок 6 Ручная дуговая сварка металлическим электродом с покрытием: 1 - металлический стержень; 2 - покрытие электрода; 3 - газовая атмосфера дуги; 4 - сварочная ванна; 5 - затвердевший шлак; 6 - закристаллизовавшийся металл шва; 7 - основной металл; 8 - капли расплавленного электродного металла; 9 - глубина проплавления

Ввиду того, что от токоподвода в электродержателе сварочный ток протекает по металлическому стержню электрода, стержень разогревается. Перед началом сварки металлический стержень имеет температуру окружающего воздуха, а к концу расплавления электрода температура повышается до 500…600С. Это приводит к тому, что скорость расплавления электрода (количество расплавленного электродного металла) в начале и в конце различна. Изменяется и глубина проплавления основного металла, ввиду изменения условий теплопередачи от дуги к основному металлу через прослойку жидкого металла в сварочной ванне. В результате изменяется соотношение долей электродного и основного металлов, участвующих в образовании металла шва, а значит, и состав и свойства металла шва, выполненного одним электродом. Это - один из недостатков ручной дуговой сварки покрытыми электродами. Существенный недостаток этого способа - малая производительность процесса и зависимость качества сварного шва от практических навыков сварщика.

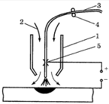
Автоматическая сварка под флюсом нашла широкое применение в промышленности при производстве конструкций из сталей, цветных металлов и сплавов объясняется высоким качеством и более постоянными свойствами сварного соединения, более низким, чем при ручной сварке, расходом сварочных материалов и электроэнергии. Электродная проволока подаётся в зону сварки чрез флюс с помощью специального подающего механизма сварочного автомата, а также автоматизировано перемещение дуги относительно изделия со скоростью сварки. Сварочная дуга горит между голой электродной проволокой 1 и изделием, находящимся под слоем флюса 3 (рис.7). В расплавленном флюсе 5 газами и парами флюса и расплавленного металла образуется полость - газовый пузырь 4, в котором существует сварочная ванна. Кристаллизация расплавленного металла сварочной ванны 7 приводит к образованию сварного шва 6. Затвердевший флюс образует шлаковую корку 8 на поверхности шва.

К недостаткам способа относится возможность сварки только в нижнем положении ввиду возможного стекания расплавленных флюса и металла при отклонении плоскости шва от горизонтали более чем на 10…15, а также невозможность визуального наблюдения за протеканием процесса образования сварного шва.

Рисунок 7 Сварка под флюсом

Сварка в защитных газах нашла широкое применение в промышленности. Этим способом можно соединять в различных пространственных положениях разнообразные металлы и сплавы толщиной от десятых долей до сотых долей миллиметра.

Сущность способа дуговой сварки в СО состоит в следующем: в зону дуги 1 через сопло 2 непрерывно подаётся защитный газ СО 3 (рис.8). Теплотой дуги расплавляется основной металл 4 и, если сварку выполняют плавящимся электродом, расплавляется и электродная проволока. Расплавленный металл сварочной ванны, кристаллизуясь, образует сварочный шов. Электродная проволока диаметром 0,5-2 мм подаётся автоматически с постоянной скоростью в зону сварки. Окислительное действие СО на расплавленный металл компенсируется повышенным содержанием в электродной проволоке элементов раскислителей (Mn, Si).

Рисунок 8 Дуговая сварка в защитных газах

Истечение газов из сопел сварочных горелок имеет турбулентный характер. С наружной стороны струя газа смешивается с воздухом и только внутренняя часть её состоит из чистого защитного газа. Эффективность защиты зависит от рода защитного газа, типа сварного соединения, скорости сварки и движения окружающего воздуха.

В силу физических особенностей стабильность дуги и её технологические свойства выше при использовании постоянного тока обратной полярности. При использовании постоянного тока прямой полярности количество расплавляемого электродного металла увеличивается на 25…30%, но резко снижается стабильность дуги и повышаются потери на разбрызгивание. Применение переменного тока невозможно из-за нестабильного горения дуги.

При сварке плавящимся электродом шов образуется за счет проплавления основного металла и расплавления дополнительного - электродной проволоки.

Поэтому форма и размеры шва помимо прочего (скорости сварки, пространственного положения электрода и изделия и др.) зависят также от характера расплавления и переноса электродного металла в сварочную ванну. Характер переноса электродного металла определяется в основном материалом электрода, составом защитного газа, плотностью сварочного тока и рядом других факторов.

2.1.1 Анализ сварки в среде углекислого газа. Преимущества и недостатки

Сварка в  является основным и наиболее распространенным способом сварки плавлением на машиностроительных предприятиях. Она экономична, обеспечивает достаточно высокое качество швов, особенно при сварке низкоуглеродистых сталей, позволяет выполнять швы в различных пространственных положениях. Наиболее распространена сварка полуавтоматами. Схема процесса приведена на рис.9. Защитный газ 2, выходя из сопла 1, вытесняет воздух из зоны сварки. Сварочная проволока З подается в зону дуги роликами 4, которые вращаются двигателем подающего механизма. Подвод сварочного тока к проволоке осуществляется через скользящий контакт 5.

Рисунок 9 Схема процесса сварки в защитных газах плавящимся электродом: 1-сопло сварочной горелки; 2 - подача защитного газа; 3-сварочная проволока; 4-подающие ролики; 5-скользящий токоподвод

Учитывая, что защитный газ активный и может вступать во взаимодействие с расплавленным металлом, сварка в  имеет ряд особенностей.

В зоне дуги углекислый газ диссоциирует:

СО2↔ СО+О

Углекислый газ и образовавшийся кислород взаимодействуют с расплавленным металлом сварочной ванны с образованием оксида железа:


Окисление сварочной ванны ухудшает механические свойства шва и в первую очередь его пластичность. Для предотвращения этого процесса в сварочную ванну вводят элементы - раскислители, хорошо взаимодействующие с кислородом. Обычно это марганец и кремний. Раскислители выводят в шлак избыток кислорода и на участках сварочной ванны, имеющих пониженную температуру, восстанавливают железо из оксидов:


Введение раскислителей в сварочную ванну обычно осуществляется через проволоку. Поэтому при сварке в СО используется сварочная проволока, легированная марганцем и кремнием.

Однако, несмотря на введение раскислителей, характеристики пластичности шва получаются несколько ниже, чем при сварке под флюсом или ручной сварке электродами с основным покрытием. Поэтому сварку в СО не рекомендуют использовать для ответственных конструкций, работающих при низких температурах в условиях переменных и ударных нагрузок.

Имеет свои особенности и перенос электродного металла при сварке в СО.

В зоне дуги происходит диссоциация углекислого газа, которая сопровождается поглощением тепла. Кроме того углекислый газ обладает достаточно высокой теплопроводностью. Эти процессы приводят к интенсивному отводу тепла от внешней поверхности дуги, в результате чего она снижается.

Анодное пятно разогревает только центральную часть капли не захватывая боковые поверхности проволоки. При сварке в СО интенсивность нагрева проволоки дугой ниже, т.к. осуществляется за счет передачи тепла через каплю. При сварке в Аг дуга разогревает непосредственно проволоку, поэтому на ее торце силы поверхностного натяжения ниже и капли отрываются при меньшем весе. Процессу же сварки в СО характерен перенос электродного металла достаточно крупными каплями.

Улучшить процесс переноса электродного металла и уменьшить размер капель при сварке в СО позволяет введение в сварочную проволоку щелочных и щелочноземельных металлов (цезия, рубидия и др.), а также использование импульсных источников питания позволяющих управлять отрывом капель расплавленного электродного металла.

Рисунок 10 Формирование капли электродного металла при сварке в СО

С процессом переноса тесно связан процесс разбрызгивания металла при сварке. Различные виды разбрызгивания показаны на рис.11. Обычно считают, что разбрызгивание металла объясняется следующими причинами. Выдуванием капли потоками газов и паров поднимающихся со сварочной ванны (рис.11, а).

Рисунок 11Основные виды разбрызгивания при сварке в СО: а - выдувание капли потоком газов; б - выплескивание ванны при падении капли; в - выброс мелких капель при разрыве перемычки жидкого металла; г - образование брызг при наличии на проволоке ржавчины; д - выброс нерасплавившейся проволоки

При этом капля первоначально отклоняется от заданной траектории, а затем отрывается и уносится в сторону от сварочной ванны. Этот процесс происходит более интенсивно для капель крупных размеров, т.к. в этом случае увеличивается их парусность, а также время зависания капли на конце проволоки. Другой причиной разбрызгивания является падение капли в ванну жидкого металла, вследствие чего она частично выплескивается (рис.11, б). Этот процесс также более интенсивно происходит при крупнокапельном переносе. Образуются брызги и при разрыве перемычки жидкого металла, соединяющего каплю со сварочной проволокой (рис.11, в). Возможно образование брызг и при нарушениях технологического процесса сварки. Например, при наличии на проволоке ржавчины, что приводит к частым взрывам крупных капель (рис.11, г); при неправильном соотношении между параметрами режима сварки, когда проволока выбрасывается из зоны сварки нерасплавившимися частями (рис.11, д).

Аналогичные выбросы возможны и вначале сварки при плохих динамических характеристиках источника питания дуги.  На рис.12 приведена зависимость потерь на разбрызгивание от силы сварочного тока для различных диаметров сварочной проволоки. Для каждого диаметра проволоки существует область токов, при которых разбрызгивание максимально. Эта область соответствует крупнокапельному переносу. При малых токах, когда перенос происходит короткими замыканиями, разбрызгивание ниже. Ниже разбрызгивание и при больших токах, для которых характерен меньший размер капель.

Рисунок 12 Зависимость потерь на разбрызгивание от силы сварочного тока (обратная полярность) при различных диаметрах проволоки (проволока СвО8Г2С)

Повышенное разбрызгивание является недостатком сварки в СО, т.к. требует дополнительных затрат на зачистку от брызг свариваемого металла и сопла горелки полуавтомата. Причем брызги при сварке в СО сильнее привариваются к металлу, чем при сварке покрытыми электродами, т.к. практически не покрыты шлаковой пленкой.

Одним из способов снижения разбрызгивания и уменьшения приваривания брызг к основному металлу является добавка к углекислому газу (20-30%) кислорода. Кислород уменьшает силу поверхностного натяжения жидкого металла, которая удерживает каплю на конце проволоки. Это приводит к лучшему отрыву капель и переходу к более мелкокапельному переносу. Улучшается формирование шва. Несколько увеличивается производительность сварки вследствие выделения дополнительного тепла при окислительных реакциях. Окисленные капли хуже привариваются при падении на свариваемый металл.

Однако сварка в смеси СО + О имеет и существенные недостатки, связанные с ухудшением механических свойств вследствие повышенного выгорания Мn и Si повышенного окисления сварочной ванны. Несколько уменьшить отрицательное влияние кислорода на механические свойства позволяет сварка с повышенным вылетом электродной проволоки. Это уменьшает температуру капель и окисление расплавленного металла. Кроме того, для сварки рекомендуется использовать проволоку, дополнительно легированную цирконием - Св-О8Г2СЦ.

2.1.2 Анализ сварки в смеси газов на основе аргона

Сварка в СО имеет ряд существенных недостатков:

повышенное разбрызгивание расплавленного металла, обусловливающее большие потери электродного металла и необходимость зачистки сварного изделия;

недостаточное сопротивление хрупкому разрушению, особенно при низких температурах.

Снизить потери электродного металла возможно путем создания источников питания инверторного типа, применения активированных сварочных проволок с дополнительным легированием редкоземельными элементами, а также использования в качестве защитной среды смеси газов на основе аргона. Разбрызгивание электродного металла можно устранить, если добиться струйного переноса электродных капель. При сварке в углекислом газе это возможно только при значительных плотностях тока, что затрудняет проведение сварочных работ и не обеспечивает надежного управления процессом. Более благоприятные условия плавления электродной проволоки обеспечиваются при замене чистого углекислого газа на смеси, содержащие аргон и кислород. В этом случае переход к струйному переносу происходит при меньших значениях плотности тока.

Применение смеси газов Ar + СО2 в качестве защитной среды значительно снижает потери металла на разбрызгивание. При этом улучшается внешний вид шва. Процесс сварки в смеси Аг + СО более стабилен, чем в чистых газах, перенос электродного металла более мелкокапельный, разбрызгивание минимальное. Процесс расплавления сварочной проволоки в смеси Аг + СО близок к сварке в Аг и происходит с охватыванием дугой боковых поверхностей проволоки, конец проволоки хорошо прогревается, что способствует отрыву более мелких капель по сравнению со сваркой в СО. Наличие в смеси углекислого газа повышает давление в дуге, что не позволяет капле расти до больших размеров, как происходит при сварке в Аг на докритических токах. Поэтому разбрызгивание меньше, чем при сварке в СО и при сварке в Аг. Зависимости разбрызгивания электродного металла на сопло горелки и на свариваемое изделие показаны на рис.13. В диапазоне оптимальных токов применение смеси Аг + СО позволяет уменьшить разбрызгивание в 4-8 раз согласно [6].

Рисунок 13 Зависимость разбрызгивания электродного металла на сопло горелки от силы тока

Рисунок 14 Зависимость разбрызгивания электродного металла на свариваемое изделие от силы тока

По сравнению с чистым аргоном наличие окислительной среды тормозит образование пор путем уменьшения растворимости водорода в металле сварочной ванны. Кроме того, реакция окисления углерода при высоких температурах приводит к интенсивному выделению из расплавленного металла СО, поэтому в результате «кипения» сварочной ванны из нее лучше удаляются азот и водород. Добавка углекислого газа к аргону способствует также заметному улучшению формы швов. Уже при наличии в смеси всего лишь 5% СО2 из - за снижения поверхностного натяжения жидкого металла сварочной ванны значительно уменьшается высота усиления и увеличивается ширина швов. Устраняется характерное для сварки в аргоне блуждание дуги, вызывающее образование дефектов в швах. При дальнейшем повышении содержания углекислого газа в смеси наблюдаемая при сварке в аргоне неблагоприятная ножевая форма провара меняется на линзообразную с одновременным увеличением площади проплавления согласно [8].

Активно воздействовать на процессы плавления и переноса электродного металла при сварке в окислительных аргоновых смесях позволяет импульсно - дуговая сварка (ИДС). Используя ИДС, получают мелкокапельный перенос металла практически без разбрызгивания при средних значениях сварочного тока ниже критического.

Рисунок 15 Образование и перенос капель электродного металла при сварке на токе 250А проволокой Св - 08Г2С ø2мм в смеси газов: а - 95% Ar+5%CO2; б - 75%Ar+25%CO2; в - 60%Ar+40%CO2 (без импульсов); г - 75%Ar+25%CO2 (с наложением импульсов)

Оптимальный процесс импульсной сварки характеризуется тем, что за каждый период пауза - импульс происходит формирование, отделение и перенос одной капли электродного металла. Для этого необходимо при данном режиме сварки подобрать оптимальную длительность импульсного тока при одной и той же его амплитуде. При несоблюдении этого условия во время действия импульсного тока может происходить отделение нескольких капель, или отрыв капли не состоится. Как одно, так и другое ведет к повышенному разбрызгиванию металла.

Возможность управления процессом формирования шва в значительной мере зависит от характера переноса электродного металла. Например, сварке стационарной дугой свойственны резкие колебания параметров процесса вследствие образования крупных капель и нерегулярных замыканий дугового промежутка. В момент короткого замыкания происходит увеличение тока, заканчивающееся взрывообразным разрушением перемычки и волнообразными движениями поверхности ванны, что приводит к образованию неровной грубочешуйчатой поверхности шва. При ИДС мелкокапельный перенос электродного металла практически не сопровождается динамическими возмущающими воздействиями на поверхность сварочной ванны. Это обеспечивает формирование гладкой поверхности швов при малых токах. По внешнему виду такие швы напоминают швы с мелкочешуйчатой поверхностью, получаемые при сварке под флюсом согласно [7].

По сравнению со сваркой в СО сварка в смеси Аг + СО позволяет улучшить показатели пластичности сварного шва. Испытания свидетельствуют, что показатели прочности при изменении состава защитной среды практически не меняются, а показатели пластичности (угол загиба) при сварке в смеси Аг + СО в 1,8 раза выше, чем при сварке в СО. Существенно растет и ударная вязкость металла шва, изменения которой в зависимости от температуры показаны на рис.16. Из графиков видно, что при температуре Т = 233 К (-40 °С) ударная вязкость швов, сваренных в смеси Аг + СО, в два раза выше, чем при сварке в СО. Это показывает особую целесообразность применения смеси Аг + СО для сварки конструкций, эксплуатирующихся при отрицательных температурах в условиях переменных и ударных нагрузок.

Рисунок 16 Зависимость ударной вязкости металла шва от температуры для сварки в СО (1) и Аг + СО (2)

Швы при сварке в смесях 75% Ar + 25% СО2 отличаются высокой стойкостью против трещин, пор и других дефектов. Микроструктура металла шва при ИДС более мелкозернистая, чем при сварке стационарной дугой. Это объясняется воздействием капель и пульсирующего давления дуги на сварочную ванну. Добавка углекислого газа к аргону заметно уменьшает интенсивность излучения дуги и тем самым улучшает условия труда сварщиков согласно [8].

Рисунок 17 Зависимость показателей пределов прочности и текучести от погонной энергии при обычном и импульсном процессах сварки:

Рис.

Рисунок 18 Зависимость показателей ударной вязкости от погонной энергии при обычном и импульсном процессах сварки

Рис.

Рисунок 19 Зависимость содержания марганца, кремния и соотношения марганца к сере (k) в металле шва от погонной энергии при обычном и импульсном процессах сварки:

Рис.

Рисунок 20 Зависимость уровня разбрызгивания электродного металла от силы тока при сварке в смеси Ar+25%CO2 проволокой диаметром 1,6мм: 1 - импульсно-дуговая сварка; 2 - сварка стационарной дугой

Несмотря на то что смесь Аг + СО дороже чистого СО, при выборе рациональной схемы снабжения предприятия смесью и с учетом затрат на зачистку металла от брызг, сварка в смеси Аг + СО в ряде случаев оказывается дешевле сварки в чистом углекислом газе. Благодаря практически полному отсутствию разбрызгивания металла значительно снижается также трудоемкость зачистки изделий после сварки.

2.1.3 Анализ сварки в смеси углекислого газа и кислорода

Основной причиной пористости при сварке сталей является выделение растворенных в жидком металле водорода, азота и окиси углерода. Для борьбы с пористостью необходимо принимать меры по предотвращению попадания указанных выше газов в металл шва, а также использовать реакции, связывающие эти газы в химические соединения. Это достигается за счет обеспечения надежной защиты зоны сварки от проникновения воздуха (предотвращения попадания кислорода и азота), тщательной очистки основного и присадочного металла от ржавчины (предотвращение попадания окислов и влаги), тщательной просушки сварочных материалов (защитных газов, флюсов, электродов). При нагреве металла в процессе сварки влага разлагается, выделяя водород, который поглощается сварочной ванной. При охлаждении, вследствие резкого уменьшения растворимости, водород выделяется и застревает в виде пузырьков (пор) в закристаллизовавшемся металле шва согласно [3].

Рисунок 21 Связь между концентрацией водорода и кислорода в металле шва

Химические меры предусматривают применение защитных газов с добавками кислорода. Практика показывает, что в этом случае процесс сварки мало чувствителен к наличию влаги в зоне сварки.

Это объясняется тем, что кислород предотвращает растворение водорода в металле (рис. 21), соединяясь с водородом в устойчивый гидроксил - ион ОН-. Данный ион смешиваясь с металлом и реагируя с ним по следующей формуле:

OH- + Fe2+ ® FeOH+ ¯

в результате данной реакции образует нерастворимое соединение, которое всплывает на поверхность сварочной ванны согласно [9].

Но большое количество кислорода в шве может привести к обратным результатам - не ликвидировать пористость, а наоборот - увеличить ее. Данный процесс происходит из - за того, что после соединения со всеми молекулами водорода, над поверхностью шва появляется избыточное количество кислорода, который начинает реагировать с углеродом, содержащимся в металле и рядом элементов, входящих в состав металла (SiО2, МnО, АlО3 и др.).

При взаимодействии с углеродом образуется нерастворимая в металле окись углерода СО по следующей схеме:

/2О2+ Fе → (FеО) + [FеО]

[FеО]+[C] → СО + Fе

СО2 + [С] → 2СО

(элементы и соединения в квадратных скобках растворены в металле).

Образующаяся при этом нерастворимая в металле окись углерода выделяется из жидкого металла в виде газовых пузырьков. Для подавления этой реакции применяют проволоку с повышенной концентрацией элементов - раскислителей (Si, Mn, Ti, Al и др). Данные элементы связывают кислород в нерастворимые в металле окислы, которые всплывают в виде шлака на поверхность сварочной ванны согласно [3]:

Si+2FeO → SiO2+2Fe

Мn+ FеО → МnО + Fе.

Кислород также влияет на характер переноса электродного металла. Добавление 8...12% О2 к СО2 уменьшает силу поверхностного натяжения жидкого металла, которая удерживает каплю на конце проволоки. Это приводит к лучшему отрыву капель и переходу к более мелкокапельному переносу и снижению разбрызгивания. Улучшается формирование шва. Несколько увеличивается производительность сварки вследствие выделения дополнительного тепла при окислительных реакциях. Уменьшается высота усиления и чешуйчатость шва.

По сравнению со сваркой в углекислом газе сварка с добавлением до 30% кислорода дает следующие преимущества:

окисленные капли хуже привариваются при падении на свариваемый металл и легче отделяются;

формирование шва улучшается (он гладкий, менее выпуклый);

− форма провара практически такая же, как и при сварке в углекислом газе;

−образующаяся шлаковая корка небольшой толщины, после удаления, которой шов имеет серебристый цвет;

при сварке металла с ржавчиной склонность его к образованию пор меньше, чем при сварке в углекислом газе;

смесь СО2 + О2 дешевле углекислого газа. Расход ее меньше, чем при сварке в СО2.

Таблица 8 - Содержание газов в швах при сварке в смеси СО22 и в СО2

Защитная среда

Содержание газов в швах


О,%

N,%

Н, мл/ 100 г

СО22

0,045

0,0123

1,07

СО2

0,05

0,0147

1,83


Таблица 9 - Механические свойства металла швов выполненных в смеси СО22 и в углекислом газе

Защитная среда

sт, Н/мм2

sв, Н/мм2

5, %

y, %

СО22

364

230,7

66

СО2

390,4

228,2

266,8

66


Как видно, при сварке электродной проволокой Св-08Г2С в смеси углекислого газа и кислорода (до 30 % О2) формирование шва улучшается, склонность к образованию пор уменьшается, а механические свойства металла шва близки по значению к сварке в СО2.

Но сварные швы выполняемые в смеси СО2 + О2 имеют механические свойства более близкие к основному металлу, чем при сварки в СО2, следствием этого является равнопрочность металла шва и основного металла согласно [3].

Однако сварка в смеси СО2 + O2 имеет и существенные недостатки, связанные с ухудшением механических свойств вследствие повышенного выгорания Мn и Si и повышенного окисления сварочной ванны. Несколько уменьшить отрицательное влияние кислорода на механические свойства позволяет сварка с повышенным вылетом электродной проволоки. Это уменьшает температуру капель и окисление расплавленного металла.

Кроме того, для сварки рекомендуется использовать проволоку, дополнительно легированную цирконием - Св-08Г2СЦ по ТУ 14-287-19-78. Проволока Св-08Г2СЦ при увеличенном вылете обеспечивает низкий уровень разбрызгивания и слабую привариваемость брызг, но данная проволока имеет более высокую цену чем проволока Св-08Г2С, хотя имеет лишь незначительные отличия.

2.2 Выбор способа сварки

Выбор способа обусловлен рядом факторов:

лёгкость монтажа в заводских условиях;

− возможность сварки стали 30ХГСА ГОСТ11269 - 76;

− проплавление заданной толщины металла;

защита сварного шва и зоны термического влияния от воздействия газов атмосферы;

высокая производительность и легкость механизации и автоматизации процесса;

возможность сварки конструкций сложной формы и больших габаритов;

− возможность визуального наблюдения за формированием шва.

Сварка в СО имеет ряд существенных недостатков: 1 - повышенное разбрызгивание и потери электродного металла; 2 - недостаточное сопротивление хрупкому разрушению, особенно при низких температурах. При данном способе сварки довольно трудно получить мелкокапельный либо струйный перенос металла, что сказывается на характере формирования шва. Также защитный газ не обеспечивает достаточную защиту шва от влаги, содержащейся в воздухе, защитном газе, наличие которой, в свою очередь приводит к формированию пор и трещин.

Сварка в смеси СО2 + O2 имеет недостатки, связанные с ухудшением механических свойств вследствие повышенного выгорания Мn и Si и повышенного окисления сварочной ванны. Для сварки рекомендуется использовать проволоку, дополнительно легированную цирконием -

Св-08Г2СЦ, но данная проволока имеет более высокую цену чем проволока Св-08Г2С, хотя имеет лишь незначительные отличия.

Смесь 80% СО2 + 20% О2 отличается увеличенным слоем шлака по сравнению со сваркой в СО2. Ее применяют для сварки малоуглеродистой и низколегированной стали.

Для устранения данных недостатков будем использовать механизированную сварку плавящимся электродом в смеси защитного газа (Аг + СО).

При сварке углеродистых легированных сталей применение защитной смеси Аг + (18-25%) СО по многим параметрам более рационально, чем использование чистого Аг или СО.

Процесс сварки в смеси Аг + СО более стабилен, чем в чистых газах, перенос электродного металла более мелкокапельный, разбрызгивание минимальное. Углекислый газ способствует устранению пористости в сварных швах согласно [3].

Таблица 10 - Сравнительные технологические характеристики

Защитный газ

Iсв

Uд

Q, кг/ч

ψ, %

анб, %

СО2

300 - 310

30 - 33

4.3

6.7

2.0

75%Ar+ 25%CО2

300 - 310

30 - 31

5.3

2.9

0.3


где Q - количество наплавленного металла за единицу времени, кг/ч;

ψ - коэффициент потерь электродного металла на разбрызгивание, %:нб - коэффициент набрызгивания, определяющий трудозатраты на удаление брызг с поверхности свариваемых деталей, %. В таблице 11 приведены средние значения коэффициентов по данным трех замеров.

Таблица 11 - Механические свойства наплавленного металла

Гигиеническая оценка процесса механизированной сварки углеродистой стали в СО2 и многокомпонентных смесях на основе аргона.

Сопоставление уровня валовых выделений твердой составляющей сварочного аэрозоля (ТССА) для различных сочетаний «защитная среда - проволока» проводились при сварке на режимах с различной погонной энергией, обеспечивающей хорошее качество сварных соединений. При отборе проб на исследование валовых выделений ТССА применен метод внутренней фильтрации на ткань ФПИ-15 и фильтры АФА-ХА-20 воздушного потока, аспирируемого из укрытия зоны сварки.

По этим результатам можно сделать вывод о том, что благодаря уменьшению окислительного потенциала защитной среды, при сварке в смесях газа на основе аргона обеспечивается уменьшение валовых выделений твердой фракции сварочного аэрозоля, а в ней - снижение содержания токсичных выделений окислов марганца и хрома.

Таблица 12 - Уровень валовых выделений ТССА при сварке в защитных газах

Защитная среда

Режим сварки

Валовые выделения


Iсв, А

Uд, В

г/мин

г/кг

СО2

300 350

31 33

0.83 0.71

9.07 5.39

Ar + СО2

300 350

28 30

0.69 0.46

6.59 3.49


Особенности сварки в смесях газов.

Учитывая, что смесь газов на основе аргона легче, чем СО2, то при сварке необходимо соблюдать некоторые условия:

сварку вести, по возможности «углом» вперед;

вылет сварочной проволоки должен быть оптимальным в зависимости от диаметра проволоки (15 - 20мм);

исключить подсос воздуха, как в соединениях шлангов, так и сопла с горелкой.

В то же время необходимо отметить, что при сварке в смесях на основе аргона процесс сварки стабилен, по сравнению со сваркой в СО2, даже при некоторой неравномерности подачи сварочной проволоки, а также наличия на поверхности проволоки следов технологической смазки и ржавчины.

2.3 Выбор сварочных материалов

К сварочным материалам, используемым при сварке плавлением, относятся: сварочная проволока, присадочные прутки, порошковая проволока, плавящиеся покрытые электроды, неплавящиеся электроды, различные флюсы, защитные газы. С помощью сварочных материалов реализуется процесс сварки и осуществляется сложная физико-химическая обработка расплавленных электродного и основного металлов, производимая в газовой фазе и завершающаяся в сварочной ванне, что приводит к образованию шва нужного химического состава с требуемыми свойствами. Присадочный металл требуется для получения шва с необходимыми геометрическими размерами согласно [ 4 ].

Диаметр проволок сплошного сечения при сварке в углекислом газе и смесях газов выбирают в зависимости от толщины свариваемого металла и пространственного положения шва. Проволоками диаметром 1,6…2 мм сваривают соединения толщиной 10…16мм, швы в различных пространственных положениях, а также корневые слои многослойных соединений. Следовательно, при механизированной сварке плавящимся электродом швов, расположенных в различных пространственных положениях, выбираем электродную проволоку диаметром до 1,6мм.

В качестве электродов используется сварочная проволока по ГОСТ 2246-70. Для сварки стали 30ХГСА в среде углекислого газа рекомендуется проволока марок Св-18ХМА, Св-18ХГС, Св-08ГСМТ (или Св-10ГСМТ) согласно [ 2 ].

Таблица 13 - Химический состав сварочной проволоки, %

Марка проволоки

C

Si

Mn

Cr

Mo

Ti

S

P








не более

Св-18ХМА

0,15-0,22

0,12-0,35

0,40-0,70

0,80-1,10

0,15-0,30

-

0,025

0,025

Св-18ХГС

0,15-0,22

0,90-1,20

0,80-1,10

0,80-1,10

-

-

0,025

0,030

Св-08ГСМТ

0,06-0,11

0,40-0,70

1,00-1,30

≤0,30

0,20-0,40

0,05-0,12

0,025

0,030


Для снижения вероятности выгорания легирующих элементов следует использовать из приведенных проволок Св-18ХГС или Св-08ГСМТ. А, учитывая, что содержание углерода в металле шва не должно превышать 0,15% согласно [4], из этих двух следует выбрать Св-08ГСМТ, как содержащую меньшее количество углерода.

При сварке среднеуглеродистых высокопрочных сталей толщиной более 30мм в защитных газах используют низкоуглеродистые легированные проволоки. Однако равнопрочности металла шва и свариваемой стали получить не удается. Обеспечить равнопрочность сварного соединения и основного металла можно за счет эффекта контактного упрочнения мягкого металла шва. В этом случае работоспособность сварного соединения при данном соотношении свойств мягкой прослойки - шва и основного металла определяется относительной толщиной мягкой прослойки.

В наиболее полной степени эффект контактного упрочнения может быть реализован при применении щелевой разделки, представляющей собой стыковое соединение с относительно узким зазором.

Для получения мягкой прослойки применим проволоку Св-08Г2С ГОСТ 2246-70. Проволока имеет повышенное содержание кремния и марганца, которые являются хорошими раскислителями и предназначена для сварки ответственных конструкций. Металл шва имеет хорошую стойкость против образования горячих трещин и содержит наименьшее количество шлаковых включений.

Таблица 14 - Химический состав проволоки Св-08Г2С ГОСТ2246-70

C

Mn

Si

P

S

Cr

Ni

0,06 - 0,11

1,80 - 2,10

0,70 - 0,95

≤0,03

≤0,025

≤0,20

≤0,25


Таблица 15 - Механические свойства сварочной проволоки Св-08Г2С

Диаметр сварочной проволоки, мм

Временное сопротивление разрыву проволоки, кгс/см(Н/мм), предназначенной


для сварки (наплавки)

для изготовления электродов

2

90-135 (882-1274)

-


Таблица 16 - Размеры и масса мотков сварочной проволоки Св-08Г2С

Диаметр проволоки, мм

Внутренний диаметр витков мотка проволоки, мм

Масса мотка проволоки, кг не менее

2

200 - 400

15


Защитные газы делятся на две группы: химически инертные и активные. Газы первой группы с металлом, нагретым и расплавленным, не взаимодействуют и практически не растворяются в нем. Газы второй группы защищают зону сварки от воздействия воздуха, но сами либо растворяются в жидком металле, либо вступают с ним в химическое взаимодействие.

Для защиты расплавленного электродного металла и сварочной ванны будем использовать смесь газов Аг + СО.

СО2 в нормальных условиях представляет собой бесцветный газ без запаха плотностью 1,839кг/м3. Он тяжелее воздуха, что обеспечивает хорошую защиту сварочной ванны, но его накапливание в зоне сварки - выше 5% - может вызвать явление кислородной недостаточности и удушья согласно [10].

Получают углекислый газ из отходящих газов при производстве аммиака, спиртов, нефтепереработки, а также на базе специального сжигания топлива. При повышении давления углекислый газ переходит в жидкое (углекислота), а затем - в твердое состояние (сухой лед). При испарении 1кг жидкого диоксида углерода образуется 509л углекислого газа.

СО2 - Химически активный газ, защищает зону сварки от воздуха, но сам вступает с жидким металлом в химическое взаимодействие. Углекислоту транспортируют и хранят в стальных баллонах или цистернах большой емкости в жидком состоянии с последующей газификацией через редуктор или с централизованным снабжением сварочных постов через рампы. В баллоне емкостью 40л содержится 25кг СО2, дающего при испарении 12,5м3 газа при давлении 0,1МПа (760мм рт. ст.). Баллон окрашен в черный цвет, надписи желтого цвета.

ГОСТ 8050-85 устанавливает следующие сорта углекислоты: высший, первый и второй, которые отличаются физико - химическими показателями.


Таблица 17 - Физико-химические показатели газообразной и жидкой двуокиси углерода

Наименование показателя

Норма


высший сорт

первый сорт

второй сорт

1. Объемная доля двуокиси углерода (СО2), %, не менее

99,8

99,5

98,8

9. Массовая доля воды, %, не более

0,0

0,0

0,1

10, Массовая концентрация водяных паров при температуре 20 °С и давлении 101,3 кПа (760 мм рт. ст.), г/м3, не более

0,037

0,184

Не нормируется

3. Массовая концентрация минеральных масел и механических примесей, мг/кг, не более

0,1

0,1

Не нормируется


Для сварочного производства рекомендовано использование углекислоты высшего и первого сортов. Это связано с тем, что повышенное содержание влаги создает риск возникновения пористости металла шва и насыщения его водородом, который оказывает негативное воздействие на качество сварного соединения.

Также для сварки используем аргон по ГОСТ10157-89. Для хранения и транспортировки аргона используются стандартные баллоны емкостью 40л. Объем газа в баллоне при давлении 15 МПа 6,2м, при давлении 20 МПа - 6,2м. Баллон окрашен в серый цвет, надпись зеленая. Аргон в баллоне находится в сжатом виде обычно под давлением 15 МПа. Баллон оснащается аргоновым редуктором АР-10; АР-40 или АР-150.

Приготовление смесей Аг + СО обычно производится непосредственно на сварочных постах. Однако возможно и многопостовое снабжение смесями, а также получение смесей непосредственно на заводе -изготовителе.


Простейшим способом смешения газов является использование ротаметров. Состав смеси регулируется изменением расхода газов с помощью редукторов, установленных на баллонах с защитными газами. Соотношение газов определяется предварительно проградуированным ротаметром (например, РС-З) по положению поплавка. Ротаметр (рис.22) представляет собой конусную стеклянную трубку 1, внутри которой помещен поплавок 2, изготовленный из эбонита, алюминия или коррозионно-стойкой стали. Материал поплавка выбирают по чувствительности ротаметра при определенных его размерах. Стеклянная трубка помещена в металлический каркас З. Принцип действия ротаметра основан на уравновешивании веса поплавка выходящей струей газа. Чем выше поднимается поплавок, тем больший зазор между его боковыми поверхностями и стеклянной трубкой, следовательно, больше расход газа.

Рисунок 22 Ротаметр поплавкового типа

Однако на производстве пользоваться ротаметрами неудобно, поэтому промышленностью выпускаются стандартные смесители: АКУП-1 - позволяет получать двойные и тройные смеси с автоматическим поддержанием состава и расхода смеси независимо от давления газов на входе; УКП-1-71 - выпускается для смешивания СО, и О, в соотношении 70% + 30%. Для получения других соотношений и других газов необходимо подобрать соответствующие диаметры отверстий в расходных дюзах и протарировать смеситель; УСГ-1 - многопостовой смеситель позволяет получить двойные и тройные смеси, обеспечивая одновременно до 50 постов.

Конструкция смесителя УКП-1-71 показана на рис.23.

Рисунок 23 Смеситель УКП-1-71: 1 - толкатель; 2 - корпус; З - редуцирующий клапан; 4 - предохранительный клапан; 5 - гайка; 6 - крышка; 7 - соединительная трубка; 9 - ниппель; 8, 10 - расходные шайбы


3. Расчет режимов сварки

.1 Расчет режимов сварки в СО2

Таблица 18 - Конструктивные элементы шва ГОСТ14771 - 76

Условное обозначение сварочного соединения

Конструктивные элементы

S =S1

b

c

e

q

α

 

подготовленных кромок свариваемых деталей

шва сварного соединения

 

 

 

 

 

 

С15

40 - 44

2+1-2

2+1-2

26±2

2+1-2

400±2

 

Основными параметрами режима механизированной сварки, оказывающими существенное влияние на размеры и форму швов являются:

диаметр электродной проволоки, мм;

значение силы тока, А;

напряжение дуги, В;

скорость сварки, м/ч;

скорость подачи проволоки, м/ч;

погонная энергия сварки, Дж/мм;

− обеспечение термического цикла, обеспечивающего оптимальные свойства зоны термического влияния и металла шва.

При определении режима сварки необходимо выбрать такие его параметры, которые обеспечат получение швов заданных размеров, формы и качества.

Для расчёта режима сварки будет взят один основной шов. Режим остальных швов выбирается по таблицам. В качестве основного, берётся шов №4 ГОСТ 14771−76 - С15 − УП.

При сварке проволокой диаметром 1,6…2.0мм площадь первого прохода 20…40мм2, площадь второго прохода 40…60мм2, площадь последующих проходов составляет 40…100мм2 согласно [14].

Определим силу сварочного тока.

 (11)

где  диаметр электродной проволоки, 1,6мм;

 - плотность тока (160А/мм2).

Сила сварочного тока для первого прохода

Iсв = 270 А.

Для принятого диаметра электрода и силы сварочного тока определим оптимальное напряжение на дуге:

 (12)

U = 26 В.

Зная сварочный ток, диаметр электрода и напряжение на дуге, определим коэффициент формы провара по формуле:

 (13)

где - коэффициент, величина которого зависит от рода и полярности тока. =0,92 при плотности тока 160А/мм2 при сварке постоянным током обратной полярности.

Ψпр = 2,035

Для определения скорости сварки необходимо найти значение коэффициента наплавки αН по формуле:

, (14)

где ψП - коэффициент потерь, зависящий от плотности тока в электроде.

ΨП= - 4,72+17,6 ·10-2 ·ј - 4,48 ·10-4 ·ј2 (15)

ΨП= - 4,72+17,6 ·10-2 ·160 - 4,48 ·10-4 ·1602 = 12,4%

Величину коэффициента расплавления рассчитываем по формуле:

,        (16)

где    l - вылет электрода, составляющий 10…20мм. Приняв l = 15мм, получим;


Определим скорость сварки для первого прохода. F = 30мм2

; (17)

Vcв = 0,1956 см/с = 7,04 м/ч

При определении количества проходов, требуемых для заполнения разделки, необходимо иметь в виду, что максимальное сечение одного прохода обычно не превышает 100мм2.

Fn=F0n - Fн, (18)

где F0n - площадь поперечного сечения наплавленного металла;

Fн - площадь первого прохода.

Fn= 30мм2

Режим сварки последующих проходов и их число выбирают из условий заполнения разделки и плавного спряжения шва с основным металлом.

Режим сварки для второго прохода.

Iсв = 320А

Напряжение на дуге;

Uд = 28В

Коэффициент расплавления;

αр = 9,4г/Ач

Коэффициент наплавки;

αн = 8,23г/Ач

Скорость сварки второго прохода F = 40мм2;

Vсв = 0,2344см/с = 8,44м/ч

Режим сварки для третьего прохода;

Скорость сварки, напряжение на дуге, коэффициент расплавления будут такиеже, как для второго прохода. Площадь сечения шва F = 90мм2;

Vсв = 0,0869см/с = 3,13м/ч

Для последнего прохода F = 66мм2, тогда;

Vсв = 0,1186см/с = 4,27м/ч

3.2 Расчет режимов сварки в смеси газов Ar + СО2

Таблица 19 - Оптимальные режимы ИДС в смеси газов Ar+25СО2 с использованием проволоки Св-08Г2С диаметром 1.6мм согласно [7]

Vп.п, м/ч

Iс, А

Uд, В

Iи, А

τи·103, с

ƒи, Гц

Вид переноса электродного металла

394

270…280

26…27

500

2,6

210

струйный

425

300…310

29…30

430

3.0

235



При сварке проволокой диаметром 1.6…2.0мм площадь первого прохода 20…40мм2, площадь второго прохода 40…60мм2, площадь последующих проходов составляет 40…100мм2 согласно [14].

Определим коэффициент формы провара по формуле:


где - коэффициент, величина которого зависит от рода и полярности тока. = 0,92 при плотности тока 160 А/мм2 при сварке постоянным током обратной полярности.

Ψпр = 2,18

Для определения скорости сварки необходимо найти значение коэффициента наплавки αН по формуле:

,

где ψП - коэффициент потерь, зависящий от плотности тока в электроде.

ψП = 2,9%[таб.10].

Величину коэффициента расплавления рассчитываем по формуле:

,

где    l - вылет электрода, составляющий 10…20мм. Приняв l = 15мм, получим;


Определим скорость сварки для первого прохода. F = 30мм2;

;

Vcв = 0,3015 см/с = 10,85 м/ч

При определении количества проходов, требуемых для заполнения разделки, необходимо иметь в виду, что максимальное сечение одного прохода обычно не превышает 100мм2.

Fn=F0n - Fн,

где F0n - площадь поперечного сечения наплавленного металла;

Fн - площадь первого прохода;

Fn= 4

Режим сварки последующих проходов и их число выбирают из условий заполнения разделки и плавного спряжения шва с основным металлом.

Режим сварки для второго прохода;

Iсв = 310А

Напряжение на дуге;

Uд = 28В

Коэффициент расплавления;

αр = 9,37г/Ач

Коэффициент наплавки;

αн = 9,1г/Ач

Скорость сварки;

Vсв = 0,2448см/с = 8,8м/ч

F = 40мм2;

Режим сварки для третьего прохода;

Скорость сварки, напряжение на дуге, коэффициент расплавления будут такиеже, как для второго прохода. Площадь сечения шва F = 90мм2;

Vсв = 0,1116см/с = 4,018м/ч

Для последнего прохода F = 66мм2, тогда;

Vсв = 0,1522см/с = 5,48м/ч

4. Обоснование выбора основного сварочного оборудования

.1 Выбор источника питания

Для питания сварочной дуги при механизированной сварке в среде защитных газов используют источники постоянного тока. К ним относятся сварочные преобразователи, агрегаты и выпрямители. Главным требованием к источникам питания является обеспечение ими легкого возбуждения и стабильного горения сварочной дуги. Все источники питания характеризуются следующими основными показателями: величиной напряжения холостого хода, формой внешней характеристики, мощностью, продолжительностью работы (ПР) и продолжительностью включения (ПВ), Внешняя вольт-амперная характеристика определяющая зависимость напряжения источника от величины сварочного тока, может быть падающей (круто, полого), жесткой или возрастающей. Внешние вольт-амперные характеристики источников питания показаны на рисунке 24.

Рисунок 24 Внешние вольт-амперные характеристики источников питания: 1 - крутопадающая; 2 - полого падающая; 3 - жёсткая; 4 - возрастающая

Крутопадающую характеристику применяют для источников, предназначенных для ручной дуговой сварки и сварки под флюсом толстой проволокой. Полого падающую и жёсткую характеристики используют при сварке под флюсом и в среде защитных газов тонкой проволокой. Возрастающую характеристику применяют при сварке тонкой проволокой в среде защитных газов.

В силу физических особенностей стабильность дуги и её технологические свойства выше при использовании постоянного тока обратной полярности. При использовании постоянного тока прямой полярности количество расплавляемого электродного металла увеличивается на 25…30%, но резко снижается стабильность дуги и повышаются потери на разбрызгивание. Применение переменного тока невозможно из-за нестабильного горения дуги. Сварочный выпрямитель - это статический преобразователь энергии трехфазной сети переменного тока в энергию выпрямленного тока, которая используется для дуговой сварки. Выбор схемы выпрямителя зависит от области его применения.

Для сварки данного вида изделия будем применять сварочный выпрямитель ВДУ-350сэ.адк. Основные технические данные приведены в таблице 17.

Выпрямитель сварочный универсальный ВДУ-350сэ.адк предназначен: для ручной дуговой сварки покрытыми электродами постоянным током, а также механизированной сварки сталей сварочной проволокой в среде защитных газов в составе полуавтоматов ПДГО-350сэ.адк. Дополнительно выпрямитель может осуществлять механизированную сварку в среде аргона постоянным током в импульсном режиме. Вид климатического исполнения У3.1 по ГОСТ 15150.

Таблица 17 - Технические характеристики

Наименование показателя

ВДУ - 350сэ

1. Напряжение сети, В.

2. Частота, Гц.

50

3. Ток потребляемый от сети, А, (не более)

30

4. Напряжение холостого хода, В, (не более)

58

5. Рабочее напряжение, В.


ММА

22 - 35

МIG - MAG

15 - 30

TIG

12 - 28

6. Пределы регулирования сварочного тока, А.


ММА

25 - 350

МIG - MAG

25 - 350

TIG

25 - 320

7. Номинальный сварочный ток, А


MMA

ПВ 100% - 350А

МIG - MAG

ПВ 100% - 350А

TIG

ПВ 100% - 320А

8. Масса, кг.

180

9. Габаритные размеры, мм.

612×577×765


Форма и размеры шва помимо прочего (скорости сварки, пространственного положения электрода и изделия и др.) зависят также от характера расплавления и переноса электродного металла в сварочную ванну. Для улучшения технологических свойств дуги применяют периодическое изменение ее мощности - импульсно - дуговая сварка (рис.25).

Рисунок 25 Изменение тока и напряжения дуги при импульсно - дуговой сварке: Iп, Uп - ток и напряжение основной дуги; Iи, Uи - ток и напряжение дуги во время импульса; tп, tп - длительность паузы и импульса

Теплота, выделяемая основной дугой, недостаточна для плавления электродной проволоки со скоростью, равной скорости ее подачи. Вследствие этого длина дугового промежутка уменьшается. Под действием импульса тока происходит ускоренное расплавление электрода, обеспечивающее формирование капли на его конце. Резкое увеличение электродинамических сил сужает шейку капли и сбрасывает её в сварочную ванну.

Можно использовать одиночные импульсы или группу импульсов с одинаковыми или различными параметрами. В последнем случае первый или первые импульсы ускоряют расплавление электрода, а последующие сбрасывают каплю электродного металла в сварочную ванну. Устойчивость процесса зависит от соотношения основных параметров (величины и длительности импульсов и пауз). Соответствующим подбором тока основной дуги и импульса можно повысить скорость расплавления электродной проволоки, изменить форму и размеры шва, а также уменьшить нижний предел сварочного тока, обеспечивающий устойчивое горение дуги согласно [4].

Таблица 18 - Оптимальные значения тока для мелкокапельного переноса электродного металла при сварке в смеси 75%Ar+25%CO

Сварка

Диапазон рабочих токов, А при dэ


1.2мм

1.6мм

2.0мм

Со струйным переносом

>320

>360

>420

Импульснодуговая

80…240

140…380

210…440


Критерием оценки длительности импульсов тока, необходимой для отрыва капли, является понятие активной длительности импульса сварочного тока. Определение активной длительности импульса должно производится при значении тока Iрасч , т.е. (0,83 - 0,77)Iимп.

Активная длительность импульса тока синусоидальной формы составляет примерно 0,378 - 0,445 от полной длительности. В остальное время за счет импульса осуществляется дополнительный ввод тепла в электрод и изделие, что ухудшает качественные и энергетические показатели процесса.

Существенным недостатком импульсов тока синусоидальной и апериодической формы является малая крутизна фронта и среда импульса на рабочем участке, что при возмущениях приводит к нарушению стабильности переноса, так как значительно изменяется активная длительность импульса.

Оптимальной формой импульса является прямоугольная или близкая к ней. При такой форме импульса его энергия является минимальной по сравнению с другими формами импульса, что выгодно как с энергетической так и качественной стороны. Стабильность переноса электродного металла при этом значительно выше, так как активная длительность импульса при воздействии возмущений изменяется несущественно.

Рисунок 26 Импульс прямоугольной формы

Генератор импульсов типа ГПИ - 2 предназначен для автоматической и механизированной сварки цветных и черных металлов в среде аргона плавящимся электродом в комплексе со стандартным источником питания. Наложение импульсов тока на сварочную дугу позволяет эффективно управлять переносом электродного металла в сварочную ванну во всех пространственных положениях.

Генератор питается от трехфазной сети переменного тока с напряжением 380В.

Первичный ток 10А.

Параметры импульсов:

длительность импульсов 0,6…0,9мсек;

частота следования импульсов 30…100Гц;

амплитуда импульсов 300…1000А.

Генератор автоматически прекращает генерирование импульсов при отсутствии дуги. При правильном выборе параметров слышен равномерный устойчивый треск, свидетельствующий о переносе капель расплавленного металла импульсами в сварочную ванну.

4.2 Выбор сварочного оборудования

Полуавтомат сварочный ПДГО - 350сэ предназначен для дуговой сварки в среде защитных газов сплошной и порошковой проволокой в составе ВДУ - 350сэ. Вид климатического исполнения У3.1 по ГОСТ 15150.

Таблица 19 - Технические характеристики


ПДГО - 350сэ

1. Номинальный сварочный ток, А.

ПВ 100% - 350А

2. Пределы регулирования сварочного тока, А.

25 - 350

3. Диаметр сплошной электродной проволоки, мм.

0,8 - 1,6

4. Скорость подачи электродной проволоки, м / мин.

10…18

5. Количество пар подающих роликов, шт.

1

6. Расход защитного газа, л / мин.

2…30

7. Напряжение питания, В.


Механизм подачи

24;АС

Система управления

20;АС

8. Мощность двигателя механизма подачи, Вт.

65

9. Масса, кг.

9

10. Габаритные размеры, мм.

597×225×421

11. Кассета с проволокой (max): диаметр, мм.

300

масса, кг.

30


Сварочные горелки в комплекте с кабелем, предназначены для полуавтоматической сварки в защитных газах как сплошной, так и порошковой проволокой.

Рукоять горелки изготовлена из специального стекловолокна с выемками, не дающими скользить.

Кабель имеет небольшой вес и большую гибкость. Горелки Maqnum оснащены разъемом „европейского» типа для подключения к механизму подачи, что не требует каких - либо приспособлений.

Конструкция сопла предполагает максимальный отбор тепла от газового диффузора, что способствует лучшему охлаждению контактного наконечника.

Таблица 20 - Технические характеристики


Maqnum 400

Maqnum 500

Номинальный ток, А

400А при ПВ60%

550А при ПВ60%

Диаметр проволоки, мм

0,9 - 2,0

0,9 - 4,0

Стандартная длина кабеля, м

3.0;3.6;4.5;6.0;7.5

3.0; 3.6; 4.5; 7.5.

Евроразъем для подключения к механической подачи

+

+



5. Технология изготовления сварного изделия

.1 Заготовительные операции

Днище верхнее изготавливается из стали XARDOX. Резка листовой стали XARDOX выполняется газовой резкой. Скорость резки - 150÷700мм / мин. Зона теплового воздействия - 4,0 ÷ 10мм. Допуск на размер ± 2мм.

Разрезаемость стали зависит от содержания в ней углерода и легирующих элементов. Она оценивается по эквиваленту углерода по формуле;

Сэ = С + 0,16Mn + 0.3(Si + Mo) + 0.4Cr + 0.2V + 0.4(Ni + Cu), (19)

Величина углеродного эквивалента стали XARDOX составляет 0,26 - 0,37.

Таблица 21 - Предварительный подогрев перед газопламенной резкой

Марка

Толщина листа, мм

Температура подогрева, 0С

 XARDOX 400

40 - 59,9

1000


60 - 80

1500


> 80

1750


Растрескивание по кромкам обреза связано с водородным растрескиванием. Подогрев можно выполнять посредством газопламенных горелок, электронагревательных матов, в печах.

Для избежания растрескивания по кромке обреза применяют низкую скорость резки, если нагрев невозможен. Независимо от того использовался подогрев или нет режим медленного охлаждения снижает опасность растрескивания по кромке обреза. Это достигается путем укладки вырезанной заготовки друг на друга сразу после резки и накрыванием их теплоизоляционным покрытием, пока они не остынут до температуры цеха.

Для раскроя листов XARDOX используем машину термической резки Одесса 2,5-2К-12. Программное управление машины позволяет получать заготовки с максимальной точностью формы размеров и минимальным расходом металла на отходы.

Технические характеристики:

размер обрабатываемых листов, мм , не менее;

длина 9000

ширина 2000

диапазон разрезаемых толщин, мм;

двумя вертикальными резаками с кромки листа 5-200

одним резаком с кромки листа 5-40

при пробивке отверстия в площади листа 5-40

точность воспроизведения заданного контура ГОСТ5614-74 0,35

стабилизация расстояния между резаком и листом автоматически

классы вырезаемой заготовки по ГОСТ14792-80 К0320

наибольшая скорость перемещения резаков, м/с 0,13

наименьшая скорость перемещения резаков, м/с 0,83×10-3

потребляемая мощность, КВт 2

количество суппортов, шт 2

количество резаковых блоков, шт 2

масса машины, кг не более 3520

габариты машины, мм не более

длина по рельсовому пути 12600

ширина 5900

высота       3100

Технические характеристики и требования к эксплуатации

количество обслуживающего персонала (резчиков),чел 1

управление технологическими операциями автоматически

площадь, занимаемая машиной, м2 , не более 79

размер колеи рельсового пути, мм 3300

коэффициент использования машинного времени 0,8

применяемые газы:

кислород технический по ГОСТ5583-78. сорт не ниже 1

горючий газ(ацетилен, пропан-бутан) с теплотой сгорания, МДж/м3,

(ккал/м3), не менее 35,6(8500)

воздух сжатый, класс загрязненности по ГОСТ17433-80 2

электропитание от сети трехфазного переменного тока:

напряжение В 380

частота, Гц 50

максимальное время непрерывной резки с последующим перерывом

на один час, час 16

При изготовлении нижнего днища для прямолинейной резки листового металла применяют ножницы гидравлические с наклонным ножом модели НА3725.

Таблица 22 - Технические данные ножниц НА3725

Наибольшие размеры разрезаемого листа, мм: толщина ширина

 32 3150

Наибольшее усилие реза, кН

2303

Усилие прижима листа, кН

519

Размеры ножа, мм: сечение длина

 165×45 1080

Ход подвижного ножа, мм

250

Частота хода ножа, 1 / мин

6 - 15

Угол наклона подвижного ножа: наибольший наименьший

 3020' 0030'

Ход гидравлических прижимов, мм

50


После резки для удаления с поверхности кромок окалины и шлаков кромки зачищают. Для этого используют металлические скребки и пневматическую шлифовальную машинку М3 ПСМ-ИП2014 ТУ22-166-13-88.

Правка листов производится для выпрямления заготовок, искривленных в процессе вырезки их газовым пламенем и на механических ножницах. Для правки применяют листоправ PRH - 500.

Таблица 23 - Технические характеристики листоправа PRH - 500


PRH - 500

Количество валков, шт

9

Рабочая длина валков, мм

1000

Толщина металла, мм

2 - 40


Заготовку для козырьков после правки отправляют на строжку для получения понижения на кромкострогальном станке модели 7814.

Таблица 24 - Технические характеристики кромкострогального станка типа 7814

Наибольшие размеры обрабатываемого изделия, мм: длина ширина высота

 14000 2500 200

Ход каретки, мм

1500 - 14450

Наибольшее перемещение суппортов, мм: в вертикальном направлении в горизонтальном направлении

 280 200

Угол поворота суппорта, град

±45

Скорость рабочего хода каретки, м / мин

4 - 40

Подача суппортов на один рабочий ход каретки, мм

0,5 - 6

Мощность электродвигателя, кВт

25

Габаритные размеры, мм: длина ширина высота

 2150 4500 3350

Угол поворота резцедержателей, град

360

Масса, т

53

5.2 Технологический процесс сборки и сварки

Сборка и сварка рештака производится в заводских условиях сварщиками, требуемой квалификации и разряда.

Сборка производиться следующим образом:

в приспособление 0840-5052 устанавливают по упорам боковины поз. 3 и 4 по 1 шт. Затем устанавливают днище поз. 5, выдержав размер 800±2 и допуск перпендикулярности 3мм. Козырек поз.1 выставляют в размер 50.5±0.5 по приспособлению 0840 - 5053. Козырек поз.2 выставляют в размер 52.5±0.5 по приспособлению 0840 - 5054. Боковины к днищу и козырькам поджимают винтами и прихватывают, длина прихваток 20÷30мм.

Для предотвращения поводок при сварке устанавливают распорки: две по торцам рештака, две на верхние полки боковин, длина прихваток 50мм.

На номерную бирку набивают номер и устанавливают ее на место, указанное в чертеже.

Качество сборки контролируется мастером ОТК в количестве 100%.

Для сварки рештак устанавливается на кантователь. Установленные детали приваривают, выдержав размеры и катеты сварных швов согласно чертежу. При сварке рештак кантовать не менее 7 раз на 1800. При сварке шва С15 количество проходов должно быть не менее трех. Сварку следует производить с малым интервалом времени между наложением отдельных слоев с применением каскадного метода заполнения разделки или заполнения разделки горкой. Длина каждого участка должна быть не более 300мм. По окончании сварки выставить нижнее днище поз.6 согласно чертежу и прихватить, длина прихваток 20÷30мм. Тавровые швы варить накладными швами. После сварки рештак снять с кантователя и отправить на слесарные работы.

5.3 Сварочные напряжения и деформации, меры борьбы с ними

Собственные напряжения различаются: по времени существования, по характеру распределения, по объему изделия и по направлению в пространстве. Напряжения подразделяют на временные и остаточные. Остаточные напряжения возникают вследствие неравномерного нагрева и вызывают пластические деформации и структурные превращения. Сварочные напряжения всегда являются объемными. Они часто достигают в отдельных участках сварного соединения предела текучести.

При статических нагрузках остаточные сварочные напряжения не влияют на прочность сварных соединений. Однако конструкции из высокопрочных сталей весьма чувствительны к наличию остаточных напряжений. Влияние остаточных напряжений на усталостную прочность увеличивается при наличии концентраторов напряжений в виде подрезов, непроваров и т. д.

Возникновение остаточных сварочных напряжений можно предотвратить снижением степени неравномерности нагрева изделия при сварке. Поэтому надо выбирать режим, обеспечивающий более равномерный нагрев изделия по сечению.

Деформации сварных конструкций можно подразделить на:

продольное укорочение шва и околошовной зоны;

поперечная усадка шва и околошовной зоны;

скручивание, вследствие неодновременности наложения поясных швов, разной жесткости сечения по осям симметрии и наличия полей остаточных напряжений в элементах конструкции до сварки;

угловые деформации , возникающие в результате поперечной усадки швов.

Мероприятия по уменьшению сварочных деформаций:

конструктивные - сечения сварных швов назначают минимальными по условиям прочности; швы необходимо располагать симметрично и возможно ближе к оси, проходящей через центр тяжести сечения, для уравновешивания деформаций; в пространственно развитых конструкциях целесообразно применять вспомогательные элементы в виде ребер жесткости, диафрагм, косынок, распоров; предусматривать возможность использования зажимных сборочно-сварочных приспособлений; количество швов в конструкции должно быть по возможности минимальным.

технологические меры - назначение оптимального режима сварки, с тем чтобы зона разогрева была минимальной; правильный порядок выполнения швов; при выполнении швов большой протяженности использовать обратно - ступенчатый способ сварки; применение способа обратных деформаций согласно [12].

5.4 Технический контроль качества и исправление брака

Существующий уровень технологии и сварочного оборудования не может гарантировать полного отсутствия дефектов в сварных соединениях. Их возникновение связано с воздействием на процесс сварки различного рода случайных возмущений.

Для своевременного обнаружения и принятия технических и организационных мер по предупреждению дефектов необходим систематический контроль всех звеньев производства сварных узлов: в стадии проектирования конструкции; при выполнении операций, сопутствующих сварке; собственно сварочных операций; сварочного оборудования, а также квалификации наладчиков и сварщиков.

Необходимым контролем сварных соединений является: визуальноизмерительный метод. Также обязательным является входной контроль сварочного оборудования и материалов согласно РД 34.10.127-94.

Контроль сварочного оборудования до начала эксплуатации:

проверка эксплуатационной документации;

проверка комплектности;

визуальный контроль и метрологические проверки приборов оборудования контроля режимов сварки;

проверка электрического сопротивления изоляции;

проверка работоспособности на номинальных режимах.

Контроль в процессе эксплуатации: внешний осмотр для выявления повреждений наружных частей, электрических цепей, заземления, состояния приборов.

Входной контроль металла (труб, листов, профиля, проката) поступающего для изготовления сварной конструкции проводится в соответствие с ГОСТ 24297-87. Контроль включает в себя следующие проверки:

наличие сертификата, полноты его данных и соответствие их стандартам;

проверка наличия заводской маркировки и соответствия её сертификату;

осмотр металла на наличие поверхностных дефектов и повреждений.

Перед использованием сварочной проволоки должны быть проверены:

наличие сертификата, полнота приведённых в нём данных;

наличие на каждом упаковочном месте (мотке, бухте и пр.) бирок с контролем указанных в них данных;

целостность упаковок и самих материалов (на поверхности проволоки не должно быть окалины, ржавчины, следов смазки, задиров, вмятин и других дефектов и загрязнений).

Входной контроль защитного газа: наличие документа регламентированного стандартом на соответствующий газ.

Визуальноизмерительным контролем (ВИК) (проводится согласно РД 03-606-03) проверяют качество подготовки и сборки заготовок под сварку, качество выполнения швов в процессе сварки и качество готовых сварных швов. Обычно внешним осмотром контролируют все сварные изделия независимо от применения других видов контроля. Внешний осмотр во многих случаях достаточно информативен, наиболее дешёвый и оперативный метод контроля.

При осмотре готовых соединений, прежде всего, визуальным осмотром, невооружённым глазом или в лупу, проверяют наличие трещин, подрезов, свищей, прожогов, натёков, непроваров у корня и кромок. Некоторые из указанных дефектов недопустимы и подлежат удалению и повторной заварке. При осмотре также определяют дефекты формы шва, характер распределения металла в усилении шва, величину проплавления.

Тщательный внешний осмотр - обычно весьма простая операция, тем не менее, может служить высокоэффективным средством предупреждения и обнаружения дефектов.

Дефекты, выявляемые при визуальном контроле сварных соединений:

трещины всех видов и направлений;

непровары (несплавления) между основным металлом и швом, а также между валиками шва;

наплывы (натёки) и брызги металла;

не заваренные кратеры;

свищи;

прожоги;

скопления включений.

Выявленные при визуальном и измерительном контроле дефекты, которые могут быть исправлены (удалены) без последующей заварки выборок, должны быть исправлены до проведения контроля другими методами.

6. Конструкторская часть

.1 Приспособления для сборки рештака

Для сборки рештака используется приспособление ФЮРА 5052.00.00, которое обеспечивает точность геометрических размеров и надежно фиксирует детали до окончания сборки. Распорки 4 обеспечивают получение размера 800±2мм, боковины фиксируются финтами 5 и 6. Опоры поз. 8 обеспечивают установку верхнего днища поз. 3 в размер 170±1мм. Винты 7 регулируют высоту посадки боковин в размер 170мм.

Козырек поз. 1 выставляется в размер50,5±0,5мм при помощи приспособления ФЮРА 0840.50.53. Приспособление устанавливается на выступающий замок боковин и прижимается винтами поз. 6.

Козырек поз.2 выставляется в размер 52,2±0,5мм при помощи приспособления ФЮРА 0840.50.54. Приспособление устанавливается во внутренние впадины замков боковин и прижимается винтами поз.7.

Рисунок 27 Приспособление для сборки рештаков

Рисунок 28 Приспособления для установки козырьков

.2 Кантователь для сварки рештака

Кантователь рештаков и навесного оборудования предназначен для вращения изделия в процессе сварки в разных плоскостях для удобства проведения сварки. Свариваемое изделие крепится на поворотную балку 1. Траверса 2 вращается со скоростью 5об/мин. Вращение относительно продольной и поперечной оси с фиксированием через 300. Управление кнопочное. Грузоподъемность 2000кг.

Рисунок 29 Кантователь для сварки рештаков

7. Производственная и экологическая безопасность

.1 Опасные производственные факторы при сварке рештака

К опасным производственным факторам относятся воздействие электрического тока, искры и брызги, выбросы расплавленного металла и шлака; возможность взрыва баллонов и систем, находящихся под давлением; движущиеся механизмы и изделия.

Неправильная эксплуатация электрооборудования может привести к поражению электрическим током. Применение открытого газового пламени, открытых дуг и струй плазмы, наличие искр, брызг и выбросов расплавленного металла и шлака при сварке создают возможность ожогов и повышают опасность возникновения пожара. Опасность создают использование при сварке и резке горючих газов и кислорода, а также эксплуатация сосудов, работающих под давлением.

Движущиеся машины и механизмы изделия при отсутствии защитных устройств могут привести к травмированию работающих.

7.2. Вредные производственные факторы

К вредным производственным факторам при сварке относятся: повышенная запыленность и загазованность воздуха рабочей зоны; ультрафиолетовое, видимое и инфракрасное излучение сварочной дуги, а также инфракрасное излучение сварочной ванны и свариваемых изделий; электромагнитные поля; ионизирующие излучения; шум; ультразвук; статическая нагрузка на руку.

При сварке в зону дыхания работающих могут поступать сварочные аэрозоли, содержащие в составе твердой фазы окислы различных металлов (марганца, хрома, никеля, меди, алюминия, железа и др.), их окислы и другие соединения, а также токсичные газы (окись углерода, озон, фтористый водород, окислы азота и др.). Количество и состав сварочных аэрозолей, их токсичность зависят от химического состава сварочных материалов и свариваемых металлов, вида технологического процесса. Воздействие на организм выделяющихся вредных веществ может явиться причиной острых и хронических профессиональных заболеваний и отравлений.

Интенсивность излучения сварочной дуги в оптическом диапазоне и его спектр зависят от мощности дуги, применяемых материалов и защитных газов. При отсутствии защиты возможны поражения органов зрения и ожоги кожных покровов. При механизированной сварке может возникнуть статическая нагрузка на руки, в результате чего могут возникнуть заболевания нервно - мышечного аппарата плечевого пояса.

.3. Мероприятия по устранению опасных и вредных факторов

При выборе технологического процесса следует отдавать предпочтение тому, при котором будет обеспечена большая безопасность труда. Необходимо использовать сварочные материалы, которые выделяют вредные вещества в ограниченном количестве. Не допускается использование сварочных материалов, не прошедших гигиеническую оценку.

При проектировании и эксплуатации предприятий со сварочным производством должны быть приняты меры по профилактике производственного травматизма и профессиональных заболеваний, в первую очередь по уничтожению вредных и опасных производственных факторов, а если ликвидация вредных и опасных факторов затруднена технически или экономически, по их нейтрализации и защите от них.

Санитарно-гигиенические условия и обязательные мероприятия по охране труда в сварочном производстве регламентируются «Системой стандартов безопасности труда», «Строительными нормами и правилами» (СНиП), правилами техники безопасности и производственной санитарии, различными инструкциями, указаниями и другими документами.

Все лица, поступающие на работу, связанную с электросваркой, должны проходить предварительные и периодические медицинские осмотры.

Кожу защищают обычной рабочей одеждой, лицо и часть шеи - щитком или шлемом. Глаза защищаются специальными темными стеклами - светофильтрами, которые вставляют в щиток или шлем. Эти стекла совсем не пропускают ультрафиолетовые лучи, а инфракрасные пропускают в пределах от 0.1 до 4%, что не оказывает вредного влияния на зрение сварщика.

Помимо ожогов лучами электрической дуги, сварщику могут быть причинены ожоги брызгами расплавленного металла. Чтобы избежать ожогов, необходимо надевать рабочую одежду из плотной брезентовой материи. Одежда не должна иметь складок. Брюки надо носить только на выпуск.

При выполнении сварочных работ по изготовлению рештака в результате выгорания элементов легирования повышается загазованность рабочего места для предотвращения этого необходимо устанавливать устройства вытяжной вентиляции в зоне дыхания сварщика. Выбрасывать воздух нужно за пределы рабочих зон. Для удаления газов и пыли применяется как местная вентиляция рабочего места, так и приточно-вытяжная вентиляция всего помещения. Приточный воздух должен поступать рассеяно в рабочую зону помещений, а также там, где вытяжная вентиляция осуществляется посредством местных отсосов. Скорость движения воздуха на рабочих местах должна быть не более 0.3 м/с согласно [16].

Во всех производственных помещениях, в которых постоянно пребывают люди, должно быть предусмотрено естественное освещение. При недостаточности естественного освещения в дневное время, применяют искусственное освещение. Для сборочно - сварочных цехов можно применять общее или комбинированное (общее и местное) освещение. Общее освещение может быть равномерным или локализованным.

7.4. Вентиляция

Для снижения концентрации вредных веществ на рабочих местах до предельно допустимой концентрации необходимо прежде всего применять местные отсосы. Расход воздуха, удаляемого отсосами, определяют по формуле:

, (20)

где L0 - площадь всасывающего отверстия отсоса, L0 = 0,3м2;

V0 - скорость воздуха в этом отверстии, для сварки в инертных газах

V0 = 0,3м/с.

L = 324м3

При сварке крупногабаритных изделий отсосы выполняют в виде подвижного воздухоприемника, укрепленного на шарнирно соединенных воздуховодах. Воздухоприемник в подъемно - выдвижной площадке выполнен в виде поворотной воронки, в качестве вытяжных каналов использованы полые стрелы. Данная вытяжная система подключается к индивидуальному вентиляционному агрегату или цеховой системе местной вытяжной вентиляции согласно [15].

7.5 Электробезопасность

Причинами электротравматизма на производстве является непосредственный контакт с токоведущими частями оборудования, высокие напряжения, работа с металлоконструкциями и так далее. Основными мерами защиты от поражения электрическим током являются:

обеспечение недоступности токоведущих частей, находящихся под напряжением, для случайного прикосновения, что достигается изоляцией токоведущих частей;

устранение опасности поражения при появлении напряжения в корпусе, кожухе и других частях машины для дуговой сварки плавлением, что достигается использованием двойной изоляции, а также применением защитного заземления;

работа без заземления корпуса категорически запрещается. Во время работы необходимо систематически проверять надежность заземления. Для быстрого отключения от сети необходимо обеспечить легкий доступ к рубильникам, кнопкам и другим отключающим устройствам.

Проведем расчет защитного заземления для оборудования, которое работает под напряжением 380В. Для заземления используем трубы диаметром 45мм с толщиной стенки равной 2,5мм и длиной 2,7 метра, и полосовую сталь сечением 48х4мм. Заземлители разместим в ряд. Характер грунта в месте установления заземлителей - суглинок.

В соответствии с рекомендацией трубчатые заземлители устанавливаем в земле на глубину (от поверхности земли до верхнего конца трубы) равную 80 см, а величину расстояния между трубами принимаем равной трем длинам заземлителя (а = 8,1м). верхние концы заземлителя соединены с помощью полосовой стали. Схема установки приведена на рисунке 30.

Рисунок 30 Расчет защитного заземления

По нормам для нашего случая допускаемое сопротивление заземлителей не более 4 Ом, а удельное сопротивление грунта (суглинок) составляет рг = 1 • 104 Ом.

Учитывая возможное промерзание грунта зимой и просыхание летом, определим расчетные значения удельного сопротивления грунта для полосы ρп и для электродов ρэ, которые определяются по формулам:

ρэ = ρr × Kэ, (21)

ρп = ρr × Kп, (22)

где Кэ, Кп - повышающие коэффициенты для соответствующей климатической зоны.

Для города Анжеро - Судженска Кэ = 1,9 и Кп = 4,5

Подставляя эти значения в формулу мы получим:

ρэ = 1× 104 × 1,9 = 1,9 × 104 Ом×см,

ρп = 1× 104 × 4,5 = 4,5 × 104 Ом×см.

Сопротивление растеканию одной забитой в землю трубы Rэ (Ом) определяется по формуле:

, (23)


При вычислении по приближенной формуле:

Rэ = 0,00302 × ρэ = 0,00302 × 1,9 × 104 = 58,1 Ом

Принимаем Rэ = 58.2 Ом.

Потребное число трубчатых заземлителей определяется по формуле:

, (24)


Учитывая, что трубы соединены заземляющей полосой, которая выполняет роль заземлителей, уменьшим полученное число труб до 12 штук.

Длина соединительной полосы определяется по формуле:

In = 1.05 × a ×(n - 1), (25)

In = 1.05 × 8,1 ×( 12 - 1 ) = 93,55 м.

Сопротивление соединительной полосы определяется по формуле:

, (26)


Результирующее сопротивление растеканию системы с учетом коэффициента использования труб (hэ = 0.82) и полосы (hп = 0.76) определяется по формуле:

, (27)

Ом.

Полученная величина удовлетворяет нормам.

Исход воздействия тока зависит от ряда факторов, в том числе от значения и длительности протекания тока через тело человека. (Чем больше ток и продолжительнее его действие, тем больше вероятность тяжелого или смертельного исхода), рода и частоты тока (постоянный ток примерно в четыре-пять раз безопаснее переменного тока с частотой 50Гц) и индивидуальных свойств человека. Производственное помещение, в котором размещается сварочное оборудование, из-за наличия токопроводящего железобетонного пола и металлической пыли, образующейся в результате плавления, относится к особо опасным.

Обслуживание электроустановок поручается лицам, прошедшим медицинский осмотр и специальное обучение. Каждый работник обязан знать, как оказать первую помощь пострадавшему от действия электрического тока.

7.6 Пожарная безопасность

Пожары на машиностроительных предприятиях представляют большую опасность для работающих и могут причинить огромный материальный ущерб.

Опасными и вредными факторами пожара, воздействующими на людей, являются: открытый огонь, повышенная температура окружающей среды и предметов, токсичные продукты горения, дым, пониженная концентрация кислорода, падающие части строительных конструкций; при взрыве - ударная волна, разлетающиеся части и вредные вещества.

Причины возникновения пожаров в сварочных цехах и монтажных площадках предприятий следующие:

нарушение технологического режима;

неисправность электрооборудования;

самовозгорание промасленной ветоши и других материалов, склонных к самовозгоранию;

искры при электросварочных работах;

несоблюдение графика планового ремонта, износ и коррозия оборудования;

реконструкция установок с отклонением от технологических схем.

Основы противопожарной защиты предприятий определены стандартами ГОСТ 12.1.004-76 «Пожарная безопасность» и ГОСТ 12.1.010-76 «Взрывобезопасность. Общие требования». Этими стандартами возможная частота пожаров и взрывов допускается такой, чтобы вероятность их возникновения в течение года не превышала 10-6 или чтобы вероятность воздействия вредных факторов на людей в течение года не превышала 10-6.

Пожарная безопасность может быть обеспечена мерами пожарной профилактики. Понятие пожарной профилактики включает комплекс мероприятий, необходимых для предупреждения возникновения пожара или уменьшения его последствий. Мероприятия по пожарной профилактике разделяются на организационные, технические, режимные и эксплуатационныеЗдания в сварочном производстве относятся ко второй степени огнестойкости сооружений, к категории Г.

Для быстрой ликвидации пожара вблизи сварочного места всегда должны быть ящик с песком и лопата, а также ручной огнетушитель. Огнетушители, применяемые при тушении пожара на участках с электроустановками, должны быть углекислотными. На участке, в специально оборудованных местах, должно находиться не менее двух огнетушителей ОУ - 5.

Пожарные краны, рукава, стволы, огнетушители и другие средства пожаротушения, необходимо содержать в исправности и хранить в определенных местах.

7.7 Охрана окружающей среды

Загрязнение окружающей среды промышленными предприятиями связано в большей степени с загрязнением воды, используемой для различных целей производства (для охлаждения оборудования, для термической обработки изделий и др.) и атмосферы.

Поэтому мероприятия по повышению экологической чистоты производства можно разделить на следующие группы:

охрана и рациональное использование водных ресурсов;

охрана и рациональное использование воздушного бассейна.

Первая группа мероприятий направлена на создание сооружений по очистке сточных вод и применения систем оборотного водоснабжения. Вторая группа мероприятий связана с сооружением установок, для очистки воздуха, удаляемого вытяжкой вентиляцией из цехов промышленных предприятий.

Одним из наиболее совершенных видов очистки газов от взвешенных в них частиц пыли являются электрофильтры. Их принцип основан на ударной ионизации газа в зоне коронирующего заряда, передачи заряда ионов частицам примесей и осаждении последних на осадительных и коронирующих электродах, с которых они затем удаляются механически. Также широкое применение для очистки газов от частиц пыли получили сухие пылеуловители - циклоны.

Для очистки технологических и вентиляционных выбросов от газов и паров применяют адсорберы. Адсорбция представляет собой процесс поглощения газов или паров поверхностью твердых веществ - адсорбентов. В качестве адсорбентов (поглотителей) применяют такие вещества, как глинозем, силикогель, активированный уголь и др.

При разработке и внедрении технологических процессов предпочтение должно отдаваться безотходным и малоотходным технологиям.

.8 Чрезвычайные ситуации

Чрезвычайная ситуация - это совокупность исключительных обстоятельств, сложившихся в определенной зоне в результате чрезвычайного события техногенного, антропогенного и природного характера.

Чрезвычайные ситуации разделяют на чрезвычайные ситуации мирного и чрезвычайные ситуации военного времени.

К чрезвычайным ситуациям мирного времени относятся транспортные аварии и катастрофы, аварии с выбросом сильнодействующих ядовитых веществ (СДЯВ), аварии с выбросом радиоактивных веществ, аварии с выбросом биологически опасных веществ, внезапные обрушения, наводнения, землетрясения и др.

Чрезвычайные ситуации военного времени возникают в результате применения противником современных средств поражения, к которым относят оружие массового поражения (ядерное, химическое, биологическое) и современные обычные виды оружия, приближающиеся по своим поражающим факторам к ОМП.

Своевременное оповещение населения, организаций, органов управления о возникновении чрезвычайных ситуаций, как в мирное, так и в военное время, его достоверность и четкость, является одной из важнейших задач гражданской обороны (ГО).

Основными принципами защиты при чрезвычайных ситуациях являются:

укрытие населения в защитных укрытиях ГО (специальных убежищах, противорадиационных укрытиях) и других сооружениях, приспособленных для этих целей в конкретной ситуации (метро, подземные выработки, подземные пространства городов и др.);

эвакуация населения из зон возможных стихийных бедствий, аварий, катастроф или при угрозе их возникновения, из зон национальных конфликтов и в военное время, рассредоточение рабочих и служащих предприятий, продолжающих свою производственную деятельность в зонах возможных сильных разрушений и эвакуация всего остального населения из этих зон в загородную зону;

использование средств индивидуальной защиты (СИЗ) и медицинских средств защиты (МСЗ).

Таким образом, защита населения и хозяйства достигается путем сочетания комплекса основных способов защиты (укрытие, эвакуация, применение СИЗ и МСЗ).

Организация и осуществление мероприятий противорадиационной, противохимической защиты населения возлагается на службу противорадиационной и противохимической защиты (ПР и ПХЗ), противобактериологической - на медицинскую службу ГО.

Эти службы обязаны: организовать радиационное, химическое и бактериологическое наблюдение, разведку и лабораторный контроль за соответствующими видами заражения и дозиметрический контроль облучения людей; обеспечить проведение санитарно-гигиенических, профилактических и противоэпидемических мероприятий; предотвратить потребление зараженного продовольствия и воды, обеспечить их обеззараживание; обеспечить правильное хранение, своевременную выдачу и надежное использование СИЗ и МЗС.

Решение вопросов защиты населения от всех видов заражения зависит также от тесного взаимодействия указанных служб с другими службами ГО, в том числе, инженерной службы, службой убежищ и укрытий и др., так как защита населения зависит не только от своевременного обнаружения и оповещения о заражении или угрозе заражения, но и от умелого использования средств индивидуальной и коллективной защиты, других организационных и инженерно-технических мероприятий, осуществляемых в интересах защиты населения.

Поэтому противорадиационная, противохимическая и противобактериологическая защита населения представляет собой сложный комплекс мероприятий, средств и способов защиты, осуществляемый с целью защиты населения от воздействия СДЯВ, ОВ, РВ в экстремальных ситуациях мирного и военного времени.

Противорадиационная, противохимическая и противобактериологическая защита населения основывается на принципах изоляции органов дыхания и тела человека от вредных агентов, находящихся в окружающем воздухе (СДЯВ, ОВ, ВС и радиоактивной пыли) или фильтрации зараженного воздуха средствами защиты. Защита от внешнего гамма и нейтронного излучения строиться на принципах поглощения и экранизации ионизирующих излучений защитными сооружениями, производственными, жилыми и другими помещениями.

На предприятиях, производственная деятельность, которых должна продолжаться в условиях радиоактивного, химического и бактериологического заражения, проводится герметизация основных производственных зданий и сооружений путем устройства тамбуров, герметизацией дверей, оконных и технологических проемов. В системах приточно-вытяжной вентиляции устанавливают фильтры и герметические задвижки, устанавливают устройства для обеззараживания воды, поступающей на хозяйственные, бытовые и производственные нужды. Создают запасы СИЗ, дезактивирующих и дезинфицирующих веществ, подготавливают технические средства для их применения.

Ликвидацию чрезвычайных ситуаций осуществляют силами и средствами организаций, органами местного самоуправления, органами исполнительной власти субъектов РФ, на территории которых сложилась чрезвычайная ситуация. При недостаточности этих сил и средств в установленном законодательством РФ порядке, привлекают силы и средства федеральных органов исполнительной власти.

8. Организационно-экономическая часть

.1 Предварительный анализ

Задачей данного раздела является определение экономической целесообразности внедрения в процесс изготовления рештака механизированной сварки плавящимся электродом в среде смеси газов 75%Ar + 25%CO2 в замен применяемой в настоящее время механизированной сварки в углекислом газе. Несмотря на то что смесь Аг + СО дороже чистого СО, при выборе рациональной схемы снабжения предприятия смесью и с учетом затрат на зачистку металла от брызг, сварка в смеси Аг + СО в ряде случаев оказывается дешевле сварки в чистом углекислом газе. Благодаря практически полному отсутствию разбрызгивания металла значительно снижается также трудоемкость зачистки изделий после сварки.


Таблица 25 - Режимы сварки сравниваемыми способами

Способы сварки

Электроды, марка, диаметр

Наплавляемая площадь, см2

Сварочный ток, А

Напряжение, В

Коэффициент наплавки г/(А·ч)

Сварка в СО2

Св-08Г2С Ø1,6мм

226

320

28

8,23

Сварка в Ar + СО2

Св-08Г2С Ø1,6мм

226

310

28

9,1


.1.1 Расчет норм времени

Нормирование-это определение времени на выполнение какого-либо процесса. Под технически обоснованной нормой времени понимается, установленное для определенных организационно-технических условий время на выполнение заданной работы, исходя из рационального использования средств производства и с учетом передового производственного опыта. Технически обоснованные нормы времени являются основой правильного решения вопросов разделения труда, организации и обслуживания рабочих мест, проектирования передовых методов труда, оценки его эффективности и организации систем материального стимулирования.

Состав и методика определения отдельных элементов норм времени зависит от видов операций, методов сварки, типа производства и других факторов. Так для дуговой сварки норма времени может быть определена по формуле:

,                           (28)

где  - норма штучно-калькуляционного времени, мин/изделие;

 - основное время на сварку одного погонного метра шва, мин/м;

 - вспомогательное время, зависящее от длины шва, в расчете на погонный метр, мин/м;

8.1.1 Расчет норм времени

Нормирование-это определение времени на выполнение какого-либо процесса. Под технически обоснованной нормой времени понимается, установленное для определенных организационно-технических условий время на выполнение заданной работы, исходя из рационального использования средств производства и с учетом передового производственного опыта. Технически обоснованные нормы времени являются основой правильного решения вопросов разделения труда, организации и обслуживания рабочих мест, проектирования передовых методов труда, оценки его эффективности и организации систем материального стимулирования.

Состав и методика определения отдельных элементов норм времени зависит от видов операций, методов сварки, типа производства и других факторов. Так для дуговой сварки норма времени может быть определена по формуле:


где  - норма штучно-калькуляционного времени, мин/изделие;

 - основное время на сварку одного погонного метра шва, мин/м;

 - вспомогательное время, зависящее от длины шва, в расчете на погонный метр, мин/м;

 - протяженность сварочного шва данного типоразмера, l = 14,48м;

 - вспомогательное время, зависящее от свариваемого изделия и типа сварочного оборудования, мин/изделие;

 - коэффициент, учитывающий время обслуживания рабочего места и время на отдых и личные надобности (на автоматическую сварку - 1,15; на полуавтоматическую - 1,12; на ручную - 1,10);

 - подготовительно-заключительное время, мин/партия;

 - размер партии свариваемых изделий.

Основное время на сварку рассчитывается в зависимости от метода сварки.

Для многопроходных швов основное время устанавливается по формуле:

, мин/м (29)

где  - скорость сварки шва для данного типоразмера, м/ч.

для сварки в СО2

to = 48,8 мин/пог.м

для сварки в смеси газов Ar + СО2

to = 37,6 мин/пог.м


Таблица 26 - Вспомогательное время, зависящее от длины шва

Элементы, зависящие от длины шва

СО2

Ar+СО2

Разница

Зачистка свариваемых кромок от налета ржавчины перед сваркой, мин/м

0,60

0,60

0

Переход сварщика после каждого прохода к началу шва, мин/м

0,15

0,15

0

Откусывание огарков проволоки, мин/м

1

1

0

Удаление остатка проволоки из головки полуавтомата. Смена кассет. Подача проволоки в головку полуавтомата, мин/м

0,10

0,10

0

Осмотр, промер шва, мин/м

0,20

0,20

0

Зачистка околошовной зоны от брызг наплавленного металла, мин/м

1,30

0,4

0,9

Итого:

3,35

2,45

0,9


Вспомогательное время, зависящее от свариваемого изделия и типа оборудования (tвиз):

Таблица 27 - Элементы, зависящие от изделия и типа сварочного оборудования


СО2

Ar +СО2

Разница

Установка, поворот и снятие изделия краном или с помощью приспособлений, мин

4,0

4,0

0

Перемещение сварщика в процессе сварки многопроходных швов, мин

0,34

0,34

0

Крепление деталей прижимными приспособлениями и их открепление, мин

0,6

0,6

0

Итого:

4,94

4,94

0


Подготовительно - заключительное время (tпз):

Таблица 28 - Подготовительно - заключительное время

Содержание работ

СО2

Ar + СО2

Разница

Получение производственного задания, документации, инструктажа мастера, получение инструмента, мин

6,0

6,0

0

Ознакомление с работой, мин

5,0

5,0

0

Подготовка к работе баллона с газом, подключение отключение) и продувка шлангов, мин

4,0

4,0

0

Установка, настройка и проверка режимов сварки, мин

3,0

3,0

0

Подготовка рабочего места и приспособлений к работе, мин

7,0

7,0

0

Сдача работы, мин

3,0

3,0

0

Итого:

28

28

0


Тогда норма штучно - калькуляционного времени для сварки в среде углекислого газа:

tшк. = [(48,8+3,35)×14,48+ 4,94]×1,12 + 28/1 = 879,2мин = 14,65час.

Норма штучно - калькуляционного времени для сварки в смеси газов:

tшк = [(37,6+2,45)· 14,48 + 4,94]· 1,12 + 28/1 = 683,0мин = 11,38час.

8.2 Экономическая оценка сравниваемых процессов сварки

.2.1 Определение затрат на сварочные материалы

а) затраты на сварочную проволоку (Ссм):

Ссм=gн.м.·Кп·Цсм, (30)

где gнм - масса наплавленного металла, кг/изд.;

Кп - коэффициент, учитывающий отношение веса проволоки к весу наплавленного металла;

Цсм - цена сварочной проволоки, 45руб/кг.

gнм=l·Fн·γ/1000 (31)

где l - длина сварного шва, l = 14,48м;

F - площадь поперечного сечения шва, F = 226мм2

γ - плотность наплавленного металла, г/см3.

Для сварки в СО2:

gнм = 14,48·226· 7,8 = 25,5кг

Ссм = 25,5 ·1,12·45 =1285,2руб

Для сварки в смеси Ar + СО2:

gнм = 14,48·226· 7,8 = 25,5кг

Ссм = 25,5 · 1,024 · 45 = 1175руб

б) затраты на защитный газ СО2

Сгаз = gгаз·t0· l ∙ Цгаз (32)

где gгаз - норма расхода газа, gгаз = 12 л/мин;

t0 - основное время на сварку, t0 = 48,8мин/м;

Цгаз - цена за единицу газа, Цга з= 0,036руб/л;

l - длина сварного шва, l = 14,48м

Сгаз = 12·48,8·14.48· 0.036 = 305,3руб

в) затраты на смесь газов Ar + СО2

Сгаз = 12· 37,6· 14.48· 0,071 = 463,8руб

8.2.2 Затраты на заработную плату производственных рабочих

 (33)

где Смз - месячная зарплата сварщика, Смз=15000 руб;

tшк - норма штучно - калькуляционного времени на выполнение операции, мин/изд.

Fмр - месячный фонд времени работы рабочих, часы/месяц,

Fмр = 170часов/месяц

Тогда для сварки в СО2:

Сз =  = 1292,94руб/изд

Для сварки в смеси Ar + СО2:

Сз =  = 1004,41руб/изд

Затраты на дополнительную заработную плату:

Сдз = 0.13·Сз

а) для сварки в углекислом газе

Сдз = 0.13·1292,94 = 168,08 руб.

б) для сварки в смеси Ar+CO2

Сдз = 0.13·1004,41 = 130,57 руб.

8.2.3 Отчисления на социальные цели

Сотч = kотч· Сз; (34)

где kотч = процент отчислений на социальные цели от основной и дополнительной заработной платы (kотч = 26%).

Для сварки в СО2:

Сотч = (1292,94+168,08)· 0,26 = 379,86руб/изд

Для сварки в смеси Ar + СО2:

Сотч = (1004,41+130,57)· 0,26 = 295,09руб/изд

8.2.4 Затраты на электроэнергию

Для дуговых методов сварки затраты электроэнергии рассчитывают по формуле:

, (35)

где  - напряжение, В;

I - сила тока, А;

t0 - основное время сварки, мин/м;

 - длина сварного шва, м/изд;

η - коэффициент полезного действия источника питания (берется по паспорту);

Цэл - стоимость 1 квт-ч электроэнергии, руб.

Таблица 29 - Расчет затрат на электроэнергию


СО2

Ar+СО2

I, А

320

320

U, В

28

28

t0, мин/изд

48,8

37,65

η

0,7

0,85

ЦЭЛ, кВт /ч

2,90

2,90

СЭ, руб/изд

437,2

268,7


Тогда для сварки в среде углекислого газа:

Сэ=·2,9=437,2 руб/изд

Для механизированной сварки в смеси Ar+CO2:

Сэ=·2,9=268,7руб/изд

Большие затраты при сварке в СО2 объясняются тем, что требуется большее основное время.

8.2.5 Затраты на ремонт оборудования

Данные затраты рассчитываем по формуле:

, руб/изд,                   (36)

где  - коэффициент, учитывающий затраты на

ремонт ();

 - годовой фонд времени работы оборудования, часы ();

 - коэффициент, учитывающий загрузку оборудования;

 - цена оборудования соответствующего вида (источники питания, приспособления, сварочные аппараты и пр.).

Для сварки в СО2:

Таблица 30 - Цены на оборудование для механизированной сварки

Наименование

Цена, руб.

Сварочный выпрямитель ВДУ - 506 У3

56600

Полуавтомат ПДГ-508 У3

38600

Редуктор для углекислоты У - 30П

1500

Баллон для углекислоты

8860

Итого:

105560

Ср =  = 290руб/изд

Для сварки в смеси Ar+CO2:

Таблица 31 - Цены на оборудование для сварки в смеси газов

Наименование

Цена, руб.

Сварочный выпрямитель ВДУ-350сэ

53600

ИРС

30000

Полуавтомат ПДГО-350сэ

23400

Редуктор

735

Баллон для смеси Ar+CO2

8860

Итого:

116595


Ср =  = 248,8руб/изд

Общие результаты представлены в таблице 32.

Таблица 32 - Общие результаты расчета затрат

Наименование

СО2

Ar+СО2

Разница, руб.

Сварочные материалы

1285,2

1175

110,2

Затраты на газ

305,3

463,8

- 158,5

Основная зарплата

1292,94

1004,41

288,53

Дополнительная зарплата

168,08

130,57

37,51

Социальные цели

379,86

295,09

84,77

Электроэнергия

437,2

268,7

168,5

Ремонт

290

248,8

41,2

Итого, руб.

4158,58

3586,37

572,21


Механизированная сварка в углекислом газе незначительно, но проигрывает механизированной сварке в смеси газов (аргона и углекислоты), экономия затрат составит 572,21руб/изд.

Но для внедрения данного способа сварки необходимо привлечение инвестиций на приобретение оборудования. Для определения целесообразности привлечения инвестиций проводим расчет обобщающих технико - экономических показателей.

8.3 Экономическое обоснование замены существующего процесса сварки на новый

.3.1 Определение чистой текущей стоимости. (NPV)

Количественно показатель  может быть установлен по формуле:

,                                    (37)

где  - продолжительность расчетного периода, в течение которого предприятие может воспользоваться результатами функционирования предлагаемого (нового) процесса, n = 5 лет;

 - изменение чистой прибыли, получаемой в  году, руб/год;

 - изменение амортизационных отчислений в  году, руб/год;

 - инвестиции, осуществляемые в начальный момент ();

 - ставка дисконтирования, учитывающая плату за привлечение финансовых ресурсов (в качестве источника финансирования можно предусмотреть собственные средства предприятия, для которых ставка дисконтирования равна примерно 10%).

Изменение чистой прибыли, получаемой в  году, определяется по формуле:

 ,                                   (38)

где  - изменение текущих расходов в  году, руб/год;

 - годовой объем производства продукции, в  году;

 - изменение амортизационных отчислений в  году, руб/год;

 - ставка налога на прибыль ().

Изменение амортизационных отчислений в  году представляет собой разность затрат на амортизацию основных средств, занятых по существующему и предлагаемому варианту в соответствующем году

,                                              (39)

где  и  - затраты на амортизацию соответственно по существующему и предлагаемому процессами, руб/год.

Поскольку для сварочного оборудования срок полезного использования устанавливается в интервале 5-7 лет, то можно предположить, что по существующему процессу основные средства себя полностью самортизировали, т.е. .

Расчет инвестиционных издержек сведём в таблицу 33.

Таблица 33 - Расчет чистой текущей прибыли

Наименование показателей

Расчетный период, годы


0

1

2

3

4

5

1 Коэффициент загрузки, kз

0

0,5

0,8

0,8

0,8

0,8

2 Годовой объем производства, ед/год 087,8140,5140,5140,5140,5







3 Удельная экономия на текущих издержках ∆Сt, руб/изд

0

572,21

572,21

572,21

572,21

572,21

4 Годовая экономия на текущих издержках, руб/год

0

50240

80396

80396

80396

80396

5 Амортизационные отчисления по новому процессу, руб/год02331923319233192331923319







6 Изменение годовой прибыли (С4 - С5), руб/год

0

26921

57077

57077

57077

57077

7 Налог на прибыль, руб/год (24% от С6)

0

6461

13698

13698

13698

13698

8 Изменение чистой прибыли, руб/год (С6 - С7)

0

20460

43379

43379

43379

43379

9 Чистый денежный поток от операционной деятельности, руб/год (С58) (∆Пчt+∆Cat)

0

43779

100456

100456

100456

100456

10 Инвестиции, руб

-116595






11 Коэффициент дисконтирования, , при i=10%1,00,9090,8260,7510,6830,621







12 Дисконтированный денежный поток (С9иС10)· С11

-116595

39795

82976

75442

68611

62383

13 Накопленный дисконтированный денежный поток

-116595

-76800

6176

81618

150229

212612


То же самое можно получить аналитическим путем, пользуясь формулой

руб

8.3.2 Расчет срока окупаемости

Расчет срока окупаемости характеризует период времени, по истечении которого первоначальные инвестиции возмещаются дисконтированными денежными поступлениями от операционной деятельности, и может быть установлен по данным приведенным в таблице 111 по следующей формуле;

, (40)

где пок - расчетное значение срока окупаемости;

п - год расчетного периода, в котором накопленный дисконтированный поток последний раз принимает отрицательное значение, п = 1;

Дп - непокрытая часть накопленного денежного потока в момент года п,

Дп = - 76800 руб;

Дп+1 - денежный поток в году п+1, направленный на возмещение непокрытой части данного потока, Дп+1 =82976.

Отсюда рассчитанный срок окупаемости составляет:

года

8.3.3 Расчет индекса доходности

Расчет индекса доходности характеризует устойчивость проекта совершенствования технологического процесса сварки к изменению текущих и инвестиционных затрат, ставки дисконтирования, загрузки оборудования и др.

Расчет индекса доходности определим по формуле;

 (41)


Рисунок 31 График срока окупаемости инвестиционных затрат

Расчет внутренней нормы доходности

Данный показатель имеет богатое экономическое содержание:

во-первых, по тому насколько  превышает ставку дисконтирования можно судить о степени эффективности инвестиции.

во-вторых, по разности данных показателей () можно судить о запасе финансовой прочности и риска проекта. Чем больше эта разность, тем устойчивее проект к неблагоприятным изменениям важнейших параметров проекта.

в-третьих, внутренняя норма доходности показывает предельную плату за привлечение финансовых ресурсов, при превышении которой инвестиционный проект становится не эффективным.

Количественно данный показатель определим графическим путем. Для этого необходимо построить график зависимости , для значений i=0; 0,2 и 0,1. Точка пересечения кривой и оси абсцисс позволит установить внутреннюю норму доходности .

Таблица 34 - Расчет NPV для  и 20%

Наименование показателей

Расчетный период, годы


0

1

2

3

4

5

1.Чистый денежный поток (при )- 11659543779100456100456100456100456







2.Накопленный денежный поток (при )- 116595-7281627640128096228552329008







3.Коэффициент дисконтирования  при 20%1,00,8330,6940,5780,4820,402







4.Дисконтированный денежный поток

- 116595

36468

69716

58063

48419

40383

5.Накопленный денежный поток (при )- 116595-80127-104114765296071136454








Таким образом, в зависимости от ставки дисконтирования показатель  примет следующие значения:

Таблица 35 - NPV в зависимости от i.

Ставка дисконтирования, %, 01020




Чистая текущая стоимость, руб, NPV

329008

212612

136454


На основе полученных данных строим график зависимости  от ставки дисконтирования.

Рисунок 32 График зависимости чистой текущей стоимости от ставки дисконтирования

Заключение

По результатам произведенных расчетов можно сделать вывод о том, что замена механизированной сварки проволокой сплошного сечения в среде углекислого газа, на механизированную сварку проволокой сплошного сечения в смеси газов Ar+CO2, является целесообразной.

При замене способа сварки (закупки нового оборудования) расчетный срок окупаемости (PP) при ставке дисконтирования 1=10% составляет 1,92 года. Индекс доходности (PI) при ставке дисконтирования 1=10% составляет 2,82.

Чистая текущая стоимость (NPV) составляет 212612 руб., внутренняя ставка доходности (IRR) = 56%, что говорит о доходности при внедрении этого проекта в рассматриваемый период (5 лет). Из показателей экономической оценки инвестиций можно сделать вывод, что внедрение технологии механизированной сварки в смеси газов Ar+CO2, является выгодным. В результате выполнения выпускной квалификационной работы, разработана технология сборки и сварки рештака с литыми боковинами А - 3480.002.06.01.100, которая заключается во внедрении импульсно - дуговой механизированной сварки плавящимся электродом в смеси газов Ar + CO2 и установка для механизированной сварки плавящимся электродом при импульсном питании дуги с подачей присадочной проволоки. Основным преимуществом внедренного процесса сварки, наряду получаемых в процессе сварки повышенных эксплуатационных свойств сварных соединений является:

экономия сварочных материалов;

минимальное количество брызг на шве и околошовной зоне;

повышение культуры производства.

Экономическая эффективность при внедрении нового процесса сварки и данной технологии сборки и сварки составляет 572,21 руб./изд.

Перечень использованных источников

. Марочник сталей и сплавов. Под редакцией В. Г. Сорокина. М. : Машиностроение, 1989 - 640с.

. Сварка в машиностроении: Справочник. В 4-х т. / Редкол.: Г.А. Николаев и др. - М.: Машиностроение, 1978 - т.2 - 462с.

. Сварка в машиностроении: Справочник. В 4-х т. / Редкол.: Г.А. Николаев и др. - М.: Машиностроение, 1978 - т.1 - 501с.

. Технология и оборудование сварки плавлением и термической резки. Под редакцией А.И. Акулова, М.Машиностроение. 2003г - 558с.

. Технология электрической дуговой сварки. В.П. Демянцевич, С.И. Думов. - М.: Машиностроение, 1959 - 358.

. Сварочное производство. Ежемесячный научно-технический и производственный журнал. № 4. 1991г.

. Автоматическая сварка. Ежемесячный научно-технический и производственный журнал. № 2. 1993г - 479с.

. Автоматическая сварка. Ежемесячный научно-технический и производственный журнал. № 3. 1978г - 300с.

. Технология электрической сварки плавлением. С.И. Думов - М.: Машиностроение, 1959 - 358.

. Потапьевский А.Г. Сварка в защитных газах плавящимся электродом. - М.: Машиностроение, 1974. - 240

.Общемашиностроительные укрупненные нормативы времени на дуговую сварку в среде защитных газов. М.: Экономика, 1989 .

. Справочник сварщика. В.В. Степанов. - М.: Машиностроение, 1974 - 520.

. Сварные конструкции. С.А. Куркин, Г.А. Николаев. - М.: Высшая школа, 1991 - 398.

. Расчет режимов дуговой сварки. Методические указания к курсовому и дипломному проектированию для студентов. / Составитель Е.А. Трущенко - ч. 1 - Томск: ТПУ, 2005. - 27с.

. Безопасность производственных процессов: Справочник. С.В. Белов, В.Н. Бринза и др. - М.: Машиностроение, 1985. - 448с.

. Малышев Б.Д. Сварка и резка в промышленном строительстве, т.2. - М. Стройиздат, 1989. - 400 с.

Похожие работы на - Технология сборки и сварки рештака

 

Не нашли материал для своей работы?
Поможем написать уникальную работу
Без плагиата!
Без нейросетей!