Совершенствование стратегии предприятия в сфере маркетинговых коммуникаций на примере ООО 'Эдрейс', г. Красноярск

  • Вид работы:
    Дипломная (ВКР)
  • Предмет:
    Маркетинг
  • Язык:
    Русский
    ,
    Формат файла:
    MS Word
    605,56 Кб
  • Опубликовано:
    2012-09-21
Вы можете узнать стоимость помощи в написании студенческой работы.
Помощь в написании работы, которую точно примут!

Совершенствование стратегии предприятия в сфере маркетинговых коммуникаций на примере ООО 'Эдрейс', г. Красноярск

Содержание

Реферат

Введение

. Теоретическая часть

.1 Понятие и классификация стратегий

.2 Система маркетинговых коммуникаций

.3 Теоретические аспекты рекламной деятельности

.3.1 История развития рекламы

.3.2 Сущность рекламы

.3.3 Цели, задачи и виды рекламы

.3.4 Рекламное агентство

.3.5 Развитие отечественного рынка рекламы

. Аналитическая часть

.1 История и услуги агентства

.2 Потребители (клиенты)

.3 Организационная структура агентства

.4 Кадровый состав

.5 Структура расходов и доходов агентства

.6 Конкурентный анализ и стратегия агентства

.7 PEST-анализ

.8 SWOT-анализ

. Организационно - технологическая часть

. Экономическая часть

. Правовая часть

Заключение

Список литературы

Приложения

Реферат

Тема данной дипломной работы - совершенствование стратегии предприятия в сфере маркетинговых коммуникаций на примере ООО «Эдрейс», г. Красноярск.

Цель работы - разработка методов совершенствования стратегии ООО «Эдрейс», г. Красноярск.

В теоретической части работы рассматривается понятие и классификация стратегий, ее значение для организации, а так же понятие и структура системы маркетинговых коммуникаций и место рекламы в ней, история и сущность рекламы, ее основные цели, виды и задачи, положительные и отрицательные аспекты развития отечественного рекламного рынка.

В аналитической части работы представлен анализ деятельности агентства. При помощи PEST и SWOT-анализов определены возможности и угрозы деятельности агентства, разработаны мероприятия по совершенствованию существующей стратегии агентства и дополнительные мероприятия по улучшению показателей эффективности работы персонала и качества предоставляемых агентством услуг.

В организационно-технологической части работы прописаны мероприятия, разработанные в аналитической части работы.

В экономической части работы приведены расчеты мероприятий. Доказана их экономическая эффективность и выгодность для агентства.

В правовой части рассмотрены правовые аспекты предлагаемых мероприятий. Разработаны бланки договоров с посредниками, прописаны права и обязанности сторон, заключающих договор. Бланки договоров представлены в приложениях.

Работа содержит 5 разделов, а также библиографический список, состоящий из 30 позиции и приложения.

Введение

Данная работа посвящена рассмотрению и совершенствованию стратегии рекламного агентства «Промокоманда» (ООО «Эдрейс»). Агентство специализируется на оказании услуг в сфере маркетинговых коммуникаций.

На сегодняшний день в Красноярске насчитывается около 200 рекламных агентств, в условиях жесткой конкуренции агентствам следует создавать конкурентные преимущества, выделяющие их из общей массы. Разработка стратегий действия агентства имеет здесь первостепенное значение.

Стратегия компании - это комплексный план управления, который должен укрепить положение компании на рынке и обеспечить координацию усилий, привлечение и удовлетворение потребителей, успешную конкуренцию и достижение глобальных целей.

Процесс выработки стратегии основывается на тщательном изучении всех возможных направлений развития и деятельности и заключается в выборе общего направления, осваиваемых рынков, обслуживаемых потребностей, методов конкуренции, привлекаемых ресурсов и моделей бизнеса. Другими словами, стратегия означает выбор компанией пути развития, рынков, методов конкуренции и ведения бизнеса.

Актуальность темы заключается в том, что в постоянно изменяющихся нестабильных условиях рыночной экономики адаптация к внешней среде является основным условием успешной деятельности любой системы. Поэтому в стратегии развития должен быть заложен механизм ее реализации, позволяющий гибко реагировать на прогнозируемые и текущие изменения среды для того, чтобы в одном случае извлечь максимальную пользу, а в другом случае - исключить или снизить негативные воздействия этих изменений.

Проработанность темы стратегического планирования в литературных источниках довольно высокая. Данный вопрос в литературе рассмотрен весьма подробно и детально. Существует множество публикаций по стратегическому менеджменту, однако, неоднозначность рассмотрения данной темы в разных литературных изданиях, разнообразие подходов к классифицированию стратегий и программе их осуществления приводит к отсутствию четкого понимания вопроса и формирования единой точки зрения.

Объектом исследования данной работы является Общество с ограниченной ответственностью «Эдрейс», г. Красноярск.

Предмет исследования - стратегия агентства и методы ее совершенствования.

Цель работы - разработка методов совершенствования стратегии ООО «Эдрейс», г. Красноярск.

Данная цель обусловила постановку и решение следующих задач:

изучение теоретических основ стратегического планирования и маркетинговых коммуникаций;

анализ факторов внешней и внутренней среды, влияющих на деятельность агентства;

определение стратегии агентства;

разработка мероприятий по совершенствованию стратегии агентства и в целом улучшающих показатели его деятельности;

расчет экономической эффективности предлагаемых мероприятий;

правовое обоснование и обеспечение предлагаемых мероприятий.

1. Теоретическая часть

.1 Понятие и классификация стратегий

В основе управления бизнесом лежит разработка стратегии, ее адаптация к специфике компании и реализация. [19, с. 23]. Стратегия компании - это комплексный план управления, который должен укрепить положение компании на рынке и обеспечить координацию усилий, привлечение и удовлетворение потребителей, успешную конкуренцию и достижение глобальных целей[8, с. 77]. Процесс выработки стратегии основывается на тщательном изучении всех возможных направлений развития и деятельности и заключается в выборе общего направления, осваиваемых рынков, обслуживаемых потребностей, методов конкуренции, привлекаемых ресурсов и моделей бизнеса. Другими словами, стратегия означает выбор компанией пути развития, рынков, методов конкуренции и ведения бизнеса [11, с. 32].

В литературе существует два взгляда на понимание стратегии. В первом случае стратегия - это конкретный долгосрочный план достижения некоторой цели, а выработка стратегии - это процесс нахождения некоторой цели и составление долгосрочного плана. Такой подход основывается на том, что все возникающие изменения предсказуемы, происходящие в среде процессы носят детерминированный характер и поддаются полному контролю и управлению.

Во втором случае под стратегией понимается долгосрочное качественно определенное направление развития предприятия, касающееся сферы, средств и формы ее деятельности, системы внутрипроизводственных отношений, а также позиций предприятия в окружающей среде. При таком понимании, стратегию можно охарактеризовать как выбранное направление деятельности, функционирование и рамках которого должно привести организацию к достижению стоящих перед ней целей.[2, с. 12]

В деловой жизни под стратегией понимается общая концепция того, как достигаются цели организации, решаются стоящие перед ней проблемы и распределяются необходимые для этого ограниченные ресурсы. Такая концепция (соответствует стратегии второго типа) включает в себя несколько элементов. Прежде всего, к ним относится система целей, включающая миссию, общеорганизационные и специфические цели. Другой элемент стратегии - политика, или совокупность конкретных правил организационных действий, направленных на достижение поставленных целей [10, с. 122].

Обычно стратегия разрабатывается на несколько лет вперед, конкретизируется в проектах, программах, практических действиях и реализуется в процессе их выполнения.[25, с. 233].

В современной литературе выделяется несколько оснований для классификации стратегий. Так, по уровням подразделяют [12, с. 213]:

Корпоративные стратегии (стратегии развития компании в целом). На этом уровне принимается решение о бизнес - портфеле (совокупности форм и видов экономической деятельности) хозяйствующего субъекта. Здесь решается вопрос о слиянии, приобретении или выходе из того или иного бизнеса.

Корпоративные (эталонные) стратегии включают в себя еще 4 группы стратегий:

Стратегии интегрированного роста (рост за счет внешних ресурсов):

Стратегия обратной интеграции - направлена на рост за счет приобретения или установления контроля над поставщиками сырья и комплектующих изделий;

Стратегия прямой интеграции, предполагающая получение во владения или под контроль предприятия системы распределения и сбыта;

Стратегия горизонтальной интеграции - объединение или скупка предприятий конкурентов, выпускающих аналогичную продукцию;

Стратегия разделения - компания разделяется на части, либо выделяет дочерние компании

Стратегии концентрированного роста (рост за счет внутренних ресурсов):

Стратегия концентрации - фирма делает все, чтобы с данным продуктом на данном рынке завоевать лучшие позиции путем увеличения мощностей, увеличения количества производимой продукции;

Стратегия развития рынка (географического расширения) - поиск новых рынков для уже производимой продукции;

Стратегия развития продукта - решение задачи роста за счет производства нового продукта, который будет реализовываться на освоенном фирмой рынке.

Стратегии диверсификации (у компании имеется несколько различных бизнесов):

Стратегия центрированной диверсификации - фирма имеет основной бизнес, доля которого составляет 70-95% и появляются сопутствующие виды бизнеса;

Стратегия горизонтальной диверсификации - основной бизнес занимает до 70%, при этом могут быть 2-3 дополнительных бизнеса, которые могут иметь свое производство, но продвигаться в тех же сетях, что и основной продукт;

Стратегия несвязанной (конгломеративной) диверсификации (несколько несвязанных бизнесов без доминирующего бизнеса)

Стратегия сокращения применяется в силу сложившихся внутренних или внешних причин, приведших организацию к критической ситуации. Например, в связи с жесткой конкуренцией или изменениями экономического положения в стране, организация может оказаться банкротом, что приводит к ее ликвидации.

Стратегия «сбора урожая» - направлена на получение максимального дохода в краткосрочной перспективе;

Стратегия разворота - подразумевает отказ от неэффективных продуктов (услуг) и производство новой продукции;

Стратегия отделения - закрытие или продажа нерентабельных производств;

Стратегия ликвидации - закрытие всей организации.

Деловые стратегии (конкурентные) - воплощение в бизнес-планах. Описывают способ достижения конкурентных преимуществ на выбранном (на корпоративном уровне) товарном рынке. Данная стратегия направлена на улучшение конкурентной позиции отдельных товаров и услуг, производимых бизнес-единицей:

Лидерство по издержкам - сервисному предприятию важно провести тщательный анализ затрат и соответствующие мероприятия, направленные на снижение всех расходов и достижение эффективности производства и сравнительно низкой себестоимости услуг.

Признаки целесообразности применения стратегии: товар простой и стандартный, высокая конкуренция среди производителей, технология проста и известна, на рынке высокая эластичность спроса.[26, с. 78].

Стратегия реализовывается за счет экономии на масштабах, автоматизации производства, высокого удельного веса оптовых продаж, замены комплектующих на более дешевые, но сопоставимые по качеству;

Дифференциация - предполагает высококачественные хорошие продукты, важен дизайн, подход, упаковка, высокая цена. Условия использования стратегии: наличие НОУ-ХАУ, собственные технологии, дающие конкурентное преимущество, развитие НИОКР, высокий уровень сервиса. Для успешной реализации этой стратегии предприятие должно определить возможные потребности клиентов, чтобы уточнить, что их не устраивает в существующих услугах и какие изменения необходимо провести для удержания ожидаемого роста потребностей в них со стороны клиентов;

Концентрация - выделение 1-2 прибыльных сегментов ниши и максимально удовлетворить их потребителя

Функциональные стратегии - каждая функциональная структура (производство, маркетинг, финансы, НИОКР, персонал) планирует свой способ достижения корпоративной и деловой стратегий.

Следует упомянуть, что выбор стратегии может определять сферой деятельности предприятия, экономической ситуацией в стране, влиянием внешней среды, уровнем конкуренции в отрасли, поэтому выбор стратегии индивидуален для каждого предприятия.

.2 Система маркетинговых коммуникаций

В общем смысле коммуникация - это сознательный обмен информацией посредством символов и образов или передача обращения от источника информации к ее получателю посредством определенного сигнала. [7, с. 45]

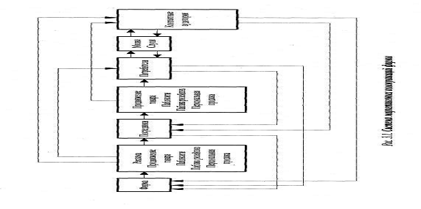
Коммуникационная концепция маркетинга базируется на том, что в условиях развития рыночной деятельности главная задача маркетинга это организация эффективных коммуникаций во всех сферах деятельности фирм и предприятий. Чтобы обеспечить действенную коммуникацию, руководители фирм и предприятий обращаются к Медийным агентствам для создания рекламных сообщений, к специалистам по стимулированию сбыта для разработки поощрительных программ и к специалистам по организации общественного мнения для формирования образа организации. Классическая схема коммуникаций в маркетинге фирмы представлена на рисунке 1.[6, с. 51].

Рисунок 1. Система маркетинговых коммуникаций

Значение коммуникаций объясняется следующими факторами [20, с. 137 - 144]:

проблемами сбыта товара из-за насыщения рынков;

высокими требованиями к качеству, экологии, безопасности;

сокращением жизненного цикла товаров из-за быстрого изменения моды и вкусов потребителей;

проблемами создания нового товара и его выведения на рынок;

ростом конкуренции, требованиями экономического роста предприятия и т.д.

К основным средствам маркетинговых коммуникаций могут быть отнесены:

реклама;

прямой маркетинг (в том числе персональные продажи);

паблик рилейшнз (в том числе паблисити);

стимулирование сбыта (или «сейлз промоушн»).

Синтетическими средствами маркетинговых коммуникаций являются:

брендинг;

спонсорство;

участие в выставках и ярмарках;

интегрированные маркетинговые коммуникации в местах продажи.

Паблик рилейшнз (PR) - связи с общественностью, т.е. система деловой коммуникации в некоммерческой форме, целью которой является создание и поддержание доброжелательных отношений и взаимопонимания между компанией (предприятием) и общественностью.

Паблисити - неличное и не оплачиваемое предприятием стимулирование спроса на товар посредством распространения о нем коммерчески важных сведений в печатных средствах информации или благожелательного представления по радио, телевидению или со сцены.

Стимулирование сбыта - кратковременные побудительные меры поощрения покупки или продажи товаров или услуг.

Прямой маркетинг - устное представление товара в ходе беседы с одним или несколькими потенциальными покупателями с целью совершения продажи.

Реклама - любая платная форма неличного представления и продвижения идей, товаров и услуг или предприятия.

Реклама тесно связана с маркетингом фирмы, предприятия через разработку и планирование товара, изучение спроса, ценообразование, сбыт, места продаж и т.д. В рамках маркетинга реклама воздействует на производство, которое производит то, что можно продать. Реклама управляет спросом в целевой аудитории, помогает изучить мотивы потребителей для внедрения в их умы потребительского мотива, участвует в создании имиджа фирмы и престижа марки.

Реклама становится инструментом в системе неценового стимулирования сбыта продукции, превращается в новый вид интегрированной рекламно-информационной коммуникации. Она передает различные типы маркетинговой информации, направленной на достижение понимания между продавцами и покупателями на рынке. На современном этапе реклама перешагнула узкие рамки информационной функции, обеспечивающей направляемый поток информации, и берет на себя коммуникативную функцию: обеспечивает связь производства с рынком, потребителем через рекламируемый товар. Коммуникативность рекламы выражается в переводе атрибутов товара на язык нужд и запросов потребителей [22, с. 211].

Реклама не только информирует о продукции, но и одновременно трансформирует ее в некий образ, который становится в сознании покупателя неотделимым от фактических сведений о качествах рекламируемого товара. С ее помощью поддерживается «обратная связь» с рынком и потребителем. Это позволяет контролировать продвижение товаров на рынке, создавать и закреплять у покупателя устойчивую систему предпочтений к рекламируемым объектам.[21, с. 245].

.3 Теоретические аспекты рекламной деятельности

.3.1 История развития рекламы

Основные причины возникновения рекламы - общественное разделение труда и появление свободного рынка. В своем развитии реклама была связана преимущественно с товарообменом, поэтому рынок нуждался в носителях информации для таких операций. В процессе обмена продавец и покупатель вступают в определенные взаимоотношения, которые стремятся улучшить. Реклама становится связующим элементом рынка, поскольку для совершения актов купли-продажи потенциальным продавцам и покупателям необходимо обозревать рынок, располагать определенным минимумом сведений о движении спроса и предложения. Распространяя информацию о наличии товаров, условиях их покупки и потребления, реклама участвует в формировании товарного предложения, а тем самым и спроса с точки зрения его конкретной направленности.

Торговцы всегда стремились к совершенствованию форм связей с покупателями в виде рекламы для увеличения сбыта своей продукции. Таким образом, исторически рекламу можно определить как целенаправленное средство производителя (торговца) в стремлении оказать воздействие на потребителя для улучшения покупки товаров.

По мнению специалистов рекламный рынок России как экономическое явление образовался в 1992 г. Постсоветский период характеризуется появлением большого количества рекламных агентств, журналов, газет, электронных средств СМИ. Реклама стала проникать во все сферы деятельности общества и не только влиять на общество, но и самосовершенствоваться. Но надо заметить, что в этот период отчетливо проявились «невежественность рекламодателей, непрофессионализм рекламистов, удивительная доверчивость потребителей, неразборчивость СМИ».

С середины 1990-х гг. рекламный бизнес в России строился по западным моделям, которые апробированы во всем цивилизованном мире. Поэтому и рынок рекламы получился довольно гармоничным, с органами саморегулирования, ассоциациями, грамотной ценовой политикой. Это стало возможным благодаря большому опыту, накопленному российскими рекламными фирмами, появлению в вузах новых учебных специальностей по рекламе и маркетингу, новых дизайн-студий, осознании необходимости создания рекламных служб фирмами-производителями и торговыми предприятиями. Изучение рекламного рынка привело к выработке чисто русских подходов для срабатывания рекламных сообщений. В России действенны юмор, патриотизм, уважение к лидерам, истории, красоте, детям, животным. В 1995 г. в Российской Федерации был принят Закон «О рекламе», призванный регулировать рекламную деятельность.

Новая реклама России стала неотъемлемой и активной частью комплексной системы продвижения маркетинга, соответствующей новым требованиям мирового рынка и нуждам потребителей. На этом этапе она перешагнула узкие рамки информационной функции и берет на себя коммуникативную функцию. С ее помощью поддерживается «обратная связь» с рынком и потребителем. Это позволяет контролировать продвижение товаров на рынке, создавать и закреплять у покупателя устойчивую систему предпочтений к рекламируемым объектам, вносить коррективы в сбытовую деятельность. Используя возможности направленного воздействия на потребителя, реклама способствует не только формированию спроса, но и управлению им. Положительные и отрицательные стороны влияния рекламы представлены в таблице 1.

Таблица 1. Положительные и отрицательные стороны влияния рекламы

Положительные стороны

Отрицательные стороны

Влияние на экономику

Способствует росту экономики, капиталовложений и числа рабочих мест. Поддерживает конкуренцию.  Информирует потребителей и облегчает конкуренцию Экономически поддерживает национальную систему СМИ

Расточительна, приводит к истощению ресурсов Способствует росту монополий Создает неценовую конкуренцию Увеличивает безработицу в плохие времена и усиливает инфляционное давление в годы процветания

Влияние на промышленность

Расширяет рынки для новых товаров Поддерживает конкуренцию между фирмами Расширяет деятельность рекламной отрасли

Создает барьеры для выхода на рынок небогатых фирм. Имеет тенденцию к самонейтрализации Приводит к росту издержек и цен Обеспечивает получение сверхприбылей

Влияние на фирму

Обеспечивает рост поступлений пропорционально объему деятельности Снижает степень риска и неопределенность в маркетинговой деятельности  Управляет спросом Контролируется предприятием  Стимулирует изменение товара  Расширяет производство

Способствует провалу товара с несовершенными заявленными свойствами

Влияние на потребителей

Эффектно презентует товар Обеспечивает информацией, обучает Служит средством контроля качества изделий Способствует увеличению, поддержанию или стабилизации спроса Обеспечивает стимул для повышения уровня жизни Является проводником нового в производстве и торговле

Больше убеждает, чем информирует Не способна на диалог с покупателем Нет избирательного подхода к потребителю Дает бесполезную, вводящую в заблуждение информацию Дифференцирует товары за счет раздувания мелких различий Навязчива, раздражающе действует на потенциального покупателя Портит внешний вид зданий, искажает природный ландшафт


Продуманная реклама стала влиять на различные стороны предпринимательской деятельности, поощряя инициативу производства новых изделий, использование достижений научно-технического прогресса, фактора моды, разделения труда, кооперирования и специализации производства. Сочетание хозяйственного предпринимательства с рекламой позволяет предприятиям и иным рыночным субъектам получать высокие доходы, а, следовательно, развивать производство.

В своем эволюционном развитии товарный рынок воздействует на рекламный путем его формирования и роста через рекламный бюджет рекламодателей, через появление новых товаров и технологий для рекламной деятельности, перенос рыночных принципов и механизмов регулирования на рекламный рынок, а также в связи с совершенствованием законодательства. Таким образом, развитие инфраструктуры товарного рынка будет способствовать большей эффективности рекламной деятельности в целях более полного удовлетворения потребителей.

Воздействие же рекламного рынка на товарный проявляется через маркетинговый инструмент управления сбытом, реклама способствует повышению качества товаров на рынке и изъятию некачественной продукции. Реклама вызывает спрос на товары для рекламной деятельности, способствует глобализации рынка и созданию мирового рекламного пространства.[6, с. 6 - 20]

.3.2 Сущность рекламы

Исторически рекламу можно определить как целенаправленное средство производителя (торговца) в стремлении оказать воздействие на потребителя для покупки товаров. В маркетинговой литературе имеется много определений рекламы. Слово «реклама» латинского происхождения: от итальянского «rec-lamare» - кричать. Реклама в английском языке обозначается термином «advertising», что означает уведомление и истолковывается как привлечение внимания потребителя к продукту (товару, услуге) и распространение советов, призывов, предложений, рекомендаций приобрести данный товар или услугу.[6;25]

При всем разнообразии определений можно отметить два диаметрально противоположных подхода к пониманию сущности рекламы.

В узком смысле под рекламой понимают только платные, однонаправленные, неличные и опосредованные обращения, агитирующие в пользу конкретного товара.

В широком смысле рекламой считается любое обращение производителя к потенциальному потребителю. Таким образом, из определений рекламы можно выделить ее главные признаки:

является платной;

осуществляется с использованием СМИ или специальных объявлений;

имеет точно установленного рекламодателя;

информирует и агитирует за товары или услуги.

В Федеральном законе «О рекламе» от 13.03.2006 N 38-ФЗ даются следующие основные понятия[28]:

Реклама - распространяемая в любой форме, с помощью любых средств информация о физическом или юридическом лице, товарах, идеях и начинаниях (рекламная информация), которая предназначена для неопределенного круга лиц и призвана формировать или поддерживать интерес к этим физическому, юридическому лицу, товарам, идеям и начинаниям и способствовать реализации товаров, идей и начинаний.

Ненадлежащая реклама - недобросовестная, недостоверная, неэтичная, заведомо ложная и иная реклама, в которой допущены нарушения требований к ее содержанию, времени, месту и способу распространения, установленных законодательством Российской Федерации.

Контрреклама - опровержение ненадлежащей рекламы, распространяемое в целях ликвидации вызванных ею последствий.

В законе также содержатся следующие требования к рекламе: реклама должна быть распознаваема без специальных знаний и без применения технических средств; реклама на территории Российской Федерации распространяется на русском языке и, по усмотрению рекламодателей, дополнительно на государственных языках народов Российской Федерации; не допускается реклама товаров, реклама самого рекламодателя, если осуществляемая им деятельность требует лицензии, но она не получена, а также реклама товаров, запрещенных к производству и реализации; реклама товаров, подлежащих обязательной сертификации, должна сопровождаться пометкой «подлежит обязательной сертификации»; использование в рекламе объектов исключительных прав допускается в порядке, предусмотренном законодательством Российской Федерации; реклама не должна побуждать граждан к насилию, агрессии, возбуждать панику, а также побуждать к опасным действиям, способным нанести вред здоровью физических лиц или угрожающим их безопасности; реклама не должна побуждать к действиям, нарушающим природоохранное законодательство.

Итак, реклама представляет собой общественную форму коммуникации, осуществляемую через платные средства массовой информации с четким указанием, от чьего имени она дается, а также инструмент маркетинга, который отражает ситуацию в бизнесе.

Во всех определениях, даваемых специалистами, подчеркиваются следующие характеристики рекламы:

Неличный характер. Коммуникативный сигнал поступает к потенциальному покупателю не лично от продавца рекламируемого товара, а через различного рода посредников (средства массовой информации, разнообразные рекламоносители).

Односторонняя направленность рекламного обращения - от продавца к покупателю. Ответная реакция получателя может запаздывать на значительные промежутки времени.

Неопределенность с позиции измерения эффекта рекламы. Обратная связь в коммуникации носит вероятностный и неопределенный характер. Факт покупки (а продавец, естественно, ожидает от покупателя решения о покупке) зависит от массы факторов, носящих субъективный характер и практически не поддающихся формализации.

Общественный характер. Предполагается, что рекламируемый товар является законным и общепринятым. В рекламном объявлении четко определен спонсор, рекламодатель, субъект, за чей счет и от чьего имени осуществляется реклама. Изначально, как само собой разумеющееся, предполагается, что источник рекламной коммуникации - это тот, кто ее оплачивает. Реклама не претендует на беспристрастность. Общепринято, что в рекламном обращении основное внимание уделяется преимуществам рекламируемого товара или фирмы.

Броскость и способность к убеждению. Многократное повторение рекламных доводов оказывает определенное психологическое воздействие на потребителя и подталкивает его к покупке.[6, 40 - 55].

.3.3 Цели, задачи и виды рекламы

Цели рекламы решаются в результате информационного воздействия на целевую аудиторию на протяжении определенного времени. Они могут быть основными и второстепенными, конечными и промежуточными, экономическими и социальными, информационными и коммуникативными и т.д.

Основные цели рекламы - создать осведомленность, предоставить информацию о товаре или услуге, убедить, напомнить, склонить к решению о покупке.

Конечные цели состоят в достижении желательной реакции в поведении потребителей:

познавательной (узнаваемость, известность, престижность марки и т.д.);

эмоциональной (восхищение, предрасположенность, эстетическое удовлетворение и т.д.);

поведенческой (побуждение к пробным покупкам, повышение интенсивности потребления, усиление преданности торговой марке и др.). Высшая цель рекламы - повлиять на клиента таким образом, чтобы он при покупке выбрал именно рекламируемый продукт.

Экономическая цель рекламы предполагает следующие решения:

формирование потребности в данном виде товара или услуге;

побуждение к приобретению именно данного товара у данной фирмы;

стимулирование спроса на конкретный марочный товар и стимулирование сбыта;

поддержка и расширение сбыта товара или увеличение товарооборота;

объявление о льготных сделках, распродажах, снижениях цен;

сокращение сроков вывода на рынок нового товара или услуги;

понуждение потенциальных покупателей к посещению магазина, выставки;

представление товара в новой упаковке.

Коммуникативные цели включают:

ознакомление потребителей с новым товаром, новой маркой или новым предприятием;

повышение уровня известности товара;

влияние на привычки при потреблении товара;

информирование потребителей (например, об изменении цен);

изменение имиджа в определенном направлении (модернизация товара, повышение привлекательности);

пробуждение любопытства, которое приводит людей в магазин даже без намерения приобрести товар;

пробуждение желания последовать примеру других людей, которые уже приобрели продукт; поддержание верности товару;

улучшение мнения о предприятии и его товаре; выделение собственных товаров среди конкурирующих.

Задачи рекламы состоят в том, чтобы информировать о товарах и услугах, их свойствах и условиях реализации, о фирмах-производителях. Они решаются поэтапно в ходе выполнения конкретных целей рекламы. Основные задачи рекламы разделяются на три группы:

коммерческие - стимулирование сбыта, рост продаж, увеличение прибыли, ускорение товарооборота, поиск выгодных партнеров;

некоммерческие - осуществление политических целей, укрепление моральных устоев, охрана природы, снижение заболеваемости, поддержка религиозных мероприятий и др.;

имиджевые - формирование образа товара, фирмы, престижности фирмы и ее продукции.

Таким образом, реклама на рынке решает следующие задачи:

содействие узнаваемости товара или услуги и укрепление доверия к ним;

обеспечение восприятия товара оптовиками и торговцами и содействие его распределению;

стимулирование спроса на конкретный марочный товар;

противоборство с марочными товарами конкурентов;

сокращение сроков вывода на рынок нового товара (услуги);

популяризация новой идеи, события, праздника;

обеспечение роста сбыта путем стимулирования запросов;

укрепление убежденности продавца; представление товара в новой упаковке;

объявление о льготных сделках или предложениях;

разъяснение сути нового товара (услуги);

совершенствование имиджа или изменение репутации;

понуждение потенциальных покупателей к посещению магазина, выставки, ярмарки.

Основные задачи рекламы меняются в зависимости от стадии развития рынка продавца (таблица 2).

Таблица 2. Задачи, решаемые рекламой на разных стадиях развития рынка

Стадия развития рынка

Задачи рекламы

Подготовка рынка

Информирование потребителей, формирование потенциальных потребителей, создание представления о товаропроизводителях

Внедрение новых товаров

Увеличение числа потенциальных покупателей за счет усиления рекламы, стимулирование покупки, информирование о местах продажи, создание нужного отношения к товаропроизводителю, т.е. «имиджа» предприятия

Массовая продажа товаров

Поддержание достигнутого уровня продаж, стабилизация круга покупателей, расширение продаж с учетом роста выпуска товаров

Переключения

Напоминание, определение приоритетов путем замены товаров, переориентация покупателей


Рассмотрим классификацию рекламы с точки зрения маркетинговых целей.

Во-первых, существует классификация рекламы по целевому предназначению:

имидж-реклама - ее роль состоит в том, чтобы ознакомить потенциальных покупателей с продукцией, названием, характеристиками, преимуществами, т.е. закрепить в сознании широкого круга людей положительный образ товара или фирмы;

стимулирующая реклама - цель ее в том, чтобы подчеркнуть основные преимущества продукции и положительные качества по сравнению с аналогичным товаром;

реклама стабильности - предназначена для побуждения обратиться к данной фирме, т.е. ее целью является стремление сделать данного потребителя постоянным покупателем, сформировать надежного партнера;

)реклама побудительная - используется для создания у целевых потребителей выборочного спроса на какой-либо продукт путем внушения, что рекламируемый продукт является наилучшим в рамках имеющихся у них денежных средств;

реклама прямого ответа - форма телевизионного маркетинга, предполагающая заполнение купона или звонок по бесплатному телефонному номеру продавца;

реклама сравнительная - ее предназначение состоит в прямом или косвенном сравнении определенной марки продукта с другими марками.

Во-вторых, можно классифицировать рекламу по специфике задач:

реклама торговой марки, или национальная потребительская реклама, - ее цель состоит в создании образа и обеспечении долговременной узнаваемости торговой марки;

торгово-розничная реклама - сфокусирована на торговой точке или предприятии сферы услуг, где может продаваться множество разнообразной продукции или предлагаются определенные услуги; она стимулирует приток потребителей в рекламируемое место, акцентирует внимание на цене, доступности товаров или услуг, местоположении точки и времени ее работы;

политическая реклама - предназначена для побуждения людей голосовать и представляет собой важную часть политического процесса в стране; имеет тенденцию концентрироваться скорее на создании образа политика, чем на вопросах соперничества кандидатов;

реклама в справочниках - необходима людям для того, чтобы иметь возможность узнать, как и где приобрести нужную продукцию или получить необходимую услугу (например, «Желтые страницы»);

реклама с непосредственным откликом - может использоваться в любой рекламной среде, включая прямое почтовое отправление, но отличается от национальной или торгово-розничной рекламы попыткой стимулировать прямую продажу по заказу: покупателю достаточно откликнуться по телефону или по почте, и товар будет доставлен ему тем или иным способом;

)деловая реклама - направляется розничным торговцам, оптовикам и дистрибьюторам, а также промышленным предприятиям и специалистам-профессионалам в виде предложения, содержащего технически насыщенный текст и рекламные иллюстрации;

) институциональная, или корпоративная, реклама - предназначена для создания узнаваемости корпорации или привлечения общественности к ее точке зрения;

) социальная реклама - передает сообщение, пропагандирующее какое-либо позитивное явление общественной жизни, предупреждение, призыв; создается, как правило, бесплатно, место и время в средствах массовой информации также предоставляются на некоммерческой основе;

) интерактивная реклама - размещается на web-страницах и доставляется индивидуальному потребителю, имеющему компьютер и доступ в Интернет; потребитель может откликнуться на рекламу или вообще не обращать на нее внимания.[

В последние годы на российском рекламном рынке все чаще и чаще разграничивают такие направления развития маркетинговых коммуникаций как ATL и BTL. Термины Above The Line и Below The Line появились в середине ХХ века. Говорят, что разделение произошло совершенно спонтанно.

Руководителю одной из ведущих американских компаний принесли на утверждение рекламный бюджет, включавший в себя работу со средствами массовой информации. Однако в бюджет не были включены затраты на раздачу бесплатных образцов продукции, купонов, проведение конкурсов и подарков и т.п. Все эти средства маркетинговых коммуникаций были вписаны от руки и под чертой основных расходов. Так, согласно существующей легенде возникли понятия "над чертой" и "под чертой". В данный момент дается различное толкование, что же относится к маркетингу "над чертой", а что "под чертой".

Затраты на ATL включают в себя все расходы, связанные с размещением рекламы в средствах массовой информации. Выделяют пять составляющих ATL - печатные СМИ, радио, телевидение, кино, наружная реклама (в т.ч. реклама на транспорте), а также indoor. Контакт со СМИ, относящимся к ATL, предполагает выделение определенного объема финансовых средств, в соответствии с существующими на рынке ценами.

К BTL согласно классификации американских маркетологов относятся различные формы стимулирования сбыта, паблик рилейшнз, прямой маркетинг, личные продажи, выставки, упаковка и т.п. и оплачивается данный вид расходов исходя из процента от общего бюджета, выделяемого на осуществление маркетинговых коммуникаций. По российской классификации BTL включает в себя:

стимулирование сбыта среди торговых посредников,

стимулирование сбыта среди потребителей,

прямой маркетинг,events,материалы.

Положительной тенденцией последних лет является перевод BTL-бюджета из разряда "остаточных" в категорию основных.[3;407]

Стимулирование сбыта - это средство маркетинговых коммуникаций, которое использует множество побудительных методик в отношении потребительской и торговой аудитории, чтобы вызвать специфические измеряемые действия или реакции.

Стимулирование сбыта в сфере перепродажи - стимулирование, направленное на участников торговли, которые заняты в цепочке доведения товара до конечного потребителя. К методам стимулирования сбыта среди посредников в торговле для посредников относятся:

конкурсы дилеров (конкурсный приз связаны с уровнем продаж компании);

торговые купоны для организаций (компенсация от производителя для предприятий розничной торговли). Особенностью торгового купона является то, что он, как правило, не возвращается к производителю.

Дилерская премия (премия розничному продавцу за покупку определенного количества товара). Наиболее распространенные формы дилерских премий - премия за закупку и выставочная премия.

Стимулирование сбыта среди потребителей. К данному виду работы относятся:

манипуляции с ценами, среди которых можно выделить три основных составляющие: скидка с цены, скидки при покупке упаковки товара (т.е. нечто дополнительное посредством самой упаковки: бонусные упаковки или объединенная упаковка), купоны.

Возврат и возмещение денежных средств.

Конкурсы и лотереи

Подарки, к которым относятся подарки на месте (подарки от магазина, вложения, приложения, подарочная упаковка), подарки по почте (для получения подарка по почте необходимо отослать этикетку, подтверждающую факт совершения покупки), длительная программа по работе с купонами и бесплатный почтовый подарок.

Распространение образцов (обеспечивает увеличение продаж на 5-10% во время распространения, на 10-15% - по ее окончании).

Создание длительных программ лояльности (рассчитаны, как правило, на 3-5 лет).

Третьей составляющей BTL- рекламы является прямой маркетинг. К основным достоинствам прямого маркетинга можно отнести следующие факторы:

прямой маркетинг позволяет работать с узко сегментированной аудиторией, используя целенаправленные средства доставки информации;

позволяет персонифицировать коммуникативный процесс;

позволяет более эффективно использовать бюджетные средства;

хорошо контролируется;

дает возможность анализировать входящую и исходящую информацию на индивидуальном или корпоративном уровне.

Четвертой составляющей BTL являются special events. К их несомненным достоинствам можно отнести широкий охват целевых аудиторий, гибкость подаваемых сообщений.

К пятой составляющей BTL относятся POS-материалы. Здесь необходимо учитывать следующие параметры:

какой характер носит информация, которая будет передаваться в процессе продажи товара или услуги;

цели маркетинговой коммуникации на макро- и микроуровне;

альтернативные варианты использования маркетингового коммуникационного микса;

стратегию позиционирования;

стратегию продвижения товара.

Инструментарий BTL включает следующие методы работы:

торговые конференции;

промо-акции;

выставки и ярмарки;

спонсорство;

интернет-конференции;

установление многоступенчатых программ по стимулированию сбыта;

корпоративные мероприятия;

внутриотраслевые мероприятия (b-t-b party);

разработка программ лояльности;

управление базами данных.

Несмотря на то, что Правила честной торговли, выработанные еще в 1979 году в США, признали деление на ATL и BTL "неконкурентоспособным и не подлежащим юридическим ограничениям", подобное разделение полномочий становится все более популярным на территории РФ. В то время как большинство американских агентств декларируют работу "вне линии", российские рекламисты и маркетологи отдают предпочтение специализированным маркетинговым коммуникациям. Согласно различным прогнозам в течение ближайших двух лет BTL-коммуникации продолжат свое триумфальное шествие по России. Оправдаются ли эти ожидания или же на смену "линейным" маркетинговым коммуникациям придет интегрированный маркетинг, вопрос времени, который на сегодняшний день остается открытым.

.3.4 Рекламное агентство

В качестве основных рекламопроизводителей и рекламораспространителей на российском рынке выступают рекламные агентства. Рекламное агентство - это автономный бизнес, представляющий независимые предприятия рекламной деятельности, состоящие из творческих работников и менеджеров, которые разрабатывают и размещают рекламу для заказчиков на высоком профессиональном уровне, более рационально используют финансовые средства и обеспечивают высокое качество рекламы. В общем случае рекламное агентство - это посредник, предлагающий специализированные услуги рекламодателям, чтобы те могли по возможности сильнее воздействовать на своих потенциальных потребителей. Соглашаясь на такой вариант работы, рекламодатель рассчитывает, что его рекламой будут заниматься профессионалы, а расходы на оплату услуг агентства будут компенсированы за счет скидок на рекламоносители, которые имеет рекламное агентство от производителей рекламы.

При обращении в рекламное агентство рекламодатель должен предоставить бриф: данные о фирме (название, историю, легенду, производимые товары, реквизиты); сведения об атрибутах рекламируемого товара и маркетинговой стратегии; маркетинговый анализ рынка; отчетные материалы предыдущих рекламных кампаний; сведения о целевой аудитории; маркетинговые цели.

Классификация рекламных агентств

Рекламные агентства обычно классифицируются по двум признакам: объему предоставляемых услуг и направлению бизнеса, в котором они специализируются. Услуги агентств, например, делятся на универсальные и специализированные, а направление специализации в целом может быть выбрано в потребительском или промышленном секторе.

В настоящее время в России сформировались по виду и формам рекламных услуг четыре группы рекламных агентств:

агентства с минимальным набором услуг, где рекламодателям предоставляются услуги по одному типу представления рекламы;

агентства, работающие по нескольким типам и каналам рекламы, например РА «Промокоманда», БРиД «Антре»;

агентства (медиа-холдинги) полного выбора рекламных средств, например «Оникс», «Медиа-Фабрика»;

эксклюзивные рекламные агентства, например «Эверант».

Специалисты в области рекламы считают, что крупные агентства притягивают крупных клиентов, а для небольших фирм больше подходят обычные рекламные агентства.

Есть два основных типа универсальных агентств - агентства с полным циклом услуг и специализированные.

Агентство с полным циклом. Его услуги принципиально делятся на две категории - рекламные и нерекламные. В рекламные услуги входит выполнение рекламных исследований, разработка рекламных концепций и рекламы, планирование, закупка и оплата рекламного времени (площади) в СМИ, производство рекламных материалов и т.д. Нерекламные функции могут варьироваться от упаковки до связей с общественностью (паблик рилейшнз) и изготовления рекламных изделий, подготовки годовых отчетов, выставочных образцов и материалов по обучению коммерческого персонала.

Существует два основных типа агентств с полным циклом обслуживания: агентство потребительской рекламы, представляющее интересы широкого круга клиентов и концентрирующее свою деятельность на программах потребительской рекламы; агентство промышленной рекламы, которое специализируется на технологических потребностях отрасли.

Новым видом рекламных агентств являются креативные агентства (creative agencies) со штатом от двух-трех человек до 12 и более, сосредоточенные на творческих решениях маркетинговых коммуникаций своих клиентов. Они предлагают идеи рекламы или темы, разрабатывают рекламные кампании для СМИ, создают персонажей, рекламные песенки, музыку для коммерческого телевидения, разрабатывают идеи упаковок, фирменный стиль, оформляют выставки, занимаются закупкой СМИ.

Специализированные агентства работают в функциональных областях по производству какого-то вида рекламы, по продвижению товаров к потребителю, закупке площади и времени в СМИ, занимаются рекламой в торговых предприятиях специализируются в медиаисследованиях, спонсоринге и т.д. К ним относят бизнес-агентства, медиабайеры, агентства-селлеры, медиахолдинги.

Бизнес-агентства специализируются в торговой коммуникации. К ним относят творческие мастерские, агентства, ориентированные на этнические группы и национальные меньшинства, виртуальные агентства, агентства внутри фирм, фирмы по приобретению рекламного времени (медиабайеры), люди свободных профессий.

В виртуальных агентствах теряется понятие привычного офиса: сотрудники не имеют постоянных офисов - они работают дома, в автомобилях или в офисах своих клиентов. Современные компьютерные технологии обеспечивают членов такой команды всем необходимым для работы вне офиса.

Медиабайеры специализируются на закупке рекламного пространства у средств доставки рекламы. Они пользуются большим спросом по трем причинам. Во-первых, средства доставки рекламы стали намного сложнее, в то время как число их носителей выросло: появилось множество новых каналов вещания, журналов и радиостанций. Во-вторых, стоимость услуг соответствующих отделов значительно возросла. В-третьих, медиабайеры часто предлагают в аренду средства доставки рекламы по низкой цене, поскольку они могут объединить заказы нескольких своих клиентов, чтобы сделать значительную закупку. Поэтому малые и средние агентства твердо рассчитывают на медиабайеров.

Агентства-селлеры продают рекламное пространство тех средств массовой информации, которые предоставили им такое право.

Медиахолдинги - это мощнейшие субъекты рекламного рынка, управляющие большими структурами рекламного бизнеса. К ним можно отнести «Оникс», «Вездеход», «Медиа-Фабрика».

Распределение видов услуг, выполняемых рекламными агентствами, представлено на рисунке 2.

Рисунок 2. Доли видов рекламных услуг, выполняемых рекламными агентствами

Организационная структура РА может быть различной. Иногда она схожа со структурой рекламных служб производственных предприятий, однако часто более разветвлена и по причине своей самостоятельности включает дополнительно отдел исполнения заказов, кадровую службу и финансово-хозяйственный отдел.

Организация рекламного агентства в зависимости от принципа построения может быть: функциональной - ответственность отдельного лица или группы лиц за выполнение функциональной задачи; товарной - разделение рекламной службы по товарным группам или по типу «марочный/немарочный товар»; рыночной - разделение обязанностей по рекламной деятельности в зависимости от рынка проведения рекламной кампании; товарно-функциональной - комбинация вышеприведенных, когда функциональные отделы, выполняя закрепленные за ними обязанности в разрезе определенной товарной группы или марки, координируют свои действия.[6, c. 91 - 103].

Кадровый состав агентства зависит от его типа. Вот персонал рекламного агентства полного цикла.

Менеджер по рекламе (бренд-менеджер). Типичная ошибка состоит в том, что менеджер по рекламе воспринимается как сотрудник агентства. На самом деле он работает в агентстве предприятия заказчика. Связь агентства с клиентом осуществляются через представителя агентства и менеджера по рекламе заказчика

Финансовый директор отвечает за работу с группой клиентов, заказчиков и отчитывается перед советом директоров за рентабельность работы.

Менеджер по работе с клиентами осуществляет взаимодействие между агентством и клиентом. Он должен представлять свою организацию и формы работы с клиентом.

Менеджер по маркетингу отвечает за маркетинговые исследования по тематике: подготовка названия товарной марки, разработка упаковки, сегментирование рынка. Он должен знать, какому сегменту адресован товар, какова его товарная марка, цена и ассортимент. В его обязанности входит также обоснование выбора СМИ.

Художник-оформитель (layout artist) готовит как основной оригинал-макет, так и его варианты. Оригинал-макет рекламы (layout) - это точный образец объявления, выполненный с соблюдением метрических требований; его можно распечатывать на принтере или делать с него съемку. Обычно в макете даются указания о том, какой шрифт и какого размера нужно использовать. Для рекламных носителей разной величины готовятся специальные варианты исходного макета, или адаптации (adaptations).

Медиабайер (media buyer) договаривается со СМИ о приобретении рекламного места и эфирного времени. Оптовые закупки рекламных объемов предполагают значительные скидки для покупателя, причем, чем больше закупается времени или пространства, тем выше скидки. Купив большой объем пространства, медиабайер продает его рекламодателю по более низкой цене, чем медиаканалы, которые осуществляют продажи напрямую без скидки или с незначительной скидкой.

Автор рекламных текстов, копирайтер (copywriter) отвечает за письменное оформление рекламы. Он должен уметь представлять торговые предложения в привлекательной форме, выдвигать новые идеи, создавать темы или основные сюжеты рекламных кампаний (copy platform).

Арт-директор (art director) в большом агентстве должен иметь команду, включающую авторов визуальных материалов, визуализаторов, художников-оформителей и технических редакторов. В маленьком агентстве руководитель дизайн-студии, арт-директор, должен выполнять все эти функции лично. Если в агентстве нет специального покупателя творческой продукции (art buyer), она может приобретаться через агентов, работающих с художниками, или у самих художников. Фотографии заказываются и модели подбираются, как правило, через модельное агентство.

Визуализатор (visualiser) - это творческий двойник копирайтера, первоклассный художник, способный зримо представить идеи копирайтера. Обычно они работают вместе, как творческий коллектив, и могут сотрудничать с несколькими заказчиками. Используя традиционные приемы, художник делает различные заготовки, перебирает множество вариантов, пока идеи не будут достаточно хорошо выражены эскизами и надписями, сделанными от руки. Визуальные материалы обычно показываются клиенту не в окончательном виде, как фото, рисунок или типографский оттиск. Однако даже полуфабрикаты могут создавать хорошее представление об итоговом варианте рекламы. Если клиент одобряет найденное рекламное решение, заключаются договоры.

Специалист по печати. Иногда художник-оформитель одновременно выполняет и работу технического редактора (typographer). Выполнение его функций предполагает знание тысяч вариантов организации материала и возможных типов шрифтов, умелого их использования для максимального облегчения процесса восприятия рекламного текста. Получив текст и эскиз рекламы, он принимает решения об использовании шрифтов определенного вида и размера. По рукописи текста он определяет количество слов в сообщении и планирует их размещение в пустых пространствах общего макета.

Телепродюсер (television producer) - это сотрудник в больших агентствах, работающих с крупными заказчиками, которым нужны рекламные кампании на телевидении, и он разрабатывает их общие замыслы.

Менеджер по производству. Чтобы рекламные материалы своевременно доставлялись в представительства СМИ, необходимо также контролировать соблюдение сроков выполнения работ в агентстве.

Управляющий движением (traffic controller) - обычно сотрудник крупных агентств, который поддерживает общий ход работ: доставляет копии распоряжений во все отделы, которые должны получать сведения об общем ходе работы [6, с. 101 - 105].

1.3.5 Развитие отечественного рынка рекламы

Бурное развитие рекламного рынка России наметилось в конце XX в. в результате фундаментальных изменений в экономических процессах: глобализации рекламного рынка; создания мирового рекламного пространства путем развития новых средств рекламы; использования передовых рекламных технологий; принятия маркетинговой философии управления, гласящей, что реклама - инструмент управления сбытом на рынке.

Перспективы российского рекламного рынка.

В 2007 г. объем медиарекламного рынка страны установился на уровне $4-5 млрд. Выход рекламного рынка на качественно новый уровень развития приводит к снижению темпов роста. Темпы роста отечественного рекламного рынка снизились с 30% в год (2005) до 8-10% (2007). На рисунке 6 показаны темпы роста рекламного рынка России за 2002 - 2009 гг.[6, c. 467 - 473]

Объем рекламного рынка России в 2008 году составил $8 млрд.[5]. В текущем 2009 году ожидается, что объем рекламного рынка превысит $ 8, 204 млрд., а через два года составят уже $ 12, 231 млрд. Однако при наличии тенденции сокращения рекламных бюджетов фирмами-заказчиками и ужесточения законодательства в сфере рекламной деятельности эти планы могут быть не выполнены.[13].

Рисунок 3. Темпы роста объема рекламного рынка России

Из рисунка 3 видно, что рост рекламного рынка России в динамике замедляется, т.е. рекламный рынок близок к насыщению. Наибольшая динамика роста наблюдается у телевизионной рекламы. Существует тенденция: чем выше уровень развития экономики и ее рекламной составляющей, тем меньшая доля рекламных бюджетов приходится на телевизионный сегмент рынка. В пересчете на все население России (145 млн. человек) вложение рекламы составляет около $20-24 на человека. Если исключить сельских жителей и жителей удаленных районов, то затраты на одного жителя приближаются к среднемировым: $40-70. Отсюда можно сделать прогноз, что через несколько лет рекламный рынок России выйдет на среднемировой показатель развитых стран.

В случае стабильного развития рекламного рынка в будущем увеличатся затраты на достижение рекламным сообщением такой аудитории, как средний класс. Средний класс представляет большой интерес для таких сегментов рынка, как недвижимость, банковские услуги, страхование, туризм, развлечения и здоровье, автомобили, аудио-, видео- и бытовая техника, продукты питания быстрого приготовления, а также продукты питания хорошего качества и напитки. Работа на этих сегментах становится приоритетной для рекламного агентства.

При достаточно большой загруженности рынка брендами (по три - пять сильных в одной товарной категории) на рынок продолжают выводиться новые, также формируются новые товарные ниши для новых товаров/услуг. При этом возрастает роль имиджевой составляющей в рекламе товаров и услуг и сама имиджевая реклама. Потребитель больше обращает внимания на стиль жизни, к которому относится данный товар и который он пропагандирует.[10]

2. Аналитическая часть

.1 История и услуги агентства

На рекламном рынке Краснояркого края специализированное btl-агентство полного цикла «Промокоманда» (до 2007 года носило название «Adberry», юридическое название ООО «Эдрейс») существует с 2004 года.

Агентство находится в городе Красноярске по адресу ул. Железнодорожников, 22, на первом этаже жилого дома. Расположено агентство внутри двора, специальное место для парковки автотранспорта отсутствует, но для этой цели вполне хватает внутридворового пространства.

На текущий период количество реализованных агентством проектов с различной механикой составляет более 350, а география работы агентства: Красноярск, города Красноярского края (Железногорск, Канск, Ачинск, Зеленогорск и другие).

В базе данных компании более 850 человек - достаточное количество квалифицированного персонала, что позволяет формировать штат в соответствии с требованиями клиентов, дает возможность реализации рекламных проектов любого масштаба.

Перед стартом каждой акции персонал проходит обучение по механике. В ходе проведения акций координаторы агентства предоставляют ежедневный on-line отчет, что позволяет оперативно отследить текущие продажи, расход промо-материалов, а также информацию о линейке продуктов в торговой точке, что приводит к увеличению эффективности проводимых акций.

Менеджеры агентства постоянно работают над обновлением базы торговых точек с контактами ответственных лиц, характеристикой проходимости и целевой аудитории. Супервайзеры агентства тесно сотрудничают с администрациями магазинов, развлекательных заведений, предприятий и организаций. Наличие склада и отстроенная система логистики позволяет избежать проблем с комплектацией и докомплектацией торговых точек в процессе работы.

В компании реализована многоступенчатая система контроля проекта. За ходом проведения следят как менеджеры агентства и супервайзеры, так и специально привлекаемые контролеры (чеккеры), основной функцией которых является объективная оценка работы персонала, а также оперативное предоставление всей текущей информации.

Одним из преимуществ работы агентства является возможность проведения региональных программ. Налаженные партнерские отношения в городах Красноярского края позволяют увеличивать географию проводимых кампаний и гарантировать качество реализации во всех заявленных городах.[16]

Миссия агентства - создание и развитие эффективных коммуникаций между продавцом и потребителем. Оптимизация и творческая реализация стратегических планов и тактических задач заказчика.

Стратегическая цель - в ближайшие пять лет создать структуру, способную удовлетворить потребность рынка в качественных услугах всего комплекса маркетинговых коммуникаций на региональном уровне.

Компания предоставляет клиентам услуги в сфере маркетинговых коммуникаций (таблица 3):

Таблица 3. Услуги, предоставляемые агентством «Промокоманда»

Традиционный ВТL

- Consumer promotion (дегустации, семплинг, «подарок за покупку», консультации, программы повышения лояльности); - Trade promotion («тайный покупатель», акции по стимулированию торгового персонала, мотивационные программы, конференции, презентации и т.д.).

Мерчандайзинг

- оформление торговых точек, выкладка продукта, отслеживание деятельности конкурентов, сбор информации о продажах.

Событийный маркетинг

Реклама в местах продаж:

- размещение паллетов, шелфтокеров, воблеров, напольных наклеек и т.д.; - размещение рекламных материалов на покупательских тележках, лайт-боксах внутри супермаркетов;  - размещение поддерживающей видеорекламы в местах продаж; - «Спасибо за покупку» (размещение полиграфической продукции в упаковочные пакеты); - HoReCa (разработка и проведение промоушн-кампаний, а также размещение рекламных материалов в сетях рестораны/кафе/бары/казино/клубы и т.д.); - размещение рекламных материалов в медицинских учреждениях, школах, ВУЗах, в сетях автозаправочных станций.

Маркетинговые исследования:

- проведение уличных и телефонных опросов, retail audit (сбор информации по отдельным показаниям дистрибуции и о рынке в целом).


Таким образом, спектр услуг в области маркетинговых коммуникаций агентства довольно широк и клиент имеет возможность заказать у агентства полный комплекс услуг, при этом исключается необходимость заказывать различные виды рекламных услуг у разных рекламных агентств, что значительно удобнее и выгоднее клиенту.

.2 Потребители (клиенты)

Спектр потребителей продукции и услуг, предоставляемых BTL-агентством «Промокоманда» довольно велик: торговые предприятия, в том числе супермаркеты; торговые бренды/ производители, организации, нуждающиеся в проведении презентаций, праздников, спортивных мероприятий, тематических вечеринок, мероприятий по поводу открытия и т.д.

За время существования агентства им было реализовано более 80 проектов, например открытие Гипермаркета «Поляна» - событийный маркетинг (мероприятие включало подготовку и проведение мероприятия, включая написание сценария, проведение конкурсов и вручение призов победителям); постоянное сотрудничество с концерном «Юнимилк» (акции «подарок за покупку», дегустации, семплинги); компании «Балтика», «Кока-Кола», West (акция подарок за покупку), кинокомплекс «Киномакс» - событийный маркетинг (подготовка и презентация кинопремьер) и т.д.

.3 Организационная структура агентства

Организационная структура агентства представлена на рисунке 4. Во главе агентства генеральный директор, в прямом подчинении которого находятся бухгалтер, коммерческий директор, тренинг-менеджер, координатор и отдел контроля (чеккеры). Тренинг-менеджер связан с координатором, так как предоставляет ему простажированный промо-персонал.

Рисунок 4. Организационная структура агентства «Промокомоанда»

Координатор связан с супервайзером, так как через него он отслеживает, как проходит акция в торговой точке и связывается при необходимости с руководством торговой точки. Координатор занимается регулированием акции в торговой точке, осуществляет связь между заказчиком и агентством, координирует работу промо-персонала в местах продаж.

Согласно классификации, приведенной в теоретической части работы данная структура относится к функциональной. Недостатки данной структуры: отсутствие четкой иерархии, отсутствие единоначалия, отсутствие четкого делегирования обязанностей. Преимущество структуры: небольшой размер.

.4 Кадровый состав

Основной кадровый состав агентства представлен в таблице 4.

Таблица 4. Основной кадровый состав агентства

Должность

Возраст (лет)

Стаж работы в рекламной сфере (лет)

Образование

Генеральный директор

28

10

Маркетолог

Коммерческий директор

29

10

Педагог

Тренинг-менеджер

23

1

Педагог - психолог

Координатор

24

3

Коммерсант


Анализ кадрового состава показывает, что образование основного состава персонала совершенно не соответствует занимаемым ими должностям, что, несомненно, отражается на качестве выполняемой ими работы. Персонал не проходит курсов по повышению квалификации, таким образом, уровень их профессиональных знаний находится на уровне самообучения.

Так же между работниками нет четкого распределения обязанностей, отсутствуют должностные инструкции. Это приводит к нарушению рабочего процесса, нарушению координации деятельности, нарушению работоспособности персонала из-за отсутствия четкого очертания круга его обязанностей. Например, координатор проектов выполняет параллельно функции менеджера по работе с персоналом, так как данная должность отсутствует в агентстве. Коммерческий директор помимо своих прямых обязанностей ведения документооборота, составления смет и расчетов, занимается обязанностями менеджера по работе с клиентами (поиск новых клиентов, рассмотрение брифов, переписка с клиентами, отчеты перед клиентами по проделанной работе).

В базе промо-персонала агентства около 850 человек. Действующего промо-персонала в этой базе на данный момент около 50 человек - достаточное количество для проведения текущих проектов. Однако персонал не проходит должного обучения специфике продукции перед акцией, по составу продукта, если это пищевой продукт. Работа тренинг-менеджера с промоутерами ограничивается проведением кастинга и разъяснением механики акции. Возраст промо-персонала принимаемого на работу в агентство ограничивается 22 годами, однако, в наше время и у людей средних лет существует потребность в дополнительном заработке подобного рода.

.5 Структура расходов и доходов агентства

Структура доходов и расходов агентства представлена в таблице 5.

Таблица 5. Структура расходов и доходов агентства


Год


2006

2007

2008

Доход от основной деятельности (валовый)

Сумма, тыс.руб.

428679

745732

1016557

Чистая прибыль

Сумма, тыс.руб.

60015

82031

107918

Расходы на заработную плату персонала

Сумма, тыс.руб.

258064

464590

636047

Процент в общей структуре расходов, %

70

Административно-организационные расходы

Сумма, тыс.руб.

84879

154367

209199

Процент в общей структуре расходов, %

24

Налогообложение

Сумма, тыс.руб.

25721

44744

63393

Процент в общей структуре расходов, %

6

Итого расходов

368664

663701

908639


Доходы от основной деятельности являются единственной статьей доходов агентства. Прирост прибыли составляет 30-40 % в год за счет увеличения клиентской базы. Чистая прибыль в конечном итоге составляет порядка 13-16% от оборота. Этот процент сохраняется, так как с увеличением клиентов увеличивается и количество промо-персонала, а, следовательно, увеличиваются и расходы на заработную плату. Бухгалтерский баланс агентство не ведет. Вообще посчитать чистую месячную прибыль агентства очень сложно, так как агентство платит заработную плату промо-персоналу из собственных средств, до того как заказчик рассчитывается с агентством за выполнение заказа.

Затраты подразделяются на 3 основные статьи:

Заработная плата персонала - основная статья расходов агентства, составляет около 70% в общей структуре расходов с учетом налогов.

Административно - организационные расходы (включают аренду, коммунальные и хозяйственные платежи, оплата связи и интернета, расходы на канцелярию)

Налоги (агентство платит НДФЛ, который составляет 6% от оборота)

.6 Конкурентный анализ и стратегия агентства

Портер предложил использовать для конкурентного анализа модель пяти сил. Он аргументировал эту модель тем, что чем выше давление этих сил, тем меньше у существующих компаний возможности увеличивать цены и прибыль. Ослабление сил создает благоприятные возможности для компании. Компания, изменив свою стратегию, может воздействовать на эти силы в свою пользу. [30]

Риск входа потенциальных конкурентов (первая сила Портера в конкурентном анализе) создает опасность прибыльности компании. Конкурентная сила этого фактора сильно зависит от высоты барьеров входа (стоимости входа в отрасль).

Второй конкурентной силой при анализе конкурентной среды по Портеру является соперничество существующих в отрасли компаний.

Третьей силой, учитываемой при конкурентном анализе является потребители. Она представляет угрозу давления на цены из-за потребностей в лучших качестве или сервисе.

Четвертой конкурентной силой, оказывающей влияние при анализе конкурентной среды, выступает давление со стороны поставщиков. Оно заключается в их угрозе поднять цены, вынуждая компании снизить количество поставляемой продукции, а, следовательно, и прибыль.

Для агентства «Промокоманда» конкурентами в отрасли являются другие рекламные агентства Красноярского края. Масштаб конкуренции - региональный. Тип конкуренции - монополистическая конкуренция. На данный момент рынок рекламных агентств Красноярска насыщен, в 2009 году, не выдержав конкуренции, многие небольшие агентства закрылись, повысились барьеры вхождения в отрасль. Однако в Красноярском крае ниша еще не занята, во многих малых городах нет собственных рекламных агентств и «Промокоманда» как раз занимается освоением этого рынка.

Потенциальными конкурентами агентства будут являться новые агентства, специализирующиеся на оказании услуг в сфере маркетинговых коммуникаций. Как уже было сказано выше, рекламный рынок Красноярска насыщен и барьеры вхождения в отрасль довольно высоки, а вот ниша регионального рынка не занята. Таким образом, открытие BTL - агентств в тех городах края, где агентство «Промокоманда» собирается искать посредников для рекламной деятельности создает потенциальную опасность и увеличивает барьеры вхождения на рынок для «Промокоманды».

Альтернативными конкурентами для агентства являются производители альтернативных видов рекламы (ATL). Эта конкуренция сейчас довольно велика, так как снижаются рекламные бюджеты компаний и в первую очередь, заказчики вкладывают средства в более «массовую» рекламу - наружная и медиа-реклама.

Поставщики и потребители рекламных услуг для агентства конкурентами не являются.

Стоит заметить, что исследователи рекламного рынка практически не уделяют внимания сектору агентств, специализирующихся на маркетинговых коммуникациях. Отсутствуют источники, определяющие конкурентную среду в данном секторе услуг. Таким образом, в оценке конкурентной среды я основывалась на личном опыте, так как работала в нескольких агентствах данной сферы. Основными конкурентами агентства «Промокоманда» являются агентства по оказанию услуг в сфере маркетинговых коммуникаций «Антре», «Пропеллер», «Orange», «Магистраль» - рекламное агентство, выделившееся в 2008 году в самостоятельное рекламное агентство их группы компаний «Малтат». Спектр услуг агентств одинаков, доли рынка примерно равны. Все агентства арендуют площади под офис, кроме «Orange» (агентство работает без офисного помещения). Так же у агентства «Orange» небольшая, по сравнению с остальными агентствами, база промо-персонала. Так же только у рекламных агентств «Промокоманда» [16] и «Магистраль» [17] имеется собственный сайт, что дает им конкурентное преимущество перед остальными агентствами сегмента. Из данной информации можно сделать вывод, что увеличить долю рынка в данном секторе можно либо за счет повышения уровня компетенции и профессионализма персонала, либо за счет расширения географии деятельности, либо за счет введения новых услуг, дающих агентству конкурентное преимущество.

Стратегию агентства на данный момент можно определить как стратегию концентрированного роста, а именно, стратегии развития рынка и продукта. Агентство пытается создать конкурентные преимущества за счет расширения зоны покрытия своей деятельности (на данный момент география работы агентства: Красноярск, Железногорск, Канск, Ачинск, Зеленогорск, Дивногорск, Сосновоборск) и введения новых услуг (недавно агентство ввело в спектр услуг проведение маркетинговых исследований, а незадолго до этого - проведение событийных мероприятий).

.7 PEST-анализ

анализ - подход к упорядочиванию факторов макросреды организации, влияющих на принятие стратегических решений. PEST-анализ состоит в выявлении политических (Policy), экономических (Economy), социальных (Society) и технологических (Technology) аспектов внешней среды, которые могут повлиять на стратегию компании.[31;425]

Проведем PEST-анализ факторов макросреды агентства «Промокоманда»:

Описание факторов, влияющих на организацию (таблица 6).ПолитикаЭкономикаСоциальная сфераТехнологии

Таблица 6. Факторы, влияющие на организацию

P1 - законодательство в сфере рекламной деятельности P2 - политическая ситуация в стране P3 - налоговое законодательство

S1 - предпочтения населения S2 - уровень дохода населения S3 - занятость населения S4 - демографический прирост населения S5 - квалификация работников, занятых в отрасли

E1 - уровень экономического развития в стране E2 - инвестиционная привлекательность отрасли E3 - рост платежей (коммунальных, арендных и т.д.) Е4 - финансово - экономическая ситуация в стране Е5 - потребность в рекламных услугах в малых городах края Е6 - платежеспособность заказчиков

T1 - лицензирование, патенты T2 - технологические требования к компании T3 - развитие альтернативных видов рекламных возможностей


Выявление ключевых факторов среды (таблица 7):

Таблица 7. Выявление ключевых факторов среды

Факторы среды

Важность для отрасли

Влияние на организацию

Направленность влияния

Степень важности


А

В

С

Д=А*В*С

Законодательство в сфере рекламной деятельности

3

3

+1

+9

Политическая ситуация в стране

2

1

-1

-2

Налоговое законодательство

2

3

-1

-6

Уровень экономического развития в стране

3

2

-1

-6

Инвестиционная привлекательность отрасли

3

2

-1

-6

Рост платежей

2

2

-1

-4

Финансово - экономическая ситуация в стране

2

3

+1

+6

Потребность в рекламных услугах в малых городах края

2

3

+1

+6

Платежеспособность заказчиков

2

3

-1

-6

Уровень дохода населения

2

2

-1

-4

 Предпочтения клиентов

1

1

-1

-1

Занятость населения

1

2

+1

+2

Демографический прирост населения

1

2

+1

+2

Квалификация работников, занятых в отрасли

2

3

+1

+6

Технологические требования к компании

1

1

-1

-1

Развитие альтернативных видов рекламной деятельности

3

3

-1

-9

Лицензирование, патенты

1

1

+1

+1


Ключевыми факторами среды, влияющей на организацию, являются те факторы, которые имеют наибольшую степень важности для организации. Как видно из таблицы 6, положительную направленность имеют:

Законодательство в сфере рекламной деятельности

Финансово - экономическая ситуация в стране

Потребность в рекламных услугах в малых городах края

Квалификация работников, занятых в отрасли

Факторами, отрицательно влияющими на организацию, являются:

Налоговое законодательство

Уровень экономического развития в стране

Инвестиционная привлекательность отрасли

Платежеспособность заказчиков

Развитие альтернативных видов рекламной деятельности

Теперь, используя ключевые факторы, анализируются факторные стратегические неожиданности, результаты заносятся в таблицу 8. Из каждого фактора формулируется вытекающая из него возможность или угроза, определяется степень влияния и сила воздействия потенциальных возможностей/угроз на организацию и степень их важности для организации.

Таблица 8. Формулировка и анализ факторных стратегических неожиданностей

Ключевой фактор

Характер воздействия фактора на организацию

Возможности/Угрозы


Формулировка возможности

Формулировка угрозы

Вероятность появления

Сила воздействия

Степень важности

1

2

3

4

5

6=4*5

Законодательство в сфере рекламной деятельности

Ограничение альтернативных видов рекламной деятельности


1

6

6

Налоговое законодательство


Ужесточение налогового законодательства

0

5

0

Уровень экономического развития в стране


Замедление темпов экономического развития страны

1

4

4

Инвестиционная привлекательность отрасли


Снижение спроса на рекламные услуги

1

7

7

Финансово - экономическая ситуация в стране

Потребность населения в дополнительном заработке


1

5

5

Потребность в рекламных услугах в малых городах края

Потребность в рекламных услугах в малых городах края


1

7

7

Развитие альтернативных видов рекламной деятельности


Расширение спектра услуг конкурентов

1

10

10

Платежеспособность заказчиков


Сокращение рекламных бюджетов

1

9

9

Квалификация работников, занятых в отрасли

Появление организаций, занимающихся тренингами, повышением квалификации кадров


1

8

8


В результате анализа факторных стратегических неожиданностей, выделяются те из них, степень важности которых наибольшая для организации. Такими стратегическими неожиданностями являются возможности (потребность в рекламных услугах в малых городах края, появление новых технологий в рекламном бизнесе, появление организаций, занимающихся тренингами, повышением квалификации кадров) и угрозы (снижение спроса на рекламные услуги, ухудшение финансово - экономической ситуации в стране, расширение спектра услуг конкурентов, платежеспособность заказчиков). На их основе будет проводиться следующий этап исследования с помощью SWOT - анализа.

.8 SWOT-анализ

Метод SWOT-анализа применяется для анализа среды метод организации (аббревиатура составлена из первых букв английских слов: сила, слабость, возможности и угрозы), является довольно широко признанным подходом, позволяющим провести совместное изучение внешней и внутренней среды. Применяя метод SWOT, удается установить связи между силой и слабостью, которые присущи организации, и внешними угрозами и возможностями. [10;233].

Методология SWOT предполагает сначала выявление сильных и слабых сторон, а также угроз и возможностей, а далее - установление цепочек связей между ними, которые в дальнейшем могут быть использованы для формулирования стратегии организации.

В таблице 9 представлен SWOT-анализ среды агентства «Промокоманда».

Таблица 9. Матрица SWOT


Сильные стороны Постоянная клиентская база; Широкий спектр услуг в сфере маркетинговых коммуникаций; Востребованность агентства на рынке рекламных услуг Широкая база промо-персонала  Удобное местоположение

Слабые стороны Возрастные ограничения для промо-персонала; Нечеткое распределение обязанностей среди работников основного штата; Отсутствие методов стимулирования промо-персонала; Недостаточная компетентность персонала

Возможности Потребность в рекламных услугах в городах края; Ограничение альтернативных видов рекламной деятельности Появление организаций, занимающихся тренингами, повышением квалификации кадров Потребность населения в дополнительном заработке

Расширение географии деятельности агентства;

Повышение квалификации основного персонала Привлечение людей разных возрастных категорий к работе на промо-акциях Привлечение студентов профильных специальностей к проведению маркетинговых исследований

Угрозы Расширение спектра услуг конкурентов; Снижение спроса на рекламные услуги; Снижение рекламных бюджетов

Расширения спектра услуг  Разработка новых рекламных технологий

Разработка методов стимулирования промо-персонала Четкое распределение обязанностей между основным персоналом


В результате проведенного SWOT-анализа были выявлены сильные и слабые стороны, возможности и угрозы; предложены мероприятия, направленные на улучшение показателей деятельности агентства.

К сильным сторонам относятся: постоянная клиентская база, широкий спектр услуг в сфере маркетинговых коммуникаций, востребованность агентства на рынке рекламных услуг, широкая база промо-персонала, удобное местоположение.

К слабым сторонам можно отнести возрастные ограничения для промо-персонала, нечеткое распределение обязанностей среди работников основного штата, отсутствие стимулирования промо-персонала, недостаточная компетентность персонала.

К возможностям были отнесены потребность в рекламных услугах в городах края, ограничение альтернативных видов рекламной деятельности, появление организаций, занимающихся тренингами, повышением квалификации кадров, потребность населения в дополнительном заработке.

Так же были выявлены угрозы: расширение спектра услуг конкурентов, снижение спроса на рекламные услуги, снижение рекламных бюджетов.

По итогам проведенного SWOT-анализа в рамках совершенствования стратегии концентрированного роста, а именно, стратегии развития рынка и продукта агентства были предложены следующие мероприятия:

Расширение географии деятельности агентства за счет потребности в BTL-услугах в других городах края и благодаря широкому спектру услуг в сфере маркетинговых коммуникаций и удобному местоположению агентства (краевой центр).

Разработки новых технологий с целью повышения востребованности агентства на рынке рекламных услуг и снижение угрозы ухода клиентов к конкурентам.

Расширение спектра услуг с целью увеличения конкурентоспособности и востребованности на рекламном рынке и снижения угрозы ухода клиентов к конкурентам.

Так же, в результате использования сильных сторон для достижения целей и сглаживания угроз, а так же испрользования возможностей для усиления слабых сторон и предотвращения кризисных ситуаций, были предложены дополнительные мероприятия по повышению эффективности деятельности агентства:

Повышение квалификации основного персонала за счет сотрудничества с организациями, занимающимися проведением тренингов, центрами повышения квалификации кадров.

Четкое распределение обязанностей между основным персоналом с целью повышения его работоспособности и снижения угрозы ухода клиентов к конкурентам.

Разработка методов стимулирования промо-персонала к длительному сотрудничеству с агентством.

Привлечение людей разных возрастных категорий к работе на промо-акциях с целью удовлетворения потребности населения в дополнительном заработке.

Привлечение студентов профильных специальностей к проведению маркетинговых исследований с целью повышения качества выполнения работ и удовлетворенности заказчика.

3. Организационно - технологическая часть

По итогам проведенного SWOT-анализа в рамках совершенствования стратегии концентрированного роста, а именно, стратегии развития рынка и продукта агентства были предложены следующие мероприятия:

Расширение географии деятельности агентства.

Во многих небольших городах края нет собственных рекламных агентств, но существует потребность в таковых. Агентству «Промокоманда» поступают федеральные заказы на проведение акций по Красноярскому краю с наибольшим охватом территорий.

На данный момент география работы агентства: Красноярск, Железногорск, Канск, Ачинск, Зеленогорск, Дивногорск, Сосоновоборск. Рекомендуется расширить географию работы с краем через посредников. Это не должно быть юридическое лицо. Достаточно одного человека с собственной промоутерской базой, выполняющего функцию координатора проекта на месте.

Данное мероприятие увеличит прибыль агентства и ее конкурентоспсобность на рынке рекламных услуг.

Разработки новых технологий.

Чтобы быть конкурентоспособным и востребованным на рынке нужно постоянно совершенствовать деятельность компании, добавлять ей конкурентные преимущества

Таким конкурентным преимуществом на рекламном рынке может стать «Технология SMS-контроля» промо-акций. Суть ее в следующем: создается сайт, работающий по технологии SMS-контроля, промо-персоналу ставятся определенные задачи, которых следует достичь в ходе промо-акции, и они ежечасно отправляют SMS-сообщение с цифрой, отражающей текущие результаты проведения акции. Вся информация собирается на одном сайте, и заказчик, в режиме реального времени может увидеть, как меняется динамика продаж относительно плановых показателей. Таким образом у заказчика и работников агентства есть возможность оперативно реагировать на любую ситуацию. Причины низких показателей продаж разнообразны: отсутствие товара в торговой точке, некачественная работа промо-персонала, активность конкурентов.

Данная технология дает возможность оперативно реагировать на устранение причин низких показателей в работе, и, как следствие, экономить время и деньги заказчика. Технология повысит конкурентоспособность, востребованность агентства на рекламном рынке за счет лучшего качества работы персонала и более высоких показателей производительности, а так же удобства для клиента.

Расширения спектра услуг.

В условиях жесткой конкуренции, сложившейся на рекламном рынке, для увеличения конкурентоспособности, имеет смысл ввести в агентстве «Промокоманда» услугу, сопутствующую проведению event-мероприятий - оформление воздушными шарами (аэродизайн). Этой услугой как дополнительной могут пользоваться те же самые клиенты, которые раньше заказывали организацию событийных мероприятий, тем более у агентства есть постоянные потребители данной услуги: Кинокомплексы «Киномакс» (ТРЦ «Планета») и «Мори Синима» (ТРЦ «Июнь»), администрация г.Красноярска при проведении городских праздников.

С целью поиска поставщика расходных материалов, было проведено исследование рынка аэродизайна.

Был проведен мониторинг информации об аэродизайне, о фирмах, занимающихся данным видом деятельности в Красноярске через Интернет и составление опросника, по которому менеджерам фирм по телефону будут задаваться вопросы с целью ознакомления с их прайсом и спектром услуг.

Опросник:

Компания и адрес

Наличие и стоимость:

гирлянды (1 метр)

шара с гелием

фальгированного шара

просто шара надувного (с держателем)

гелиевой арки

фигур из шаров

нанесения изображения на 1 шар

Есть ли скидка для РА?

Условия работы (нал/безнал)

Есть ли склад с шарами? (то есть продают ли оптом?)

Предполагается ли работа на улице, в ночное время?

Есть ли доплата за срочность?

Стоимость монтажа, транспортных расходов

Контактное лицо и его телефон

Выделение наиболее сильных конкурентов:

Сюрприз

Торжество

Вечеринка плюс

Радуга

Эверант

Шарикофф-аэродизайн

Каприз

Все для праздника

Телефонный опрос фирм, занимающихся аэродизайном, данные приведены в таблице (приложение В)

Выделение фирм с наиболее выгодным ценовым предложением и наиболее выгодного потенциального поставщика - им оказалась фирма «Все для праздника». У данной фирмы наиболее выгодные розничные цены, широкий спектр услуг и система скидок для рекламных агентств.

Выявление посредством телефонного опроса наличия у этих же фирм в продаже гелия и цены на него, данные приведены в приложении Г.

Наиболее выгодная цена на гелий у фирмы «Все для праздника» и так же скидка на него рекламным агентствам в размере 15% от стоимости.

По итогам исследования в качестве потенциального поставщика для агентства «Промокоманда» была рекомендована фирма «Все для праздника», так как у нее наиболее широкий спектр услуг, самые выгодные цены и скидки рекламным агентствам.

Услуги можно оказывать через праздничное агентство полного цикла, став его субподрядчиком за 10-15% от стоимости заказа;

Затраты на расходные материалы (шары, ленты, гелий) - это нерегулярные траты. Можно оптом заказать большую партию и хранить ее на складе. Расходные материалы заказывают в Москве, доставка занимает 5 дней. Есть оптовый поставщик в Красноярске - фирма «Все для праздника». Баллона с гелием за 6000 рублей хватает на 450-500 шаров среднего размера, потом его можно снова заправить за 2500 рублей.

Штат студии аэродизайна минимален: дизайнер и его помощник ответственны за оформление, менеджер для работы в офисе - принимает клиентов, демонстрирует образцы, принимает заказы, ведет документацию. В качестве оформителей чаще привлекают студентов. Они работают сдельно и получают, в среднем, 10% от стоимости заказа;

Расходы на рекламу на начальном этапе - около 10000-20000 рублей. Это размещение в специализированных изданиях (свадебных каталогах, справочниках, печать визиток, листовок). Потом количество рекламы уменьшается, клиенты приходят по рекомендациям. Основные клиенты - частные заказчики, желающие оформить семейный праздник - свадьбы, юбилеи, дни рождения, детские вечеринки. Отдельный сегмент - корпоративные и городские праздники.

В спросе существует сезонность. На апрель - июнь выпадает много заказов по оформлению детских праздников, июнь - сентябрь - пора свадеб. Практически нет заказов в январе-феврале. В это время больше востребована пиротехника. Компании стараются обеспечить наработанным клиентам сразу комплекс услуг, таким образом привлекая новых заказчиков и снижая эффект сезонности[9].

По итогам проведения исследования можно сделать вывод, что у агентства есть потенциал для внедрения данной услуги. Это не потребует больших затрат, так как офисное и складское помещения у фирмы уже имеются. Стартовый капитал для внедрения услуги невелик. Услуга востребована и пользуется спросом - об этом говорит большое количество специализированных фирм в Красноярске и наличие данной услуги у некоторых рекламных агентств.

У агентства «Промокоманда» имеется наработанная клиентская база заказчиков event-мероприятий, которым данная услуга будет предложена как дополнительная. Так же услуга будет предлагаться и как самостоятельная для оформления корпоративных и семейных праздников.

Так же можно ввести в агентстве услугу продвижения товара в местах продаж при помощи объемных рекламных наклеек.

Уже давно существует такое креативное направление напольной живописи, как объемные рисунки на асфальте или Street Painting (Madonnari). Street Painting или Madonnari (на итальянском) - рисунки на асфальте, произведения городской живописи. Street Painting, одно из направлений стрит арта (street art), отличается от граффити (классического): “уличная живопись” имеет дело с асфальтом (тротуаром), а граффити (graffiti) - со стенами зданий, заборами и прочими вертикальными поверхностями. За границей данный вид искусства давно используется в рекламных целях, но рисунки на асфальте недолговечны, затратны по времени и непрактичны. Учитывая все вышеизложенные недостатки, появилась идея использования Madonnari в рекламе как POS - материал, аналогично уже существующим на российском рынке POS - стикерам с изображением рекламной продукции, клеящимся на пол. Это будут стикеры с использованием техники Madonnari, то есть визуально объемная реклама на полу. Их можно будет размещать в супер- и гипермаркетах в прикассовой или закассовой зонах, а так же в непосредственных местах расположения рекламируемой продукции внутри маркета.

Актуальность идеи заключается в том, что рынок рекламных материалов, в частности POS, динамично развивается. Конкуренция в отрасли велика, а следовательно, нужно выделяться чем-то особенным из общей массы, предоставлять какую-то эксклюзивную услугу, чтоб заполучить клиента, и такой оригинальный POS - материал может стать достойным конкурентным преимуществом фирмы.материалы (POS materials) - это материалы, способствующие продвижению брэнда или товара на местах продаж. POS материалы служат для дополнительного привлечения внимания и эффективного продвижения товаров.

Самый эффективный способ привлечь внимание покупателя, осуществляющего свой выбор в магазине - грамотное использование POS-материалов (POSM, Point of Sales Materials - средства рекламы в местах продаж).

Виды POS - материалов:

Воблер - рекламная прдукция с фигурной вырубкой из картона или пластика на двухстороннем скотче и ножке

Торговые стойки и стеллажи - обычно используются для выкладки большого количества товара.

Шелфтокер - говорящая полка, представляет собой рекламный элемент, предназначенный для визуального объединения и выделения на общей полке продукции одной торговой марки

Инсерт - пластик, крепится на ценникодержателе, маркирует продукт

Стоппер - крепится на полке, объемный рекламный продукт, нацелен на импульсную покупку

Магазин в магазине - ряд стопперов и шелфтокеров, крепятся к полкам в торговой точке

Гофролента (ранер), представляет собой ленту из 2-х слойной гофрированной бумаги с повторяющимся изображением, нанесенным на плоский слой или на волну.

Диспенсеры - это вид POS-материалов, предназначенных для размещения рекламной информации

Мобайл - ПОС Материал, состоящий из плоского или объемного рекламного изображения, подвешенного к потолку

Монетница - Это ни с чем не сравнимый по оказываемому ему вниманию POS-материал: ни один покупатель торговой точки не минует эту небольшую «тарелочку»

Палеттные щиты - представляют из себя листы из гофрокартона или ПВХ с рекламным изображением и используются вокруг паллеты с ящиками продукции в торговом зале

Стикеры, тротуарная графика - это самоклеящиеся изображения на виниловой основе. К ним относят как большие плакаты, так и небольшие наклейки. Стикеры предназначены для использования в местах, где нет возможности закрепить другую рекламную продукцию. Благодаря самоклеящейся основе они очень удобны и применяются повсюду

Современное искусство Street Painting (или Madonnari) зародилось в XVI веке, когда странствующие уличные художники в религиозные праздники рисовали на прицерковных площадях картины из библейских сюжетов. Часто мадоннари (madonnaro - так их звают) изображали Мадонну (Богородицу).

Наиболее известный современный художник этого направления - англичанин Джулиан Бивер (Julian Beever). Свои творения street painter Джулиан создает “на глаз” (признался в одном из интервью). Рисовать на асфальте мадоннари начал в 1988 году. Примеры рисунков в стиле мадоннари представлены в приложении А.

Услугами художников-мадоннари часто пользуются иностранные коммерческие компании для рекламы своей продукции. В основном, это реклама напитков (приложение А).

Однако у рекламы, выполненной мелом на асфальте есть очевидные недостатки:

Трудоемкость (процесс изготовления занимает до 3х дней);

Непрактичность и недолговечность (рисунки выполняются цветными мелками, а, следовательно, быстро стираются)

Невозможность тиражирования, массового производства (рисунки выполняются вручную лично художником)

Высокая стоимость (вытекает из предыдущих пунктов)

Учитывая все вышеизложенные недостатки, идея использования Madonnari в рекламе как POS - материал, аналогично уже существующим на российском рынке POS - стикерам с изображением рекламной продукции, клеящимся на пол, гораздо практичнее. Это будут стикеры с использованием техники Madonnari, то есть визуально объемная реклама на полу. Их можно будет размещать в супер- и гипермаркетах в прикассовой или закассовой зонах, а так же в непосредственных местах расположения рекламируемой продукции внутри торгового зала. С помощью компьютерных возможностей можно представить, как будет выглядеть данная реклама в реальности (приложение Б).

Так как услуга является ответвлением POS, предполагаемый доход, цена и объем продаж будут аналогичны изготовлению уже существующих POS - материалов (стикеров) а данный момент с учетом специфики услуги (таблица 10):

Таблица 10. Полноцветные наклейки (размер 50х50 см.), прайс

Тираж (шт.)

500-1000

1001 -3000

3001 -5000

5001- и более

Цена (руб.)

64,40

47,60

37,80

28,00


Если увеличить размер наклеек до предполагаемых размеров продукции (1 кв.м.), т.е. в 2 раза, то получатся следующие расценки (таблица 11):

Таблица 11. Полноцветные наклейки (размер 1кв.м.), прайс

Тираж (шт.)500-10001001 -30003001 -50005001- и более





Цена (руб.)

161

119

94,5

70


С учетом уникальности продукции, которая будет изготавливаться не так массово как обычные рекламные стикеры, и с учетом эксклюзивной работы художника, увеличивающей стоимость минимум в 5 раз, прайс будет выглядеть следующим образом (таблица 12):

Таблица 12. Полноцветные объемные наклейки в стиле Madonnari (1 кв.м), прайс

Тираж (шт.)А (10 - 100)Б (101 - 200)В (201- 300)Г (301 - и более)





Цена (руб.)

805

595

472,5

350


Изготовление наклеек будет осуществляться через посредника (типографию ЕвроПресс [15]).

Данная услуга является НОУ-ХАУ и станет конкурентным преимуществом агентства, повысит востребованность агентства на реламном рынке, а так же позволит оказывать клиентам более широкий спектр услуг, что снизит риски ухода клиентов к конкурентам.

Так же, в результате использования сильных сторон для достижения целей и сглаживания угроз, а так же испрользования возможностей для усиления слабых сторон и предотвращения кризисных ситуаций, были предложены дополнительные мероприятия по повышению эффективности деятельности агентства:

Повышение квалификации основного персонала.

Рекламный рынок развивается достаточно динамично, поэтому необходимо систематическое обучение, повышение квалификации персонала. Уровень квалификации персонала непосредственно отражается на качестве выполнения работы. Персонал - основной актив рекламного агентства, поэтому чтобы быть конкурентоспособным на рынке рекламных услуг, необходимо инвестировать его обучение, постоянно развивать профессиональные и личные качества, навыки.

Рекомендуется повышение компетентности персонала и повышение эффективности их работы за счет тренингов, курсов по повышению квалификации. Следует обратиться по данному вопросу в специализированную организацию, например, «Школа антропоники». Она занимается повышением квалификации управленцев в рекламной сфере, занимается персональными и групповыми тренингами по развитию управленческих и личностных качеств, а так же тренингами по технике продаж.

Это мероприятие улучшит качество выполняемой основным персоналом работы, повысит уровень их профессионализма, что в конечном счете отразится на улучшении показателей эффективности деятельности агентства.

Четкое распределение обязанностей между основным.

В настоящий момент в агентстве отсутствует четкое разделение обязанностей между основным персоналом. Если координатор проектов не успевает курировать все проекты, то этим занимается тренинг-менеджер или коммерческий директор. В связи с этим возникают сложности согласования и распределения должностных обязанностей между работниками управленческого аппарата, что в конечном итоге приводит к снижению качества выполнения работы.

Необходимо четкое распределение обязанностей между персоналом.

Мероприятие позволит повысить работоспособность, организованность персонала, улучшит качество выполняемой ими работы.

Разработка методов стимулирования промо-персонала.

На данный момент в агентстве отсутствует стимулирование персонала, побуждающее к длительному сотрудничеству с агентством. В связи с этим, промо-персонал свободно переходит на работу в другие агентства. Таким образом, существует риск потери обученного и ответственного промо-персонала и его уход к конкурентам.

Необходимо ввести методы стимулирования промо-персонала, побуждающего к длительному сотрудничеству с агентством. Тем более это будет целесообразно, если ввести мероприятие по повышению компетентности персонала (тренинги, которые рассчитаны на длительное сотрудничество с работником). В качестве материальных стимулов можно ввести повышенную почасовую тарифную ставку для промоутеров, проработавших в агентстве более 10 акций.

Данное мероприятие побуждает промоутеров к длительному сотрудничеству с агентством, что выгодно для промоутеров в связи с материальным поощрением, и для агентства, так как обученный и ответственный персонал продолжит качественно выполнять свою работу в агентстве.

Привлечение людей разных возрастных категорий к работе на промо-акциях.

В агентстве существует возрастной ценз для промо-персонала (до 22 лет). Однако сфера деятельности агентства включает акции по продвижению товаров для детей, медицинские товары, бытовую химию.

Товары данных категорий рекомендуется продвигать людям среднего и старшего возрастов, так как им, в силу возраста и жизненного опыта, покупатель доверится больше. Тем более в условиях сложившейся экономической ситуации в стране, в связи с сокращениями на рабочих местах и снижением заработной платы, думаю, будут желающие помимо основной работы, в выходные дни заняться такого рода подработкой. Тем более люди среднего возраста ответственнее относятся к качеству выполняемой работы. Они в меньшей степени склонны нарушать инструкции и алгоритмы работы.

Данное мероприятие увеличит эффективность продвижения отдельных групп товаров, что благоприятным образом повлияет на удовлетворенность заказчика деятельностью агентства.

Привлечение студентов профильных специальностей к проведению маркетинговых исследований.

Такие студенты имеют теоретическую подготовку, что позволит повысить качество проводимых исследований.

Для реализации мероприятия необходима договоренность с одним или несколькими ВУЗами, проводящими обучение студентов по специальностям маркетинг и социология, и привлекать к проведению маркетинговых исследований студентов старших курсов данных специальностей в качестве производственной или преддипломной практики.

Это предложение выгодно обеим сторонам: для ВУЗов и их студентов это гарантированное обеспечение прохождения практики, а для агентства - гарантия качества выполнения работы, так как она будет выполняться студентами именно тех специальностей, которые компетентны в данной деятельности, и для которых данная работа является профильной. Так же, на большинстве предприятий практика студентам не оплачивается, а это значительная экономия средств для агентства, так как заработная плата персонала является основной статьей расходов (таблица 6).

4. Экономическая часть

Любое управленческое решение, любой бизнес-процесс в качестве целевой установки имеет определенный конечный результат (эффект). Совокупность этих результатов в рамках функционирования одного хозяйствующего субъекта образуют систему иерархически соподчиненных целей, самый высокий уровень этой иерархии составляют цели, непосредственно касающиеся максимизации конечного финансового результата предприятия - прибыли - в краткосрочной, среднесрочной и долгосрочной перспективах. При этом максимизация прибыли в краткосрочном периоде может вступать в противоречие с аналогичной целью в долгосрочном периоде, достигаемой путем реализации стратегии роста. Следовательно, в конкретной ситуации цели предприятия будут представлять собой некоторый синтез желаемого роста и желаемой прибыли предприятия.

Значимым для хозяйственной деятельности будет не любой положительный результат, но именно такой, который либо непосредственно входит в систему целей предприятия, либо наилучшим образом способствует достижению поставленных целей.

Понимание системности взаимодействия предприятия и внешней среды предполагает невозможность получения полезного результата «из воздуха». Достижение любого эффекта обусловлено необходимостью осуществить какие-то затраты, использовать для его достижения определенный ресурс или набор ресурсов.

Результативность использования ресурсов для достижения полезного эффекта характеризуется понятием эффективности. Произведем расчеты экономической эффективности предлагаемых мероприятий:

Расширения спектра услуг. Введение услуги аэродизайна. В организационно-технологической части работы были приведены затраты на введение данной услуги (таблица 13):

Таблица 13. Затраты на введение услуги аэродизайна

Статья расхода

Стоимость, руб.

Единовременные расходы

Стеллаж для хранения воздушных шаров

6000

Оборудование (компрессор, калибратор, сеть, шуруповерт, 4 баллона)

40000

Обучающее видео

1000

Итого

47000

Ежегодные расходы

Реклама

10000

Шары основных цветов (белый, синий, красный, золотой, розовый, серебро) 2000 шт.

30000

Шары других цветов1000 шт.

15000

Фольгированные шары 150 шт

15000

Гелий для 4 баллона

10000

Hi-Float (силиконовый материал: шары держатся в 2-3раза дольше)

2000

Зарплата дизайнеров и оформителей при средней сумме заказа 10000

10% от суммы заказа (60000)

Итого

140000

Общие затраты в первый год

187000


Цены на услуги агентства по аэродизайну можно увидеть в приложении Д. Средняя сумма заказа составит около 10000 руб. Предположив, что агентство будет выполнять по 5 заказов в месяц (так как это не основная услуга), годовая выручка от услуги составит 600000 рублей.

Теперь вычислим валовую прибыль от услуги (1),(2):

Вал. прибыль = выручка - затраты                                                (1)

Вал. прибыль = 600000 - 187000 = 413000 руб.                              (2)

Вычислим чистую прибыль от услуги (3),(4):

Чистая прибыль = вал. прибыль - налог на прибыль                   (3)

Учитывая, что налог на прибыль составляет 18%, получим:

Чистая прибыль = 413000 - 74340 = 338660 руб.                           (4)

Вычислим чистый дисконтированный поток (ЧДП) с учетом коэффициента дисконтирования (5):

,                                                      (5)

где, Кдиск - коэффициент дисконтирования;

,15 - ставка банка в процентах;

,13 - уровень инфляции;

,1 - все риски

Теперь посчитаем чистый дисконтированный поток (ЧДП)(6),(7):

ЧДП = чистая прибыль Кдиск                                                    (6)

ЧДП = 3386600,72 = 243835 руб.                                                 (7)

Затем вычислим срок окупаемости услуги (8),(9):

Срок окупаемости = затраты/ЧДП                                                (8)

Срок окупаемости = 187000/20320 = 9,2 мес. = 280 дней              (9)

Рентабельность инвестиций найдем по формуле (10),(11):

Рентабельность инвестиций =                                        (10)

Рентабельность инвестиций = 243835/187000 = 1,3                       (11)

Следовательно 130% инвестиций возвращаются ежегодно.

Расширения спектра услуг. Введение услуги продвижения товара в местах продаж при помощи объемных рекламных наклеек. Изготовление рекламных наклеек будет заказываться в типографии «ЕвроПресс». Стоимость наклейки для агентства будет составлять 250руб. за кв.м.[15]. Розничные цены, по которым агентство будет реализовывать наклейки, представлены в таблице 14:

Таблица 14. Полноцветные объемные наклейки в стиле Madonnari (1 кв.м), прайс

Тираж (шт.)

А (10 - 100)

Б (101 - 200)

В (201- 300)

Г (301 - и более)

Цена (руб.)

805

595

472,5

350


Прогнозируемый объем продаж наклеек в год представлен в таблице 15.

Таблица 15. Прогнозируемый объем продаж наклеек в год

Наименование продукции

Объем выпуска в натур, ед.

Цена продукции, руб.

Объем продаж, руб.

1.Объемные наклейки тиража А

400

805

322000

2. Объемные наклейки тиража Б

300

595

178500

3. Объемные наклейки тиража В

200

472,5

94500

4. Объемные наклейки тиража Г

100

350

35000

Итого

1000

-

630000


Таблица 16. Затраты на изготовление наклеек в типографии

Наименование продукцииОбъем выпуска в натур, ед.Цена продукции, руб.Стоимость для агентства, руб.




1.Объемные наклейки тиража А

400

250

100000

2. Объемные наклейки тиража Б

300

250

75000

3. Объемные наклейки тиража В

200

250

50000

4. Объемные наклейки тиража Г

100

250

25000

Итого

1000

-

250000


Все затраты по данной услуге представлены в таблице 17:

Таблица 17. Затраты на услугу продвижения товара в местах продаж при помощи объемных рекламных наклеек в год

Статья затрат

Сумма, руб.

Изготовление наклеек в типографии

250000

Заработная плата художнику-дизайнеру

10% от суммы заказа 12000

Заработная плата расклейщикам (2 чел.)

по 20 руб. за наклейку 20000

Транспортные расходы

15000

Итого

297000


Теперь вычислим валовую прибыль от услуги (1),(12):

Вал. прибыль = 630000 - 297000 = 333000 руб.                              (12)

Вычислим чистую прибыль от услуги (3),(13):

Учитывая, что налог на прибыль составляет 18%, получим:

Чистая прибыль = 333000 - 59940= 273060 руб.                            (13)

Вычислим чистый дисконтированный поток (ЧДП) с учетом коэффициента дисконтирования (5),(6),(14):

ЧДП = 2730600,72 = 196603 руб.                                                 (14)

Затем вычислим срок окупаемости услуги (8),(15):

Срок окупаемости = 297000/ 16384 = 18 мес. = 547 дней              (15)

Рентабельность инвестиций найдем по формуле (10),(16):

Рентабельность инвестиций = 196603/297000 = 0,7                       (16)

Следовательно, 70% инвестиций возвращаются ежегодно.

Повышения компетентности персонала и повышение эффективности их работы за счет тренингов, курсов по повышению квалификации. Планируется отправлять основной персонал ежегодно на обучающий семинар и тренинг в «Школу антропоники» [18]. Затраты агентства на обучение персонала представлены в таблице 18.

Таблица 18. Затраты на обучение персонала в год

Вид обучения

Количество персонала

Стоимость на 1 человека

Стоимость за группу

Тренинг

4

3100

12400

Семинар

4

8000

32000

Итого

-


44400


После прохождения тренингов и семинаров основным персоналом, общая работоспособность должна повыситься, улучшиться качество выполняемой работы, что в конечном итоге, обеспечит улучшение показателей работы всего агентства и увеличение выручки на 25%. Следовательно, если на данный момент валовый доход агентства составляет 1016557 рублей (таблица 7), то после прохождения персоналом тренингов и семинаров он увеличится на 254139 рублей и составит 1270696 рублей.

Теперь вычислим валовую прибыль от услуги (1),(17):

Вал. прибыль = 254139 - 44400 = 209739 руб.                               (17)

Вычислим чистую прибыль от мероприятия (3),(18):

Учитывая, что налог на прибыль составляет 18%, получим:

Чистая прибыль = 209739 - 37753 = 171986 руб.                           (18)

Вычислим чистый дисконтированный поток (ЧДП) с учетом коэффициента дисконтирования (5),(6),(19):

ЧДП = 171986 0,72 = 123830 руб.                                                (19)

Затем вычислим срок окупаемости услуги (8),(20):

Срок окупаемости = 44400/ 10319 = 4,3 мес. = 130 дней              (20)

Рентабельность инвестиций найдем по формуле (10),(21):

Рентабельность инвестиций = 123830/44400 = 2,8                        (21)

Следовательно, 280% инвестиций возвращаются ежегодно.

Исходя из показателей эффективности, по всем рассчитанным мероприятиям можно сделать вывод, что их внедрение в агентстве скажется положительным образом на результатах деятельности: улучшит качество и производительность труда в агентстве, увеличит работоспособность персонала, увеличит конкурентоспособность агентства на рынке рекламных услуг и увеличит прибыль, как конечную цель любой организации.

5. Правовая часть

В организационно-технологической части работы был предложен ряд мероприятий по улучшению экономических показателей деятельности агентства «Промокоманда». В целях реализации данных мероприятий, необходимо разработать правовую основу для их осуществления, а именно: договоры возмездного оказания услуг агентства с центром повышения квалификации «Школа антропоники» для реализации мероприятия по повышению квалификации персонала [23]; договор поставки расходных материалов с фирмой «Все для праздника» для реализации услуги аэродизайна [24]; договор подряда с типографией «ЕвроПресс» для реализации услуги изготовления и размещения напольных объемных наклеек в местах продаж.

Договор возмездного оказания услуг.

По договору возмездного оказания услуг исполнитель - негосударственное образовательное учреждение «Школа антропоники» обязуется по заданию заказчика оказать услуги по оказанию образовательной деятельности, а заказчик обязуется оплатить эти услуги. Если иное не предусмотрено договором возмездного оказания услуг, исполнитель обязан оказать услуги лично.

Заказчик - ООО «Эдрейс» обязан оплатить оказанные ему услуги в сроки и в порядке, которые указаны в договоре возмездного оказания услуг. В случае невозможности исполнения, возникшей по вине заказчика, услуги подлежат оплате в полном объеме, если иное не предусмотрено законом или договором возмездного оказания услуг. В случае, когда невозможность исполнения возникла по обстоятельствам, за которые ни одна из сторон не отвечает, заказчик возмещает исполнителю фактически понесенные им расходы, если иное не предусмотрено законом или договором возмездного оказания услуг.

Заказчик вправе отказаться от исполнения договора возмездного оказания услуг при условии оплаты исполнителю фактически понесенных им расходов. Исполнитель вправе отказаться от исполнения обязательств по договору возмездного оказания услуг лишь при условии полного возмещения заказчику убытков.

Договор возмездного оказания услуг, в котором определены и достигнуты порядок и условия, необходимые для реализации мероприятия по повышению компетенции персонала в приложении Е.

Договор поставки.

По договору поставки поставщик-продавец ООО «Все для праздника», осуществляющий предпринимательскую деятельность, обязуется передать в обусловленный срок или сроки, производимые или закупаемые им товары покупателю - ООО «Эдрейс» для использования в предпринимательской деятельности или в иных целях, не связанных с личным, семейным, домашним и иным подобным использованием.

В случае, когда при заключении договора поставки между сторонами возникли разногласия по отдельным условиям договора, сторона, предложившая заключить договор и получившая от другой стороны предложение о согласовании этих условий, должна в течение тридцати дней со дня получения этого предложения, если иной срок не установлен законом или не согласован сторонами, принять меры по согласованию соответствующих условий договора либо письменно уведомить другую сторону об отказе от его заключения.

Сторона, получившая предложение по соответствующим условиям договора, но не принявшая мер по согласованию условий договора поставки и не уведомившая другую сторону об отказе от заключения договора в срок, обязана возместить убытки, вызванные уклонением от согласования условий договора.

В случае, когда сторонами предусмотрена поставка товаров в течение срока действия договора поставки отдельными партиями и сроки поставки отдельных партий (периоды поставки) в нем не определены, то товары должны поставляться равномерными партиями помесячно, если иное не вытекает из закона, иных правовых актов, существа обязательства или обычаев делового оборота.

Наряду с определением периодов поставки в договоре поставки может быть установлен график поставки товаров (декадный, суточный, часовой и т.п.).

Досрочная поставка товаров может производиться с согласия покупателя. Товары, поставленные досрочно и принятые покупателем, засчитываются в счет количества товаров, подлежащих поставке в следующем периоде.

Поставка товаров осуществляется поставщиком ООО «Все для праздника» путем отгрузки (передачи) товаров покупателю ООО «Эдрейс», являющемуся стороной договора поставки, или лицу, указанному в договоре в качестве получателя.

Доставка товаров осуществляется поставщиком ООО «Все для праздника» путем отгрузки их транспортом, предусмотренным договором поставки, и на определенных в договоре условиях.

В случаях, когда в договоре не определено, каким видом транспорта или на каких условиях осуществляется доставка, право выбора вида транспорта или определения условий доставки товаров принадлежит поставщику, если иное не вытекает из закона, иных правовых актов, существа обязательства или обычаев делового оборота.

Покупатель ООО «Эдрейс» вправе, уведомив поставщика ООО «Все для праздника», отказаться от принятия товаров, поставка которых просрочена, если в договоре поставки не предусмотрено иное. Товары, поставленные до получения поставщиком уведомления, покупатель обязан принять и оплатить.

Ассортимент товаров, недопоставка которых подлежит восполнению, определяется соглашением сторон. При отсутствии такого соглашения поставщик обязан восполнить недопоставленное количество товаров в ассортименте, установленном для того периода, в котором допущена недопоставка.

Покупатель ООО «Эдрейс» обязан совершить все необходимые действия, обеспечивающие принятие товаров, поставленных в соответствии с договором поставки.

Принятые покупателем ООО «Эдрейс» товары должны быть им осмотрены в срок, определенный законом, иными правовыми актами, договором поставки или обычаями делового оборота.

Покупатель ООО «Эдрейс» обязан в этот же срок проверить количество и качество принятых товаров в порядке, установленном законом, иными правовыми актами, договором или обычаями делового оборота, и о выявленных несоответствиях или недостатках товаров незамедлительно письменно уведомить поставщика ООО «Все для праздника».

В случае получения поставленных товаров от транспортной организации покупатель (получатель) обязан проверить соответствие товаров сведениям, указанным в транспортных и сопроводительных документах, а также принять эти товары от транспортной организации с соблюдением правил, предусмотренных законами и иными правовыми актами, регулирующими деятельность транспорта.

Покупатель ООО «Эдрейс» оплачивает поставляемые товары с соблюдением порядка и формы расчетов, предусмотренных договором поставки. Если соглашением сторон порядок и форма расчетов не определены, то расчеты осуществляются платежными поручениями.

Если договором поставки предусмотрено, что оплата товаров осуществляется получателем ООО «Эдрейс» и последний неосновательно отказался от оплаты либо не оплатил товары в установленный договором срок, поставщик ООО «Все для праздника» вправе потребовать оплаты поставленных товаров от покупателя.

Договор поставки, в котором определены и достигнуты порядок и условия, необходимые для реализации мероприятия представлен в приложении Ж.

Договор подряда.

Догоаор подряда - это соглашение, согласно которому одна сторона (подрядчик) ООО «Ипрес» обязуется выполнить по заданию другой стороны (заказчика) ООО «Здрейс» определенную работу и сдать ее результат заказчику, а заказчик в свою очередь обязуется принять результат работы и оплатить его. Договор подряда заключается на изготовление или переработку (обработку) вещи либо на выполнение другой работы с передачей ее результата заказчику. По договору подряда, заключенному на изготовление вещи, подрядчик передает права на нее заказчику. Если иное не предусмотрено в договоре подряда, то работа полностью выполняется подрядчиком - из его материалов, его силами и средствами.

Предметом договора подряда будет являться изготовление объемных рекламных наклеек. Обязанность подрядчика - выполнить по заданию заказчика такую работу и сдать ее результат. Заказчик же должен, в свою очередь, принять и оплатить указанную работу

Предмет договора является существенным условием, и он обязательно должен быть определен. Не менее важными положениями такого соглашения считаются срок и цена. Для подряда срок - существенное условие, и, если сторонам не удалось прийти к соглашению по этому пункту, договор признается незаключенным. Промежуточные сроки относятся к числу факультативных условий договора и могут быть установлены по соглашению сторон. Ответственность за их несоблюдение несет подрядчик, если иное не установлено договором.

Цена работ по данному договору подряда указывается в самом тексте и должна быть твердой.

Договор подряда, в котором определены и достигнуты порядок и условия, необходимые для реализации мероприятия представлен в приложении З.

маркетинговый коммуникация реклама

Заключение

В результате проведенной работы, поставленные цели и задачи выполнены. Были изучены теоретические основы стратегического планирования и маркетинговых коммуникаций. При помощи PEST и SWOT-анализов выявлены факторы, влияющие на агентство положительным и отрицательным образом, определены возможности и угрозы деятельности агентства.

К сильным сторонам относятся: постоянная клиентская база, широкий спектр услуг в сфере маркетинговых коммуникаций, востребованность агентства на рынке рекламных услуг, широкая база промо-персонала, удобное местоположение.

К слабым сторонам можно отнести возрастные ограничения для промо-персонала, нечеткое распределение обязанностей среди работников основного штата, отсутствие стимулирования промо-персонала, недостаточная компетентность персонала.

К возможностям были отнесены потребность в рекламных услугах в городах края, ограничение альтернативных видов рекламной деятельности, появление организаций, занимающихся тренингами, повышением квалификации кадров, потребность населения в дополнительном заработке.

Так же были выявлены угрозы: расширение спектра услуг конкурентов, снижение спроса на рекламные услуги, снижение рекламных бюджетов.

По итогам проведенного SWOT-анализа, соответственно цели данной работы в рамках совершенствования стратегии концентрированного роста, а именно, стратегии развития рынка и продукта агентства были предложены следующие мероприятия:

Расширение географии деятельности агентства за счет потребности в BTL-услугах в других городах края и благодаря широкому спектру услуг в сфере маркетинговых коммуникаций и удобному местоположению агентства (краевой центр).

Разработки новых технологий с целью повышения востребованности агентства на рынке рекламных услуг и снижение угрозы ухода клиентов к конкурентам.

Расширение спектра услуг с целью увеличения конкурентоспособности и востребованности на рекламном рынке и снижения угрозы ухода клиентов к конкурентам.

Так же, в результате использования сильных сторон для достижения целей и сглаживания угроз, а так же испрользования возможностей для усиления слабых сторон и предотвращения кризисных ситуаций, были предложены дополнительные мероприятия по повышению эффективности деятельности агентства:

Повышение квалификации основного персонала и компетенции промо-персонала за счет сотрудничества с организациями, занимающимися проведением тренингов, центрами повышения квалификации кадров.

Четкое распределение обязанностей между основным персоналом с целью повышения его работоспособности и снижения угрозы ухода клиентов к конкурентам.

Разработка методов стимулирования промо-персонала к длительному сотрудничеству с агентством.

Привлечение людей разных возрастных категорий к работе на промо-акциях с целью удовлетворения потребности населения в дополнительном заработке.

Привлечение студентов профильных специальностей к проведению маркетинговых исследований с целью повышения качества выполнения работ и удовлетворенности заказчика.

Исходя из показателей эффективности, по всем рассчитанным мероприятиям можно сделать вывод, что их внедрение в агентстве скажется положительным образом на результатах деятельности: улучшит качество и производительность труда в агентстве, увеличит работоспособность персонала, увеличит конкурентоспособность агентства на рынке рекламных услуг и увеличит прибыль, как конечную цель любой организации.

Список литературы

1.       Базарова, Т.Ю. Управление персоналом. [Текст]: учеб. пособие / Т.Ю. Базарова, Б.Л. Еремина. М.: Юнити, 2001.

.        Баринов, В.А. Стратегический менеджмент. [Текст]: учеб. пособие / В.А. Баринов, В.Л. Харченко. М.: ИНФРА-М, 2006. - 285 с.

.        Бернетт, Дж. Маркетинговые коммуникации интегрированный подход. [Текст]: учебник / Дж. Бернетт, С. Мориарти. СПб.: Питер, 2001

.        Блейк, Р.Р. Научные методы управления. [Текст]: учеб. пособие / Р.Р. Блейк, Дж.С. Мутон. Киев, 1990.

5.       Блогоиздание о маркетинге. [Эл. ресурс]: <http://b2blogger.com/research/tag/>

.        Васильев, Г.А. Основы рекламы. [Текст]: учеб. пособие / Г.А. Васильев, В.А. Поляков. М.: ЮНИТИ-ДАНА, 2006. - 719 с.

.        Виханский, О.С. Менеджмент. [Текст]: учебник / О.С Виханский. М.: Гардарики, 2000. - 296 с.

.        Зайцев, Л.Г. Стратегический менеджмент. [Текст]: учебник / Л.Г. Зайцев, М.И. Соколова. М.: Экономистъ, 2005. - 416 с.

.        Как открыть студию аэродизайна. [Текст]: Новикова Н., Устюжанина П. // Сфера влияния. 2007. №8.

.        Люкминов, А.Н. Стратегический менеджмент. [Текст]: учеб. пособие / М.: ЮНИТИ-ДАНА, 2000, - 375 с.

.        Маленков, Ю.А. Стратегический менеджмент. [Текст]: учебник / Ю.А. Маленков. М.: Проспект, 2008. - 224 с.

.        Мескон, М. Основы менеджмента. [Текст]: учеб. пособие / М. Мескон, М. Альберт, Ф. Хедоури. М,: Дело, 1998.

.        Новости гуманитарных технологий. [Эл. ресурс]: <http://gtmarket.ru/news/media-advertising-marketing/2007/04/10/776>

.        Ньюстром, Дж. В. Организационное поведение [Текст]: учеб. пособие / Дж.В. Ньюстром, В. Девис. СПб.:Питер, 2000. - 446 с.

.        Официальный сайт типографии ЕвроПресс. [Эл. ресурс]: <http://www.eapress.ru./>

.        Официальный сайт рекламного агентства «Промокоманда». [Эл. ресурс]: www.promokomanda.ru/ <http://www.promokomanda.ru/>

.        Официальный сайт рекламного агентства «Магистраль». [Эл. ресурс]: www.ra-ma.info <http://www.ra-ma.info>

.        Официальный сайт НОУ «Школа антропоники». [Эл. ресурс]: <http://biz.antroponika.ru/>

.        Панкрухин, А.П. Стратегическое управление. [Текст]: учебник / А.П. Панкрухин. М.: Омега-Л, 2008. - 464 с.

.        Рекламный консалтинг. [Текст]: Катернюк А.В. // Маркетинг услуг. 2008. №02(14).

.        Ромат, Е.В. Реклама. [Текст]: учебник / Е.В. Ромат. СПб.: Питер, 2003. - 544 с.

.        Спивак, В.А. Организационное поведение и управление персоналом [Текст]: учеб. пособие / В.А. Спивак. СПб.: Питер, 2000. - 428 с.

.        Типовой бланк договора возмездного оказания услуг. [Эл. ресурс]: <http://msk.treko.ru/show_dict_1424>

.        Типовой бланк договора поставки. [Эл. ресурс]: <http://www.bddo.ru/dog_29_17.htm>

.        Томпсон, А. Стратегический менеджмент: концепции и ситуации для анализа. А. Томпсон, Дж. Стрикленд. М.: Вильямс, 2006. - 928 с.

.        Тренев, Н.Н. Стратегическое управление. [Текст]: учеб. пособие / Н.Н. Тренев. М.: ПРИОР, 2000. - 288 с.

.        Фатхутдинов, Р.А. Стратегический менеджмент. [Текст]: учебник / Р.А. Фатхутдинов. М.: Дело, 2008. - 448 с.

.        Федеральный закон «О рекламе» от 13.03.2006 N 38-ФЗ. [Эл. ресурс]: <http://www.consultant.ru/popular/advert/26_1.html>

.        Холл, Р.Х. Организация: структура, процессы, результаты [Текст]: учеб. пособие / Р.Х. Холл. Питер, 2001. 396 с.

.        Центр информационных инноваций. [Эл. ресурс]: <http://www.bp-arkadia.ru/publication13.htm>

Приложение В

Прайс фирм, занимающихся аэродизайном

 Фирма   Услуга

Сюрприз

Торжество

Радуга

Эверант

Вечеринка плюс

Каприз

Все для праздника

Среднее

 

Цена (руб)

Цена (руб)

Цена (руб)

Цена (руб)

Цена (руб)

Цена (руб)

Цена (руб)

Цена(руб)

Цена (руб)

Витая гирлянда, 1 м (28 шаров)

200

168-192

 

300

180-200

 

 

140 - 350

218

Витая гирлянда, 1 м (48 шаров)

250

 

250

 

от 200

 

300



Гелиевая арка, 1 м

130

 

120

от 100

от 100

 

 



Арка из воздушных шаров на каркасе


 

 

 

250

 

 



Гелиевая арка, 1 м с HiFloat

160

 

 

 

 

 

 



Шар (гелий)

20

22

 

 

20

25

35

20

24

Шар (гелий) с HiFloat

25

32

 

 

25

 

 

 

27

Шар с рисунком (гелий)

25

 


от 20

16

 

 

 

21

Шар с рисунком (гелий) с HiFloat

30

 

 

 

 

 

 

 

30

Один шар с воздухом размером 12" - 30 см.

10

6

 

 

 

10

25

 

13

Один шар с гелием размером 14" - 35 см.

 

45

 

 

 

 

 

 

45

Один шар с гелием размером 16" - 40 см.

 

80

 

 

 

 

 

 

80

Один шар с гелием размером 36" - 90 см.

 

150

 

 

 

 

 

 

150

Один шар для декорирования длиной 1,5 м.

 

10

 

 

 

 

 

 

10

Фольгированный шар, 18 дюймов (гелий)

80

 

 

 

от 100

90

нет

60 -350

140

Фольгированный шар, 30 дюймов (гелий)

350

 

 

 


 




Фольгированный шар, 18 дюймов (воздух)

40

 

 

 

 

 




Фонтан, 5 шаров, низкое основание

200

 

 

 

250

 

 

 

225

Фонтан, 5 шаров, низкое основание с HiFloat

230

 

 

 

 

 

 

 

230

Фонтан, 5 шаров, высокое основание

300

302

 

320

400

 

 

 

331

Фонтан, 5 шаров, высокое основание с HiFloat

340

 

 

341

 

 

 

 

341

Облако

120

 

 

 

 

 

 

 

120

Фигура из воздушных шаров от

1000

 

1000 - 2500

от 1000

700

 

 

 

1240

Буква, цифра из в/ш 1 м*1,3 м

800

 

 

от 1000

от 1000

 

 

 

933

Запуск шаров (минимум 200 шт.) от

3000

2 500-20 000

 

 

от 2000

 

 

 

2500

Сброс шаров (минимум 200 шт.)от

1800

3 500-10 000

6 000

 

от 3000

 

 

 

3575

Панно из в/ш за 1 кв.м.

1000

532-651

 

от 1000

от 800

 

 

 

833

Упаковка подарка в воздушный шар от

100

 

 

 

 

 

 

 

100

Цветок одинарный (гелий)

260

 

150

 

 

 

 

 

205

Цветок одинарный (гелий) с HiFloat

280

 

 

 

 

 

 

 

280

Цветок тройной (гелий)

600

 

 

 

 

 

 

 

600

Цветок тройной (гелий) с HiFloat

720

 

 

 

 

 

 

 

720

Взрыв шара (зависит от наполнения) от

1000

 

 

 

 

 

 

 

1000

Гирлянда из шаров «линкин» 1м, от

60

66

150

 

 

 

 

 

92

Шар 1м с логотипом или надписью (гелий)

800

 


 

 

 

 

 

800

Шар 1м с логотипом или надписью (гелий) с HiFloat

1000

 

 

 

 

 

 

1000

Цветок из 9 шаров

60

 

 

от 100

 

 

 

 

80

Цифра фольгированная (гелий)

700

700

 

 

 

 

 

 

700

Цифра фольгированная (воздух)

400

 

 

300

 

 

 

 

350

Сердце

1300

 

1500

от 1000

1400

 

 

 

1300

Сердце двойное

2400

 

 

от 1000

2900

 

 

 

2100

Сердце на каркасе

 

1000 - 2000

 

от 1000

 

 

 

 

2000

Сердце,звезда фольга с гелием

 

100-200

 

150-300

 

 

 

 

187

Салютики из 5 гелиевых шаров на стол

 

116

 

 

 

 

 

 

116

Солнышко

 

500

 

 

 

 

 

 

500

Подборка логотипа

 

600

 

 от 1000

 

 

 

 

800

Скидки РА

 

 

 

 

 

 

 

15%

 


Приложение Г

Наличие и стоимость гелия у фирм, занимающихся аэродизайном

ГЕЛИЙ

Фирма

Наличие гелия в продаже

Объем баллона (Литр)

Цена за баллон

Стоимость аренды баллона (руб/сутки)

Стоимость залога за 1баллон

Дополнительная информация

Торжество

нет

 

 

 

 

 

Эверант

нет

 

 

 

 

 

Сюоприз

нет

 

 

 

 

 

Каприз

нет

 

 

 

 

 

Маэстро

нет

 

 

 

 

 

Мир шаров

нет

 

 

 

 

 

Праздничный центр

нет

 

 

 

 

 

Малина

нет

 

 

 

 

 

Корпорация веселья

нет

 

 

 

 

 

Медовый месяц

нет

 

 

 

 

 

Орбита счастья

нет

 

 

 

 

 

Праздник

нет

 

 

 

 

 

Аэродизайн

да

40

3200

100

4500

 

Все для праздника (Мастерская Шоу Технологий)

да

40

2800

100

4700

+15% скидка для РА

Пик

да

40/10

2800/1500

100

4500

 

Шарикофф

да

40

3200

150

10000

 



Приложение Д

Цены на услугу аэродизайна в агентстве «Промокоманда»

Вид услуги

Стоимость

Витая гирлянда, 1 м (28 шаров)

200

Витая гирлянда, 1 м (48 шаров)

250

Гелиевая арка, 1 м

130

Гелиевая арка, 1 м с HiFloat

160

Шар (гелий)

20

Шар (гелий) с HiFloat

25

Шар с рисунком (гелий)

25

Шар с рисунком (гелий) с HiFloat

30

Шар (воздух)

10

Фольгированный шар, 18 дюймов (гелий)

80

Фольгированный шар, 30 дюймов (гелий)

350

Фольгированный шар, 18 дюймов (воздух)

40

Фонтан, 5 шаров, низкое основание

200

Фонтан, 5 шаров, низкое основание с HiFloat

230

Фонтан, 5 шаров, высокое основание

300

Фонтан, 5 шаров, высокое основание с HiFloat

340

Облако

120

Фигура из воздушных шаров от

1000

Буква, цифра из в/ш 1 м*1,3 м

800

Запуск шаров (минимум 200 шт.) от

3000

Сброс шаров (минимум 200 шт.)от

1800

Панно из в/ш за 1 кв.м.

1000

Упаковка подарка в воздушный шар от

100

Цветок одинарный (гелий)

260

Цветок одинарный (гелий) с HiFloat

280

Цветок тройной (гелий)

600

Цветок тройной (гелий) с HiFloat

720

Взрыв шара (зависит от наполнения) от

1000

Гирлянда из шаров «линкин» 1м, от

60

Шар 1м с логотипом или надписью (гелий)

800

Шар 1м с логотипом или надписью (гелий) с HiFloat

1000

Цветок из 9 шаров

60

Цифра фольгированная (гелий)

700

Цифра фольгированная (воздух)

400

Сердце

1300

Сердце двойное

2400



Приложение Е

ДОГОВОР №_______

возмездного оказания консультационных услуг

Город Красноярск « 1 » июня 2009 г.

НОУ «Школа антропоники», именуемый в дальнейшем Исполнитель, в лице директора Миркес Марии Моисеевны, действующего на основании Устава, с одной стороны, и ООО «Эдрейс», именуемое в дальнейшем Заказчик, в лице Генерального директора Быковой Ольги Владимировны, действующего на основании Устава, с другой стороны, заключили настоящий Договор о нижеследующем:

Предмет Договора

.1. Заказчик поручает, а Исполнитель принимает обязательства на оказание консультационных услуг по вопросу организации и проведения семинара «Среднее звено в управлении», тренинга «Штабное учение» представителям Заказчика, именуемым в дальнейшем Слушателями.

.2. Место оказания консультационных услуг: город Красноярск; пр. Мира, 30.

.3. Срок оказания консультационных услуг: с 1 июня 2009 по 1июня 2010 г.;

.4. Общая продолжительность оказания консультационных услуг: 1 год;

Права и обязанности сторон

Исполнитель обязуется:

Предоставить Заказчику по электронной почте план (программу) оказываемых консультационных услуг в срок не позднее 1 мая 2009 г.

Оказать в городе Красноярске в собственных помещениях консультационные услуги в устной форме.

Предоставить на срок, указанный в п. 1.3. настоящего Договора, помещение в городе Красноярске для оказания консультационных услуг Слушателям. В помещении должны быть: школьная доска и/или флипчарт с исправными фломастерами 4-х цветов; электропитание 220 В и удлинитель; звукоусиливающая аппаратура и микрофон; стулья, столы, блокноты и ручки для Клиентов.

Заказчик обязуется:

Оплатить услуги Исполнителя согласно раздела 3 настоящего Договора.

Цена и расчеты

.1.За оказание услуг по договору подряда заказчик обязуется перечислить на расчетный счет исполнителя плату в размере 44400 (сорок четыре тысячи четыреста) рублей, 00 коп. в течение 3 дней после выполнения обязательств исполнителем.

Срок действия Договора

Договор вступает в силу с момента его подписания и прекращает свое действие после выполнения Сторонами взятых на себя обязательств.

Порядок сдачи-приемки работы

Оказание услуг по настоящему Договору фиксируется в Акте, который должен быть подписан обеими Сторонами не позднее последнего дня оказания консультационных услуг в городе Красноярске по адресу пр. Мира, 30.

Ответственность сторон

За нарушение условий настоящего Договора Стороны несут ответственность в соответствии с действующим законодательством РФ.

Стороны освобождаются от ответственности за частичное или полное неисполнение обязательств по настоящему Договору, если это неисполнение явилось следствием обстоятельств непреодолимой силы, возникших после заключения Договора в результате задержки авиарейсов или поездов, событий чрезвычайного характера, которые участник не мог предвидеть, ни предотвратить разумными мерами (форс-мажор). К таким событиям чрезвычайного характера относятся стихийные бедствия, военные действия, акты органов государственной власти и управления.

Стороны не несут ответственности за расходы друг друга.

Изменение и расторжение Договора.

Все исправления и дополнения к настоящему Договору действительны только в том случае, если они принимаются по согласованию Сторон и совершены в письменном виде.

Заключительные положения Договора

Все споры и разногласия, возникающие по настоящему Договору или в связи с ним, разрешаются путем переговоров между Сторонами.

По всем вопросам, связанным с исполнением настоящего Договора, Стороны руководствуются действующим законодательством РФ.

Настоящий Договор составлен на трех страницах, в двух экземплярах, по одному для каждой Стороны.

Адреса и банковские реквизиты Сторон

Заказчик:


Исполнитель:

ООО «Эдрейс»

660099, г. Красноярск ул. Железнодорожников, 22А


Адрес: 660049, г. Красноярск, пр. Мира, 30.

Р/с: 40702810803000001876


Р/с:568702810803000001756

К/с: 30101810200005776844


К/с:30101810200000000954

БИК: 040407777


БИК: 040408954

ИНН: 2465069344


ИНН: 246521542

КПП: 246501001


КПП: 246501021

ОАО Росбанк в г. Красноярске


АКБ Связь-Банк в г. Красноярске

ОКВЭД: 54465


ОКВЭД: 54768

Тел.: (3912) 65 43 62


Тел. (3912) 536-739

Факс: (3912) 98 46 56


Факс: (3912) 536-739



Приложение Ж

Договор поставки № ___

Красноярск «13» июня 2009 г.

ИП Дорохова Евгения Анатольевна, именуемая в дальнейшем «Поставщик», в лице Генерального директора Дороховой Евгении Анатольевны, действующего на основании Устава, с одной стороны, и ООО «Эдрейс», в лице генерального директора Быковой Ольги Владимировны, действующего на основании лицензии Устава, именуемое в дальнейшем «Покупатель», с другой стороны, заключили настоящий договор о нижеследующем:

Предмет договора

.1.Поставщик обязуется поставить, а Покупатель обязуется принять и оплатить следующий Товар

Оборудование (компрессор, калибратор, шуруповерт, 4 баллона)

40000

Обучающее видео

1000

Шары основных цветов (белый, синий, красный, золотой, розовый, серебро) 2000 шт.

30000

Шары других цветов1000 шт.

15000

Фольгированные шары 150 шт

15000

Гелий для 4 баллона

10000

Hi-Float (силиконовый материал: шары держатся в 2-3раза дольше)

2000


Сумма договора и порядок расчетов.

Сумма настоящего Договора составляет 113000 (сто тринадцать тысяч) рублей 00 копеек, в том числе НДС 18% в размере 20340 (двадцать тысяч триста сорок) рублей 00 коп.

Стороны оговорили следующий порядок расчетов:

% стоимости Товара, что составляет 56500 (пятьдесят шесть тысяч пятьсот) рублей 00 коп. в т.ч. НДС 18%, перечисляется Покупателем на расчетный счет Поставщика в течение 3 (Трех) банковских дней со дня заключения настоящего Договора;

% стоимости Товара, что составляет 56500 (пятьдесят шесть тысяч пятьсот) рублей 00 коп. в т.ч. НДС 18%, перечисляется Покупателем на расчетный счет Поставщика в течение 3 (Трех) банковских дней с момента официального уведомления о готовности Товара к отгрузке.

Покупатель официально (факсом, телетайпом, телексом) уведомляет Поставщика об оплате.

Днём оплаты продукции считается день зачисления денежных средств на расчётный счёт Поставщика.

Оплата по договору осуществляется согласно счету Поставщика № 35 от «14» сентября 2009 г., который является неотъемлемой частью настоящего Договора. Оплата счёта означает согласие Покупателя с условиями настоящего договора.

Права и обязанности сторон.

Покупатель обязуется:

Произвести оплату за Товар в соответствии с разделом 2 настоящего договора.

Передать Поставщику подписанный договор не позднее семи дней с даты подписания Договора.

Принять Товар не позднее 5 (Пяти) рабочих дней с момента уведомления о готовности к отгрузке.

Покупатель приобретает Товар для использования в предпринимательской деятельности или в иных целях, не связанных с личным, семейным, домашним или иным подобным использованием.

Поставщик обязуется:

Передать Товар в соответствии со счётом № 35 от «14» сентября 2009 г.

Передать Товар свободный от любых прав и притязаний третьих лиц.

Сообщить о готовности Товара к отгрузке по телефону или факсу, указанному Покупателем в настоящем Договоре.

Порядок поставки и приёмки товара.

Поставка Товара должна быть произведена в срок не позднее 7 (семи) рабочих дней с момента поступления денежных средств на расчетный счет Поставщика согласно п. 2.2.1 настоящего Договора. Срок поставки может измениться путём подписания сторонами дополнительного соглашения к настоящему договору.

Отгрузка Товара Покупателю осуществляется на условиях самовывоза со склада Поставщика по адресу: г. Красноярск, пр. Свободный, 48. Погрузка Товара осуществляется исключительно в открытый бортовой транспорт (при этом борта должны откидываться, тент и стойки сниматься). В случае несоответствия автотранспорта Покупателя требованиям настоящего пункта, Поставщик вправе отказаться от погрузки, при этом Покупатель не вправе предъявлять к Поставщику штрафные санкции.

Передача (отгрузка) осуществляется при условии 100 % оплаты Товара Покупателем согласно п.2.2 настоящего Договора. В случае невыполнения или ненадлежащего выполнения Покупателем платежных обязательств, отгрузка Товара приостанавливается до момента их выполнения, а срок поставки соизмеримо автоматически увеличивается.

Покупатель (либо его представитель) должен произвести приёмку Товара в момент его получения. Одновременно с передачей Товара Покупателю, осуществляется передача всех принадлежностей и документов, а также осуществляется приемка Товара Покупателем по количеству, качеству, комплектности. Факт указанной приемки, а также отсутствие замечаний к количеству, качеству, комплектности (включая комплектность прилагаемых документов), подтверждается подписанием накладной (по форме № ТОРГ-12) лицом, получающим Товар от имени Покупателя. При выявлении в ходе приемки несоответствия Товара требованиям договора по качеству, количеству или комплектности составляется акт с перечнем необходимых допоставок и сроков их исполнения.

Право собственности на Товар переходит к Покупателю в момент его передачи (отгрузки) и подтверждается оформлением передаточных документов (накладной).

По согласованию с Покупателем отгрузка может быть осуществлена по частям по мере готовности.

Ответственность сторон.

При просрочке выполнения Поставщиком своих обязательств по передаче Товара, на срок более 10 (Десяти) календарных дней, Покупатель может требовать уплаты пени в размере 0,01 % за каждый день просрочки от фактически оплаченной стоимости недопоставленного Товара, но не более 3 % от стоимости Товара.

При просрочке выполнения Покупателем своих обязательств по оплате Товара, Поставщик может потребовать уплаты пени в размере 0,01 % от не произведённой в срок оплаты, но не более 3 % от стоимости Товара.

За невыполнение или ненадлежащее выполнение обязательств по настоящему договору, за исключением условий оговоренных в п.п. 5.1, 5.2, стороны несут ответственность в соответствии с действующим законодательством. Указанная в п.п. 5.1, 5.2 неустойка является исключительной.

В случае обнаружения Покупателем недостатков или дефектов Товара вызов представителя Поставщика является обязательным. В случае неявки представителя Поставщика в течение 10 (Десяти) рабочих дней с момента вызова, Покупатель имеет право вызвать эксперта независимой организации для проведения экспертизы и составления акта.

Замена Товара на Товар надлежащего качества производится только после возврата Покупателем забракованного Товара в течение 50 (Пятидесяти) рабочих дней с момента его получения.

Любые другие претензии, такие как претензии об убытках или косвенных убытках исключаются.

Обстоятельства непреодолимой силы.

Ни одна из сторон не будет нести ответственности за полное или частичное невыполнение любого из своих обязательств, если их невыполнение будет являться следствием таких обстоятельств, как наводнение, пожар, землетрясение и другие стихийные бедствия, война или военные действия, общественные волнения и беспорядок, возникшие после заключения договора, принятие актов высшими органами власти и управления. Если любое из этих обстоятельств непосредственно повлияло на исполнение обязательств в срок, установленный в договоре, то этот срок соизмеримо отодвигается на время действия соответствующего обстоятельства.

Сторона, у которой возникли такие обстоятельства, обязана в 5-ти дневный срок известить другую сторону о наступлении таких обстоятельств.

Заключительные положения.

Настоящий договор вступает в силу с момента его подписания и действует до надлежащего выполнения Сторонами всех принятых на себя договорных обязательств. Любые изменения или дополнения к настоящему договору действительны, если они совершены в письменном виде и подписаны обеими Сторонами.

Все споры и разногласия, возникшие из настоящего договора или в связи с ним, подлежат рассмотрению в Арбитражном суде по месту нахождения ответчика. До обращения в суд, обязательным является направление претензии со сроком ее рассмотрения не менее 20 (Двадцати) рабочих дней с момента получения.

Настоящий договор составлен на 6 (шести) страницах в двух экземплярах, имеющих равную юридическую силу, по одному экземпляру для каждой из сторон. Покупатель обязан передать второй экземпляр Договора Поставщику под роспись или с почтовым уведомлением о вручении до момента отгрузки. В случае отсутствия оригинала Договора до момента отгрузки Товара, Поставщик вправе задержать отгрузку до момента предоставления Покупателем подписанного оригинала Договора без наступления штрафных санкций.

Факсимильные копии Договора, протокола разногласий, изменений и дополнений к договору имеют юридическую силу до момента обмена оригиналами.

Товар отгружается Покупателю (либо его представителю) при наличии подлинника правильно оформленной доверенности. В случае отсутствия у Покупателя (либо его представителя) оригинала (подлинника) доверенности отгрузка Товара не осуществляется и штрафные санкции за срыв сроков поставки на Поставщика не налагаются.

Адреса и банковские реквизиты сторон

Покупатель:

Поставщик:

ООО «Эдрейс»

ИП Дорохова Евгения Анатольевна

660099, г. Красноярск ул. Железнодорожников, 22А

660028, г. Красноярск, пр. Свободный, 48

Р/с: 40702810803000001876

Р/с: 40702810803000001757

К/с: 30101810200005776844

К/с: 30101810200000000777

БИК: 040407777

БИК: 040407777

ИНН: 2465069344

ИНН: 2465069344

КПП: 246501001

КПП: 246501001

ОАО Росбанк в г. Красноярске

ОАО Росбанк в г. Красноярске

ОКВЭД: 54465

ОКВЭД: 54423

Тел.: (3912) 654362

Тел.: (3912) 674515

Факс: (3912) 984656

Факс: (3912) 283101



Приложение З

ДОГОВОР ПОДРЯДА № ___

на выполнение работ по производству продукции

г. Красноярск     "12" мая 2009 г.

ООО «ЕвроПресс», именуемое в дальнейшем "Подрядчик", в лице директора Павлова Николая Петоровича, действующего на основании Устава, с одной стороны и ООО «Эдрейс», именуемое в дальнейшем "Заказчик" в лице генерального директора Быковой Ольги Викторовны, действующего на основании Устава, с другой стороны, заключили настоящий договор о нижеследующем:

Общие условия договора

.1.Заказчик поручает, а Подрядчик изготавливает продукцию

Наименование продукции

Объем выпуска в натур, ед.

Цена продукции, руб.

Стоимость для агентства, руб.

1.Объемные наклейки тиража А

400

250

100000

2. Объемные наклейки тиража Б

300

250

75000

3. Объемные наклейки тиража В

200

250

50000

4. Объемные наклейки тиража Г

100

250

25000

Итого

1000

-

250000


Подрядчик изготавливает продукцию своими силами и средствами из материала из собственного материала. Заказчик обязуется принять и оплатить выполненную работу.

.2. Срок действия договора с 1 мая 2009 по 1 июня 2009 г.

. Права и обязанности сторон:

.1. Изготовленную продукцию Подрядчик передает на территории своего предприятия 1 июня 2009г.

.2. Вывоз продукции с предприятия Подрядчика осуществляется Заказчиком самостоятельно со склада Подрядчика по адресу г. Красноярск, ул. Каратанова,11.

.3. Сдача-приемка изготовленной продукции оформляется актом, подписываемым представителями сторон.

Цена продукции, порядок расчетов

.1. Цена продукции составляет 250000 (двести пятьдесят тысяч) рублей 00 коп., и отражается в акте сдачи-приемки выполненных работ.

.2. Деньги за выполненную работу перечисляются платежным поручением на расчетный счет Подрядчика в течение 3 дней после подписания акта сдачи-приемки выполненных работ.

Ответственность сторон

.1.В случае нарушения Подрядчиком срока сдачи продукции он уплачивает Заказчику за каждый день просрочки пеню в размере 0.5% стоимости работ (включая стоимость материала), а если работа не окончена по истечении 2-х недель со дня наступления срока исполнения заказа, Подрядчик уплачивает Заказчику, кроме начисленной пени, неустойку в размере 15% стоимости заказа.

.2. При просрочке принятия Заказчиком продукции он уплачивает Подрядчику пеню в размере 0,5% стоимости работ (включая стоимость материала) за каждый день просрочки, а в случае просрочки свыше 30 дней - неустойку в размере 15% стоимости заказа (включая стоимость материала). Если в период просрочки Заказчика изготовленная продукция оказалась на предприятии Подрядчика испорченной или уничтоженной по причинам, не зависящим от Подрядчика (пожар и т.д.), то риск случайной гибели падает на Заказчика, который обязан возместить понесенный Подрядчиком ущерб.

.3. Проверка качества изготовленной продукции производится Заказчиком при ее сдаче-приемке, фиксируемой в двустороннем акте, подписываемом представителями сторон. При обнаружении в последующем скрытых недостатков они актируются созданной для этой цели комиссией с вызовом представителя Подрядчика. Такой акт может быть составлен не позже одного месяца со дня получения Заказчиком продукции.

.4. В случае несвоевременной оплаты выполненного заказа Заказчик уплачивает Подрядчику штраф в размере 5 % от стоимости заказа за каждый день просрочки.

Юридические адреса и банковские реквизиты сторон

Заказчик:

Подрядчик:

ООО «Эдрейс»

ООО «ЕвроПресс»

660099, г. Красноярск ул. Железнодорожников, 22А

660049, г. Красноярск, ул. Каратанова, 11

Р/с: 40702810803000001876

Р/с: 40702810100380901442

К/с: 30101810200005776844

К/с: 30101810900000000941

БИК: 040407777

БИК: 040407941

ИНН: 2465069344

ИНН 2466212780

КПП: 246501001

КПП 246601001

ОАО Росбанк в г. Красноярске

НБ "ТРАСТ" ОАО в г.Красноярске

ОКВЭД: 54465

ОКВЭД: 54423

Тел.: (3912) 654362

Тел.: (3912) 12-51-75

Факс: (3912) 984656

Факс: (3912) 12-51-75


Похожие работы на - Совершенствование стратегии предприятия в сфере маркетинговых коммуникаций на примере ООО 'Эдрейс', г. Красноярск

 

Не нашли материал для своей работы?
Поможем написать уникальную работу
Без плагиата!
Без нейросетей!