Теоретические инженерные основы получения пенополиуретана

  • Вид работы:
    Дипломная (ВКР)
  • Предмет:
    Другое
  • Язык:
    Русский
    ,
    Формат файла:
    MS Word
    682,39 Кб
  • Опубликовано:
    2012-10-24
Вы можете узнать стоимость помощи в написании студенческой работы.
Помощь в написании работы, которую точно примут!

Теоретические инженерные основы получения пенополиуретана

Аннотация


В данной работе рассмотрены теоретические инженерные основы получения пенополиуретана. Рассмотрена реакция полимеризации оксида пропилена с получением полиоксипропилена. Для процесса описан механизм и рассчитаны термодинамические параметры. В работе сделан выбор типа реактора, осуществлены расчеты материального и теплового балансов, рассчитан объем реактора и его поверхность теплообмена. Процесс производства полиоксипропилена представлен технологической схемой.

Введение

Современная химическая промышленность является важнейшей отраслью тяжелой индустрии, она в значительной мере определяет технический прогресс и темпы развития народного хозяйства.

Производство полимерных материалов принадлежит к числу наиболее бурно развивающихся отраслей химической промышленности. Полимерные материалы превратились в незаменимые материалы, используемые во многих областях техники и производстве предметов бытового назначения. Без использования полимерных материалов не могут существовать в современном мире электро- и радиотехника, авиа- и ракетостроение, строительная техника и химическая промышленность, приборостроение, сельское хозяйство и т.д. [1, с.27].

Полиуретаны - перспективные полимеры, относящиеся к группе среднетоннажных. Среди них ведущее положение (80-90% от всех видов полиуретановых материалов) занимают пенополиуретаны. [2, с.306].

История возникновения полиуретанов началась в 30-е годы, когда Карозерс (США) провел исследования по синтезу полиамидов. В 1947 году всемирно известный ученый Байер с сотрудниками синтезировали полиуретановые эластомеры взаимодействием диизоцианатов с различными гидроксилсодержащими соединениями. Затем на основе этих композиций они получили жесткие пенополиуретаны. Работы того периода преследовали цель заменить полиуретанами такие стратегические материалы, как натуральный каучук, сталь, пробку. С того времени эта область химии полимеров развивалась бурными темпами. В СССР исследования в этом направлении начаты в 60-х годах. Велись работы в институтах АН СССР, в ряде вузов и НИИ.

Пенополиуретаны являются универсальным материалом: на их основе изготавливают эластичные, полужесткие и жесткие материалы. Их перерабатывают практически всеми существующими технологическими методами: экструзией, прессованием, литьем, заливкой на стандартном оборудовании. На их основе получают все известные типы полимерных материалов и изделий: наполненные, армированные, вспененные, ламинированные, листовые, в виде плит, блоков, профилей, панелей, волокон, пленок. Изделия из пенополиуретана могут быть как прозрачные, так и окрашенные в разнообразные цвета.

В работе будет рассмотрена технология производства полиоксипропилена марки Лапрол 373 методом полимеризации оксида пропилена, который является одним из основных исходных соединений при синтезе пенополиуретанов.

Для решения заданной цели будут выполнены следующие задачи:

1). анализ литературных данных для рассмотрения основных физических и химических свойств полимера;

2). термодинамический анализ основной реакции для вычисления предельной температуры полимеризации и основных термодинамических функций в заданном интервале температур;

). составление материального баланса по заданной производительности для определения объема реактора; определение тепловой нагрузки на реактор и расчет поверхности теплообмена;

). выбор типа реактора для проведения периодического процесса полимеризации;

). рассмотрение структурно-функциональной схемы получения продукта.

1. Анализ литературных источников

1.1 Исходные соединения для синтеза пенополиуретана

Для получения полиуретанов, как правило, необходимы три основных компонента: изоцианат, олигодиол и удлинитель цепи или сшивающий агент.

1.1.1 Изоцианаты

Первый органический изоцианат был синтезирован Вюрцем в 1849 году реакцией органических сульфатов с солями циановой кислоты:

RSO4 + 2RNCO → 2RNCO +K2SO4

Позже строение веществ, синтезированных Вюрцем, подтвердил Готье, получив изоцианаты при окислении соответствующих изоцианидов окисью ртути:

R-N=C + HgO → R-N=C=O + Hg

С тех пор были разработаны несколько методов, среди которых промышленное распространение получил метод, основанный на реакции взаимодействия первичного амина с фосгеном:


Реакция не столь проста и усложняется множеством побочных реакций. Особенности ее протекания были изучены, в результате чего разработаны технологические условия, обеспечивающие высокий выход изоцианата. Например, схема промышленного получения 4,4'-дифенилметандиизоцианата выглядит следующим образом:






Рисунок 1.1 - Схема получения дифенилметан-4,4’-диизоцианата

В лабораторных условиях для синтеза изоцианатов часто используют различные реакции, протекающие с перегруппировками. Эти реакции (азидов кислот по Курциусу, амидов по Гофману и гидроксамовых кислот по Лоссену), видимо, проходят через стадию внутримолекулярной перегруппировки с образованием изоцианата:


Перечисленные реакции, а также другие бесфосгенные методы получения изоцианатов (карбонилирование ароматических нитросоединений, термическое разложение фуроксанов и аминамидов), являются очень дорогими и не могут составить конкуренцию методу фосгенирования.

.1.2 Олигополиолы

В качестве олигодиолов на практике в основном применяют простые и сложные олигоэфиргликоли. Из простых олигоэфиргликолей наибольшее практическое применение получили олигооксипропилен- и олигоокситетраметиленгликоли. Олигооксипропиленгликоль получают полимеризацией оксида пропилена, а олигоокситетраметиленгликоль - полимеризацией тетрагидрофурана в присутствии катализаторов типа кислот Льюиса и триалкилоксониевых солей по следующим схемам:


Применяют также сополимер тетрагидрофурана с оксидом пропилена. Отметим, что олигоокситетраметиленгликоль часто называют полифуритом, что связано с названием используемого для его синтеза тетрагидрофурана.

Из сложных олигоэфиров для получения полиуретанов чаще всего применяют адипиновую кислоту, фталевый ангидрид, димеризованную линолевую кислоту, различные гликоли (этилен-, пропилен-, бутилен-, диэтиленгликоли) и триолы (глицерин, триметилолпропан, триметилолэтан). Синтез их протекает по схеме:

(n+1) HO-R-OH + n HOOCR’COOH →

→ HO-[-ROOCR’COO-]n-H

.1.3 Катализаторы

.1.3.1 Третичные амины. Амины являются единственным катализатором, применяемым для получения эластичных пенополиуретанов по одностадийному способу с использованием сложных полиэфиров с концевыми первичными гидроксильными группами и по форполимерному методу с использованием простых или сложных полиэфиров. Они ускоряют реакции взаимодействия изоцианатов и с водой, и с гидроксилсодержащими соединениями.

Строение третичного амина оказывает большое влияние на его активность в процессе получения пены. Эффективность катализатора обычно возрастает с ростом основности амина и с уменьшением пространственных препятствий у атома азота [3, с. 287].

Третичные амины обеспечивают удовлетворительное вспенивание систем с относительно высокой начальной вязкостью как по одностадийному методу с использованием сложных полиэфиров, так и по форполимерному - с применением простых полиэфиров. Однако амины не являются подходящими катализаторами для получения эластичных пен из простых полиэфиров в основном потому, что эти полиэфиры имеют низкую вязкость и отчасти потому, что большинство выпускаемых промышленностью простых полиэфиров, наиболее подходящих для получения пен, имеют вторичные гидроксильные группы.

1.1.3.2 Соединения олова. Многие соединения олова во много раз более эффективны как катализаторы реакции изоцианатов с гидроксильными группами, чем третичные амины, но они не являются сильными катализаторами реакции изоцианатов с водой в пене. Таким образом, соединения олова можно использовать для ускорения реакции между изоцианатом и простым полиэфиром, чтобы вязкость массы быстро увеличивалась и газ мог остаться в пене.

В отличие от многих третичных аминов, которые испаряются из пены, соединения олова остаются в ней, хотя со временем с ними могут происходить химические превращения, например гидролиз или окисление двухвалентного олова в четырехвалентное. Поэтому нужно выбирать такой катализатор, который бы не оказывал вредного влияния на пенополиуретан во время его эксплуатации.

1.1.3.3 Смешанные катализаторы. В промышленности для получения пенополиуретанов из простых полиэфиров по одностадийному методу обычно применяют смешанные катализаторы, например какое-нибудь соединение олова и один или несколько третичных аминов. Катализаторы подбирают таким образом, чтобы обеспечить определенное соотношение между реакциями изоцианата с гидроксилсодержащими полимерами и изоцианата с водой. Соединения олова регулируют в основном первую реакцию, а амины - вторую.

Применение смешанных катализаторов дает возможность избегать усадки пенопластов и образования в них пустот.

.1.4 Удлинители и сшивающие агенты цепи

В промышленности значительное развитие получил метод RIM - реакционно-инжекционного формования мономер-олигомерных композиций на литьевых машинах высокого давления. Этим методом получают обувь, резинотехнические изделия, детали автомобилей. Высокая производительность и меньшая энергоемкость делают производство полимерных изделий RIM-методом экономически более эффективным по сравнению с традиционной технологией. В качестве удлинителей цепи чаще всего применяют 1,4-бутандиол и 3,3'-дихлор-4,4'-диамино-дифенилметан (метилен-бис-о-хлоранилин).

.2 Основы синтеза пенополиуретанов

Рассмотрим реакции, которые играют особо важную роль в образовании пен.

Обычно, в процессе образования пен участвуют изоцианат, олигомер с концевыми гидроксильными группами и вода. Взаимодействие изоцианата с гидроксилсодержащим полимером приводит к образованию уретана:

RNCO + R’OH → RNHCOOR’

Реакция изоцианата с водой, в результате которой образуется мочевина, протекает с образованием промежуточного соединения - амина:

RNCO + H2O → (RNHCOOH) → RNH2 +CO2+ RNH2 → RNHCONHR

В отсутствие катализатора реакция с амином протекает достаточно быстро, так что, если смешать изоцианат с большим избытком воды, получится дизамещенная мочевина с большим выходом.

При синтезе полиуретанов в зависимости от мольного соотношения исходных компонентов образуются полимерные цепи, которые могут иметь различные концевые группы. Наличие последних приводит к реакциям удлинения цепи. Так, при взаимодействии двух молекул полиуретанов, полученных при избытке диизоцианата и имеющих концевые изоцианатные группы, с водой происходит удлинение цепи и образование макромолекул, содержащих мочевинные связи:

2 OCN~NCO + HOH → OCN~NH-CO-NH~NCO + CO2

Удлинение цепи с образованием мочевинных групп происходит также при взаимодействии аналогичных полиуретанов с диаминами:

OCN~NCO + H2NRNH2 + OCN~NCO →

→ OCN~NHCONH-R-NHCONH~NCO

Такими способами получают высокомолекулярные полиуретаны, в основной цепи которых чередуются уретановые и мочевинные группы. Отметим, что низкомолекулярные соединения (диамины, гликоли), которые приводят к удлинению макромолекул, получили название удлинителей цепи.

При получении полиуретановых материалов в основной цепи полимера могут образовываться также и другие функциональные группы. Это объясняется тем, что кроме основной, протекают и другие реакции. Так, изоцианат может реагировать с уретаном, мочевиной и амидом; при этом получаются соответственно аллофанат, биурет и ацилмочевина


О том, что биуретовые и аллофанатные связи сравнительно мало стабильны говорит то обстоятельство, что при повышенных температурах они легко разрушаются амином.

Для синтеза полиуретанов трехмерного строения используют три-, тетра- и полифункциональные соединения, содержащие несколько гидрокси- и аминогрупп (например, глицерин, пентаэритрит, диэтаноламин), или полиизоцианаты. Эти соединения одновременно выполняют роль удлинителей цепи и сшивающих агентов. Кроме того, возможно использование полифункциональных соединений, в структуре которых наряду с реакционно-способными группами присутствуют, например, амидные и мочевинные группы .

Химия высокомолекулярных соединений не знает других мономеров, за исключением изоцианатсодержащих, способных к большому числу разнообразных реакций, некоторые из которых приведены выше. Данная специфика определяет многообразие химических превращений при синтезе и типов связей в образующихся цепях, что дает возможность в пределах одного класса соединений - полиуретанов - получать материалы с самыми разнообразными свойствами. [4, с.184].

1.3 Производство пенополиуретанов

Пенополиуретаны изготавливают вспениванием композиции газами, выделяющимися в результате реакций между компонентами исходной смеси или с помощью легкокипящих жидкостей. Поскольку при образовании пенополиуретанов по первому методу выделяется значительное количество тепла, внутренние слои крупногабаритных изделий могут обугливаться. Поэтому первый метод применим только для изготовления изделий небольшой толщины. Во втором методе выделяющееся тепло затрачивается на испарение легкокипящей жидкости, что позволяет предотвратить местные перегревы и обугливание пенополиуретана [5, с. 568].

Для получения пластичных пенополиуретанов применяют обычно смолы с линейной или слегка разветвленной структурой, а для получения жестких пен - смолы со значительно более разветвленной структурой. Химическая природа образования жестких и эластичных пенополиуретанов в общем одинакова, за исключением того, что жесткие пены представляют собой полимеры с большим количеством поперечных связей, чем эластичные.

Пенопласты в промышленности получают обычно двумя способами.

При «одностадийном» способе диизоцианат, смолу, воду, катализаторы, стабилизаторы, эмульгаторы и, если нужно, вспениватель смешивают одновременно. Взаимодействие начинается сразу, причем подъем пены начинается приблизительно через 10 секунд после смешивания и завершается через 1-2 минуты. Отверждение пены происходит от нескольких часов до нескольких суток.

Второй способ получения пенополиуретанов - «форполимерный». Сначала проводят реакцию диизоцианата с олигоэфиром, а полученный форполимер затем превращают в пенополиуретан смешением с водой или амином.

Увеличение степени разветвления форполимеров может быть достигнуто при нагревании за счет ускорения образования аллофанатных и биуретовых связей. Однако образование таких узлов связи нежелательно из-за их ограниченной термостабильности.

В некоторых случаях применяют смешанный «полуфорполимерный» метод. По этому методу часть смолы смешивают со всем количеством изоцианата и получают форполимер, содержащий много свободного изоцианата. Затем, смешивая его с остатком смолы, в которую нужно добавить воду, катализатор и силиконовое масло, получают пену. Такой метод является особо эффективным при получении жестких пенопластов. В качестве вспенивающего агента применяют трихлорфторметан и ведут процесс в отсутствие воды.

Указанные реакции происходят до тех пор, пока реагирующие группы настолько подвижны, что могут сталкиваться друг с другом достаточно часто. Однако в период завершения образования пены концы цепей становятся относительно неподвижными, так что скорость столкновения концевых групп с реакционноспособными группами цепи постепенно уменьшается. Вероятно, может наступить такой момент, когда оставшиеся в небольшом количестве концевые изоцианатные группы будут реагировать с водой, дифундирующей к ним из атмосферы или из самой пеносистемы, в которой она находится в избытке. В этом случае некоторое их количество превратится в концевые аминогруппы, которые не будут иметь возможность встретиться и прореагировать с изоцианатными группами. Таким образом следует ожидать образование пенополиуретана, содержащего некоторое количество концевых аминогрупп.

Изготовление пенополиуретановых изделий осуществляют по непрерывной или периодической схеме (заливкой в бумажные формы), а также напылением.

1.4 Свойства пенополиуретанов

Пенополиуретаны обладают хорошей атмосферостойкостью, устойчивостью к действию света и окислителей. На свету они темнеют, но другие свойства заметно не ухудшаются. Пенополиуретаны физиологически инертны и хорошо совмещаются с бактерицидными добавками.

Пенопласты, полученные на основе простых олигоэфиров, устойчивы даже в кипящей воде, а полученные на основе сложных олигоэфиров менее стойки к действию воды. Жесткие пенополиуретаны устойчивы в дизельных и смазочных маслах при температурах до 100°С, бензине, керосине, хлорированных углеводородах, спиртах, водных растворах солей, 30%-ной уксусной кислоте. Они разрушаются ацетоном, этилацетатом, крезолом, 30%-ной соляной кислотой, 10%-ной серной кислотой и 15-20%-ными растворами едкого натрия.

Жесткие пенополиуретаны можно пилить, обтачивать, обрабатывать на токарном станке. Эластичные пенополиуретаны можно резать.

Пенополиуретаны моют мылом или синтетическими моющими средствами, на них не действуют бактерии.

Пенопласт, применяемый в качестве изолирующего материала, можно эксплуатировать при любых низких температурах, при этом верхняя рабочая температура достигает 200°С. В условиях двустороннего нагрева изделия из пенополиуретана можно кратковременно эксплуатировать при 220°С, а при односторонне нагреве - при 450-500°С. Основные свойства пенополиуретанов приведены в таблицах 1 и 2:

Таблица 1.1 - Свойства жестких пенополиуретанов отечественных марок

Показатель

ПУ-101

ПУ-101Т

ППУ-3С

ППУ-304Н

Кажущаяся плотность, кг/м3

100 - 200

150 - 250

50

30 - 50

Прочность кгс/см2 не менее при сжатии… при изгибе…

 10 - 19 8 - 15

 20 - 42 15 - 35

 2,5 2

 1,5 - 5 2 - 9

Ударная вязкость, кДж/м2, не менее

0,4

0,5 - 0,8

0,6

0,4 - 0,6

Коэффициент теплопроводности, вт/(м·К)… ккал/(м·ч·°С)…

  0,031 - 0,035 (0,027 - 0, 030)

  0,033 - 0, 047 (0,028 - 0,033)

  0,033 - 0,038 (0,028 - 0,033)

  0,023 - 0,035 (0,02 - 0,03)

Водопоглащение за 24 часа, % не более

0,3

0,3

0,3

0,3

Температура применения, °С

от минус 50 до плюс150

от минус 60 до плюс 200

от минус 60 до плюс 60

от минус60 до плюс 100

Диэлектрическая проницаемость при 1010 Гц

1,1 - 1,2

1,1 - 1,3

-

-

Тангенс угла диэлектрических потерь при 1010 Гц

0,0015

0,0016 - 0.0020

-

-


Таблица 1.2

Свойства эластичных пенополиуретанов отечественных марок

Показатель

ППУ -Э

ППУ -ЭТ

ППУ -ЭМ -1

Кажущаяся плотность, кг/м3

25 -60

30 -40

30 -50

Прочность при растяжении Мн/м2 (кгс/см2)

0,12 (1,2)

0,1 (1,0)

0,11 - 0,13 (1,1 - 1,3)

Относительное удлинение, %

150

100

150 - 170

Эластичность по отскоку, %

15

15

20 - 40

Относительная остаточная деформация при 50%-ном сжатии в течение 72 часов при 20°С, %

10

15

10

1.5 Области применения пенополиуретанов

В денежном выражении промышленность пенополиуретанов занимает до 90% объема рынка полиуретанов.

Напыление пенополиуретана - наиболее перспективный метод создания тепло- и гидроизоляционных покрытий. Способность пенополиуретана покрывать поверхность сложной формы с хорошей адгезией гарантирует архитекторам возможность проектировать и осуществлять теплоизоляцию различных элементов зданий, имеющих сложные формы: выступы, арки, колонны и т.д.

Наиболее важными сферами применения пенополиуретана являются:

). Холодильная техника (тепло-, хладоизоляция бытовых и торговых холодильников и морозильников, складов, хранилищ пищевых и сельхозпродуктов;

). Транспортная холодильная техника (тепло-, хладоизоляция авторефрижераторов, железнодорожных вагонов - рефрижераторов типа «термос»);

). Строительство быстровозводимых промышленных и гражданских объектов (теплоизолирующая и несущая способность жестких пенополиуретанов. Он является самым выгодным теплоизоляционным материалом. Одним из значительных плюсов использования пенополиуретанов является возможность проводить работы по теплоизоляции зданий круглый год [6, с.44]);

). Строительство и капитальный ремонт жилых зданий, индивидуальных домов, коттеджей (теплоизоляция крыш пенополиуретаном получила применение в странах Западной Европы и США в течение последних 25 лет. Предлагается 2 метода: укладка изоляционных плит из жесткого пенополиуретана со ступенчатым фальцем или напыление пенополиуретана непосредственно на поверхность крыши [7, с.54] );

). Промышленное и гражданское строительство (наружная гидро- и теплоизоляция кровли жестким пенополиуретаном методом напыления);

). Трубопроводный транспорт (теплоизоляция мазуто- и нефтепроводов, высокоэффективная изоляция низкотемпературных трубопроводов на объектах химии методом заливки под предварительно смонтированный кожух);

). Тепловые сети населенных пунктов (теплоизоляция металлических трубопроводов путем изолирования существующих трубопроводов скорлупами из жесткого пенополиуретана [8, с.46]);

). Радио и электротехника (придание вибростойкости различным электрическим устройствам, гидрозащита контактных соединений при одновременно хороших электроизоляционных и диэлектрических свойствах жестких пенополиуретанов конструкционного типа);

). Автомобилестроение (формованные детали внутреннего интерьера автомобиля на основе эластичных, полужестких, интегральных, термоформуемых пенополиуретанов);

). Мебельная промышленность (изготовление мягкой мебели с использованием эластичного пенополиуретана (поролон), корпусных и декоративных элементов из жесткого пенополиуретана, лаки, клей, покрытия и др.);

). Легкая промышленность (производство полиуретановых синтетических кож и изделий, дублированные ткани на основе пенополиуретана и др.);

). Вагоностроение и самолетостроение (формованные изделия из эластичных пенополиуретанов с повышенной огнестойкостью, тепло- и шумоизоляция на основе специальных марок пенополиуретанов);

). Машиностроение (изделия из термопластичных ПУ и специальных марок ПУ и пенополиуретанов).

Долговечность пенополиуретана оценивается в 25-30 лет, но и это не предел. Нет химических причин для разрушения правильно сделанного пенополиуретана.

По теплопроводности пенополиуретан конкурентов не имеет. Отечественные пенополиуретаны массового применения устойчиво держат коэффициент теплопроводности 0,028 Вт/м∙°С и имеют тенденции в ближайшие годы снизится до 0,02 Вт/м∙°С. Ближайший по качеству (но уступающий по технологичности) экструдированный пенополистирол имеет коэффициент теплопроводности 0,03 Вт/м∙°С и снижения его не предвидится.

В отличие от большинства теплоизоляционных материалов теплопроводность пенополиуретана от влажности среды не зависит (чего не скажешь, например, о других утеплителях), хранение под дождем и снегом - нормальное.

Использование пенополиуретана - это неоспоримые преимущества.

·    При напылении теплоизоляционный слой наносится на любую поверхность с любой конфигурацией. Залить пенополиуретан можно в любую полость, объем которой соответствует порции подачи компонентов;

·    Совершенная технология обеспечивает наиболее сжатые сроки работ;

·        При напылении слой получается целостным, без стыков, по которым происходит со временем разрушение покрытия. При заливке все пространство полости заполняется однородным материалом;

·        При отсутствии механических повреждений срок службы не менее 25 лет;

·        Применение в широком диапазоне температур (от минус 250°С до 180°С);

·        Коэффициент теплопроводности (0,023 - 0,032) Вт/мК;

·        Материал биологически нейтрален, устойчив к микроорганизмам, плесени, гниению;

·        Относится к группе трудносгораемых материалов, самостоятельного горения не поддерживает;

Это высоко эффективный, высоко технологичный, высоко качественный и доступный по цене и уникальный по своим характеристикам теплоизоляционный материал.

В России производство различных видов пенополиуретана увеличивается из года в год, но к сожалению использование этого материала пока не получило в нашей стране массового применения, в отличие от стран Западной Европы и США, где пенополиуретан успешно применяется порядка 50 лет.

2. Расчетная часть

.1 Термодинамический баланс

Целью термодинамического анализа является определение принципиальной возможности проведения химического реакции в данных условиях, выбор условий процесса, расчет теплового эффекта, что необходимо для составления теплового баланса. Термодинамический анализ основывается на рассмотрении сравнительно ограниченного числа термодинамических функций, влияющих на энергетическую и экономическую эффективность стадии синтеза.

В данном разделе рассмотрим принципиальную возможность, а также условия проведения данного процесса, а также сделаем выбор оптимальных условий для проведения данного процесса в технологических условиях промышленного синтеза. Для этого необходимо рассчитать термодинамические функции: тепловой эффект реакции ∆Н0r,T, изменение энтропии ∆S0r,T, свободную энергию Гиббса ∆G0r,T, константу равновесия Кр в заданном интервале температур. При расчете учитывается зависимость теплоемкости от температуры Cp = f(T).

Реакция получения полиоксипропилена:


2.1.1 Расчет теплоёмкости

.1.1.1 Метод Добратца для определения теплоемкости мономера

Предположим, что данный мономер является газом.

Теплоемкость чистых газов и паров при низких давлениях можно определить с достаточной степенью точности по уравнении. Добратца:

                                  (2.1)

где Cp0 - теплоемкость при низком давлении, кал/(моль∙град), R - универсальная газовая постоянная, R = 1,987 кал/(моль∙град); nг - число острых связей, относительно которых может иметь место внутреннее вращение групп; qi - число связей типа I; n - число атомов в молекуле, - общее число связей в молекуле.

В нашем случае n = 10; nг = 4;

Окись пропилена имеет 6 связей С-Н, 2 связи С-С и 2 связи С-О. Воспользуемся следующими данными таблицы 2.1:

Таблица 2.1- Частоты связей и константы теплоемкости для газов и паров

Связи

ЧастотаV, cм -1

Константы

Частота δ, см -1

Константы



а

b∙103

c ∙ 106


a

b∙103

c ∙ 106

С-С

910

-0,339

3,564

-1,449

650

0,343

2,707

-1,15

С -О

1030

-0,458

3,722

-1,471

1120

-0,665

3,754

-1,449

С-Н

3000

-0,139

0,168

0,447

1050

-0,579

3,741

-1,471


Константы А, В, С входят в уравнение теплоемкости вида

СРо = a + bТ + cТ2.

Найдем значение ∑ q i ∙ C v,j :

∑ q i ∙ C v,j = 2 (-0,339 + 3,564 ∙ 10 -3 T - 1,449 ∙ 10 -6 T 2 ) + 2 (-0,458 + 3,722 ∙ 10 -3 T - 1,471 ∙ 10 -6 T 2 ) + 6 (-0,139 + 0,168 ∙ 10 -3 T + 0,447 ∙ 10 -6 T 2 ) = -2,428 + 15,58 ∙ 10 -3 T - 8,522 ∙ 10 -6 T 2 (кал /(моль ∙ К)

Аналогично можно получить:

∑ q i ∙ C δ,j = 2 (0,343 + 2,707 ∙ 10 -3 T - 1,15 ∙ 10 -6 T 2 ) + 2 (-0,665 + 3,754 ∙ 10 -3 T -

1,449 ∙ 10 -6 T 2 ) + 6 (-0,579 + 3,741 ∙ 10 -3 T - 1,471 ∙ 10 -6 T 2 ) = -4,118 + 35,368 ∙ 10 -3 T - - 14, 024 ∙ 10 -6 T 2 (кал /(моль ∙ К)

Подстановка найденных величин в уравнение (2.1) дает следующее уравнение для определения мольной теплоемкости при постоянном давлении в зависимости от температуры:

C p0 = 4 ∙ 1,987 + 4 ∙ 1,987/2 + ( -2,428 + 15,58 ∙ 10 -3 T - 8,522 ∙ 10 -6 T 2) + +1 ∙ (-4,118 + 35,368 ∙ 10 -3 T - 14, 024 ∙ 10 -6 T 2) = 5,376 + 48,948 ∙ 10 -3 T - 22,546 ∙ 10 -6 T 2 (кал/ /(моль ∙ К)

Легко найти значение СРо для ряда температур, зная что температура кипения окиси пропилена 34,6 °С (или 307 ,6 К) и молярная масса его 58 г/моль. Учтем также, что 1 кал = 4,19 Дж. Полученные значения сведены в таблицу 2.2 и представлены в графике зависимости СРо = f/(Т) на рисунке 2.1.

полиоксипропилен пенополиуретан пропилен

Таблица 2.2 - Зависимость теплоемкости от температуры для окиси пропилена

T , K

СРо


кал /(моль ∙ К)

Дж /(моль ∙ К)

273

17,06

71,48

313

18,49

77,47

363

20,17

84,51

403

21,44

89,83

443

22,64

94,86

483

23,76

99,55

523

24,01

100,60

563

25,79

108,06

603

26,69

111.83

643

27,53

115,35

683

28,29

118,54

723

28,98

121,43

763

29,59

123,98


Рисунок 2.1 - Зависимость теплоемкости от температуры для окиси пропилена

2.1.1.2 Метод Сато и Шоу для определения теплоемкости полимера.

В таблице 2.3 представлены групповые вклады в величину С sp (300) по Сато и в величину С Lp (298) по Шоу соответственно твердого и жидкого агрегатного состояния полимера.

Температурную зависимость теплоемкости можно аппроксимировать с помощью следующих уравнений:

в твердом состоянии

                                                                 (2.2)

в жидком состоянии

                           (2.3)

Таблица 2.3

Групповые вклады в мольную теплоемкость (при 298, 15 К)

Группа

n

С sp , кал /(моль ∙ К)

С Lp , кал /(моль ∙ К)

-СН3

1

7,38

8,80

- СН2 -

1

6,05

7,26

- СН -

1

3,72

5,00

- О -

1

4,02

8,5

21,17

29,56



С помощью уравнений (2.2) и (2.3) определим значение теплоемкостей в кристаллическом и аморфном состояниях при температуре T, K на основании значений при комнатной температуре:

С sp (Т) = С sp (298) ∙ (0,106 + 0,003Т) = 21,17∙ (0,106 + 0,003Т) = 2,244 + +0,064 Т кал /(моль ∙ К)

С Lp (Т) = С Lp(298) ∙ (0,64 + 0,0012Т) - 29,56 ∙ (0,64 + 0,0012Т) = 18,918 + +0,03547 Т кал /(моль ∙ К).

Для полиоксипропилена с кристалличностью 100% оцененная мольная емкость:

С р = С sp = 2,244 + 0,064 Т кал /(моль ∙ град)

В таблице 2.4 и на рисунке 2.2 представлена зависимость теплоемкости от температуры.

Таблица 2.4 - Зависимость теплоемкости от температуры для полиоксипропилена

Т, К

С р


кал /(моль ∙ К)

Дж /(моль ∙ К)

273

19,72

82,63

313

22,28

93,35

363

25,48

106,76

403

28,04

117,49

443

128,19

483

33,16

138,92

523

35,72

149,65

563

38,28

160,38

603

40,84

171,10

643

43,39

181,83

683

45,96

192,56

723

48,42

203,28

763

51,08

214,01


Рисунок 2.2 - Зависимость теплоемкости от температуры

2.1.2 Расчет изобарно-изотермического потенциала реакции по групповым вкладам

В системе Ван Кревелена и Чермина изобарно-изотермический потенциал образования рассчитывается но групповым вкладам и вводятся поправки на особенности химического строения:

Δ G0f = ∑ вклады составляющих групп + ∑ поправки на строение + +RT ln σ

где RT lnσ - поправка на степень симметрии данной молекулы; σ - число симметрии, которое определяется количеством одинаковых положений молекулы в пространстве, возможных путем простого вращения молекулы без деформации.

При этом предполагается, что групповые вклады линейно зависят от температуры:

Δ G0f группы = Δ Н0i (298) + Δ S0i (298)

Предположим, что данное соединение является газом. Групповые вклады в изобарно-изотермические потенциалы образования молекул окиси пропилена и полиоксипропилена представлены в таблице 2.5.

Таблица 2.5 - Групповые вклады в изобарно-изотермические потенциалы

Группа

Δ G0f (Т), кал/моль

Для мономера

-СН3

-11500+22,9Т

-СН2-

-5300 + 25Т

-СН-

-750 + 30Т

-О-

-28000+14Т

RT ln σ

l,987Tlnl=0

-45500 + 91,9Т

Для полимера

2(-СН3)

2(-11500+22,9Т)

2(-СН2-)

2(-5300 + 25Т)

2(-СН-)

2(-750 + 30Т)

2(-О-)

2(-28000+14Т)

RT ln σ

l,987T-ln l = 0

-91000 + 183,8Т


Мольный изобарно-изотермический потенциал полимеризации составляет

ΔG°f (Т) = ΔG°кf, кон (Т) - ΔG°f, нач (T) = -91000 + 183,8Т + 45500 - 91,9Т =-45500 + 91,9Т.

Поскольку окись пропилена является газом, а полиоксипропилен -вязкой жидкостью (с содержанием влаги менее 0,3%), то необходимо ввести поправки, учитывающие физические состояния этих веществ:

ΔG0га ≈ ΔG0гг - 2000 +4Т = -45500 + 91,9Т - 2000 + 4T = -47500 + 95,9T

Система будет находиться в равновесии мономер - полимер при ΔG°r = 0, т.е.: -47500 + 95,9T = 0, следовательно, Тпр = 495,31 К.

Вывод: предельная температура Тпр = 495,31 К - температура, выше которой полимеризация не может осуществиться и, кроме того, полимер становится неустойчивым в отношении термической деструкции.

В таблице 2.6 представлена и на рисунке 2.3 изображена зависимость ΔG°r = f(T)

Таблица 2.6 - Зависимость ΔGr0 =f(T)

Т, K

ΔGr°


кал/моль

Дж/моль

275

-21127,50

-88524,23

300

-18730,00

-78478,70

325

-16332,50

-68433,18

350

-13935,00

-58387,65

375

-11537,50

-48342,13

400

-9140,00

-38296,60

425

-6742,50

-28251,08

450

-4345,00

-18205,55

475

-1947,50

-8160,03

500

450,00

1885,50


Вывод: реакция термодинамически возможна в рассмотренном интервале температур от 275 до 475 К, поскольку ΔG°r < 0.

Рисунок 2.3 - Зависимость ΔGr0 =f(T) изменения изобарно-изотермического потенциала реакции от температуры

2.1.3 Расчёт термодинамических параметров газообразных органических соединений методом введения поправок на замещение водорода группами (- СНз) и другими

Эмпирический метод, предположенный Андерсеном, Байером и Ватсоном, позволяют с достаточной точностью рассчитать стандартную теплоту образования при 25 °С, абсолютное значение энтропии в стандартном состоянии при 25 °С (S °298) и температурную зависимость теплоемкости СРо = а + bТ + сТ2 практически для любых органических соединений (исключение составляют гетероциклические). Проверка этого метода показала, что результаты расчета ΔH0обр298 отличается от лучших экспериментальных данных не более чем на 4,0 ккал/моль. В расчете каждое соединение принимают состоящим из основной группы, которая видоизменяется замещением составляющих ее атомов на другие группы.

Для определения соответствующих поправок необходимо знать так называемые типовые числа того атома углерода, у которого проводится замена (атом типа А) и соседнего с ним менее гидрированного углеродного атома (атом типа В). Типовые числа атомов углерода определяют по числу имеющихся у атома углерода атомов водорода, например

Радикал - СН3                 = СН2          > СН

Тип                   1                 2                   3

Выберем метан, как вещество, лежащее в основе рассматриваемой окиси пропилена. Затем построим полный скелет соединения, проводя сначала первичное замещение атомы водорода на метильную группу, а после вторичные. Первоначально построим самую длинную прямую цепь, которая будет состоять из трех углеродных атомов, затем введем боковую цепь, представленную группой -О- .

Просуммировав все поправки, мы получим величину искомого термодинамического свойства окиси пропилена.

Схема построения молекулы окиси пропилена

СН4 → СН3-СН3 → СН3-СН2-СН3 →

Составим сводную таблицу поправок (Таблица 2.7) и в ней укажем этапы расчета и полученные термодинамические параметры.

Таблица 2.7 - Сводная таблица поправок для окиси пропилена

Этап расчета

ΔH 0 298, кал/моль

ΔS 0298, кал/(град∙моль)

а

b∙103

с∙106

1. Метан

- 17890

44,5

3,79

16,62

-3,24

2.Первичное замещение в метане

-2500

10,35

-2,00

23,20

-9,12

3. Вторичные замещения:

а) тип А = 1, В = 1

-4750

10,10

0,49

22,04

-8,96

б) (-О-)

-7000

14,00

-0,01

17,58

-5,33

Итого (в системе СГС):

-74890

78,95

2,27

79.44

-26,65

Используя полученные данные, представленные в таблице 7.7, получим:

ΔH 0 298, = 313789,1 Дж/моль; ΔS 0 298, =330,8 Дж/(К ∙ моль);

а = 9,51, b = 332,854∙ 10-3, с = -111,66 ∙ 10-6;

Температурная зависимость теплоемкости:

СР0 = 9,51+ 332,854 ∙10-3 Т - 111,66 ∙10-6 Т2 Дж/(К ∙ моль)

Ср0298 = 98, 425 Дж/(К ∙ моль)

2.1.4 Термодинамический расчет реакции синтеза полиоксипропилена по законам Гесса, Кирхгофа и Гиббса

Согласно закону Гесса тепловой эффект изотермического химического превращения не зависит от пути превращения, а зависит только от начального и конечного состояния системы. Это справедливо, если работа, производимая системой, связана лишь с изменением объема при изобарном превращении. Давление или объем во время проведения всего процесса должны быть постоянными.

Большинство промышленных процессов проводится при постоянном давлении, и, следовательно, тепловой эффект реакции (Qp) равен изменению энтальпии (обычно с противоположным знаком) ΔНР = - Qp. Знак минус у энтальпии соответствует экзотермическому процессу и теплота выделяется. В таблице 2.8 сведены исходные данные для расчета термодинамических функций реакции полимеризации.

Тепловой эффект изобарной реакции можно рассчитать на основе закона Гесса как разность энтальпий продуктов (ΔH)кон и исходных веществ (ΔH)исх .

Таблица 2.8 - Термодинамические свойства веществ участников реакции

Вещество

ΔH 0 f,298, кДж/ моль

ΔS 0 298, Дж/(моль∙К)

ΔG°p,298 кДж/ моль

C0р,298 Дж/(моль∙К)

С°р=f(Т)






а

b∙103

с∙106

Окись пропилена

313,79

330,8

215,21

98,425

9,51

332,854

-111,66

Полиоксипропилен

-91

-183,8

145,77

89,3

9,4

268,16

-


Зависимость энтальпии реакции ΔH°p от температуры следует из закона Кирхгофа

                                   (2.9)

где Vucx и Vкон - число молей исходного вещества и конечных продуктов;

СР исх, СР кон - мольные теплоемкости исходных веществ и конечных продуктов.

Зависимость мольной теплоемкости от температуры выражается с помощью эмпирического уравнения:

CРi = ai + biT + ciT2                                                                       (2.10)

Для вычисления правой части уравнения (2.9) нужно сгруппировать выражения, содержащие ai , bi , ci и рассчитать приращения, используя данные таблицы 2.1:

Δa = ∑ Vкон ∙ акон - ∑ Vисх ∙ аисх = 9,39 - 9,51 = - 0,12;

Δb = ∑ Vкон ∙ bкон - ∑ Vисх ∙ bисх = 0,26816 - 0,332854 = - 0,0647;

Δc = ∑ Vкон ∙ cкон - ∑ Vисх ∙ cисх = 111,66 ∙10-6.

Тогда уравнение (2.9) приобретает вид:


После интегрирования получим:

ΔHТ = Ii + ΔaT +ΔbT2/2 + ΔcT3/3                                                 (2.11)

На основе значений стандартных величин можно рассчитать энтальпию реакции ΔH0298, при температуре Т = 298 К. Подстановкой в уравнение (2.11) значения ΔH0298, вместо ΔH0T и Т = 298 К, можно определить постоянную интегрирования Ii и рассчитать энтальпию реакции по уравнению (2.11) при любой произвольной температуре (где действительно уравнение (2.10).

-199025 = I1 - 0,12 ∙ 298 - 0,0647 ∙ 2982 /2 +111,66 ∙ 10-6 ∙ 2983 /3;

I1 = - 197101,4 Дж /моль

Значит, ΔH0T = - 197101,4 - 0,12 ∙ Т - 0,03235 ∙ Т2 + 37,22 ∙ 10-6 ∙ T3 кал/ моль.

Значения ΔH0T для различных температур приведены в таблице 2.9:

Таблица 2.9 - Зависимость ΔH0Т = f(T)

Т, К

ΔH0Т Дж/моль

273

-198787,880

278

-198835,227

283

-198882,641

288

-198930,092

293

-198977,552

298

-199024,995

303

-199072,390

308

-199119,712

313

-199166,932

318

-199214,022

323

-199260,954

328

-199307,700

333

-199354,232

338

-199400,523

343

-199446,544

348

-199492,268

353

-199537,666


Зависимость энергии Гиббса от температуры может быть представлена в виде


Изменение энергии Гиббса во время реакции определяется уравнением:

ΔG0Т = I1 + ΔaT lnT +ΔbT2/2 + ΔcT3/6 + I2 ∙Т                             (2.12)

Если известно изменение энергии Гиббса ΔG°298 (298 К, 1 атм) во время реакции, то, используя в уравнении (2.12) ΔG°298 и Т = 298 К, можно рассчитать постоянную интегрирования I2.

-79282,34= - 197101,4 - 0,12 ∙298 ∙ ln 298 - 0,0647 ∙ 2982 /2 + 111,66 ∙ 10-6 ∙ 2983 /6 + + I2 ∙298

I2 = 404,037 Дж /(моль ∙ К)

Тогда ΔG°T = - 197101,4 - 0,12 ∙ Т ∙ ln Т - 0,03235 ∙ Т2 + 18,61 ∙ 10-6 ∙ Т3 + +404,037 ∙ Т Дж/моль

Значения ΔG°T для различных температур приведены в таблице 2.10.

Таблица 2.10 - Зависимость ΔG0Т = f(T)

Т, К

ΔG0Т Дж/моль



273

-89015,432

278

-87067,154

283

-85119,728

288

-83173,141

293

-81227,378

298

-79282,424

303

-77338,266

308

-75394,890

313

-73452,281

318

-71510,425

323

-69569,309

328

-67628,918

333

-65689,238

338

-63750,255

343

-61811,955

348

-59874,323

353

-57937,346


Если мы не располагаем расчетным значением ΔG°298, но известно значение изменения энтропии в стандартных условиях ΔS°298, то расчет первого может быть произведен по уравнению:

ΔG°T = ΔH°T - TΔS°T                                                                   (2.13)

где значение ΔS°298 может быть вычислено по уравнению:

ΔS0Т = I3 + Δa lnT +ΔbT + ΔcT2/2                                                (2.14)

Величину I3 рассчитываем подставляя ΔS°298 и Т = 298 К в уравнение (2.14).

-404,821 = I3 - 0,12 ∙1n 298 - 0,0647 ∙298 + 111,66 ∙10-6∙2982/2;= -404,157Дж /(моль ∙ К)

Значит, ΔS0Т = -404,157 - 0,12 ∙1n T - 0,0647 ∙T +55,83·10-6 ∙Т2 кал/(моль∙К)

Проверим правильность полученных уравнений:

I2 = Δa - I3,

,037 = - 0,12 +404,821

Следовательно, уравнения составлены верно.

Значения ΔS0Т для различных температур представлены в таблице 2.11:

Таблица 2.11 - Зависимость ΔS0Т = f(T)

Т, КΔS0Т Дж/(моль К)


273

-400,990

278

-401,162

283

-401,331

288

-401,497

293

-401,661

298

-401,821

303

-401,979

308

-402,134

313

-402,286

318

-402,435

323

-402,582

328

-402,725

333

-402,866

338

-403,004

343

-403,139

348

-403,272

353

-403,401


Константа равновесия Кр связана с термодинамическими функциями, в частности с энтальпией ΔH0Т и энтропией реакции ΔS0Т :

RT lnKp = ΔH0Т - T ΔS0Т = ΔG0Т                                                  (2.15)

где ΔG0Т - изменение стандартного изобарно-изотермического потенциала реакции (энергия Гиббса).

Это уравнение можно переписать в другой форме (уравнение Вант-Гоффа), которая описывает температурную зависимость константы равновесия:

ln Kp= ΔH0Т /RT + ΔS0Т /R                                                          (2.16)

или в виде ΔG0Т = - RT In Кр                                                      (2.17)

Значения константы равновесия для различных температур представлены в таблице 2.12

Таблица 2.12 - Зависимость Кр =f(T)

ln Кр

273

39,22

278

37,67

283

36,18

288

34,74

293

33,34

298

32,00

303

30,70

308

29,44

313

28,23

318

27,05

323

25,91

328

24,80

333

23,73

338

22,69

343

21,68

348

20,69

353

19,74

Из уравнения (2.17) следует, что равновесие смещается вправо, если Кр > 1 или ΔG0Т < 0. При данной температуре соединение устойчиво по сравнению с составляющими его элементами. Температура, при которой реакционная система оказывается в состоянии термодинамического равновесия (ΔG0Т = 0), получила название предельной температуры реакции (Тпр). Предельная температура, при которой в реакционной системе наступает термодинамическое равновесие, равна:

ΔG°T = - 197101,4 -0,12 ∙ Т ∙ ln Т - 0,03235 ∙ Т2 + 18,61 ∙ 10-6 ∙ Т3 + 404,037 ∙ Т = 0

тогда Тпр = 503,15 K

На рисунках 2.3, 2.4, 2.5, 2.6 представлены графические зависимости ΔH0Т = f(T), ΔG0Т = f(T), ΔS0Т = f(T) и Кр= f(T) соответственно.

Рисунок 2.3 - Графическая зависимость ΔH0Т = f(T)

Рисунок 2.4 - Графическая зависимость ΔG0Т = f(T)

Рисунок 2.5 - Графическая зависимость ΔS0Т = f(T)

Рисунок 2.6 - Графическая зависимость ln Кр =f(1/Т)

В результате проведенных расчетов можно сделать следующие выводы.

Как видно из рисунка 2.1 в интервале температур от Т = 273 К до 763 К СР,0 > 0, с увеличением температуры ΔH0Т увеличивается.

Реакция является экзотермической (ΔH0Т <0), т.е. протекает с выделением тепла.

Равновесие смещено в сторону образования продукта (ΔG0Т < 0, Кр > 1), реакция идет самопроизвольно. При температуре реакционной системы равной 503,15 K наступит термодинамическое равновесие реакции.

2.2 Расчёт материального баланса

Реакция получения полиоксипропилена:

производительность: П=2000 т/год

степень превращения: xA=94%

технологический выход: f=90%

Процесс полимеризации непрерывный

Годовая производительность в единицах мольного потока:

Gn0 = П / (N · M) = 2000 · 103 / (370 · 346 · 24) = 0,651 кмоль / ч

С учетом технологического выхода:

Gn1 = Gn0 / f = 0,651 / 0,90 = 0,723 кмоль /ч

Количество окиси пропилена, необходимое для получения Gn1 полиоксипропилена:

Gn2 = Gn1 · n = 0,723 · 6,38 = 4,612 кмоль / ч

С учетом степени превращения:

Gn3 = Gn2 / xA = 4,612 / 0,94 = 4,906 кмоль / ч

Количество не прореагировавшей окиси пропилена:

GA’= Gn3 - Gn2 = 4,612 - 4,906 = 0,294 кмоль/ч

Катализатор - 10% раствор КОН в глицерине

На 1т полиоксипропилена приходится 1 кг катализатора (КОН):

Gm кат = 0,004612 · 0,723 = 3,33 · 10-3 кг/ч

mкат / (mглицерина + mкат ) = 0,1

mглицерина =(3,14 · 10-3 - 3,14 · 10-3 · 0,1) / 0,1 = 0,029 кг/ч

Полученные данные сводим в таблицу:

Таблица 2.13 - Сводная таблица материального баланса

Вещество

Gm, кг/ч

Gm, %

Gn, кмоль/ч

Gn, %

Приход

Окись пропилена

284,55

99,98

4,906

99,98

КОН

3,33 · 10-3

1,2· 10-3

5,95 · 10-5

1,2· 10-3

Глицерин

0,029

0,01

3,15 · 10-4

0,01

Итого

284,58

100

4,906

100

Расход

Окись пропилена

17,04

5,98

0,294

28,98

КОН

3,33 · 10-3

1,2· 10-3

5,95 · 10-5

1,2· 10-3

Глицерин

0,029

0,01

3,15 · 10-4

0,01

Полиоксипропилен

267,51

94

0,723

71

Итого

284,58

100

1,017

100


2.3 Расчет теплового баланса

Для определения количества тепла, которое необходимо отвести из зоны реакции (тепловой нагрузки на реактор), необходимо составить тепловой баланс стадии синтеза. Тепловой баланс рассчитывается по данным материального баланса с учетом тепловых эффектов химических реакций и фазовых превращений, происходящих в реакторе, подвода тепла с исходным сырьем и отвода с продуктами реакции, тепловых потерь.

Исходные данные:

температура исходных реагентов - 333 К,

температура продуктов реакции - 393 К,

тепловые потери от прихода тепла - 3 %.

На основании расчетов, проведенных в разделе 2 и литературных данных составим таблицу термодинамических свойств веществ, находящихся в реакционной смеси (таблица 2.14).

Таблица 2.14 - Исходные данные для теплового баланса

Вещество

∆Но298, кДж/моль

Сро298, Дж/моль·K

а

b·103

c·106

с’·10-5

Окись пропилена

313,79

75,25

5,376

48,948

-22,55

-

Полиокси пропилен

-91

89,3

9,39

268,16

-

-

КОН

-424,72

65,6

42,66

76,96

-

-

Глицерин

-668,60

223,01

11,65

81,74

-99,04

-


На основании этих данных найдем значения теплоемкостей при заданных температурах

Ср(Т)=а + b*T + с*Т2+c’*T-2

Рассчитываем теплоемкости веществ для температуры Т1 = 333 К:

Ср = a + b·T+c·T2+c’/T2

Ср окись пропилена333=5,376+48,948·10-3·333 - 22,55·10-6·3332= 19,18Дж/моль·К

Ср полипропиленоксид333 = 9,39 + 268,16·10-3·333 = 98,69 Дж/моль·К

Ср КОН333 = 42,6 + 76,96 ·10-3·333 = 68,3 Дж/моль·К

Ср глицерин333 = 11,65 + 81,74·10-3·333 - 99,04 ·10-6·3332= 27,89Дж/моль·К

Теплоемкости веществ для температуры Т2 = 393 К:

Ср окись пропилена393 = 5,376+48,948·10-3·393 - 22,55·10-6·3932=21,13Дж/моль·К

Ср полипропиленоксид393 = 9,39 + 268,16·10-3·393 = 114,78 Дж/моль·К

Ср КОН393 = 42,6 + 76,96 ·10-3·393 = 72,85 Дж/моль·К

Ср глицерин393 = 11,65 + 81,74·10-3·393 - 99,04 ·10-6·3932= 28,48 Дж/моль·К

Тепловой баланс для емкостного реактора имеет выражение:

Qреаг ± Qr ± QF = Qпрод + Qнагр+ Qпот

Qреаг - тепло, входящее в реактор с исходными реагентами.

Qреаг=ΣGi*Cp,I*Ti=Gсм,I*Cp*Ti,

где Gi, Gсм,I - мольный поток исходного реагента и всей исходной смеси,

Cp,I , Cp - мольная теплоемкость исходного реагента и всей исходной смеси соответственно,

Тi - температура исходных реагентов.

Cp=Σ Cp,I*Ni,

где Ni - мольная доля компонента в смеси.

Cр исх = 19,18·99,98+68,3 · 1,2·10-3 +27,89·0,1 = 1917,98 Дж/(моль·К)

Тогда Qреаг. = 4.906 · 1917,98 · 333 = 3133,4 кДж/ч

Тепло химической реакции

Qr = ∑Qпрод.о - ∑Qисх.о

Qi.о = - ∆Hof

Исходные:

Qокись пропилена = - 313790 · 4,906 = - 1539,45 кДж/ч

QКОН = 424720·5,95·10-5 = 25,27 Дж/ ч

Qглицерин = 668600 ·3,15·10-4 = 210,6 Дж/ ч

Продукты:

Qокись пропилена = - 313079 · 0,294 = - 92,06 кДж/ч

Qполиоксипропилена= 91000 · 0,723 = 65,79 кДж/ч

QКОН = 424720·5,95·10-5 = 25,27 Дж/ ч

Qглицерин = 668600 ·3,15·10-4 = 210,6 Дж/ ч

Qr = 1512,94 ·0,723 = 1093,86 кДж/ч

Qпрод - тепло, выходящее из реактора с продуктами реакции.

Qпрод =ΣGj*Cp,j*Tj=Gсм,j*Cp*Tj,

где Gj, Gсм,j - мольный поток продукта реакции и всей конечной смеси,

Cp,j , Cp - мольная теплоемкость продукта реакции и средняя теплоемкость всей конечной смеси соответственно,

Тj - температура продуктов реакции.

Cp=Σ Cp,j*Nj,

Cр=21,13·5,98+114,78·94+72,85·1,2·10-3+28,48·0,01=10916,05 Дж/(моль·К)

Qпрод. = 10916,05 · 1,017 · 393 = 4362,94 кДж/ч

Qнагр - тепло, которое необходимо подвести для нагрева реакционной массы до температуры реакции.

Qнагр= Gсм,I*Cp*(T2-Т1)

Qнагр= 1,017 · 10916,05 · (393-333) = 666,097 кДж/ч

Qпот - тепловые потери от прихода тепла.

Qпот= 0,03* Qприх=0,03*( Qреаг + Qr)

Qпот= 0,03 · 422726 · 103= 126.818 кДж/ч

Тогда QF = Qпрод+Qпот +Qнагр - Qреаг - Qr ,

QF = 4362,94 +126,818 +666,097 - 3133,4 - 1093,86 = 928,595 кДж/ч.

Полученные данные сводим в таблицу 2.15:

Таблица 2.15 - Сводная таблица теплового баланса

Приход тепла

кДж ч

%

Расход тепла

кДж ч

%

Qреаг Qr QF

3133,4 1093,86 928,595

60,8 21,2 18

Qпрод Qпот Qнагр

4362,94 126,818 666,097

84,6 2,4 13

Итого

5155,855

100

Итого

5155,855

100


Таким образом, количество теплоты, которое необходимо подвести к реактору (тепловая нагрузка) составляет 928,595 кДж/ч

3. Выбор типа реактора

Обобщая результаты анализа разделов 1 - 3, можно выделить следующие особенности процесса, влияющие на тип реактора, применяемого для полимеризации:

1.   Реакционная масса представляет собой жидкостную смесь.

2.   При протекании реакции необходимо выравнивание реакционной смеси по концентрации, то есть необходима организация эффективного смешения.

3.       Реакция протекает с выделением тепла, что ставит задачу поддержания заданной температуры на необходимом уровне.

Исходя из всего вышеперечисленного можно сделать вывод, что для проведения процесса получения полиоксипропилена может быть использован аппарат типа РИС-Н, снабженный мешалкой и рубашкой.

4. Расчет реактора

Расчёт проводится на один реактор идеального смешения.

Необходимая площадь поверхности теплообмена:


Объём реактора идеального смешения непрерывного типа:


С учётом заполнения реактора:


Высота реактора:


Таблица 5.1 - Размер реактора [9, c.247]

Номинальный объём Vн, м3

Диаметр аппарата D, мм

Площадь поверхности теплообмена F, м2

Высота аппарата Н, мм

0,4

800

1,9

800


Рис. 12 Реактор идеального смешения

1 - реактор; 2 - мешалка; 3 - рубашка; 4 - электродвигатель

Выводы:

На основании материального и теплового балансов для проведения процесса выбран реактор идеального смешения с рамной мешалкой номинальным объёмом 0,4 м3, диаметром 800 мм и площадью поверхности теплообмена 1,9 м2.

5. Технологическая схема

Процесс получения полимеров на основе окиси пропилена проводят чаще всего при постепенной подаче мономера, что позволяет регулировать скорость реакции. Температуру варьируют от 80 до 150°С, причем верхний предел обусловлен протеканием побочных процессов, в частности передачей цепи. Это же обстоятельство предъявляет повышенные требования к методам выделения полимера, удаления мономера и т.п.

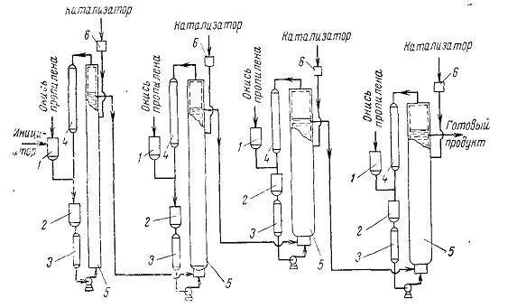
Более совершенен в технологическом отношении непрерывный вариант процесса. Технологическая схема синтеза полипропиленгликолей состоит из четырех реакторов, в каждом из которых реакционная масса достигает заданной величины: 700, 1200, 1800 и 2400.

, 2 - смесители; 3, 4 - холодильники; 5 - реакторы; 6 - дозаторы.

Рисунок 3.1 - Технологическая схема синтеза полипропиленгликолей

Процесс осуществляется в аппаратах колонного типа, в которые непрерывно вводят стартовое вещество с катализатором, либо продукт предыдущей стадии, а также мономер всегда присутствующий в избытке и конденсирующийся в выносном холодильнике.

Газообразная окись пропилена, двигаясь вверх по колонне, перемешивает реакционную массу.

Процесс проводят следующим образом.

Инициатор - гидроксилсодержащее вещество - смешивают с окисью пропилена сначала в смесителе 1, а затем в смесителе 2, куда из холодильника 4 поступает возвратный мономер. На выходе из смесителя 2 отношение мономер : инициатор составляет 6 - 12. Охлажденная до требуемой температуры в холодильнике 3 смесь насосом подается в нижнюю часть первого реактора 5. Из дозатора 6 вверх реактора вводится диспергированный катализатор, общее количество которого составляет 0,3 - 0,6% на всю жидкую смесь в реакторе. Реактор представляет собой вертикальный аппарат с соотношением высоты к диаметру, равным 30-40, что необходимо для обеспечения соответствующего времени контакта.

Температура в реакторе поддерживается автоматически в интервале 100 - 150°С. Предусмотрен дополнительный ввод окиси пропилена в смеситель 2 для регулирования состава реакционной смеси.

Реакционный продукт из реактора 5 выводят на оканчательную обработку, либо, предварительно смешав с мономером подают в нижнюю часть следующего реактора. Объем каждого последующего реактора больше предыдущего в 1,5 - 2,5 раза, а отношение мономер : инициатор, определяющее конечную длину цепи, увеличивается в каждой стадии на 6 - 12 моль/моль. Готовый продукт с максимальной молекулярной массой, полученный на выходе последнего реактора, подают на очистку.

Выводы

На основании проведенной работы можно сделать следующие выводы:

. В результате анализа литературных данных выявлены основные компоненты реакции синтеза пенополиуретанов, а также различные методы его получения. Базовым ингредиентом для получения пенополиуретанов являются олигополиолы, что объясняет выбор в качестве основной реакции для анализа реакции получения полиоксипропилена. Обоснован выбор непрерывного процесса производства.

. Термодинамический анализ основной реакции показал, что реакция протекает с выделением тепла и термодинамически возможна на всем рассматриваемом интервале температур.

. В качестве реакционного аппарата для проведения процесса был выбран реактор идеального смешения непрерывного действия и рассчитаны его основные характеристики.

. Проведен расчет реактора для чего составлен материальный и тепловой балансы процесса. Расход реакционной массы составил 284,56 кг/ч. Необходимая производительность достигается при использовании реакционного аппарата объемом 0,4 м3 и площадью поверхности теплообмена 1,9 м2 .

Список использованных источников

1    Барашков, Н. Н. Полимерные композиты: получение, свойства, применение / отв. ред. Я.М. Колотыркин, Ю.К.Годовский. - М.: Наука, 1984 128 с.

2    Николаев, А.Ф. Технология пластических масс. - Л.: Химия, 1977 - 368 с.

3 Дж. Х. Саундерс, К.К. Фриш. Химия полиуретанов / перевод с английского З.А. Кочновой, Ж.Т. Коркишко. Под ред. С.Г. Энтелиса. - М.: Химия, 1968 - 470 с.

4      Технология пластических масс / под ред. В.В. Коршака. - 3-е изд., перераб. и доп. - М.: Химия, 1985 - 560 с.

        Энциклопедия полимеров / ред. коллегия: В.А. Кабанов (глав. редактор) [и др.] Т. 2 - М.: Советская энциклопедия, 1974 - 1032 с.

        Полиуретановые технологии: международный специализированный информационный журнал. № 5(12) / отв. ред. В.Н. Никитин - 2007 - 64 с.

        Полиуретановые технологии: международный специализированный информационный журнал. № 1(20)/ отв. ред. В.Н. Никитин - 2009 - 65 с.

        Полиуретановые технологии: международный специализированный информационный журнал. № 4(11) / отв. ред. В.Н. Никитин - 2007 - 66 с.

Машины и аппараты химических производств. Примеры и задачи / И. В. Доманский и др., под ред. В.Н. Соколова - Л.: Машиностроение, 1982 - 384 с

10 Дымент, О.Н. Гликоли и другие производные окисей этилена и пропилена О.Н. Дымент , К.С. Казанский, А.М. Мирошников. - М.: Химия, 1976 - 376 с.

        Иоффе И.Л. Проектирование процессов и аппаратов химической технологии. - Л.: Химия, 1991 - 352 с.

12 Козловцев В. А. Методы расчета химических равновесий при синтезе ВМС : учеб. пособие / В. А. Козловцев, А. Б. Голованчиков, A. В. Ильин ; ВолгГТУ. - Волгоград : РПК «Политехник», 2003. - 61 с.

13    Краткий справочник физических величин / под ред. А.А. Равделя и А.М. Пономаревой. - 8-е изд. перераб. - Л.: Химия, 1983. - 232с.

        Петров А.А., Бальян Х.В., Трощенко А.Т. Органическая химия: Учебник для вузов Под ред. М.Д. Стадничука. - 5-е изд., перераб. и доп., - СПб.: Иван Федоров, 2002. - 624 с.

Похожие работы на - Теоретические инженерные основы получения пенополиуретана

 

Не нашли материал для своей работы?
Поможем написать уникальную работу
Без плагиата!
Без нейросетей!