Розрахунок побутового холодильника Nord ДХМ 186-7

  • Вид работы:
    Дипломная (ВКР)
  • Предмет:
    Другое
  • Язык:
    Украинский
    ,
    Формат файла:
    MS Word
    895,49 Кб
  • Опубликовано:
    2012-12-18
Вы можете узнать стоимость помощи в написании студенческой работы.
Помощь в написании работы, которую точно примут!

Розрахунок побутового холодильника Nord ДХМ 186-7

Реферат

Мета дипломного проектування - показати теоретичні знання та науково-технічні навички студента з даного предмету.

Об`єкт проектування - побутовий холодильник .У дипломному проекті, виконаний розрахунок випарнику холодильника. Розроблені плакати зовнішнього виду та будови, принцип дії холодильного агрегату та устаткування для ремонту.

У дипломному проекті усі розрахунки проведені у відповідності до дійсних стандартних та нормальних одиниць СІ.

Креслення виконані відповідно діючих стандартів ЄСКД. Розрахунки виконані за допомогою комп`ютерної програми AutoCAD.

Пояснювальна записка виконана за допомогою комп’ютера в текстового редактора Word, згідно вимогам навчального процесу.

Реферат

Цель дипломного проектирования - показать теоретические знания и научно-технические навыки студента по данному предмету.

Объект проектирования - бытовой холодильник. В дипломном проекте сделан расчет испарителя холодильника. Разработаны плакаты внешнего вида и строения, принцип действия холодильного агрегата и приборов для ремонта. В дипломном проекте все расчеты проведены в соответствии с действующими стандартами и нормативными единицами СИ.

Плакаты выполнены в соответствии с действующими стандартами ЕСКД. Расчеты выполнены при помощи компьютерной программы AutoCAD.

Объяснительная записка выполнена при помощи компьютера в текстовом редакторе Word, в соответствии с требованиями учебного процесса.

Вступ

Серед численних побутових приладів, які полегшують працю і підвищують культуру домашнього господарства особливо важливе значення мають холодильники. Тільки при наявності в будинку холодильника може бути забезпечене повноцінне, збалансоване харчування свіжими і швидкозаморожені високоякісними продуктами.

Для успішного розв'язання проблеми повноцінного харчування населення поряд із збільшенням виробництва холодильників необхідно встановити їх оптимальні характеристики:

-       оптимальний рівень температур, що забезпечує одночасне зберігання різних продуктів;

-       ємності холодильників різних типів, стосовно до потреб різних категорій населення;

-       співвідношення ємностей з позитивними і негативними температурами.

У дипломній роботі розглянуті принцип дії, функціональні можливості та технічні характеристики, вірогідні несправності та шляхи їх усунення, основні конструктивні елементи та вузли холодильника Nord ДХМ 186-7.

. Загальна частина

Абсолютно невірна думка вважати, що основні новітні технологічні прийоми, які застосовуються в наші дні в найкращих моделях холодильників, застосовуються тільки іноземними виробниками. Сучасні розробляють і успішно впроваджують нові технології, і крім того, на території нашої країни відкриваються філії найбільших фірм, таких, як LG, Vestel та ін. Холодильники марки Nord включають в себе лінійку моделей з компресором новітнього покоління BONO, срібним антибактеріальним покриттям і енергоспоживанням класу А.

Моделі холодильників серії Comfort призначаються для людей, що вибирають стиль, комфорт і економію. Дана серія представлена 2-х і 3-х камерними холодильниками з незвичайним зовнішнім дизайном, які поставляються в комплекті з аксесуарами небесного кольору і ґрунтовними полками, виготовленими із загартованого скла.

У березні 2007р. компанія Nord представляє російському ринку новітню модель, що використовує інноваційні технології - це холодильник моделі ДХМ-186, в якому передбачена «Камера свіжості». Ця новинка змінює класичні уявлення споживачів про можливості «холодильного» холоду. У звичних для нас холодильниках продукти зберігаються при температурі 4-8 градусів вище нуля. Така температура неідеальна для багатьох продуктів - салати, фрукти та овочі через невеликий термін втрачають більшість корисних властивостей і вітамінів, навіть риба і м'ясо зберігаються недовго. У новому холодильнику компанії Nord використовується інноваційна технологія зберігання продуктів - вони зберігаються при нульовій температурі й дуже високої вологості - близько 90 відсотків. Новий спосіб охолодження спільно зі старим ідеально впливають на збереження свіжості продуктів. Вони в 3 рази довше, ніж раніше, зберігають свої вітаміни і мінеральні речовини, та шкідливі бактерії (пліснява, наприклад) не поширюються.

1.1    Технічні характеристики та функціональні можливості холодильника Nord ДХМ 186-7

Особливостями конструкції холодильника є: зовнішня панель управління; можливість перестановки дверей на ліве і праве відкривання; ламінована внутрішня поверхня камера. Зовнішній вигляд холодильника Nord ДХМ 186-7 показано на рис. 1.1, а виносний пульт керування на рис. 1.2. Позначення на рис. 1.2: 1 - ручка датчика-реле температури холодильної камери; 2 - зелена лампа (індикація ввімкнення холодильної камери в мережу); 3 - червона лампа (сигналізація незамкненої двері холодильної камери); 4 - клавіша ввімкнення режиму заморозки; 5 - оранжева лампа (індикація режиму заморозки); 6 - червона сигнальна лампа (невідповідність температури морозильної камери режиму заморозки); 7 - ручка датчика-реле температури морозильної камери; 8 - зелена лампа (індикація ввімкнення морозильної камери в мережу).


Рисунок 1.2 - Виносний пульт керування холодильника Nord ДХМ 186-7.

Характеристики холодильника Nord ДХМ 167-7 показані у таблиці 1.1.

Надійність холодильника є основним показником. І часом навіть найвідоміші виробники не можуть дати 100% гарантії, що модель не зламається. Виробничий брак, порушення правил експлуатації призводять до поломок. Але, незважаючи на це, визначити ступінь надійності того чи іншого устаткування цілком реально. Слід звернутися за допомогою до фахівців або виданням, які реалізують опитування про надійність техніки.

Тісно пов'язаним з надійністю показником є:

-       довговічність. Висновки про нього ви можете зробити вже виходячи з періоду гарантії виробника. Чим вона триваліша, тим більше впевненості вселяє він у споживачів. Та й у випадку поломки ви звернетеся за безкоштовною допомогою. Зверніть увагу на те, що такі параметри, як середній термін служби і встановлений виробником період експлуатації не дають вам гарантії і не мають юридичну чинність. Це статистичні параметри;

-       економічність холодильники є важливим чинником. Холодильник є тим електричним приладом, який працює цілодобово, навіть тоді, коли ви відсутні вдома або на робочому місці (якщо техніка встановлена в ньому). Витрата енергії залежить від температури зберігання. Чим вона вища, тим і витрата більша. Але споживання енергії залежить і від щільності прилягання дверей, ступеня завантаження камер, стану продуктів і т.д.;

-       рівень шуму холодильника здатний вплинути на ваш спосіб життя, особливо, якщо техніка встановлена в житловому приміщенні. Цілком безшумними є термоелектричні моделі, але їх обсяг обмежений, а споживання енергії досить високо. Холодильники абсорбції практично безшумні. Компресійні холодильники шумлять в залежності від їх розмірів, місця установки і якості.

Таблиця 1.1 - Технічні характеристики холодильника Nord ДХМ 186-7

ОСНОВНІ ХАРАКТЕРИСТИКИ

Корисний об'єм

329 л

Клас енергоспоживання / Добова витрата електроенергії, кВтг / добу

A / 0,81 +0,38

Кількість компресорів

2

Рівень шуму при роботі двох компресорів

не більше 43 дБ (якщо працюють два компресора)

Габарити (В х Ш х Г)

187,5 x 57,4 x 65

Холодоагент

R600a

Вага

70 кг

Колір

білий або сріблястий металік

Сигналізація при не закриті двері

Є

Управління термостатом

Зовнішнє з панелі керування

ХОЛОДИЛЬНА КАМЕРА

Робоча температура

5 ° С

Обсяг

207 л

Система відтавання

Автоматична

1 статична і 3 переставляємі по висоті полиці з ударостійкого скла, що витримують навантаження до 25 кг

Утримувач для пляшок

На внутрішній стороні дверцят - регульовані по висоті полички і навісні ємності для зберігання пахучих продуктів і ліків

Ложемент для яєць

Контейнер для масла

МОРОЗИЛЬНА КАМЕРА

Робоча температура

-18 ° С

Система відтавання

Ручна

Обсяг

70 л

Потужність заморожування

4 кг на добу

Два висувних контейнера для зберігання і заморожування продуктів з зручними і ергономічними ручками

КАМЕРА ЗБЕРЕЖЕННЯ СВІЖОСТІ

Обсяг

52 л

Робоча температура

близько 0 ° С

Рівень вологості

близько 90%

Поділ камери на дві частини прозорою поличкою

Інші функціональні можливості:

антибактеріальне покриття (AlphaSan Masterbatch) - покриття на внутрішніх поверхнях холодильної камери, виконане з неорганічних сполук срібла. Це покриття надійно пригнічує ріст і поширення бактерій, мікробів, грибків і плісняви;

Високоміцні полиці із загартованого скла міцні і вам не треба буде турбуватися витримають вони чи ні.

.2      Основні конструктивні вузли

Основними складовими частинами холодильника є:

·        Компресор (рис 1.2). Компресор призначений для стиснення і перекачування парів холодоадагента. При стисненні парів відбувається підвищення не тільки тиску, але і температури. Після компресора стислий холодильний агент поступає в конденсатор;

·        Випарник, що забирає тепло з внутрішнього обсягу холодильника;

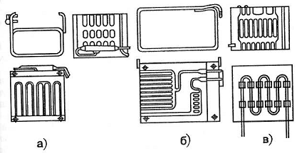
У випарнику відбувається передача тепла від охолоджуючого об'єкта до випаровується (киплячого) внаслідок цього холодильному агенту. За принципом дії випарники аналогічні конденсаторам, але відрізняються тим, що в конденсаторі холодильний агент віддає тепло навколишньому середовищі, а в випарниках поглинає його з охолоджуваного середовища. Кінець всмоктуючої трубки приварюють в торці вихідного каналу випарника, а капілярна трубка проходить через вихідний канал у вхідний, де її обжимають, щоб не було перетікання хладону з вхідного каналу у вихідний. Випарники випускають різних конструкцій. Широке поширення в холодильниках ранніх випусків мали випарники, виготовлені у вигляді переверненої літери П (рис. 1.3, а), часто витягнутій у всю ширину камери, з полицею для продуктів. У сучасних холодильниках з морозильними відділеннями у всю широчину камери випарники роблять у вигляді витягнутої букви О (рис. 1.3, б) або оберненою вгору букви С. Випарник кріплять до стінок камери.

Рисунок 1.3 - Конструкція випарника

В даний час в деяких моделях двокамерних холодильників застосовують листотрубчасті (рис. 1.4, в) секційні випарники, плоскі, розташовані на задній стінці холодильника або встановлюються горизонтально (в цьому випадку випарник одночасно є полицею). Трубопровід випарника діаметром 8 мм прикріплений до металевого листа з внутрішньої сторони. Для кріплення трубопроводу і циркуляції повітря на аркуші зроблені просіки. Капілярна трубка в зборі з відсасуючою служить пристроєм для подачі рідкого холодоагенту у випарник. Вона являє собою мідний трубопровід з внутрішнім діаметром 0,5-0,8 і довжиною 2800-3000 мм (в залежності від моделі холодильника), що з'єднує сторони високого і низького тиску в системі холодильного агрегату. Маючи невелику прохідність (5,6-8,5 л/хв), капілярна трубка є дроселем і створює перепад тиску між конденсатором і випарником і подає у випарник певну кількість рідкого хладона. До переваг капілярних трубок в порівнянні з іншими (наприклад, з терморегулюючим вентилями) слід віднести простоту конструкції, відсутність рухомих частин і надійність у роботі. Недоліком капілярної трубки є неможливість необхідного регулювання подачі хладону у випарник при різних температурних умовах експлуатації холодильника. Для поліпшення теплообміну між відсмоктувальними холодними парами і теплим рідким холодоагентом, які рухаються протитечією, капілярну та відсмоктуючи трубки паяють між собою на великій ділянці. У деяких холодильниках капілярну трубку намотують на відсмоктувачі або поміщають всередині неї. Фільтр встановлюють біля входу в капілярну трубку для запобігання її від засмічення твердими частинками. Фільтри виготовляють з дрібних латунних сіток або металокераміки. Металокерамічний фільтр складається з бронзових кульок діаметром 0,3 мм, сплавлення в стовпчик конусоподібної форми, укладений в металевий корпус. Капілярну трубку припаюють до металокерамічному фільтру під кутом . В більшості холодильників фільтр змонтований в одному корпусі з осушувальним патроном (рис. 1.4). По краях корпусу розташовані сітки, а між сітками - адсорбент (застосовують для очищення робочого середовища холодильних машин від вологи і кислот). Осушувальний патрон служить для поглинання вологи з холодоагенту і запобігання регулюючого пристрою (капілярних трубок) від замерзання в ньому води. Корпус осушувальної патрона складається з металевої трубки довжиною 105-135 мм і діаметром 12-18 мм з витягнутими кінцями, в отвори яких паяють відповідні трубопроводи холодильного агрегату.

Рисунок 1.4 - Фільтр грубої очистки: 1 - трубка; 2 - корпус; 3 - цеоліт; 4 - фільтр тонкої очистки; 5 - трубка капілярна

·        Конденсатор, який віддає тепло в навколишнє середовище (рис. 1.5);

Конденсатор холодильного агрегату є теплообмінним апаратом, в якому холодоагент віддає тепло навколишньому середовищі. Пари холодоагенту, охолоджуючись до температури конденсації, переходять у рідкий стан. Конденсатор представляє собою трубопровід, зігнутий у вигляді змійовика, всередину якого надходять пари хладона. Змійовик охолоджується навколишнім повітрям.

Рисунок 1.5 - Конструкція конденсатора холодильного агрегату.

Зовнішня поверхня змійовика зазвичай недостатня для відводу тепла повітрям, тому поверхню змійовика збільшують за рахунок великої кількості ребер, кріпленням змійовика до металевого листа та іншими способами. Широке поширення отримали конденсатори конвективного охолодження з дротовим оребренням (рис. 1.5, а). Конденсатор є змійовик з мідної трубки з привареними до неї з обох сторін (один проти одного) ребрами зі сталевого дроту діаметром 1,2-2 мм. Застосовуються також конденсатори щитові з завальцьованою трубкою. У холодильниках старих моделей застосовувалися листотрубчаті конденсатори. Листотрубчатий щитовий конденсатор (рис. 1.5, б) складається з змійовика, який приварений, припаяний або щільно притиснутий до металевого листа, що виконує роль суцільного ребра. У листі іноді роблять прорізи з відбортовкою за типом жалюзі. Це збільшує теплопередаючу поверхню за рахунок торців відігнутих металевих язичків і циркуляції повітря. Діаметр труб 4,75-8 мм, крок 35-60 мм, товщина листа 0,5-1 мм. Труби змійовика на аркуші зазвичай працює горизонтально в деяких листотрубчастих конденсаторах їх розташовують вертикально, щоб останні витки трубопроводу не нагрівалися від кожуха компресора. Довжина трубопроводу конденсатора становить 6500-14000 мм. Листотрубчастий прокатно-зварений конденсатор (рис. 1.5, в) виготовлений з алюмінієвого листа товщиною 1,5 мм з розбитими в ньому каналами змійовика. Конденсатор має форму сплюсненою труби і закріплений на задній стінці шафи холодильника. При порівняно невеликих розмірах конденсатор працює ефективно завдяки високій теплопровідності алюмінію і теплопередачі через однорідну середу. Для більш ефективної циркуляції повітря в щиті зроблені наскрізні просічки. Конденсатор з одного боку з'єднаний трубопроводами з нагнітаючої лінією компресора, а з іншого через фільтр і капілярну трубку з випарником. Для захисту від корозії конденсатор забарвлюють чорною емаллю.

·        Терморегулюючий вентиль, що підтримує різницю тиску;

·        Холодоагент - речовина, що переносить тепло від випарника до конденсатора.

.3 Принцип дії

Компресор засмоктує з випарника холодоагент у вигляді пари, стискає його (при цьому температура хладагента підвищується) і виштовхує в конденсатор. У конденсаторі нагрітий у результаті стиску холодоагент остигає, віддаючи тепло в зовнішнє середовище, і при цьому конденсується, тобто перетворюється в рідину, що надходить в капіляр. У побутових холодильниках найчастіше застосовуються ребристо-трубні конденсатори, як оребрення застосовується сталевий дріт або сталевий лист з прорізами. Охолодження конденсаторів звичайно природне, за винятком холодильників великих обсягів. Рідкий холодоагент під тиском через капіляр надходить у випарник, де за рахунок різкого зменшення тиску відбувається випаровування рідини. При цьому холодоагент віднімає тепло у внутрішніх стінок випарника, за рахунок чого відбувається охолодження внутрішнього простору холодильника. Випарники побутових холодильників найчастіше листотрубні, зварені з пари алюмінієвих листів. Випарник морозильної камери часто поєднаний з її корпусом, в той час як випарник холодильної камери (у холодильниках з двома випарниками) розташовують на задній стінці камери. Таким чином, в конденсаторі холодоагент під впливом високого тиску конденсується і переходить у рідкий стан, виділяючи тепло, а в випарнику під впливом низького тиску скипає і переходить в газоподібний, поглинаючи тепло. Велике значення має чистота хладоагента: вода і домішки можуть засмітити капіляр або пошкодити компресор. Домішки можуть утворюватися в результаті корозії внутрішніх стінок трубопроводів холодильника, а волога може потрапити при заправці холодильника, або проникнути через нещільності (особливо в холодильниках з відкритим компресором). Тому при заправці ретельно дотримується герметичність, перед заправкою контур вакуумують. У кожному холодильнику є фільтр-осушувач, що встановлюється перед капіляром. Зазвичай також присутній теплообмінник, вирівнюючий температуру на виході з конденсатора і з випарника. В результаті до дроселю надходить уже охолоджений холодоагент, який потім ще сильніше охолоджується в випарнику, в той час як холодоагент, що надійшов з випарника підігрівається, перш ніж вступити в компресор і конденсатор. Це дозволяє збільшити продуктивність холодильника, а також запобігти попаданню рідкого хладагента в компресор. Холодильний агрегат холодильника Nord ДХМ 186-7 показано на рис. 1.6. Позначення на рис. 1.6: 1 - компресор спеціальної камери; 2 - компресор холодильної і морозильної камери; 3 - фільтр-осушувач спеціальної камери; 4 - фільтр-осушувач холодильної і морозильної камери; 5 - трубка капілярна спеціальної камери; 6 - трубка капілярна холодильної і морозильної камери; 7 - патрубок заправочний; 8 - конденсатор; 9 - випарник холодильної камери; 10 - випарник морозильної камери; 11 - випарник спеціальної камери; 12 - трубка обігріву контуру морозильної камери; 13 - трубка обігріву контуру спеціальної камери; 14 - теплообмінник спеціальної камери; 15 - патрубок відсмоктуючий спеціальної камери; 16 - патрубок відсмоктуючий холодильної і морозильної камери; 17 - трубка; 18 - трубка; 19 - перехідник;  - номер ремонтного стику

Рисунок 1.6 - Холодильний агрегат холодильника Nord ДХМ 186-7

2. Монтаж та встановлення холодильника NORD ДХМ 186-7

Недотримання правил встановлення холодильних приладів може призвести до порушення електричної безпеки і нормальної роботи, зниження надійності і довговічності, а також зручностей користування в експлуатації. Перед установкою холодильника необхідно уважно ознайомитися з керівництвом по експлуатації і переконатися у відсутності ознак пошкодження електропроводки. При виявленні ознак пошкодження електропроводки на тільки що купленому холодильнику необхідно негайно викликати механіка обслуговуючої організації, щоб не створювати в подальшому проблем з гарантією. До підключення холодильника до електричної мережі потрібно переконатися у відповідності напруги. Робоча напруга холодильника вказують у табличці, закріпленій на задній стінці, і в супровідній документації. Традиційні вітчизняні холодильники враховують реальний стан електричних мереж в регіонах. У поганих електричних мережах напруга може падати нижче 180 В і підвищуватися до 250 В. При великих відхиленнях і можливості кидків напруги холодильник потрібно підключати до електричної мережі через побутовий автотрансформатор. При установці холодильника потрібно стежити за становищем мережевого шнура. Попадання мережевого шнура під холодильник може призвести до порушення його ізоляції, замикання проводів, ураження електричним струмом та виникнення пожежі. Щоб мережний шнур не потрапив під холодильник при його переміщенні, підв`язують його мотузкою до конденсатора. Забезпечення безпеки від ураження електричним струмом та нормального функціонування є головною вимогою при установці холодильника. Представлені на ринку холодильники мають різні ступені захисту від ураження електричним струмом. Більшість вітчизняних холодильників не має заземлення і відповідає класу захисту «0». Багато імпортних холодильники мають заземлення та відповідають класу «1». Холодильники з заземленням обладнані мережевим шнуром з трьох полюсної вилкою, що має заземлюючий контакт. Вони призначені для підключення до мережі, яка має третій нульовий дріт. Розетка теж повинна мати заземлюючий контакт. Холодильники класу «1» з пошкодженою електропроводкою при підключенні до мережі без нульового проводу становлять ще більшу небезпеку ураження електричним струмом, ніж холодильники класу «0». Тому, у всіх випадках виробники рекомендують встановлювати холодильник якнайдалі від пристроїв з природним заземленням: газових плит, радіаторів водяного опалення, газових і водопровідних труб. Якщо ці пристрої знаходяться в безпосередній близькості від холодильника, рекомендується захищати їх дерев'яними гратами. Для врятування життя людей при замиканні холодильника на корпус і будь-яких підвищеннях напруги в мережі призначені пристрої захисного відключення (ПЗВ). ПЗВ в поєднанні з датчиком перевищення напруги (ДПН) забезпечують захист людей від ураження електричним струмом та захист холодильника від пошкоджень при короткочасних і тривалих кидках напруги в електромережі. Важливою умовою для нормальної роботи холодильника є забезпечення гарної циркуляції повітря навколо нього. Холодильники працюють як теплові насоси: відкачують тепло з камер з продуктами і викидають його назовні. При роботі холодильника робочі частини холодильного агрегату, що знаходяться всередині камери, охолоджуються, а зовні нагріваються. Чим більше ви охолоджуєте продукти в камері (відбираєте від них тепло), тим більше ви будете нагрівати повітря в приміщенні. Тому, охолодити повітря в жаркій кімнаті за допомогою побутового холодильника неможливо. У компресійному холодильнику при роботі нагріваються компресор і конденсатор. У масових холодильниках і морозильниках компресор розташований під днищем шафи, а конденсатор його задній стінці. При природному охолодженні прохолодне повітря спочатку омиває гарячий компресор, а потім піднімається вгору як по «трубі» між шафою холодильника і стіною приміщення і охолоджує гарячий конденсатор. В останні роки все більшого поширення набувають холодильники з гладкими задніми стінками. У таких конструкціях змійовик конденсатора щільно прикріплений до стінки шафи. Змійовик конденсатора кріплять до стінки частіше зсередини, але іноді і зовні. З'являються моделі і з гарячими бічними стінками, які виконують функції конденсатора. Тим конденсатором або гарячими стінками холодильника і стінами приміщення необхідно забезпечувати зазор, достатній для вільної циркуляції повітря. Розміри зазорів між холодильником і стінами приміщення або примикає меблями виробники вказують у керівництві з експлуатації або іншої супроводжувальної документації (як правило, не менше 5 см). Відстань від верхньої площини холодильника до навісного обладнання також повинно бути не менше 5 см. Площа перетин каналу на виході нагрітого повітря над холодильником для холодильників класичної компоновки повинна бути трохи більше, ніж на вході холодного під ним. З метою гарантованого забезпечення необхідних для нормальної роботи холодильного агрегату зазорів на деяких моделях холодильників ззаду кріплять спеціальні опори або подовжують бічні стінки шафи. На стінках шафи внизу передбачають скоси, щоб не заважав плінтус. Холодильники з упорами на задній стінці або видовженими бічними стінками можна впритул присунути до стіни ззаду. Необхідний розмір каналу для циркуляції повітря та охолодження компресора з конденсатором буде забезпечений автоматично. Якщо ви закриєте щілини для надходження «холодного» повітря знизу або для виходу нагрітого повітря зверху над холодильником, то це призведе до порушення циркуляції. Погана циркуляція повітря викликає погіршення роботи холодильника і знижує ефективність охолодження продуктів. При підвищених температурах у приміщенні може наступити перегрів компресора і відмова в роботі холодильного агрегату. Особливу увагу необхідно звертати на забезпечення гарної циркуляції повітря при вбудовуванні холодильника в кухонні меблі. Щоб вбудований холодильник добре працював, доручайте установку холодильника фахівцю-холодильщику. У деяких покупців виникає необхідність встановити поруч два холодильники (наприклад, холодильник і морозилку, або холодильник і холодильну шафу без низькотемпературного відділення). Два холодильника іноді неможливо встановити впритул один до одного через нерівності бічних стінок. Невеликий бічний зазор необхідний і для нормального відкривання дверей холодильників, які мають звичайні навішування. Такі двері при відкриванні трохи виступають за бічну площину шафи. Випирання дверцят не відбувається при використанні меблевих наважок. При невеликому зазорі між двома холодильниками в експлуатації можуть виникати проблеми через попадання в утворюється щілину бруду і вологи. При установці поруч двох холодильників потрібно дотримуватися загальних вимог щодо забезпечення зазорів для циркуляції повітря і враховувати особливості експлуатації Ваших холодильних приладів. При відсутності циркуляції повітря між холодильником і морозильником в деяких випадках температура стінки морозильної камери може опуститися нижче точки роси, що призведе до випадання конденсату і передчасної корозії металевої шафи. Проблему забезпечення нормальних умов роботи двох поруч стоячих холодильників деякі виробники вирішують самі і постачають на ринок спеціальні моделі з комплектом закріплювальних деталей для блокування «пліч-о-пліч» (side-by-side). Закріплювальні деталі автоматично гарантують забезпечення оптимальних зазорів при установці поруч двох холодильників. Для забезпечення само закривання дверей при невеликих кутах відкриття і кращого ущільнення охолоджувальних камер багато виробників рекомендують встановлювати холодильник з невеликим нахилом назад (на 1-2 градуси або до 1,5 см при висоті шафи близько 1,5 м). Для вирівнювання холодильника при нерівностях підлоги та забезпечення невеликого нахилу назад призначені передні гвинтові або регульовані роликові опори.
Дорогі моделі холодильників, обладнані доводчиком закривання дверей, не потрібно нахиляти назад. При невеликих кутах відкриття двері автоматично прикривають пружинні доводчики. При якісному ущільненні смужка камери газетного паперу шириною 5 см, поміщена між дверима і шафою, не повинна падати під власною вагою. Холодильники не рекомендується встановлювати поруч з плитою та біля вікна. Місце розташування холодильника в кухні згідно з рекомендаціями виробників має бути максимально віддалене від опалювальних батарей і нагрівальних приладів і захищене від попадання прямих сонячних променів. Прямі сонячні промені і підвищені температури створюють додаткові притоки тепла в камери холодильника, ведуть до підвищення витрат електроенергії, прискорюють руйнування фарби, пластмасових і гумових деталей. При необхідності установки холодильника поруч з плитою або опалювальної батареєю рекомендується розташувати між ними екран з відзеркалюючою поверхнею. Це може бути фанерний або пластмасовий лист, покритий з одного боку алюмінієвою фольгою. Такий екран захистить холодильник від зайвого нагріву та дії прямих сонячних променів, а вас від випадкового попадання під напругу при замиканні електропроводки. Місце установки холодильника повинно забезпечувати максимальні зручності користуванням холодильником. Відстань між холодильником, мийкою і плитою повинно бути два-три кроки, щоб господині було зручно і не доводилося витрачати зайві сили і час на приготування їжі (щоб «усе було під рукою»). Напрямок відкривання дверей повинно бути таким, щоб було зручно переносити продукти з камери холодильника на кухонний стіл. На більшості моделей вітчизняних та імпортних холодильників передбачена можливість перестановки дверей з метою зміни напряму відкриття. Досить просту перестановку дверей може виконати будь-який кваліфікований механік. У просторій кухні не представляє праці вибрати таке місце установки холодильника, яке буде найбільш зручним для господині і при цьому не порушувати рекомендацій виробника. У малогабаритній кухні доводиться шукати компроміси. На великогабаритних холодильниках великої ємності дуже часто компресор в блоці з конденсатором і вентилятором монтують внизу в моторному відсіку. Такі холодильники можна встановлювати впритул до задньої і бічних стін приміщення. Ефективність охолодження компресора і конденсатора забезпечується за рахунок примусового обдування вентилятором. Холодне повітря для охолодження компресора і конденсатора надходить через одну половину декоративних грат під холодильником, а нагрітий викидається через іншу на тому ж рівні внизу. Щоб захистити компресор і конденсатор від забруднення, перед ними на декоративній решітці встановлюють повітряний фільтр. При забрудненні опір фільтра збільшується, що погіршує ефективність охолодження компресора і конденсатора. Щоб холодильник завжди працював добре, потрібно періодично міняти або промивати фільтр.

Якщо холодильник має льодогенератор і розданий пристрій для охолодженої води, обов'язково запрошуйте для установки фахівця. Для під'єднання до водопроводу і монтажу фільтра водопровідної води на вході в холодильник потрібні спеціальні знання та навички. При необхідності установки холодильника на балконі, в лоджії, на терасі та інших не передбачених стандартами місцях, що представляють загрозу ураження електричним струмом або виникнення пожежі, обов'язково отримаєте позитивний висновок фахівця з пожежної та електричної безпеки.

3. Вірогідні несправності та шляхи їх усунення

Підвищений шум, стукіт, деренчання

Порушена підвіска кожуха мотор-компресора. У холодильниках із зовнішньою підвіскою кожуха мотор-компресора в разі торкання кожуха рами або трубопроводів стінки шафи, а також при недостатньому викручування болтів підвіски може чутися стукіт. Несправність усувають відповідним регулюванням болтів підвіски. При опорі кожуха мотор-компресора на дві або три пружини болти підвіски варто відвернути настільки, щоб між нижньою площиною головки болта і опорою кожуха залишався зазор 8-10 мм. При підвісці кожуха мотор-компресора на чотирьох пружинах слід відрегулювати положення кожуха відповідним переміщенням по висоті скоб з прикріпленими до них пружинами. У холодильниках з внутрішньою підвіскою мотор-компресора в кожусі несправність підвіски може бути усунена тільки в майстерні.

Стук і деренчання, що видаються трубопроводами при торканні їх стінки шафи або інших частин агрегату, усувають обережним відгинанням трубки в місці її дотику. Деренчання в реле. Деренчливий звук в реле може видавати сердечник, якщо його положення нестійке в магнітному полі котушки. Це може привести до періодичних замикань контактів пускового реле і включень пускової обмотки під час роботи двигуна.

При чутному деренчання в реле слід перевірити його розташування і кріплення в холодильнику. Реле має бути в положенні, вказаному міткою на його корпусі, і надійно закріплене. При відсутності порушень в кріпленні реле слід перевірити напругу в мережі. Якщо напруга знаходиться в межах допустимого, то реле слід замінити. Користуватися холодильником при напрузі, що перевищує допустимий за заводською інструкції, не рекомендується щоб уникнути виходу з ладу двигуна.

Несправність холодильного агрегату. Підвищений шум при роботі компресора, а також стуки, чутні усередині кожуха, можуть бути усунені тільки в майстерні.

Погане охолодження продуктів

Щілини у дверному прорізі. Погане охолодження продуктів найбільш часто буває через інтенсивне надходження теплого повітря в холодильну камеру через щілини в дверному отворі шафи. Найбільш помітно це спостерігається в умовах підвищеної температури навколишнього повітря. Супутнім ознакою служить велика снігова шуба на стінках випарника. Рекомендується насамперед перевірити ущільнення дверного отвору і при виявленні щілин усунути цю несправність.

Неправильне користування холодильником. Погане охолодження продуктів буває і в справному холодильнику.

В одних випадках це спостерігається, коли власник холодильника, не враховуючи температурних умов у приміщенні або прагнучи користуватися холодильником з найменшим витрачанням електроенергії, неправильно вибирає температурний режим роботи холодильника і встановлює ручку терморегулятора на розподілі шкали не обґрунтовано близько к. "Викл.", В інших - при роботі холодильника з великою сніговий шубою на стінках випарника.

Погане охолодження продуктів (особливо тих які лежать на нижніх полицях) буває також в результаті закладання до камери великою кількістю продуктів, установки холодильника в безпосередній близькості до опалювальних і нагрівальних приладів, а також при недостатньому охолодженні конденсатора навколишнім повітрям (конденсатор чим-небудь закритий).

Висока температура в приміщенні. Якщо холодильник знаходиться на сонячній стороні приміщення, то рекомендується, якщо це можливо, переставити його в більш прохолодне місце.

Горить лампочка в камері при закритих дверях холодильника. Цей дефект зазвичай пов'язаний з деформацією яка сталася на внутрішній панелі дверей, в результаті чого кнопка вимикача не віджимається панеллю.

Щоб перевірити, чи горить в камері світло, треба відігнути в зручному місці балон, дверного ущільнювача (на довжину долоні) і, зачинивши двері холодильника, подивитися через щілину.

Якщо світло в камері горить, то слід відігнути балон дверного ущільнювача в місці розташування кнопки вимикача, віджати кнопку для вимкнення світла і визначити, приблизно на скільки міліметрів відійшла при цьому кнопка.

Дефект усувають шляхом наклейки на внутрішню панель пластинки з полістиролу діаметром 15-20 мм відповідної товщини в місці упору кнопки в панель. Для склеювання можна використовувати дихлоретан або клей БФ-2.

Несправність холодильного агрегату. Погане охолодження холодильної камери може бути при наявності невеликої течі фреону із системи агрегату або засміченні фільтра капіляра (осушувальні патрона).

У цих випадках у випарник буде надходити недостатня кількість фреону і останні канали (по ходу руху фреону), а також прилегла до них поверхня випарника не будуть обмерзати.

Часткове засмічення фільтра капіляра (осушувальні цеолітового патрона) може бути визначено шляхом порівняння (на дотик) нагріву поверхні корпусу патрона в місці кріплення з капіляром, а також трубки змійовика конденсатора. Якщо корпус або капілярна трубка в безпосередній близькості від корпусу більш холодні, ніж трубка конденсатора в зазначеному місці, то це означає, що випарник не повністю обмерзає через часткове засмічення фільтра. При відсутності засмічення нагрів всіх зазначених поверхонь буде однаковим.

Для перевірки наявності течі фреону із системи агрегату слід ретельно оглянути випарник (попередньо його розморозивши), трубопроводи і конденсатор. В окремих випадках місце течі вдається виявити слідами масла на поверхні трубопроводів.

Для усунення зазначених несправностей холодильний агрегат слід надіслати в майстерню.

Зволоження теплоізоляції. При відсутності всіх перерахованих причин поганого охолодження камери треба перевірити стан теплоізоляції. Зволоження теплоізоляції або її осідання і поява пустот неминуче призводять до збільшення приток зовнішнього тепла в камеру і погіршення її охолодження.

Для перевірки стану теплоізоляції потрібна повна розбирання холодильника, що є досить трудомісткою роботою. Вологу теплоізоляцію зі скловолокна слід висушити, теплоізоляцію необхідно замінити.

Велика витрата електроенергії

Перш ніж приступити до з'ясування причини підвищеної витрати електроенергії холодильником, слід визначити, скільки електроенергії він витрачає фактично і порівняти отримані дані з паспортними. Однак при цьому повинні бути враховані умови експлуатації холодильника, що впливають на підвищення витрати електроенергії. До таких умов відносяться:

підвищена температура навколишнього повітря;

установка холодильника в безпосередній близькості до опалювальних і нагрівальних приладів;

підвищена напруга в мережі;

застосування автотрансформатора;

робота холодильника з великою сніговий шубою.

Підвищений витрата електроенергії у всіх випадках супроводжується збільшенням коефіцієнта робочого часу або споживаної потужності. Перевірка цих параметрів і порівняння їх з необхідними дає можливість правильно орієнтуватися у визначенні причини підвищеної витрати електроенергії.

Збільшення коефіцієнта робочого часу може бути при поганому ущільненні дверного отвору, зволоженні теплоізоляції або її поганою укладанні в простінках шафи.

Збільшена споживана потужність може бути при підвищеній напрузі в мережі, застосуванні автотрансформатора, що горить в камері лампочці при закритих дверях холодильника, несправному мотор-компресорі.

Визначення і усунення всіх перерахованих несправностей, за винятком останньої, розглядалося раніше. Несправності мотор-компресора, що сприяють збільшенню витрати електроенергії (вихрові замикання в обмотках двигуна, підвищена потужність двигуна, невеликі заїдання тертьових частин компресора тощо), усуваються в майстерні.

Переохолодження продуктів (низька температура в камері)

Низька температура в камері холодильника призводить до небажаного переохолодження продуктів. При цьому холодильний агрегат працює з підвищеним коефіцієнтом робочого часу і витрачає більше електроенергії.

Порушено кріплення трубки сильфона. Якщо трубка сильфона слабо притиснута до стінки випарника або вийшла з-під притискної планки, то її необхідно надійно закріпити. При наявності пластмасових прокладок трубку треба притиснути планкою до цих прокладок, а не до стінки випарника. В іншому випадку мотор-компресор буде часто включатися і виключатися.

Якщо потрібну температуру в камері можна забезпечити шляхом встановлення ручки терморегулятора ближче до положення «Викл». і при цьому в запасі ще буде одне, два ділення, то рекомендується цим обмежитися; Якщо такої можливості немає, то терморегулятор необхідно пере регулювати або замінити новим.

Затяжний запуск мотор-компресора

Запуск мотор-компресора з моменту замикання контактів терморегулятора нормально триває не більше 1-2 с. Якщо ротор за цей час не розвернеться і залишатиметься нерухомим, то великий струм, що протікає по ланцюгу робочої обмотки, призведе до спрацьовування захисного реле. У багатьох випадках мотор-компресор може запуститися при подальшому замиканні контактів захисного реле, а іноді лише після двох- , трьохразового спрацьовування.

Порушено кріплення реле. Якщо реле не буде перебувати у вертикальному положенні згідно мітці, наявної на його корпусі, то сердечник пускового реле не зможе нормально втягуватися в соленоїдні котушку і контакти не будуть швидко замикатися. У цьому випадку реле слід правильно встановити і надійно закріпити.

Несправність пускового реле. Перевірити, чи відбувається затяжний запуск мотор-компресора з вини пускового реле, можна кількома способами. Найпростіше це зробити шляхом його заміни новим, відповідним за типом (реле РТП-1 і РТК-Х взаємозамінні) і номінального струму. Нормальний запуск мотор-компресора з новим реле буде вказувати на несправність реле, що стоїть в холодильнику.

При відсутності нового реле запуск мотор-компресора можна перевірити включенням двигуна в мережу безпосередньо, без реле або тільки без пускового реле, але із захисним реле в ланцюзі двигуна. Останній спосіб виключить можливість будь-якого непередбаченого перегріву обмоток.

Часте включення мотор-компресора (велика кількість циклів за годину).

Холодильники зазвичай працюють з 4-8 включеннями мотор-компресора на годину, що визначає тривалість одного циклу приблизно в 8-15 хв. При нормальних умовах експлуатації тривалість роботи мотор-компресора в циклі складе 2-4 хв.

Велика кількість циклів небажана, тому що при дуже короткому часі роботи мотор-компресора в циклі (в межах хвилини) електродвигун буде працювати з підвищеним споживаної потужністю, а робоча обмотка статора, не встигаючи охолонути за короткий час простою, буде перегріватися. Крім того, часте розмикання контактів терморегулятора і пускового реле буде негативно впливати на їх стійкість.

Спрацювання захисного реле

Поодинокі випадки спрацьовування захисного реле відбуваються при підвищенні сили струму в колі обмоток двигуна. Завдяки своєчасному відключення двигуна від мережі захисним реле обмотки охороняються від згоряння. Такі спрацьовування захисного реле зазвичай не впливають на охолодження продуктів в камері і практично не помічаються.

Однак можуть бути випадки, коли захисне реле спрацьовує настільки часто, що чутні характерні клацання при розмиканні контактів мимоволі звертають на себе увагу. ремонт холодильник монтаж несправність

Залежно від причини спрацьовувань захисного реле та їх періодичності мотор-компресор може деякий час включатися і холодильний агрегат в якійсь мірі буде охолоджувати камеру. При цьому двигун буде включатися без участі терморегулятора, контакти якого будуть увесь час залишатися замкнутими.

В інших випадках спрацьовування захисного реле будуть настільки частими, що мотор-компресор практично не буде працювати.

Переконатися в відбуваються включення і виключення мотор-компресора захисним реле без участі терморегулятора (контакти терморегулятора весь час замкнуті) найзручніше за допомогою контрольної електролампочки (220 В), яку треба розташувати в місці, зручному для спостереження.

Кінці двожильного дроти від патрона контрольної лампочки приєднують до пуско-захисного реле, після чого реле знову закріплюють в робочому положенні. Якщо вимкнення мотор-компресора відбувається через спрацювання захисного реле, то контрольна лампочка буде загорятися. При виключеннях мотор-компресора терморегулятором контрольна лампочка горіти не буде.

Причину частого спрацьовування захисного реле рекомендується визначати в такому порядку: спочатку перевірити напругу в мережі, потім кріплення пускозапускного модуля реле, справність реле і справність холодильного агрегату.

Незалежно від причини частого спрацьовування захисного реле не слід включати мотор-компресор в електромережу безпосередньо, так як двигун може вийти з ладу.

Мотор-компресор працює без виключень

При безперервній роботі холодильного агрегату, коли мотор-компресор працює без виключень, слід насамперед звернути увагу на температуру в приміщенні і положення ручки терморегулятора на шкалі.

При звичайних температурних умовах у приміщенні треба перевірити обмерзання випарника, а також виміряти температуру в камері холодильника.

Щодо підвищена температура в камері і погане обмерзання випарника будуть вказувати на наявну несправність в холодильному агрегаті. Переохолодження продуктів і низька мінусова температура з камері найбільш часто бувають при несправності терморегулятора.

Холодильний агрегат може працювати без виключень мотор-компресора в умовах високої (приблизно 30 °С і вище) температури в приміщенні і тим більше, коли ручка терморегулятора встановлена на діленнях великого охолодження, а також при відсутності будь-якої несправності в холодильнику.

Несправність терморегулятора. Звичайною причиною роботи мотор-компресора без виключень є наявність в терморегуляторі механічної несправності: заїдання важеля або пригоранню контактів один до одного. Такий терморегулятор необхідно замінити.

Несправність холодильного агрегату. Безперервна робота холодильного агрегату, що супроводжується недостатнім охолодженням продуктів в камері, найбільш часто буває в результаті мікротечі фреону. Характерна ознака мікротечі - не обмерзають останні (по руху фреону) канали випарника, тобто місця, прилеглі до упаяний всмоктуючої трубки.

Визначити місце мікротечі фреону з холодильного агрегату можна лише за допомогою електронного детектора шукаємо галоїдні (ГТВ-2, ГТВ-3 та ін.) В іншому випадку агрегат доводиться відправляти в майстерню без зазначення місця витоку.

Висока температура в приміщенні. При відсутності дефектів в холодильнику мотор-компресор працює без виключень при високій температурі в приміщенні через недостатню холодопродуктивності компресора.

Залежно від температури в приміщенні мотор-компресор може увійти в циклічний режим роботи при установці ручки терморегулятора на поділ ближче до положення «Вимк.».

Відсутнє охолодження

Цей дефект характеризується відсутністю охолодження в камері (кімнатна температура) при працюючому мотор-компресорі.

Несправність холодильного агрегату. Найбільш частою причиною несправності холодильного агрегату буває повний витік фреону з нього, проте можуть бути й інші причини: засмічення цеолітового патрона (фільтра-капіляра), замерзання вологи в агрегаті, рідше поломка або корозія клапанів.

Залежно від наявних несправностей зовнішні ознаки їх будуть різними. Визначати несправність рекомендується в такому порядку. Включити мотор-компресор і перевірити на дотик нагнітальну трубку. Якщо вона буде нагріватися, то припущення про відсутність фреону в агрегаті можна виключити. Потім треба перевірити на дотик патрубок (або канал) випарника, в який впаяний кінець капіляра. Якщо ознак охолодження цього місця немає, то можна припустити, що засмічений цеолітовий патрон (фільтр капіляра).

Якщо при перевірці нагнітаючої трубки вона буде зберігати кімнатну температуру, то, перевіряючи патрубок випарника, треба прислухатися до можливого перетікання масла у випарник. Чутний характерний звук, видаваний масло-повітряною сумішшю, буде вказувати на відсутність фреону в агрегаті. При відсутності такого звуку можна вважати, що несправний компресор. Дефектний холодильний агрегат необхідно ремонтувати в майстерні.

Не працює мотор-компресор. Коли не працює мотор-компресор, холодильник виявляється повністю непрацездатним. Однак це не у всіх випадках буде свідчити про вихід з ладу мотор-компресора. Можуть бути несправними та інші вузли: терморегулятор, реле та ін.

Залежно від того, в якому вузлі є дефект, складність ремонту буде істотно відрізнятися. В одних випадках працездатність холодильника може бути швидко відновлена шляхом нескладного виправлення. Пошкодження або заміни дефектного вузла, в інших потрібно демонтувати холодильний агрегат і направити його для ремонту в майстерню.

При наявності в холодильнику освітлення слід насамперед перевірити, чи горить лампочка в камері. Якщо лампочка не горить, то це певною мірою може вказувати на відсутність напруги в розетку мережі або на виході з автотрансформатора, (якщо холодильник працює через автотрансформатор), а також на можливе пошкодження у зовнішній проводці холодильника.

При відсутності напруги в розетці старого типу треба переконатися в цілості наявного в ній запобіжника.

Якщо при відкриванні дверей холодильника в камері горить світло, то перевіряти справність розетки не слід. Треба включити терморегулятор і прослухати мотор-компресор. При одних несправності в кожусі мотор-компресора буде чутно гудіння, при інших гудіння не буде. Гудіння вказує на наявність струму в ланцюзі робочої обмотки ротора і нерухомість. Так як при нерухомому роторі по робочій обмотці буде протікати великий струм короткого замикання, тримати двигун під напругою слід не більше 2-3 с.

Якщо в кожусі мотор-компресора гудіння не чути, то це означає, що несправний терморегулятор. Якщо гудіння чути, то можуть бути такі несправності: низька напруга в мережі; порушено кріплення пуско-захисного реле або з'єднання з ним проводки холодильника; несправне пускозахисне реле; несправний мотор-компресор.

Послідовність визначення місця несправності залежить від результатів прослуховування мотор-компресора, але завжди рекомендується починати перевірку з найбільш простих операцій.

Несправність терморегулятора. Найбільш часто мотор-компресор може не включатися через несправність терморегулятора при витоку наповнювача з трубки сильфона. Тому спочатку при включенні терморегулятора треба прислухатися, чи є клацання в момент замикання контактів.

Якщо в сильфоні немає наповнювача, то контакти не замкнуться, так як перекидна пружина не зможе перекинути важіль. Внаслідок цього ручка з положення «Виключено» на будь-який інший поділ шкали повертається плавно, без клацання, видаваного важелем.

При відсутності клацання рекомендується переконатися у справності терморегулятора шляхом більш ретельної перевірки його. Існує кілька способів перевірки терморегулятора в залежності від складності його демонтажу і типу пуско-захисного реле, застосованого в холодильнику.

При складному демонтаж терморегулятора його справність найбільш просто перевірити таким чином: знеструмити холодильник, вийнявши вилку з розетки мережі, і повернути ручку терморегулятора на будь поділ шкали. У холодильниках з реле РТП-1 і РТК-Х зняти проводи з клем реле і приєднати до їх наконечників контрольну електролампу напруги, відповідну напрузі мережі.

При включенні вилки холодильника в мережу і справному терморегуляторі лампа повинна горіти.

У холодильниках з реле РПЗ і LS-08B контрольну лампу слід підключити до наконечників рознімних проводів, що йдуть в холодильник, роз'єднавши їх з проводами реле і прохідного контакту.

При нескладному демонтаж терморегулятора його справність можна перевірити методом виключення. Для цієї мети необхідно знеструмити холодильник, демонтувати терморегулятор, зняти проводу з його клем і замкнути їх між собою, ретельно ізолювавши їх щоб уникнути замикання на корпус. Запуск мотор-компресора при включенні вилки холодильника в мережу буде говорити про несправності терморегулятора. Несправний терморегулятор у всіх випадках повинен бути замінений.

Низька напруга в мережі. Якщо в кожусі мотор-компресора чути гудіння, то в момент включення мотор-компресора рекомендується перевірити напругу в мережі.

Порушено кріплення пуско-захисного реле або з'єднання з ним проводки холодильника. Перед перевіркою несправності слід знеструмити холодильник. Найбільш вірогідною є можливість порушення з'єднань проводів з клемами реле.

В реле РТП-1 і РТК-Х, розташованих на прохідних контактах, необхідно перевірити приєднання до їх клем двожильного дроти з затискачами, а при розташуванні цих реле на рамі мотор-компресора - відсутність ушкоджень у з'єднаннях трьохжильного дроту з прохідними контактами і з гніздами реле .

В реле РПЗ, LS-08B і ДХР треба перевірити кріплення проводів на тильній стороні корпусу реле. Якщо реле було не закріплено або перекошене, то цей дефект необхідно усунути.

Несправність пуско-захисного реле. Несправності реле бувають різними. Так, за відсутності гудіння в кожусі мотор-компресора найбільш імовірна несправність захисного реле, при наявності гудіння несправність може бути тільки в пусковому реле.

Найбільш ймовірними несправностями захисного реле можуть бути: перегорання нагрівального елемента, деформація біметалічної платівки і відрив контакту. У реле РТП-1 і РТК-Х можливо також порушення контакту між гніздом і прохідним контактом, з яким з'єднується вивідний кінець робочої обмотки.

Для з'ясування стану захисного реле можна перевірити запуск мотор-компресора за допомогою однотипного нового реле або шляхом його включення в мережу безпосередньо. Перевірити ланцюг захисного реле, не розкриваючи його пломби, можна приладом, а також оглядом гнізд. При наявності в реле несправності ланцюга не буде. Несправне захисне реле у всіх випадках необхідно замінити.

Несправність мотор-компресора. Несправність мотор-компресора визначають шляхом прослухування кожуха мотор-компресора. Так, за відсутності гудіння можна припустити, що є обрив в робочій обмотці, при наявності гудіння найбільш можливо згоряння пускової обмотки або заклинювання в компресорі.

Для визначення наявної несправності слід перевірити ланцюг обмоток, приєднуючи прилад безпосередньо до прохідних контактів. Якщо з'єднання вивідних кінців обмоток з прохідними контактами в даному холодильнику невідомі, то треба перевірити ланцюг попарно між усіма контактами. Відсутність ланцюга між двома будь-якими парами контактів буде вказувати на наявний обрив.

При наявності ланцюга між усіма трьома парами контактів можна припустити, що компресор заклинило. В окремих випадках цей дефект вдається усунути на місці шляхом «зриву» колінчастого вала з місця короткочасним підвищенням пускового моменту двигуна. Пусковий момент двигуна можна збільшити, підвищивши напруга яка подається з допомогою автотрансформатора або застосувавши електролітичний конденсатор.

Підвищити пусковий момент двигуна на 220 В можна, включивши між робочою і пусковий обмотками електролітичний конденсатор (для змінного струму) ємністю приблизно від 60 до 250 мкф в залежності від отриманих результатів.

Двигун при заклинювання в компресорі запускають, включаючи його в мережу безпосередньо, використовуючи при цьому окремий провід з вилкою і автоматичну пробку, щоб не спалити плавкі запобіжники в квартирі.

Холодильний агрегат з обривом в обмотках або заклинювання в компресорі (при незадовільних результатах «зриву») підлягає ремонту в майстерні.

4. Устаткування та технічні засоби для ремонту холодильника

Охолоджуюча паста. Наноситься на деталі перед паянням і захищає їх від перегріву.

Труборіз. Придатний для різання трубопроводів із сталі і кольорових металів.

Трубогиб. Дозволяє гнути трубопроводи практично на будь-який кут не утворюючи переломів.

Шумомір. Прилад для заміру рівня шуму працюючого холодильника.

Вальцівка для підготовки стиків трубопроводів типу "Тюльпан"

Ваги електронні. Використовуються для дозування кількості фреону заправляє в холодильний агрегат.

Електронний течешукач. Використовується для пошуку місць витоку фреону.

Кліщі або струбцина для перетискання сервісного (заправного) трубопроводу. Після заправки холодильного агрегату фреоном, цими кліщами пережимається трубопровід, через який відбувалася заправка.

Вакуумний насос. Служить для вакуумування холодильного агрегату перед заправкою його фреоном.

5. Розрахунок випарника

Випарник - це пристрій, який абсорбує тепло в холодну систему. Випарник встановлюють в охолоджуваному просторі. Тепло поглинається в результаті кипіння холодоагенту в каналах випарника.

а) випарник холодильної камери - листотрубний випарник. Поверхня випарника визначається за формулою:

, (5.1)

де f - поверхня випарника, ;

d - зовнішній діаметр змієвидного трубопроводу випарника, м;

L - довжина змієвидного трубопроводу, м;

φ-коефіцієнт оребрення, рівний відношенню оребреної поверхні до поверхні, якби оребрення не було:

, (5.2)

де n - відстань між гілками змійовика= 0,008 м;


Довжину змієвидного трубопроводу визначають за формулою:

 (6.3)

Визначаємо поверхню випарника холодильної камери:

.

Площа поверхні визначається за формулою:

 (5.4)

.

б) випарник морозильної камери:

Поверхня випарника визначається за формулою:

, (5.5)

де f - поверхня випарника, ;зовнішній діаметр змієвидного трубопроводу випарника, м;довжина змієвидного трубопроводу, м;

φ-коефіцієнт оребрення, рівний відношенню оребреної поверхні до поверхні, якби оребрення не було:

 (5.6)

Довжина змієвидного трубопроводу= 7,9 м

Площа поверхні оребрення:

 (5.7)

.

6. Утилізація старих холодильників

Для утилізації побутових приладів організовуються спеціальні пункти прийому, на яких стару техніку розбирають і відправляють на переробку по частинах: метал, скло, пластик.

Утилізація холодильників проходить таким чином. По конвеєру йдуть холодильники, робочі виймають з них піддони та роздільники, виривають магнітний ущільнювач. Потім з холодильного контуру відкачують фреон, витягають масло, від'єднують компресор, який потім розбирають на деталі. Потім за допомогою величезного подрібнювача. Тут напівцілий холодильник за секунди перемелюється на дрібні шматки металу і пластика. Подальший шлях залишків холодильника не настільки видовищний, але зате більш цікавий з точки зору технологій. Спершу потужні магніти витягають із суміші різних матеріалів сталь. Потім з неї видувається легкий пінополіуретан, а залишилися в суміші більш важкі мідь і алюміній відокремлюються від пластику за допомогою сепаратора з постійними рідкоземельними магнітами. Під час його роботи, коли шматки кольорових металів з великою швидкістю проходять через обертовий сепаратор, в них виникають вихрові струми і створюється магнітне поле навколо металів. Полярність цього магнітного поля збігається з полярністю обертового магніту, в результаті кольорові метали відскакують від нього. Параметри установки підібрані так, щоб балістичні траєкторії металів різної щільності суттєво різнилися. На цій властивості й ґрунтується відділення мідних фракцій від алюмінієвих: вони потрапляють в різні бункери. Пластики впливу поля не піддаються - конвеєр скидає їх в свій бункер. Після цього суміш із пластиків направляється у флотаційну камеру з водою і в центрифугу - для поділу за видами. Частина отриманого матеріалу йде на виробництво деталей нової побутової техніки. Останнє надходить на спеціалізовані заводи для подальшої переробки.

Токсичні речовини і матеріали збираються та утилізуються за суворими стандартами і технологіями. Утилізація старої побутової техніки це необхідність. Дослідження показали, що щорічно в світі викидається до 50 тонн старих електроприладів. Особливу небезпеку становлять апарати, що містять холодоагент (кондиціонери і холодильники), а також електроніка, деталі якої виготовляються із застосуванням важких і токсичних металів. Неконтрольовані звалища побутової техніки не тільки займають корисний простір у районі міст, псують естетику ландшафту, а й є серйозним джерелом забруднення повітря, ґрунту і води. Тривалий процес розкладання багатьох матеріалів з виділенням шкідливих речовин завдає істотної шкоди навколишньому середовищу і знижує якість життя людей.

7. Організація ремонту та його економічне обґрунтування

7.1 Організація ремонту

7.1.1 Розрахунок фонду роботи майстра

Для визначення необхідної кількості робочих треба провести розрахунок робочого часу робочого.

Розрахунок фонду робочого часу робочого виконується за наведеними формулами методом календарних розрахунків на поточний рік.

Ефективний (корисний) фонд робочого часу визначається за формулою:

= (Дн - (В + Н)) ∙ Ф, (7.1)


де В, Н - неявки на роботу в середньому на одного робочого на рік, днів (100%), в тому числі: відпустки (планові, додаткові, інші), днів (80%), невиходи на роботу (хвороби та інші), днів (20%);

Ф - середня тривалість робочої зміни з урахуванням скорочених за законодавством робочих днів, годин;

Дн - номінальний фонд робочого часу або число календарних робочих днів:

Дн = Дк - (Дс + Дв), (7.2)


де Дк - календарний фонд часу, днів;

Дс - кількість святкових днів;

Дв - кількість вихідних днів

Розрахунок зводимо в таблицю 7.1.

Таблиця 7.1 - Розрахунок фонду робочого часу робочого на 2012 рік.

№№

Умовні позначення

Розмір показників

1.

Дк

366

2.

Дс, Дв

10, 105

3.

Дн

251

4.

В, Н

30

5.

Дн-(В+Н)

221

6.

Ф

7,74

7.

Fe

1711


7.1.2 Трудомісткість ремонту холодильника

Терміни виконання замовлення підприємство побутового обслуговування узгоджує із споживачем і зазначає у договорі з урахуванням місцевих умов надання послуг. Структура норми часу на виконання ремонту:

-   підготовчо-завершальний час;

-        оперативний час;

         час на обслуговування робочого місця;

         час перерв на відпочинок і особисті потреби.

Норму часу (Тп) на виконання одиниці послуги розраховуємо за формулою:

Тп = То + Тпз + Трм + Твоп + Тпр, (7.3)

де То - оперативний час на виконання послуги;

Тпз - підготовчо-завершальний час;

Трм - час на обслуговування робочого місця;

Твоп - час на відпочинок і особисті потреби;

Тпр - час на проїзд до замовника.

Розраховуємо норми часу на ремонт за наступними формулами:

а) при виконанні послуги в стаціонарних умовах:

Тп = 1,15 ∙ То, (7.4)


де 1,15 - коефіцієнт, що враховує Тпз, Трм, Твоп.

б) при виконанні послуги вдома у замовника:

Тп = 1,15 ∙ То + Тпр. (7.5)


Час проїзду до замовника визначають на основі середніх фактичних витрат (загалом становить 20-30 хв. на замовлення).

Для визначення норми часу (Тп) використовуємо аналітико-дослідницький метод і знаходимо операційний час на ремонт холодильника. Результати розрахунку операційного часу на ремонт заносимо у таблицю 7.2.

Таблиця 7.2 - Операційний час на ремонт холодильника - заповнення холодильного агрегату холодоагентом.

Назва операції

Норма часу, хв.

1. Діагностика несправностей 2. Вакуумування агрегату 3. Заповнення агрегату 60г хладоном 4. Перевірка протікання хладону 5. Видалення хладону з холодильного агрегату 6. Вторинне вакуумування агрегату 7. Обкатка агрегату і перевірка параметрів 8. Перевірка агрегату за рівнем звукової потужності 9. Перевірка температурного режиму в морозильній камері 10. Перевірка опору ізоляції

30 15 10 15 10 10 15 10 10 15

Разом

140


7.1.3 Визначення місткості ринку з ремонту холодильника

Місткість ринку визначається обсягом (в фізичних одиницях або вартісному виразі) товарів, що на ньому реалізуються, або послуг, як правило протягом року.

Місткість ринку з ремонту побутової техніки визначаємо методом експертних оцінок. Результати визначення зведено у таблиці 7.3.

Таблиця 7.3 - Місткість ринку.

Експерти

Величина

Кількість, шт.

Експерт № 1

Кmin1 Kmax1

1400 2000

Експерт № 2

Kmin2 Kmax2

1100 1500

Середнє

Kmin Kmax

1250 1750


 


де  - мінімальна місткість ринку, надана першим, другим експертом та середня відповідно, шт.


де  - максимальна місткість ринку, надана першим, другим експертом та середня відповідно, шт.

Місткість ринку визначаємо за формулою:

 


7.1.4 Визначення необхідної кількості працівників

Необхідна кількість працівників майстерні з ремонту побутової техніки розраховуємо за формулою:


де Fe - ефективний фонд робочого часу робочого, год.;

Тп - норма часу на виконання одиниці послуг, хв.;

Кр - місткість ринку, шт.

Отриману кількість робітників округлити за правилами математики.

Приймаємо Rпр. = 3 чол.

7.2 Планування витрат на ремонт пральної машини

7.2.1 Визначення вартості нормо-години на виконання ремонту холодильника

Вартість нормо-години на виконання ремонту ( розраховується за формулою:

 

 

де Зм - місячний плановий фонд заробітної плати робітників (майстрів);

Нз - нарахування на заробітну плату;

Нв - середні накладні витрати суб’єкта підприємницької діяльності за місяць (у частині надання побутових послуг, прийняти 50% від суми Зм та Нз);пр - чисельність робітників (майстрів);

Фм - місячний фонд робочого часу.

За наявності у господарюючого суб’єкта виробничих підрозділів (ательє, майстерень), які надають різні види побутових послуг, або однакових підрозділів, розташованих у різних місцях (населених пунктах), рекомендується вартість нормо-години розраховувати окремо у певній послідовності.

Місячний плановий фонд заробітної плати робітників (майстрів) розраховуємо на основі штатного розкладу, заробітної плати працівників. При визначенні зарплати беремо зарплату одного працівника


Нарахування єдиного соціального внеску на заробітну плату становлять 36.8 % місячного фонду заробітної плати майстрів


Місячний фонд робочого часу визначається шляхом встановлення річної норми тривалості робочого часу на 12 місяців.

Результати розрахунків вносимо до таблиці 7.4

Таблиця 7.4 - Результати розрахунку вартості нормо-години на ремонт холодильника.

Показники

Умовні позначення

Одиниці виміру

Розмір показника

Чисельність робітників

Rпр

чол.

3

Місячний плановий фонд заробітної плати робітників (майстрів)

Зм.

грн.

9000

Нарахування на заробітну плату

Нз

грн.

3312

Середні накладні витрати за місяць

Нв.

грн.

6156

Місячний фонд робочого часу

Фм

год.

143

Вартість нормо-години на ремонт

Внг

грн.

43.05


7.2.2 Визначення собівартості ремонту холодильника

Ціни (встановлює виробник самостійно, без втручання держави), залежать від трудових і матеріальних витрат, якості послуг, кон’юнктури попиту та інших факторів. Їх встановлюють на основі собівартості послуг і планового прибутку.

Визначення собівартості (Сп). До собівартості виконання ремонту зараховують вартість матеріалів (комплектувальних виробів), передбачених нормами їх витрат.

 

 

де Внг - вартість нормо-години на ремонт;

- норма часу на виконання ремонту;

М - вартість матеріалів, препаратів, комплектувальних виробів, фурнітури, які постійно використовуються під час ремонту. (розрахунок вартості матеріалів зводимо в таблицю 7.5)

Таблиця 7.5 - Розрахунок вартості матеріалів.

№ з/п

Найменування матеріалу

Одиниця вимірювання

Кількість

Вартість за одиницю

Загальна вартість

1

холодоагент

кг

0.06

140

8.4

Разом


М=8.4



7.2.3 Визначення планового прибутку

Плановий прибуток розраховують на основі запланованої рентабельності послуги, яка не має обмежень. Собівартість послуги (робіт) складається з виробничої собівартості, яка охоплює прямі матеріальні витрати, прямі витрати на оплату праці, інші прямі витрати на виробничі потреби, адміністративні і загальногосподарські витрати, спрямовані на обслуговування та управління підприємством побутового обслуговування.

Плановий прибуток розраховується за формулою:


де Сп - собівартість ремонту;

Р - рівень рентабельності ремонту (приймаємо 30% від собівартості).

7.2.4 Визначення ціни на ремонт холодильника

Вихідні дані для розрахунку цін на виконання ремонту наведено в таблиці 7.6

Таблиця 7.6 - Вихідні дані для розрахунку цін на виконання ремонту холодильника - заповнення холодильного агрегату холодоагентом.

Показники

Умовні позначення

Одиниці виміру

Розмір показника

Вартість нормо-години на ремонт

Внг

грн.

43.05

Норма часу на виконання ремонту

Тп

хв.

181

Вартість матеріалів

М

грн.

8.4

Собівартість ремонту

Сп

грн.

138.217

Плановий прибуток

П

грн.

41.48


Визначення ціни на ремонт (Цп). Якщо підприємство працює за загальною системою оподаткування, ціни на побутові послуги розраховують за формулою:


де П - плановий прибуток;

Сп - собівартість ремонту;

ПДВ - податок на додану вартість( 20% від суми Сп і П).

Підприємство, яке сплачує єдиний податок, ціни на ремонт може розраховувати за такими варіантами:

1)   юридичні особи, які сплачують єдиний податок у розмірі 3% суми виручки від реалізації послуг (робіт) і є платниками ПДВ, ціни на послуги розраховують за формулою:


де Кєп3 - коефіцієнт, який враховує суму єдиного податку за ставкою 6% (Кєп3 = 1,03);

Сп - собівартість послуги при умові сплати єдиного податку;

П - прибуток при умові сплати єдиного податку;

ПДВ - податок на додану вартість (прийняти 20 % від суми  і П).

2)   юридичні особи, які сплачують єдиний податок у розмірі 5 % суми виручки від реалізації послуг (робіт) і включають ПДВ до складу єдиного податку, ціни на ремонт розраховують за формулою:


де Кєп5 - коефіцієнт, який враховує суму єдиного податку за ставкою 10 % (Кєп5 = 1,05);

Сп - собівартість ремонту при умові сплати єдиного податку;

П - прибуток при умові сплати єдиного податку.

3) фізичні особи, які сплачують єдиний податок у розмірі 200 грн. на місяць, ціни на послуги розраховують за формулою:


де  - ставка єдиного податку для фізичних осіб (20-200 грн. на місяць);

 - місячний фонд робочого часу;

 - норма часу на виконання ремонту;

П - прибуток при умові сплати єдиного податку.

Коефіцієнти Кєп3 і Кєп5, а також вираз  мають допоміжне призначення, і в офіційному розрахунку ціни на виконання ремонту не відображаються.

У ринкових умовах можливе формування ціни не на основі собівартості і запланованого прибутку, а на основі рівня цін у галузі і конкурентної стратегії конкретного підприємства. Безперечно, показники собівартості, рентабельності при цьому беруться до уваги, але головним є отримання переваг над конкурентами за критерієм „ціна-якість”, досягнення чітко визначених позицій фірми чи її послуги з огляду на різноманітні аспекти її зовнішнього і внутрішнього середовища

Отже, порядок розрахунку цін на виконання ремонту побутової техніки залежить від виду ремонту, чинної системи оподаткування та інших факторів.

Таблиця 7.6 - Результати розрахунку ціни ремонту пральної машини - демонтаж і монтаж нагрівального елементу

№ п/п

Показник

Одиниці вимірювання

Обсяг

1.

Ефективний фонд часу роботи робочого

годин

1711

2.

Норма часу на виконання послуги

хв.

181

3.

Місткість ринку

шт.


4.

Необхідна кількість працівників

чол.

3

5.

Вартість нормо-години на ремонт

грн.

43.05

6.

Собівартість ремонту

грн.

138.27

7.

Плановий прибуток

грн.

41.48

8.

Ціна ремонту при загальній системі оподаткування

грн.

215.70

9.

Ціна ремонту при умові сплати єдиного податку: а) єдиний податок 3% б) єдиний податок 5% в)єдиний податок 200 грн.

грн. грн. грн.

  


8. Охорона праці і техніка безпеки при діагностиці, ремонті і випробуваннях холодильних приладів

a (ізобутан) має, в порівнянні з R12 і R134a, значні екологічні переваги. Цей холодоагент не руйнує озоновий шар, не сприяє появі парникового ефекту, крім того, витрата холодоагенту на агрегат значно скорочується (приблизно на 1/3 частина). На ряду з цим є такі недоліки:

·        горючий;

·        добре розчинний в компресорній оливі;

·        малий граничний допуск дози заправки;

·        недостатній рівень тиску в контурі охолодження.a легкозаймистий і вибухонебезпечний тільки в з'єднанні з повітрям в об'ємному співвідношенні від 1,3 до 8,5%. При використовуваних в холодильних приладах кількостях ізобутану, з'єднання в такому співвідношенні може виникнути тільки у виняткових випадках, але не дивлячись на це, необхідно дотримуватися таких заходів безпеки:

·        стежити за хорошою провітрюваність приміщення;

·        працювати далеко від опалювальних приладів (температура займання ізобутану плюс 460 0С);

·        не курити;

·        не допускати відкритий вогонь (газова плита, свічка).

УВАГА! При наявності в контурі R600a, категорично заборонено застосування відкритого вогню та проведення робіт зварювальними апаратами.

При усуненні несправності холодильний прилад треба знеструмити (вийняти штепсельну вилку шнура мережевого з розетки мережі електроживлення). Проводити технічне обслуговування холодильного приладу, включеного в мережу, слід тільки в необхідних випадках (наприклад, при перевірці запуску компресора і т.п.).
Для захисту від ураження електричним струмом служать ізолюючі захисні засоби: гумові рукавички і монтажний інструмент з електроізольованими ручками. При знятті терморегулятора на тривалий час, кінці електропроводів (наконечники) повинні бути ретельно ізольовані, щоб уникнути замикання на корпус при випадковому включенні холодильного приладу в мережу.

Виконання капітально-відновного ремонту холодильних агрегатів в умовах майстерні

Що діють в даний час правила безпеки і виробничої санітарії для підприємств по ремонту електропобутових машин і приладів розраховані на проведення ремонту, зокрема капітального, в стаціонарних умовах.

У них передбачені місцева і загальна витяжна вентиляція при паянні агрегатів; роздільна установка балонів з пропаном, ацетиленом і киснем на спеціальних, відгороджених ділянках; заземлення виробничого устаткування і електроінструменту; відділення ділянки, де проводяться паяльні та інші вогневі роботи, від інших; періодична перевірка на міцність і герметичність балонів для газу; визначення норми виробничих площ, яка досить висока (до 20 м2 на одного працюючого) на ділянці капітального ремонту.

Відповідно до вищеназваних Правил на ділянці паяння мають бути відсутніми ємності з паливно-мастильними матеріалами і вироби, що згорають.

До небезпечних і шкідливих виробничих чинників при діагностиці, ремонті і випробуваннях холодильних приладів відносяться:

-  токсичні речовини;

-       підвищена загазованість повітря робочої зони;

-       підвищена напруга в електричному ланцюзі;

-       знижена температура поверхні устаткування;

-       рухливі частки виробничого устаткування;

-       підвищений рівень ультрафіолетового випромінювання.

При виробництві спеціалізованих робіт (забарвлення, газозварювання) необхідно користуватися захисними окулярами, рукавицями і респіратором.

Перед початком роботи необхідно:

-  надіти засоби індивідуального захисту;

-       манжети рукавів ретельно зав'язати або застебнути;

-       волосся прибрати під головний убір;

-       оглянути робоче місце, прибрати предмети, що заважають роботі;

-       перевірити наявність на робочому місці деталей, матеріалів і інструменту;

-       перевірити наявність кисню і пропану на газозварювальному посту;

-       перевірити справність запобіжних і захисних пристроїв, а також заземлення устаткування;

-       переконатися в справності вентиляційної системи;

-       розкласти інструмент і деталі в порядку, зручному для користування;

-  перевірити освітлення робочого місця.

Вимоги безпеки під час роботи:

-  необхідно бути уважним, не відволікатися самому і не відволікати інших;

-       не допускати на робоче місце осіб, що не мають відношення к
ремонту холодильників, не залишати робоче місце без нагляду;

-       стежити за справністю устаткування, інструменту, пристосувань і вентиляційної системи;

-       складати використане дрантя в металеві ящики, що закриваються.

При розбиранні і збірці холодильників:

-  необхідно заздалегідь відключити холодильник від електромережі;

-  газозварювальні і паяльні роботи проводити відповідно до вимог інструкцій по безпеці праці при газозварювальних і паяльних роботах;

-  забороняється розпаювати холодильні агрегати, які містять хладон, масло і аміак;

-       злив масла і випуск хладону потрібно здійснювати в спеціальній камері або окремому приміщенні з використанням засобів індивідуального захисту (захисні окуляри і рукавиці);

-       миття і знежирення деталей холодильного устаткування проводити негорючими і нетоксичними складами в спеціальній камері або окремому приміщенні, обладнаному вентиляційною системою;

-       забороняється працювати в замаслених спецодягу і захисних рукавицях;

-       розбирання холодильних агрегатів абсорбції необхідно виконувати з використанням фрези, що має захисне пристосування.

Виконання капітально-відновного ремонту холодильних агрегатів вдома

Виконання капітально-відновного ремонту холодильних агрегатів вдома у споживача має наступні особливості. У житлових приміщеннях майданчик, на якому повинні проводитися ремонтні роботи, обмежений: площа кухні може не перевищувати 5 м2. Тут зазвичай знаходяться предмети (меблі, занавіски і т. д.), що згорають, а місцева витяжна вентиляція відсутня. Згідно Правилам устрою електроустановок в більшості житлових будинків межа електронавантаження обмежена силою струму 6 А і відсутня можливість заземлення переносної ремонтної апаратури.

Істотно утрудняє організацію ремонту та обставина, що діючі правила, проведення ремонтних робіт в житлових приміщеннях, розраховані на житлово-комунальні служби, вимагають кожного разу отримувати спеціальний дозвіл головного інженера ДЕЗ, РЕУ і так далі.

При проведенні ремонту керуються Інструкцією пожежної безпеки при виконанні ремонту холодильних агрегатів побутових компресійних холодильників і морозильників у їх власників. У ній визначений порядок підготовки приміщень до ремонту (установка екранів на предмети, що загоряються, або забезпечити полив їх водою, звільнення зони робіт від предметів, що загоряються, і т.д.), обмежена сила струму (6 А). Для власників побутових холодильників введено правило , відповідно до якого протягом певного часу вони повинні спостерігати за приміщенням, де здійснюється ремонт із застосуванням вогневих засобів.

Охорона праці робітників і здоров'я споживачів

Для охорони праці робітників і здоров'я споживачів при проведенні капітального ремонту холодильного агрегату необхідно виконувати наступні основні вимоги.

.        В цілях запобігання ураженню електричним струмом вся ремонтна електроапаратура і холодильник в період ремонту мають бути заземлені або зануленні. За відсутності такої можливості в житлових приміщеннях електроапаратуру включають через пристрої захисного відключення, що випускаються серійно.

При неможливості заземлення, занулення і застосування захисного відключення або якщо вони зв'язані із значними труднощами, Правила пристрою електроустановок допускають обслуговування електроустаткування з ізолюючих майданчиків при відключеному холодильнику.

Неприпустимо наявність холодоагенту в приміщенні, де проводитимуться зварювальні роботи (щоб уникнути утворення слідів фосгену - сильно ядовитої речовини). Холодоагент повинен відбиратися з агрегату в спеціальні приймачі. Необхідно провітрювати приміщення протягом 15 мін при кожній зарядці і випуску холодоагенту перед паянням, що викликане неминучим його витоком.

Слід надійно захистити фахівця-ремонтника від попадання в дихальні шляхи фтористого водню, що утворюється при паянні із застосуванням флюсів, що містять фтор. Відомо, що навіть незначна його кількість надзвичайна небезпечно для здоров'я. Захист механіка у момент паяння забезпечує протигаз типа М(В), при цьому двері приміщення, в яких проводиться ремонт, мають бути закрита, щоб виключити попадання газу в приміщення, де знаходиться власник побутової холодильної техніки.

Для відсмоктування газів, що утворюються при паянні, може бути використаний, наприклад, пилосос "Джміль" з невеликою парасолькою, що встановлюється в зоні паяння. Після її закінчення квартиру провітрюють.

Необхідно забезпечити регулярну перевірку на міцність і герметичність малогабаритних балонів з пропаном і холодоагентом, які вживаються при ремонті вдома, а також вакуум-заправочних стендів, обладнаних ємностями для зберігання холодоагента.

При заповненні холодильного агрегату холодоагентом, а так само при випуску холодоагенту з балона, слід остерігатися попадання його на руки, обличчя і, особливо, очі. При попаданні холодоагенту в очі, їх слід промити чистою теплою водою, надіти темні окуляри (не робити пов'язку) і звернутися до лікаря. У разі попадання холодоагенту на шкіру - промити її чистою теплою водою протягом 5-10хв, осушити не розтираючи, змастити вазеліном або маззю Вишневського.

При вдиханні повітря з високим вмістом парів холодоагенту, може спостерігатися тимчасова депресія нервової системи з ефектами апатії, наркотичного сп'яніння, запаморочення, відчуття отруєння, втрата координації. Якщо ви спостерігаєте у себе які-небудь з вище перерахованих симптомів отруєння, вийдіть на свіже повітря і зверніться за медичною допомогою. Не слід застосовувати адреналін (епінефрін) або подібні препарати, так як ці ліки можуть збільшити ризик серцевої аритмії і зупинки серця. Якщо дихання у потерпілого зупинилося, вдамося до штучного дихання.

Висновок

1.   Розглянуті функціональні можливості та технічні характеристики холодильника Nord ДХМ 186-7;

2.       Виконано розрахунок випарника холодильника Nord ДХМ 186-7;

3. Приведений економічний розрахунок ціни ремонту холодильника;

. Детально розглянута техніка безпеки при ремонті холодильника;

. Розглянуті можливі несправності та шляхи їх усунення;

. Розглянуто устрій та принцип дії холодильника Nord ДХМ 186-7

Список джерел інформації

1. Холодильная техника и технология: Учебник под ред. А.В. Руцкого. - М.: ИНФРА - М, 2000. - 286 с. - (Серия «Высшее образование»).

. Свердлов Г.З., Явнель Б.К. Курсовое и дипломное проектирование холодильных установок и систем кондиционирования воздуха. - 2-е изд., перераб. и доп. - М.: Пищевая промышленность, 1978 - 264 с.

. Основы холодильной техники и холодильной технологии: Мещеряков Ф.Е. - М., 1975 - Изд. «Пищевая промышленность», 559 с.

. Якобсон В.Б. Малые холодильные машины. - М.: Пищевая промышленность, 1977. - 368 с.

5. Зеликовский И.Х., Каплан Л.Г. Малые холодильные машины и установки: Малые холодильные установки. - 2-е изд., перераб и доп. - М.: Пищевая промышленность, 1979. - 448 с.

. Кондрашова Н.Г., Лашутина Н.Г. Холодильно-компрессорные машины и установки. - 3-е изд., перераб. и доп. - М.: Высшая школа,1984 - 335 с.

7. Лесников В.В. Бытовые компрессионные холодильники (методическое указание по дисциплине «Бытовые машины и приборы») Уфа 1998. - 47с.

. Доссат Р.Дж. Основы холодильной техники. Пер. с англ. - М.: Легкая и пищевая промышленность, 1984. - 520 с.

1.   Мааке В., Эккерт Г.-Ю., Кошпен Ж.-Л. Учебник по холодильной технике. Пер. с фр. - М., 1998. - 1142 с.

2.       Кошкин Н.Н., Сакун И.А., Бамбушек Е.М. и др. Холодильные машины. - Л.: Машиностроение, Ленингр. отд-ние, 1985. - 510 с.

3.       Лепаев Д. А. Ремонт бытовых холодильников. Справочник. 2-е издание

.        Корякин-Черняк С.Л. Холодильники от А до Я. - СПб: Наука и техника, 2003. - 416 с.

.        Лепаев Д.А. Бытовые электроприборы: устройство и ремонт. Справочное пособие. - М.: Горячая линия - Телеком, 2004. - 443с.

6.       Вейнберг Б.С. Вайн Л.Н. Бытовые компрессионные холодильники. - М.: Пищевая промышленность ,1972. - 272 с.

7.       Інтернет ресурс <http://ru.wikipedia.org/wiki/Холодильник>

.        Інтернет ресурс <http://nord-holod.ru/>

Похожие работы на - Розрахунок побутового холодильника Nord ДХМ 186-7

 

Не нашли материал для своей работы?
Поможем написать уникальную работу
Без плагиата!
Без нейросетей!