Расчет на прочность и жесткость станины и рабочих валков стана ХПТ-55
Содержание
Реферат
Введение
.
Техническая характеристика стана ХПТ-55
.
Расчет станины рабочей клети
.
Расчет рабочих валков
.
Расчет подушек валков
Заключение
Библиографический
список
Реферат
В настоящей курсовой работе произведен расчет на
прочность и жесткость станины и рабочих валков стана ХПТ-55.
стр., рис.4, табл.1
Введение
Станы ХПТ предназначены для прокатки труб из
углеродистых, легированных, нержавеющих сталей и сплавов на основе никеля и
титана в холодном и теплом состояниях со степенью деформации до 85%.
Процесс прокатки на станах ХПТ заключается в
обжатии трубы-заготовки на оправке в калибрах с ручьями переменного профиля.
Рабочая клеть с валками, совершая возвратно-поступательное движение,
обеспечивает разворот валков в процессе обжатия металла на угол от 1850 до
2490. В заднем (по ходу прокатки) положении клети валки освобождают металл
(открывается зев подачи) и механизм подачи осуществляет продвижение заготовки в
валки на величину подачи. В переднем положении клети (открывается зев поворота)
механизм поворота поворачивает прокатываемую трубу вокруг оси прокатки на угол
от 600 до 1200.
1.
Техническая характеристика стана ХПТ-55
Техническая характеристика стана ХПТ-55
представлена в табл.1.
Таблица 1
|
Параметры
|
ХПТ
55-3
|
|
Длина
хода рабочей клети, мм
|
625
|
|
Диаметр
валков равный диаметру калибров, мм
|
364
|
|
Угол
разворота валков в град.
|
213°
|
|
Ширина
калибров, мм
|
140
|
|
Ширина
пазов калибров, мм
|
80
|
|
Длина
оправки, мм
|
660
|
|
Диаметр
начальной окружности ведущих шестерен валков, мм
|
336
|
|
Число
двойных ходов рабочей клети в мин
|
от
68 до 130
|
|
Настроечное
число двойных ходов клети в мин.
|
от
10 до 15
|
|
Мощность
двигателя главного привода, кВт
|
120
|
|
Наружный
диаметр заготовки, мм
|
от
38 до 73
|
|
Толщина
стенки заготовки, мм
|
от
1,75 до 12,0
|
|
Длина
заготовки мin, мах, мм
|
1500
- 5000
|
|
Наружный
диаметр готовой трубы, мм
|
от
25 до 55
|
|
Внутренний
диаметр готовых труб, мм
|
от
12 до 53
|
|
Толщина
стенки готовой трубы, мм
|
от
0,5 до 10,0
|
. Расчет станины рабочей клети
Станина рабочей клети - самая ответственная
деталь стана ХПТ. В нее монтируют подушки валков стана, а также другие
устройства и механизмы, обеспечивающие заданную точность прокатки и
производительность стана. Все усилие прокатки воспринимается станиной. Поэтому
при конструировании и изготовлении станины особое внимание уделяется их
прочности и жесткости.
Станину рассчитываем как раму с жесткими углами,
как показано на рис. 1. Выполнение расчета необходимо для того, чтобы быть
уверенным, что принятые размеры станины обеспечивают её прочность и жесткость.
Схема действия сил на станину рабочей клети
стана ХПТ 55-3
Рис. 1
Изгибающие моменты определяем по формулам:
,
где
- момент инерции поперечины;
- момент инерции стойки;
- длина поперечины по нейтральному
сечению;
- длина стойки по нейтральному слою;
- радиус закругления в месте
перехода стойки в поперечину по нейтральному слою.
Определяем для сечения поперечины
положение нейтрального слоя, совпадающего с центром тяжести сечения. Координаты
центра тяжести сечения относительно оси Х1Х1 представлены на рис.2
Сечение поперечины

Рис. 2
где
- площади соответствующих участков
сечения;
- расстояние от центра тяжести
соответствующего участка сечения до оси Х1Х1;
- площадь сечений I-I.
Определяем для сечения стойки
положение нейтрального слоя, совпадающего с центром тяжести сечения. Координаты
центра тяжести сечения относительно оси Х1Х1 представлены на рис.3
Сечение стойки
Рис. 3
Моменты инерции сечений
где
- ширина соответствующих участков;
- высота соответствующих участков.
Момент сопротивления сечений
относительно оси Х-Х
где
и
- расстояния от крайней точки
сечения до оси Х-Х.
Величины
и
определяют
следующим образом:
Напряжения на внутренней поверхности
стойки
где член
-
напряжение растяжения в стойке под
действием силы
, а член
-
напряжение изгиба под действием момента М0.
Напряжение в поперечине в месте
приложения силы Р
Допускаемое напряжение для станины
из стального литья
что больше
расчетных напряжений. Поэтому при данном режиме прокатки запаса прочности
достаточно.
Деформация станины
где
- деформация от действия изгибающих
моментов (деформация поперечины);
- деформация от действия продольных
сил (удлинение стоек);
- деформация от действия поперечных
сил.
Жесткость клети
Расчет рабочих валков
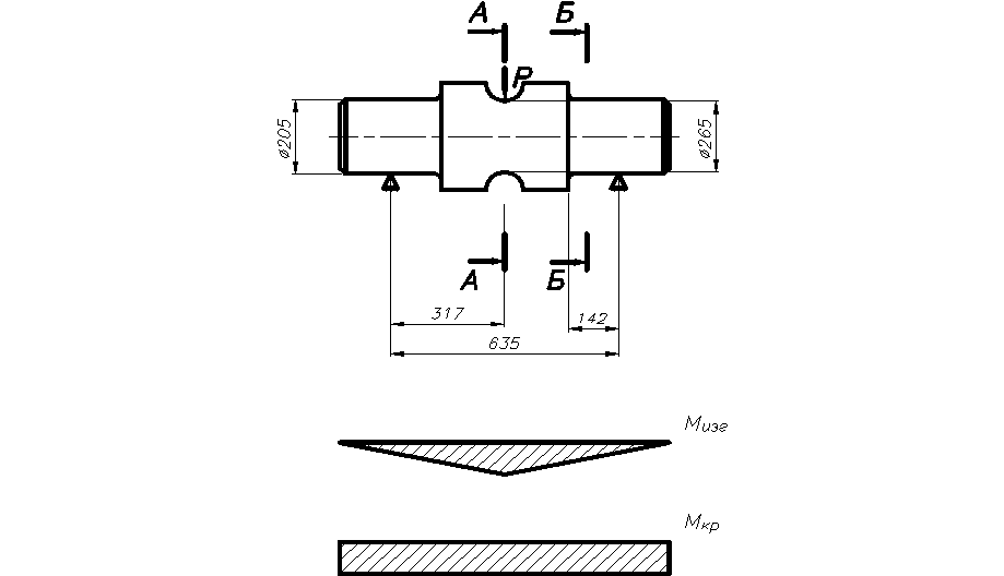
Рабочий валок рассчитываем на
прочность и жесткость.
Момент прокатки равен
где Р - максимальное усилие на
валок, кН, Р = 520,02 кН;хг - радиус гребня ручья в сечении Б-Б (рис. 4), мм;
DS
- обжатие стенки в сечении Б-Б (рис. 4), мм.
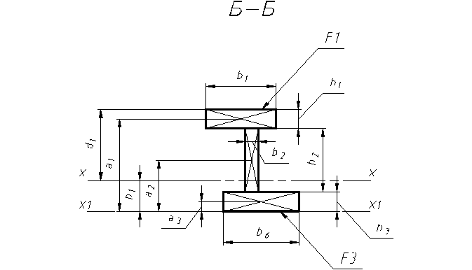
Сечение Б-Б (рис. 4):
Напряжение изгиба
.
Напряжение кручения
Суммарное напряжение
Допускаемое напряжение для
легированных кованных валков станов ХПТ [s]
=140…150МПа.
Схема действия сил на рабочий валок и эпюры
изгибающих и крутящих моментов
Рис.4
Сечение А-А (рис. 4):
Напряжение изгиба
Под действием усилия прокатки, ось
валка прогибается, что сказывается на точности размеров прокатываемой трубы,
поэтому есть необходимость в расчете деформации рабочего валка.
Деформация рабочих валков
где
- деформация прогиба;
- сдвиговая деформация.
где М - изгибающий момент;
Е - модуль нормальной упругости;-
момент инерции в сечении валка;- фиктивная нагрузка.
где G - модуль упругости на сдвиг;-
перерезывающая сила.
Площадь сечений
Момент инерции в сечениях
.
.
. Расчет подушек валков
Подушки изготавливают из литой стали
марок 25Л, 35Л с пределом прочности sВ=500÷550 МПа.
Прочность подушки проверяют исходя
из максимального усилия, действующего на нажимной винт (максимальной реакции на
шейку валка от усилия прокатки Rmax) и момента трения в подшипниках валков,
стремящегося повернуть подушку в направлении вращения валков. Со стороны
станины этому повороту препятствует сила Q, определяемая по формуле:
,
где d - диаметр шейки валка; аП -
высота подушки; f - коэффициент трения в шейки валков, выбираемый в зависимости
от типа подшипника.
Напряжение изгиба вычисляется по
формуле:
прочность валок станина
эпюра
Заключение
В настоящей курсовой работе
произведен расчет жесткости и прочности станины и рабочих валков станах ХПТ-55.
Библиографический список
.
Ведернский В.А., Глейбер А.З., Никитни А.С., «Трубные станы» М.:Металлургия,
1983.
.
Кондратов Л.А., Чечулин Ю.Б. и др. «Конструкция, ремонт и обслуживание станов
ХПТ» М.: Металлургия, 1994. 352 с.
.
Технологическая инструкция 161-В3-1422 «Прокатка труб на станах ХПТ»
1.