Исследование емкостного канала связи для бесконтактного энергоснабжения подвижных блоков телеметрической системы
Содержание
Оглавление
Введение
. Анализ возможных методов обеспечения питания
.1 Использование аккумуляторных батарей
.2 Использование внутренней энергии системы и инерционных сил
.3 Бесконтактные системы питания
.3.1 Лазерный канал связи
.3.2 Радиоканал связи
.3.3 Индуктивный канал связи
.3.4 Емкостный канал связи
. Устройство для бесконтактной передачи электрических
сигналов и/или энергии
. Вывод
Список литературы
Введение
В современных условиях ускоренного темпа развития двигателестроения, как
никогда актуальна проблема создания систем, предназначенных для контроля
температуры деталей цилиндропоршневой группы, неразрывно связанная с повышением
агрегатной мощности. Это связано с тем, что при превышении допустимой
температуры системы масляное покрытие уже не будет способно создавать пленку на
поршне и зеркале цилиндра, начинается сухое трение, в результате которого
температура в местах контакта достигает критических значений. Материал поршня
под воздействием температуры начинает размягчаться и наволакиваться на зеркало
цилиндра, что неизбежно ведет к клину двигателя.
Для предупреждения вышеописанного эффекта применяют системы контроля
температуры поршня. Измерение температуры поршня может быть осуществлено
непосредственно установкой датчика на поршне, или косвенно. В случае косвенного
измерения можно предложить следующий вариант реализации - система измерения в
виде датчика температуры охлаждающей жидкости, сливаемой из внутренних полостей
охлаждения поршня.
Рассматривая данные системы измерения в сравнении, можно сделать вывод,
что наиболее точной и эффективной является система прямого измерения
температуры, так как значение температуры снимается в непосредственной близи
механического контакта зеркала цилиндра и поршня.
Применение систем прямого измерения температуры влечет за собой ряд
технических проблем: установка датчика и промежуточного преобразователя в
близости контакта цилиндра и поршня проблематично; далее необходимо обеспечить
связь для передачи данных от промежуточного преобразователя к стационарной
приемно-регистрирующей аппаратуре для обработки, что в условиях постоянного
движения поршня тоже затруднительно.
Для повышения точности измерения важно надежное энергоснабжение
промежуточного преобразователя. Данная работа направлена на решение именно этой
проблемы.
1. Анализ возможных методов обеспечения питания
Варианты организации системы питания промежуточного преобразователя
приведены на рисунке 1.
Рисунок
1 - Варианты организации системы питания промежуточного преобразователя.
Требования
к системе питания можно определить следующим образом:
1) Высокая помехоустойчивость;
) Максимальная надежность;
) Максимально возможный КПД;
) Простота обслуживания;
) Устойчивость к большим перепадам температуры и перегрузкам;
) Минимальные габариты и масса
Использование систем питания с непосредственной гальванической связью с
источником питания в условиях постоянного движения контактируемых элементов
затруднительно ввиду того, что необходимо подержание высокого давления
(компрессии) в системе, а также очевидно, что контактная связь в
высокооборотных ДВС ненадежна.
Также теряется основная отличительная особенность системы - бесконтактность.
Наиболее рационально использование аккумуляторов, инерционных сил системы
и бесконтактных систем питания. Краткое описание каждой из вышеописанных
систем, а также их сравнение, приведено ниже.
1.1 Использование аккумуляторных батарей
Существующие и освоенные на данный момент технологии изготовления
аккумуляторов и их параметры приведены в таблице 1.
Также для обзора стоит включить еще один тип элементов - тонкопленочные
литиевые аккумуляторные батареи, разработанные в OakRidgeNationalLaboratory
(ORNL). В отличие от обычных батарей, лента батареи (внешний вид приведен на
рисунке 2) может быть нанесена непосредственно на чип любой формы и размера
(структура приведена на рисунке 3). Это дает возможность подобрать необходимую
для функционирования устройства мощность.
Рисунок 2 - Внешний вид ленты батареи.
Рисунок 3 - Структура батареи.
Отличительные свойства данного типа аккумуляторов [1]:
- широкий диапазон температур (испытания проводились при
температуре от -20 °C до 140 °C, разработчики говорят о возможности
использования при 280 °C);
- возможность изготовления любой формы и размера;
- соотношение цена/размеры постоянно.
|
№ п/п
|
Тип аккумуляторов
|
ЭДС, B
|
Максимальная удельная энергоплотность, Вт·ч/дм³
|
Максимальная удельная энергоемкость, Вт·ч/кг
|
Диапазон рабочих температур, °С
|
Примечания
|
|
1
|
Ртутно-цинковый
|
1,36
|
750
|
135
|
12…+80
|
Отличается невысоким внутренним сопротивлением, стабильным
напряжением, высокой энергоёмкостью и энергоплотностью.[1]
|
|
2
|
Свинцово-кислотный
|
2,11
|
1250
|
60
|
-40…+40
|
Наиболее распространенный на сегодняшний день тип
аккумуляторов [2]
|
|
3
|
Серебряно-цинковый
|
1,85
|
650
|
150
|
−40…+50
|
|
4
|
Никель-ка́дмиевый
|
1,37
|
150
|
65
|
−15…+40
|
В основном применяются как замена стандартного
гальванического элемента [3,5,7]
|
|
5
|
Никель-металл-гидридный
|
1,3
|
150
|
72
|
−60…+55
|
В основном применяются как замена стандартного
гальванического элемента [6,7]
|
|
6
|
Литиево-ионный
|
3,6
|
360
|
200
|
−20 … +60
|
Наиболее популярный в настоящее время тип аккумуляторов для
ноутбуков, телефонов и другой бытовой техники. [7,8]
|
|
7
|
Литиево-полиме́рный
|
3,6
|
300
|
200
|
0 … +60
|
|
|
8
|
Литий-железо-сульфидный
|
1,35
|
250
|
120
|
−30 … +450
|
Имеют прочную оболочку. Это приемуществовозволяет
использовать их также и в механически более грубых условиях. [9]
|
|
9
|
Литий-железо-фосфатный
|
3,9
|
210
|
110
|
−30 … +60
|
Сравнительно новый тип аккумуляторов, сочетающий в себе
емкость литиевых элементов с неприхотливостью и надежностью кадмиевых
батарей. [10]
|
|
10
|
Литий-титанатный
|
24
|
-
|
-
|
-
|
Используются в основном для электромобилей и имеют большие
габариты в зависимости от количества ячеек [11]
|
|
11
|
Ванадиевый
|
1,41
|
-
|
25
|
-
|
Нашли применение для хранения энергии, генерированной
солнечными батареями или ветерными генераторами. [12]
|
|
12
|
Железо-никелевый
|
1,2
|
350
|
325
|
до +46
|
Выносливые аккумуляторы, стойкие к грубому обращению
(перезаряд, глубокий разряд, короткое замыкание и термические удары) и
имеющие длинный срок службы. [13]
|
Таблица 1 - Типы аккумуляторов и их параметры.
Таким образом, исходя из жестких температурных режимов, могут подойти два
типа аккумуляторов: литий-железо-сульфидный и тонкопленочный литиевый.
Литий-железо-сульфидный аккумулятор способен выдать в нагрузку следующую
мощность: (1,5 А) × (6,6 В).
Использование тонкопленочного литиевого аккумулятора предполагает
внесение изменений в конструкцию самого датчика, что является затруднительным.
Но, как известно, аккумуляторы имеют ограниченный ресурс службы. Поэтому
использование аккумуляторов в качестве источника питания системы возможно лишь
в том случае, если конструкция двигателя проста, т.е. имеется возможность
быстрого разбора двигателя и замены аккумулятора, что зачастую затруднительно.
Достоинства и недостатки данного варианта организации системы питания на
основании требований, описанных в п. 1, приведены в таблице 2.
Таблица 2 - Достоинства и недостатки системы питания.
|
№ п/п
|
Удовлетворяет/неудовлетворяет
требованиям
|
Примечания
|
|
1
|
Помехоустойчивость
|
Удовлетворяет
|
|
|
2
|
Надежность
|
Удовлетворяет
|
|
|
3
|
КПД
|
Удовлетворяет
|
|
|
4
|
Обслуживание системы
|
Не удовлетворяет
|
|
|
5
|
Устойчивость к перепадам температуры и перегрузкам
|
-
|
Диапазон температур удовлетворяет требованиям, однако
отсутствует информация об устойчивости к перегрузкам. Требуется проведение
дополнительных исследований, что является затруднительным.
|
|
6
|
Габариты и масса
|
Удовлетворяет
|
|
1.2 Использование внутренней энергии системы и инерционных сил
В такой энергонасыщенной системе, как двигатель внутреннего сгорания,
весьма заманчивым способом подачи питания к микроконтроллеру является вариант
использования преобразователя механической энергии в электрическую.
Один из способов построения данного варианта системы измерения
температуры, с использованием преобразователя механической энергии в качестве
источника питания приведен на рисунке 4. Устройство содержит два измерительных
канала.
В многоканальную систему для измерения температуры поршней двигателя,
каждый измерительный канал которой содержит установленные на поршне двигателя
термопреобразователь подключенный к входу преобразователя температуры в
частоту, и катушку индуктивности, неподвижно установленный
измерительно-преобразовательный блок выход которого подключен к блоку
регистрации, постоянный магнит, в каждый измерительный канал системы введены установленные
на поршне блок выпрямления и стабилизации напряжения, светодиод, установленный
на картере двигателя фотоприемник, оптически связанный со светодиодом и
подключенный к измерительно-преобразоватёльному блоку, вход блока выпрямления и
стабилизации напряжения соединен с катушкой индуктивности, а выход подключен к
цепи питания преобразователя температуры в частоту, выход которого соединен со
светодиодом, при этом постоянный магнит установлен на шатуне поршня с
возможностью взаимодействия с катушкой индуктивности.
Каждый измерительный канал устройства содержит:
- постоянный магнит;
- катушка индуктивности;
- блок выпрямления и стабилизации напряжения;
- преобразователь температуры в частоту;
- светодиод;
- фотоприемник;
- измерительно-преобразовательный блок;
- усилители-ограничители;
- детекторы частотно модулируемых сигналов;
- блок регистрации.
Представленное устройство работает следующим образом [2]: при
возвратно-поступальном движении поршня катушка индуктивности 2 непрерывно
взаимодействует с постоянным магнитом 1, перемещающимся относительно поршня. В
результате такого взаимодействия за каждый цикл работы двигателя в катушке
индуктивности наводится переменная ЭДС, которая поступает на вход блока 3
выпрямления и стабилизации напряжения, где выпрямляется, сглаживается и
стабилизируется. Далее стабилизированное напряжение поступает на блок 4
преобразования температуры в частоту, который преобразует измеренную
температуру в частотно-модулированный сигнал, поступающий на светодиод 5. При
работе двигателя фотоприемник 6 непрерывно реагирует на излучение светодиода 5.
Сигнал с фотоприемника б через усилитель-ограничитель 8 поступает на вход
детектора частотно-модулированных сигналов, где преобразуется в сигнал,
пропорциональный измеряемой температуре. Блок 10 регистрации фиксирует
измеренные температуры.
Достоинства и недостатки данного варианта организации системы питания на
основании требований, описанных в п. 1, приведены в таблице 3.
Таблица 3 - Достоинства и недостатки системы питания.
|
№ п/п
|
Требования к системе
|
Удовлетворяет/неудовлетворяет
требованиям
|
Примечания
|
|
1
|
Помехоустойчивость
|
Удовлетворяет
|
|
|
2
|
Надежность
|
Удовлетворяет
|
|
|
3
|
КПД
|
Удовлетворяет
|
|
|
4
|
Обслуживание системы
|
Удовлетворяет
|
|
|
5
|
Устойчивость к перепадам температуры и перегрузкам
|
Удовлетворяет
|
|
|
6
|
Габариты и масса
|
Удовлетворяет
|
|
Очевиден основной недостаток построения питания системы вышеописанным
образом - данные о температуре снимаются только во время работы двигателя, так
как при неработающем двигателе система находится в состоянии покоя, и питание
не подается на устройство, что неприемлемо.
Один из способов модернизации вышеописанной системы - установка
аккумуляторной батареи в систему питания датчика. Это позволило бы подавать
питание на датчик и снимать информацию в состоянии покоя системы, а также
подзаряжать аккумулятор во время работы двигателя.
Таким образом, использование системы питания, которая основана на
преобразовании внутренней энергии системы в электрическую энергию, которая
позволила бы постоянно снимать информацию с датчика об измеряемой температуре
без использования аккумуляторной батареи не представляется возможным.
Использование же аккумулятора влечет за собой все недостатки, описанные в п.
1.1.
Рисунок 4 - Вариант построения системы с использованием преобразователя
механической энергии в электрическую. Изображен один канал.
1.3 Бесконтактные системы питания
Бесконтактные системы питания в целом наиболее быстро развиваются и
считаются самыми перспективными на сегодняшний день.
1.3.1 Лазерный канал связи
Существуют два основных типа лазеров: газовый и полупроводниковый.
Газовый лазер представляет собой стеклянную трубку, заполненную газовой
смесью низкого давления. Общая схема представлена на рисунке 5 [3].
Рисунок 5 - Схема газового лазера.
Полупроводниковый лазер, или полупроводниковый квантовый генератор [4], -
лазер с полупроводниковым кристаллом в качестве рабочего вещества. В
полупроводниковых лазерах, в отличие от лазеров других типов, используются
излучательные квантовые переходы не между изолированными уровнями энергии
атомов, молекул и ионов, а между разрешенными энергетическими зонами кристалла.
В полупроводниковых лазерах возбуждаются и излучают (коллективно) атомы,
слагающие кристаллическую решётку. Это отличие определяет важную особенность
полупроводниковых лазеров - малые размеры и компактность (объём кристалла ~10-6
- 10-2см3). В полупроводниковых лазерах удаётся получить показатель оптического
усиления до 104 см-1, хотя обычно для возбуждения генерации лазера достаточны и
меньшие значения. Другими практически важными особенностями полупроводниковых
лазеров являются:
- высокая эффективность преобразования электрической энергии в
энергию когерентного излучения (до 30 - 50%);
- малая инерционность, обусловливающая широкую полосу частот
прямой модуляции (более 109 ГГц);
- простота конструкции;
- возможность перестройки длины волны излучения и наличие
большого числа полупроводников, непрерывно перекрывающих интервал длин волн от
0,32 до 32 мкм.
аккумуляторный батарея канал связь
Рисунок 6 - Схема полупроводникового лазера.
Эффективность канала дистанционной передачи энергии определяется в первую
очередь компонентами, из которых состоит эта система, во вторую очередь
-управлением системы в целом.
На рисунке 7 приведена диаграмма эффективности лазерного канала передачи
энергии [5]. Оценка его эффективности производилась по принципу «от розетки до
розетки». Ее основные компоненты:
преобразователь напряжения, его эффективность в лучшем случае лежит в
пределах (0,8-8,85);
лазерная система, лучшие достижения до 0,6 (практически реализуемое - в
пределах 0,4-0,6);
оптический тракт (зеркальная система) (0,85-0,9);
фотоприемные модули в пределах (0,4-0,6);
преобразователь тока (0,8-0,85).
И, таким образом, эффективность канала передачи энергии может лежать в
пределах 0,1-0,3, то делает его приемлемым для практического использования.
Одним из основных компонентов системы дистанционной передачи энергии с
помощью лазерного луча естественно является лазерный генератор. Выбор типа
лазера и будет определять технические возможности системы в целом. Среди всего
разнообразия лазерных источников для реализации проекта лазерного канала
дистанционной передачи энергии производился анализ по двум уровням:
- первый уровень - теоретическая эффективность →
техническая эффективность → реализуемая мощность → стабильность
получения необходимой мощности;
- второй уровень - необходимость длительной службы работы →
простая система охлаждения→ низковольтные блоки питания → высокое
качество оптического пучка.
Проведенный анализ показывает, что возможные излучатели, согласно этим
требованиям: это газовый СО-лазер с криогенным охладителем и решетки
полупроводниковых лазеров - отражены в таблице 4 [5].
Таблица 4 - Характеристики лазерных излучателей.
|
№
|
1
|
2
|
|
Активная среда
|
СО
|
Полупроводниковые структуры
|
|
Длина волны излучения
|
(4,8 - 6,5) мкм
|
(0,78- 1) мкм
|
|
Эффективность имощность
|
Теоретическая
|
~ 70%
|
~ 70%
|
|
Технически реализуемая
|
~ 60%
|
~ 60%
|
|
Достигнутая
|
>> 1000 Вт
|
>> 1000 Вт
|
|
Технически реализуемая
|
> 1000 Вт
|
> 1000 Вт
|
|
Вид возбуждения
|
Газовый разряд
|
Инжекция
|
|
Массогабаритные размеры
|
Большие
|
Низкие
|
|
Системы охлаждения
|
Криогенные
|
Простые
|
|
Напряжение питания
|
Высоковольтное
|
Низковольтное
|
|
Структурные особенности
|
Необходим замкнутый газодинамический тракт
|
Необходимо создание решетки
|
|
Оптическая система
|
Простая
|
Сложная
|
Сравнение этих двух лазеров показывает, что лучшая перспектива развития у
инжекционных низкоразмерных структур AlGAs/GaAs, JnGaAs/GaHsи JnGaAsP/GaAs,
которые позволяют реализовать мощности 1-2 Вт с площадью 100х1 мкм и с
эффективностью более 0,5, реализованные в лаборатории полупроводниковой
люминесценции и инжекционных излучателей ФТИ Тарасовым И.С.[5]. Анализ таблицы
4 показывает, что наиболее оптимальным излучателем для канала передачи энергии
из этих двух излучателей и наиболее приемлемым является полупроводниковый
лазер.
Рисунок 6 - Диаграмма эффективности лазерного канала передачи энергии.
Как видно из рисунка 6, КПД передатчика лазерного канала составляет всего
17%. Фотоприемники, в свою очередь, также имеют низкий КПД (полупроводниковый
фотоприемник имеет максимально возможное КПД равное примерно 24,2%, реально же
значение КПД не превышает обычно 17% в лучшем случае[9]).
Таким образом, малое КПД фотоприемников влечет за собой установку
большого количества фотоприемников для поддержания необходимого значения
напряжения.
Достоинства и недостатки данного варианта организации системы питания на
основании требований, описанных в п. 1, приведены в таблице 5.
Таблица 5 - Достоинства и недостатки системы питания.
|
№ п/п
|
Требования к системе
|
Примечания
|
|
1
|
Помехоустойчивость
|
Удовлетворяет
|
|
|
2
|
Надежность
|
Удовлетворяет
|
|
|
3
|
КПД
|
Не удовлетворяет
|
|
|
4
|
Обслуживание системы
|
Удовлетворяет
|
|
|
5
|
Устойчивость к перепадам температуры и перегрузкам
|
Удовлетворяет
|
|
|
6
|
Габариты и масса
|
Не удовлетворяет
|
|
Учитывая существенные потери на электроэнергии при передаче, а также
габариты устройства, становится очевидным, что построение системы питания на
основе лазерного канала связи не выгодно.
1.3.2 Радиоканал связи
Также следует включить в обзор один из наиболее широко известных способов
передачи электроэнергии как радиоволны.
Ранее данный способ был очень распространен, и применялся в качестве
построения детекторных радиоприемников (далее по тексту ДРП), работающих без
источников питания [6].
Типовая схема приемника ДРП приведена на рисунке 7.
Рисунок 7 - Типовая схема ДРП.
Катушка L1 и конденсатор С1 образуют
колебательный контур. Настроив колебательный контур на частоту принимаемого
радиосигнала, выделяем высокочастотный сигнал. Частота его колебаний велика
(более 100 кГц), В качестве преобразователя высокочастотных электрических
колебаний в колебания низкой частоты установлен диод VD1. За счет диода на выход будут подаваться только
положительные полуволны сигнала. При отсутствии конденсатора C2 на выход будет протекать
пульсирующий ток. Процесс преобразования улучшается при подсоединении
блокировочного конденсатора C2. он
заряжается положительными полуволнами почти до амплитудного значения колебаний,
а в промежутках между ними сравнительно медленно разряжается.
В классическом ДРП амплитуда сигнала на выходе достигает 20 мВ, что
соответствует электрической мощности 0,02 мкВт.
Недостатки классической схемы детекторного приемника:
а) для согласования сопротивлений колебательного контура и диода
используется катушка связи (обычно 1/5-1/10 от числа витков катушки).
Следовательно, на диод поступает высокочастотное напряжение в 5-10 раз меньшее,
чем наводится в контуре, то есть, с большими потерями мощности (в 25-100 раз);
б) используется энергия одного полупериода сигнала.
Также находит широкое применение одна из модернизированных схем ДРП.
Данная схема представлена на рисунке 8.
Рисунок 8 - Модернизированная схема ДРП.
Накопительный конденсатор С2 рассчитан на рабочее напряжение 25-60 В при
минимальном токе утечки. Данная схема при правильном подборе катушки позволяет
получить на выходе напряжение до 5,2 В. Что является приемлемым значением напряжения
для использования схемы в качестве источника питания промежуточного
преобразователя.
Очевидны явные достоинства системы при использовании данного способа
питания - возможность создания системы с частотным разделением каналов для
передачи питания и целевой информации по одному радиоканалу.
Наряду с достоинствами, описанными выше, система не лишена недостатков,
наиболее значимый из которых - это подверженность помехам, то есть низкая
помехоустойчивость канала.
Достоинства и недостатки данного варианта организации системы питания на
основании требований, описанных в п. 1, приведены в таблице 6.
Таблица 6 - Достоинства и недостатки системы питания.
|
№ п/п
|
Требования к системе
|
Удовлетворяет/неудовлетворяет
требованиям
|
Примечания
|
|
1
|
Помехоустойчивость
|
Не удовлетворяет
|
|
|
2
|
Надежность
|
Удовлетворяет
|
|
|
3
|
КПД
|
Удовлетворяет
|
|
|
4
|
Обслуживание системы
|
Удовлетворяет
|
|
|
5
|
Устойчивость к перепадам температуры и перегрузкам
|
Удовлетворяет
|
|
|
6
|
Габариты и масса
|
Удовлетворяет
|
|
В связи с низкой помехоустойчивостью, применять систему питания на основе
радиоканала связи в двигателе внутреннего сгорания не рационально.
Также следует отметить, что в технологию получения электроэнергии из
радиоволн развивают в корпорации Intel
[7].
Исследователи из лаборатории Intel в Сиэттле показали на тематической
конференции свою разработку. Схема макета использует в качестве источника
энергию радиоволн. Находясь на расстоянии 4,1 км от телевизионной вышки,
продемонстрированный прототип способен вырабатывать мощность 60 мкВт.
Устройство получило название WirelessAmbientRadioPower (WARP).
Прием радиоволн в прототипе осуществлялся на обычную широкополосную
TV-антенну, а сама схема включала цепь для настройки на выбранный канал и
четыре ступени, выполняющие «сбор» энергии. При сопротивлении нагрузки, равном
8 кОм, напряжение на выходе источника составило 0,7 В.
1.3.3 Индуктивный канал связи
Индуктивный канал для передачи электроэнергии начал осваиваться еще в
1892 г. американским ученым (сербом по происхождению) Николой Тесла, но ученому
не повезло со временем и его разработки оказались невостребованными [8].
Возможная схема индуктивного канала связи приведена на рисунке 11.
Рисунок 11 - Индуктивный канал связи.
- поршень; 2 - катушка 2; 3 - катушка 1.
На катушку 1 поступает напряжение от внешнего источника питания, что
вызывает появление переменного магнитного поля. Вырабатываемое магнитное поле,
действуя на катушку 2, наводит в ней ЭДС. Вследствие того, что магнитное поле
является переменным, наводимая ЭДС. также является переменным. Переменную ЭДС.
для питания промежуточного преобразователя необходимо выпрямить и
стабилизировать.
Таблица 8 - Достоинства и недостатки системы питания.
|
№ п/п
|
Требования к системе
|
Удовлетворяет/неудовлетворяет
требованиям
|
Примечания
|
|
1
|
Помехоустойчивость
|
Удовлетворяет
|
|
|
2
|
Надежность
|
Удовлетворяет
|
|
|
3
|
КПД
|
Удовлетворяет
|
|
|
4
|
Обслуживание системы
|
Удовлетворяет
|
|
|
5
|
Устойчивость к перепадам температуры и перегрузкам
|
Удовлетворяет
|
|
|
6
|
Габариты и масса
|
Удовлетворяет
|
|
Таким образом, канал связи, базирующийся на основе индукционного
взаимодействия, удовлетворяет всем перечисленным требованиям, и может быть
использован в качестве организации системы питания промежуточного
преобразователя.
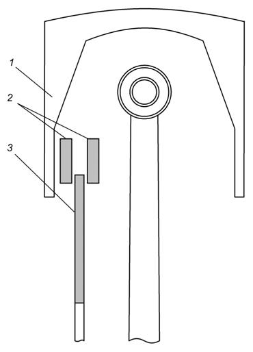
1.3.4 Емкостный канал связи
Возможная структура емкостного канала связи приведена на рисунке 9.
Рисунок 9 - Возможная структура канала на основе емкостной связи.
Для пояснения принципа действия приведен еще один рисунок, иллюстрирующий
место установки емкости Cп.
Рисунок 10 - Емкостный канал связи. Расположение конденсатора.
- цилиндр; 2 - обкладки конденсатора Сп; 3 - поршень.
Схема включает в себя резонансный контур, расположенный на поршне,
имеющий в составе емкость Сп и последовательно соединенную индуктивность. Для
поддержания контура в резонансе, используется схема автоматической регулировки
частоты, расположенная вне поршня ДВС. Схема регулировки частоты включает в
себя: генератор управляемый напряжением (ГУН), усилитель мощности (УМ),
усилитель сравнения, амплитудный детектор и согласовывающий усилитель и
трансформатор тока[10].
Данный способ передачи электроэнергии в настоящее время активно
исследуется учеными из ВНИИ электрификации сельского хозяйства (ВИЭСХ)[10].
Следует отметить следующие преимущества системы питания на основе
емкостного канала связи:
1) конструктивная простота - требуется всего две пластины конденсатора для
организации связи;
2) высокая помехоустойчивость к магнитным полям.
Достоинства и недостатки данного варианта организации системы питания на
основании требований, описанных в п. 1, приведены в таблице 7.
Таблица 7 - Достоинства и недостатки системы питания.
|
№ п/п
|
Требования к системе
|
Удовлетворяет/неудовлетворяет
требованиям
|
Примечания
|
|
1
|
Помехоустойчивость
|
Удовлетворяет
|
|
|
2
|
Надежность
|
Удовлетворяет
|
|
|
3
|
КПД
|
Удовлетворяет
|
|
|
4
|
Обслуживание системы
|
Удовлетворяет
|
|
|
5
|
Устойчивость к перепадам температуры и перегрузкам
|
Удовлетворяет
|
|
|
6
|
Габариты и масса
|
Удовлетворяет
|
|
Таким образом, канал на основе емкостной связи полностью удовлетворяет
всем перечисленным требованиям и может быть использован в качестве организации
системы питания промежуточного преобразователя.
2 УСТРОЙСТВО ДЛЯ БЕСКОНТАКТНОЙ ПЕРЕДАЧИ ЭЛЕКТРИЧЕСКИХ СИГНАЛОВ И/ИЛИ
ЭНЕРГИИ [11]
Имя изобретателя: ЛОР Георг (DE) Имя патентообладателя: ШЛЕЙФРИНГ УНД
АППАРАТЕБАУ ГМБХ (DE) Патентный поверенный: Веселицкая Ирина Александровна
Адрес для переписки: 101000, Москва, Малый Златоустинский пер., д.10, кв.15,
"ЕВРОМАРКПАТ", И.А.Веселицкой Дата начала действия патента:
1998.01.05
В устройстве для бесконтактной передачи электрических сигналов и/или
энергии между по меньшей мере двумя подвижными относительно друг друга деталями
на указанных деталях, между которыми должна происходить передача сигналов и/или
энергии, предусмотрено несколько определенных электромагнитных элементов связи,
поле в ближней зоне которых обеспечивает указанную бесконтактную передачу.
Предлагаемое в изобретении устройство отличается тем, что элементы связи по
меньшей мере на одной детали образуют выполненную в виде каскадной схемы систему
проводников с согласованной нагрузкой, а каждый элемент связи независим от
других элементов связи на данной детали и образует резонансную систему,
резонансная частота которой больше наибольшей частоты передаваемых
широкополосных сигналов. Другой вариант выполнения устройства отличается тем,
что каждый из предусмотренных по меньшей мере на одной детали элементов связи
имеет по меньшей мере один резонатор, состоящий из одного единственного
элемента, который способен резонировать сам по себе и независимо от остальных
элементов связи и резонансная частота которого примерно равна частоте
передаваемых сигналов, при этом отдельные резонаторы соединены друг с другом
линией с согласованной нагрузкой. Техническим результатом является создание
устройства для передачи сигналов и/или энергии между подвижными деталями,
которое обеспечивает широкую полосу пропускания и большую скорость передачи
данных при низкой чувствительности к помехам.
ОПИСАНИЕ ИЗОБРЕТЕНИЯ
Настоящее изобретение относится к устройству для бесконтактной передачи
электрических сигналов и/или энергии между по меньшей мере двумя подвижными
относительно друг друга деталями, у которого по меньшей мере на одной детали
предусмотрено несколько определенных электромагнитных элементов связи, поле в
ближней зоне которых обеспечивает указанную бесконтактную передачу.
Такие устройства используются для передачи электрических сигналов,
соответственно электроэнергии между двумя или более подвижными относительно
друг друга деталями. Движение деталей может быть при этом вращательным,
поступательным или сложным.
Ниже изобретение более подробно поясняется со ссылкой на прилагаемые
чертежи, на которых показано:

Фиг. 2 - первый вариант выполнения изобретения с использованием емкостной
связи.
Фиг. 3 - модифицированный по сравнению с показанным на фиг.2 вариант
выполнения с симметричной компоновкой устройства и защитным экраном.
На чертежах одинаковые или выполняющие одинаковую функцию элементы
обозначены одинаковыми позициями, что частично позволяет отказаться от их
повторного описания.
На фиг.1а-1в показаны различные варианты выполнения предлагаемого в
изобретении устройства для бесконтактной передачи электрических сигналов и/или
энергии, при этом на схемах показана только передающая, и не приемная часть.
Источник S сигнала соединен системой проводников 2 с элементами С связи,
соответственно элементами L связи, а также имеет волновое сопротивление Z0,
обеспечивающее согласование нагрузки, т.е. отсутствие отраженных сигналов. В
случае использования блока с предлагаемой в изобретении схемой в качестве
приемной части в месте расположения источника S сигнала происходит съем
передаваемого сигнала. Показанные на этих чертежах устройства имеют
симметричную компоновку, поскольку она является наиболее предпочтительной.
Однако, как очевидно, предлагаемое устройство может иметь и несимметричную
компоновку.
На фиг. 1а показан пример, в котором используется емкостная связь, при
этом к сплошному проводнику 2 через тупиковую линию или непосредственно, как
показано в данном примере, примыкают плоские токопроводящие элементы С,
обеспечивающие емкостную связь.
На фиг.1б показан пример, в котором используется индуктивная связь, при
этом система проводников 2 образует петли, формируя тем самым дискретные
элементы L, обеспечивающие индуктивную связь.
На фиг.1в показан пример, в котором используется и индуктивная, и
емкостная связь, при этом предусмотрены как петли, образуемые токопроводящими
элементами L связи, так и плоские токопроводящие элементы С.
Ниже изобретение более подробно поясняется на примерах, представленных на
других чертежах.
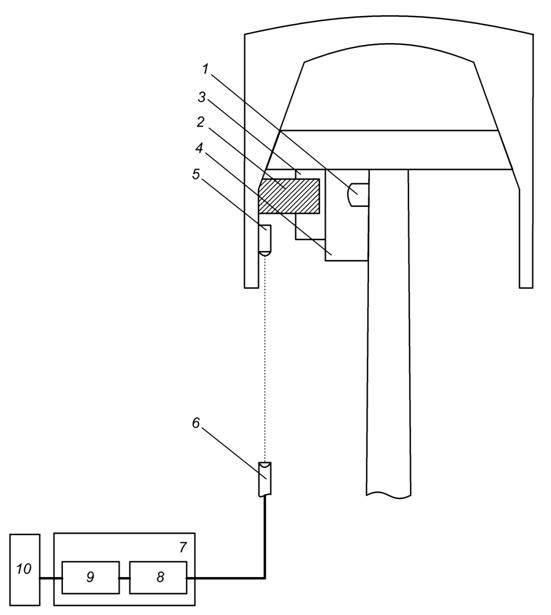
На фиг. 2 показан пример выполнения изобретения с емкостной связью в
несимметричной компоновке. На основании 1, например на печатной плате, которая
может быть выполнена, в частности, гибкой, расположена система проводников,
соответственно сетка токопроводящих дорожек 2, соединяющая друг с другом
емкостные элементы 3а, 3b и 3с связи.
Передача электрических сигналов и/или энергии осуществляется посредством этих
элементов связи и подвижного относительно них блока 4 связи, служащего приемным
блоком. Очевидно, что в качестве блока 4 связи можно использовать элементы
такой же конструкции, а также обычные приемные блоки. В показанном на чертеже
примере выполнения устройства (см. вид сбоку по фиг.2) блоком 4 связи является
обычный приемный блок, расположенный сбоку рядом с элементами 3а-3с связи. С
обратной стороны печатной платы необязательно может быть предусмотрена
контактная площадка для замыкания на корпус.
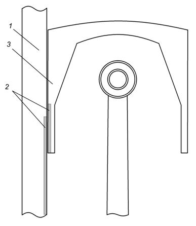
На фиг. 3 в поперечном сечении показан модифицированный вариант
выполнения устройства по фиг.2, отличающийся симметричной компоновкой и
наличием защитного экрана. Это устройство имеет симметричную сетку
токопроводящих дорожек, соответственно симметричную систему проводников,
включающую первый проводник 2 и второй проводник 12, по которым запитываются
емкостные элементы 3 и 13 связи.
Блок 4 связи в этом варианте выполнен симметричным и П-образно охватывает
печатную плату 1 с расположенными на ней сеткой токопроводящих дорожек и
элементами связи. Кроме того, предусмотрен защитный экран 6, который, охватывая
всю конструкцию, закрывает ее. Основание 1, которым и в этом случае может
служить печатная плата, крепится при этом изоляторами 5 и 15 к защитному экрану
6.
3. Вывод
Исходя из всех рассмотренных вариантов организации системы питания, можно
выделить следующие системы, удовлетворяющие требованиям, описанным в п.1:
системы питания на основе индуктивного канала связи и системы питания на основе
емкостного канала связи.
В индуктивном канале связи низкая помехоустойчивость к магнитным полям,
сложная конструктивная реализация.
Емкостной канал связи лишен этих недостатков. Далее будем рассматривать
емкостной канал связи.
Основные достоинства емкостного канала связи: простота конструкции и
изготовления, минимальная масса, помехоустойчивость к действию постоянных
магнитных полей.
Целью является разработка системы энергоснабжения подвижных блоков
телеметрической системы на основе емкостного канала связи для повышения точности
измерения путем обеспечения надежного энергоснабжения.
Для достижения цели поставлены следующие задачи:
) Построение математической модели системы энергоснабжения.
) Моделирование системы, анализ полученных результатов.
) Создание макета системы.
) Исследование макета. Анализ полученных результатов.
Список литературы
1 Тонкопленочные
литиевые аккумуляторные батареи// oakridgemicro.com - официальный сайт компании
ORNL. URL:
<http://www.oakridgemicro.com/tech/tfb.htm>(дата обращения: 19.10.2012)
Многоканальная
система для измерения температуры поршней двигателя: пат. 3244837 СССР. №
3244837/18-10; заявл. 06.02.81; опубл. 23.06.83, Бюл. №23. 3с
Хьюстис Д.Л., Чантри
П.Д., Виганд В.Д.: Газовые лазеры: Пер. с англ./Под ред. И. Мак-Даниеля и У.
Нигэна. - М.: Мир, 1986. - с. 552.
Шмаонов Т. Лазеры//
nkj.ru - сайт журнала «Наука и Жизнь». URL:
<http://www.nkj.ru/archive/articles/2430/>(дата обращения: 22.10.2012)
Сысоев В.К. Анализ
архитектуры лазерного информационно-измерительного канала дистанционной передачи
энергии в космосе. [Электронный ресурс]: состояние проблемы и перспективы
исследований // Электронный научный журнал «ИССЛЕДОВАНО В РОССИИ». URL:
zhurnal.gpi.ru/articles/2007/076.pdf (дата обращения: 19.10.2012)
Детекторный
радиоприемник// qrz.ru - сервер радиолюбителей России. URL:
<http://www.qrz.ru/schemes/contribute/beginners/crystal/>(дата обращения:
22.11.2012)
7 Wireless
Ambient Radio Power// seattle.intel-research.net - сайтлабораторииIntel вСиэтле. URL:
<http://www.seattle.intel-research.net/wisp/>(дата обращения: 23.11.2012)
Никола Тесла.
Гений-одиночка или безумец, опередивший время?// ntpo.com - независимый
научно-технический портал. URL:<http://www.ntpo.com/invention/invention3/20.shtml>(дата обращения: 10.12.2012)
Полупроводниковые фотоприемники//
radioland.net.ua - портал радиолюбителей Украины. URL:<http://www.radioland.net.ua/contentid-334-page1.html>(дата
обращения: 10.12.2012)
Стребков Д. С.,
Некрасов А.И.: Резонансные методы передачи электрической энергии - М.: ГНУ
ВИЭСХ, 2006. - 304 с.
Устройство для
бесконтактной передачи электрических сигналов и/или энергии. Патент.URL:http://ntpo.com/patents_electricity/
electricity_6/ electricity_101.shtml(дата обращения: 5.12.2012)