Разработка загрузочного устройства на токарную операцию для детали 'Втулка'
Министерство
образования и науки Российской Федерации
Южно-Уральский
государственный университет
Филиал
в г. Златоусте
Кафедра
«ТМСИ»
Пояснительная
записка к курсовому проекту
по
курсу «Автоматизация технологических процессов»
.06.627.00
ПЗ
Нормоконтролер: Руководитель проекта:
Пургин В.П. Пургин В.П.
«____»___________2006г. «____»___________2006г.
Автор работы:
студент группы НЗВ-609
Розе Т.Н.
«____»___________2006г.
г.Златоуст
г
Аннотация
Розе Т.Н. Разработка загрузочного устройства на
токарную операцию для детали «Втулка» - Златоуст: филиал ЮУрГУ в г. Златоусте,
машиностроительный факультет; 2006, с.14 2 илл. Библиография литературы - 4
наименования, 2 листа чертежей ф.А1.
В курсовом проекте рассматривается вопрос
автоматизации загрузки деталей на токарной операции.
В ходе курсового проекта спроектировано
загрузочное устройство для подачи втулок. В процессе проектирования были решены
следующие задачи: кинематический и прочностной расчеты.
Содержание
Введение
. Технологическая
часть
.1 Аналитический
обзор
. Конструкторская
часть
.1 Описание
конструкции
.2 Описание работы
устройства
.3 Расчет основных
элементов
.3.1 Расчет усилия
гидроцилиндра продольного перемещения
.3.2 Расчет силы
зажима детали
.3.3 Расчет пружины
кулачкового патрона
Список литературы
Приложения
Графическая часть
на 2-х листах ф. А1
Введение
Автоматизация производственных
процессов является характерной чертой современного прогресса. Без автоматизации
невозможны роста производительности труда. Одной из основных проблем при
автоматизации технологического оборудования и, в частности, металлорежущих
станков, является автоматизация загрузки заготовок и разгрузки (съема)
обработанных деталей.
Автоматизация загрузки и
разгрузки в общем комплексе задач по автоматизации технологических процессов
является одной из наиболее сложных, что вызвано разнообразием процессов, а
также форм и размеров заготовок (деталей).
Автоматизация загрузки и
разгрузки оборудования, находящегося в эксплуатации, позволяет изменить процесс
труда, повысить безопасность и коэффициент использования оборудования.
Мнение, что автоматизация
загрузки-разгрузки оборудования ранних лет выпуска целесообразна только в
условиях массового производства, является ошибочным. Оснащение производства
станками и технологической оснасткой сборно-разборной конструкции позволяет
автоматизировать технологический процесс в условиях серийного и мелкосерийного
производства и при частой смене объектов производства. В условиях серийного
производства автоматизации производства должна предшествовать типизация
технологических процессов или разработка групповых методов обработки.
1. Технологическая часть
.1 Аналитический обзор
Автоматическим
загрузочно-разгрузочным устройством называется комплекс механизмов,
обеспечивающих автоматическое перемещение заготовки с места хранения в рабочую
зону станка, где она закрепляется в зажимном приспособлении, и после завершения
операции обработки - удаление обработанной детали (полуфабриката) в заданное
место хранения.
Загрузочно-разгрузочные
устройства могут быть разделены на два класса: для штучных заготовок и
сортового материала. Загрузочно-разгрузочные устройства для штучных заготовок
выполняют в виде самостоятельных механизмов станка, механизмов, связанных со
станком, или механизмов станочных приспособлений. Устройства имеют емкость
(магазин, бункер), в которой сосредоточен запас заготовок, механизмы
ориентации, накопитель, отсекатели, питатель, заталкиватель, ворошитель
выталкиватель, разгружатель, приемный лоток и привод. В зависимости от типа устройства
некоторые из перечисленных механизмов могут и отсутствовать.
Конструкция и принцип работы
загрузочно-разгрузочных устройств определяются типом заготовок, видом обработки
и рабочим пространством станка (автоматической линии), на который устанавливают
это устройство.
Различают
загрузочно-разгрузочные устройства трех типов: магазинные, бункерно-магазинные,
бункерные.
В магазинных загрузочных
устройствах подаваемые заготовки, уложенные в один ряд вплотную или вразрядку в
емкости (магазине), загружают и ориентируют вручную или укладочным
(стапелирующим) механизмом; все остальные перемещения, необходимые для загрузки
заготовок, выполняются автоматически.
В бункерно-магазинных
(штабельных) загрузочных устройствах подаваемые заготовки, уложенные в
несколько рядов вразрядку или штабелем в емкости, являющейся бункером и
магазином, загружают и ориентируют вручную или укладочным механизмом; все
остальные перемещения заготовок, необходимые для загрузки, выполняются
автоматически.
В бункерных загрузочных
устройствах заготовки в бункере (емкости) сосредоточены навалом. Захват из
бункера и ориентация заготовок в положение, требуемое для обработки или удобное
для загрузки, и все последующие перемещения осуществляются автоматически.
Магазинные загрузочные
устройства следует применять для загрузки заготовок, ориентация которых
затруднена вследствие особенностей их формы, размеров и массы или когда по
характеру серийности производства нецелесообразно изготовлять сложные
загрузочные устройства; бункерно-магазинные устройства следует применять для
загрузки заготовок простой формы, на обработку которых требуется мало времени,
и когда изготовление механизмов ориентации затруднено или экономически
нецелесообразно; бункерные загрузочные устройства, как правило, следует
применять для загрузки заготовок простой формы, небольшой массы и размеров, на
обработку которых требуется мало времени.
Загрузочные устройства
эффективны, если они повышают коэффициент использования станков, на которых они
установлены, и производительность, а также облегчают условия труда; не
повреждают поверхность подаваемых заготовок или удаляемых со станка
обработанных деталей; имеют простую конструкцию и минимальное количество
деталей; состоят из нормализованных деталей; удобны в эксплуатации и дешевы в
изготовлении; позволяют легко заменять быстроизнашивающиеся детали устройств.
Независимо от типа различают
универсальные, универсально-наладочные и специальные загрузочные устройства;
первые два типа с помощью переналадки или подналадки, а также замены некоторых
деталей могут быть использованы для загрузки заготовок, отличающихся размером,
а иногда и формой; устройства третьего типа применяют только для загрузки
заготовок определенного типа. Загрузочные устройства только загружают
заготовки, а снимают (разгружают) обработанные детали толкатели станка или
детали поступают в приемный лоток под действием собственного веса (силы
тяжести).
Для данной детали спроектируем
загрузочно-разгрузочное устройство (автооператор), который специальными
механизмами не только загружает, но и разгружает детали.
2. Конструкторская часть
.1 Описание конструкции
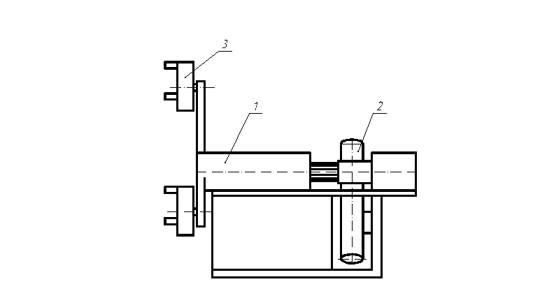
Устройство имеет магазин и
питатель, установленный вместо задней бабки станка, и состоящий из держателя с
захватами 3, механизма поворота держателя 2 и механизма продольного хода 1 (см.
рисунок 1).
Рисунок 1 - Схема загрузочного
устройства
.2 Описание работы устройства
После окончания обработки суппорт станка отходит
в исходное положение, закрепленный на суппорте кулачок переключает конечный
выключатель и последний дает команду золотнику, управляющему подачей масла в
гидроцилиндр. Шток-рейка гидроцилиндра при перемещении через зубчатое колесо
поворачивает держатель с захватами. Закрепленный на держателе кулачок нажимает
на конечный выключатель, подает команду на переключение золотника, и масло
поступает в гидроцилиндр. Шток гидроцилиндра перемещает держатель с захватами к
шпинделю станка. Один из захватов находит на обработанную деталь, зажатую в
патроне станка, а другой захват - на заготовку, в магазине.
После того как масло через полый вал и трубки
поступит в гидроцилиндры захватов, кулачки захватов зажимают один - деталь, а
другой - заготовку. Когда детали и заготовка будут зажаты, через реле времени и
конечный выключатель или реле деления подается команда клапану на подачу масла
в гидроцилиндр, в результате чего поршень со штоком и держателем захватов
перемещаются от шпинделя станка, т.е. в правое исходное положение. В конце хода
держателя конечный выключатель, на который действует кулачок, подает команду
клапану, масло поступает в гидроцилиндр, шток-рейка которого, перемещаясь,
поворачивает держатель с захватами на 120°. Захват с заготовкой устанавливается
напротив шпинделя станка, а захват с деталью - в зоне разгрузочного лотка.
Конечный выключатель подает команду через соответствующий клапан, и масло
поступает в гидроцилиндр. Поршень со штоком и держателем с захватами движутся к
патрону станка; заготовка зажимается, и разжимаются захваты держателя
пружинами; держатель с захватами отводятся в исходное положение; заготовка
обрабатывается. Суппорт после обработки возвращается в исходное положение, а
цикл разгрузки и загрузки повторяется.
.3 Расчет основных элементов
.3.1 Расчет усилия гидроцилиндра продольного
перемещения
Определим силу, действующую на гидроцилиндр
продольного перемещения:
, (2.3.1.1)
где
- сила веса
Определим силу трения, возникающую в
цилиндре:
, (2.3.1.2)
где
- коэффициент трения (при трении
стали о сталь со смазкой)

(2.3.1.3)
Принимаем
.
Зная усилие цилиндра, можно
определить диаметр поршня.
, (2.3.1.4)
где
- номинальное давление в цилиндре
- активная площадь цилиндра
- диаметр поршня
- диаметр штока
Из формулы (2.3.1.4) найдем диаметр
поршня:
(2.3.1.5)
Принимаем
.
.3.2 Расчет силы зажима детали
Расчет произведем по следующей
схеме:
Рисунок 2 - Расчетная схема захвата
, (2.3.2.1)
загрузочный деталь
патрон кулачковый
где
- сила зажима
- ускорение силы тяжести
- диаметр заготовки в местах захвата
- размер захвата
- размер захвата
- расстояние от края зажимных губок
до центра тяжести заготовки
- ширина зева захвата
- коэффициент запаса
- сила тяжести
, (2.3.2.2)
где
- масса заготовки
- ускорение силы тяжести
Таким образом,
.3.3 Расчет пружины кулачкового
патрона
Рассчитаем прочность пружины и определим ее
размеры.
Нам известна сила пружины при
предварительной деформации
сила пружины при рабочей деформации
, рабочий
ход пружины
, наибольшая
скорость перемещения подвижного кольца пружины при нагружении
,
выносливость пружины - число циклов до разрушения
, наружный
диаметр пружины
.
Пользуясь ГОСТ 13764-86, убеждаемся,
что при заданной выносливости пружину следует отнести к 1 классу.
Находим силу пружины при
максимальной деформации:
, (2.3.3.1)
где
=0,05…0,25 - относительный
инерционный зазор пружины сжатия I и II классов
В интервале от 174,7 до 221,3 Н в
ГОСТ 13766-86 пружин I класса, разряда 1 имеются следующие
силы
: 180; 190;
200; 212; 224 Н. Среди пружин с силами из данного интервала имеется пружина с
требуемым наружным диаметром.
Номер позиции 416:
,
, диаметр
проволоки
, жесткость
одного витка пружины
,
максимальная деформация одного витка пружины
.
Учитывая, что для пружин I класса
норма напряжений
(ГОСТ
13764-86), находим, что для найденного диаметра проволоки из углеродистой
холоднотянутой стали расчетное напряжение будет равно:
Принадлежность к I классу
проверяем путем определения отношения
,
Критическая скорость пружины сжатия:
, (2.3.3.2)
где
- модуль сдвига пружинной стали
- динамическая плотность пружинной
стали
Таким образом,
(2.3.3.3)
Полученная величина указывает на
отсутствие соударения витков и, следовательно, выбранная пружина удовлетворяет
заданным условиям.
Определим остальные размеры пружины.
Жесткость пружины:
(2.3.3.4)
Число рабочих витков пружины:
(2.3.3.5)
Полное число витков:
, (2.3.3.6)
где
- число опорных витков
Средний диаметр пружины:
(2.3.3.7)
Предварительная деформация пружины:
(2.3.3.8)
Рабочая деформация пружины:
(2.3.3.9)
Максимальная деформация пружины:
Длина пружины при максимальной
деформации:
, (2.3.3.11)
где
- число необработанных витков
(2.3.3.12)
Длина пружины в свободном состоянии:
, (2.3.3.13)
Длина пружины при рабочей
деформации:
(2.3.3.14)
Шаг пружины в свободном состоянии:
(2.3.3.15)
Список литературы
1.
Малов А.Н. Загрузочные устройства для металлорежущих станков. - Изд. 2-е
перераб. и доп. - М., «Машиностроение», 1972. - 400 с.
.
Бобров В.П. Проектирование загрузочно-транспортных устройств к станкам и
автоматическим линиям. - М., «Машиностроение», 1964. - 290с.
.
Антонюк В.Е. В помощь молодому конструктору станочных приспособлений. - Минск,
«Беларусь», 1975. - 351с.
.
Анурьев В.И. Справочник конструктора-машиностроителя: в 3-х т.: Т.3.- 8-е изд.,
перераб. и доп. /Под ред. И.Н. Жестковой. - М., «Машиностроение», 2001. - 912
с.: ил.