Проектные решения хвостохранилища Олимпиадинского горно-обогатительного комбината

  • Вид работы:
    Дипломная (ВКР)
  • Предмет:
    Другое
  • Язык:
    Русский
    ,
    Формат файла:
    MS Word
    108,24 Кб
  • Опубликовано:
    2012-10-19
Вы можете узнать стоимость помощи в написании студенческой работы.
Помощь в написании работы, которую точно примут!

Проектные решения хвостохранилища Олимпиадинского горно-обогатительного комбината

Содержание

Введение

. Общая характеристика предприятия

. Природно-климатические условия района

3. Исходные данные для проектирования

. Существующие сооружения и системы хвостового хозяйства

. Проектируемые сооружения и системы хвостового хозяйства

.1 Обоснование проектируемой схемы хвостового хозяйства

.2 Основные положения по организации раздельной технологической схемы складирования промышленных отходов

.3 Хвостовое хозяйство

.3.1 Системы пульпоподготовки и гидротранспорта хвостов

.3.2 Система водоотведения

.3.3 Система оборотного водоснабжения

.3.4 Реконструируемый накопитель

.3.5 Система перехвата фильтрационных вод ограждающей дамбы

.3.6 Система контрольно-измерительной аппаратуры накопителя

.3.7 Эксплуатационные автодороги

.3.8 Система энергоснабжения и освещения накопителя и площадок насосных станций

.4 Технологическая схема хвостового хозяйства

.4.1 Складирование хвостов из гидрометаллургического цеха № 1(ГЦ- 1)

.4.2 Складирование "мокрых" хвостов обогатительной фабрики № 3 из гидрометаллургического цеха №2

. Системы подготовки пульпы и гидротранспорта промышленных отходов

.1 Комплекс сгущения

.2 Система гидротранспорта промышленных отходов из гидрометаллургических цехов №1 и №2

.3 Транспорт и укладка "сухих" промышленных отходов

. Моделирование фильтрации из накопителя

.1 Ввод исходных данных в программу расчета

.2 Определение расхода фильтрации

. Основные технические решения накопителя

.1 Контрольно - измерительная аппаратура

. Системы оборотного водоснабжения

. Система водоотведения накопителя

. Наращивание и эксплуатация накопителя

. Экономическая часть

. Нормативно - правовая база

.1Федеральный закон "Об охране окружающей среды" от 10.01.2002 №7-ФЗ

.2 Федеральный закон "О лицензировании отдельных видов деятельности" от 08.08.2001 №128-ФЗ

.3 Закон РФ "О недрах" от 21.02.92 № 2395-1 от 12.06.90

.4 СНиП 33-01-2003 "Гидротехнические сооружения. Основные положения"

13.5 СНиП 3.06.04-91 "Мосты и трубы"

.6 СНиП 3.02.01-87 "Земляные сооружения, основания и фундаменты"

.7 СНиП 2.01.28-85 "Полигоны по обезвреживанию и захоронению токсичных промышленных отходов. Основные положения по проектированию"

.8 СНиП 3.01.01.85 "Организация строительного производства"

.9 СНиП 3.01.03.-84 "Геодезические работы в строительстве"

.10 ПБ 03-438-02 "Правила безопасности гидротехнических сооружений накопителей жидких промышленных отходов"

Заключение

Список использованных источников

Приложение

Введение

Твердые и жидкие отходы образуются на всех промышленных предприятиях. При обогащении руд черных и цветных металлов образуется значительное количество мелкоизмельченной пустой породы - хвостов.

Накопление, хранение, утилизация и консервация дисперсных промышленных отходов - хвостов рудообогащения является одной из наиболее актуальных экологических проблем. Экологически обоснованные технологии обращения с такими отходами во многом определяют современный уровень охраны окружающей природной среды и рационального природопользования.

С целью предотвращения загрязнения окружающей природной среды, а также для отстаивания, осветления, испарения, доочистки и накопления при повторном использовании в системе водооборота или перед сбросом в водоемы сточные воды аккумулируют в специально подготовленных емкостях - накопителях.

Накопители - сооружения, предназначенные для накопления и длительного хранения указанных отходов с последующей их утилизацией в качестве вторичного минерального сырья, они должны соответствовать современным экологическим требованиям, быть достаточно надежными и экономичными. Необходимо минимизировать утечки загрязненных вод из накопителей, обеспечить устойчивость ограждающих дамб и безопасную эксплуатацию сооружения в целом. Поэтому проектирование дамб, противофильтрационных, дренажных и других конструктивных элементов накопителей является важнейшей составной частью природоохранных мероприятий при складировании и длительном хранении дисперсных промышленных отходов. При строительстве накопителей в суровых климатических условиях (Центральная и восточная Сибирь, Енисейский Север, Якутия, Колыма) в проектах накопителей необходимо предусматривать теплозащитные мероприятия и учитывать специфические особенности вечной мерзлоты.

В данной дипломной работе рассматриваются основные проектные решения хвостохранилища Олимпиадинского горно-обогатительного комбината (ГОКа), расположенного на территории Северо-Енисейского района Красноярского края.

Хвостохранилище - комплекс сооружений, предназначенных для складирования хвостов - тонкоизмельченной пустой породы, образующейся при обогащении руд на горнорудных предприятиях. Хвосты поступают в хвостохранилище в виде пульпы с отношением количества твердых минеральных частиц к воде, достигающим 1:15 - 1:30. Твердые частицы осаждаются, а осветленная вода отводится для повторного использования или сбрасывается в водоем. В состав хвостохранилища входят первичная дамба и дамбы последующих ярусов наращивания, противофильтрационные устройства, дренажи, водосбросные сооружения, системы гидротранспорта и пылеподавления.

Необходимость проведения реконструкции систем и сооружений хвостового хозяйства Олимпиадинского ГОКа обусловлена исчерпанием емкости ограждающих и водоотводных сооружений существующего хвостохранилища, увеличением суммарного объема переработки руды на предприятии.

. Общая характеристика предприятия

Основным видом деятельности Олимпиадинского горно-обогатительного комбината является добыча полезных ископаемых на месторождениях, и переработка их на обогатительных фабриках. По объёмам сырьевой базы и производства предприятие входит в число крупнейших мировых компаний по добыче полезных ископаемых. Месторождения, разрабатываемые компанией, расположены в Красноярском крае, Иркутской, Магаданской, Амурской областях и Республике Саха (Якутия). Компания была создана в 1980 г как артель старателей.

С 1983 г артель принимает участие в изучении и освоении Олимпиадинского месторождения. В начале 1990-х г артель преобразована в закрытое акционерное общество, которое в 1994 г получило лицензию на добычу полезных ископаемых. В 1996 г компания завершила строительство и запустила в эксплуатацию первую технологическую линию Олимпиадинского горно-обогатительного комбината (ГОК) - обогатительную фабрику №1 (ОФ-1), в 2001 г вступила в строй вторая технологическая линия - ОФ-2, что значительно повысило эффективность разработки месторождения. Горно-обогатительный комплекс ведет добычу и переработку запасов руды Олимпиадинского и Местного месторождений.

Основной объем добычи приходится на карьер Глубокий Олимпиадинского месторождения, мощностью 17 млн. м3 по горной массе. Глубина Глубокого карьера в настоящее время превысила 300 м, а диаметр на уровне дневной поверхности - 1,2 км. Отработка карьера ведется крутыми слоями с выделением этапов. Высота рабочего уступа - 10 м, нерабочего в предельном положении 20 и 30 м, углы откосов рабочих уступов - 80 - 75 град, нерабочих строенных - 75 град. Ширина рабочих площадок меняется от минимальной величины 30 м до 80 - 100 м. Среднегодовое понижение горных работ превышает 40 м/г.

Олимпиадинский ГОК имеет развитую инфраструктуру, включающую карьер открытой добычи руды, три обогатительные фабрики, промплощадку (РМЗ, гаражи, котельная, склады, АБК и пр.), жилищный комплекс.

. Природно-климатические условия района

Административно Олимпиадинский горно-обогатительный комбинат, включая месторождение и площадку накопителя обогатительных фабрик № 1,2,3 (ОФ - 1,2,3), расположен на территории Северо-Енисейского района Красноярского края.

Географически район относится к центральной части Енисейского кряжа и представляет из себя расчлененное низкогорье, вытянутое в северо-западном направлении.

Сейсмичность района - 7 баллов. Район относится к зоне средней тайги с резко континентальным климатом. Зима продолжительная и холодная. Лето короткое и жаркое. Устойчивый снежный покров устанавливается в конце сентября - начале октября и, как правило, лежит до середины мая начала июня. Число дней в году с устойчивым снежным покровом - 223.

Абсолютная минимальная температура самого холодного месяца января - минус 61°С, максимальная температура наиболее жаркого периода года (июль) - плюс 34°С, среднегодовая - минус 5-6 °С.

Средняя температура наиболее холодной пятидневки - минус 48 °С, наиболее холодных суток - минус 50 °С. Общее среднее число дней с отрицательной температурой - 242 дня. Вечная мерзлота в районе расположения накопителя отсутствует.

Повторяемость ветров характеризуется преобладающим влиянием юго-западных, западных, северо-западных и южного направлений - соответственно более 37 %, 15 %, 10 % и 16 %. Среднегодовая скорость ветра - 3,5 м/сек. Максимальная скорость ветра 5 %-ой обеспеченности - 26 м/сек. Средняя относительная влажность воздуха - 74 %. Суммарное среднее годовое количество осадков - 514 мм, максимальное - 571мм.

Гидрогеологические условия участка характеризуются наличием грунтовых (порово-пластовых) вод в рыхлых делювиальных и элювиальных отложениях и пластово-трещенных вод в коренных породах. Гидравлически эти воды связаны между собой.

Во время проведения инженерно-геологических изысканий водоносный горизонт порово-пластовых вод делювиальных отложений был вскрыт на глубине 2,3 - 2,5 м в долине ручья Сухой.

Водоносный горизонт образований коры выветривания развит преимущественно на склоновых участках и в тектонически ослабленных зонах. Глубина залегания воды в долинах ручьёв от 4,0 - 5,0 м и от 9 до 20 м и больше на склонах. Воды горизонта слабонапорные. Питание водоносного горизонта происходит за счёт атмосферных осадков и перетоков из смежных водоносных подразделений. Разгрузка осуществляется в гидрографическую сеть. Водовмещающими породами являются кварц-слюдистые сланцы выветрелые до дресвяного, щебенистого, дресвяно-щебенистого грунта с супесчаным заполнителем и перетоков из смежных водоносных подразделений. Воды по химическому составу гидрокарбонатные, реже сульфатные натрий-калиевые, реже кальциевые с минерализацией до 1 г/л.

Распределение испарения с поверхности воды зависит от климатических условий года и в среднем составляет в мае - около 18 % суммарного количества, в июне - 29,2 %, в июле - 24,4 %, в августе - 23,3 %, в сентябре - 16,3 %, в октябре - 6,8 %. Подземные воды встречены на глубине 8,0 м, установление их на глубине 8,2 м.

Воды при периодическом погружении железобетонных конструкций слабоагрессивные по содержанию хлоридов. По водородному показателю, сумме хлоридов и сульфатов при свободном доступе кислорода воды среднеагрессивные по отношению к конструкциям из металла.

К неблагоприятным физико-геологическим явлениям относятся заболачивание долин ручьев на предполагаемых к строительству участках русловых дамб, наличие родников на склонах в зонах тектонических разломов, способствующих развитию местных оползневых процессов, а также склоновые стоки дождевых и паводковых вод, которые приводят к образованию промоин на бортах долин. В период паводков и интенсивных осадков в пределах промплощадки возможно формирование водоносного горизонта в крупнообломочных отложениях и в скальном массиве в зоне открытой трещиноватости. В геологическом строении площадки принимают участие четвертичные техногенные, делювиальные, аллювиальные и элювиальные отложения, а также верхнепротерозойские образования сухопитской серии, имеющие различный петрографический состав и условия залегания. В долине руч. Ивановский при выполнении изысканий обнаружены породы магматического комплекса, представленные гранито-гнейсами. Особенностью литологического строения делювиальных отложений, расположенных в виде покровного чехла на склонах долины накопителя, является не отсортированный разнообразный состав, представленный щебенистыми, дресвяными грунтами с супесчаным и суглинистым заполнителем, на 25-50 % - суглинками и супесями с различным содержанием крупнообломочных включений. В нижней части склона залегают грунты более крупных фракций, выше по склонам размеры фракций уменьшаются. Крупнообломочный материал состоит из слабо- и сильновыветрелых кварцев, кварце-слюдистых, кварце-серицитовых и графито-слюдистых сланцев, а также гранито-гнейсов.

Толщина слоя делювиальных отложений изменяется от 0,50 до 10,0 м. Породы горного аллювия расположены в основном в пределах чаши накопителя и являются следствием перемещения водных потоков. Отложения горного аллювия представлены галечниковыми и гравийными грунтами с суглинистым и супесчаным заполнителем. Общая мощность отложений горного аллювия изменяется от 1,0 до 7,0 м.

Толща грунтов основания проектируемых сооружений до разведанной глубины, является неоднородной, в ее пределах выделяется 3 инженерно-геологических элемента:

ИГЭ-4 -"Рухляковая" кора выветривания с реликтовой сланцеватой текстурой, представленная щебенистым грунтом с суглинистым твердым заполнителем до 50% с частыми тонкими прослоями и линзами суглинков твердых;

ИГЭ-5 - Хлоритовые сланцы выветрелые до щебенистого грунта более крупных размеров с суглинистым, прослоями, супесчаным твердым заполнителем 15-35 %;

ИГЭ-6 - Кварц-слюдистые сланцы прочные, слабовыветрелые, трещиноватые.

Несущими грунтами основания проектируемых сооружений могут служить грунты инженерно-геологических элементов - 4, 5, 6.

Нормативная глубина сезонного промерзания грунтов составляет для крупнообломочных грунтов 3,30 м, для глинистых грунтов - 2,80 м.

В тектоническом отношении участок накопителя является частью Сухой синклинали. Площадка накопителя располагается непосредственно в долине ручьев Сухой, Ивановский, Быстрый, которые входят в бассейн реки Медвежья. Поймы ручьев заболочены и располагаются в межгрядовом пространстве прилегающих сопок. Склоны бортов долины в основном пологие с уклонами до 20 % и покрыты смешанным лесом высотой до 15 м.

На участке ограждающей дамбы и за её пределами вниз по течению ручья Сухой выделено три тектонических нарушения магматической породы, имеющих сбросовый и сбросово-сдвиговый характер, северо-восточного и северо-западного направления, осложненные многочисленными трещинами.

Основание основной ограждающей дамбы накопителя представлено кварцево-слюдистыми, трещиноватыми сланцами, прикрытыми сверху тонким слоем супесей и песков (0-4 м, в основном по центру долины), далее щебенистыми грунтами с супесчаным и суглинистым заполнителем мощностью до 7 м и русловыми, в основном, песчаными отложениями толщиной слоя до 2-4 м.

. Исходные данные для проектирования

Необходимость проведения реконструкции систем и сооружений хвостового хозяйства Олимпиадинского горно-обогатительного комбината обусловлена:

исчерпанием емкости ограждающих и водоотводных сооружений существующего накопителя;

запуском в 2007 г в постоянную эксплуатацию обогатительной фабрики № 3 (ОФ - 3);

изменением технологической схемы переработки и обогащения руды, содержащей полиметаллы;

внедрением обеззараживания стоков гидрометаллургического цеха (ГЦ) ОФ - 1 и ОФ - 2;

организацией раздельного складирования хвостов, в том числе и "сухих" хвостов сорбции ОФ - 3;

увеличением суммарного объема переработки руды на предприятии с 4,5 до 9,56 млн. т/г.

Завершение отработки месторождения запланировано на 2023 год.

Таблица 1 - Объемы выхода хвостов

Участки образования хвостов

2007 г

2008 г

2009-2023 г

Всего, млн.т

2007-2023г, млн.м3


млн.т

млн.м3

млн.т

млн.м3

млн.т

млн.м3



ОФ-1

1,5

1,066

1,5

1,066

22,5

15,96

25,5

18,08

ОФ-2

2,88

2,04

2,88

2,04

43,2

30,64

48,96

34,72

ОФ-3 "мокрые" хвосты

1,42

1,01

4,229

3,00

71,96

51,04

77,613

55,05

ОФ-3 "сухие" хвосты

0,259

-

0,351

-

5,74

-

6,35

-

Итого "мокрые" хвосты

5,8

4,12

8,61

6,11

137,66

97,64

152,1

107,86


Таблица 2 - Характеристики хвостов ОФ - 1,2,3

Наименование показателей

Количество

Гранулометрический состав хвостов

ОФ-1, dср(мм)

0,042

0,5+0,315, %

0,01

0,315+0,25, %

0,1

0,25+0,20, %

0,24

0,20+0,164, %

1,44

0,164+0,125, %

2,73

0,125+0,10, %

5,87

0,10+0,071, %

3,63

0,071+0,04, %

20,5

0,04+0,000, %

65,48

Содержание кремнезема, %

70

Коэффициент внутреннего трения хвостов, %

27,6

ОФ-2/ОФ-1+ОФ-2, dср(мм)

0,046/0,044

0,50+0,315, %

0,01 /0,01

0,315+0,25, %

0,06 /0,08

0,25+0,20, %

0,17 /0,205

0,20+0,164, %

0,94 /1,19

0,164+0,125, %

2,19 /2,46

0,125+0,10, %

3,58 /4,7255

0,10+0,071, %

10,18 /6,905

0,071+0,04, %

32,19 /26,345

0,04+0,000, %

50,68 /58,08

ОФ-3 - "мокрые" хвосты, dср(мм)

0,061

0,10+0,074, %

15,0

0,074+0,044, %

80,00

0,044+0,00, %

5,00

ОФ-3 - "сухие" хвосты (влажность 15%)

Крупностью менее 0,044 мм, %

95

Отметка выхода из корпуса ГЦ - 1 объединенных хвостов ОФ-1 + ОФ-2 + фильтрат ОФ-3, м

682,00

Отметка выхода из корпуса ГЦ - 2 хвостовой пульпы ОФ - 3, м

712,00

Плотность скелета, т/м3: - хвосты, уложенные в накопитель - "сухие" хвосты сорбции

 1,41 1,35

Расчетный суммарный срок эксплуатации накопителя до 2023 г, лет

15



. Существующие сооружения и системы хвостового хозяйства

Наливной накопитель овражного типа.

Емкость накопителя образована перегораживанием долины ручья Быстрый ограждающей водоудерживающей дамбой с противофильтрационным экраном из суглинка высотой 54,0 м. Отметка гребня дамбы последней, 3-ей очереди реконструкции составляет 152,0 м, протяженность по гребню - около 650 м, ширина по верху - 12 м, заложение низового откоса 1:1,6, верхового -1:2. В соответствии с СНиП 33-01-2003 [4] накопитель Олимпиадинского горно-обогатительного комбината (ГОКа) с ограждающей дамбой высотой более 50 м относится к гидротехническим сооружениям 1-го класса.

Для повышения безопасности сооружения, предупреждения приближения уреза воды отстойного пруда непосредственно к телу ограждающей дамбы вдоль верхового откоса ежегодно отмывается и наращивается защитный экран из хвостов. Намыв экрана производится посредством рассредоточенных выпусков из стальных труб диаметром 20-30 мм, врезанных в распределительный пульпопровод, проложенный по гребню дамбы.

При предельно - допустимой отметке заполнения дамбы 3-ей очереди 150,0 м суммарная емкость накопителя составит 37,86 млн. м3, площадь поверхности - 2,24 км2. В соответствии с климатическими условиями и режимом эксплуатации объем воды в отстойном пруду в значительной мере зависит от периода года и изменяется от 2,5 до 4 млн. м3 при площади около 1,2 км2 и средней глубине от 2-3 до 4-5 м. Максимальные глубины находятся со стороны северо-западного борта накопителя в районе плавучей насосной станции и достигают 6-7 м.

Основной период года при температуре окружающей среды ниже минус 5 °С хвостовая пульпа сбрасывается через сосредоточенные выпуски непосредственно в емкость отстойного пруда. Учитывая климат района, с суровыми морозами до минус 50 °С, значительная часть хвостовой пульпы может намораживаться на поверхность ледяного покрова. В результате, при существующем расположении водоприемного колодца, рядом с ограждающей дамбой ограничивается возможная продолжительность сброса хвостов на ближних участках к площадке обогатительных фабрик (ОФ - 2) № 1 и № 2, ухудшаются условия оборотного водоснабжения, не удается увеличить ширину надводного пляжа из хвостов вдоль ограждающей дамбы, создаются предпосылки для заиливания водосбросного коллектора. В настоящее время к эксплуатации подготовлена и опробована плавучая насосная станция, расположенная на расстоянии более 1,2 км от промплощадки, на северном борту накопителя.

Поперек продольной оси накопителя в настоящее время отсыпана разделительная дамба, которая позволяет улучшить использование емкости накопителя и предупредить прямое поступление хвостовой пульпы ОФ - 2 в существующий водоприемный колодец.

По данным наблюдений, в нижнем бьефе накопителя наблюдались случаи выноса мелких частиц грунта фильтрационной водой. Для откачки загрязненных дренажных стоков и талых вод в нижнем бьефе ограждающей дамбы установлены группы (два подъема) специальных грунтовых насосов.

Наиболее вероятно, что указанное явление является следствием некачественного выполнения работ по устройству защитного противофильтрационного экрана или сопряжения тела плотины с основанием и прилегающей местностью во время первоначального строительства, выполнения второго и третьего этапов реконструкции. В дальнейшем, в условиях постоянного роста напора на сооружение, это может привести к более интенсивному проявлению суффозионных процессов с развитием просадок и деформаций тела основной дамбы со всеми вытекающими последствиями. Существующие технологии по повышению фильтрационной прочности и устойчивости водоудерживающих плотин требуют проведения большого объема дополнительных исследований и значительных материально-экономических затрат на реализацию принятых решений. Более эффективным, надежным и достаточно апробированным способом дальнейшего наращивания ограждающей дамбы для создания дополнительной емкости и обеспечения безопасности накопителя Олимпиадинского ГОКа при последующей эксплуатации, является переход на намывной способ возведения основной ограждающей дамбы с одновременным увеличением длины надводного пляжа из хвостовых отложений.

Система водоотведения.

Она предназначена для перехвата паводковых, ливневых и естественных стоков, отвода их в нижний бьеф ограждающей дамбы накопителя и включает в себя:

) нагорные (водоотводные) каналы № 1,2,3 суммарной протяженностью 7,95 км;

) водоудерживающие плотины на ручьях Сухой и Ивановский;

) быстроток в виде выемки в скальном грунте, обеспечивающий гидротранспорт стоков на участке местности с уклоном более 0,06.

Состояние сооружений существующей системы водоотведения удовлетворительное, но с ростом уровня заполнения накопителя при последующей эксплуатации свыше отметки 152,0 м они будут затоплены и поэтому после 2009 г не смогут предотвратить поступления стоков с прилегающей территории в емкость накопителя.

Система гидротранспорта хвостов.

Подача хвостовой пульпы ОФ - 1 и ОФ - 2 на гребень ограждающей дамбы и ближние точки накопителя осуществляется в настоящее время в напорно-самотечном режиме, по стальным трубопроводам диаметром 400-500 мм, уложенным по поверхности земли на опорах.

Опорожнение пульповодов выполняется непосредственно в емкость накопителя. По данным эксплуатационной службы износ стенок труб незначителен, что объясняется достаточно тонким гранулометрическим составом хвостов и присутствием в породе частиц слюды и глины.

Система оборотного водоснабжения, включающая в себя:

водозаборный береговой колодец шахтного типа, расположенный на восточном борту накопителя, рядом с промплощадкой ОФ-2; водоприемные окна колодца с ростом уровня воды в пруду периодически перекрываются железобетонными шандорами;

водосбросной самотечный коллектор диаметром 600 мм протяженностью 0,6 км от водоприемного колодца до насосной станции оборотной воды в нижнем бьефе ограждающей дамбы;

насосная станция оборотного водоснабжения (НОВ) с центробежными насосами;

утепленные стальные напорные водоводы оборотной воды диаметром 500 мм в две нитки;

плавучая насосная станция оборотного водоснабжения (ПНСОВ) размером 8х20 м с тремя насосами, вспомогательным и электротехническим оборудованием;

утепленный водовод оборотной воды от ПНСОВ до промплощадки из стальных труб диаметром 500 мм в две нитки.

Система перехвата фильтрационных вод ограждающей дамбы, включающая в себя:

дренажную траншею вдоль подошвы низового откоса;

дренажную насосную станцию (ДНС) на дренажной траншее с тремя центробежными водяными насосами, производительностью до 400 м3/сек;

приемный прудок дренажных вод;

4 скважины для перехвата подземных дренажных вод поперек бывшей долины руч. Быстрый вниз по уклону местности на 30 м ниже дренажной траншеи с погружными насосами и напорными трубопроводами от каждой скважины до приемного прудка дренажной насосной станции или дренажной траншеи;

насосные установки первого и второго подъема в утепленных деревянных помещениях для откачки загрязненных стоков из прудка в емкость накопителя;

напорный водовод от ДНС до насосной станции оборотного водоснабжения из стальных труб диаметром 300 мм в две нитки.

Система контрольно-измерительной аппаратуры (КИА) накопителя:

контрольные марки на ярусах низового откоса ограждающей дамбы;

опорные реперы на промплощадке;

водомерная рейка на водозаборном колодце;

наблюдательные скважины (6 шт) в нижнем бьефе накопителя.

. Проектируемые сооружения и системы хвостового хозяйства

.1 Обоснование проектируемой схемы хвостового хозяйства

Существующие сооружения хвостового хозяйства обогатительных фабрик № 1 и № 2 (ОФ - 1,2) по своим техническим характеристикам не соответствуют планируемому режиму работы предприятия в 2008-2023 г, с учетом запуска ОФ - 3 и повышения суммарного объема переработки руды с 4,5 до 9,56 млн. т/г. Так как:

емкость накопителя не имеет резерва для складирования хвостов после 2008 г, необходимо наращивание водоупорной ограждающей дамбы;

площадка накопителя не подготовлена для раздельного складирования хвостов в соответствии с новой технологической схемой;

расположение водоприемного колодца не позволяет обеспечить требуемую интенсивность намыва и длину защитного экрана в районе ограждающей дамбы;

система водоотведения поверхностных стоков при дальнейшем наращивании накопителя затапливается и должна быть перенесена на новые отметки;

возможности имеющейся системы самотечного гидротранспорта хвостовой пульпы ОФ - 1 и ОФ - 2 не позволяют обеспечить подачу объединенных хвостов из гидрометаллургического цеха №1 (ГЦ -1) по проектируемой технологической схеме до конца эксплуатации, в последующем необходимы перекладка пульповодов и переход на напорный гидротранспорт;

фактическое техническое состояние основной водоудерживающей плотины, относящейся к 1-му классу гидротехнических сооружений, обуславливает необходимость обязательного внедрения мероприятий по увеличению её надежности и безопасности при дальнейшем увеличении высоты сооружения.

В соответствии с условиями проекта на строительство 4-ой очереди сооружений хвостового хозяйства все складируемые хвосты обогатительных фабрик делятся на два вида:

) "Мокрые" хвосты (хвостовая пульпа) ОФ - 1,2 и ОФ - 3.

) Сухие хвосты сорбции ОФ - 3.

Условиями размещения хвостов являются:

"мокрые" хвосты ОФ - 1 и ОФ - 2 должны складироваться совместно в отдельной секции № 1 накопителя;

хвостовая пульпа ОФ-1 и ОФ-2 направляется в отделение обезвреживания в ГЦ, где объединяется и перекачивается в накопитель совместно с фильтратом ОФ - 3;

при необходимости напорного гидротранспорта пульпонасосную станцию хвостов ОФ - 1 и ОФ - 2 необходимо расположить на свободных площадях отделения обезвреживания корпуса ГЦ - 1;

"мокрые" хвосты ОФ - 3 должны складироваться отдельно в секции № 2 накопителя;

сухие хвосты ОФ - 3 должны складироваться на специальном полигоне (секция № 3);

секции № 1 и № 2 и полигон хвостов сорбции должны быть разделены;

фильтрат из секции № 1 (хвосты ОФ - 1,2) не должен поступать в секцию № 2;

попадание фильтрата из секции № 2 (хвосты ОФ - 3) в секцию № 1 допустимо;

фильтрат полигона складирования сухих хвостов должен отводиться только в секцию № 1.

В случае продолжения использования "наливного" способа заполнения накопителя по существующей технологической схеме увеличивается статический напор на противофильтрационный экран, возрастает потенциальная опасность разрушения низового откоса основной ограждающей водоудерживающей дамбы и вероятность развития гидродинамической аварии.

Двукратное повышение объема складирования хвостов при сохранении равномерного заполнения секций накопителя приведет к интенсивности роста уровня до 2,5 - 3,2 м/г. Согласно опыту эксплуатации намыв защитных экранов из мелкозернистых хвостов Олипиадинского ГОКа с такой интенсивностью невозможен. В результате не обеспечивается надежность и безопасность накопителя. Кроме этого, для защиты промплощадки ОФ-2 требуется строительство специальной водоудерживающей дамбы, проведение большого объема ответственных и сложных земляных работ с использованием глинистого грунта для отсыпки экранов, возрастает стоимость строительства.

При заданных условиях наиболее целесообразным является деление накопителя на секции разного размера с одновременным применением специальной схемы заполнения секции № 2. Наращивание ограждающей и разделительной дамб емкости секции № 1 осуществляется намывным способом из хвостов обогащения ОФ - 1,2. Во вторую секцию меньшей площади комбинированным конусно-намывным способом укладываются хвосты ОФ - 3. Для организации складирования части хвостов в конус (штабель) и снижения объема воды, поступающей в секцию № 2, исходная хвостовая пульпа ОФ - 3 сгущается в пастовом сгустителе с использованием флокулянта до 64 % по содержанию твердого.

Применение сгустителя обусловлено его более высокой производительностью (в 8-10 раз), по сравнению с "традиционными" сгустителями, возможностью достижения необходимой степени сгущения исходной хвостовой пульпы при оптимальных затратах для укладки хвостов в штабель с требуемым уклоном поверхности, автоматизации и стабильности технологического процесса сгущения.

По опыту работы хвостового хозяйства ОФ - 1,2 в предыдущий период эксплуатации, выполнение намыва "тонкими" (средний диаметр менее 0,06 мм) хвостами рудного производства затруднено, и поэтому требует внедрения специальных технических решений. В настоящее время для намыва экрана ограждающей дамбы используются рассредоточенные выпуски диаметром не более 20-30 мм, что позволяет снизить транспортирующую способность потока и обеспечить укладку хвостов с интенсивностью до 1,3 - 1,7 м/г.

Усложняющим фактором являются суровые климатические условия района расположения накопителя, которые, согласно с действующими нормами и правилами безопасности, допускают ведение рассредоточенного намыва в течение только 4,5 - 5,5 месяцев в году - с мая по сентябрь.

После выхода предприятия в 2009 г на полную мощность ежегодный суммарный объем складирования хвостов с плотностью скелета 1,41 т/м3 составит около 6,5 млн. м3/г, в том числе 3,4 млн. м3/г - "мокрых" хвостов ОФ - 3. В случае продолжения использования существующей технологии возведения намывного экрана, с учетом площади складирования в начальный период около 2,3 км2, потребуется выполнение наращивания основной ограждающей водоудерживающей, а также разделительной (между отсеками) дамб на 30 м и намыв защитного экрана интенсивностью до 2,8 - 3,2 м/г и более, что практически неосуществимо, и действующими нормами, с учетом климатических условий района не рекомендуется. При этом экран потребуется намывать не только на основной ограждающей и разделительной дамбах, так и на специальной защитной водоудерживающей дамбе промплощадки протяженностью около 1,5 км, которую необходимо возвести для защиты от затопления площадки ГЦ - 1, начиная с отметки заполнения 167,0 м и выше. В нижнем бьефе этой дамбы необходимо предусматривать устройство специальной дренажной системы перехвата фильтрационных вод, а также строительство аварийного бассейна для временного приема хвостовой пульпы в случае непредвиденных остановок системы гидротранспорта. В соответствии с имеющимся опытом эксплуатации аналогично расположенных непосредственно под ограждающей водоудерживающей дамбой сооружений, существует реальная опасность затопления нижерасположенных объектов ОФ - 2 при порывах пульповодов, остановках насосов, переполнении аварийного бассейна и тому подобное со всеми вытекающими последствиями, в том числе и с остановкой фабрики и смежных переделов комбината на неопределенное время.

Суммарная протяженность ограждающих дамб наливного накопителя к концу расчетного периода эксплуатации будет превышать 3,5 км, в том числе:

основная ограждающая дамба секции № 1 - 800 м;

разделительная дамба - 1200 м;

защитная дамба промплощадки - до 1500 м.

При этом общий фронт намыва экранов с практически недостижимой начальной интенсивностью складирования хвостов более 3,0 м/г превысит (с учетом намыва разделительной дамбы с двух сторон) 4,7 км, а высота основной ограждающей дамбы 84,0 м.

Обеспечение безопасности и надежности гидротехнических сооружений Олимпиадинского ГОКа с учетом увеличения объема производства более чем в два раза и раздельного складирования хвостов обогащения требуют внедрения намывного способа наращивания накопителя и более сложной, по сравнению с существующей технологической схемой, организации хвостового хозяйства. Техническим условием перехода на намывной накопитель является ограничение максимальной годовой интенсивности намыва величиной не более 2,0 м/г.

Альтернативным решением могло бы быть строительство нового накопителя с направлением в него хвостов ОФ - 3.

Для строительства комплекса гидротехнических сооружений нового накопителя требуется проведения дополнительных дорогостоящих инженерно-геологических изысканий и исследований. Вариант с организацией второго накопителя увеличит затраты на капитальное строительство гидротехнических сооружений, площадь отчуждения под складирование промышленных отходов, уровень загрязнения окружающей среды и эксплуатационные расходы.

Основными целями организации хвостового хозяйства с разделением накопителя на отсеки, сгущением и конусным складированием хвостов ОФ - 3 в штабель являются:

обеспечение заданной технологической схемы работы обогатительных фабрик;

переход на намывной тип накопителя;

обеспечение безопасного состояния гидротехнических сооружений до завершения эксплуатации;

обеспечение складирования расчетного количества отходов обогащения на ограниченной площади существующего накопителя;

уменьшение потерь воды в накопителе;

ограничение максимальной интенсивности складирования хвостов в секции намывным способом величиной не более 2,0 м/г;

сокращение количества загрязненных стоков, направляемых в окружающую среду;

значительное, более чем в два раза снижение объема транспортируемой в секцию № 2 накопителя пульпы ОФ - 3 и возвращаемой оборотной воды;

снижение диаметра используемых трубопроводов;

максимальное использование рельефа местности для обеспечения самотечной подачи хвостовой пульпы;

использование физико-механических и фильтрационных характеристик сгущенных хвостов для снижения влияния накопителя на окружающую среду;

повышение надежности сооружений хвостового хозяйства;

использование для первоначальной отсыпки и последующего наращивания дамбы основания пульпопроводов на конусе складирования, а также намывном пляже основной ограждающей и разделительной дамб вскрышных пород карьера руды при минимальном расстоянии перевозки;

самотечный отвод чистых стоков с верховьев руч. Быстрый за пределы промплощадки предприятия в быстроток № 2.

В таблице 3 приведены характеристики хвостов, укладываемых в накопитель в начальный период после намыва и завершения процесса уплотнения хвостов.

Таблица 3 - Физико-механические характеристики хвостов, укладываемых в накопитель

Наименование характеристики

Величина

Угол внутреннего трения, градус

25-32

Сцепление, кг/см2: - при коэффициенте пористости 0,93 - при коэффициенте пористости 0,5

 0 0,08

Коэффициент фильтрации, м/сут: - при коэффициенте пористости 1,25 (сразу после намыва) - при коэффициенте пористости 0,65

 0,0043 0,00017


Принятое расположение и технология заполнения накопителя с последовательным конусным складированием части хвостов ОФ - 3 в штабель, наращиваемый между прилегающими возвышенностями вниз по естественному уклону местности в направлении разделительной дамбы, создают условия для максимальной локализации техногенного воздействия объекта на окружающую среду.

Уклон поверхности конуса до 4 % обеспечивает абсолютную гидродинамическую безопасность штабеля складирования хвостов.

Сбрасываемые в накопитель сгущенные до 64 % хвосты будут создавать намывной пляж с уклоном поверхности до 4 град при почти однородном гранулометрическом содержании крупностей твердых частиц, как в начале, так и в конце пляжа.

Минимальная гидравлическая классификация на пляже приведет к обеспечению интенсивного уплотнения хвостов во времени с одновременным набором прочности и коэффициентом фильтрации, оцениваемом в среднем 8,7·10-5 м/сут и менее.

Вышеприведенные свойства складируемых сгущенных хвостов позволяют минимизировать фильтрацию из накопителя в естественные грунты основания.

Учитывая расположение секций № 1 и № 2 на местности, остаточная фильтрация из отстойных прудов будет перехвачена в нижнем бьефе разделительной дамбы и возвращена в водооборот предприятия.

Согласно СНиП 2.01.28-85 [7], при складировании отходов производства 3-го класса опасности должен быть обеспечен защитный слой в основании хранилища с Кф не более 8,7·10-7 м/сут, 4-го класса - не более 8,7·10-3 м/сут. Использование глубокого сгущения хвостовой пульпы обеспечивает требуемые нормативные фильтрационные характеристики основания на площади складирования без проведения дополнительных мероприятий. В результате сгущения количество жидкой фазы пульпы, а следовательно и часть растворенных остаточных реагентов, направляемых в накопитель, уменьшается в 2,2 раза - с 689 до 308 м3/ч. В соответствии с действующими правилами, накопитель намывного типа является непрерывно наращиваемым гидротехническим сооружением, строительство которого (возведение основной ограждающей дамбы) продолжается в течение всего периода срока службы предприятия. Регламент эксплуатации намывного накопителя, состав и объемы необходимых дополнительных работ устанавливаются проектами эксплуатации, разрабатываемыми на каждые 3-4 года работы и учитывающими результаты наблюдений и изменения в техническом состоянии сооружения за предыдущий период.

5.2 Основные положения по организации раздельной технологической схемы складирования хвостов

Проектируемая технологическая схема организации хвостового хозяйства обогатительных фабрик № 1,2,3 (ОФ - 1,2,3) предусматривает следующие этапы:

Переход на накопитель намывного типа.

Разделение существующей площадки накопителя на секции № 1 (объединенные хвосты ОФ - 1,2 и фильтрат ОФ - 3) и № 2 ("мокрые" хвосты ОФ - 3) с различной технологией складирования хвостов, а также отдельный участок (полигон) для временного хранения "сухих" хвостов сорбции ОФ -3 .

Заполнение секции № 1 на отметку не более 170,0 м, что позволит обойтись без строительства защитной дамбы площадки гидрометаллургического цеха (ГЦ) ОФ - 1,2. Наращивание ограждающей и разделительной дамб секции намывным способом средней интенсивностью около 1,5 м/г, максимальной - 2,0 м/г. Наибольшая высота основной ограждающей дамбы после завершения эксплуатации составит 70,5 м.

Устройство разделительной дамбы между секциями суммарной высотой до 32 м с намывом экраном из хвостов ОФ - 1,2 с одной стороны, из хвостов ОФ - 3 (с опережением на 0,5 - 1,0 м) с другой стороны. Первоначальная разделительная дамба с отметкой гребня 152,0 м отсыпается из вскрышных пород карьера по существующей насыпи. В последующем, для устройства основания трубопроводов, по гребню, намытого пляжа второй секции до проектной отметки года, отсыпаются дамбочки наращивания.

Образование отстойного пруда в каждой из секций складирования "мокрых" хвостов и обеспечение раздельной системы оборотного водоснабжения ОФ - 1,2 и ОФ - 3.

Складирование объединенных хвостов ОФ - 1,2. (ГЦ - 1) без сгущения исходной хвостовой пульпы. Гидротранспорт хвостовой пульпы из ГЦ - 1 осуществляется в самотечном и напорном режимах (с подкачкой, при необходимости, грунтовым насосом).

Сгущение хвостовой пульпы ОФ - 3 (ГЦ - 2) до проектируемой концентрации, с Т:Ж=1:0,56 - 1:0,61 (62-64 % твердого) в сгустителе диаметром 30 м с использованием 10 грамм флокулянта на тонну твердого. Указанная концентрация позволяет использовать для перекачки пульпы центробежные насосы. Сгущение является необходимым и обязательным условием для снижения объема воды, направляемой в секцию № 2 накопителя, и обеспечения складирования хвостов ОФ - 3 на ограниченной площади конусным способом.

Возврат слива сгустителя в технологический процесс ОФ - 3 непосредственно с комплекса сгущения.

Конусное складирование части хвостов ОФ - 3 в штабель (с уклоном поверхности до 4 %) с использованием высотных отметок прилегающей местности. Вторая часть хвостов укладывается в экран разделительной дамбы и по юго-восточному борту секции № 2 накопителя с интенсивностью намыва не более 2,0 м/г.

Раздельная подача хвостов в накопитель, в том числе объединенной хвостовой пульпы ОФ - 1,2 и фильтрата ОФ - 3 в самотечном или напорном режимах - в секцию № 1 накопителя, исходной пульпы ОФ - 3 - самотеком на сгуститель, сгущенной пульпы ОФ - 3 до 64 % по содержанию твердого (разгрузка сгустителя) - в самотечном или напорном режимах - в секцию № 2 накопителя, перевозка автотранспортом и укладка на прилегающем к площадке ГЦ-2 (ОФ-3) участке местности "сухих" хвостов сорбции в штабель временного складирования.

Строительство сооружений комплекса сгущения исходной хвостовой пульпы ОФ - 3 при ГЦ - 2, включающего сгуститель, станцию приготовления и подачи флокулянта, грунтовые насосы сгущенной пульпы ОФ-3 (разгрузки сгустителя), насосы возврата осветленных сливов сгустителя совместно с оборотной водой из отстойного пруда в систему оборотного водоснабжения.

Организация пульпонасосной станции хвостовой пульпы ОФ - 1,2 совместно с фильтратом ОФ - 3 в отделении обезвреживания при ГЦ - 1.

Использование самотечной подачи исходной пульпы ОФ - 3 на разделительную дамбу и восточный борт секции № 2 накопителя до завершения строительства комплекса сгущения в 2008 г.

Строительство новой системы водоотведения; в соответствии с условиями конусного складирования хвостов ОФ-3 и расчетной интенсивностью заполнения секций.

Отвод стока руч. Быстрый от южного борта накопителя в быстроток № 2 в нижнем бьефе основной ограждающей дамбы посредством самотечного трубопровода из стальной трубы диаметром 1000 мм.

Строительство специальной дамбы для прокладки пульпопровода сгущенных хвостов ОФ-3 до конуса складирования по наиболее оптимальной трассе и защита истока руч. Быстрый от загрязнения.

Наращивание емкости секций № 1 и № 2 накопителя периодическим возведением дамбочек наращивания из грунтов вскрыши карьера руды (один раз в два года), отсыпаемых по намывному пляжу разделительной и ограждающей дамб. Первичная разделительная дамба высотой 7 м на 3 года эксплуатации отсыпается в 2007 г, а первая дамбочка наращивания ограждающей дамбы высотой 4 м - в 2009 г.

Отсыпка пластового дренажа по намывному пляжу основной ограждающей дамбы на отметке 150,0 м из скального грунта толщиной слоя 4,0 м, длиной 30 м для обеспечения консолидации хвостов после перехода на намывной накопитель и организованного отвода фильтрационных вод в нижний бьеф ограждающей дамбы.

Обеспечение устойчивости накопителя с учетом его наращивания до предельной отметки заполнения 170,0 м и намывного способа заполнения уполаживанием низового откоса ограждающей дамбы с отметки 152,0 м и выше до 1:4.

Вывод из эксплуатации (тампонирование и консервация) существующего водоприемного колодца в 2007 г.

Переход на постоянное оборотное водоснабжение из секции № 1 с использованием только существующей плавучей насосной станции оборотной воды (ПНСОВ) и передвижной насосной станции с самовсасывающими установками - из секции № 2.

Отсыпка подъездных и оградительных дамб - пирсов в районе установки насосных станций оборотного водоснабжения из отстойных прудов.

Увеличение эффективности использования емкости накопителя путем выполнения торцевого (сосредоточенного) складирования хвостов по бортам накопителя в холодное время года по графику.

Использование преобразователей частоты вращения электродвигателей для управления системами сгущения и гидротранспорта хвостов с обеспечением оптимального режима работы сгустителя и грунтовых насосов при изменениях расстояния, отметок подачи и технологических характеристик хвостовой пульпы.

Прокладка пульповодов и водоводов оборотной воды по существующим и новым трассам.

Установка на пульповоде сгущенных хвостов резиновых компенсаторов повышенной надежности.

Наращивание основной (намывной) ограждающей дамбы и экранов разделительной дамбы накопителя гидравлическим складированием хвостов ОФ - 1,2,3 из намывных выпусков диаметром 20 - 40 мм, врезанных в распределительные пульпопроводы, уложенные на гребне насыпных дамбочек наращивания. В теплое время года пульпа сбрасывается через намывные и сосредоточенные выпуски, зимой - только через сосредоточенные выпуски.

Сосредоточенное складирование хвостов в районе ограждающей дамбы в холодное время года, для улучшения условий намыва пляжей летом при температуре окружающей среды ниже минус 5°С

Эксплуатация хвостового хозяйства с постоянным технологическим персоналом под управлением мастера смены.

.3 Хвостовое хозяйство

.3.1 Системы пульпоподготовки и гидротранспорта хвостов

Включают в себя:

) Самотечный гидротранспорт исходной хвостовой пульпы ОФ - 3 (ГЦ - 2) на сгуститель.

) Систему сгущения исходной хвостовой пульпы ОФ - 3 в сгустителе с использованием флокулянта.

) Систему гидротранспорта сгущенной хвостовой пульпы (разгрузка сгустителя) ОФ - 3.

) Систему гидротранспорта хвостов ОФ - 1 и ОФ - 2 совместно с фильтратом ОФ - 3 (ГЦ - 1).

) Самотечный гидротранспорт исходной хвостовой пульпы из ГЦ - 1 и ГЦ - 2 на накопителе в непредвиденных ситуациях (аварийный сброс).

В состав проектируемых систем входят:

магистральные и распределительные пульпопроводы ОФ - 1,2 и ОФ - 3 из стальных труб диаметром 300 - 500 мм с сальниковыми и резиновыми компенсаторами, уложенные по опорам на подготовленное основание. Для защиты от промерзания часть пульповодов предусмотрена в теплоизоляции. Суммарная длина пульповодов ОФ - 1,2 составляет 4,34 км, ОФ - 3 составляет 5,8 км; распределительные пульпопроводы на гребне разделительной и ограждающей дамб оснащаются намывными выпусками, на остальных участках предусмотрены сосредоточенные выпуски;

самотечный пульпосбросной коллектор от ОФ - 3 до приемной камеры сгустителя из стальной футерованной трубы протяженностью 120 м в одну нитку;

сгуститель хвостовой пульпы ОФ - 3 со станцией хранения и приготовления флокулянта, вспомогательным, электротехническим и дополнительным оборудованием;

пульпонасосная станция гидротранспорта хвостов ГЦ - 1 производительностью 1104 м3/ч с приемным зумпфом, одним насосом, арматурой, вспомогательным оборудованием и преобразователем частоты вращения;

комплекс сгущения (КС) хвостовой пульпы ОФ - 3 (ГЦ - 2), включая сгуститель в комплекте, насосную станцию сгущенных хвостов, электротехническое и вспомогательное оборудование, преобразователи частоты вращения. В состав объектов комплекса сгущения входит также насосная станция перекачки чистых сливов сгустителя совместно с оборотной водой из отстойного пруда секции № 2 на ОФ - 3;

аварийный пульпопровод хвостовой пульпы ГЦ - 1 до секции № 1 из стальной трубы диаметром 800 мм, протяженностью 500 м;

аварийный сбросной, самотечный пульпопровод исходной хвостовой пульпы ГЦ - 2 от комплекса сгущения до секции № 2 из стальных труб диаметром 800 мм, протяженностью 500 м.

Необходимость в устройстве специальной емкости (бассейна) для принятия хвостовой пульпы при непредвиденных или аварийных ситуациях на гидротранспорте отсутствует. В случае временной остановки основной системы гидротранспорта хвостовая пульпа в течение всего периода эксплуатации сбрасывается в ближайшие точки секций накопителя самотеком. Для защиты от интенсивного износа все постоянно работающие в самотечном режиме (кроме аварийных сбросов) участки пульпопроводов выполняются из стальных труб, футерованных каменным литьем типа ТФ.

.3.2 Система водоотведения

Новая система отведения местных, ливневых и паводковых стоков от площадки накопителя включает в себя:

) нагорные каналы № 1, № 2 и № 3 от конуса складирования до быстротока № 2, протяженностью соответственно 3,88, 1,682 и 1,859 км;

) быстроток № 1 для сопряжения нагорных каналов № 2 и № 1 длиной 484 м;

) водоотводную дамбу на ручье Ивановский длиной 214 м и высотой 6 м;

) быстроток № 2 для сопряжения нагорного канала № 3 с существующим водоотводным каналом в нижнем бьефе ограждающей дамбы протяженностью 375 м;

) водоотводную траншею полигона складирования хвостов сорбции для отвода фильтрационных и местных стоков в секцию № 1;

) трубопровод самотечного отвода стока ручья Быстрый в быстроток № 2, он выполнен из стальной трубы диаметром 1000 мм и протяженностью 3,77 км. Расположение нагорного канала № 1 принято с учетом резерва емкости конусного складирования сгущенных хвостов ОФ - 3. Учитывая проектируемое расположение конуса складирования хвостов ОФ - 3, карьеров руды и отвалов вскрышных пород, строительство участка нагорного канала со стороны юго-восточного борта накопителя и плотины на ручье Сухой не предусматривается. Предполагается, что по мере заглубления, расположенного в одном километре на юго-восток от накопителя карьера Глубокий объем внешнего водопритока в систему водоотведения со стороны руч. Быстрый должен значительно сократиться.

5.3.3 Система оборотного водоснабжения

В ее состав входят:

существующая плавучая насосная станция (ПНСОВ) секции № 1 производительностью до 1000 - 1200 м3/ч, с насосами, для подачи воды на ОФ - 1,2 и очистные сооружения;

передвижная насосная станция оборотного водоснабжения (НОВ) секции № 2 производительностью до 500 м3/ч с тремя самовсасывающими насосами, установленная на насыпном пирсе;

насосная станция перекачки сливов сгустителя на ОФ - 3 (380,9 м3/ч) совместно с оборотной водой из отстойного пруда секции № 2 (Qcp = 253 м3/ч) в составе объединенной насосной станции (ОНС) при комплексе сгущения с двумя насосами, с приемным зумпфом, арматурой и вспомогательным оборудованием;

существующий водовод оборотной воды от ПНСОВ секции № 1 до промплощадки ОФ - 1 из стальных труб диаметром 500 мм в две нитки длиной 6 км, проложенный по поверхности на опорах и утепленный для защиты от промерзания; в последующем водовод используется также для подачи избыточной воды отсека на очистные сооружения;

водовод оборотной воды от НОВ секции № 2 до приемного зумпфа сливов сгустителя комплекса сгущения (КС) из стальных труб диаметром 300 мм, в одну нитку длиной 2,023 км, проложенный на гребне разделительной дамбы и на опорах по прилегающей местности;

напорный водовод оборотной воды от КС до ГЦ - 2 из стальных труб диаметром 300 мм в одну нитку;

защитно - подъездные пирсы (дамбы) ПНСОВ и НОВ.

.3.4 Реконструируемый накопитель

Накопитель состоит из трех секций:

Емкость секции № 1 предназначена для складирования хвостов, выходящих из ГЦ - 1, и обеспечивается наращиванием основной ограждающей дамбы один раз в два года дамбочками наращивания, отсыпаемыми по намытому до проектной отметки пляжу. Конечная отметка гребня дамбы к 2023 г составит 170,5 м.

Емкость секции № 2 с конусом складирования сгущенных хвостов с северной стороны предназначена для складирования хвостов ОФ - 3 (из ГЦ-2) и обеспечивается со стороны секции № 1 периодически наращиваемой разделительной дамбой с конечной отметкой гребня 171,5 м, на остальном протяжении - склонами прилегающей местности, а также защитной дамбой руч. Быстрый.

Секция № 3 (полигон) предназначен для временного хранения 6,35 млн. т (382,5 тыс. т/г) "сухих" хвостов сорбции ОФ - 3. Этот полигон (штабель) располагается на восточном борту накопителя, рядом с промплощадкой ОФ - 3 и включает в себя: подготовленное основание, оградительную дренажную дамбу по контуру сооружения, дренажную траншею, штабель складирования хвостов. За пределы ГЦ - 2 хвосты транспортируются ленточным транспортером, на полигон - автотранспортом.

.3.5 Система перехвата фильтрационных вод ограждающей дамбы

Существующая система предназначена для перехвата фильтрационной воды в нижнем бьефе основной ограждающей дамбы накопителя. Система включает в себя дренажные траншеи, четыре водозаборные скважины, дренажную насосную станцию, две насосные станции загрязненных стоков и напорные водоводы. Изменение состава сооружений и оборудования системы при проведении 4-ой очереди реконструкции хвостового хозяйства в 2007-2009 г не предусматривается. Необходимость выполнения работ по реконструкции системы перехвата фильтрационных вод в последующий период работы хвостового хозяйства уточняется с учетом данных наблюдений за состоянием сооружений в составе проектов эксплуатации.

5.3.6 Система контрольно-измерительной аппаратуры накопителя

В состав системы входят:

репера с привязкой к опорной государственной сети;

пьезометры;

наблюдательные марки (существующие и проектируемые);

мерные рейки уровня воды в отстойных прудах секций;

наблюдательные скважины в нижнем бьефе ограждающей дамбы (существующие).

.3.7 Эксплуатационные автодороги

Вдоль трасс, существующих и строящихся трубопроводов, предусматриваются эксплуатационные дороги водоотводных сооружений по гребню дамб и плотин, а также до насосных станций оборотного водоснабжения. Суммарная протяженность дорог - более 25,0 км, в том числе по гребню дамб - около 2,0 км.

.3.8 Система энергоснабжения и освещения накопителя и площадок насосных станций

Энергоснабжение комплекса сгущения и пульпонасосной станции ГЦ-1 осуществляется от существующей системы энергоснабжения промплощадки. Освещение гребня основной ограждающей дамбы выполняется существующей системой. По мере роста гребня производится перенос опор и линии освещения на новые отметки.

Освещение низконапорной (1-3 м) разделительной дамбы предусмотрено посредством переносных автономных источников во время осмотра сооружений дежурным персоналом, а также со стационарных опор, установленных на коренном берегу бортов накопителя с обеих сторон сооружения.

5.4 Технологическая схема хвостового хозяйства

.4.1 Складирование хвостов из гидрометаллургического цеха № 1 (ГЦ - 1)

В течение всего расчетного периода эксплуатации (до 2023 г) хвосты ГЦ-1 круглогодично используются для наращивания основной ограждающей и разделительной дамб, а также укладываются в емкость накопителя с бортов секции. Исходная хвостовая пульпа расходом около 1100 м3/ч самотеком или насосом по одной или одновременно по двум ниткам пульпопровода диаметром 500 мм подается на намыв экрана (в теплое время года) или сбрасывается через один из сосредоточенных выпусков по графику в секцию № 1. Оборотное водоснабжение ОФ - 1,2 в планируемом объеме осуществляется из отстойного пруда посредством существующей плавучей насосной станции. Избыточные воды направляются на очистные сооружения предприятия. Наращивание емкости для укладки хвостов в секции № 1 обеспечивается отсыпкой на пляже дамбочек наращивания высотой 2,5 - 3,5 м из грунтов вскрыши карьера руды один раз в два года после завершения намыва на заданную отметку. Возможна частичная отсыпка тела дамб наращивания из сухих хвостов, отбираемых с пляжа восточного борта накопителя, вне зоны намыва экрана разделительной дамбы. После возведения дамбочек наращивания производится перекладка на новые отметки гребня распределительного пульпопровода и сосредоточенных выпусков. Для обеспечения надежного оборотного водоснабжения с учетом постоянного повышения отметок дна отстойного пруда предусматривается перестановка плавучей станции на более удаленный участок секции накопителя, а также отсыпка нового подъездного пирса и оградительной дамбы. Необходимость и регламент перемещения станции определяется текущими проектами эксплуатации хвостового хозяйства.

5.4.2 Складирование "мокрых" хвостов обогатительной фабрики № 3 из гидрометаллургического цеха № 2

В 2007 - 2008 г исходная хвостовая пульпа ОФ - 3 с расходом 284,6 - 777,7 м3/ч самотеком направляется на намыв экрана разделительной дамбы и на юго-восточный борт секции № 2 накопителя. Для обеспечения пропуска заданного расхода в указанный период используются участки магистральных пульпопроводов диаметром 400 мм, которые, впоследствии, после перехода на постоянный напорный режим могут быть заменены на трубу диаметром 300 мм.

После завершения строительства сооружений комплекса сгущения (КС), сгущенные до 64 % по весовому содержанию твердого, хвосты ОФ - 3 подаются по графику насосами на конус (штабель) складирования, на борта накопителя или на намыв экрана разделительной дамбы секции № 2.

Для организации фронта намыва на конусе складирования первой очереди предусмотрена отсыпка пульпопроводов технологической дамбы основания на отметке 210,0 м (эксплуатация примерно до 2016 г) с последующим (вторая очередь) продлением до отметки местности 230,0 м и соответственным наращиванием трубопровода. Отсыпка производится из вскрышных пород карьера или местных грунтов. Наращивание трассы второй очереди составляет 323 м, в том числе новая технологическая дамба составляет 150 м, кроме этого перекладываемый участок "старой" трассы составляет 685 м.

После запуска в работу емкости секции № 2, накопитель обеспечивается первичной разделительной дамбой, а затем отсыпкой дамбочек наращивания из местного грунта на намывном пляже высотой 4,0 - 2,5 м на два года эксплуатации каждая. Отсыпка дамб производится в осенне-зимний период после намыва экрана разделительной дамбы до проектной отметки.

Для обеспечения требуемого направления фильтрационного потока дренажных вод, экран со стороны второй секции намывается с опережением на 0,5 - 1,0 м, а уровень воды в отстойном пруду секции № 2 должен быть всегда выше уровня воды в секции № 1. Расход отбираемой из секции № 2 оборотной воды уточняется при текущей эксплуатации с учетом объема и качества воды в отстойном пруду.

Учитывая климатические условия и технологию складирования хвостов, в экстремальных условиях возможна временная приостановка подачи воды из секции к концу холодного периода года.

Система водоснабжения ОФ - 3 технической водой из сторонних источников должна предусматривать возможность восполнения потерь в полном объеме жидкой фазы пульпы, направляемой в накопитель (308 м3/ч).

. Системы подготовки пульпы и гидротранспорта хвостов

.1 Комплекс сгущения

Комплекс сгущения (КС) обеспечивает сгущение хвостов ОФ - 3 (ГЦ - 2) с 44,3 до 64,0 % по содержанию твердого и располагается примерно в 125 м на юго-запад по уклону местности от точки выхода исходной хвостовой пульпы из ГЦ - 2.

В состав КС входят:

Сгуститель диаметром 30 м.

Объединенная насосная станция, включая пульпонасосную станцию перекачки сгущенных хвостов, насосную станцию подачи осветленных сливов сгустителя совместно с оборотной водой из отстойного пруда на ОФ - 3, станцию приготовления и подачи раствора флокулянта, арматуру, дренажный насос машзала, два преобразователя частоты вращения насосов, вспомогательное и электротехническое оборудование.

Система трубопроводов опорожнения сгустителя и аварийного перелива из зумпфов.

Насосные станции, станция приготовления флокулянта, электротехническое и вспомогательное оборудование находятся в одном здании.

Для перекачки сгущенных хвостов из разгрузки сгустителя используются две группы насосов:

) Два последовательно соединенных насоса для подачи пульпы на штабель складирования хвостов. Параметры работы второго насоса, по ходу движения потока, регулируются посредством изменения числа оборотов электродвигателя.

) Один насос с преобразователем частоты вращения для подачи пульпы в приемную емкость самотечной подачи или непосредственно на разделительную дамбу и борт накопителя.

Специального резерва в группах насосов не предусматривается. В случае кратковременной необходимости остановки всего комплекса сгущения технологической схемой предусмотрена возможность временного аварийного сброса в накопитель исходной пульпы ОФ - 3 в обход КС по пульповоду диаметром 500 мм, а также аварийный сброс из зумпфов.

Всасывающие трубопроводы групп насосов соединены с разгрузочным патрубком сгустителя наклонным пульпопроводом. Корректировка параметров откачки сгущенного продукта обеспечивается регулированием параметров работы насоса. Другим фактором, влияющим на эффективность процесса сгущения, является изменение количества подаваемого в питающий колодец раствора флокулянта в зависимости от состояния слоя взвешенного осадка внутри сгустителя. Управление технологическим процессом сгущения и напорного гидротранспорта хвостов выполняется в автоматическом режиме посредством компьютерной программы.

После первоначального запуска системы, подача сгущенной пульпы на разделительную дамбу и борт накопителя в течение длительного периода эксплуатации обеспечивается в самотечном режиме. Однако, учитывая вышеприведенные технические условия работы сгустителя, при работе на ближе расположенных участках, хвосты насосом перекачиваются в приемный бак, откуда поступают в пульпопровод диаметром 400 мм и далее самотеком на накопитель.

Размер здания объединенной насосной станции - 24х18 м. Отопление здания станции и пространства под чашей сгустителя производится от существующей системы теплоснабжения ГЦ-2. В качестве резервной системы используются электрокалориферы. Суммарная мощность резервных отопителей 150 кВт, включая систему вентиляции.

Основные технические характеристики процесса сгущения хвостов ГЦ - 2 приведены в таблице 4.

Таблица 4 - Параметры процесса сгущения хвостовой пульпы в 2009-2023 г

Наименование

Количество

Примечания

Характеристики исходной пульпы гидрометаллургического цеха № 2 (ГЦ - 2): - расход, м3/ч - Т:Ж - в т.ч. Ж, м3/ч - в т.ч. Т, т/ч - плотность, т/ч

  883,2 1:1,26 689,0 547,7 1,2

    44,3 % твердого  194,2 м3

Слив сгустителя, м3

380.9


Характеристика разгрузки сгустителя: - расход, м3/ч - Т:Ж - в т.ч. Ж, м3/ч - в т.ч. Т, т/ч - плотность, т/ч

 502,3 1:0,563 308,1 547,7 1,7

  64 % твердого  194,2 м3

Расход флокулянта, т/г: - удельный - годовой

 10 48,0

Количество сгущаемых хвостов Т=4,7975 млн. т/г


.2 Система гидротранспорта хвостов из гидрометаллургических цехов № 1 и № 2 (ГЦ -1,2)

На гидротранспорте хвостовой пульпы ГЦ - 1 за период эксплуатации предусмотрено три режима:

) Самотечная подача хвостов на участки секции №1.

) Напорная подача с использованием одного грунтового насоса в отделении обезвреживания ГЦ - 1.

) Временный самотечный сброс пульпы по аварийному пульповоду диаметром 800 мм.

Необходимость и график установки второго насоса определяется при текущей эксплуатации. Самотечная подача хвостов осуществляется по одному или двум (одновременная подача на разделительную и ограждающие дамбы в период намыва) пульпопроводам из стальных труб диаметром 500 мм врезанных в приемную металлическую емкость внутри здания участка обезвреживания ГЦ - 1.

Подача пульпы внутри цеха из контактных чанов в приемную емкость или зумпф обеспечивается самотеком по внутреннему стальному трубопроводу диаметром 600 мм.

Всего на выходе из ГЦ - 1 предусмотрено три нитки пульпопровода:

левая нитка - для подачи хвостов на разделительную дамбу и борт накопителя протяженностью 1,8 км;

правая нитка - для подачи хвостов на основную ограждающую дамбу и борт накопителя протяженностью в начале расчетного периода 2,2 км; после 2016 г правая нитка продлевается на 500 м по северному борту;

аварийный сброс от ГЦ - 1 до ближайшей точки накопителя - для сброса пульпы в аварийных ситуациях и при переполнении хвостового зумпфа, выполнен из стальной трубы диаметром 800 м.

Основные расчетные параметры системы гидротранспорта объединенных хвостов из ГЦ - 1 приведены в таблице 5.

Таблица 5 - Параметры эксплуатации системы гидротранспорта хвостов ГЦ - 1

Наименование

Левая нитка

Правая нитка

Примечания

Параметры хвостовой пульпы: - расход, м3/ч - Т:Ж, - Т, т/ч - Ж, м3/ч - плотность пульпы, т/ м3

 1104,7 1:1,86 500 927,4 1,292

 1104,7 1:1,86 500 927,4 1,292

В работе постоянно находится одна или две нитки параллельно с суммарным расходом 1104,7 м3

Гидравлический уклон, м/км

10,2

10,2

расчетный

Диаметр пульповода, мм

500

500


Отметка выхода пульпы, м: - из зумпфа - ось насоса

 183,0 177,5

 183,0 177,5


Отметка подачи, м: - в начале эксплуатации - в конце эксплуатации

 152,0 171,5

 156,0 170,5


Геодезическая высота подъема, м: - в начале эксплуатации - в конце эксплуатации

 -31,0 -6,0

 -27,0 -7,0


Расстояние перекачки, м: - в начале эксплуатации - в конце эксплуатации

 1530 1763

 1670 2284

 максимальное

Потери напора по длине, м вод.ст: - в начале эксплуатации - в конце эксплуатации

 15,6 18,0

 17,0 23,3


Суммарный напор для подачи пульпы на конечные пикеты, м: - в начале эксплуатации - в конце эксплуатации

  -13,4 14,0

  -8,0 18,5

  с учетом Низл.=2,0 м.в.с.

Грунтовый насос: - типоразмер - потребляемая мощность, кВт - количество, шт

 14/12  1


 Warman  без резерва

Протяженность трубопроводов диаметром 500х10 мм, м - при запуске - в конце эксплуатации

  1530 1763

  1670 2284

Кроме аварийного сброса ИТОГО: 3200 4047


Параметры гидротранспорта сгущенной хвостовой пульпы ОФ - 3 приведены в таблице 6.

Таблица 6 - Параметры эксплуатации системы гидротранспорта хвостов ГЦ - 2 в 2009-2023г

Наименование

Левая нитка

Правая нитка

Примечания

Параметры хвостовой пульпы: - расход, м3/ч - Т:Ж - т, т/ч - Ж, м3/ч - плотность пульпы, т/м3

 502,3 1:0,563 547,7 308,1 1,7

 502,3 1:0,563 547,7 308,1 1,7


Гидравлический уклон, м/км

25,9

25,9

расчетный

Диаметр пульповода, мм

300

300

расчетный,

Отметка выхода пульпы, м: - в 2009 г - в 2023 г

 198,8 198,8

 204,0 198,8

 ось насоса - бак ось насоса

Отметка подачи, м: - в 2009 г - в 2023 г

 210,0 230,0

 152,0 171,5


Геодезическая высота подъема, м: - в начале эксплуатации - в конце эксплуатации

 11,2 31,2

 -52,0 -27,3


Расстояние перекачки, м: - в начале эксплуатации - в конце эксплуатации

 3189 3512

 1399 1662

 максимальное

Потери напора по длине, м вод.ст: - в начале эксплуатации - в конце эксплуатации

 82,6 91,0

 36,2 43,0


Суммарный требуемый напор для подачи на конечные пикеты - в начале эксплуатации - в конце эксплуатации

 93,8 122,2

 -15,8 15,7



Регламент эксплуатации системы гидротранспорта хвостов ГЦ - 2 и режим текущей работы определяется проектом эксплуатации. Из-за больших скоростей самотечного гидротранспорта хвостовой пульпы на коротком расстоянии от ГЦ - 2, а также ГЦ - 1 до начальных пикетов секций № 1,2 (около 0,5 км) при большом перепаде высот (в первоначальный период эксплуатации 30 - 52 м) возможен интенсивный износ стенок труб. Для предупреждения этого предусмотрено применение на отдельных участках магистральных пульповодов стальных труб типа ТФ различного диаметра, футерованных вкладышами из каменного литья.

6.3 Транспорт и укладка "сухих" хвостов

"Сухие" хвосты сорбции обогатительной фабрики № 3 (ОФ - 3) складируются на юго-восточном борту секции № 2 накопителя в непосредственной близости от корпуса гидрометаллургического цеха № 2 (ГЦ - 2).

В последующем предполагается повторная переработка хвостов для доизвлечения полезных компонентов. Суммарный объем складирования "сухих" хвостов за расчетный период эксплуатации составит 6347 тыс. т или 4702 тыс. м3, при плотности скелета 1,35 т/м3, среднегодовой выход - 382,5 тыс. т (283 тыс. м3), что соответствует удельной интенсивности 43,7 т/ч или 32,3 м3/ч (775,2 м3). Средняя влажность хвостов 15 %.

На расстояние 50 м от здания, за пределы корпуса ГЦ - 2, хвосты перемещаются наклонным ленточным транспортером. Максимальный объем конуса укладки на разгрузке - 370 м3 (около 500 т).

Из-под конвейера хвосты забираются самоходным погрузчиком и грузятся на автотранспорт для перевозки на полигон складирования.

Укладка "сухих" хвостов на полигоне осуществляется бульдозером. Для обеспечения передвижения автомобилей, обеспечения безопасности и предупреждения размыва штабеля осадками и талыми водами предусмотрены промежуточные бермы и закрепление поверхности скальным грунтом из отвалов вскрышных пород.

Организованный отвод фильтрационной воды от штабеля производится в емкость секции № 1 накопителя посредством дренажной канавы по внешнему контуру сооружения.

. Моделирование фильтрации из накопителя

Расчетную схему рекомендуется выполнять на миллиметровой бумаге в масштабе 1:100 при высоте сооружения до 20 м и 1:200 - при большей высоте (все размеры - в метрах). Чертёж располагается в I квадранте декартовых координат. Направление оси абсцисс слева направо, оси ординат - снизу вверх. На чертеже должны быть показаны контуры сооружения, границы слоёв различных грунтов (контуры ИГЭ), вертикальные боковые границы и нижняя граница расчетной области.

Нижняя граница должна быть доведена до обеих боковых вертикальных границ. В случае если основание является весьма глубокой толщей водопроницаемого грунта (более 3Нд, где Нд - высота дамбы), нижняя граница принимается на глубине не менее 1,5Нд от отметки поверхности грунта. При наличии в основании водоупора (например, плотная глина или монолитная скала) нижняя граница совпадает с его поверхностью.

Расстояние от вертикальных границ чертежа до нижней кромки откосов дамбы рекомендуется принимать 1,5Нд-2Нд по направлению оси абсцисс.

Нумерация слоев грунта производится произвольно. Границей слоя грунта считается линия, ограничивающая его снизу.

Каждую линию на чертеже необходимо аппроксимировать посредством определенных геометрических фигур. Рекомендуется аппроксимация в виде прямоугольников, через вершины которых проведены горизонтальные линии (строки) и вертикальные линии (столбцы). Полученные строки и столбцы нумеруются (1, 2, 3, …) без пропусков (количество строк не больше 49, столбцов не больше 114); проставляются их размеры. Расстояние между столбцами и строками следует принимать в соответствии с принятым масштабом расчетной схемы.

7.1 Ввод исходных данных в программу расчета

Программа для решения фильтрационной задачи написана на языке программирования FORTRAN. Ввод исходных данных осуществляется по формату - описание символьных форм представления значений величин в логических записях наборов данных. Эти описания помещаются в операторы форматов и используются операторами форматного ввода-вывода. В данном случае используется два кода формата: I - целый, F - вещественный.

В первую строку вводятся общее количество пронумерованных столбцов (формат I3), общее количество пронумерованных строк (формат I3), количество слоёв грунта (формат I3), любой текст - например, название сооружения, шифр чертежа и т.п (формат 13А4). Количество символов текста должно быть не более 60.

Во второй строке указывается отметка водоупора (формат F6.2).

В третью строку вводится коэффициент сжатия или растяжения (формат F6.2).

В четвертой строке и ниже (столбиком) указываются размер строк и количество ячеек с данным размером по направлению оси У снизу вверх (формат F6.2, I3). В каждую строку вводят по одному размеру и количеству строк, а остальные вводят столбцом по тому же формату.

Пятым массивом чисел указываются размер столбцов и количество ячеек с данным размером по направлению оси Х слева направо (формат F6.2, I3). В каждую строку вводят по одному значению, а остальные вводят в следующую строку столбцом по тому же формату.

Шестым массивом являются коэффициенты фильтрации грунтов по горизонтали в порядке их нумерации (формат 4F8.3). В одну строку вводят четыре коэффициента фильтрации грунтов; если количество грунтов больше четырех, то их вводят в следующую строку по тому же формату.

Седьмым массивом являются коэффициенты фильтрации грунтов по вертикали в порядке их нумерации (формат 4F8.3). В одну строку вводят четыре коэффициента фильтрации; если грунтов больше четырех, то их вводят в следующую строку по тому же формату.

Восьмым массивом являются описания слоёв грунтов по строкам, начиная с первой строки, и количество ячеек с этим грунтом (формат 2I3); массив этих данных вводится столбцом.

Девятым массивом указывается область фильтрации по строкам (признак 2 - признак стационарной фильтрации, признак 3 - область в тех ячейках, где присутствует дренаж) и количество ячеек (формат 2I5); массив данных также вводится столбцом.

Десятым массивом вводят граничные условия (проницаемости или непроницаемости) слева, снизу и справа (формат F8.2, I3).

Одиннадцатый массив включает описание поверхности (контура) сооружения (слева направо). Указывается номер строки и количество узлов в ней (формат 2I3).Ввод данных осуществляется столбцом.

Двенадцатый массив указывает на наличие или отсутствие воды в столбцах с указанием их количества (признак 1 - наличие воды в столбцах, признак 0 - отсутствие воды в столбцах, формат F6.2, I3).

В тринадцатом массиве указывается глубина воды в указанных выше столбцах и их количество с данной глубиной (формат F6.2, I3). Данные вводятся столбцом по этому же формату.

Четырнадцатый параметр указывает количество допустимых итераций; максимальное число итераций 9999 (формат I4). Первоначально ставится одна итерация для того, чтобы убедиться в правильности построения расчетной схемы.

Пятнадцатый параметр характеризует погрешность итеративного процесса, которая должна быть равна 0,01 (формат F6.2) [18].


Кривая депрессии и линии равных напоров строятся в процессе математического моделирования, а линии тока графически, т.е. используется графо-аналитический метод.

Графическое построение - при готовых линиях равных напоров (эквипотенциали) строим систему линий тока (траектории движения подземной воды). Эквипотенциали располагаются по нормали к кривой депрессии и к поверхности водоупора. Любая линия тока пересекает все линии равных напоров под углом 900. В итоге получается криволинейная, ортогональная в пересечениях с эквипотенциалями и с контуром питания, полная гидродинамическая сетка, определяющая собой все основные параметры потока.

Принимаем, что в плоско-вертикальной постановке задачи вертикальное сечение, характеризующее расчетную область фильтрации, имеет ширину в направлении оси Z 1 м.

Кривая депрессии является самой верхней линией тока, искомой границей, определяющей фильтрационный поток от расположенного выше массива. Основные закономерности фильтрационной сетки:

) Линии тока, выходящие от водоема, являющегося областью питания, всегда нормальны к поверхности дна.

) Линии тока, выходящие под уровень воды нижнего водоема (области стока) также нормальны к дну.

) Эквипотенциали ориентированы по нормали к кривой депрессии и к поверхности водоупора, за исключением свободного участка высачивания на увлажненный, но непокрытый слоем воды откос, где эта закономерность не всегда соблюдается.

) Во всех пересечениях эквипотенциалей с линиями тока обязательна ортогональность, не зависимо от кривизны линий.

По сеткам определяются:

удельные q1, q2 и полный Q расходы фильтрации, высачивающиеся на поверхность низового откоса дамбы и на поверхность основания при отсутствии или отказе дренажа;

расход q2, проходящий транзитом по проницаемому основанию дамбы и определяющий загрязнение подземных и поверхностных вод (при высачивании во внешний водоем, расположенный в нижнем бьефе дамбы);

расход q1, поступающий во внутренний или внешний дренаж, направляемый из него в бассейн осветленных и дренажных вод (БОВ) и затем возвращаемый в систему гидротранспорта отходов предприятия (принимаем, что этот расход не участвует в загрязнении подземных и поверхностных вод).

7.2 Определение расхода фильтрации

Удельный расход фильтрации (м3/сут) определяется по следующим формулам [17]

 (1)

 (2)

 (3)

где k - коэффициент фильтрации, м3/сут;

ΔН=Н21 - перепад напоров, м;

l - расстояние между соседними эквипотенциалями, м;

N - высота слоя, м.

Удельный расход относится к плоско-вертикальному фрагменту потока, шириной в направлении оси Z 1м.

Полный расход (м3/сут) определяется по формуле

 (4)

где L - длина ограждающей дамбы, м.

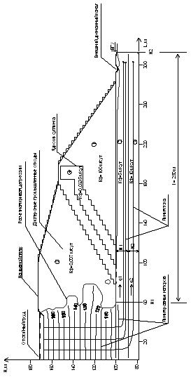
Произведем расчеты (смотри рисунок 1):

) Удельный расход из накопителя


2) Полный расход:


Анализ результатов расчетов показывает, что основной объем фильтрации, происходящей преимущественно в основании ограждающей дамбы, может быть перехвачен внешним дренажным каналом и направлен на обогатительные фабрики в систему гидроудаления хвостов. Незначительная часть этого расхода (до 5 %) транзитом проходит по проницаемому слою основания.

Ниже канала естественный уровень подземных вод превышает отметку воды в канале. Благодаря этому, под каналом создается эффект гидравлической завесы, когда внешний приток подземных вод препятствует распространению загрязненного фильтрационного расхода за пределы канала.

Глубина промерзания грунтов в данном районе достигает для крупнообломочных грунтов 3,30 м, для глинистых грунтов - 2,80 м. Расчетная кривая депрессии располагается значительно ниже границы промерзания, поэтому основная часть фильтрационного потока не будет испытывать влияния промерзания и в ограждающей дамбе не произойдет опасное водонасыщение и передача фильтрационного давления на поверхностный мерзлый слой. Отсутствие прямого контакта фильтрационного потока с указанным мерзлым слоем является положительным фактором, повышающим расчетную устойчивость сооружения.

. Основные технические решения накопителя

Укладка хвостов в 2007-2023 г осуществляется с учетом перехода на накопитель намывного типа с разделением на секции складирования № 1, № 2 и № 3 (полигон хвостов сорбции).

Основная, с отметки 152,0 м намывная, ограждающая дамба накопителя образует емкость секции № 1 и формируется из хвостовых отложений гидрометаллургического цеха № 1 (ГЦ - 1). Для укладки распределительного пульповода и организации намывных работ по гребню намытого до проектной отметки пляжа один раз в два года отсыпается новая дамбочка наращивания. С другой стороны отсек ограничен постоянно наращиваемой разделительной дамбой, на остальных участках - возвышенностями прилегающей местности.

Разделительная дамба между отсеками является малонапорным (не более 1 - 3 м) сооружением и возводится двухсторонним намывом с гребня дамбочек наращивания высотой 4 - 5 м, периодически отсыпаемых по намывному пляжу секции № 2 из привозного грунта. С левой стороны дамбы по ходу движения пульпы укладываются хвосты, поступающие из ГЦ - 2, с правой - хвосты из ГЦ - 1.

Намыв экранов на ограждающей и разделительной дамбах выполняется только в теплое время года. При температуре окружающей среды ниже минус 5°С хвосты укладываются в отсеки накопителя через сосредоточенные выпуски на бортах накопителя и на конус (только секция № 2) штабельного складирования по графику.

Намыв производится сбросом хвостов через выпуски диаметром 20 - 40 мм, врезанные в распределительный пульпопровод с шагом 3 - 5 м. На борта накопителя хвостовая пульпа сбрасывается через сосредоточенные выпуски диаметром 300 - 500 мм.

Укладка хвостов ОФ - 3 на конус производится через рядом расположенные выпуски диаметром 100 мм в конце левой нитки пульповода. Необходимое количество выпусков составляет 2 - 4шт.

Фактический уклон поверхности конуса складирования и режим сброса хвостов на участках определяются проектом эксплуатации и уточняются при текущей эксплуатации. Отсыпка дамбочек наращивания производится из вскрышных пород карьера руды или местных грунтов по двухлетнему циклу. В первый год эксплуатации возводится дамбочка наращивания на основной ограждающей дамбе, во второй - разделительной.

Первичная разделительная дамба максимальной высотой до 8 м. отсыпается по существующей перегораживающей насыпи в 2006 - 2007 г, первая дамбочка наращивания ограждающей дамбы - в 2008 - 2009 г.

Для обеспечения консолидации хвостовых отложений и понижения кривой депрессии, а также организованного отвода фильтрационной воды в нижний бьеф ограждающей дамбы, перед переходом на намывной накопитель на отметке 150,0 м намывного пляжа на всем протяжении ограждающей дамбы отсыпается пластовый дренаж толщиной слоя 4,0 м. Ширина полосы дренажа 30 м.

Емкость секции № 1 для складирования хвостов ОФ - 1,2 (ГЦ - 1) образуется ограждающей и разделительной дамбами. Площадь отсека выбрана из условия не превышения годовой интенсивности намыва 2,0 м/г в течение всего периода эксплуатации.

Назначение объема емкости накопителя, контроль его заполнения и использование в системе оборотного гидротранспорта отходов осуществляются с учетом водного баланса за расчетный год эксплуатации:

 (5)

где VЗП - объем воды, содержащейся в пульпе;

VПС - объем поверхностного стока, аккумулируемого в емкости;

VПР - заполняемый водой объем отстойного пруда;

VПН - объем воды, заполняющей поры намываемого массива отходов;

VИ - объем потерь воды на испарение из пруда;

VФ - объем фильтрационных потерь;

VЛ - объем потерь на льдообразование;

VТ - безвозвратные потери в технологическом процессе или дополнительные поступления промстоков.

Объем воды, идущей на заполнение пор в намывном массиве, определяют по формуле

 (6)

где е - средний коэффициент пористости намывных отложений.

Наряду с определением годового баланса воды для различных периодов эксплуатации (начальный, конечный и в отдельные характерные годы) анализ водного баланса проводится для всех сезонов: летнего при максимуме испарения, зимнего с учетом потерь воды на льдообразование и весеннего при максимуме поверхностного стока. На основании прогнозов и натурных измерений составляющих водного баланса определяется дефицит воды, покрываемый из внешних источников, или избыток поступающей в емкость воды, в т. ч. за счет направляемых в нее промстоков; в последнем случае при возможном переполнении емкости согласовывается увеличение ее объема или сброс избыточных стоков во внешние водоемы или на очистные сооружения.

Составляющие водного баланса VЗП , VПР , VПН , VТ вычисляются по эксплуатационным параметрам, составляющие VПС, VИ, VЛ - по материалам изысканий и справочным данным, фильтрационные потери - расчетным путем [16].

Годовой баланс воды в секции № 1 накопителя при 50 % обеспеченности с учетом расположения проектируемых сооружений системы водоотведения и площади местного водосбора приведен в таблице 7.

Таблица 7 - Годовой баланс воды в секции № 1 на период 2007-2023 г

Наименование

Количество

А. Поступление воды в накопитель, млн. м3


Вода, поступающая в накопитель с хвостовой пульпой из ГЦ - 1

8,124 (927,4)

Фильтрат из ГЦ - 2

1,734 (198)

Атмосферные осадки 50 % обеспеченности на водосборную площадь секции №1 накопителя площадью 2,8 млн.м2 (hос = 514 мм)

1,44

Дренаж из каналов системы водоотведения, грунтовых вод, фильтрационных вод из секции № 2, стоков из секции № 3(хвосты сорбции), с промплощадки

1,5

Атмосферные осадки на площадь полигона хвостов сорбции 0,43 км2, отводимые в секцию № 1

0,221

Итого: поступление воды в секцию

9,845

Б. Потери воды в накопителе и из накопителя


Вода остающаяся в порах складируемых хвостов при γск=1,41 и П=50%, Wгод.хв=3,104

1,553

Испарение воды с площади пруда накопителя 1,5 млн. м2 (hисп=315 мм)

0,47

Испарение воды с площади суши (секции № 2 и № 3) 1,3+0,43 =1,73 млн.м2 (hисп=217 мм)

0,375

Безвозвратные (не возвращаемые) потери воды на фильтрацию через ограждающую дамбу и ложе накопителя

0,5

Итого: потери воды в накопителе

2,898

В. Возврат дренажной воды из нижнего бьефа ограждающей дамбы

0,5

Итого: баланс воды в секции № 1: А-Б+В

7,447

Г. Подача оборотной воды потребителям (по водно-шламовой схеме предприятия): 2007 г 2008 г 2009-2023 г

 6,00 (684,8) 6,17 (704,5) 1,93 (220,0)

Д. Дебаланс воды в секции (млн.м3) А-Б+В-Г: - в 2007 г - в 2008 г - в 2009-2023 г

+1,447 (165,2) +1,277 (145,8) +5,517 (629,8)


При увеличении величины осадков до максимальной, зафиксированной за период наблюдений величины (571 мм), суммарный дебаланс воды в отсеке увеличивается на +184,1 тыс. м3/г, что соответствует дополнительному расходу 21 м3/г. Объем возврата воды из нижнего бьефа ограждающей дамбы уточняется при текущей эксплуатации. Избыточная вода направляется на очистные сооружения.

Суммарный средний расход оборотной воды, перекачиваемый из отстойного пруда секции № 1 на ОФ и очистные сооружения комбината, составляет около 850 м3/ч (7,45 млн. м3/г). Объем отстойного пруда принят условно постоянным.

Емкость секции №2 образована участком площадки существующего накопителя, остающимся после отделения секции № 1, и ограничена с севера наращиваемой разделительной дамбой, с остальных сторон - прилегающей местностью. Для обеспечения складирования хвостов ОФ - 3 (гидрометаллургический цех № 2) в объеме 77,61 млн. т при условии ограничения интенсивности намыва разделительной дамбы величиной 2,0 м/г проектом предусматривается сгущение и укладка части хвостов ГЦ - 2 на конус (штабель) с уклоном поверхности до 4%.

На южном борту секции расположен исток ручья Быстрый, который посредством самотечного коллектора отводится за пределы отвала вскрышных пород и промплощадки предприятия, в быстроток № 2.

Конусное складирование хвостов предусматривается в два этапа:

) 2009-2015 г - укладка хвостов с отметки 210,0 м.

) 2016-2023 г - укладка хвостов с отметки 230,0 м с предварительным удлинением левой нитки пульповода и отсыпкой дамбы основания длиной 150 м.

Предлагаемая схема позволит оптимизировать затраты электроэнергии на перекачку сгущенных хвостов ОФ-3 до участка формирования конуса складирования.

Годовой баланс воды в секции № 2 накопителя с учетом графика работы ОФ - 3 по периодам эксплуатации, отвода стоков руч. Быстрый в быстроток №2 и запуска в работу в 2009 г комплекса сгущения приведен в таблице 8.

Таблица 8 - Годовой баланс воды в секции № 2 на период 2007-2023 г

Наименование

Количество, млн.м33/ч) В 2007/2008/2009-2023г



А. Поступление воды в накопитель


Вода, поступающая в накопитель с хвостовой пульпой (в 2007 г-50 % времени)

0,995/5,31/2,70 227,05/606,5/308,06

Атмосферные осадки 50 % обеспеченности на водосборную площадь № 2 накопителя 2,75млн. м2 (hос=514 мм/г)

1,414

Приток из системы водоотведения

0,75

Итого поступление воды в секцию № 2

2,410/7,474/4,864

Б. Потери воды в секции № 1 накопителя


Вода, остающаяся в порах складируемых хвостов, при γск=1,41 и П=50%, Wгод.хв=1,01/3,0/3,4 млн.м3

0,505/1,5/1,7

Испарение воды с площади пруда и обводненной поверхности конуса и пляжей накопителя 1,0 млн. м2 (hисп=315 мм)

0,315

Испарение воды с площади суши 1,75 млн.м2 hисп=217 мм

0,38

Безвозвратные (не возвращаемые) потери воды на фильтрацию через разделительную дамбу

Итого: потери воды в накопителе

1,45/2,445/2,645

В. Баланс воды: А-Б - млн. м3

+0.960/+5.029/+2.219

Г. Требуемая суммарная подача воды на ОФ - 3 по балансу (кроме слива сгустителя с 2009 г), м3

227,05/606,5/308,0

Д. Подача оборотной воды потребителям с учетом накопления в первые два года воды в отстойном пруду в объеме до 2,0 млн. м3: - в 2007 г (Т = 4380 ч) - в 2008 г - в 2009-2023 г

   0,460(105,0) 3,504 (400) 2,219 (253,3)

Е. Требуемый объем подпитки ОФ - 3 технической водой, м3/ч: - расчетный средний, с учетом баланса воды в пруду - максимальный (периодический), в 2009-2023 г, с учетом возможного замерзания жидкой фазы сгущенной пульпы на конусе складирования

 122/206/55 308,0


Фактический объем водопотребления из отстойного пруда секции № 2 уточняется при эксплуатации с учетом климатических условий года и объема замораживания жидкой фазы пульпы. Система технического водоснабжения ОФ - 3 должна предусматривать временную подачу воды из сторонних источников в полном объеме жидкой фазы сгущенной пульпы, направляемой на накопитель.

Хвосты сорбции ОФ - 3 складируются в штабель на специальном полигоне, расположенном рядом с ГЦ - 2 и складами реагентов на юго-восточном борту секции № 2 накопителя.

Со стороны предприятия площадка полигона примыкает непосредственно к отвалу грунтов котлованов, со стороны накопителя ограничивается оградительной дренажной дамбой с водоотводной канавой.

Размеры отведенного участка под хранение "сухих" хвостов около 1,2х0,24 км, максимальная высота штабеля - 57,5 м. За период эксплуатации планируется заскладировать на отведенном участке 6,347 млн.т (около 4,7 млн. м3) хвостов сорбции.

Расположение штабеля принято из условия максимального сокращения расстояния транспортировки хвостов и обеспечения самотечного отвода дренажных вод и атмосферных осадков с полигона в секцию № 1 накопителя. Для безопасного выполнения работ штабель возводится поярусно. Высота ярусов принимается до 10 м.

Защита от размыва штабеля естественными атмосферными осадками и талыми водами обеспечивается отсыпкой защитного слоя из местного или привозного грунта толщиной до 1,5 м.

Баланс объемов складирования хвостов Олимпиадинского ГОКа в секции накопителя в 2007-2023 г приведен в таблице 9.

Таблица 9 - Баланс укладки хвостов

Период эксплуатации

Объем хвостов, млн. т (млн. м3)


отсек №1

отсек №2

итого

"сухие" хвосты

всего

2007 г

4,38 (3,106)

1,42 (1,01)

5,8 (4,107)

0,259 (1,192)

6,059 -

2008 г

4,38 (3,106)

4,229 (3,00)

8,609 (6,106)

0,351 (0,26)

8,96 -

2009-2023 г Всего Ежегодно

65,7 (46,6) 4,38 (3,106)

71,9625 (51,04) 4,7975 (3,4)

137,66 (97,64) 9,18 (6,506)

5,74 (4,25) 0,3825 (0,283)

143,4 - 9,56 -

Всего

74,46 (52,81)

77,61 (55,05)

152,07 (107,86)

6,347 (4,702)

158,42 -


Плотность скелета складируемых хвостов принята:

для "мокрых" хвостов в секциях № 1 и № 2 - 1,41 т/м3;

для "сухих" хвостов на полигоне - 1,35 т/м3.

.1 Контрольно-измерительная аппаратура

В состав системы контрольно-измерительной аппаратуры (КИА) хвостового хозяйства входят:

Существующие опорные реперы промплощадки, привязанные к государственной геодезической сети.

Два дополнительных репера, устанавливаемые на твердом естественном основании около водоудерживающей и разделительной дамб, предназначенные для геодезического обеспечения работ по отсыпке дамбочек обвалования, перекладки распределительных пульповодов, а также контрольных замеров просадок и смещений дамб.

Контрольные марки на низовых откосах дамб накопителя -15 шт, в том числе 13 шт - на низовом откосе основной ограждающей дамбы, 1 - на водоудерживающей дамбе р. Ивановский, 1 - на дамбе руч. Быстрый.

Пьезометры - 15 шт для наблюдения за положением кривой депрессии в теле ограждающей, защитной и водоудерживающей дамб накопителя, рядом с контрольными марками, в трех контрольных створах.

Существующие контрольные скважины в нижнем бьефе ограждающей дамбы.

Водомерные рейки на пирсах отстойных прудов отсеков накопителя.

Водомерные рейки в руслоотводных каналах - 3 шт.

Пьезометры и контрольные марки ограждающей дамбы располагаются в трех контрольных наблюдательных створах.

Расходомер сгущенной пульпы ОФ - 3.

Расходомеры оборотной воды.

Плотномеры пульпы на комплексе сгущения.

Датчики давления в трубопроводах.

Датчик давления на чашу сгустителя.

Датчик состояния взвешенного слоя в сгустителе.

Частотомеры вращения регулируемых электродвигателей грунтовых насосов.

Амперметры, вольтметры, частотомеры, другие КИП в соответствии с техническими условиями эксплуатации электроустановок.

Уровнемеры пульпы и воды в приемных зумпфах.

Дисплей компьютерной системы контроля и управления комплексом сгущения.

Кроме того, используются:

Нивелир, теодолит, мерная рейка, лодка, лот, рулетка - для выполнения геодезических съемок и замеров.

Ультразвуковой толщиномер - для контроля за износом стенок трубопроводов.

Порядок выполнения наблюдений на сооружениях хвостового хозяйства устанавливается проектом эксплуатации, проектом мониторинга и местной инструкцией хвостового хозяйства.

Регламент и состав контрольных наблюдений за влиянием накопителя на состояние грунтовых и поверхностных вод в прилегающем районе устанавливается по согласованию с местными органами охраны окружающей среды. Наблюдения осуществляются посредством периодических замеров уровня и отбора проб из наблюдательных скважин, расположенных ниже ограждающей дамбы накопителя, лабораторного определения физико-химических характеристик воды согласно утвержденному перечню и сравнения их с допустимыми значениями.

. Системы оборотного водоснабжения

После проведения 4-ой очереди реконструкции хвостового хозяйства водоснабжение Олимпиадинского ГОКа обеспечивается осветленными сливами сгустителя, оборотной водой из отстойных прудов секций № 1 и № 2 накопителя, а также подачей технической воды из сторонних источников.

Система оборотного водоснабжения из накопителя разделена по отсекам. Объемы возможной средней подачи потребителям оборотной воды определены в составе расчетных балансов, отдельно для каждой секции накопителя.

Секция № 1.

В результате проектируемого разделения емкости накопителя в 2007 г существующий отстойный пруд практически полностью входит в состав секции № 1.

Увеличение объема пруда в этой секции за счет накопления дебалансных вод в последующий период эксплуатации не предусматривается.

В соответствии с планируемой технологической схемой потребление оборотной воды на ОФ - 1,2 в 2007-2009 г снижается с 684,6 до 220,0 м3/ч. По годовому балансу поступление жидкой фазы хвостовой пульпы в секцию № 1 составляет 927,4 м3/ч, расчетный расход воды 50 % обеспеченности, который необходимо постоянно откачивать для обеспечения стабильного объема отстойного пруда, около 850 м3/ч. Дебаланс воды в секции составляет в среднем около 5,5 млн. м3/г (629,8 м3/ч). Избыточные стоки перекачиваются на очистные сооружения комбината.

Отбор и подача оборотной воды на промплощадку производится посредством существующей системы, включая плавучую насосную станцию оборотного водоснабжения (ПНСОВ), водоводы оборотной воды, электротехническое оборудование и арматуру.

Действующий водоприемный колодец с водосбросным коллектором, а также существующая насосная станция оборотного водоснабжения на низовом откосе ограждающей дамбы в 2007 г консервируются и из состава сооружений хвостового хозяйства до конца планируемого периода эксплуатации исключаются.

По мере заполнения секции хвостами, увеличения надводного пляжа в районе ограждающей дамбы и восточного борта накопителя производится передвижение ПНСОВ на более дальние участки и соответствующее наращивание напорных водоводов. Для защиты водозабора ПНСОВ от возможного поступления, особенно в холодное время года, загрязненных стоков предусмотрена отсыпка, периодически наращиваемой в соответствии с проектом эксплуатации, защитной дамбы из местного грунта.

Секция № 2.

Система оборотного водоснабжения обогатительной фабрики № 3 (ОФ - 3) из секции № 2 запускается в работу после первоначального набора воды в отстойном пруду.

Забор и подача оборотной воды из секции на ОФ - 3 производится посредством новой насосной станции оборотного водоснабжения (НОВ). В состав станции входят три самовсасывающих насосных установки, арматура, плавающий водоприемник, соединительные трубопроводы, две передвижных трансформаторных подстанции КТП, необходимое электротехническое оборудование.

Насосные установки вместе со щитами управления, электроотопителями и арматурой монтируются на передвижной, закрытой и утепленной платформе, устанавливаемой на пирсе из скального грунта.

В основной период эксплуатации (2009-2023г) для забора воды постоянно используются один или два насоса. При необходимости в работу могут быть временно включены три параллельных агрегата, что позволяет увеличить производительность системы до 500 м3/ч и более.

Учитывая ограниченные размеры секции и отстойного пруда в нем, планируемое складирование хвостов с трех бортов (с разделительной дамбы, со стороны конуса и с юго-восточного борта), предусмотрено удлинение пирса защитной оградительной дамбой протяженностью более 50 м.

По мере роста уровня воды в секции один раз в два года производится наращивание пирса с защитной дамбой и переустановка станции на новые отметки. Работы по перемещению станции совмещаются с перекладкой водовода на разделительной дамбе.

Согласно расчетному балансу объем подаваемой на ОФ - 3 оборотной воды в 2007 г составляет 105 м3/ч, в 2008 г - до 400 м3/ч, после запуска в эксплуатацию комплекса сгущения - около 250 м3/ч.

Для предупреждения переполнения пруда в 2008 г необходима постоянная работа двух насосных установок. В 2007-2009 г оборотная вода подается непосредственно в ГЦ - 2 с остаточным давлением не более 10 - 15 м вод.ст. В случае необходимости поднятия напора на этот период в корпусе необходимо установить подкачивающий насос соответствующей производительности.

В последующем, до завершения эксплуатации накопителя, подача воды из пруда осуществляется в приемный зумпф сливов сгустителя на комплексе сгущения. Из зумпфа объединенные стоки насосом перекачиваются в систему водоснабжения ОФ - 3 с остаточным напором на входе 40 метров водного столба. С ростом уровня заполнения секции требуемый напор насосов и потребление электроэнергии уменьшаются. Регулирование режима работы самовсасывающих установок производится задвижкой на напорном трубопроводе. Протяженность напорного водовода из стальной трубы диаметром 300 мм в одну нитку от насосной станции оборотного водоснабжения до комплекса сгущения - около 1,5 км. Для защиты от промерзания основная часть водовода утепляется.

. Система водоотведения накопителя

Технологическая схема и состав сооружений существующей системы перехвата дренажной воды в нижнем бьефе основной ограждающей дамбы накопителя остается без изменений. Для обеспечения возврата дренажных стоков в отстойный пруд, предусмотрено удлинение действующих трубопроводов от здания консервируемой оборотной станции до левого борта накопителя на коренном берегу. Существующая система водоотведения местных стоков по контуру накопителя после заполнения его до отметки 152,0 м в 2009 г из работы исключается. Основные технические параметры водоотводных сооружений приведены в таблице 10.

хвостовой гидротранспорт фильтрация накопитель

Таблица 10 - Параметры водоотводных сооружений

Наимено-вание

Расход, (0.1% об), м3

Ширина по дну, м

Глубина канала, м

Максималь-ная глубина воды, м

Уклон дна, %

Зало-жение откоса

Длина, м

Приме-чание

Канал №1

2,0-7,0

3,0-4,0

1,5-2,0

1,0-1,5

0,041- 0,073

1 : 2

38800

Уклон дна -перемен-ный

Быстро-ток №1

7,0

3,0

1,7

0,85

9,7

-

484,0

Прямо-угольное сечение

Канал №2

7,0-8,4

4,0-5,0

1,8

1,5

0,0745

1 : 2

1682,0

Уклон дна -перемен-ный

Канал №3

12,4-13,6

6,0

2,2

1,8

0,0755

1 : 2

1859,0

Уклон дна -перемен-ный

Быстро-ток №2

13,6

3,0

1,7

0,85

9,4

-

375,0

Прямо-угольное сечение

Итого

-

-

-

-

-

-

8452,5

-


Проектируемая новая система водоотведения расположена с учетом планируемых отметок и технологии заполнения секций.

Из быстротока № 2 вода направляется в существующий быстроток в нижнем бьефе ограждающей дамбы.

Водоудерживающая дамба на руч. Ивановский выполняется в виде каменно - набросной плотины из местного скального грунта (в том числе грунта выемки каналов) с экраном из суглинка, врезанным в коренные породы основания. На гребне дамбы расположен эксплуатационный проезд. Наблюдения за техническим состоянием плотины обеспечиваются геодезическими замерами осадок, смещений откосов и гребня, а также периодическим визуальным осмотром в соответствии с установленным регламентом.

Все каналы рассчитаны на пропуск расхода 0,1 % обеспеченности (первый класс гидротехнических сооружений). Поперечный профиль каналов принят трапецеидальным с заложением откосов 1:2. Расположение канала № 1 принято с учетом создания резерва емкости штабеля складирования хвостов ОФ - 3.

Быстротоки предназначены для перепуска стоков на участках трассы водоотводных сооружений с уклоном более 1 % и выполняются в виде железобетонных лотков в коренном грунте. Для гашения энергии потока в конце быстротоков предусмотрены гасящие скорость водобойные устройства.

На юго-восточном борту секции № 2 расположен исток ручья Быстрый. Высотное и плановое расположение, планируемые отметки заполнения секций накопителя, не позволяют организовать самотечный сброс воды руч. Быстрый в нагорный канал № 1 новой системы водоотведения.

Для обеспечения отвода стока ручья за пределы промплощадки в нижний бьеф основной ограждающей дамбы предусматривается строительство самотечного водосбросного коллектора из стальной трубы размером 100 x10 мм протяженностью 3766 м до быстротока № 2 в нижнем бьефе накопителя. При строительстве возможно использование бывших в употреблении стальных и железобетонных труб. Отметка входа воды в коллектор 169,97 м, выхода - 152,12 м, перепад высот 17,85 м, средний уклон - 0,00474.

Расчетная пропускная способность коллектора превышает 700 л/с (более 2500 м3/ч) и обеспечивает отвод талых вод с прилегающего к истоку участка во время паводка с запасом. Практически на всем протяжении трассы трубопровод укладывается по естественной поверхности земли, на подготовленное основание в насыпи из местного грунта. При последующей эксплуатации коллектор замывается хвостовыми отложениями секций № 1 и № 2. Альтернативным вариантом для прокладки самотечного коллектора является строительство специальной дренажной насосной станции с напорным водоводом до системы водоотведения или за границу восточного водораздела. Однако этот вариант предполагает установку достаточно мощных насосов, постоянное потребление электроэнергии с учетом близкого расположения конуса складирования хвостов и возможного переполнения отстойного пруда второй секции, а также не обеспечивает надежность и безопасность накопителя.

Для снижения первоначальных затрат на строительство и запуск в работу ОФ - 3, возведение защитной водоудерживающей дамбы руч. Быстрый предусмотрено в два этапа:

) Строительство первичной дамбы высотой до 8,0 м, шириной по верху 8,0 м, заложением откосов 1:3 (верховой) и 1:1,5 (низовой), с водоупорным экраном из суглинка, длиной 512 м. Отметка гребня дамбы на всем протяжении - 178,0 м, минимальная отметка подошвы - 170,0 м. Тело дамбы отсыпается из местного скального грунта.

) Строительство защитной дамбы второй очереди с наращиванием первичной дамбы на 7 м до предварительно планируемой отметки 185,0 м.

. Наращивание и эксплуатация накопителя

В соответствии с действующими нормами, накопитель является гидротехническим сооружением, специально возводимым для размещения отходов обогащения горно-обогатительного производства. Накопитель намывного типа относится к сооружениям, которые возводятся в течение всего срока эксплуатации.

Существующее расположение накопителя отходов обогащения на пониженном, ограниченном с трех сторон участке местности, рядом с промплощадкой обогатительных фабрик и карьером руды, благоприятно сточки зрения локализации техногенного воздействия объекта на окружающую среду и перехвата дренажных стоков. В случае возникновения чрезвычайных обстоятельств на накопителе наиболее опасным является участок долины ручья Быстрый, расположенный в нижнем бьефе ограждающей дамбы, на котором отсутствуют постоянные производственные и жилые здания и сооружения.

Согласно проекту 4-ой очереди реконструкции хвостового хозяйства, ограждающая и разделительная дамбы, а также конус (штабель) складирования части хвостов ОФ - 3 последовательно наращиваются в течение всего периода работы предприятия. Технические условия и порядок наращивания дамб периодически уточняется в составе разрабатываемых проектов эксплуатации на 3-4 года работы хвостового хозяйства, с учетом результатов наблюдений и фактических изменений в техническом состоянии сооружений. Указанная схема позволяет при необходимости вносить соответствующие изменения в состав эксплуатационных работ, повысить безопасность гидротехнических сооружений и уровень охраны окружающей среды. При утилизации отходов ОФ - 3 предусмотрено сгущение и конусное складирование части хвостов в штабель, что обеспечивает повышенную безопасность сооружений. Укладка части хвостов в штабель осуществляется с уклоном поверхности до 4 %. При этом увеличивается надежность и безопасность секции № 2 накопителя, снижается общая интенсивность заполнения накопителя и высота основной ограждающей дамбы, снижается опасность развития гидродинамической аварии. Складируемые в накопителе отходы обогатительного производства являются результатом технологического процесса для извлечения полиметаллов. Химический состав хвостов обогащения состоит из вмещающих пород рудного тела и сопутствующих веществ с остаточной концентрацией применяемых реагентов, находящихся в пульпе в растворенном состоянии. Использование сгущения исходной хвостовой пульпы позволяет в несколько раз уменьшить объем жидкой фазы пульпы и соответственно количество вредных веществ, направляемых в секцию № 2 накопителя. Для повышения безопасности и снижения уровня возможного воздействия накопителя на окружающую среду в составе сооружений хвостового хозяйства предусмотрен водоотвод незагрязненных естественных стоков от площадки накопителя, перехват фильтрационной воды в нижнем бьефе от ограждающей дамбы, внедрение организационных и технических мероприятий по охране атмосферы и водных ресурсов. Учитывая отсутствие в нижнем бьефе накопителя объектов производственного, бытового назначения и постоянно эксплуатируемых сооружений, а также топографическую характеристику местности, представленной относительно узкой речной долиной, устройство специальных защитных сооружений не предусмотрено.

Организационно-технические мероприятия:

обеспечение надежной и безопасной эксплуатации систем и сооружений хвостового хозяйства в соответствии с проектом, действующими нормами и правилами;

внедрение системы автоматизированного контроля и управления работой комплекса сгущения и системы гидротранспорта сгущенных хвостов ОФ - 3;

организация системы контроля и наблюдений за техническим состоянием гидротехнического сооружения в соответствие с проектом мониторинга;

реконструкция системы контрольно-измерительной аппаратуры накопителя; установка на ограждающей дамбе пьезометров и дополнительных контрольных марок;

выполнение эксплуатационных и ремонтных работ согласно с утвержденным графикам планово-предупредительных ремонтов;

подготовка, обучение и повышение квалификации эксплуатационного персонала хвостового хозяйства в соответствии с положениями проектов, требованиями правил безопасности при эксплуатации накопителей жидких промышленных отходов ПБ 03-438-02 [10] и стандартом предприятия;

соблюдение критериев безопасности накопителя;

организация системных наблюдений за воздействием накопителя на состояние окружающей среды в прилегающем к накопителю районе, в соответствии с графиком, согласованным региональными органами экологического надзора.

До начала выполнения основных работ 4-ой очереди реконструкции сооружений хвостового хозяйства на отведенной площади необходимо произвести снятие и перемещение в отвалы временного хранения потенциально плодородный грунт средней толщиной слоя 0,2 м, а также вырубку леса, планировку и уборку территории, отсыпку подъездных дорог, устройство временных водоотводов местных стоков.

Геодезические работы в процессе строительства следует выполнять в объеме и с точностью, обеспечивающей соответствие геометрических размеров, высотных и линейных параметров строящихся сооружений проектной документации, требованиям СНиП 3.01.01-85 [8], СНиП 3.01.03-84 [9] и СНиП 3.06.04-91 [5].

. Экономическая часть

Сметная стоимость - сумма денежных средств, необходимых для осуществления строительства в соответствии с проектными материалами. Сметная стоимость является основой для определения размера капитальных вложений, финансирования строительства, формирования договорных цен на строительную продукцию, расчетов за выполненные подрядные (строительно-монтажные, ремонтно-строительные и др.) работы, оплаты расходов по приобретению оборудования и доставке его на стройки, а также возмещения других затрат за счет средств, предусмотренных сводным сметным расчетом.

Сметная стоимость строительства включает следующие элементы:

строительные работы;

работы по монтажу оборудования (монтажные работы);

затраты на приобретение (изготовление) оборудования, мебели и инвентаря;

прочие затраты.

Применяются следующие методы расчета затрат:

ресурсный;

ресурсно-индексный;

базисно-индексный;

базисно-компенсационный;

на основе банка данных о стоимости ранее построенных или запроектированных объектов - аналогов.

В данном случае используется ресурсно-индексный метод - это сочетание ресурсного метода с системой индексов на ресурсы, используемых в строительстве. Индексы стоимости (цен, затрат) - относительные показатели, определяемые соотношением текущих (прогнозных) стоимостных показателей и базовых стоимостных показателей на сопоставимые по номенклатуре ресурсы. Базой являются цены 1982 года по СНиП IV-5-82.

Стоимость строительства определяется по следующей формуле:

 (7)

где С82 - стоимость строительства в ценах 1982 года;

Кудор - коэффициент удорожания. На основании приложения к письму Минрегиона России от 20.01.2010 г. № 1289-СК/08 "Индексы изменения сметной стоимости СМР на 1 квартал 2010" коэффициент удорожания составляет 110,56.

НДС - налог на добавленную стоимость, составляет 18 %;

Пп - прибыль предпринимателя, 11%.

В период проведения первого этапа 4-ой очереди реконструкции выполняются следующие земляные работы:

) Отсыпка первичной разделительной дамбы и первой дамбочки наращивания на гребне существующей ограждающей дамбы с пластовым дренажем шириной полосы 30 м.

) Разработка, транспортировка и складирование потенциально-плодородного грунта, уборка леса.

) Отсыпка пирса и защитной дамбы насосной станции оборотного водоснабжения (НОВ) секции № 2 и плавучей насосной станции оборотного водоснабжения (ПНСОВ).

) Отсыпка защитной дамбы руч. Быстрый (первая очередь).

) Отсыпка водоудерживающей плотины на руч. Ивановский.

) Отсыпка полотна трасс трубопроводов.

) Устройство водоотводных каналов и быстротоков.

) Устройство выемок под фундаменты сооружений комплекса сгущения и анкерные опоры на трассе трубопроводов.

) Планировка поверхностей, устройство оснований и обратная засыпка сооружений.

Основные земляные работы рекомендуется производить в теплое время года, при положительных температурах окружающей среды в соответствии с требованиями СНиП 3.02.01-87 [6].

До начала земляных работ на участке строительства должна быть убрана древесная растительность, снят и перевезен на участки складирования потенциально-плодородный слой (ППС) растительного грунта.

В случае производственной необходимости выполнения земляных работ зимой должна быть предусмотрена очистка основания от льда и снега. Не допускается при возведении дамб использование мерзлого грунта. При отсыпке дамб, полотна дорог и основания трубопроводов применяются скальные породы вскрыши карьера руды или местные скальные грунты.

Противофильтрационные экраны защитной дамбы истока руч. Быстрый и водоудерживающей плотины руч. Ивановский отсыпаются из глины или суглинка с Кф < 0,1 м/сут. Отсыпка экранов выполняется одновременно с естественным уплотнением грунта бульдозером и гружеными автосамосвалами.

При отсыпке дамб могут быть использованы автомашины КамАЗ или карьерные автосамосвалы. Разравнивание и уплотнение грунта производится бульдозером.

Обратную засыпку водосбросного коллектора руч. Быстрый рекомендуется выполнять бульдозером с перемещением местного грунта из емкости накопителя.

Также, в соответствии с проектируемой технологической схемой и составом сооружений 4-ой очереди реконструкции хвостового хозяйства предусмотрено выполнение строительно-монтажных работ по следующим этапам работ:

монтаж пульпопроводов от гидрометаллургического цеха № 1 (ГЦ - 1) до конца разделительной и ограждающей дамб с отметкой гребня 152,0 м из стальных труб диаметром 500 мм, а также аварийного сброса из стальной трубы диаметром 800 мм, суммарной протяженностью 0,4 км;

строительство системы водоотведения руч. Быстрый, включая первую очередь защитной дамбы;

монтаж системы пульпроводов из стальных и футерованных труб диаметром 300-800 мм ОФ - 3 до конуса складирования с отметкой 210,0 м, разделительной дамбы с отметкой гребня 152,0 м и по юго-восточному борту накопителя, включая обводной участок для самотечной подачи исходных хвостов в период до запуска комплекса сгущения.

Смета затрат на реконструкцию 4-ой очереди хвостового хозяйства приведена в таблице 11.

Таблица 11 - Смета затрат на реконструкцию

СНиП IV-5-82

Наименование работ и затрат

Единица измерения

Кол-во единиц

Стоимость единицы

Стоимость общая, руб.

Подготовка территории

31-2

Снятие, перевозка, складирование потенциально-плодородного грунта

1000 м3

87,0

15

1305

31-1

Зачистка местности от деревьев и кустарника

1 га

212,79

24

5106,96

Отсыпка скального и местного грунта при строительстве сооружений

2-282

Отсыпка технологической дамбы

1000 м3

0,4

402

160,8

31-7

Уплотнение технологической дамбы

100 м3

4

2,49

9,96

2-282

Отсыпка ограждающей дамбы

1000 м3

172,2

402

69224,4

31-7

Уплотнение ограждающей дамбы

100 м3

1722

2,49

4287,78

2-282

Отсыпка разделительной дамбы

1000 м3

131,7

402

52943,4

31-7

Уплотнение разделительной дамбы

100 м3

1317

2,49

3279,33

2-282

Отсыпка защитной дамбы руч. Быстрый (1 этап, Н=8м)

1000 м3

70,2

402

28220,4

31-7

Уплотнение защитной дамбы на руч. Быстрый (1 этап, Н=8м)

100 м3

702

2,49

1749,98

2-282

Отсыпка полотна трасс трубопроводов

1000 м3

93,1

402

37462,2

2-282

Отсыпка пирса и защитных дамб НОВ и ПНСОВ





31-7

Уплотнение пирса и защитных дамб НОВ и ПНСОВ





2-282

Отсыпка пульпонасосной станции комплекса сгущения





2-282

Отсыпка трассы коллектора руч. Быстрый





Прокладка трубопроводов

  22-74 22-77 22-75

Прокладка сталь-ного пульповода из ГЦ-1: - диаметром 500 мм; - диаметром 800 мм; -диаметром 600 мм





22-109

Прокладка футерованной трубы из ГЦ-1 диаметром 600 мм

м

320

2,75

880

 22-71 22-77 22-73 22-75

Прокладка стального пульповода из ГЦ-2: - диаметром 300 мм; - диаметром 800 мм; -диаметром 400 мм; -диаметром 600 мм

 м м м м

 2120 500 2070 50

 0,8 2,04 1,03 1,61

 1696 1020 2132,1 80,5

 22-108 22-110

Прокладка футерованной трубы из ГЦ-2: - диаметром 500 мм; - диаметром 700 мм

 м м

 950 120

 2,15 3,36

 2042,5 403,2

22-71

Прокладка водовода оборотной воды из секции №2 диаметром 300 мм

м

2023

0,8

1618,4

22-79

Прокладка коллектора руч. Быстрый диаметром 1000 мм

м

3770

2,99

11272,3


Прочие работы (10-15%)




26701,913


Итого:


Стоимость реконструкции 4-ой очереди хвостового хозяйства будет равна:



13. Нормативно - правовая база

Данная дипломная работа опирается на законодательно-нормативную базу РФ.

.1 Федеральный закон "Об охране окружающей среды" от 10.01.2002 №7-ФЗ

Настоящий Федеральный закон определяет правовые основы государственной политики в области охраны окружающей среды, обеспечивающие сбалансированное решение социально-экономических задач, сохранение благоприятной окружающей среды, биологического разнообразия и природных ресурсов в целях удовлетворения потребностей нынешнего и будущих поколений, укрепления правопорядка в области охраны окружающей среды и обеспечения экологической безопасности.

Данный Федеральный закон регулирует отношения в сфере взаимодействия общества и природы, возникающие при осуществлении хозяйственной и иной деятельности, связанной с воздействием на природную среду как важнейшую составляющую окружающей среды, являющуюся основой жизни на Земле, в пределах территории Российской Федерации, а также на континентальном шельфе и в исключительной экономической зоне Российской Федерации.

Законодательство в области охраны окружающей среды основывается на Конституции Российской Федерации и состоит из настоящего Федерального закона, других федеральных законов, а также принимаемых в соответствии с ними иных нормативных правовых актов Российской Федерации, законов и иных нормативных правовых актов субъектов Российской Федерации.

Отношения, возникающие в области охраны окружающей среды, в той мере, в какой это необходимо для обеспечения санитарно-эпидемиологического благополучия населения, регулируются законодательством о санитарно-эпидемиологическом благополучии населения и законодательством об охране здоровья, иным направленным на обеспечение благоприятной для человека окружающей среды законодательством.

Хозяйственная и иная деятельность органов государственной власти Российской Федерации, органов государственной власти субъектов Российской Федерации, органов местного самоуправления, юридических и физических лиц, оказывающая воздействие на окружающую среду, должна осуществляться на основе следующих принципов:

соблюдение права человека на благоприятную окружающую среду;

обеспечение благоприятных условий жизнедеятельности человека;

научно обоснованное сочетание экологических, экономических и социальных интересов человека, общества и государства в целях обеспечения устойчивого развития и благоприятной окружающей среды;

охрана, воспроизводство и рациональное использование природных ресурсов как необходимые условия обеспечения благоприятной окружающей среды и экологической безопасности;

платность природопользования и возмещение вреда окружающей среде;

независимость контроля в области охраны окружающей среды;

презумпция экологической опасности планируемой хозяйственной и иной деятельности;

обязательность оценки воздействия на окружающую среду при принятии решений об осуществлении хозяйственной и иной деятельности;

учет природных и социально-экономических особенностей территорий при планировании и осуществлении хозяйственной и иной деятельности;

приоритет сохранения естественных экологических систем, природных ландшафтов и природных комплексов;

допустимость воздействия хозяйственной и иной деятельности на природную среду исходя из требований в области охраны окружающей среды;

обеспечение снижения негативного воздействия хозяйственной и иной деятельности на окружающую среду в соответствии с нормативами в области охраны окружающей среды, которого можно достигнуть на основе использования наилучших существующих технологий с учетом экономических и социальных факторов;

сохранение биологического разнообразия;

обеспечение интегрированного и индивидуального подходов к установлению требований в области охраны окружающей среды к субъектам хозяйственной и иной деятельности, осуществляющим такую деятельность или планирующим осуществление такой деятельности;

запрещение хозяйственной и иной деятельности, последствия воздействия которой непредсказуемы для окружающей среды, а также реализации проектов, которые могут привести к деградации естественных экологических систем, изменению и (или) уничтожению генетического фонда растений, животных и других организмов, истощению природных ресурсов и иным негативным изменениям окружающей среды;

соблюдение права каждого на получение достоверной информации о состоянии окружающей среды, а также участие граждан в принятии решений, касающихся их прав на благоприятную окружающую среду, в соответствии с законодательством;

ответственность за нарушение законодательства в области охраны окружающей среды.

Нормирование в области охраны окружающей среды осуществляется в целях государственного регулирования воздействия хозяйственной и иной деятельности на окружающую среду, гарантирующего сохранение благоприятной окружающей среды и обеспечение экологической безопасности.

Нормирование в области охраны окружающей среды заключается в установлении нормативов качества окружающей среды, нормативов допустимого воздействия на окружающую среду при осуществлении хозяйственной и иной деятельности, иных нормативов в области охраны окружающей среды, а также государственных стандартов и иных нормативных документов в области охраны окружающей среды.

Нормирование в области охраны окружающей среды осуществляется в порядке, установленном Правительством Российской Федерации.

Разработка нормативов в области охраны окружающей среды включает в себя:

проведение научно-исследовательских работ по обоснованию нормативов в области охраны окружающей среды;

установление оснований разработки или пересмотра нормативов в области охраны окружающей среды;

осуществление контроля за применением и соблюдением нормативов в области охраны окружающей среды;

формирование и ведение единой информационной базы данных нормативов в области охраны окружающей среды;

оценку и прогнозирование экологических, социальных, экономических последствий применения нормативов в области охраны окружающей среды.

Нормативы качества окружающей среды устанавливаются для оценки состояния окружающей среды в целях сохранения естественных экологических систем, генетического фонда растений, животных и других организмов.

К нормативам качества окружающей среды относятся:

нормативы, установленные в соответствии с химическими показателями состояния окружающей среды, в том числе нормативы предельно допустимых концентраций химических веществ, включая радиоактивные вещества;

нормативы, установленные в соответствии с физическими показателями состояния окружающей среды, в том числе с показателями уровней радиоактивности и тепла;

нормативы, установленные в соответствии с биологическими показателями состояния окружающей среды, в том числе видов и групп растений, животных и других организмов, используемых как индикаторы качества окружающей среды, а также нормативы предельно допустимых концентраций микроорганизмов;

иные нормативы качества окружающей среды.

В целях предотвращения негативного воздействия на окружающую среду хозяйственной и иной деятельности для юридических и физических лиц - природопользователей устанавливаются следующие нормативы допустимого воздействия на окружающую среду:

нормативы допустимых выбросов и сбросов веществ и микроорганизмов;

нормативы образования отходов производства и потребления и лимиты на их размещение;

нормативы допустимых физических воздействий (количество тепла, уровни шума, вибрации, ионизирующего излучения, напряженности электромагнитных полей и иных физических воздействий);

нормативы допустимого изъятия компонентов природной среды;

нормативы допустимой антропогенной нагрузки на окружающую среду;

нормативы иного допустимого воздействия на окружающую среду при осуществлении хозяйственной и иной деятельности, устанавливаемые законодательством Российской Федерации и законодательством субъектов Российской Федерации в целях охраны окружающей среды.

Нормативы допустимого воздействия на окружающую среду должны обеспечивать соблюдение нормативов качества окружающей среды с учетом природных особенностей территорий и акваторий.

За превышение установленных нормативов допустимого воздействия на окружающую среду субъекты хозяйственной и иной деятельности в зависимости от причиненного окружающей среде вреда несут ответственность в соответствии с законодательством.

.2 Федеральный закон "О лицензировании отдельных видов деятельности" от 08.08.2001 №128-ФЗ

Настоящий Федеральный закон регулирует отношения, возникающие между федеральными органами исполнительной власти, органами исполнительной власти субъектов Российской Федерации, юридическими лицами и индивидуальными предпринимателями в связи с осуществлением лицензирования отдельных видов деятельности.

Основными принципами осуществления лицензирования являются:

обеспечение единства экономического пространства на территории Российской Федерации;

установление единого перечня лицензируемых видов деятельности;

установление единого порядка лицензирования на территории Российской Федерации;

установление лицензионных требований и условий положениями о лицензировании конкретных видов деятельности;

гласность и открытость лицензирования;

соблюдение законности при осуществлении лицензирования.

К лицензируемым видам деятельности относятся виды деятельности, осуществление которых может повлечь за собой нанесение ущерба правам, законным интересам, здоровью граждан, обороне и безопасности государства, культурному наследию народов Российской Федерации и регулирование которых не может осуществляться иными методами, кроме как лицензированием.

Вид деятельности, на осуществление которого предоставлена лицензия, может выполняться только получившим лицензию юридическим лицом или индивидуальным предпринимателем.

Деятельность, на осуществление которой лицензия предоставлена федеральным органом исполнительной власти или органом исполнительной власти субъекта Российской Федерации, может осуществляться на всей территории Российской Федерации. Деятельность, на осуществление которой лицензия предоставлена лицензирующим органом субъекта Российской Федерации, может осуществляться на территориях иных субъектов Российской Федерации при условии уведомления лицензиатом лицензирующих органов соответствующих субъектов Российской Федерации в порядке, установленном уполномоченным Правительством Российской Федерации федеральным органом исполнительной власти.

Срок действия лицензии не может быть менее чем пять лет. Срок действия лицензии по его окончании может быть продлен по заявлению лицензиата, если иное не предусмотрено настоящим Федеральным законом.

Для получения лицензии соискатель лицензии направляет или представляет в соответствующий лицензирующий орган заявление о предоставлении лицензии.

Приостановление действия лицензии осуществляется лицензирующим органом в случае привлечения лицензиата за нарушение лицензионных требований и условий к административной ответственности в порядке, установленном Кодексом Российской Федерации об административных правонарушениях.

Действие лицензии возобновляется лицензирующим органом со дня, следующего за днем истечения срока административного приостановления деятельности лицензиата, или со дня, следующего за днем досрочного прекращения исполнения административного наказания в виде административного приостановления деятельности лицензиата.

Срок действия лицензии на время приостановления ее действия не продлевается.

.3 Закон РФ "О недрах" от 21.02.92 № 2395-1 от 12.06.90

Настоящий Закон содержит правовые и экономические основы комплексного рационального использования и охраны недр, обеспечивает защиту интересов государства и граждан Российской Федерации, а также прав пользователей недр.

Настоящий Закон действует на всей территории Российской Федерации, а также регулирует отношения недропользования на континентальном шельфе Российской Федерации в соответствии с федеральными законодательными актами о континентальном шельфе и нормами международного права.

Недра в границах территории Российской Федерации, включая подземное пространство и содержащиеся в недрах полезные ископаемые, энергетические и иные ресурсы, являются государственной собственностью. Вопросы владения, пользования и распоряжения недрами находятся в совместном ведении Российской Федерации и субъектов Российской Федерации.

Участки недр не могут быть предметом купли, продажи, дарения, наследования, вклада, залога или отчуждаться в иной форме. Права пользования недрами могут отчуждаться или переходить от одного лица к другому в той мере, в какой их оборот допускается федеральными законами.

Добытые из недр полезные ископаемые и иные ресурсы по условиям лицензии могут находиться в федеральной государственной собственности, собственности субъектов Российской Федерации, муниципальной, частной и в иных формах собственности.

Недра предоставляются в пользование для:

регионального геологического изучения, включающего региональные геолого-геофизические работы, геологическую съемку, инженерно-геологические изыскания, научно-исследовательские, палеонтологические и другие работы, направленные на общее геологическое изучение недр, геологические работы по прогнозированию землетрясений и исследованию вулканической деятельности, созданию и ведению мониторинга состояния недр, контроль за режимом подземных вод, а также иные работы, проводимые без существенного нарушения целостности недр;

геологического изучения, включающего поиски и оценку месторождений полезных ископаемых, а также геологического изучения и оценки пригодности участков недр для строительства и эксплуатации подземных сооружений, не связанных с добычей полезных ископаемых;

разведки и добычи полезных ископаемых, в том числе использования отходов горнодобывающего и связанных с ним перерабатывающих производств;

строительства и эксплуатации подземных сооружений, не связанных с добычей полезных ископаемых;

образования особо охраняемых геологических объектов, имеющих научное, культурное, эстетическое, санитарно-оздоровительное и иное значение (научные и учебные полигоны, геологические заповедники, заказники, памятники природы, пещеры и другие подземные полости);

сбора минералогических, палеонтологических и других геологических коллекционных материалов.

Недра могут предоставляться в пользование одновременно для геологического изучения, разведки и добычи полезных ископаемых.

Без ограничения срока могут быть предоставлены участки недр для строительства и эксплуатации подземных сооружений, не связанных с добычей полезных ископаемых, строительства и эксплуатации подземных сооружений, связанных с захоронением отходов, строительства и эксплуатации нефте- и газохранилищ, а также для образования особо охраняемых геологических объектов и иных целей.

Сроки пользования участками недр исчисляются с момента государственной регистрации лицензий на пользование этими участками недр.

При пользовании недрами уплачиваются следующие платежи:

разовые платежи за пользование недрами при наступлении определенных событий, оговоренных в лицензии;

регулярные платежи за пользование недрами;

плата за геологическую информацию о недрах;

сбор за участие в конкурсе (аукционе);

Кроме того, пользователи недр уплачивают другие налоги и сборы, установленные в соответствии с законодательством Российской Федерации о налогах и сборах.

Пользователи недр, получившие право на пользование недрами, уплачивают разовые платежи за пользование недрами при наступлении определенных событий, оговоренных в лицензии. Минимальные (стартовые) размеры разовых платежей за пользование недрами устанавливаются в размере не менее чем десять процентов величины суммы налога на добычу полезных ископаемых в расчете на среднегодовую мощность добывающей организации.

Регулярные платежи за пользование недрами взимаются за предоставление пользователям недр исключительных прав на поиск и оценку месторождений полезных ископаемых, разведку полезных ископаемых, геологическое изучение и оценку пригодности участков недр для строительства и эксплуатации сооружений, не связанных с добычей полезных ископаемых, строительство и эксплуатацию подземных сооружений, не связанных с добычей полезных ископаемых, за исключением инженерных сооружений неглубокого залегания (до 5 метров), используемых по целевому назначению.

Размеры регулярных платежей за пользование недрами определяются в зависимости от экономико-географических условий, размера участка недр, вида полезного ископаемого, продолжительности работ, степени геологической изученности территории и степени риска.

.4 СНиП 33-01-2003 "Гидротехнические сооружения. Основные положения"

Настоящие нормы и правила распространяются на вновь строящиеся и реконструируемые речные и морские гидротехнические сооружения всех видов и классов.

При проектировании гидротехнических сооружений надлежит обеспечивать и предусматривать:

надежность сооружений на всех стадиях их строительства и эксплуатации;

максимальную экономическую эффективность строительства;

постоянный инструментальный и визуальный контроль за состоянием гидротехнического сооружения и вмещающего массива горных пород, а также природными и техногенными воздействиями на них;

подготовку ложа водохранилища и хранилищ жидких отходов промышленных предприятий и прилегающей территории;

охрану месторождений полезных ископаемых;

необходимые условия судоходства;

сохранность животного и растительного мира, в частности, организацию рыбоохранных мероприятий;

Реконструкцию постоянных гидротехнических сооружений следует производить для:

усиления основных гидротехнических сооружений и их оснований при повышении риска аварии из-за старения сооружений и оснований или увеличения внешних воздействий, а также в случае увеличения масштаба экономических, экологических и социальных последствий возможной аварии;

обеспечения (повышения) водопропускной способности основных гидротехнических сооружений;

увеличения вместимости хранилищ жидких отходов;

замены оборудования в связи с его износом;

повышения водообеспечения оросительных систем, улучшения режима грунтовых вод на орошаемых или осушаемых массивах и прилегающих к ним территориях, вдоль трасс каналов;

улучшения экологических условий зоны влияния гидроузла.

Реконструкцию основных сооружений следует производить, как правило, без прекращения выполнения ими основных эксплуатационных функций.

При разработке проекта гидротехнических сооружений следует руководствоваться законодательством Российской Федерации о безопасности гидротехнических сооружений и нормативными требованиями, направленными на обеспечение безопасности гидротехнических сооружений.

В составе проекта гидротехнических сооружений должны быть разработаны критерии их безопасности.

Перед вводом в эксплуатацию и в процессе эксплуатации гидротехнических сооружений критерии безопасности должны уточняться на основе результатов натурных наблюдений за состоянием сооружений, нагрузок и воздействий, а также изменений характеристик материалов сооружений и оснований, конструктивных решений.

В соответствии с действующим законодательством гидротехнические сооружения, повреждения которых могут привести к возникновению чрезвычайных ситуаций, на всех стадиях их создания и эксплуатации подлежат декларированию безопасности.

Декларация безопасности является обязательной частью проекта, она подлежит утверждению в органах надзора за безопасностью гидротехнических сооружений при согласовании проекта.

При разработке проекта гидротехнических сооружений следует руководствоваться законодательством Российской Федерации об охране окружающей среды и нормативными документами, устанавливающими требования к охране природной среды при инженерной деятельности.

При проектировании гидротехнических сооружений необходимо предусматривать специальные мероприятия по охране окружающей среды при выполнении:

дноуглубительных работ, включающих извлечение грунта, его транспортировку и создание отвалов;

устройства плотин, дамб, перемычек, каменных постелей, обратных засыпок и т. д. путем отсыпки грунтовых и каменных материалов в воду;

строительства ограждающих сооружений хранилищ жидких отходов промышленных предприятий;

уплотнения грунтов основания, в том числе производимого взрывным способом;

строительства сооружений с использованием материалов, которые могут явиться источником загрязнения окружающей среды;

закрепления грунтов, в том числе осуществляемого химическим способом или путем искусственного замораживания;

подводного бетонирования и т. п.

Гидротехнические сооружения в зависимости от их высоты и типа грунтов основания, социально-экономической ответственности и последствий возможных гидродинамических аварий подразделяют на классы.

Для обоснования надежности и безопасности гидротехнических сооружений должны выполняться расчеты гидравлического, фильтрационного и температурного режимов, а также напряженно-деформированного состояния системы "сооружение - основание" на основе применения современных, главным образом, численных методов механики сплошной среды с учетом реальных свойств материалов и пород оснований.

.5 СНиП 3.06.04-91 "Мосты и трубы"

Требования настоящих норм и правил необходимо соблюдать при выполнении и приемке работ по сооружению новых и реконструкции существующих постоянных мостов (в том числе путепроводов, виадуков, эстакад, пешеходных мостов) и труб под насыпями железных дорог, линиями метрополитена и трамвая, автомобильными дорогами (включая внутрихозяйственные дороги сельскохозяйственных предприятий и организаций и дороги промышленных предприятий), на улицах и дорогах городов, поселков и сельских населенных пунктов, если иные не предусмотрены проектом.

Работы, не охваченные настоящими нормами и правилами, следует выполнять в соответствии с указаниями проекта производства работ (ППР).

При сооружении мостов и труб следует осуществлять предусмотренные проектом меры по охране окружающей природной среды и сохранению существующего в данной местности природного баланса.

Применяемые технологические решения должны соответствовать санитарным нормам и не допускать опасного загрязнения водотока и подземных вод, заболачивания местности, образования термокарстовых эрозионных, наледных и других вредных процессов, а также недопустимых выбросов загрязняющих веществ в атмосферу.

13.6 СНиП 3.02.01-87 "Земляные сооружения, основания и фундаменты"

Настоящие нормы и правила распространяются на производство и приемку земляных работ, устройство оснований и фундаментов при строительстве новых, реконструкции и расширении действующих предприятий, зданий и сооружений.

При производстве земляных работ, устройстве оснований и фундаментов на строительстве гидротехнических сооружений, сооружений водного транспорта, мелиоративных систем, магистральных трубопроводов, автомобильных и железных дорог и аэродромов, линий связи и электропередач, а также кабельных линий другого назначения, кроме требований настоящих правил, следует выполнять требования соответствующих СНиП, учитывающих специфику возведения этих сооружений.

При производстве земляных работ, устройстве оснований и фундаментов следует соблюдать требования СНиП по организации строительного производства, геодезическим работам, технике безопасности, правила пожарной безопасности при производстве строительно-монтажных работ.

.7 СНиП 2.01.28-85 "Полигоны по обезвреживанию и захоронению токсичных промышленных отходов. Основные положения по проектированию"

Настоящие нормы распространяются на проектирование полигонов по обезвреживанию и захоронению токсичных промышленных отходов

Нормы не распространяются на проектирование полигонов захоронения радиоактивных отходов, полигонов для твердых бытовых отходов и накопителей нетоксичных промышленных отходов.

Состав проекта полигона устанавливается нормативным документом о составе, порядке разработки, согласования и утверждения проектно-сметной документации на строительство предприятий, зданий и сооружений.

Полигоны являются природоохранными сооружениями и предназначены для централизованного сбора, обезвреживания и захоронения токсичных отходов промышленных предприятий, научно-исследовательских организаций и учреждений.

Участок захоронения токсичных промышленных отходов представляет собой территорию, предназначенную для размещения специально оборудованных карт (котлованов), в которые складируются токсичные твердые отходы различных классов опасности, а также вспомогательных зданий и сооружений.

Полигоны следует размещать:

на площадках, на которых возможно осуществление мероприятий и инженерных решений, исключающих загрязнение окружающей среды;

с подветренной стороны (для ветров преобладающего направления) по отношению к населенным пунктам и зонам отдыха;

ниже мест водозаборов питьевой воды, рыбоводных хозяйств, мест нереста, массового нагула и зимовальных ям рыбы;

на землях несельскохозяйственного назначения или непригодных для сельского хозяйства либо на сельскохозяйственных землях худшего качества;

в соответствии с гидрогеологическими условиями, как правило, на участках со слабофильтрующими грунтами (глиной, суглинками, сланцами), с залеганием грунтовых вод при их наибольшем подъеме, с учетом подъема воды при эксплуатации полигона не менее 2 м от нижнего уровня захороняемых отходов.

13.8 СНиП 3.01.01.85 " Организация строительного производства"

Настоящие нормы и правила устанавливают общие требования к организации строительного производства при строительстве новых, а также расширении и реконструкции действующих объектов (предприятий, зданий, сооружений и их комплексов), которые должны соблюдаться всеми участниками строительства объектов.

.9 СНиП 3.01.03.-84 "Геодезические работы в строительстве"

Настоящие правила производства и приемки геодезических работ необходимо соблюдать при строительстве новых, расширении, реконструкции и техническом перевооружении действующих предприятий, зданий и сооружений.

В зависимости от конструктивных особенностей и назначения объектов строительства необходимо соблюдать требования к производству геодезических работ, приведенные в других строительных нормах и правилах, государственных стандартах системы обеспечения точности геометрических параметров в строительстве, ведомственных нормативных документах и документах органов государственного надзора, согласованных и утвержденных в установленном порядке. Необходимо также соблюдать дополнительные требования, предусмотренные проектной документацией.

.10 ПБ 03-438-02 "Правила безопасности гидротехнических сооружений накопителей жидких промышленных отходов"

Правила устанавливают основные требования по безопасной эксплуатации гидротехнических сооружений горных, металлургических, химических, нефтехимических и нефтеперерабатывающих предприятий на территории Российской Федерации независимо от их ведомственной подчиненности и форм собственности.

Настоящие Правила распространяются на гидротехнические сооружения (ГТС) хранилищ жидких отходов промышленности (хвостохранилища, шламохранилища, шламонакопители, гидроотвалы, накопители промышленных стоков, водохранилища) организаций, производств и объектов, поднадзорных Госгортехнадзору России, независимо от их организационно-правовых форм собственности.

При эксплуатации хранилищ жидких отходов промышленности наряду с настоящими Правилами должны соблюдаться действующие в соответствующих отраслях промышленности общие правила безопасности, санитарные правила, стандарты, правила и инструкции по безопасности труда, противопожарной безопасности и промышленной санитарии, а также требования проектов, учитывающие особенности конкретных объектов: хранилищ, содержащих токсичные стоки, отходы радиоактивных элементов; сооружений на многолетнемерзлых и на просадочных грунтах; сооружений, расположенных в районах сейсмичностью свыше 6 баллов, и др.

Правила устанавливают требования, обязательные для исполнения собственником ГТС и эксплуатирующей организацией при строительстве, вводе в эксплуатацию, эксплуатации, ремонте, реконструкции, консервации, выводе из эксплуатации и ликвидации ГТС.

Вывод: предлагаемые технические решения дипломной работы соответствуют представленным нормативным документам законодательной базы РФ.

Заключение

В данной части дипломной работы проектируемая технологическая схема организации хвостового хозяйства предусматривает складирование хвостов и оборотное водоснабжение Олимпиадинского ГОКа в течение расчетного периода эксплуатации, с 2007 по 2023 год.

Для обеспечения складирования хвостов на отведенной площади с учетом планируемого повышения производительности предприятия более чем в два раза - с 4,5 до 9,5 млн. т/г перерабатываемой руды, проектом предусмотрено сгущение и складирование части хвостов ОФ - 3 в штабель с борта прилегающей местности, а также переход на накопитель намывного типа.

Использование новых технологий складирования хвостов, в частности, раздельного размещения и применения оборотного водоснабжения гидрометаллургических цехов №1 и №2 позволит обеспечить максимальную интенсивность наращивания гребня намывной ограждающей и разделительной дамб не более 2,0 м/г при минимальных, вполне допустимых, воздействиях на окружающую среду.

Внедрение новой технологической схемы утилизации хвостов обогащения предъявляет повышенные требования к уровню эксплуатации гидротехнических сооружений и контроля за их техническим состоянием

В соответствии с действующими нормами и проектом на хвостовом хозяйстве должна быть организована система непрерывного, круглосуточного надзора за работой технологического оборудования комплекса сгущения, плавучей насосной станции, трубопроводов, основной ограждающей дамбы и водоотводных сооружений.

Наращивание емкости секций накопителя выполняется намывным способом с периодическим (один раз в два года) возведением дамбочек наращивания и перекладкой распределительного пульповода на новые отметки. Проектируемый график отсыпки дамбочек наращивания предусматривает ежегодное производство работ на одной из дамб.

Наращивание основной ограждающей и разделительной дамб, а также намыв пляжей должны производиться по ежегодно утверждаемым, учитывающим изменения в техническом состоянии сооружений, графикам, а также положениям проекта эксплуатации хвостового хозяйства.

В данной части приведены основные положения проекта реконструкции хвостохранилища; в остальных частях дипломной работы рассматриваются вопросы экологической и промышленной безопасности данного объекта.

Список использованных источников

. Федеральный закон "Об охране окружающей среды" от 10.01.2002 №7-ФЗ.

. Федеральный закон "О лицензировании отдельных видов деятельности" от 08.08.2001 №128-ФЗ.

. Закон РФ "О недрах" от 21.02.92 № 2395-1 от 12.06.90 (с изм. от 8.08.01).

. СНиП 33-01-2003 "Гидротехнические сооружения. Основные положения".

. СНиП 3.06.04-91 "Мосты и трубы".

. СНиП 3.02.01-87 "Земляные сооружения, основания и фундаменты".

. СНиП 2.01.28-85 "Полигоны по обезвреживанию и захоронению токсичных промышленных отходов. Основные положения по проектированию".

. СНиП 3.01.01.85 " Организация строительного производства".

. СНиП 3.01.03.-84 "Геодезические работы в строительстве".

. ПБ 03-438-02 "Правила безопасности гидротехнических сооружений накопителей жидких промышленных отходов".

. СНиП IV-5-82. Приложение. Сборники единых районных единичных расценок на строительные конструкции и работы. Сб. 2. Горновскрышные работы. - Госстрой СССР. - М.: Стройиздат, 1984. - 16 с.

. СНиП IV-5-82. Приложение. Сборники единых районных единичных расценок на строительные конструкции и работы. Сб. 22. Водопровод - наружные сети. - Госстрой СССР. - М.: Стройиздат, 1984. - 18 с.

. СНиП IV-5-82. Приложение. Сборники единых районных единичных расценок на строительные конструкции и работы. Сб. 31. Аэродромы. - Госстрой СССР. - М.: Стройиздат, 1984. - 17 с.

. Гидротехнические сооружения. Справочник проектировщика / под ред. В. П. Недриги - М.: Стройиздат, 1983. - 550 с.

. Евдокимов П.Д. Проектирование и эксплуатация хвостовых хозяйств обогатительных фабрик. Изд 2, перераб. и доп. / П.Д. Евдокимов, Г.Т. Сазонов. - М. "Недра", 1978. - 439 с.

. Кузнецов Г.И. Накопители промышленных отходов. Учебное пособие / Г.И. Кузнецов, Н. В. Балацкая, Д. А. Озерский. - Красноярск: ИПК СФУ, 2008. - 180 с.

. Кузнецов Г.И. Геоэкология. Защита окружающей среды: учеб. пособие / Г.И. Кузнецов, Н.В. Балацкая. - Красноярск: Сиб. Фед. ун-т; Политехн. ин-т, 2007. - 129 с.

. Кузнецов, Г.И. Проектирование накопителей промышленных отходов. Методическое пособие для курсового проектирования / Г.И. Кузнецов, Н.В. Балацкая, М.А. Симакова, Д.А. Озерский - Красноярск: ИП СФУ. - 2009.

. Кузнецов Г.И. Проблемы безопасности специальных гидросооружений (хвостохранилища, золоотвалы, шламонакопители) в условиях Сибири / Г.И. Кузнецов // Изв. вузов. Строительство. - 2002. - № 3. - С. 61-67.

. Кузнецов Г.И. Эффективные технические решения накопителей промышленных отходов в криолитозоне / Г.И. Кузнецов // Изв. вузов. Строительство и архитектура. - 1999. - №2-3. - С. 84-94.

. Мелентьев В.А. Намывные гидротехнические сооружения (основы расчета и проектирования) / В.А. Мелентьев, Н.П. Колпашников, Б.А. Волнин. - "Энергия", Москва, 1973. - 248 с.

. Методические рекомендации по расчету развития гидродинамических аварий на накопителях жидких промышленных отходов. (РД 03-607-03). Серия 03. Выпуск 42. Госпромнадзор России. НТЦ "Промышленная безопасность", 2003 г.

. Рассказов Л.Н. Гидротехнические сооружения. Часть 2. Учебник для вузов / Л.Н. Рассказов, В.Г. Орехов, Н.А Анискин, В.В. Малаханов, А.С. Бестужева, Н.П. Саинов, П.В. Солдатов, В.В. Толстиков. - Москва: Издательство Ассоциации строительных вузов, 2008 - 528 с.

Приложение

Файл исходных данных для моделирования фильтрации

47 6 ТЭ 05-07 Черченко Юлия

.8

.0

.0 2

.6 1

.6 1

.0 2

.6 1

.4 1

.0 1

.6 20

.0 1

.8 1

.2 15

.0 1

.6 1

.0 10

.4 1

.2 4

.6 1

.0 6

.0 20

.0 1

.6 1

.0 2

.0 1

.2 1

.0 22

.0 1

.0 1

.6 2

.0 1

.6 2

.0 1

.0 4

.0 5.0 10.0 0.0635

.007 0.00007

.0 5.0 10.0 0.0635

.007 0.00007

83

83

83

83

83

83

74

3

6

73

5

5

72

7

4

23

4

4

38

14

24

4

4

36

15

25

4

4

34

16

26

4

4

32

17

27

4

4

30

18

28

4

4

28

19

29

4

4

26

20

30

4

4

24

21

31

4

4

22

22

32

4

4

20

23

33

4

4

18

24

34

4

4

16

25

35

4

8

10

26

36

4

7

9

27

37

4

6

8

28

38

7

2

7

29

39

6

2

6

30

40

5

2

5

31

41

4

2

4

32

42

3

2

3

33

43

6

44

39

43

40

42

41

41

42

40

43

39

44

38

45

37

46

36

47

35

48

34

49

33

50

12

20

51

13

18

52

14

16

53

15

14

54

83

3901

.00 47

.00 47

.00 83

.00 83

.00 47

98.5 47

13

1

1

1

13

1

1

1

1

1

1

1

1

1

1

1

1

1

1

1

5

1

1

1

1

1

1

1

1

1

1

1

1

1

1

1

1

1

1

1

1

4

1

1

2

1

1

4

.00 15

.00 58

.00 5

.00 5

.80 12

.50 1

.90 1

.30 1

.00 58

.10 1

.35 1

.50 1

.35 1

.10 1

.00 5

.01

Похожие работы на - Проектные решения хвостохранилища Олимпиадинского горно-обогатительного комбината

 

Не нашли материал для своей работы?
Поможем написать уникальную работу
Без плагиата!
Без нейросетей!