Проектирование ресторана на 50 посадочных мест на территории города вблизи центральной магистрали

  • Вид работы:
    Курсовая работа (т)
  • Предмет:
    Другое
  • Язык:
    Русский
    ,
    Формат файла:
    MS Word
    111,06 Кб
  • Опубликовано:
    2012-10-25
Вы можете узнать стоимость помощи в написании студенческой работы.
Помощь в написании работы, которую точно примут!

Проектирование ресторана на 50 посадочных мест на территории города вблизи центральной магистрали











Тема проекта:

Проектирование ресторана на 50 посадочных мест на территории города вблизи центральной магистрали.

Содержание

Введение

1. Меню и технология приготовления блюд

2. Паштет из печени

2.1 Технико-технологическая карта на блюдо "Паштет из печени"

3. Суп-лапша грибная

3.1 Технико-технологическая карта на блюдо "Суп-лапша грибная"

4. Котлеты по-киевски

4.1 Технико-технологическая карта на блюдо "Котлеты по-киевски"

5. Посуда, инвентарь, оборудование

6. Котел КПГ-160

7. Кондитерское производство

7.1 Торт "Сказка"

8. Посуда, инвентарь, оборудование кондитерского цеха

9. Многоцелевой механизм МС4-7-8-20

10. Организация работы кондитерского цеха

11. Охрана труда

Список использованной литературы

Введение


Научно-технический прогресс в общественном питании - сложный динамический процесс. Он связан с формированием новых знаний и идей, технологическим освоением научных технологий и результатов научных исследований.

Кулинария доступна человечеству с незапамятных времен, а развитие профессиональной кулинарии связано с появлением предприятий внедомашнего питания (корчмы, трактиры и т.п.). Именно в трактирах и ресторанах получила развитие профессиональная кулинария, в основе которой лежала народная кухня.

В дальнейшем большое влияние на ускорение производства продуктов питания оказало возникновение промышленного производства сахара, развитие промышленного животноводства, растениеводства и т.п. Однако до тех пор, пока переработка выращенной сельскохозяйственной продукции было кустарным, оставалось кустарным и производство продуктов питания.

В настоящее время перед общественным питанием в России стоит задача не только расширение ассортимента приготовляемых блюд и улучшение их качества и оформления, но и увеличение выработки полуфабрикатов высокой степени готовности, разработка и внедрение ресурсно- и энергосберегающих технологий, улучшение санитарно-гигиенических условий производства, техники безопасности, последовательное сокращение применения ручного и тяжелого физического труда, как на основных, так и на вспомогательных операциях.

Изучение технологических параметров обрабатываемого сырья и характера воздействия технологических процессов и оборудования на продукт должны стоять во главе изучения технологии общественного питания.

1. Меню и технология приготовления блюд

 

При составлении плана-меню необходимо учитывать порядок написания блюд в меню, ассортиментный минимум, количество посетителей за день, наличие оборудования, квалификацию поваров. По заданию необходимо разработать блюда в соответствии с таблицей 1:

паштет из печени;

суп-лапша грибная;

котлеты по-киевски;

торт "Сказка"

Таблица 1 - Меню для кулинарии и кондитерского цеха

№ п. п.

Наименование блюд

Кол-во блюд

Выход в г.


Холодные блюда и закуски



1

Паштет из печени


1000


Горячие блюда



1

Суп - лапша грибная


1000


2-е горячие блюда



1

Котлеты по-киевски


288 + 7**


Сладкие блюда



1

Торт "Сказка"


10000


** Масса косточки

2. Паштет из печени


Продукты, входящие в блюдо "Паштет из печени":

Печень говяжья

Масло сливочное

Шпик

Лук репчатый

Морковь

Яйца

Молоко или бульон

Подготовка сырья:

Печень говяжья - размораживают на воздухе, удаляют наружные кровеносные сосуды и желчные протоки, лимфатические узлы, желчный пузырь, прирези посторонних тканей. Печень промывают, срезают пленку и нарезают на кусочки.

Масло сливочное - тщательно зачищают с поверхности, разрезают на куски. размягчают.

Шпик зачищают, нарезают на кусочки.

Лук репчатый - очищают, шинкуют.

Морковь - моют, очищают, шинкуют.

Яйца - обрабатывают в соответствии с действующими санитарными правилами для предприятий общественного питания. Варят.

Молоко или бульон - процеживают через сито с ячейками не более 1 мм, кипятят.

Приготовление:

Нарезанные лук, морковь поджаривают со шпиком до полуготовности, добавляют нарезанную печень, специи, все жарят и пропускают два раза через мясорубку с частой решеткой, добавляют две трети нормы размягченного сливочного масла, молоко или бульон и тщательно вымешивают. Формуют в виде батона и оформляют маслом и рубленным яйцом. Вместо масла сливочного для паштета можно использовать куриный, утиный или гусиный жир.

Отпуск, температура подачи 0С.

Отпускают паштет 30 - 100 г на порцию.

Температура подачи: 10-15 0С.

Требования к качеству.

Паштет мазеобразной, тонкой консистенции, с приятным запахом.

Срок хранения: паштет хранят при температуре от 0 до 8 0С и относительной влажности воздуха 80 - 85 % не более 20 часов.

2.1 Технико-технологическая карта на блюдо "Паштет из печени"


Утверждаю:

Директор ……….

"_____"_________200…. г.

ТЕХНИКО-ТЕХНОЛОГИЧЕСКАЯ КАРТА №

"Паштет из печени"

1. Область применения

Настоящая технико-технологическая карта распространяется на изделие "Паштет из печени", вырабатываемая предприятием.

. Перечень сырья

Для приготовления изделия "Паштета из печени" используют следующее сырье:

Наименование сырья

Нормативный документ, регламентирующий качество

Печень говяжья

ТУ 9212-460-00419779-99

Масло сливочное

ГОСТ

Шпик

ОСТ 49-38-85

Лук репчатый свежий, кг

ГОСТ 1723-86

Морковь

-

Яйца

ГОСТ 27583-88

Молоко

ГОСТ 13277-79


Сырье, используемое для изготовления "Паштета из печени", должно соответствовать требованиям нормативной документации, иметь сертификаты и удостоверения качества.

3. Рецептура на изделие "Паштет из печени"


Наименование

Брутто, г

Нетто, г

Брутто на 1 порцию, г

Нетто на 1 порцию, г

Печень говяжья

1063

882/600*

106,3

441/300

Масло сливочное

100

100

10

10

Шпик

156

150

15,6

15

Лук репчатый

119

100/50*

11,9

10/5*

Морковь

93

74/50*

9,3

7,4/5*

Яйца

1 шт.

40

0,1

4

Молоко или бульон

50

50

5

5

Выход, г

-

1000

-

100,0


* В графе нетто в числителе указана масса продуктов нетто, в знаменателе - масса готового продукта.

4. Технологический процесс

4.1 Подготовка сырья.

Подготовка сырья к производству начинается с холодной механической обработки сырья.

Печень говяжья должна быть без наружных кровеносных сосудов и желчных протоков, лимфатических узлов, желчного пузыря и прирезей посторонних тканей.

Печень промывают, срезают пленку и нарезают на кусочки.

Лук репчатый очищают от кожуры, моют, шинкуют.

Морковь моют, шинкуют.

Шпик зачищают, нарезают на кусочки.

Яйца обрабатывают в соответствии с действующими санитарными правилами для предприятий общественного питания, варят.

Молоко или бульон процеживают через сито с ячейками не более 1 мм, кипятят.

.2 Приготовление паштета

Нарезанные лук, морковь поджаривают со шпиком до полуготовности, добавляют нарезанную печень, специи, все жарят и пропускают два раза через мясорубку с частой решеткой;

добавляют две трети нормы размягченного сливочного масла, молоко или бульон и тщательно вымешивают;

формуют в виде батона и оформляют маслом и рубленным яйцом. Вместо масла сливочного для паштета можно использовать куриный, утиный или гусиный жир.

. Отпуск

"Паштет из печени" не предназначен для длительного хранения. Паштеты хранят при температуре от 0 до 8 0С и относительной влажности воздуха 80 - 85 % не более 20 часов.

Отпускают паштет по 30 - 100 г на порцию.

6. Показатели качества и безопасности

6.1 Органолептические показатели изделия:

Внешний вид - серо-коричневый цвет, соответствующий паштету из печени.

Консистенция - мазеобразная, тонкая консистенция.

Вкус - приятный, с характерным вкусом печени.

Запах - слабый приятный запах печени.

.2 Физико-химические показатели должны отражать массовую долю сухих веществ (в %), жира (%), белков (%).

.3 Микробиологические показатели представляют сведения о количестве патогенных микроорганизмов, допускаемых в готовом продукте

. Пищевая и энергетическая ценность

меню блюдо сырье оборудование

В данном разделе также отражают количество белков, жиров, углеводов и дают результаты расчетов энергетической ценности готового продукта.

Ответственный разработчик,

Должность/Ф.И.О./

3. Суп-лапша грибная


Продукты, входящие в блюдо:

Шампиньоны свежие

Лапша или вермишель

Морковь.

Лук репчатый.

Лук-порей

Петрушка (корень).

Кулинарный жир или масло растительное

Бульон или вода

Для домашней лапши:

Мука

Яйца

Соль

Подготовка сырья:

Шампиньоны свежие - очищают, нарезают полосками. Загрязненные шампиньоны предварительно моют.

Морковь - моют, очищают, шинкуют.

Лук репчатый - очищают, шинкуют.

Лук порей - очищают вялые части, моют, режут.

Петрушка - корень чистят, моют, режут.

Для домашней лапши

Яйца - обрабатывают в соответствии с действующими санитарными правилами для предприятий общественного питания. Разбивают по несколько штук в миску, проверяют качество и переливают в основную емкость для замеса теста.

Мука - просеивают.

Приготовление:

Нарезанные морковь и лук пассеруют в жире.

В кипящий бульон или воду кладут подготовленные грибы. За 10-15 минут до готовности супа добавляют пассерованные морковь и лук, затем лапшу или вермишель и варят до готовности. Суп можно готовить с домашней лапшой.

Приготовление лапши.

В холодную воду вводят сырые яйца, соль, перемешивают, добавляют муку не ниже 1-го сорта и замешивают крутое тесто, которое выдерживают 20-30 мин для того, чтобы оно лучше раскатывалось.

куски готового теста кладут на стол, посыпанный мукой, и раскатывают в пласт толщиной 1-1,5 мм.

пересыпанные мукой пласты складывают один на другой, нарезают их на полоски шириной 35 - 45 мм, которые, в свою очередь, режут поперек полосками шириной 3-4 мм или соломкой.

лапшу раскладывают на посыпанные мукой столы слоем не более 10 мм и подсушивают 2-3 ч при температуре 40-50 0С.

Отпуск, температура подачи 0С.

Отпускают суп горячим со сметаной.

Требования к качеству.

Готовое блюдо должно иметь красивый вид, приятный грибной аромат.

Срок хранения: супы хранят не более 2-х часов, так как лапша теряет вид. На второй день супы не оставляют. В исключительных случаях вновь проводится термическая обработка и дегустация.

3.1 Технико-технологическая карта на блюдо "Суп-лапша грибная"


Утверждаю:

Директор ……….

"_____"_________200…. г.

ТЕХНИКО-ТЕХНОЛОГИЧЕСКАЯ КАРТА №

"Суп-лапша грибная"

1. Область применения

Настоящая технико-технологическая карта распространяется на изделие "Суп-лапша грибная", вырабатываемая предприятием.

. Перечень сырья

Для приготовления изделия "Суп-лапша грибная" используют следующее сырье:

Наименование


Шампиньоны свежие

ТУ

Лапша или вермишель


Морковь


Лук репчатый


Лук-порей


Петрушка (корень)


Кулинарный жир или масло растительное


Бульон или вода


Для домашней лапши:


Мука пшеничная


Яйца


Соль



Сырье, используемое для изготовления блюда "Суп-лапша грибная", должно соответствовать требованиям нормативной документации, иметь сертификаты и удостоверения качества.

3. Рецептура на изделие "Суп-лапша грибная"


Наименование

Брутто, г

Нетто, г

Брутто на 1 порцию, г

Нетто на 1 порцию, г

Шампиньоны свежие

282

214

141

107

Масса вареных свежих грибов

-

150

-

75

Лапша или вермишель

80

80

40

40

Морковь

50

40

25

20

Лук репчатый

24

20

12

10

Лук-порей

26

20

13

10

Петрушка (корень)

13

10

6,5

5

Кулинарный жир или масло растительное

20

20

10

10

Бульон или вода

900

900

450

450

Выход

-

1000


500


4. Технологический процесс

4.1 Подготовка сырья.

Шампиньоны свежие - очищают, нарезают полосками. Загрязненные шампиньоны предварительно моют.

Морковь - моют, очищают, шинкуют.

Лук репчатый - очищают, шинкуют.

Лук порей - очищают вялые части, моют, режут.

Петрушка - корень чистят, моют, режут.

.2 Приготовление супа:

Нарезанные морковь и лук пассеруют в жире.

В кипящий бульон или воду кладут подготовленные грибы. За 10-15 минут до готовности супа добавляют пассерованные морковь и лук, затем лапшу или вермишель и варят до готовности. Суп можно готовить с домашней лапшой.

Рецептура и приготовление лапши домашней (№ 1040)

НаименованиеБрутто, гНетто, гБрутто на 1 порцию, гНетто на 1 порцию, г





Мука пшеничная

875

875

35

35

Мука на подпыл

60

60

2,4

2,4

Яйца

6 ¼ шт

250

-

10

Вода

175

175

7

7

Соль

25

25

1

1

Выход подсушенной лапши

-

1000

-

40


Приготовление лапши.

В холодную воду вводят сырые яйца, соль, перемешивают, добавляют муку не ниже 1-го сорта и замешивают крутое тесто, которое выдерживают 20-30 мин для того, чтобы оно лучше раскатывалось. Куски готового теста кладут на стол, посыпанный мукой, и раскатывают в пласт толщиной 1-1,5 мм. Пересыпанные мукой пласты складывают один на другой, нарезают их на полоски шириной 35 - 45 мм, которые, в свою очередь, режут поперек полосками шириной 3-4 мм или соломкой.

Лапшу раскладывают на посыпанные мукой столы слоем не более 10 мм и подсушивают 2-3 ч при температуре 40-50 0С.

Требования к качеству.

Готовое блюдо должно иметь красивый вид, приятный аромат.

Срок хранения.

Супы хранят не более 2-х часов, так как лапша теряет вид. На второй день супы не оставляют. В исключительных случаях вновь проводится термическая обработка и дегустация.

Отпуск, температура подачи 0С.

Отпускают суп горячим со сметаной.

Срок хранения: супы хранят не более 2-х часов, так как лапша теряет вид. На второй день супы не оставляют. В исключительных случаях вновь проводится термическая обработка и дегустация

5. Показатели качества и безопасности

5.1 Органолептические показатели изделия:

Внешний вид - готовое блюдо должно иметь красивый золотистый вид.

Вкус - приятный, с характерным вкусом грибов.

Запах - приятный грибной аромат.

.2 Физико-химические показатели должны отражать массовую долю сухих веществ (в %), жира (%), белков (%).

.3 Микробиологические показатели представляют сведения о количестве патогенных микроорганизмов, допускаемых в готовом продукте

. Пищевая и энергетическая ценность

В данном разделе также отражают количество белков, жиров, углеводов и дают результаты расчетов энергетической ценности готового продукта.

Ответственный разработчик,

Должность/Ф.И.О./

4. Котлеты по-киевски


Продукты, входящие в блюдо:

Курица

Яйца

Хлеб пшеничный

Масса полуфабриката

Кулинарный жир

Масса жареных котлет

Гарнир:

Картофель

Жир животный топленый пищевой или кулинарный жир или масло растительное

Масло сливочное

Подготовка сырья:

Обработка кур - филе птицы зачищают. Для этого отделяют внутренний мускул (малое филе) от наружного (большое филе). Из малого филе удаляют сухожилия, а из большого - остаток ключицы. Зачищенное большое филе смачивают холодной водой, кладут на доску и острым влажным ножом срезают с него поверхностную пленку. Большое филе надрезают с внутренней стороны в продольном направлении, слегка развертывают, перерезают в двух-трех местах сухожилия и вкладывают в надрез малое филе, которое покрывают развернутой частью большого филе.

Картофель - калибруют, очищают, удаляют глазки, нарезают брусочками.

Приготовление:

Филе кур - подготовленное филе кур фаршируют сливочным маслом (оформить масло в виде палочки), смачивают в яйцах, панируют, еще раз смачивают в яйцах (льезоне), еще раз панируют в белой панировке и жарят во фритюре 5-7 мин до образования поджаристой корочки. Доводят до готовности в жарочном шкафу.

Картофель - нарезанный сырой картофель промывают в холодной воде, обсушивают на салфетке, кладут в кипящий жир и жарят до готовности 8-10 мин. Жареный картофель откидывают на дуршлаг для стекания жира и посыпают мелкой солью. При отпуске картофель поливают растопленным маргарином или маслом.

Отпуск блюда

При отпуске котлеты гарнируют картофелем и поливают сливочным маслом.

Требования к качеству

Котлеты из филе кур, панированные, должны быть золотистого цвета. Консистенция - мягкая, сочная, с хрустящей корочкой. Панировка не должна отставать. Картофель должен иметь поджаренную корочку, не распадаться.

Срок хранения

До жарки котлеты хранят в холодильнике, чтобы масло застыло. Блюда из филе птицы приготовляют по заказу, так как при хранении ухудшается их качество.

Блюда из котлетной массы можно хранить в горячем виде не более 30 мин.

 

4.1 Технико-технологическая карта на блюдо "Котлеты по-киевски"


Утверждаю:

Директор ……………

"_____"_________200…. г.

ТЕХНИКО-ТЕХНОЛОГИЧЕСКАЯ КАРТА №

"Котлеты по-киевски"

1. Область применения

Настоящая технико-технологическая карта распространяется на изделие "Котлеты по-киевски", вырабатываемая предприятием.

. Перечень сырья

Для приготовления блюда "Котлеты по-киевски" используют следующее сырье:

Наименование сырья

Нормативный документ, регламентирующий качество

Курица

ГОСТ

Масло сливочное

ГОСТ

Яйца

ГОСТ

Хлеб пшеничный


Кулинарный жир


Масло сливочное


Для гарнира:


Картофель


Жир животный топленый пищевой или кулинарный жир или масло растительное



Сырье, используемое для изготовления "Котлет по-киевски", должно соответствовать требованиям нормативной документации, иметь сертификаты и удостоверения качества.

3. Рецептура на изделие "Котлеты по - киевски"


Наименование

Брутто, г

Нетто, г

Курица*

231

83+7**

Масло сливочное

30

30

Яйца

¼ шт.

10

Хлеб пшеничный

28

25

Масса полуфабриката

-

145+7**

Кулинарный жир

15

15

Масса жареных котлет

-

128+7**

Гарнир № 697 - картофель, жареный во фритюре

-

150

Масло сливочное

10

10


* Мякоть без кожи

** Масса косточки

4. Технологический процесс

Подготовка сырья.

Филе птицы зачищают. Для этого отделяют внутренний мускул (малое филе) от наружного (большое филе). Из малого филе удаляют сухожилия, а из большого - остаток ключицы. Зачищенное большое филе смачивают холодной водой, кладут на доску и острым влажным ножом срезают с него поверхностную пленку. Большое филе надрезают с внутренней стороны в продольном направлении, слегка развертывают, перерезают в двух-трех местах сухожилия и вкладывают в надрез малое филе, которое покрывают развернутой частью большого филе.

Картофель калибруют, очищают, удаляют глазки, нарезают брусочками.

Приготовление

Филе. Подготовленное филе кур фаршируют сливочным маслом (оформить масло в виде палочки), смачивают в яйцах, панируют, еще раз смачивают в яйцах (льезоне), еще раз панируют в белой панировке и жарят во фритюре 5-7 мин до образования поджаристой корочки. Доводят до готовности в жарочном шкафу.

Картофель, жареный во фритюре.

Нарезанный сырой картофель промывают в холодной воде, обсушивают на салфетке, кладут в кипящий жир и жарят до готовности 8-10 мин. Жареный картофель откидывают на дуршлаг для стекания жира и посыпают мелкой солью. При отпуске картофель поливают растопленным маргарином или маслом.

. Отпуск

При отпуске котлеты гарнируют картофелем и поливают сливочным маслом.

6. Срок хранения и показатели качества

Блюда из филе птицы приготовляют по заказу, так как при хранении ухудшается их качество. Блюда из котлетной массы можно хранить в горячем виде не более 30 мин.

6.1 Органолептические показатели изделия:

Котлеты из филе кур, панированные, должны быть золотистого цвета, консистенция - мягкая, сочная, с хрустящей корочкой, панировка не должна отставать; картофель должен иметь поджаренную корочку, не распадаться;

6.2 Физико-химические показатели должны отражать массовую долю сухих веществ (в %), жира (%), белков (%).

.3 Микробиологические показатели представляют сведения о количестве патогенных микроорганизмов, допускаемых в готовом продукте

. Пищевая и энергетическая ценность

В данном разделе также отражают количество белков, жиров, углеводов и дают результаты расчетов энергетической ценности готового продукта.

Ответственный разработчик,

Должность/Ф.И.О./

5. Посуда, инвентарь, оборудование


Технологическое оборудование, инвентарь, посуда, тара выполняются из материалов, разрешенных органами и учреждениями Роспотребнадзора в установленном порядке. При работе технологического оборудования исключается возможность контакта сырых и готовых к употреблению продуктов.

Санитарная обработка проводится по мере его загрязнения и по окончании работы.

Производственные столы тщательно моются с применением моющих и дезинфицирующих средств, промываются горячей водой при температуре 40-50 0С и насухо вытираются сухой чистой тканью.

В целях предупреждения инфекционных заболеваний разделочный инвентарь закрепляется за каждым цехом и имеет специальную маркировку. Разделочные доски и ножи маркируются в соответствии с обрабатываемым на них продуктом: "СМ" - сырье мясо, "СР" - сырая рыба, "СО" - сырые овощи, "ВМ" - вареное мясо, "ВР" - вареная рыба, "ВО" - вареные овощи, "МГ" - мясная гастрономия, "Зелень", "КО" - квашеные овощи, "Сельдь", "Х" - хлеб, "РГ" - рыбная гастрономия.

После каждой операции все подвергают тщательной санитарной обработке: чистке, мойке, ополаскиванию.

Для мытья посуды ручным способом предусматривают трехсекционные ванны для столовой посуды и двухсекционные для стеклянной посуды и столовых приборов.

Чистую кухонную посуду хранят на стеллажах на высоте не менее 50 см от пола, столовую посуду - в закрытых шкафах.

6. Котел КПГ-160


Газовый пищеварочный котел КПГ-160 предназначен для приготовления первых, вторых и третьих блюд. Котел стационарный, неопрокидывающийся. Теплоносителем является газ.

Газ - главный альтернативный по отношению к электрической энергии энергоноситель. Однако газ взрывоопасен и, вытесняя из воздуха кислород, образует удушающие смеси, а продукты сгорания при неправильной эксплуатации могут содержать токсический оксид углерода (угарный газ).

Котел состоит из внутреннего варочного сосуда и наружного котла. Пространство между ними образует пароводяную рубашку. Наружный котел имеет теплоизоляцию и покрыт облицовкой. В нижней части наружного котла расположен парогенератор, который заполняется через наполнительную воронку дистиллированной или кипяченой водой. Уровень воды в парогенераторе контролируется контрольным краном, установленным на внешней стороне наружного котла.

Под парогенератором расположено газогорелочное устройство, состоящее из трех трубчатых горелок, которые нагревают воду в парогенераторе до кипения. Сверху котел закрывается двухстенной крышкой с противовесом, закрепленным на валу-шарнире. На крышке установлен клапан-турбинка с пароотводной трубкой. Плотное прилегание крышки к корпусу варочного сосуда обеспечивает термостойкая резиновая прокладка и откидные болты крепления.

На газопроводе перед горелкой установлены фильтр и кран горелки, а также приборы газовой автоматики электромагнитного действия.

Для разжигания запальной свечи имеется специальный люк, который служит также для контроля за работой всех горелок котла.

Для контроля давления пара в пароводяной рубашке котла установлен электроконтактный манометр. Рядом установлен двойной предохранительный клапан, дополнительно оснащенный дополнительным клапаном для продувки пароводяной рубашки в начале работы котла.

К котлу подведены трубопроводы холодной и горячей воды.

Принцип действия следующий.

Вода в парогенераторе нагревается до кипения, образующийся пар поступает в пароводяную рубашку и, соприкасаясь со стенками и дном котла, конденсируется, отдавая теплоту парообразования, за счет которой происходит нагрев его содержимого. Конденсат по стенкам стекает обратно в парогенератор и снова превращается в пар.

1 - варочный сосуд; 2 - корпус; 3 - теплоизоляция; 4 - пароводяная рубашка; 5 - газовая горелка; 6 - парогенератор; 7 - клапан-турбинка

Рисунок 3 - Котел газовый пищеварочный КПГ-160

7. Кондитерское производство

 

7.1 Торт "Сказка"


Характеристика изделия.

По заданию необходимо выполнить расчет бисквитно-кремового торта "Сказка".

Бисквитно-кремовый торт "Сказка" представляет собой уложенные один на другой слои бисквитного полуфабриката, промоченные промочками и прослоенные кремом. Верхняя поверхность покрыта кремом и фруктами и имеет художественный, нарядный, рисунок. Форма продолговатая в виде полена. Боковые стороны обсыпаны крошкой.

Продукты, входящие в торт "Сказка":

Бисквит № 1

Сироп для промочки № 56

Крем "Шарлотт" № 39

Крем "Шарлотт" шоколадный № 45

Крошка бисквитная жареная с какао-порошком

Фрукты

Для приготовления торта "Сказка" необходимо, в соответствии с рецептурой, приготовить бисквит № 1, сироп для промочки № 56, крем "Шарлотт" № 39 и крем "Шарлотт" шоколадный № 45. Слои бисквитного полуфабриката соединить кремом. Поверхность отделать кремом, фруктами или цукатами. Боковые поверхности отделать. Масса торта 0,5 и 1,0 кг.

7.2 Технико-технологическая карта на торт "Сказка"

Утверждаю:

Директор ……….

"_____"_________200…. г.

ТЕХНИКО-ТЕХНОЛОГИЧЕСКАЯ КАРТА №

Торт "Сказка"

1 Область применения. Настоящая технико-технологическая карта распространяется на изделие торт "Сказка", вырабатываемый предприятием.

2 Перечень сырья

Для приготовления торта "Сказка" используют следующее сырье:

Мука пшеничная высшего сорта

ГОСТ 26574-85

Крахмал картофельный

ГОСТ 7699-78. ТУ.

Сахар-песок

ГОСТ 21-94. ТУ.

Меланж

ГОСТ 30363-96

Эссенция


Масло сливочное

ГОСТ 37-91

Пудра ванильная

ГОСТ 16599-71

Яйца

ГОСТ 27583-88

Молоко

ГОСТ 13277-79

Какао-порошок

ГОСТ 108-76

Коньяк

ГОСТ Р 51618-2000

Фрукты



Сырье, используемое для изготовления торта "Сказка", должно соответствовать требованиям нормативной документации, иметь сертификаты и удостоверения качества.

3. Технологический процесс


Рецептура на торт "Сказка"

Полуфабрикаты

г

Бисквит № 1

3600,0

Сироп для промочки № 56

2000,0

Крем "Шарлотт" № 39

2000,0

Крем "Шарлотт" шоколадный № 45

2000,0

Крошка бисквитная жареная с какао-порошком

100,0

Фрукты

300,0

Выход

10000,0


Ведомость необходимых продуктов для приготовления торта "Сказка"

 Наименование сырья и полуфабрикатов

 Массовая доля сухих веществ, %

Расход сырья на полуфабрикаты, г



Бисквит № 1

Сироп для промочки № 56

Крем "Шарлотт" № 39

Крем "Шарлотт" шоколадный № 45

Крошка бисквитная жареная с какао-порошком

Мука пшеничная высшего сорта

85,50

1038,0

-

-

-

35,62

Крахмал картофельный

80,00

256,0

-

-

-

8,80

Сахар-песок

99,85

1282,0

1053,0

-

-

43,97

Меланж

27,0

2136,0

-

-

-

73,29

Эссенция

0,00

12,8

-

-

-

-

Масло сливочное

84,00

-

-

866,0

784,0

-

Пудра ванильная

99,85

-

-

8,4

2,9

-

Коньяк или вино десертное

0,00

-

98,3

3,4

-

-

Яйца

27,00

-

-

-

-

-

Молоко

12,00

-

-

-

-

-

Какао-порошок

95,00

-

-

-

99,00

-

Коньяк

0,00

-

-

-

3,1

-

Эссенция ромовая

0,00


3,9



0,44

Итого сырья на полуфабрикаты

-

4724,8

1155,2

877,8

889,0

-

Сироп "Шарлотт" № 40

68,56

-

-

1219,0

1205,0

-

Бисквит № 1

75,00

-

-

-

-

-

Крошка бисквитная жареная с какао-порошком

94,00

-

-

-

-

162,12

Итого сырья и полуфабриката

-

-

-

2096,8

2094,0

162,12

Выход полуфабрикатов

-

3692,0

2051,0

2051,0

2051,0

100,0

Фрукты

70,0

-

-

-

-

-

Итого сырья

-

-

-

-

-

-

Выход полуфабрикатов в готовой продукции

-

3600,0

2000,0

2000,0

2000,0

100,0

Выход готовой продукции

70,14

-

-

-

-

-

Влажность

25,00±3,0 %

50,00±4,0%

25,00±2,0 %

25,00±3,0 %

24,50±2,0 %

6,00±2,0 %


. Подготовка сырья к производству

В производственной структуре предприятия кондитерский цех занимает особое место. Он работает самостоятельно, независимо от горячего цеха. Кондитерский цех выпускает изделия, которые реализуют не только в залах, но и магазинах кулинарии, филиалах, буфетах.

Организация должна иметь санитарно-эпидемиологическое заключение органов и учреждений Роспотребнадзора с указанием в нем ассортимента выпускаемой продукции.

Основными видами сырья являются мука пшеничная, сахар-песок, жиры, яйцепродукты, разрыхлители.

Дополнительными видами сырья служат молочные продукты, крахмал, орехи, фрукты и ягоды в свежем виде, фруктово-ягодные заготовки, какао-продукты, патока крахмальная, мед, студнеобразователи, спиртосодержащие продукты, ароматизаторы, красители и др.

При подготовке к производству сырье для изготовления тортов освобождают от тары, удаляют посторонние примеси, смешивают, процеживают, дробят, просеивают, протирают.

Мешки с мукой, крахмалом, сахаром-песком, рафинадной пудрой, углекислым аммонием и другими сыпучими продуктами очищают с поверхности щеткой, а затем аккуратно вспарывают по шву.

Бочки с сырьем очищают с поверхности и обмывают водой, причем особенно тщательно места, подлежащие вскрытию.

Сырье, поступающее в ящиках, бочках, стеклянной таре, распаковывают в специально отведенном месте, изолированном от производственных участков, следя за тем, чтобы в сырье не попали осколки дерева, стружки, гвозди и т.п.

После вскрытия тары сырье пересыпают или перекладывают во внутрицеховую тару. Хранение сырья в оборотной таре в производственном помещении категорически запрещается. Порожняя тара немедленно удалятся из подготовительного отделения.

При распаковке стеклянной тары должны быть тщательно осмотрены все банки и бутылки, отобраны разбитые и треснувшие; неповрежденные - обмывают водой и насухо вытирают. Раскупорку проводят осторожно и тщательно, чтобы не повредить краев горлышка и не допустить попадания стекла и других посторонних предметов в продукцию.

При вскрытии банок с меланжем, сгущенным молоком и другими продуктами нужно следить, чтобы в сырье не попали мелкие обрезки жести. Вскрытие банок производят специальным ножом.

Муку пшеничную и крахмал просеивают через сито с ячейками не более 2,5 мм и пропускают через магнитоуловитель. Если мука имеет низкую температуру, то ее следует выдерживать в теплом помещении, чтобы температура повысилась до 12 0С.

Сахар-песок используемый в производстве в сухом виде, просеивают через сито с размером ячеек не более 3 мм и пропускают через магнитоуловитель. Сахар-песок, применяемый для приготовления сиропа, растворяют в воде, а полученный сахарный сироп процеживают через металлическое сито с размером ячеек не более 1,5 мм.

Рафинадную пудру просеивают через сито с ячейками 1,5 - 2,0 мм.

Молоко процеживают через сито с ячейками не более 1 мм, а затем кипятят. Молоко сгущенное процеживают через сито с размерами ячеек не более 2 мм. Молоко сухое предварительно разводят в воде.

Масло сливочное тщательно зачищают с поверхности, разрезают на куски. Допускается использование зачисток масла при изготовлении выпеченных изделий.

Если жиры применяют в растопленном виде, то их процеживают через металлическое сито с ячейками размером 1,5 мм.

Яйца обрабатывают в соответствии с действующими санитарными правилами для предприятий общественного питания. Обработанные яйца разбивают и выливают в отдельную посуду по 3 - 6 штук во избежание попадания испорченных яиц во всю яичную массу. После проверки запаха и внешнего вида яичную массу переливают в другую производственную тару большего объема. Перед использованием яичную массу процеживают через сито с ячейками размером не более 3 мм. Продолжительность хранения яичной массы при температуре от 2 до 6 0С для изготовления крема не более 8 ч, для изготовления выпеченных изделий - не более 24 ч.

Банки с меланжем для оттаивания помещают на 2,5 - 3 часа в ванны с водой температурой не выше 45 0С. Затем банки вскрывают и меланж процеживают через сито с ячейками размером 2,5 - 3,0 мм. Размороженный меланж должен быть использован в течение 3 - 4 ч.

Какао-порошок просеивают через сито с ячейками размером 1 - 1,5 мм.

Плодово-ягодное пюре протирают через сито с ячейками не более 1,5 мм. Повидло, джемы, начинки и подварки фруктовые протирают через сито с

ячейками не более 3 мм. Густые фруктово-ягодные подварки предварительно подогревают. Цукаты перебирают.

Крошку просеивают через сито с ячейками размером 1,5 - 2,0 мм.

Агар вымачивают в проточной воде в течение 2 - 4 ч.

Натрий двууглекислый, аммоний углекислый, углеаммонийную соль, кристаллические кислоты и соль просеивают через сита с ячейками 1,5 - 2,0 мм или растворяют в воде с температурой 20 0С и процеживают через сита с ячейками 0,5 мм. Аммоний предварительно измельчают до порошкообразного состояния.

Орехи, изюм, мак в производстве торта "Сказка" не используются.

Красители и ароматизаторы, допущенные для пищевых целей, хранят в упаковке завода-изготовителя. Пересыпать и переливать их в другую посуду не разрешается. Растворы красителей и ароматизаторов должны готовиться ответственными работниками предприятия.

Проверка и предварительная обработка другого исходного сырья должны производиться в соответствии с действующими технологическими инструкциями и санитарными правилами.

Для хранения сыпучих продуктов (муки, сахара-песка, крахмала) склад должен иметь температуру в помещении около 15 0С и относительную влажность воздуха 60 - 65 %. Мука должна храниться отдельно от всех видов сырья. Скоропортящиеся продукты (молочные, яйцепродукты, жиры и т.д.) хранят в холодильной камере со средней температурой 5 0С. Сливочное масло должно храниться в темном помещении в закрытой упаковке, так как оно воспринимает резкие запахи.

При поступлении на предприятие сырья в замороженном виде, до пуска в производство, оно должно храниться при минусовой температуре. Спиртосодержащее сырье, ароматизаторы и красители хранят в изолированном помещении, так как запах легко передается другим видам сырья.

Таким образом, поступающее на предприятие сырье, условия его хранения и подготовка к производству должны соответствовать санитарным правилам и нормам СанПин 2.3.4.545-96 и СанПин 2.3.6.959-00.

4.2 Приготовление основного полуфабриката

Приготовление основного выпеченного полуфабриката состоит в приготовлении теста, его формовании, выпечки и выстаивании или охлаждении.

Бисквитный полуфабрикат - это пышный мелкопористый полуфабрикат с мягким эластичным мякишем. Его получают сбиванием яичного меланжа с сахаром-песком с последующим перемешиванием сбитой массы с мукой и выпечкой полученного теста.

В зависимости от входящих в бисквитное тесто компонентов и способа производства может вырабатываться бисквит (основной), бисквит с орехом, бисквит с изюмом и т.п. В нашем случае вырабатывается бисквит основной.

Рецептура бисквита предусматривает его приготовление с крахмалом картофельным или без него.

Для приготовления бисквитного полуфабриката должна использоваться пшеничная мука с содержанием 28 - 34 % слабого или среднего качества клейковины. Иначе бисквитный полуфабрикат получится крошливым.

Крахмал создает лучшую сухость бисквита и снижает количество клейковины в тесте, предохраняя его от затягивания.

Приготовление бисквита № 1

Для торта нам необходимо приготовить 3600,0 г бисквитного полуфабриката. Поэтому рассчитаем количество продукта на 3600 г готового полуфабриката и введем в рецептурную таблицу графы 5 и 6.

Рецептура основного полуфабриката - Бисквит № 1.

Наименование сырья

Массовая доля сухих веществ, %

Расход сырья на 10 кг полуфабриката, г

Расход сырья на 3,6 кг полуфабриката



В натуре

В сухих веществах

В натуре

В сухих веществах

1

2

3

4

5

6

Мука пшеничная высшего сорта

85,50

2812,0

2404,3

1038,0

887,49

Крахмал картофельный

80,00

694,0

555,2

256,0

204,8

Сахар-песок

99,85

3471,0

3465,8

1282,0

1280,07

Меланж

27,00

5785,0

1562,0

2136,0

576,72

Эссенция

0,00

34,7

0,0

12,8

0,00

Итого

-

12796,7

7987,3

4724,8

-

Выход полуфабриката

75,00

10000,0

7500,0

3692,0

2769,0

Выход полуфабриката в готовой продукции

75,00

-

-

3600,0

2700,0


Приготовление бисквитного полуфабриката

Приготовление теста

Меланж с сахаром-песком без подогрева или (для ускорения взбивания) с предварительным подогревом до 40 0С взбивают во взбивальной машине вначале при малом, затем при большом числе оборотов в течение 30-40 минут до увеличения объема в 2,5 - 3 раза.

Перед окончанием взбивания добавляют муку, смешанную с картофельным крахмалом, эссенцию и перемешивают не более 15 с. Муку следует вводить в 2-3 приема.

Готовое тесто должно быть пышным, хорошо насыщенным воздухом, равномерно перемешанным, без комочков и иметь кремовый цвет. Влажность теста 36-38 %

Формование.

Бисквитное тесто немедленно разливают в противни или формы, которые предварительно смазывают жиром или застилают бумагой. Противни и формы заполняют на ¾ высоты, чтобы тесто при подъеме не перевалилось через борта.

Выпечка.

Продолжительность выпечки 50-55 минут при температуре 195 - 200 0С или 40-45 минут при температуре 205 - 225 0С. Выпеченный бисквит охлаждают в течение 20 - 30 мин., вынимают из противней или форм и выстаивают 8 - 10 ч при температуре 15 - 20 0С. После этого бумагу снимают, бисквит зачищают. Полученный бисквит должен иметь прямоугольную, круглую или овальную форму. Толщина бисквита 30 - 40 мм. Верхняя корочка гладкая, тонкая, светло-коричневого цвета. Мякиш пористый, эластичный, желтого цвета.

4.3 Приготовление отделочных полуфабрикатов

Отделочные полуфабрикаты применяются как для художественной отделки и украшения, так и прослойки выпеченных полуфабрикатов. Они придают изделиям приятный внешний вид, вкус и аромат.

Кремы. Из отделочных полуфабрикатов наиболее часто применяются кремы. Это пластичная пенообразная масса. Сырьем служат меланж или яичные белки, сливочное масло, сливки с добавлением сахара-песка, молока, вкусовых и ароматических веществ. При взбивании масса становится пышной за счет насыщения воздухом. Способность продукта насыщаться воздухом при взбивании называется кремообразующей способностью. Из сырья наилучшей кремообразующей способностью обладают яичные белки. Их объем увеличивается при этом в 7 раз. Сливочное масло увеличивает объем при сбивании в два и более раз. Хорошей кремообразующей способностью обладают высокожирные сливки и сметана. Однако кремы - это скоропортящаяся продукция и очень чувствительна к разного рода бактериальным загрязнениям. Кремы подразделяются на сливочные, масляные, белковые, заварные.

Сиропы. Предназначены для промочки выпеченных слоев.

Приготовление сиропа для промочки № 56

Для торта нам необходимо приготовить 2000,0 г сиропа для промочки. Поэтому рассчитаем количество продукта на 2000 г готового полуфабриката и введем в рецептурную таблицу графы 5 и 6.

 Наименование сырья

Массовая доля сухих веществ, %

Расход сырья на 10 кг полуфабриката, г

Расход сырья на 2,0 кг полуфабриката, г



В натуре

В сухих веществах

В натуре

В сухих веществах

1

2

3

4

5

6

Сахар-песок

99,85

5131,0

5123,3

1053,0

1051,42

Эссенция ромовая

0,00

19,2

0,0

3,9

0,00

Коньяк или вино десертное

0,00

479,5

0,0

98,3

0,00

Итого сырья на полуфабрикат

-

5629,7

5123,3

1155,2

1051,42

Выход полуфабриката

50,00

10000,0

5000,0

2051,0

1025,5

Выход полуфаб-риката в готовой продукции

50,00

-

-

2000,0

1000,0


Сахар-песок и воду в соотношении 1: 1,1 кипятят при постоянном помешивании, снимая появляющуюся во время кипения пену. Сироп уваривают до плотности 1,22 - 1,25 (сироп средний), охлаждают до 20 0С, процеживают и добавляют ромовую эссенцию и коньяк или десертное вино.

Прозрачный вязкий сироп с запахом эссенции, вина или коньяка используют для промочки слоев торта.

Приготовление крема "Шарлотт" № 39

Для торта нам необходимо приготовить 2000,0 г крема. Поэтому рассчитаем количество продукта на 2000 г готового полуфабриката и введем в рецептурную таблицу графы 5 и 6.

 Наименование сырья

Массовая доля сухих веществ, %

Расход сырья на 10 кг полуфабриката, г

Расход сырья на 2,0 кг полуфабриката, г



В натуре

В сухих веществах

В натуре

В сухих веществах

1

2

3

4

5

6

Масло сливочное

84,00

4222,0

3546,5

866,0

727,44

Сироп "Шарлотт" № 40

68,56

5941,0

4073,1

1219,0

835,75

Пудра ванильная

99,85

41,0

40,9

8,4

8,39

Коньяк или вино десертное

0,00

16,4

0,0

3,4

0,00

Итого сырья

-

10220,4

7660,5

2096,8

-

Выход полуфабриката

75,00

10000,0

7500,0

2051,0

1538,25

Выход полуфабриката в готовой продукции

75,00

-

-

2000,0

1500,0


Технология приготовления

Зачищенное и нарезанное на куски сливочное масло взбивают во взбивальной машине при малом количестве оборотов до получения однородной массы. Во взбитую массу постепенно вливают охлажденный сироп "Шарлотт" № 40 с добавлением коньяка или вина десертного, ванильную пудру и взбивают еще при большом числе оборотов до увеличения объема в 2,5 - 3 раза. Продолжительность взбивания 20 - 30 мин.

Получается однородная пышная масса желтого цвета, с глянцевой поверхностью, хорошо сохраняющая форму.

Приготовление сиропа "Шарлотт" № 40

Для торта нам необходимо приготовить 1219,0 г сиропа. Поэтому рассчитаем количество продукта на 1219,0 г готового полуфабриката и введем в рецептурную таблицу графы 5 и 6.

 Наименование сырья

Массовая доля сухих веществ, %

Расход сырья на 10 кг полуфабриката, г

Расход сырья на 1,219 кг полуфабриката, г



В натуре

В сухих веществах

В натуре

В сухих веществах

1

2

3

4

5

6

Сахар-песок

99,85

6313,0

6303,5

769,55

768,4

Яйца

27,00

1122,0

302,9

136,77

36,93

Молоко

12,00

4209,0

505,1

513,07

61,57

Итого

-

11644,0

7111,5

1419,4

-

Выход полуфабриката

68,56

10000,0

6856,0

1219,0

835,75


Технология приготовления сиропа. Вначале готовят молочно-сахарный сироп. Для этого сахар-песок и молоко, предусмотренное рецептурой, перемешивают и кипятят в течение 60-90 минут до температуры 104 - 105 0С (проба на тонкую нитку). Влажность молочно-сахарного сиропа 27%.

Далее готовят непосредственно сироп "Шарлотт". Яйца взбивают во взбивальной машине в течение 5-7 минут и постепенно струйкой вливают горячий молочно-сахарный сироп и выдерживают 5 минут при температуре 95 0С. Готовый сироп процеживают и охлаждают.

Приготовление крема "Шарлотт" шоколадный № 45

Для торта нам необходимо приготовить 2000,0 г сиропа. Заполним в рецептурную таблицу графами 5 и 6.

 Наименование сырья

Массовая доля сухих веществ, %

Расход сырья на 10 кг полуфабриката, г

Расход сырья на 2,0 кг полуфабриката, г



В натуре

В сухих веществах

В натуре

В сухих веществах

1

2

3

4

5

6

Масло сливочное

84,00

3823,0

3211,3

784,0

658,56

Сироп "Шарлотт" № 40

68,56

5877,0

4029,3

1219,0

835,75

Какао-порошок

95,00

481,0

457,0

99,0

94,05

Пудра ванильная

99,85

14,2

14,2

2,9

2,89

Коньяк

0,00

15,2

0,0

3,1

0,00

Итого сырья

-

10210,4

7711,8

2108,0

-

Выход полуфабриката

75,50

10000,0

7550,0

2051,0

1548,50

Выход полуфабриката в готовой продукции

75,50

-

-

2000,0

1510,0


Готовят крем, как крем "Шарлотт" № 39, в конце взбивания добавляют какао-порошок. Получается однородная пышная масса коричневого цвета, хорошо сохраняющая форму.

Крошка бисквитная жареная с какао-порошком

Для торта нам необходимо приготовить 100,0 г крошки. Поэтому рассчитаем количество продукта на 100,0 г готового полуфабриката и введем в рецептурную таблицу графы 5 и 6.

 Наименование сырья

Массовая доля сухих веществ, %

Расход сырья на 10 кг полуфабриката, г

Расход сырья на 0,1 кг полуфабриката, г



В натуре

В сухих веществах

В натуре

В сухих веществах

2

3

4

5

6

Мука пшеничная высшего сорта

85,50

4131,36

3532,31

41,31

35,32

Сахар-песок

99,85

4131,09

4124,89

41,31

41,24

Меланж

27,00

6889,02

1860,03

68,89

18,60

Какао-порошок

95,00

1060,53

1007,50

10,60

10,07

Итого

-

16212,0

10524,73

162,12

105,24

Выход полуфабриката

94,00

10000,0

9400,0

100,0

94,0


Бисквит с какао-порошком готовят также, как бисквит № 1, но муку предварительно смешивают с какао-порошком. Гладкая тонкая верхняя корочка коричневого цвета. Мякиш пористый, эластичный, коричневого цвета.

Крошку бисквитного полуфабриката обжаривают при температуре 220-230 0С до коричневого цвета.

Заполним ведомость продуктов, указанную вначале, дополнив графой общего количества продуктов.

Сводная ведомость сырья для приготовления торта "Сказка".

 Наименование сырья и полуфабрикатов

 Массовая доля сухих веществ, %

Расход сырья на полуфабрикаты, г

 Общее количество, г



Бисквит № 1

Сироп для промочки № 56

Крем "Шарлотт" № 39

Крем "Шарлотт" шоколадный № 45

Крошка бисквитная жареная с какао-порошком

Сироп "Шарлотт" № 40


1

2

3

4

5

6

7

8

9

Мука пшенич-ная высшего сорта

85,50

1038,0

-

-

-

41,31

-

1079,31

Крахмал картофельный

80,00

256,0

-

-

-


-

256,0

Сахар-песок

99,85

1282,0

1053,0

-

-

41,31

769,55

3145,86

Меланж

27,0

2136,0

-

-

-

68,89

-

2204,89

Эссенция

0,00

12,8

-

-

-

-

-

12,8

Масло сливочное

84,00

-

-

866,0

784,0

-

-

1650,0

Пудра ванильная

99,85

-

-

8,4

2,9

-

-

11,3

Коньяк или вино десертное

0,00

-

98,3

3,4

-

-

-

101,7

Яйца

27,00

-

-

-

-

-

136,77

136,77

Молоко

12,00

-

-

-

-

-

513,07

513,07

Какао-порошок

95,00

-

-

-

99,00

10,60

-

109,6

Коньяк

0,00

-

-

-

3,1

-


3,1

Эссенция ромовая

0,00


3,9





3,9

Итого сырья на полуфабрикаты

-

4724,8

1155,2

2096,8

2094,0

162,12

1419,4

-

Выход полуфабрикатов

-

3692,0

2051,0

2051,0

2051,0


1219,0

-

Фрукты

70,0

-

-

-

-

-

-

-

Выход полуфабрикатов в готовой продукции

-

3600,0

2000,0

2000,0

2000,0

100,0

1219,0

-

Выход готовой продукции

70,14

-

-

-

-

-

-

10000,0

Влажность

25,00±3,0 %

50,00±4,0%

25,00±2,0 %

25,00±3,0 %

24,50±2,0 %

6,00±2,0 %

31,44 ±1,5 %

-

5. Оформление и охлаждение торта "Сказка"

Поверхность торта должна быть красиво отделана кремом, фруктами или цукатами. Боковые поверхности отделаны бисквитной крошкой. Форму выдерживают в виде полена, продолговатую. После окончания оформления (изготовления торта) торт направляют в холодильную камеру для охлаждения. Окончанием технологического процесса считают достижение температуры + 6 0С внутри изделия.

. Показатели качества и безопасности.

.1 Органолептические показатели:

Художественная отделка изделий должна соответствовать заявленному по документам. Соотношение отделочных полуфабрикатов, таких как кремы, с одной стороны, и фрукты и овощи, с другой стороны должны быть учитывать принципы здорового питания.

Срез торта промочен, но не течет. Крем лежит равномерно.

.2 Физико-химические показатели.

Должны отражать массовую долю сухих веществ (в %), жира (%), белков (%).

.3 Микробиологические показатели.

Представляют сведения о количестве патогенных микроорганизмов, допускаемых в готовом продукте

. Пищевая и энергетическая ценность

В данном разделе также отражают количество белков, жиров, углеводов и дают результаты расчетов энергетической ценности готового продукта.

. Хранение тортов

Кондитерские изделия с кремом хранятся в холодильных камерах. С момента окончания технологического процесса продолжительность хранения готового изделия при температуре не выше +16 - 18 0С до загрузки их в холодильную камеру не должно превышать 2 часов. Торты с кремовой и фруктовой отделкой, как в нашем случае, хранятся в холодильнике и камерах при температуре 2 - 6 0С. Срок хранения торта со сливочным кремом - не более 36 часов. Штучные торты укладываются в коробки из полимерных материалов или из картона. Дно коробки застилается салфеткой из пергамента, целлофана или других материалов.

. Транспортирование тортов

Транспортирование тортов должно обеспечить их сохранность и качество. Торты не допускается перевозить со свежеиспеченным хлебом или продуктами со специфическим запахом. Разрешается транспортирование и хранение тортов в коробках и пачках в таре - оборудовании, а также в контейнерах для хлебобулочных изделий.

Ответственный разработчик,

Должность/Ф.И.О./

8. Посуда, инвентарь, оборудование кондитерского цеха


Номенклатуру оборудования для различных цехов предприятий общественного питания определяют на основе ассортимента изготовляемой продукции и видов оборудования, серийно выпускаемого промышленностью на данный период.

Механическое оборудование кондитерских цехов предназначено для проведения различных механических операций: замеса теста, смешивания компонентов, взбивание кондитерских масс, нарезания и т.п. Кроме того, большое значение имеет тепловое оборудование и холодильное.

Вид используемого оборудования зависит от количества выпускаемой продукции. На предприятиях общественного питания, где выработка изделий в сутки невысокая, в основном применяются малогабаритные виды оборудования, и само производство продукта производится периодическим способом с применением ручного труда.

На предприятии малой мощности необходимо иметь шкальные или шкально-гирьевые весы грузоподъемностью до 1 т. Весы модели РПГ-1З грузоподъемностью до 500 кг очень удобны в эксплуатации. Кроме того, необходимо иметь платформенные весы (почтовые) грузоподъемностью 100 - 150 кг. Для порционного взвешивания отдельных видов сырья, полуфабрикатов и готовых изделий должны быть циферблатные весы грузоподъемностью 0,2 - 5 кг.

В каждом кондитерском цехе должно быть достаточное количество оборудования для перевозки сырья, полуфабрикатов, стеллажных тележек, ручных тележек с подъемной платформой.

К оборудованию для подготовки сырья к производству относятся просеиватели для муки и сахара-песка с плоскими и барабанными ситами, совершающими возвратно-поступательные, вибрационные или вращающиеся движения.

Протирочная машина для меланжа отличается от машин, используемых для обработки плодов и ягод, и представляет собой корытообразный корпус.

Устройство для мойки ягод представляет собой перфорированный бачок, внутри которого вращается диск. В бачок загружается порция ягод, наливается вода, и диск приводится во вращение. Мусор отбрасывается и удаляется через сетку. Порция ягод 6 - 8 кг моется около 3 мин.

Изюмомоечная машина применяется для мойки изюма. Она состоит из наклонного корпуса.

К оборудованию для приготовления сиропов относится сахарорастворитель, а уваривание сиропов производится в варочных котлах открытых и закрытых, с мешалками и без них. Такие котлы обогреваются паром, газом или электричеством.

Для темперирования и смешивания полуфабрикатов применяются темперирующие машины с двойной рубашкой. Они представляют собой цилиндрические емкости с рубашкой (для обогрева или охлаждения) и комбинированной мешалкой. Обогрев или охлаждение в машине производится паром или водой.

Смешивание различных компонентов производится в микс-машинах периодического действия.

Обжарочные аппараты, электросковороды рекомендуется использовать для обжаривания орехов.

Оборудование для измельчения отдельных видов сырья требуется при производстве мучных кондитерских изделий. Так, для получения сахарной пудры из сахара-песка применяются машины ударного и истирающего действия. Небольшие предприятия могут использовать дробилку 8М производительностью до 125 кг/ч (1460 х 590 х 2840 мм) и микромельницу ММС-1 производительностью до 100 кг/ч. Западные фирмы предлагают измельчители и меньшей производительности.

Для получения крупки из выпеченных полуфабрикатов или возвратных отходов, а также для измельчения других видов сырья применяются универсальные приводы с различными видами насадок.

Оборудование для приготовления теста может быть периодического и непрерывного действия. На предприятиях общественного питания замес производится в тестомесильных и сбивальных машинах периодического действия.

Турбомиксеры обеспечивают эффективное перемешивание жидких и сыпучих компонентов с шестью программами для различных продуктов. Они имеют устройство для автоматического спуска готового продукта.

Кремосбивальные машины используются для приготовления крема и сбивных масс. На отдельных предприятиях установлено оборудование для прокатки а слоеная теста. Отдельные виды теста перед формованием (затяжное, галетное, крекерное, слоеное) подвергают многократной прокатке из-за его упруго-пластично-вязких свойств для образования тестовой ленты. Прокатка теста производится на реверсивной двухвалковой машине с последующим вылеживанием теста на столах или медленно движущихся конвейерах.

Формование мучных кондитерских изделий производится различными способами: штампованием, резанием, отливкой, отсадкой. Способ формования зависит от структурно-механических свойств теста, в основном от его пластично-вязких свойств.

Оборудование для выпечки изделий представлено в настоящее время многообразными печами различной производительности и различной наполняемостью автоматикой и компьтеризированными дополнениями.

В настоящее время широкое распространение получили печи с непосредственным обогревом пекарной камеры газом или электричеством. В электропечах в качестве нагревательных элементов используются специальные излучатели инфракрасных лучей (лампы, кварцевые трубки), что позволяет значительно сократить процесс выпечки при улучшении качества готового продукта. Эти печи автоматизированы по регулированию теплового режима пекарной камеры и продолжительности выпечки.

Широко используются шкафы пекарные трехсекционные кондитерские (ЭШП и ЭШП-М), которые состоят из трех рабочих камер, независимых друг от друга. В каждой секции шкафа устанавливаются 2 - 3 противня и свой температурный режим выпечки.

Широкое распространение получили печи ротационные с газовым или электрическим обогревом отечественного или импортного производства.

Выпечка в печах ротационных производится на стеллажах или стеллажных тележках, которые устанавливаются на стационарный или вращающийся поддон. Универсальные конвекционные электрические печи типа "Муссон" - в камере предусмотрены принудительная циркуляция воздуха с помощью вентилятора, а также система пароувлажнения, автоматизированное поддержание заданной температуры.

Торты и пирожные в основном отделывают вручную. Механизированная отделка бисквитно-кремовых тортов несложным рисунком применена на механизированной линии ШТ-IН. Линия предназначена для тортов квадратной формы и массой 0,5 кг. Агрегат состоит из системы шаговых конвейеров с передающим устройством и наполнителями.

К механизированной отделке относится покрытие поверхности глазурью или меланжем с использованием различных агрегатов. Для разбрызгивания глазурей на изделия может применяться машина "Сhосо-Ваsiс/ Машина для глазирования производительностью 40 кг/ч и шириной ленты 320 мм состоит из двух ванн для шоколада глазировочной машины и охлаждающего шкафа (фирма "Orlimex"). Глазировочная машина фирмы Schokoma" (Германия) имеет производительность 1200 кг/ч. Есть и отечественные глазировочные машины Ш58-ШМГ и ШОВ.

Упаковочное оборудование

Специализированное оборудование широко применяется для завертывания и упаковывания мучных кондитерских изделий.

Одноразовая упаковка может быть выполнена из различных полимерных пленок и предназначена для тортов, пирожных, сдобных сортов печенья. Такая упаковка способствует лучшему сохранению качества изделий и наиболее гигиенична.

Формы вырабатываются белого или коричневого цвета, с ячейками внутри, различных размеров и разнообразной формы (квадратные, прямоугольные, круглые, сердечками).

Холодильное оборудование

К холодильному оборудованию относятся холодильные камеры КХС, рассчитанные на плюсовые температуры (2 - 8°С) и шкафы КХН - для хранения замороженных продуктов при температуре от - 16 до - 18°С. Полезный объем холодильных камер различен.

Шкафы-секции модулированные СОЭСМ-2 и СОЭСМ-3 представляют собой малогабаритный холодильный шкаф, встроенный в металлический стол. Охлаждаемая крышка стола служит для приготовления слоеного теста.

Для лучшего сохранения тортов применяются специальные термобоксы.

Для производства тортов, пирожных и других мучных кондитерских изделий требуется специализированный производственный инвентарь, инструменты и посуда.

В кондитерском цехе в достаточном количестве должны быть котлы алюминиевые на 20 и 30л, кастрюли алюминиевые на 2 - 10 л, сотейники и другая необходимая посуда. Не допускается применение оцинкованных и эмалированных ведер.

Для обработки теста используются: деревянные скалки без ручек и с ручками; металлическая скалка для раскатки и прокатки теста; металлическая рифленая скалка для нанесения узора; дисковый резак для нарезки теста определенной ширины (расстояние между дисками можно изменить с помощью вставленных втулок); резак с часто насаженными дисками.

Для разрезания теста, выпеченных полуфабрикатов, а также разравнивания крема и начинок на пластах полуфабрикатов применяется нож кондитерский с размером лезвия - 300 х 240 мм и ручкой размером 130 мм.

Для разрезания слоеного полуфабриката применяется нож с зубчатым лезвием.

Для обмазки боковых поверхностей тортов и пирожных используется нож столового типа. Ручки у ножей делаются из пластмассы, плексигласа и других гигиеничных материалов. Размеры ножей могут быть разными, в зависимости от размеров выпеченных полуфабрикатов.

Ножи применяются для разрезания теста листового на четыре полосы переменной ширины.

Для перекладывания пирожных с листов в лотки используется лопатка длиной без ручки 300 мм и шириной 80 мм. Другая лопатка ка для укладывания торта в коробки имеет длину до 300 мм, шир ну 250.300 мм. Выполнены лопатки из дюралюминия.

Широко используется для предприятий малой мощности мерная посуда (стаканы емкостью 0,25 - 5 л и ведра 15 л).

Для хранения полуфабрикатов можно использовать пластмассовые баки различной емкости, миски диаметром 16.40 см, предназначенные для пищевых продуктов.

Для перекладывания теста, крема, начинок, сиропа, других полуфабрикатов используются ковши, черпаки, мерники, изготовленные из оргстекла или других полимерных материалов.

Для отделки поверхности кремом и другими полуфабрикатами применяются скребки металлические и пластмассовые.

Для заполнения изделий типа заварной трубочки начинкой используется кондитерский шприц с наполняемой дозой 30 - 100 г.

Тесто для мучных кондитерских изделий при периодическом способе производства выпекается в противнях, на листах или в формах.

Формы для выпечки изделий бывают разнообразной формы размеров. Материалом для их изготовления служат железо, белая и черная жесть, алюминий, в последние годы применяется углеродистая сталь.

Для выпечки изделий используется специальная пергаментная бумага.

Для уваривания сиропов, помады, заваривания теста применяются электрические плиты типа ПСЭМ-4Ш, а также ПСЭМ-2, ПСМ-IН и др.

Для быстрого нагрева воды применяются электрокипятильники разной мощности КНЭ-25, КНТ-400 и др.

Оформление тортов и пирожных, отсадку заварного теста и других полужидких масс осуществляют с помощью отсадных мешков с набором наконечников самой разнообразной конфигурации.

Мешки изготавливаются из мягкого, но плотного, не пропускающего полуфабрикат материала (полотна, тика, эластика), и имеют коническую форму. В тонкий конец мешка вставляется трубочка. Фасонные металлические насадки, через которые выдавливается крем, называются шприцевальными трубочками, а процесс нанесения с их помощью рисунка - шприцеванием. Насадки изготавливают из белой жести или алюминия со срезами самых разных фасонов.

Наиболее тонкие рисунки, а также отдельные фигурки из небольшого количества крема делаются при помощи корнетиков, со вставленными в них металлическими трубочками или без трубочек.

Моечное оборудование. Для пищевых отходов предлагаются баки на колесах с крышками вместительностью 50 и 75 кг.

Промышленность выпускает и специальные машины для санитарной обработки цилиндрических емкостей.

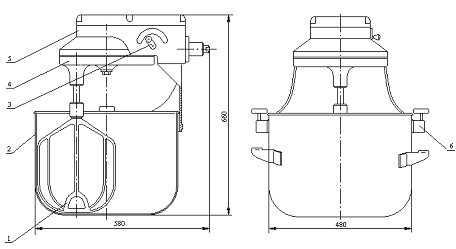
9. Многоцелевой механизм МС4-7-8-20


Одной из единиц оборудования является многоцелевой механизм МС4-7-8-20. При помощи этого механизма можно взбивать различные кондитерские смеси, замешивать жидкое тесто, протирать пюре и т.д. Приводится в действие универсальным приводом типа ПУ-0,6.

К кронштейну многоцелевого механизма 5, в соответствии с рисунком, крепится стальной бачок 2 с двумя ушками, которыми он опирается на кронштейн. Крепятся ушки двумя откидными болтами 6. Кроме ушек к бачку приварен уголок, входящий в прорезь кронштейна и удерживающий бачок от раскачивания. Переключатель скорости 3 позволяет изменять число оборотов. Крепление мешалки 1 к рабочему валу редуктора 4 производится соединительной муфтой, а в некоторых конструкциях - винтом. Рисунок представлен в масштабе 1: 10.

 

Рисунок 1 - Многоцелевой механизм МС4-7-8-20.

10. Организация работы кондитерского цеха


В кондитерском цехе изготавливается широкий ассортимент изделий из различных видов теста - дрожжевого, песочного, слоеного, заварного, а также может выпускаться в виде полуфабриката тесто дрожжевое, песочное, слоеное.

Состав помещений кондитерского цеха зависит от количества выпускаемых кондитерских изделий в день или от количества расходуемой муки.

Набор производственных помещений кондитерских цехов организаций зависит от производительности цеха.

Однако обязательно должны быть следующие помещения:

кладовая суточного хранения сырья с холодильным оборудованием;

яйцебитня из трех помещений, включающих: помещение для хранения и распаковки сырья с холодильной установкой, мойки и дезинфекции яиц, получение яичной массы; для приготовления теста с отделением для просеивания муки; разделки теста и выпечки; выстойки и резки бисквита (остывочная); отделки кондитерских изделий с холодильной установкой; мытья и сушки внутрицеховой тары и крупного инвентаря, а со специализированным оборудованием для мытья и стерилизации кондитерских мешков, наконечников и мелкого инвентаря; мытья и сушки оборотной тары; экспедиции готовых изделий с холодильной камерой.

Кроме того, состав и площади помещений кондитерских цехов утверждены в соответствующем порядке.

Все помещения располагаются единым блоком на любом этаже с учетом удобного сообщения со складом. Их размещение должно обеспечивать последовательность технологического процесса изготовления изделий и их транспортировку к буфету, бару, на раздачу, в магазин кулинарии или экспедицию.

В соответствии с технологическим процессом цех оснащают оборудованием: механическим, тепловым, холодильным, вспомогательным. Оборудование в помещениях цеха размещают последовательно ходу технологического процесса с соблюдением допустимых расстояний, перпендикулярно окнам для обеспечения нормальной освещенности.

Организация рабочих мест осуществляется следующим образом.

Рабочим местом называется часть площади, где работник выполняет отдельные операции, используя соответствующую посуду, оборудование, инвентарь.

Площадь рабочего места должна удовлетворять рациональному размещению оборудования, инструментов.

Рабочие места располагаются по ходу технологического процесса.

При организации рабочего места кондитера оптимальным условием является расстояние от пола до верхней полки стола, на котором размещается посуда. Столы устанавливаются с охлажденным шкафом, около шкафов устанавливают подносные стеллажи. В среднем угол обзора должен составлять 120°.

11. Охрана труда


В производственных условиях каждый работающий может подвергаться воздействию опасных и вредных факторов в зависимости от особенностей технологического процесса и используемого оборудования. Вредные факторы могут при определенных условиях вызвать заболевание. Опасные факторы, также при определенных условиях, могут привести к травме.

На предприятии общественного питания должны проводиться мероприятия по охране здоровья персонала, направленные на обеспечение нормальных условий труда - освещения, отопления, вентиляции, по профилактике производственного травматизма. Обычно травматизм наблюдается на тех предприятиях, где нарушаются требования охраны труда и техники безопасности. Профилактика производственного травматизма, помимо охраны здоровья персонала предприятия, имеет большое значение для предупреждения обсеменения пищевых продуктов некоторыми болезнетворными микроорганизмами. Например, порезы, ожоги приводят к воспалительным процессам и гнойничковым заболеваниям кожи, чаще всего рук. Это представляет большую опасность заражения продуктов гноеродными (плазмокоагулирующими) стафилококками, вызывающими острые пищевые токсикозы. Для предупреждения раздражения кожи и ожогов при мойке посуды посудомойщицы должны пользоваться резиновыми или брезентовыми перчатками, фартуками. Для погружения посуды в горячую воду применяют корзинки-сетки с ручками. Нельзя открывать дверцы моющей машины во время работы. Чтобы не было порезов, следует вскрывать консервные банки не обычными ножами, а пользоваться специальным ключом или консервным ножом.

Деревянный инвентарь (разделочные доски, мешалки, веселки) не должен иметь шероховатостей, заусенец. Все подвижные части машин должны иметь защитные ограждения. На предприятии вывешивают плакаты и предупреждающие надписи на опасных участках работ.

Необходимо соблюдать особую осторожность при перемещении по плите баков и кастрюль с горячими полуфабрикатами, а также при снятии или выемки из пекарной камеры печи готовых и переносе их. Для этого необходимо пользоваться специально выделенными полотенцами, рукавицами, а плиты должны быть ровные, без бугров, щелей и т.п. Во избежание падений и ушибов работников, полы должны быть гладкими, без выбоин и нескользкими, пролитая жидкость, жир и продукты должны быть своевременно и тщательно убраны с пола.

Все работники предприятия должны знать правила техники безопасности и обеспечиваться индивидуальными средствами защиты, что должно быть отмечено в специальном журнале по технике безопасности. Ответственность за допуск к работе лиц, не прошедших медицинских обследований, за организацию мероприятий, необходимых для выполнения личной гигиены и техники безопасности условий труда, несет руководитель предприятия общественного питания.

Особое внимание требует к себе эксплуатация оборудования кондитерского цеха. При работе на тестомесильных, взбивальных, протирочных и других машинах не следует производить загрузку перерабатываемого сырья и полуфабрикатов руками. Для этого должны быть выделены специальные деревянные лопатки и пестики, а руки при включении кнопок - сухими. Продукты загружают только после полной остановки машины. Машины, аппараты, устройства, работающие от электрической сети, должны быть заземлены.

Список использованной литературы


1.       Богушева В.И. Технология приготовления пищи: Учебно-методическое пособие. - М.: ИКЦ "МарТ"; Ростов н/Д: Издательский центр "МарТ", 2005. -  320 с.

2.       Кузнецова Л.С., Сиданова М.Ю. Технология приготовления мучных кондитерских изделий: Учеб. для студ. Учреждений сред. проф. образования. - М.: Мастерство, 2002. - 319 с.

.        Кузнецова Л.С. Лабораторный практикум по технологии кондитерского производства. - М.: Пищевая промышленность, 1980. - 182 с.

.        Назаров Н.И. и др. - Технология и оборудование пищевых производств. М.: - Пищ. пр-ть, 1977 г. …с.125.

.        Никуленкова Т.Т., Лавриненко Ю.И., Ястина Г.М. Проектирование предприятий общественного питания. - М.: Колос, 2000. - 216 с.

.        Санитарно-эпидемиологические требования к организациям общественного питания, изготовлению и оборотоспособности в них продовольственного сырья и пищевых продуктов: СанПин 2.3.6.959-00. - М.: "Интерсэн", 2000. - 64 с.

.        СанПин 2.3.4.545-96 "Производство хлеба, хлебобулочных и кондитерских изделий".

.        Сборник рецептур блюд и кулинарных изделий для предприятий общественного питания. - Спб.: Профессия, 2001. - 688 с.

.        Сборник рецептур и кулинарных изделий для предприятий общественного питания. / Составитель Л.Е. Голунова. СПб.: ПРОФИ-ИНФОРМ, 2004. - С.688.

.        Сборник рецептур блюд и кулинарных изделий для предприятий общественного питания. /Авт. - сост.: А.И. Здобнов, В.А. Цыганенко, М.И. Пересичный. - М.: "Гамма Пресс 2000", К.: "А.С. К.", 2002. - 656 с.: ил.

.        Справочник по товароведению продовольственных товаров /Т.Г. Родина, М.А. Николаева, Л.Г. Елисеева и др.; Под ред. Т.Г. Родиной. - М.: КолосС, 2003. - 608 с.

.        Тимофеев В.М., Воронин В.В. Справочник: Торговый инвентарь и посуда. - М., 1988

.        Харченко Н.Э. Технология приготовления пищи: Учеб. пособие для нач. проф. Образования / Н.Э. Харченко, Л.Г. Чеснокова. - М.: Издательский центр "Академия", 2004. - С.15 - 18.

Похожие работы на - Проектирование ресторана на 50 посадочных мест на территории города вблизи центральной магистрали

 

Не нашли материал для своей работы?
Поможем написать уникальную работу
Без плагиата!
Без нейросетей!