Модернизация четырехосной цистерны модели 15-145

  • Вид работы:
    Курсовая работа (т)
  • Предмет:
    Транспорт, грузоперевозки
  • Язык:
    Русский
    ,
    Формат файла:
    MS Word
    4,39 Мб
  • Опубликовано:
    2012-09-21
Вы можете узнать стоимость помощи в написании студенческой работы.
Помощь в написании работы, которую точно примут!

Модернизация четырехосной цистерны модели 15-145

СОДЕРЖАНИЕ:

ВВЕДЕНИЕ

. ОБЩЕЕ УСТРОЙСТВО ВАГОНОВ

.1     ОБЗОР И АНАЛИЗ ВАГОНОВ ПРОЕКТИРУЕМОГО ТИПА, И ОБОСНОВАНИЕ ОСНОВНЫХ ПРЕДЛОЖЕНИЙ ПО СОВЕРШЕНСТВОВАНИЮ КОНСТРУКЦИЙ

.2     ТЕХНИКО-ЭКОНОМИЧЕСКИЕ ПОКАЗАТЕЛИ ВАГОНА ПРОТОТИПА (ЦИСТЕРНЫ 15-145)

.3     ВПИСЫВАНИЕ ВАГОНА В ГАБАРИТ

.4     КУЗОВ ВАГОНА

.5     ХОДОВЫЕ ЧАСТИ ВАГОНА

.6     АВТОСЦЕПНОЕ ОБОРУДОВАНИЕ

.7     ТОРМОЗНОЕ ОБОРУДОВАНИЕ

. РАСЧЕТ КУЗОВА ВАГОНА НА ПРОЧНОСТЬ

.1     РАСЧЕТНАЯ СХЕМА И ОСНОВНЫЕ СИЛЫ, ДЕЙСТВУЮЩИЕ НА КУЗОВ

.2 МАТЕРИАЛЫ И ДОПУСКАЕМЫЕ НАПРЯЖЕНИЯ

.3 РАСЧЕТ НА ВЕРТИКАЛЬНЫЕ НАГРУЗКИ

.4 РАСЧЕТ НА ПРОДОЛЬНЫЕ НАГРУЗКИ РАМЫ ЦИСТЕРНЫ МОДЕЛИ 15-1443

.5 РАСЧЕТ ОТ СИЛ ВНУТРЕННЕГО ДАВЛЕНИЯ

.6 РАСЧЕТ НА РЕМОНТНЫЕ НАГРУЗКИ

.7     РАСЧЁТНАЯ СХЕМА КОТЛА ЦИСТЕРНЫ И ПРИНЯТЫЕ ДОПУЩЕНИЯ

. РАСЧЕТ ХОДОВЫХ ЧАСТЕЙ ВАГОНА

.1 ОПРЕДЕЛЕНИЕ ОСНОВНЫХ РАЗМЕРОВ КОЛЕСНОЙ ПАРЫ. РАСЧЕТ ОСИ И КОЛЕСА

.2     ВЫБОР БУКСОВЫХ ПОДШИПНИКОВ

.3     РАСЧЕТ РЕССОРНОГО ПОДВЕШИВАНИЯ

.3.1 Упругие элементы

.3.2 Гасители колебаний

.4 РАСЧЕТ РАМЫ И ДРУГИХ ДЕТАЛЕЙ ТЕЛЕЖКИ

.5 РАСЧЁТ НА ПРОЧНОСТЬ БОКОВОЙ РАМЫ ТЕЛЕЖКИ МОДЕЛИ 18-100

. РАСЧЕТ АВТОСЦЕПНОГО УСТРОЙСТВА

.1 РАСЧЕТ ПОГЛОЩАЮЩЕГО АППАРАТА

.2 РАСЧЕТ АВТОСЦЕПКИ

.3 РАСЧЕТ ДЕТАЛЕЙ УПРЯЖИ

. РАЗРАБОТКА МОДЕРНИЗАЦИИ

БИБЛИОГРАФИЧЕСКИЙ СПИСОК

ВВЕДЕНИЕ

Современная экономическая ситуация требует постоянного повышения конкурентоспособности предоставляемых транспортных услуг, что может быть достигнуто за счет повышения их экономической эффективности. Железнодорожные перевозки наливных грузов вследствие своей специфики требуют особого подхода к повышению их эффективности.

Эксплуатируемые в настоящее время цистерны для перевозки нефтепродуктов являются универсальными и перевозят широкую номенклатуру грузов, плотности которых (а соответственно и масса перевозимого вагонами груза) значительно отличаются между собой - от 10% до 23%. Кроме того, принятая в СССР унификация параметров цистерн привела к тому, что подавляющее количество вагонов-цистерн для перевозки нефтепродуктов имеют длину по осям сцепления 12020 мм, что не позволяет в полной мере реализовать максимальную грузоподъемность.

Мировой практикой накоплен значительный опыт в создании транспортных средств, предназначенных для перевозки жидких грузов по железным дорогам.

В таблицах 1 - 3 приведена классификация вагонов-цистерн.

На основании рассмотрения конструктивных схем несущих конструкций вагонов-цистерн отечественного и зарубежного производства были выявлены их основные конструктивные признаки (рисунок 1).

Вагоны-цистерны с жестким опиранием котла на шкворневую балку

Данная силовая схема характерна для вагонов постройки США, где подвижной состав рассчитан на взаимодействие посредством центральной автосцепки со значительными продольными усилиями. При этом вагоны рамной конструкции эксплуатируются в США крайне мало, и используются они в основном для малоопасных грузов.

Вагоны-цистерны с опиранием котла на боковые балки консоли через диафрагмы.

Данный тип силовой схемы характерен для подвижного состава, предназначенного для эксплуатации на дорогах стран МСЖД, где вагоны взаимодействуют в основном посредством буферных комплектов и упряжи, для которых характерны меньшие продольные усилия взаимодействия и несколько иная схема приложения продольных нагрузок.

Отечественные железнодорожные перевозки, в отличие от американских и европейских, имеют свою специфику, а именно:

высокие продольные нагрузки, возникающие в результате эксплуатации;

вагонов на сортировочных горках, взаимодействия вагонов с повышенными;

скоростями при спуске с горок, при неисправных замедлителях и т.п.;

широкий диапазон температур вследствие климатических особенностей;

территории, где производится эксплуатация вагонов-цистерн;

ненормативная эксплуатация вагона с превышением рабочего давления, имеющая место при нарушении технологии погрузки-выгрузки.

Таким образом, при эксплуатации в данных условиях котел вагона-цистерны подвержен частым и значительным деформациям относительно рамы, и при использовании жесткой конструкции опирания в опорных зонах возникают высокие напряжения, приводящие к разрушению конструкции в месте крепления котла.

Технико-экономические параметры вагона влияют на возможность использования его для перевозки конкретных видов грузов, поэтому необходимо провести сравнительный анализ параметров существующих цистерн и оценить степень загруженности каждой модели вагона-цистерны при загрузки её каждым из приведенных выше грузов (рис. 2 - 4).

Вагон-цистерна модели 15-740

Грузоподъемность, т                       56,8

Масса тары, т                                   27

Полный объем котла, м3                 72,4

Внутренний диаметр котла, мм       3000

Коэффициент тары                          0,47

Вагон- цистерна модели 15-5103

Грузоподъемность, т                       58,1

Масса тары, т                                   27

Полный объем котла, м3                 74

Внутренний диаметр котла, мм       3000

Коэффициент тары                          0,46

Рис. 3.

Вагон-цистерна модели 15-145

Грузоподъемность, т                       66,8

Масса тары, т                                   27,2

Полный объем котла, м3                 90,0

Внутренний диаметр котла, мм       3200

Коэффициент тары                          0,37

На рисунке 5 приведена сравнительная диаграмма грузоподъемности вагонов-аналогов.

Сравнительная диаграмма грузоподъемности вагонов-аналогов

На рисунке 6 приведена сравнительная диаграмма полного объема вагонов-аналогов.

Сравнительная диаграмма полного объема вагонов-аналогов

Резюмируя по проведенным исследованиям можно заключить, что наиболее перспективным вагоном - аналогом из существующего парка для перевозки оговоренной номенклатурной группы грузов является вагон-цистерна модели 15-145.

1. ОБЩЕЕ УСТРОЙСТВО ВАГОНОВ

1.1     Обзор и анализ вагонов проектируемого типа, и обоснование основных предложений по совершенствованию конструкций

Котел цистерны, имеющей грузоподъемность 66 тонн и предназначенной для бензина и светлых нефтепродуктов, изготовляют из малоуглеродистой стали 09Г2Д, 09Г2СД. Внутренний диаметр котла 3000 мм. Полезный объем котла: 90.0, полный: 91.8. Все листы и днища соединены стыковыми швами. Тара цистерны - 27,2 тонны. Цистерна модели 15-145 предназначена для бензина и светлых нефтепродуктов.

Крепление котлов цистерн на рамах унифицировано. Котлы крепят в средине и по концам. Котел свободно укладывают нижним (броневым) листом на деревянные брусья опор, установленных на шкворневых балках рамы. В середине нижней части котла фасонные лапы, приваренные к броневому листу, соединяют призонными болтами с опорными планками, которые приварены к хребтовой балке рамы. Котел с каждого конца крепят к опорам на шкворневых балках двумя стяжными хомутами, которые, предотвращая вертикальное и поперечное сечения котла относительно рамы, допускают некоторое продольное перемещение концов котла относительно рамы при температурных деформациях. Натяжением хомутов стремятся предотвратить вибрацию котла. Такая связь препятствует сдвигам котла относительно рамы. Болтовые соединения предусмотрены для удобства ремонта, когда необходимо отделять котел от рамы.

Для обеспечения прочности опорных зон котла необходимо равномерно распределить нагрузку на опорные брусья. С этой же целью стремятся увеличить площадь опоры, угол охваты опорой цилиндрической части котла и расстояние от опоры до других мест концентрации напряжений в котле.

Особенностью конструкции рам цистерны является то, что их продольные балки почти не участвуют в восприятии основных вертикальных нагрузок. Это объясняется большой жесткостью котла по сравнению с жесткостью продольных балок рамы, вследствие чего почти вся нагрузка от котла передается на крайние его опоры, а от них - на тележки.

Шкворневые балки рамы нагружены вертикальными силами, и при приложении к их конам усилий, необходимых, например, для подъема кузова, в этих балках могут возникнуть значительные напряжения.

Хребтовая балка рамы подвержена главным образом действию ударно-тяговых (продольных) усилий.

Для повышения прочности и улучшения технологии изготовления ее целесообразно выполнять из двух усиленных зетов высотой 310мм.

.2       Технико-экономические показатели вагона прототипа (цистерны 15-145)

Грузоподъемность, т                                                              66,8

Тара вагона, т                                                                         27,2

Нагрузка от оси колесной пары на рельсы, тс                      23,5

Нагрузка от оси на один погонный метр пут, тс/ч                6,61

Конструкционная скорость, км/ч                                          120

Габарит                                                                                   0-Т

База вагона, мм                                                                       9080

Длина

1 по осям автосцепок, мм                                                       14200

2 по концевым балкам рамы, мм                                            12980

Высота от уровня головок рельсов мах, мм                         4670

Диаметр котла внутренний, мм                                             3000

Длина котла наружная, мм                                                     11984

Удельный объем, м3/т                                                            1,4

Расчет технико-экономических параметров модернизированной цистерны 15-145. Габарит 1-Т конструкционная скорость движения 120км/ч, нагрузка от оси колесной пары на рельсы 23,8т.

Грузоподъемность:

Р=m0*P0/(1+KT)

где т0 - число колесных пар

Р0 - нагрузка на ось

КТ -технический коэффициент тары (КТ =0,33)

 

Р= m0*P0/(1+KT)=4*23,25/(1+0,33)= 71,5 т


Тара вагона:

Т=Р*КТ=71,5*0,33=23,61 т

Объем котла:

V=Vy*P

где Vy - удельный объем

V=1,4*71,5=100,16 м3

Диаметр котла внутренний Dвн принимаем 2,9 м.

Lвн - внутренняя длина котла.

Lвн = 4*V/π*D2=4*100,16/3,14*2,92=15,17 м

Наружная длина котла:

2Lнар =2Lвн +2a = 15,17+0,02=15,19 м


где 2а - толщина стенок котла

База вагона:

 

l= 2Lнар/1,4=15,19/1,4=10,85 м


Длина рамы вагона:

Lр = 2Lнар +2а = 15,19+ 1,66 = 16,85 м

Длина вагона по осям автосцепок:

 

Lавт= 2Lнар +2aавт=16,85+2*0,65=18,15 м


Погонная нагрузка:

q = (T+P)/2Lавт= (71,5+23,61)/18,15 = 5,24 т/м ≤ qдоп = 10,5 т/м

 

1.3     Вписывание вагона в габарит

При проектировании вагона производится проверка его габаритности, называемая вписыванием вагона в габарит. Сущность вписывания заключается в том, что на основании заданного габарита подвижного состава определяют строительное, а затем и проектное очертания вагона для всех характерных сечений по его длине. Все элементы конструкций проектируемого вагона, имеющие номинальные размеры и расположенные в рассматриваемом сечении, не должны выходить за пределы контура проектного очертания.

Основные положения. Для обеспечения безопасности движения поездов вагоны должны свободно проходить по железнодорожному пути, не задевая сооружения, станционных платформ, зданий и других устройств, а также подвижного состава, расположенного на смежных путях. Это условие выполняется, если размеры поперечного сечения вагона находятся в строго определенных пределах, а все указанные сооружения приближаются к пути не более чем на определенную величину. Эти ограничения в строительстве вагонов и сооружений определяются двумя видами габаритов (ГОСТ 9238): подвижного состава и приближения строений. Габаритом приближения строений - предельное поперечное (перпендикулярное оси пути) очертание, внутрь которого, помимо подвижного состава, не должны заходить никакие части сооружений и устройств. Габаритом подвижного состава - предельное поперечное, (перпендикулярное оси пути) очертание, в котором, не выходя наружу, должны помещаться установленный на прямом горизонтальном пути (при наиболее неблагоприятном положении в колее и отсутствии боковых наклонений на рессорах и динамических колебаний) как в порожнем, так и груженом состоянии не только новый подвижной состав, но и подвижной состав, имеющий максимально нормируемые износы.

Между габаритом приближения строения и габаритом подвижного состава предусмотрено пространство, которое обеспечивает безопасные смещения вагона, возникающие при его движении. Эти смещения обусловлены отклонениями в состоянии пути, которые допускаются нормами его содержания, и динамическими колебаниями вагона на рессорах.

Указанные группы смещений составляют итоговое пространственное перемещение подвижного состава из центрального положения (оси пути) в одну сторону.

Габарит подвижного состава (ГОСТ 9238-83), учитывающий смещения первой и второй группы, получил название эксплутационный. Для определения строительного очертания подвижного состава вагона необходимо из размеров габарита подвижного состава вычесть величину смещений третьей и четвёртой групп. Определение допускаемых максимальных размеров подвижного состава из условий удовлетворения его заданному габариту называется вписыванием подвижного состава в габарит.

Проектное очертание подвижного состава получают уменьшением его строительного очертания на величину технологических отклонений, допускаемых при построении подвижного состава.

Габариты подвижного состава.

ГОСТ 9238-73 устанавливает шесть единых для вагонов и локомотивов габаритов подвижного состава: Т, 1-Т, 0-Т, 01-Т, 02-Т и 03-Т. ГОСТ 9238-83 изменил обозначения последних четырех габаритов и ввел 2 дополнительных габарита - Тц и Тпр.

Цистерна модели 15-145 имеет габарит 1-Т. Этот габарит подвижного состава, допускаемого к обращению по всем путям общей сети железных дорог России, внешним и внутренним подъездным путям промышленных и транспортных предприятий. По этому габариту строятся вагоны, если не удается их вписать в габарит 0-Т.

Для цистерн целесообразен габарит Тц, имеющий, как и габарит Т наибольшую ширину 3750 мм, наибольшую высоту 5200 мм, нижнее очертание, соответствующее габариту 1-Т. Цистерны, построенные по такому габариту, не требуют уширения станционных междупутий, так как наибольшую ширину вагона имеют только в зоне горизонтального диаметра котла.

ОАО «РЖД» разрабатывает и утверждает габариты и степени негабаритности грузов и правила их перевозки по железным дорогам. По верхнему очертанию габарита определяют строительные очертания кузова вагона, нижнее очертание габарита определяется допускаемые размеры ходовых частей.

.4      
Кузов вагона

Кузов цистерны получил название котел. Котлы цистерн различаются по конструкции, линейными параметрами, подсоединительными элементами различных устройств и материалом.

По конструкции они бывают: бессекционные, секционные, бункерного типа.

На цистерне модели 15-145 устанавливается бессекционный котел , который состоит из цилиндрической части и двух днищ. Цилиндрическая часть котла составлена из продольно расположенных листов: нижний броневой лист имеет большую толщину, чем верхний, равную толщине днища. Днища котла эллиптической формы с соотношением высоты выпуклой части к диаметру, равным 0,2; они привариваются к цилиндрической части котла стыковыми швами. Таким же способом соединены между собой листы цилиндрической части. Преимущество стыкового шва по сравнению с нахлесточным в отсутствии дополнительных напряжений в зоне швов, обусловленных местным изгибом оболочки, создание лучших условий контроля за качеством швов.

Обогревательной рубашки, теплоизоляции, теневой защиты, предохранительного клапана у котла нет, т.к. для перевозки бензина и светлых нефтепродуктов этих приспособлений ненужно. Предохранительно-выпускной клапан установлен рядом с наливным люком. В качестве способа налива груза используется крышка ригельного типа.

Котел содержит две лестницы: внешнюю и внутреннюю. Внешняя необходима для подъема наливщика к загрузочному люку, она приварена к корпусу котла. Внутренняя лестница обеспечивает доступ ремонтникам и осмотрщикам внутрь котла. Для обеспечения полного слива бензина и светлых нефтепродуктов нижний лист котла выполняют с уклоном в сторону сливно-наливной трубы, размещенной в середине котла. Из-за большой плотности объем котла, занимаемый грузом, составляет 90м3 при грузоподъемности 66,8 тонн; внутренний диаметр котла равен 3,0м, тара вагона 23,61 тонны. Применение для котла двухслойной стали с толщиной, планирующего слоя 2-3мм обеспечивает значительную экономию, нержавеющей стали.

У рамной конструкции цистерны 15-145 котел с устройствами устанавливается на платформу, включающую раму, тормозное и автосцепное оборудование и ходовую часть.

У четырехосной цистерны с расстоянием между осями сцепления автосцепок 16490 мм и базой 10850 мм котел устанавливается на типовую платформу (рис. 7), которая состоит из рамы 3 сварной конструкции, автоматического 2 и стояночного 4 тормозов, автоматических ударно-тяговых приборов 5 и ходовой части 1. Детали и узлы платформы выполняются из низколегированных и литейных сталей повышенного качества.

Крепится котел к раме посредством лапы 7 и опор 6, располагаемых на шкворневых балках:

Платформа для четырехосных цистерн 15-145


Ударно-тяговые приборы платформы включают в себя автосцепку типа СА-3, поглощающий аппарат типа Ш2В-90, тяговый хомут, клин хомута, крепление тягового хомута, балочку центрирующую с двумя маятниками, расцепной рычаг, укрепленный на лобовом листе рамы с помощью кронштейна и державки расцепного рычага.

.5       Ходовые части вагона

Тележки - ходовые части вагона. Они должны обеспечивать безопасность движения вагона по рельсовому пути с необходимой плавностью хода и наименьшим сопротивлением движению. От конструкции ходовых частей вагона во многом зависит безопасность и плавность хода. Ходовые части цистерны модели 15-145 выполнены в виде двух двухосных тележек.

Тележки состоят обычно из следующих основных частей: колесные пар, буксовых узлов, рессорного подвешивания, рамы, надрессорной балки с опорами кузова и тормозной передачи. Современные грузовые вагоны магистрального и промышленного транспорта имеют двух-, трех- и четырехосные тележки, большегрузные транспортеры оснащены многоосными тележками состоящими из набора перечисленных выше конструкций.

Как правило, это модели с одноступенчатым рессорным подвешиванием. Исключение составляют вагоны, служащие для перевозки грузов, требующих транспортировки с повышенными скоростями.

Тележка модели 18-100, рассчитанная на конструкционную скорость движения 120 км/ч, состоит из двух колесных пар с четырьмя буксовыми узлами, двух литых рам, надрессорной балки , двух комплектов центрального подвешивания с фрикционными гасителями колебаний и тормозной рычажной передачи.

Боковая рама отлита, из низколегированной стали 20ФЛ или 20ГЛФ. Она имеет объединенные пояса и колонки, образующие в средней части проем для размещения комплекта центрального рессорного подвешивания, а по концам - буксовые проемы. Шишки , отлиты с внутренней стороны на наклонном поясе, служат для подпора боковых рам (боковин) при сборке тележки, так как в зависимости от допускаемых отклонений при отливке и обмере боковин некоторые из шишек срубают. Если все шишки срублены, то рама имеет градацию №0 с размером между наружными челюстями 2181 мм, при одной оставленной шишке это расстояние равно 2183 мм, а рама имеет градацию №1, при №№2,3,4 и5 указанное выше расстояние соответственно увеличивается по 2 мм.

Надрессорная балка - литая из стали марок 20ФЛ, имеет полую конструкцию замкнутого поперечного сечения и формы, близкую к брусу равного сопротивлению изгибу. Она отлита вместе с подпятником, служащим опорой кузова вагона и опорами для скользунов. На каждом из двух опор скользунов размещаются перевернутые коробки с регулировочными прокладками. Такая конструкция по сравнению с применяемой ранее (коробки отливались заодно с надрессорной балкой, а вкладыши скользуна укладывались в них, что в эксплуатации приводило к накоплению продуктов износа и недопустимое уменьшение зазоров между скользунами тележки и кузова вагона), обеспечивает самоудаление продуктов износа и постоянство отрегулированных зазоров между скользунами.

Рессорное подвешивание состоит из двух комплектов, каждый из которых имеет пять, шесть или семь двухрядных цилиндрических пружин и два фрикционных клиновых гасителя колебаний. Пять пружин устанавливают в тележки грузовых вагонов грузоподъемностью до 50т, шесть - 60т и 7 - более 60т.

.6       Автосцепное оборудование.

Ударно-тяговые приборы относятся к основным и ответственным частям вагона. Они предназначены для соединения вагонов между собой и локомотивом, удержания их на определенном расстоянии друг от друга, передачи и смягчения действия продольных нагрузок (растягивающих и сжимающих), которые возникают при движении поезда и при маневрах.

Тягово-сцепные приборы обеспечивают сцепление вагонов и локомотивов, передачу и смягчение растягивающих усилий. Ударные приборы (буфера) передают и смягчают сжимающие усилия и удерживают вагоны и локомотивы на определенном расстоянии друг от друга.

Приборы, предназначенные для непосредственного соединения вагонов и локомотивов, называют автосцепкой, совокупность частей, передающих и смягчающих действие тяговых усилий - упряжью. Если последняя расположена вдоль всего вагона и передает его раме часть тягового усилия, равного сопротивлению данного вагона движению, то такую упряжь называют сквозной. Если упряжные приборы расположены по концам рамы вагона, и она воспринимает все тяговые усилия, передаваемые упряжью, то упряжь называется несквозной, или разрезной.

На цистерне 15-145 установлено автоматическое ударно-тяговое сцепное устройство, обеспечивающее сцепление без участия человека.

Переходу к автоматической сцепке способствуют следующие преимущества:

.         достаточная прочность сцепных приборов, соответствующая большим продольным усилиям, возникающим в поездах большой массы.

.         ликвидация тяжелого труда сцепщиков, ускорение формирования поездов.

.         уменьшение тары вагонов тележной конструкции за счет облегчения концевых и боковых балок рамы.

Автосцепное оборудование состоит: из корпуса и расположенных в корпусе механизмов (расцепной привод, ударно-центрирующий прибор, упряжное устройство, поглощающий аппарат, опорные части).

Вагоны и локомотивы магистральных железных дорог ОАО «РЖД» оборудованы автоматической сцепкой СА-3 утвержденной в 1934 году в качестве типовой (см. рис. 8):

Автосцепка СА-3

-большой зуб

-замкожержатель

-замок

-малый зуб

-упор

-отверстие для клина.

Корпус автосцепки СА-3 предназначен для передачи удурно-тяговых усилий упряжному устройству и для расположения механизма. Корпус представляет собой стальную полую отливку, которая состоит из головной части и хвостовика. Головная часть имеет большой и малый зуб, который образуют зев. Из зева выступают части деталей механизма - замка и замкодержателя.

Горизонтальную проекцию зубьев, зева и выступающей части замка называют контуром зацепления автосцепки. Для обеспечения взаимозацепляемости автосцепок контур зацепления стандартизирован (ГОСТ 21447-75). Этот же контур зацепления принят для вновь создаваемых автосцепок в европейских странах-участниках ОСЖД.

Головная часть корпуса имеет упор для передачи сжимающего усилия на раму кузова через розетку, укрепленную на концевой балке, после полного сжатия поглощающего аппарата и деформаций аппарата и упряжного устройства.

В хвостовике корпуса есть отверстие для клина, соединяющего корпус с тяговым хомутом упряжного устройства. Для облегчения горизонтального перемещения корпуса торец его хвостовика выпилен цилиндрическим.

Автосцепное устройство должно располагаться согласно ПТЭ и ГОСТ 3474-73 на высоте 1040-1080 мм над уровнем головки рельса.

.7       Тормозное оборудование

Для регулирования скорости движения и остановки поезда нужно применять дополнительные технические средства. Такую функцию выполняет тормозное устройство. Наибольшее распространение получил колодочный тормоз, при котором торможение осуществляется вследствие прижатия колодок к поверхности катания колес. Передачу усилий от штока тормозного цилиндра к колодкам обеспечивает рычажная передача. За счет соотношения плеч рычагов идет увеличение тормозной силы по сравнению с силой, действующей на шток цилиндра. На современных вагонах применяется два вида тормозных колодок: чугунные и композиционные. Последние обеспечивают лучший тормозной эффект. Их рекомендуется устанавливать на вагоне, эксплуатируемым с большими скоростями движения. На каждом вагоне, оборудованном тормозными площадками, устанавливаются ручные тормоза, от тормозного штурвала усилие передается на рычажную передачу и в случае выхода из строя пневматического тормоза ручной является основным. Современные грузовые вагоны оборудованы стояночными тормозами.

Цистерна модели 15-145 имеет автоматический тормоз с воздухораспределителем № 483 М, регулятором рычажной передачи № 574Б, стояночный тормоз. Переходной площадки с ручным тормозом нет.

На кронштейнах рамы установлено тормозное оборудование цистерны (рис. 9), состоящее из тормозного цилиндра 12 № 188 Б или воздухораспределителя №483 М, запасного резервуара 6 Р7-78, автоматического регулятора рычажной передачи 2 усл. № 574 Б, рычагов 3, воздухопровода 4, разобщительного крана 5, авторежима 9 модели 265 А-1. На раме крепят также поддерживающие 16 и предохранительные скобы 17. Главный воздухопровод оборудован концевыми кранами 7 и соединительными рукавами 8 типа Р17Б. Для регулировки рычажно-тормозной передачи служит рычажный привод, бескулисного авторегулятора, включающий в себя рычаг-упор 14, регулирующий винт 15, распорку 13. Отрегулированная рычажно-тормозная передача обеспечивает зазор между тормозной колодкой и колесом в пределах 5-8 мм в расторможенном состоянии.

Автоматический тормоз четырехосной цистерны


На платформе установлен стояночный тормоз, предназначенный для затормаживания цистерны на погрузочно-разгрузочных пунктах. Он состоит (рис. 10) из тяги 5, соединенной с горизонтальными рычагами автотормоза, червячного сектора 4, червячного вала 2 со штурвалом 1 и ручки-фисатора 3.

Стояночный тормоз четырехосной цистерны


Стояночный тормоз приводится в рабочее (левое) и нерабочее (правое) положения перемещением червячного вала 2 со штурвалом 1. Фиксирует червячный вал 2 в рабочем или нерабочем положении ручка фиксатора 3, цистерна затормаживается поворотом штурвала по часовой стрелке. Для растормаживания ее ручку-фиксатор необходимо повернуть на 90° в горизонтальное положение. При этом под воздействием возвратной пружины штока тормозного цилиндра червячный вал со штурвалом отбрасывается в нерабочее положение (вправо).

2. РАСЧЕТ КУЗОВА ВАГОНА НА ПРОЧНОСТЬ

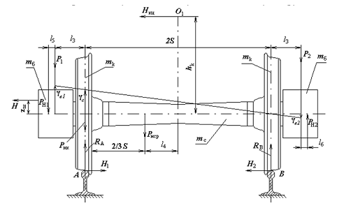
.1       Расчетная схема и основные силы, действующие на кузов

На котел цистерны действуют следующие нагрузки:

) Внутреннее давление, возникающее вследствие налива и испарения жидкого груза, в данном случае избыточное давление (2 МПа).

Наибольшая величина p1 такого давления определяется на регулировке предохранительного клапана.

) В результате гидравлических ударов жидкости, обусловленных продольными силами инерции Тц на вертикальную проекцию днища, перпендикулярную продольной оси котла, внутреннее давление составит

p2=Tц/πR12

где R1 - радиус цилиндрической части котла;

Tц =ТРгр/Рбр

где Т - продольная нагрузка для I и III расчетных режимов.

При испытании котла p3. Давление p3 возникает при отсутствии давления p2+ p1, поэтому расчетной величиной является p2+ p1 или p3. Согласно нормам расчета вагонов p3 ≥ p1+p2. Следует учитывать, что давление p2 достигает своего расчетного значения только вблизи днища, на которое направлена сила инерции Тц.Убывание этого давления по длине котла, согласно нормам расчета вагонов на прочность, принимают по линейному закону до нуля у противоположного днища. Поскольку сила Тц может изменять свое направление, то при этом предполагается, что давление p2x в любом сечении котла определяется выражением

P2x =(2lц-х)p2/lц ,

где х - расстояние от днища до рассматриваемого сечения котла, изменяющего от 0 до 2lц;

lц-длина цилиндрической части котла.

) Вертикальные силы:

а) вес груза в котле Ргр

б) собственный вес котла и укрепленные на нем части Ркот

в) вертикальная динамическая нагрузка:

Рд=(Ргр+ Ркот) Кд,

Сумма вертикальных нагрузок состовляет:

Р= Ргр+ Ркот+ Рд

При трогании с места поезда (в режиме загружения) вертикальная динамическая нагрузка мала и ее не учитывают.

) Боковые силы (центробежная и ветровая), которые загружают только опорные участки котла.

) Продольные (ударно-тяговые) силы, применяют при расчете котлов безрамной конструкции.

Расчетная схема котла

2.2 Материалы и допускаемые напряжения

Детали и узлы вагона воспринимают значительные статические и динамические нагрузки в течение эксплуатации. На основании накопленного опыта эксплуатации и исследования ВНИИЖ вагоны изготавливают из сталей, имеющих следующие характеристики:

Временное сопротивление разрыву σв = 500-570 МПа

Предел текучести σт = 400 МПа

Относительное удлинение δ = 21 %

Предел выносливости при изгибе σ-1 ≥ 210-230 МПа

Минимальное содержание серы и фосфора.

Наиболее распространенный материал для рамы и кузова - сталь низколегированная 09Г2Д. Имеющиеся присадки улучшают коррозийную стойкость по сравнению с ранее используемой сталью марки Ст.3.

Для стали 09Г2Д:

σв = 440 МПа; σт = 305 МПа; δ = 21 %; E = 2,1∙105 МПа

Для расчетных режимов I и III допускаемые напряжения:

[σ]I =0.9σт = 270 МПа [σ]III = 190 МПа

Также при необходимости для изготовления рам и кузовов используются, стали с повышенной коррозийной стойкостью: 10ХНДП, 12ХПФД, 15ХСНД.

2.3 Расчет на вертикальные нагрузки

Котел цистерны вследствие своей большой жесткости воспринимают почти всю вертикальную нагрузку. Произведем упрощенный расчет котла как балки на двух опорах.

Распределенная нагрузка находится по формуле:

q =(Pгр+Pкот+Pд)/2lц

где Ргр - вес груза, т

Ркот - вес котла, т

Рд - динамическая нагрузка, т

lц - длина котла, м:

Pкот = (2lцδπdк + πd2к2δ/4)ρ =

= (11,194∙0,02∙3,14∙2,9+3,14∙2,92 ∙2∙0,02/4)7,8=16,0 т

где δ - толщина стенок котла, мк - диаметр котла, м

ρ - плотность металла, м

Pд = (Pгр+Pкот)Кд

где Кд - коэффициент вертикальной динамики

Кд = а+в∙0,00036∙(V-15)/fст=

=0,15+1∙0,00036(33,33-15)/0,05 = 0,282

а - коэффициент, а = 0,15

в - коэффициент, учитывающий осность вагона:

в =(mT+2)/2 mT=(2+2)/4=1,

mT - число осей тележек

fст - статический прогиб, f = 0,05 м.

V - скорость движения вагона, V = 33,33 м/с

Pд = (71,54+16) 0,282=24,68 т

q = (71,54 + 16,0+24,68)/9,02=12,44 т/м.

При I режиме нагружения Рд = 0, поэтому возьмем III режим как наиболее неблагоприятный.

= RB= q∙2lц/2=19,4∙9,02/2=87,54 т

≤ l ≤ 2,82

ΣM=0

q∙l∙l/2+M1 = 0= -19,4∙2,82/2 = -15,4 тм

≤ l ≤ 10,85

ΣM=0max при l=5,425 м

RA∙l+q∙2,82∙(2,82/2+l)+q∙l2/2+M=0max =87,54∙5,425-12,44∙2,82(2,82/2+5,425)-12,44∙5,4252/2= 32,5 тм

Напряжения от изгиба определяется по формуле:

σ = Mmax/W

где W - момент сопротивления поперечного сечения котла

W =π(D4нар- D4вн)/32

где Dнар - наружный диаметр котла

Dвн - внутренний диаметр котла

W =3,14(2,924-2,94)/32=0,19 м3

σ = 853000/0,109=7,83∙106Па=7,83 МПа

[σ] > σ

Условие прочности выполняется с большим запасом, что вполне естественно, т.к. цистерна для перевозки такого особенного груза как серная кислота должна обладать значительным потенциалом безопасности.

.4 Расчет на продольные нагрузки рамы цистерны модели 15-1443

Продольные нагрузки котел рамной цистерны не воспринимает, их воспринимает рама цистерны (хребтовая балка). Будем считать, что других нагрузок рама не воспринимает.

Материал рамы 09Г2: предел текучести σт = 400 МПа, допускаемые напряжения для хребтовой балки [σ] = 0,9.

σт при растяжении и сжатии при I режиме нагружения:

σ = N/F

где N - нагрузка,

F - площадь поперечного сечения балки.

F = (183∙10,5+130∙16+(310-16-10,5)9)∙2= 13106 мм2

Для первого режима нагружения N = 3,5 МН

σ =3,5∙106/0,013=270МПа

[σ] = 0,9∙400 =360 МПа

Условие прочности при первом режиме выполняется, т.к. [σ] > σ.

При III режиме нагружения N = ±1 МН (при квазистатической силе и рывке с ударом) [σ] = 190 МПа

σ = N/F = 1∙106/0,013= 77 МПа

Условия прочности при III режиме выполняется, т.к [σ] > σ.

.5 Расчет от сил внутреннего давления

В котле цистерны возникают напряжения вызванные внутренним давлением. Напряжения можно определить по формулам безмоментной теории оболочки. Такие оболочки, не испытывающие изгиба, иногда называют мембранами, а напряжения в них, определяемые без учета изгиба, -мембранными.

Мембранные напряжения в цилиндрической части котла составляют в поперечном сечении I-I:

σ=pR1/2h1

где R1-радиус котла,

h1-толщина цилиндрической части котла,

в продольном сечении II-II

σ2=pR1/ h1

Мембранные напряжения в сферическом днище:

σ3=pR2/ 2h2

где R2-радиус днища

h2-толщина днища

p-избыточное давление в котле (0,25 МПа)

p2= Tц/πR12

Tц= TPгр/Pбр

где R1 - радиус котла,

T - продольная нагрузка для I и III режимов,

Pгр - вес груза в котле,

Pбр-вес брутто цистерны,

Т для I режима 3,5 МПа.

Т для III режима 1 МПа

Вычислим р2 по первому режиму как наиболее неблагоприятному.

Tц=350∙70,5/95,2=259 т

p2=259/3,14∙3,02=14,02∙104 Па

где р3 - давление в котле при гидравлическом испытании.

Но в цистерне модели 15-1443 избыточное давление мало (р1=1,5 МПа), поэтому испытание не проводятся и р3 = 0.

σ2=14,02∙104∙3,0/2∙0,02=859,2∙104Па=8,592 МПа

[σ]I=0,9∙σт=0,9∙400=360 МПа

[σ]I=360 МПа>σ2=8,592 МПа

Условие прочности выполняется при расчете от внутреннего давления.

.6 Расчет на ремонтные нагрузки

Нагрузка при подъеме кузова прикладывается к шкворневым балкам за специальные петли.

Момент инерции сечения относительно оси у:

Jy=2∙(b1h13/12+ b1h1y2)+2 b2h23/12

b1-ширина горизонтальных полок

h1-высота горизонтальных полок

b2-ширина вертикальных полок--

h2-высота вертикальных полок

y-расстояние от ц.т. горизонтальной полки до центра сечения

Jy=2(0,45∙0,0143/12+0,45∙0,014(0,15+0,007)2)+2∙0,3∙0,0083/12=3,106∙10-4 м4

Момент сопротивления сечения относительно оси у:

Wy= Jy/ у2

Wy=3,106∙10-4/0,164=18.939∙10-4 м3

q=(P+T-4,7∙2)/2∙2,036=(71,54+23,61-4,7∙2)/2∙2,036=21,06 т/м

Pz = q∙2,036/2=21,06∙2,036/2=21,44 т

M=Pz∙1,018-q∙1,0182/2=21,44∙1,018-21,06∙1,0182/2=10,9 H∙м

[σ]=0,9σт=0,9∙400=360 МПа

σ=М/Wy=10,9∙104/18,939∙10-4=58 МПа

Условия прочности при ремонтных нагрузках выполняется [σ]>σ, коэффициент запаса hзап = 360/58=6,2.

.7       Расчётная схема котла цистерны и принятые допущения

В соответствии с рекомендациями «Норм…» расчет производится методом конечных элементов, с использованием известного конечно-элементного пакета COSMOS WORKS версия 7.

В расчетной схеме учитывались, такие геометрические особенности котла, как отверстия под сливной прибор, люк-лаз и выштамповка в нижнем листе котла для слива, перевозимого продукта. Также в расчетной схеме учитывались фасонные лапы, соединяющие котел с рамой платформы. Вырезы в котле, под сливной прибор и люк лаз, а также фасонные лапы являются концентраторами напряжений и учет данных особенностей котла предусмотрен требованиями ГОСТ 14249.

Для более точного расчета напряженно-деформированного состояния в зоне люка лаза, в расчетной схеме котла учитывалась обечайка люка-лаза.

Для расчета используется пластинчатая конечно-элементная модель котла.

Для расчета использовались пластинчатые конечные элементы. Конечные элементы имеют квадратичную функцию форму, что позволило с высокой точностью определить напряжения, возникающие в зонах концентрации напряжений. Используемый конечный элемент имеет шесть степеней свободы в каждом узле.

Конечно-элементная модель включает 26848 конечных элементов и 13680 узлов.

При всех расчетных режимах котел радиально закреплялся в зонах лежневых опор, в зоне фасонных лап ограничивались перемещения в продольном и поперечном направлениях, относительно продольной оси вагона. Схема приложения нагрузок к котлу и конечно элементная модель показана на рис. 15:

Кинематические, силовые граничные условия и конечно элементная модель

Расчёт на прочность котла. В соответствии с «Нормами…» котел рассчитывается на прочность при первом и третьем расчетном режиме.

Сочетание нагрузок, действующих на прочность при первом и третьем расчетном режиме, определяется в соответствии с таблицей 2.3 «Норм…».

сила тяжести жидкости;

сила тяжести котла;

сила инерции котла;

давление от гидроудара, прикладывается по линейному закону, от максимального значения на одном днище до нуля на другом;

рабочее давление в котле 0,15 МПа.

Величина максимального давления от гидроудара определяется отношением силы инерции жидкости к площади вертикальной проекции днища

,

где Nu - cила инерции жидкого продукта, определяется по формуле


где N - продольная сила удара, приложенная к автосцепке вагона - равная

при I режиме( удар) - 3.5МН,

при III режиме - 1.0 МН,

Подставив значения величин в формулы, получим:

) для первого режима удар

 МН.

 МПа.


где аК - сила инерции котла.

) для третьего режима

 МН.

 МПа


где mбр- масса вагона с грузом (94 т).

Подставляя данные, получаем, что величина продольного ускорения котла, при первом расчетном режиме, составляет 37,23 м/с2.

При расчете по третьему расчетному режиму принимается следующее сочетание нагрузок действующих на стойку:

сила тяжести жидкости;

сила тяжести котла;

сила инерции котла;

давление от гидроудара, прикладываемое по линейному закону, от максимального значения на одном днище до нуля на другом;

рабочее давление в котле;

вертикальная динамическая сила, определяется умножением силы тяжести груза и веса котла на коэффициент вертикальной динамики, для котла вагона-цистерны.

Коэффициент вертикальной динамики в соответствии с «Нормами…», определяется по формуле

,

где  - среднее вероятное значение коэффициента вертикальной динамики;

 - параметр распределения, согласно «Нормам…» принимается равным 1,13;

 - доверительная вероятность, с которой определяется коэффициент вертикальной динамики;

Среднее вероятное значение  определяется по формуле

=


где  - коэффициент, равный для элементов кузова 0,05;

 - коэффициент, учитывающий влияние числа осей n в тележке под одним концом экипажа, определяется по формуле

V - конструкционная скорость движения, м/c;

- статический прогиб рессорного подвешивания, м. Для тележки модели 18-100 принимается равный 0,05.

Подставляя данные получаем коэффициент вертикальной динамики равный 0,341.

При нагружении котла испытательным давлением учитывался вес жидкости и котла. Величина испытательного давления принимается согласно техническим условиям

Ри= 0,55 МПа.

В результате расчета были получены напряжения, возникающие в котле при первом, третьем и испытательном расчетных режимах.

Максимальные эквивалентные напряжения в котле при всех расчетных режимах возникают в зоне фасонных лап и выштамповки нижнего листа, и составляют для первого режима (удар) 320 МПа, при допускаемых 325 МПа. Для третьего расчетного режима максимальные напряжения составили порядка 168 МПа, при допускаемых 195 МПа. Для испытательного режима максимальные напряжения составили порядка 263 МПа, при допускаемых 292 МПа. Боле подробно уровни напряжений в различных зонах котла при различных режимах расчета приведены в таблицах 4-6.

Таблица 4

Максимальные напряжения в различных зонах котла при нагружении конструкции испытательным давлением

Зона котла

Максимальные эквивалентные напряжения, МПа

Допускаемые напряжения, МПа

Зона люка лаза

257

325

Фасонные лапы

210

325

Днища котла

64

325

Нижний лист котла в зоне сливного прибора и фасонных лап

320

325

Нижний лист котла в зоне лежневых опор

174

325

Таблица 5

Максимальные напряжения в различных зонах котла при первом режиме (удар)

Зона котла

Максимальные эквивалентные напряжения, МПа

Допускаемые напряжения, МПа

Зона люка лаза

166

292

Фасонные лапы

224

292

Днища котла

98

292

Нижний лист котла в зоне сливного прибора и фасонных лап

263

292

Нижний лист котла в зоне лежневых опор

220

292


Таблица 6

Максимальные напряжения в различных зонах котла при третьем режиме.

Зона котла

Максимальные эквивалентные напряжения, МПа

Допускаемые напряжения, МПа

Зона люка лаза

88

195

Фасонные лапы

95

195

Днища котла

28

195

Нижний лист котла в зоне сливного прибора и фасонных лап

168

195

Нижний лист котла в зоне лежневых опор

102

195


Из полученных результатов можно сделать вывод, что прочность котла удовлетворяет требованием «Норм…» при всех расчетных режимах.

Распределение эквивалентных напряжений при нагружении испытательным давлением

а)

б)

а - общее напряженно-деформированное состояние;

б - зона фасонных лап.

Распределение эквивалентных напряжений при третьем режиме

а)

б)

а - общее напряженно-деформированное состояние;

б - зона фасонных лап.

Распределение эквивалентных напряжений при первом режиме (удар)

а)

б)

а - общее напряженно-деформированное состояние;

б - зона фасонных лап.

3. РАСЧЕТ ХОДОВЫХ ЧАСТЕЙ ВАГОНА

.1 Определение основных размеров колесной пары. Расчет оси и колеса

Схема нагружения колесной пары


Выбор колеса


Для дорог нашей страны изготовляют цельнокатаные колеса согласно ГОСТ 9036-76.

Эти колеса отличаются более рациональным распределением металла по сечению диска и ступицы, меньшим уклоном внутренней поверхности обода. Масса колеса составляет 385 кг.

Согласно ГОСТ 10791-84 цельнокатаные (безбандажные) колеса изготавливают из стали, содержащей:

Углерода 0.52-0.63 %

Кремния 0.20-0.42 %

Марганца 0.5-0.9 %

Фосфора ≤ 0.035 %

Серы ≤ 0.04 %

Механические свойства технически обработанных колес должны соответствовать следующим нормам:

Временное сопротивление 880-1080 МПа;

Относительное удлинение не менее 10 %;

Относительное сужение не менее 16 %;

Твердость по Бринелю < 248 HB.

Тип колесной пары определяется типом оси (РУ1) и диаметром колес(950 мм). Согласно ГОСТ 4835-71 принято в проектируемом вагоне иметь колесную пару типа РУ1-550.

Цельнокатаные колеса отличаются от колес других типов более высокой эксплутационной надежностью, особенно после осуществленного в последние годы усовершенствования технологии их изготовления (прерывистая закалка с отдельного нагрева и последующий отпуск, выполненные после механической обработки колес).

Параметры введенные для расчета

Мбр=95,15 т

Мкп=1,250т

h=1,450м

S=0,790м

Rколеса=0,475м

l=2,036м

Длина шейки 1h=0,190 м

Допускаемый износ шейки оси Z=0,001м

Допускаемые напряжения в МН/(м*м):[G1]=120 [G2]=165 [G3]=155

Результаты расчета

Нагрузка на ось Рос=0,233 МН

Изгибающий момент в сечении N-1 M1=0,022 MH*м

Изгибающий момент в сечении N-2 M2=0,107 MH*м

Изгибающий момент в сечении N-3 M3=0,061 MH*м

Напряжения в сечении N-1 G1=101,634 MH/(м*м)

Напряжения в сечении N-2 G2=149,749 MH/(м*м)

Напряжения в сечении N-3 G3=137,878 MH/(м*м)

Необходимые диаметры оси:=0.1230м d2:=0.1878м d3:=0.1587м

Необходимые диаметры оси с учетом припусков на обработку d1:=0.1250м d2:=0.1938м d3:=0.1647м

Выбираем тип оси РУ1 (ГОСТ Р-50334-92), где d1:=0.130м d2:=0.194м d3:=0.165м

.2       Выбор буксовых подшипников

Под расчетом роликовых подшипников понимают проверку долговечности подшипника при заданном режиме эксплуатации и выбор типа подшипника, обеспечивающего требуемую долговечность в условиях режима эксплуатации. Долговечность подшипника - срок службы, измеряемый числом оборотов, в течение которого не менее 90% подшипников должны отработать без проявления признаков усталости металла. На этом понятии основаны приводимые в каталогах значения динамической грузоподъемности, используемые при расчете долговечности.

Радиальная нагрузка от веса брутто:

Ргр=(P+T-n∙Pк.п.)/2n=(71,54+23,61-4∙1,25)/2∙4=11,3 т

Радиальная нагрузка на подшипники в порожнем состоянии:

Рпор=(Т-nРк.п)/2n=(23,61-4∙1.25)/2∙4=2.3 т

Эквивалентная нагрузка:

Рn=(Ргр3,33∙агр+Рпор3,33∙апор)1/3,33=(11,33,33∙0,7+2,33,33∙0,3)1/3,33=10,2 т

Осевая нагрузка на подшипники:

1 в кривых участках пути Aкр=Рn∙ηц.б.=10,2∙0,075=0,76 т.

2 в прямых Апр=2/3∙ Aкр=0,51 т

Эквивалентная осевая нагрузка на буксовый узел:

Аn=(Апр3,33∙апр+Акр3,33∙акр)1/3,33=(0,513,33∙0,875+0,763,33∙0,125)1/3,33=0,56 т

Эквивалентная условная нагрузка на буксовый узел:

Рэ=Рn∙кб+Аn∙m=10,2∙1,3+0,56∙1,8=14,3 т

где кб - коэффициент динамичности приложения нагрузки (кб =1,3-1,4)

m - коэффициент перевода осевой нагрузки в радиальную (m =1,8)

Для определения динамической грузоподъемности подшипникового узла задаемся его долговечностью: Ls=1500 тыс.км (для грузовых вагонов).

Динамическая грузоподъемность:

С=0,71∙Рэ(Ls/Dk)0.3=0.71∙14,3(1500∙103/0.9)0.3=747 кН

Из каталога выбираем подшипники сферические (с бочкообразными роликами) типа ЦКБ-1506. Динамическая грузоподъемность этих подшипников составляет 1,382 МН, что вполне удовлетворяет предъявленным требованиям.

.3       Расчет рессорного подвешивания

.3.1 Упругие элементы

Исходные данные:

грузоподъемность P=71,54 т

вес тележки Qт=4,9 т

тара вагона T=23,61 т

вес надрессорной балки Qнб=0,5 т

Определим вес надрессорного строения вагона:

Qн=P+T-2(Qт-Qнб)=71,54+23,61-2(4,9-0.5)=86,35 т

В соответствии с заданной скоростью движения (120км/ч) грузового вагона принимаем схему рессорного подвешивания тележки 18-100, при которой кузов подвешен на двух рессорных комплектах по семь упругих элементов в каждом.

Статическая нагрузка на один упругий элемент определяется:

Рст=Qн/m1∙m2∙m3=86,35/2∙2∙7=3,1 т

гдеm1=2-количество тележек,

m2=2-количество комплектов на тележке,

m3=7-количество упругих элементов в комплекте.

Принимаем для нашего случая коэффициент конструктивного запаса hк.з=2. Тогда максимальная нагрузка на упругий элемент:

Р=Рст ∙ hк.з =3,1∙2 =6,2 т

Для определения необходимых размерных параметров пружин задаемся индексом пружины m=6. Диаметр прутка находим из условия обеспечения прочности пружины:

D=√(8P∙m∙n/π∙[τ])=√8∙6.2∙6∙1.25∙104/3.14∙750∙106=0.04(м)

η=(4m-1)/(4m-4)+0,615/m=(4∙6-1)/(4∙6-4)+0.615/6=1.25

Ближайшим по ГОСТ 2590-57 является значение d=0,038 м.

Значение среднего диаметра пружины подсчитывается из соотношения:

D=m∙d=6∙0,038=0,228 (м)

Для определения необходимого числа рабочих витков пружины следует задаться статическим прогибом рессорного подвешивания. Принимаем fст=0,05м, тогда

np=fст∙G∙d/8∙Pст∙m3=0.05∙80∙109∙0.038/8∙31000∙63=2,84

где G=80∙109 Н/м2-модуль сдвига материала пружины

Жесткость одной пружины определяется:

Сэ=Рст/fст=31000/0,05=620000 Н/м

Для создания более компактного рессорного подвешивания заменим полученную пружину эквивалентной двухрядной пружиной. Для определения размерных параметров двухрядной пружины воспользуемся данными, приведенными в специальной таблице.

Для индекса пружины =6 имеем:

d1=0,814∙d+0,4∙10-4=0.814∙0,038+0,4∙10-4=0,0313 м

d2=0,582∙d+0,6∙10-4=0.582∙0,038+0,6∙10-4=0,0215 м

Ближайшими по ГОСТ 2590-57 является значениями d1=0,032м и d2=0,022м. Соответственно средние диаметры пружин:

D1=md1=6∙0,032=0,192 м

D2=md2=6∙0,022=0,132 м

Определяем число рабочих витков наружной и внутренней пружины по формулам:

np1=npD/D1=2,84∙0,228/0,192=3,4=npD/D2=2,84∙0,228/0,132=4,9

Высоты пружин в свободном состоянии находятся:

Hсв1=(np1+1)d1+f=(3,4+1)0,032+2∙0,05=0,24 м

Hсв2=(np2+1)d2+f=(4,9+1)0,022+2∙0.05=0,23 м

Для выравнивания высоты наружной и внутренней пружины необходимо предусмотреть просадку под внутреннюю пружину толщиной

δ= Hсв1- Hсв2=0,24-0,23=0,01 м

Условие устойчивости проверяем по параметру наружной пружины, определяющей устойчивость гнезда в целом:

Hсв1/D1=0,24/0,192=1,25<3,5

Таким образом, комплект пружин, состоящий из семи двухрядных пружин, будет устойчивым.

Жесткость наружной и внутренней пружины определяем:

C1=G∙d1/8∙m3∙np1=80∙109∙0,032/8∙63∙3,4=435,7 кН/м

C2=G∙d2/8∙m3∙np2=80∙109∙0,228/8∙63∙4,9=229,5 кН/м

Суммарная жесткость двухрядной пружины:

С=С1+С2=435,7+229,5=665,2 кН/м

Погрешность с необходимой жесткостью:

Δ = (С-Сэ)∙100%/С=(665,2-620)∙100%/665,2=6,8%

Эта погрешность приемлема.

.3.2 Гасители колебаний

Определяем необходимые параметры фрикционных гасителей колебаний для цистерны, имеющей параметры.

3 грузоподъемность Р = 71,54 т

4 тара вагона Т = 23,61 т

5 длина котла 2Lк = 16,85 м

6 база вагона 2l = 10,85 т

7 база тележки 2lт = 1,85 т

8 статический прогиб рессорного подвешивания под полной нагрузкой fст = 0,05 м.

Найдем вес надрессорного строения вагона:

9 порожний вагон

=Т-2(Qт-Qнб) = 23,61-2(4,9-0,5)=14,8 · 104 Н

1  

2 груженый вагон

=  +Р=14,81+71,54 = 86,35∙104 Н

где Qнбр - вес надрессорной балки тележки, которая совершает колебания вместе с котлом.

Жесткость рессорного подвешивания одной тележки при прогибе рессоров в вертикальном направлении:

=/2fст=86,35∙104/2∙0,05=8635 кН/м

При гасителях колебаний жесткость подвешивания, а также частоты колебаний уменьшается. Однако разница обычно не превышает 10% и в нашем случае является запасом по обеспечению надлежащей плавности хода вагона.

Найдем частоты колебаний подпрыгивания, галопирования для грузового вагона. Величину моментов инерции кузова вагона берем из таблицы:

1 для подпрыгивания

ν 1=√2∙c∙g/Qk=√2∙8,635∙106∙9,81/8,635∙105=14 1/сек

2 для галопирования

ν 2=√2∙c∙l/ Jk =√2∙8,635∙106∙5,4252/1,075∙106=21,7 1/сек

где c - жесткость рессорного подвешивания одной тележки, Н/м;

l - база вагона, м;

Qk - вес котла брутто, Н;

Jk - момент инерции котла вагона брутто относительно поперечной горизонтальной оси, проходящей через его центр тяжести, кг∙м2.

Определяем фазы прохождения колесными парами вагона неровностей рельсового пути:

β 1=0

β2=2π∙2lm/Lp=2π∙1,85/16,85=40º

β3=2π∙2lв/Lp=2π∙10,85/16,85=232º

β4=2π∙2(lm+lв)/Lp=2π(1,85+10,85)/ 16,85=271º

Для определения параметров гасителей колебаний необходимо предварительно по формуле найти величину допускаемой амплитуды колебаний кузова вагона при частотах колебаний подпрыгивания и галопирования:

n1= ν 1/2π=14/2π=2,22 Гц

n2= ν 2/2π=21,7/2π=3,46 Гц

А ≤ 10-2 ∙ 3√Сz10/2,7∙1010∙n5, м

Сz - критерий плавности хода вагона, который применяется равным 4 для грузовых вагонов.

n - одна из частот собственных колебаний вагона.

А1 ≤ 10-2 ∙ 3√410/2,7∙1010∙2,225=0,89 см = 8,9∙10-3 м

А2 ≤ 10-2 ∙ 3√410/2,7∙1010∙3,465=0,43 см=4,3∙10-3 м

Параметр гасителей колебаний для тележки из условия обеспечения устойчивого режима при подпрыгивании кузова:

βв1=(c∙hp∙cos(β2/2)∙cos((β2+β3+β4)/4)∙cos((β2-β3-β4)/4))/A1∙v1=

=(8,6∙106∙5∙10-3∙cos(20)∙cos(135,75)∙cos(-115,75))/(8,9∙10-3∙14) =

=100,9∙103 Н∙сек/м

Параметр гасителей колебаний для тележки из условия обеспечения устойчивого режима при галопировании кузова:

βв2=(c∙hp∙cos(β2/2)∙cos((β2+β3+β4)/4)∙cos((β2-β3-β4)/4))/A2∙v2=

=(8,6∙106∙5∙10-3∙cos(20)∙cos((135,75))∙cos(-115,75))/(4,3∙10-3∙21,7) =

= 134,8∙103 Н∙сек/м

где hp - амплитуда волны профиля пути, т.е. половина разности уровня рельса под колесом вагона в середине звена и на стыке, м: hp = (4-5)103 м, что соответствует среднему состоянию пути.

Принимаем большее значение параметра гасителей колебания тележки:

βв=134,8∙103 Н∙сек/м

Параметр одного гасителя колебаний центральной ступени подвешивания, установленного с каждой стороны тележки:

βц=βв/2=134,8∙103 /2=67,4∙103 Н∙сек/м

В проектируемом рессорном подвешивании устанавливаются гасители колебаний трения, развивающее сопротивление колебаниям пропорционально перемещению упругоподвешенной части вагона.

Параметр такого гасителя (коэффициент относительного трения) определяем по формуле:

φ=π∙Аi∙vi∙β4/4fст∙ci=3,14∙8,9∙10-3 ∙14∙67,4∙103/4∙0,05∙4,38∙106 = 0,03

Таким образом, фрикционный гаситель колебаний должен иметь коэффициент относительного трения φ = 0,03.

.4 Расчет рамы и других деталей тележки.

Расчет по третьему режиму.

Определяем нагрузки, действующие на тележку:

Рст=(Р0∙n-Gк.п.∙n)/mбр=(22,75∙4-1,25∙4)/4=21,5 т

где Рст - статическая нагрузка от тары вагона и веса груза

Р0 - осевая нагрузка;

n - количество осей;

mбр - число боковых рам вагона;

Gк.п - вес колесной пары.

Расчетная нагрузка:

Рвер=Рст+Рдин+Рбок,

где Рдин=кдРст

кд - коэффициент вертикальной динамики

kd =а0+0,00036∙b∙(V-15)/fст,

где а0 ≥ 0,15 - эмпирический коэффициент для необрессоренных деталей тележки

b - коэффициент, учитывающий число осей в тележке

b=(mт+2)/2mт=(2+2)/4=1 ,

mт - число осей в тележке

V=120 км/ч = 33,33 (м/с)

fст=0,05 - статический прогиб рессор

kd=0,15+0,00036∙1∙(33,33-15)/0,05=0,28

Кд= kd/β∙√4/π∙ln1/(1-P(Кд))=0,28/1,13∙√4/π∙ln(1/(1-0,97))=0,52

Pдин=Кд∙Рст=0,52∙21,5=11,18 т

Рбок=Рц.б.∙hц.б. /m1∙b,

где m1 - число рессорных комплектов с одной стороны

b= 2,036 - расстояние между центрами рессорных комплектов

hц.б =2,3 м (по нормам)

Рц.б=ηц.б∙Рбр=0,075∙(23,61∙4)=7,1 т

Рбок=7,1∙2,3/2∙2,036=4,01 т

Рверт=21,5+11,18+4,01=36,69 т

Ррасч=Рверт/7=36,69/7=5,24 т

Таблица нормальных и касательных напряжений

I режим

Точки

Максимальные нормальные напряжения, % от [σ]

Максимальные касательные напряжения, % от [τ]

1

6-7

31

31

31

0

0

0

2

42

42

43

0

0

0

3

8-9

56

37

59

14

9

14

4

11-16

20

27

48

51

51

51

5

16-15

47

57

67

40

40

40

6

15-14

67

69

72

14

14

14

7

12-13

51

20

24

14

14

14

8

5-6

15

16

16

14

14

14

9

4-5

23

23

23

0

0

0

10

2-3

22

22

22

0

0

0

11

1-2

0

19

45

26

26

26

12

2-8

50

45

42

10

10

10

13

9-10

35

42

49

9

9

9

14

10-11

45

28

19

24

24

24

15

11-12

34

28

24

9

9

9

16

13-5

12

14

16

9

9

9


III режим

Точки

Максимальные нормальные напряжения, % от [σ]

Максимальные касательные напряжения, % от [τ]

1

6-7

27

27

27

0

0

0

2

3-4

37

37

38

0

0

0

3

8-9

49

33

52

12

8

12

4

11-16

18

24

42

45

45

45

5

16-15

41

50

59

35

35

35

6

15-14

59

61

63

12

12

12

7

12-13

45

18

21

12

12

12

8

5-6

13

14

14

12

12

12

9

4-5

20

20

20

0

0

0

10

2-3

19

19

19

0

0

0

11

1-2

0

17

40

23

23

23

12

2-8

44

40

37

9

9

9

13

9-10

31

37

43

8

8

8

14

10-11

40

25

17

21

21

21

15

11-12

30

25

21

8

8

8

16

13-5

11

12

14

8

8

8


По результатам вычисления можно сделать вывод, что боковая рама выдерживает приложенные нагрузки, т.к. касательные и нормальные напряжения не превышают 100%.режим

Нормальное наибольшее напряжение составляет 72% от предела текучести, а касательные напряжения - 51% от предела текучести.режим

Нормальное наибольшее напряжение составляет 63% от предела текучести, а касательные напряжения - 45% от предела текучести.

Расчет по первому режиму.

Ркуз=Рбрут-Рт∙mт

где Ркуз - вес кузова, т;

Рбрут - вес брутто вагона, т;

Рт - вес тележки Рт = 4,7 т;

mт - число тележек в вагоне.

Ркуз =94,44-4,7∙2=85,04 т

Рz=N∙hz∙Ркуз /mб∙2l∙Рбрут=250∙1,45∙85,04/2∙10,85∙94,44 =15,04 т

где mб - число боковин в тележке

hz - высота центра тяжести вагона hz = 1,45 м

l - база вагона 2l = 10,85 м

N=250 т

Рст = (Рбрут -Gк.п.∙n)/mбр=(94,44-1,25∙4)/4=22,36 т

где Рст - статическая нагрузка на боковую раму, т;

Gк.п - вес колесной пары Gк.п = 1,25 т;

n - число колесных пар n = 4;

mбр - число боковых рам в вагоне.

РIверт=Рст+Рz=21,5+15,04=36,54 т

РIверт - вертикальная нагрузка на боковую раму при первом режиме, т;

РIIn= РIверт/7=36,54/7=5,22 т или 493597,9 Н

РIIn - нагрузка на одну пружину.

.5 Расчёт на прочность боковой рамы тележки модели 18-100

Настоящий расчет выполнен с целью оценки прочности боковой рамы тележки модели 18-100.

Расчет производился в соответствии с "Нормами для расчета и проектирования вагонов, железных дорог МПС колеи 1520 мм 1996 (несамоходных) (далее по тексту «Нормами...»).

Прочность боковой рамы в соответствии с «Нормами...» оценивалась при двух расчетных режимах:

) По первому расчетному режиму рассматривается относительно редкое сочетание экстремальных нагрузок. Основное требование при расчете на прочность по этому режиму - не допустить появление остаточных деформаций (повреждений) в узле или детали. В эксплуатации, первому режиму расчета соответствует: осаживание и трогание тяжеловесного состава с места; соударение вагонов при маневрах, в том числе при роспуске с сортировочных горок; экстренное торможение в поездах при малых скоростях движения.

) По третьему расчетному режиму рассматривается относительно частое возможное сочетание умеренных по величине нагрузок, характерное для нормальной работы вагона в движущемся поезде. Основное требование при расчете по этому режиму - не допустить усталостного разрушения узла или детали. В условиях эксплуатации, третий расчетный режим соответствует случаю движения вагона в составе поезда по прямым и кривым участкам пути и стрелочным переводам с допускаемой скоростью, вплоть до конструкционной; при периодических служебных регулировочных торможениях; периодических умеренных рывках и толчках; штатной работе механизмов и узлов вагона.

Исходные данные

Боковая рама изготовлена из стали 20ГФЛ, допускаемое напряжение, для которой по 3 расчетному режиму составляют 150МПа.

Расчетная схема и принятые допущения

Расчет производился методом конечных элементов с использованием конечно элементного пакета ANSYS 8.0. Для расчета была создана стержневая конечно элементная модель боковой рамы. Особенность боковой рамы, заключающаяся в наличии протяженных узлов, учитывалось путем задания в узлах абсолютно жестких стержней. Длина абсолютно жестких стержней принималась равной 2/3 протяженности узла, на 1/3 протяженности узла в узел заходил деформируемый стержень.

Боковая рама нагружалась тремя силами, приложенными к нижнему поясу. Величина нагрузки складывалась из трех составляющих:

- вертикальной статической нагрузки;

- вертикальной динамической нагрузки;

- вертикальной добавки от действия боковой силы.

Вертикальная динамическая нагрузка определялась путем умножения статической нагрузки на коэффициент вертикальной динамики.

Коэффициент вертикальной динамики в соответствии с «Нормами…», определяется по формуле:


где:  - среднее вероятное значение коэффициента вертикальной динамики;

 - параметр распределения, согласно «Нормам…» принимается равным 1,13.

 - доверительная вероятность, с которой определяется коэффициент вертикальной динамики;

Среднее вероятное значение  определяется по формуле:

где:  - коэффициент, равный для необрессоренных частей тележки 0,05.

 - коэффициент, учитывающий влияние числа осей n в тележке под одним концом экипажа, определяется по формуле:

;

V - конструкционная скорость движения, м/c;

- статический прогиб рессорного подвешивания, м. Для тележки модели 18-100 принимается равный 0,05.

Подставляя эти данные получаем коэффициент вертикальной динамики равный 0,52.

Расчетная схема боковой рамы показана на рис. 20.

Расчетная схема боковой рамы тележки

Результаты расчета

В результате расчета были получены напряжения, возникающие в боковой раме. Распределение эквивалентных напряжений по теории Мизеса показано на рис. 21.

Распределение эквивалентных напряжений в боковой раме (вид сверху и вид снизу)


Как видно из рис. 21 наибольшие напряжения возникают на нижних волокнах нижнего пояса величина этих напряжений составляет 119 МПа, что не превосходит допускаемых.

Характеристики поперечных сечений стержневых конечных элементов.

Сечение № 1 (Верхний пояс)


Сечение № 2 (Наклонный верхний пояс)

Сечение № 3 (Наклонный пояс)


Сечение № 4 (Нижний пояс)

Сечение № 5 (Колонка)


4. РАСЧЕТ АВТОСЦЕПНОГО УСТРОЙСТВА

.1 Расчет поглощающего аппарата

Поглощающие аппараты предназначены гасить часть энергии удара, уменьшая продольные растягивающие и сжимающие усилия, передающиеся на раму кузова через автосцепку.

Пружино-фрикционный поглощающий аппарат шестигранного типа III-2Т применяется в четырехосных грузовых вагонах. Энергоемкость этого аппарата с хорошо приработанными поверхностями достигает 30-65 кДж, а сила полного сжатия составляет примерно 2,5 МН, при 2МН аппарат воспринимает энергию примерно 55 кДж.

Литой корпус аппарата в соответствии с требованиями ГОСТ 977-75 изготовляют, из термически обработанной стали марки 30 ГСЛ-Б. Клинья штампуют из стали марки 30ХС (ГОСТ 4543-71) или марки 30 (ГОСТ 1050-74) с последующей закалкой.

Основные размеры фрикционных элементов, и узлы наклона клиньев выбраны из условия получения больших сил трения при сохранении определенной стабильности работы.

Энергоемкость поглощающего аппарата при соударении двух вагонов:

Э=m1∙V2∙m2∙δ1/4∙(m1+m2)=95,15∙2,52∙85∙0,75/4∙(95,15+85)=52,61 кДж

где m1 - масса брутто проецируемого вагона m1 = 95,5 т;

V - скорость соударения V = 2,5 м/с;

m2 - масса среднего вагона с которым предположительно произойдет соударение m2 = 85 т;

δ1 - коэффициент деформации рамы кузова вагона δ1 = 0,75.

Такую энергоемкость может обеспечить поглощающий аппарат типа III-2Т (30-65 кДж).

4.2 Расчет автосцепки

Автосцепка приведена на рис. 8.

Сечения I-I, II-II является опасными. Проводим расчет на прочность для опасного сечения I-I.

σ1-1=N/F±M/W

где N=250(т)=2,5 МН - продольные силы;=0,13∙0,175-0,05∙0,095=0,02 м2 - площадь сечения;

ξ = 0,05 - эксцентриситет;

М=ξ∙Ν=0,05·2,5=125 кН

W=B∙h2/6-b∙h2/6=0,13∙0,1752/6-0,05∙0,0352/6=5,88∙10-4 м3

σ1-1=2,5/0,02+0,125/5,88∙10-4=338 МПа

Допускаемые напряжения для стали марки 20ГЛФ, из которой изготовлена автосцепка [σ]=392 МПа.

Таким образом, данная автосцепка удовлетворяет условию прочности, т.к. [σ]>σ1-1

.3 Расчет деталей упряжи

Тяговый хомут предназначен для передачи усилия поглощающему аппарату. Он представляет собой отливку, в головной части, которой имеются окно для клина и приливы с отверстиями для прохода болтов, поддерживающих клин. Головная часть тягового хомута соединена с его хвостовой частью верхней и нижней полосками.

Напряжения, возникающие в данном сечении.


где N=2,5 МН - продольная сила при III режиме

F=0,15∙0,03∙2=9∙10-3 м2 -площадь поперечного сечения балки.

Допускаемые напряжения для стали 20ГЛФ равно:

[σ]=0.75∙σт=314 МПа

Данный хомут удовлетворяет условию прочности, т.к. [σ]>σ1-1

5. РАЗРАБОТКА МОДЕРНИЗАЦИИ

При модернизации цистерны, мы должны учитывать:

снижение затрат на модернизацию;

улучшение технико-экономических параметров;

увеличение нагрузки от колесной пары на рельс и т.д.

В качестве модернизации цистерны модели 15-145 я предлагаю в целях еще большего обеспечения безопасности движения, охраны труда обслуживающего персонала, охраны окружающей среды, установить ригельную крышку на люке цистерны. В предложенной конструкции для безопасности открывания крышки люка используют предохранительную скобу.

Модернизированная цистерна представлена на рис. 30

БИБЛИОГРАФИЧЕСКИЙ СПИСОК

вагон цистерна автосцепный тормозной

1) Грузовые вагоны колеи 1520 мм железных дорог СССР (альбом-справочник). Москва. Транспорт 1989 г.

) “Вагоны” под редакцией Шадура Л.А.

) Цистерны (устройство, эксплуатация, ремонт): Справочное пособие. Москва. Транспорт 1990 г.

) Автосцепное устройство железнодорожного подвижного состава. Коломитченко В. В. Москва. Транспорт 1991 г.

) Конструкция вагонов. И.Ф. Пастухов, В.В. Пигунов. Москва. Транспорт 2000 г.

) Бороненко Ю.П.,Эстлинг А.А. “Вписывания вагона в габарит” С-Петербург, 1992 г.

) Реферативный журнал «Железнодорожный транспорт». Выпуск 2001 и 2003 г.

Похожие работы на - Модернизация четырехосной цистерны модели 15-145

 

Не нашли материал для своей работы?
Поможем написать уникальную работу
Без плагиата!
Без нейросетей!