Программа испытаний термопреобразователя технического термоэлектрического термометра ТХК 008-000

  • Вид работы:
    Курсовая работа (т)
  • Предмет:
    Другое
  • Язык:
    Русский
    ,
    Формат файла:
    MS Word
    204,98 Кб
  • Опубликовано:
    2012-11-22
Вы можете узнать стоимость помощи в написании студенческой работы.
Помощь в написании работы, которую точно примут!

Программа испытаний термопреобразователя технического термоэлектрического термометра ТХК 008-000

СОДЕРЖАНИЕ

Введение

Глава 1. Средства и условия испытаний термопреобразователя технического термоэлектрического термометра ТХК 008-000

.1 Основные технические характеристики термопреобразователя ТХК 008-000

.2 Средства испытаний

.3 Условия испытаний

.4 Подготовка к испытаниям

Глава 2. Проведение испытаний термопреобразователя ТХК 008-000

.1 Внешний осмотр термопреобразователя ТХК 008-000

.2 Определение т. э. д. с. термопреобразователя ТХК 008-000

.3 Обработка результатов измерения

Глава 3. Оформление результатов исследований

Заключение

Список литературы

Введение

Термопреобразователем технического термоэлектрического термометра называется термоэлектрический прибор для измерения силы переменного тока, реже электрического напряжения, мощности. Представляет собой сочетание магнитоэлектрического измерителя с одним или несколькими термопреобразователями. Термопреобразователь состоит из термопары <#"579697.files/image001.gif">

Рис. 1.1. Термопреобразователь технический термоэлектрического термометра ТХК 008-000.

Размеры термопреобразователя технического термоэлектрического термометра ТХК 008-000 приведены на рис. 1.2.

Рис. 1.2. Линейные размеры термопреобразователя ТХК 008-000.

Технические характеристики:

Диапазон измеряемых температур с арматурой из стали 12X18H10T <#"579697.files/image003.jpg">

Рис. 1.3. Вертикальная трубчатая печь сопротивления.

Труба 3 с нагревательной обмоткой размещена коаксиально внутри корундовой трубы 5 (марка КВП, № 54), несущей наружную нагревательную обмотку 6 из платинородиевой проволоки марки ПлРд-40 по ГОСТ 18389-73, диаметром 0,5 мм. Шаг намотки проволоки равен 4 мм. Нагреватель покрыт слоем огнеупорной массы толщиной 3 мм имеющей тот же состав.

Обе корундовые трубы с нагревательными обмотками установлены между двумя фланцами 1 и 10 из шамота, в которых сделаны центрирующие пазы для труб, а также для стального экрана 8 в (лист Б-0-ПН-1,0 ГОСТ 19904-74 из стали марки 12ХГ8НГ0Т по ГОСТ 5582-75).

Из стального листа той же марки изготовляют кожух печи 9, поддон 2 и крышку 11. Между кожухом и экраном оставлен воздушный зазор 10 мм, пространство между экраном и корундовой трубой 5 заполнено порошком из окиси алюминия или техническим глиноземом 7.

Нагревательные обмотки печи раздельно питаются током переменного напряжения 50 Гц через разделительные трансформаторы мощностью 1,25 кВт каждый (220/220 В для наружной обмотки и 220/127 В - для внутренней). Напряжение на входе трансформаторов регулируют регулятором напряжения типа ЛАТР-2М. Режим разогрева печи и стабилизация заданных значении температуры рекомендуется определять опытным путем перед вводом печи в эксплуатацию. Ток в обмотках контролируют при помощи амперметров (например, типа Э377) класса точности 1.0 по ГОСТ 8711-78 с верхним пределом измерений до 10 А.

–       амперметр класса точности 1,0 по ГОСТ 8711-78 с верхним пределом измерений до 15 А;

–       регулятор напряжения мощностью до 10 кВт с пределами регулирования напряжения от 0 до 250 В;

–       ртутные стеклянные термометры с ценой деления 0,1 °С и пределами измерений от 10 до 35 °С по ГОСТ 2045-71;

–       трубы по ГОСТ 8680-73 длиной 500 мм, внутренним диаметром (6±0,5) мм и стенками толщиной не более 1 мм;

–       удлинительные провода по ГОСТ 1790-77 и ГОСТ 10821-75. Т. э. д. с. пары скомплектованных удлинительных проводов при температуре рабочего и свободных концов пары, соответственно равной 100 и 0 °С, не должна отклоняться от значений, указанных в ГОСТ 3044-77, более чем на ±0,05 мВ для пары градуировки типа ХА, ±0,10 мВ для пары градуировки типа ХК и 0,01 мВ для лары градуировки типа ПП;

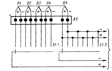
–       многопозиционный бестермоточный переключатель. Схема подключения термопреобразователей к электроизмерительной установке при помощи переключателя при поэлектродном сличении приведена на рис. 1.4, а схема подключения термопреобразователей образцового и поверяемого термоэлектрических термометров к электроизмерительной установке при их сличении - на рис. 1.5;

–       теплоизоляционные сосуды или другие теплоизоляционные средства, обеспечивающие заданную температуру в течение 1 ч с предельным отклонением ±0,1 °С;

–       платиновая и платинородиевая проволока диаметром 0,5 мм по ГОСТ 10821-75;

Рис. 1.4. Схема подключения термопреобразователей образцового и испытуемого термоэлектрических термометров к электроизмерительной установке при поэлектродном сличении (B1...B4 - испытуемые чувствительные элементы; B5 - термопреобразователь образцового термоэлектрического термометра; А1 - термостат для свободных концов; S1 - бестермоточный переключатель).

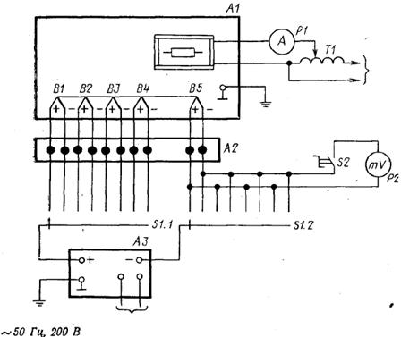
Рис. 1.5. Схема подключения термопреобразователей образцового и испытуемого термоэлектрических термометров к электроизмерительной установке при их сличении (А1 - печь сопротивления; А2 - теплоизолированный сосуд; А3 - микровольтметр; B1...B4 - испытуемые чувствительные элементы; B5 - термопреобразователь образцового термоэлектрического термометра; S1 - бестермоточный переключатель; S2 - кнопка; Т1 - регулятор напряжения).

–       стеклянные пробирки длиной не (150±10) мм, внутренним диаметром (6,5±0,5) мм со стенками толщиной не более 1 мм;

–       защитные стеклянные пробирки длиной не менее 300 мм и внутренним диаметром, при котором проверяемые чувствительные элементы плотно входят в пробирку;

–       прибор для измерения сопротивления изоляции. Тип прибора устанавливают в стандартах или технических условиях на термопреобразователи конкретного типа;

–       установка для испытания электрической прочности изоляции. Тип установки указывают в стандартах или технических условиях на термопреобразователь конкретного типа.

.3 Условия испытаний

При проведении испытаний должны быть соблюдены следующие условия:

–       термопреобразователи разборных конструкций необходимо вынуть из защитной арматуры. К поверке могут быть допущены термопреобразователи разборных конструкций в защитной арматуре (чехле) и термопреобразователи неразборных конструкций, если в условиях испытаний погрешность от теплоотвода не превышает 0,3  (соответствующие требования должны быть указаны в нормативно-технической документации на конкретный тип термопреобразователя - далее НТД);

–       температура воздуха в помещении, относительная влажность и барометрическое давление должны соответствовать нормам установленным для них в НТД по эксплуатации испытуемой установки;

–       изменения температуры воздуха в помещении во время работы испытуемой установки не должны быть более ±0,5 °С в течение 1 ч;

–       вибрация в помещении не должна вызывать отклонений указателя наиболее чувствительного средства измерений более чем на ±0,25 цены наименьшего деления его шкалы;

–       питание печей должно осуществляться стабилизированным напряжением, изменения которого не должны превышать 1 %;

–       в помещении не должно быть пыли, дыма, газов и паров, вызывающих коррозию деталей испытуемой установки или загрязняющих элементы термопреобразователей;

–       электроизмерительная часть испытуемой установки должна быть удалена не менее чем на 1 м от окон, дверей, радиаторов отопления и других устройств, выделяющих тепло, а также защищена от прямых солнечных лучей;

–       части испытуемой установки, снабженные зажимом «Земля», а также никелевый стакан должны быть подключены к контуру заземления. Сопротивление заземления должно быть не более 4 Ом;

–        корпуса печей, наружные стенки которых нагреваются при работе до температуры выше 70 °С, должны быть ограждены (например жесткой сеткой из проволоки);

–       стеклянные вакуумные сосуды Дьюара должны иметь охранные кожухи из жести или пластмассы;

–       перед вводом установки в эксплуатацию должна быть проверена сходимость результатов измерений с использованием поверенного чувствительного элемента любого типа, которая не должна превышать 0,3  ( - допускаемое отклонение т. э. д. с. чувствительного элемента от значений, указанных в ГОСТ 3044-77);

–       должно быть проверено соответствие градиента температуры в термостатах ранее указанным требованиям;

–       должна быть проверена т. э. д. с. помех в измерительной линии установки, которая не должна превышать 2 мкВ.

.4 Подготовка к испытаниям

термоэлектрический термометр поверка испытание

Перед проведением поверки необходимо выполнить следующие подготовительные работы.

. Подготовка основных и вспомогательных средств поверки.

Средства испытаний, входящие в состав измерительной установки (термостаты и нагревательные печи), готовят к работе в соответствии с НТД.

Термопреобразователь образцового платинородий-платинового термометра 3-го разряда при проверке чувствительных элементов из неблагородных металлов помещают в кварцевую защитную пробирку. Рабочий конец его должен касаться дна пробирки.

Теплоизолированные сосуды для термостатирования свободных концов при термостатировании при 0 °С заполняют льдо-водяной смесью, а при термостатировании при комнатной температуре - водой или маслом при комнатной температуре. В сосуд помещают ртутный термометр и стеклянные пробирки.

Глубина погружения пробирок должна быть не менее 120 мм, расстояние между пробирками - не менее 10 мм.

В рабочее пространство печи, предназначенной для испытаний чувствительных элементов из неблагородных металлов, в зоне равномерного распределения температуры устанавливают никелевый стакан или никелевый блок.

В рабочее пространство печи, предназначенной для испытаний чувствительных элементов градуировок типа ПП, вводят защитную кварцевую трубу и центрируют ее по оси печи, подложив огнеупорные подкладки (например, отрезки кварцевых или фарфоровых трубок).

2. Подготовка термопреобразователей градуировок типа ТХК.

При подготовке к поверке в термостатах поверяемые чувствительные элементы помещают в стеклянные пробирки и устанавливают в термостате на глубину не менее 250 мм. Свободные концы поверяемых элементов термостатируют в сосудах и подсоединяют к измерительной установке (см. рис. 1.5). В термостат устанавливают образцовый ртутно-стеклянный термометр.

Свободные концы чувствительных элементов (в случае необходимости удлиненных проводами) и образцового термопреобразователя термостатируют в сосудах как описано выше и подсоединяют к измерительной установке (см. рис. 1.5).

. Подготовка термопреобразователей градуировок типов ПП.

Чувствительные элементы термопреобразователей градуировок типов ПП перед определением их т. э. д. с. отжигают в течение 30 мин электрическим током на воздухе. Перед отжигом поверхность термоэлектродов обезжиривают при помощи тампона, смоченного чистым этиловым спиртом (1 г спирта на чувствительный элемент). Напряжение подводят к свободным концам термоэлектродов от регулятора напряжения, включенного в сеть переменного тока 220 или 127 В частотой 50 Гц. Ток, необходимый для отжига, контролируют по показаниям амперметра. Чувствительные элементы преобразователей градуировок типа ПП с термоэлектродами диаметром 0,5 мм отжигают при токе 10-10,5 А (температура 1450±50 °C). По окончании отжига ток плавно уменьшают до нулевого значения в течение 1 мин.

Поверхность отожженных термоэлектродов должна быть чистой. Чувствительные элементы с неустранимыми при отжиге поверхностными загрязнениями термоэлектродов считают непригодными к применению и к дальнейшей поверке не допускают.

Часть электродов, погружаемую при поверке в печь, армируют чистыми цельными двухканальными керамическими трубками. Для чувствительных элементов градуировок типа ПП применяют изоляционные трубки из пирометрического фарфора или окиси алюминия. Диаметр трубок 3-5 мм, длина 300-500 мм, диаметр каналов не менее 0,9 мм.

В один и тот же канал изоляционной трубки следует помещать термоэлектроды только одной марки.

При армировании отожженных термоэлектродов должны быть приняты меры, исключающие возможность их деформирования и загрязнения особенно на участке, погружаемом в печь при испытании.

Концы термоэлектродов, свободные от керамической изоляции, помещают в гибкие электроизоляционные трубки диаметром до 2,5 мм. На участке длиной 150 мм свободные концы термоэлектродов оставляют без какой-либо изоляции. Не более четырех испытуемых чувствительных элементов складывают в обшив пучок с однотипным образцовым термометром 2-го разряда, выравнивают рабочие концы и обвязывают пучок в двух местах отрезками платинородиевой проволоки диаметром 0,5 мм. Рабочие концы всех термоэлектродов вытягивают на 12-15 мм из керамической изоляции и плотно стягивают их друг с другом вблизи спаев несколькими витками платинородиевой проволоки диаметром 0,3-0,5 мм, прячем электрический контакт между отдельными термоэлектродами должен быть образован в месте их связки.

Пучок чувствительных элементов градуировок типа ПП погружают на глубину (250±10) мм в рабочее пространство горизонтальной трубчатой печи и центрируют по оси защитной кварцевой трубы. Торцевые отверстия печи прикрывают заслонками или щитками из прокаленного листового асбеста.

Свободные концы поверяемых чувствительных элементов (в случае необходимости удлиненных проводами) и образцового термопреобразователя термостатируют в сосудах как описано выше и подсоединяют к измерительной установке (рис. 1.5).

Глава 2. Проведение испытаний термопреобразователя ТХК 008-000

.1 Внешний осмотр термопреобразователя ТХК 008-000

При внешнем осмотре должно быть установлено соответствие чувствительных элементов термопреобразователей следующим требованиям.

Проверку электрической прочности и сопротивления изоляции преобразователей проводят по ГОСТ 6616-74.

Проверку стабильности преобразователей и чувствительных элементов проводят при максимальной температуре длительного применения, установленной в НТД на поверяемый преобразователь, путем трехкратного измерения т.э.д.с. при этой температуре до и после двухчасового отжига в печи.

Чувствительные элементы градуировок типа ТХК должны быть без защитной арматуры, термоэлектроды должны иметь чистую электрическую изоляцию. Длина термопреобразователей и их чувствительных элементов должна быть не менее 250 мм. Термопреобразователи и чувствительные элементы длиной менее 250 мм поверяют по методикам, утвержденным в установленном порядке. Чувствительные элементы с термоэлектродами диаметром 1 мм и более должны иметь клеммные колодки, закрепленные на термоэлектродах, для подключения удлинительных проводов. Термоэлектроды чувствительных элементов должны иметь ровную поверхность без трещин, раковин, расслоений, загрязнений, видимых невооруженным глазом, а также без отслаивающейся окалины. Место сварки рабочих концов термоэлектродов не должно быть пористым или ошлакованным.

Чувствительные элементы градуировок типов ПП должны быть без арматуры и электрической изоляции на термоэлектродах или в электрической изоляции. Длина чувствительных элементов термопреобразователей градуировок типа ПП должна быть не менее 500 мм. Термоэлектроды должны быть свернуты в кольцеобразный моток диаметром 60-100 мм и представлены в упаковке, исключающей возможность их деформирования и загрязнения. Термоэлектроды чувствительных элементов, поступивших на первичную поверку, не должны иметь сварок, перетяжек, резких изгибов под углом. На поверхности термоэлектродов не должно быть видимых невооруженным глазом плен, трещин, раковин, расслоении и загрязнений.

Чувствительные элементы, поступившие на периодическую проверку, могут иметь не более двух сварок по длине каждого термоэлектрода на расстоянии не менее 250 ми от рабочего конца и незначительные загрязнения поверхности, устранимые при отжиге. К испытаниям не допускают чувствительные элементы с хрупкими термоэлектродами.

На каждом чувствительном элементе, поступающем на испытания, должна быть подвешена бирка с указанием номера и обозначения стандартной градуировки. Допускается эти данные указывать на клеммной колодке чувствительного элемента.

Результаты внешнего осмотра заносят в протокол испытаний по формам, приведенным в главе 3. При необходимости чувствительные элементы из благородных металлов взвешивают с погрешностью не более 0,05 г.

2.2 Определение т. э. д. с. термопреобразователя

Градуировочные характеристики чувствительных элементов должны соответствовать их стандартным градуировочным характеристикам в пределах отклонений, допускаемых ГОСТ 3044-77.

При проверке этого требования определяют т. э. д. с. чувствительного элемента при нескольких заданных значениях температуры его рабочего конца и температуре свободных концов, равной 0 °С. Полученные результаты сравнивают с данными стандартных градуировочных таблиц при тех же значениях температуры.

При испытаниях чувствительных элементов их т. э. д. с. должна быть определена не менее чем при четырех значениях температуры, указанных в табл. 2.1.

Таблица 2.1.

Значения температуры при измерениях т. э. д. с.


У чувствительных элементов специального назначения, применяемых в более узком диапазоне температур, указанном заказчиком, допускается определять т. э. д. с. только в границах этого диапазона, но не менее чем при трех значениях температуры, равностоящих друг от друга.

Допускается определять т. э. д. с. термопреобразователей и чувствительных элементов, поступивших на первичное исследование и изготовленных из аттестованных бухт термоэлектродного материала (стандартных образцов свойств термоэлектродных материалов), при одном значении температуры, соответствующем верхнему пределу применения.

Т. э. д. с. чувствительные элементов градуировок типов ТХК определяют в последовательности, приведенной ниже.

Нагревают термостат (водяной или масляный) или горизонтальную трубчатую печь до заданного значения температуры с допускаемым отклонением не более чем ±0,5 °С при нагревании в термостате и ±10 °С при нагревании в печи.

Температуру контролируют образцовым ртутно-стеклянным или платинородий-платиновым термоэлектрическим термометром 3-го разряда. При измерениях т. э. д. с. поверяемых чувствительных элементов температура не должна меняться более чем на 0,1 °С/мин в термостате и 0,4 °С/мин в печи.

Измерения начинают с образцового термометра и заканчивают последним поверяемым чувствительным элементом, после чего все измерения последовательно повторяют в обратном порядке и т.д. до получения четырех отсчетов в каждом ряду.

Интервалы времени между отсчетами т. э. д. с. во всем измерительном цикле должны быть примерно одинаковыми.

По показаниям ртутных стеклянных термометров определяют и заносят в протокол испытаний значения температуры свободные концов  образцового термоэлектрического термометра и проверяемых чувствительных элементов. Погрешность измерения температуры свободных концов не должна превышать 0,1 °С.

Показания образцового ртутного термометра считывают с точностью цены наименьшего деления. Отсчеты т. э. д. с. образцового термоэлектрического термометра производят до  мВ, отсчеты т. э. д. с. поверяемых чувствительных элементов до  мВ. Значения заносят в протокол испытаний (см. ниже). Выполняют операции, перечисленные выше, при всех заданных значениях температуры (см. табл. 2.1).

Определение т. э. д. с. чувствительных элементов градуировок типов ПП методом поэлектродного сличения с образцовыми платинородий-платиновыми и платинородиевыми термоэлектрическими термометрами 2-го разряда проводят в последовательности, приведенной ниже.

Нагревают горизонтальную или вертикальную трубчатую печь до заданного значения температуры с допускаемым отклонением не более чем ±10 °С. Температуру контролируют образцовым термометром. При измерениях т. э. д. с. поверяемых чувствительных элементов температура не должна меняться более чем на 2 °С/мин.

Измеряют т. э. д. с. образцового термометра . Измеряют  термоэлектродов проверяемых чувствительных элементов в паре с одноименными термоэлектродами образцового термометра. Т. э. д. с. каждой пары термоэлектродов измеряют дважды: вначале измерения ведут в прямом порядке, переходя последовательно от первого чувствительного элемента к последнему, после чего измерения повторяют в обратном порядке, снова измеряют .

Все отсчеты проводят до  мВ. Значения  и  с указанием знака заносят в протокол исследования (см. ниже).

По показаниям ртутных стеклянных термометров определяют и заносят в протокол исследования с округлением до 1 °С значения температуры свободных концов  образцового термоэлектрического термометра. Выполняют операции, перечисленные выше, при всех заданных значениях температуры (см. табл. 2.1). Поверяемые чувствительные элементы освобождают от электрической изоляции, свертывают в кольцеобразный моток диаметром 60-100 мм и помещают в упаковку, предназначенную для них.

2.3 Обработка результатов измерения

. Обработка результатов т. э. д. с. чувствительных элементов градуировок типа ТХК.

Из результатов измерений, выполненных ранее, вычисляют средние температуры в термостате по показаниям образцового ртутного термометра и средние значения т. э. д. с. чувствительного элемента.

Средние значения т. э. д. с. образцового термоэлектрического термометра и каждого из поверяемых чувствительных элементов приводят в температуре свободных концов, равной 0 °С. Необходимую поправку определяют в каждом случае по соответствующей стандартной градуировочной таблице, указанной в ГОСТ 3044-77 (градуировок типов ПП и ТХК). Поправка имеет знак «плюс» и численно равна табличному значению т. э. д. с. при такой температуре, какую при исследовании имели свободные концы. Приведенные значения т. э. д. с. заносят в протокол исследования.

В показания образцового ртутного термометра вводят поправки, значения которых даны в свидетельстве исследования, и действительное значение температуры вносят в протокол проверки.

По приведенному значению т. э. д. с. образцового термометра определяют температуру t рабочих концов поверяемых чувствительных элементов по формуле

. (1)

где  - приведенное значение т. э. д. с. образцового термометра, мВ;

 - значение т. э. д. с., взятое из свидетельства на образцовый термометр, ближайшее к ;

 - температура, соответствующая значению , °С;

 - приращение т. э. д. с. образцового платино-родиевого термометра на единицу температуры (мВ/°С), взятое из таблицы 2.2.

Таблица 2.2.

Приращение т. э. д. с. образцового платино-родиевого термометра.


По стандартной градуировочной таблице, указанной в ГОСТ 3044-77, для поверяемых чувствительных элементов градуировок типа ТХК находят нормированное значение их т. э. д. с., соответствующее температуре образцового ртутного термометра или температуре t, вычисленной по формуле (1).

Для каждого поверяемого чувствительного элемента определяют разность между приведенным и нормированным значениями т. э. д. с. при каждой температуре.

Разность указанных значений должна быть в пределах, установленных ГОСТ 3044-77. Чувствительные элементы термопреобразователей технических термоэлектрических термометров, не удовлетворяющих этому требованию хотя бы при одном из заданных значений температуры, должны быть забракованы.

Результаты измерений т. э. д. с. термопреобразователей разборных конструкций, поверяемых в арматуре, и термопреобразователей неразборных конструкций обрабатывают аналогично.

Обработка результатов измерений т. э. д. с. при поверке чувствительных элементов, градуировок типов ПП проводится методом поэлектродного сличения.

Из результатов измерений, выполненных ранее, вычисляют среднее значение т. э. д. с. образцового термометра и приводят его к температуре свободных концов, равной 0 °С, как указано ранее.

По формуле (1) находят значение температуры t, при которой произведено поэлектродное сличение. Значения  берут из табл. 2.2 при поверке чувствительных элементов градуировки типа ПП.

Из результатов измерений, выполненных ранее, вычисляют средние арифметические значения т. э. д. с. термоэлектродов, каждого исследуемого чувствительного элемента в паре с одноименными термоэлектродами образцового термометра ().

Определяют разность  по формуле

, (2)

где  - т. э. д. с. пары, образованной положительными термоэлектродами образцового термометра и исследуемого чувствительного элемента при температуре t, мВ.

 - т. э. д. с. пары, образованной отрицательными термоэлектродами образцового термометра и исследуемого чувствительного элемента при температуре t, мВ.

Вычисляют значение т. э. д. с.  поверяемых чувствительных элементов при температуре t no формуле

, (3)

где  - т. з. д. с. образцового термометра, значения которой даны в свидетельстве об испытании при температуре t. По стандартной градуировочной таблице, приведенной в ГОСТ 3044-77, для поверяемых чувствительных элементов градуировок типа ПП находят нормированное значение их т. э. д. с, соответствующее температуре t, вычисленной по формуле (1).

Чувствительные элементы технических термоэлектрических термометров, не удовлетворяющие этому требованию хотя бы при одном из заданных значений температуры, должны быть забракованы.

При необходимости указания значений термоэлектродвижущей силы  в рабочем диапазоне кратковременного режима работы эти значения определяют путем графической экстраполяции функции  или

, (4)

где ;

 - значения термоэлектродвижущей силы исследуемых термопреобразователей;

 - значения термоэлектродвижущей силы образцового термопреобразователя.

Полученные значения  не должны превышать значений, указанных в ГОСТ 3044-77.

Глава 3. Оформление результатов исследований

Результаты исследований считают положительными и чувствительный элемент признают годным к применению, если он отвечает требованиям настоящего стандарта.

Положительные результаты поверки оформляют:

–       нанесением клейма на клеммную колодку чувствительного элемента или бирку;

–       выдачей свидетельства о государственной поверке по форме, установленной Госстандартом, или свидетельства о ведомственной проверки по форме, установленной органами ведомственных метрологических служб:

–       записью результатов государственной или ведомственной экспертизы в эксплуатационных документах по ГОСТ 2.601-68 в случаях, указанных в НТД на чувствительный элемент или термопреобразователь.

На лицевой стороне свидетельства о проверке должны быть указаны:

–       наименование организации, производившей проверку;

–       вид проверки (первичная, периодическая);

–       номер свидетельства;

–       номер чувствительного элемента;

–       тип стандартной градуировки чувствительного элемента;

–       пределы измерений (для чувствительных элементов специального назначения, применяемых в узком диапазоне температур);

–       наименование организации, представившей чувствительный элемент на проверку;

–       заключение о соответствия чувствительного элемента требованиям настоящего стандарта и годности его к применению;

–       дата оформления свидетельства.

На оборотной стороне свидетельства указывают:

–       диаметр, длину или массу термоэлектродов чувствительного элемента (для чувствительных элементов градуировок типов ПП);

–       глубину погружения чувствительного элемента в рабочее пространство печи при проверке.

Свидетельство о проверке должно быть подписано руководителем лаборатории, в которой проверка была выполнена и заверено печатью. При отрицательных результатах поверки клеймо предыдущей поверки гасят.

Приведем образцы заполняемых документов.

) Форма и пример заполнения протокола проверки чувствительных элементов технических термоэлектрических термометров градуировок типа ПП.


) Форма и пример заполнения протокола проверки чувствительных элементов технических термоэлектрических термометров градуировок типа ТХК.

ЗАКЛЮЧЕНИЕ

Таким образом, в настоящей работе подробно рассмотрен вопрос испытаний термопреобразователя технического термоэлектрического термометра ТХК 008-000 предназначенного для измерения температуры газообразных и жидких химически неагрессивных, а также агрессивных сред, не разрушающих защитную арматуру, и поверхности твердых тел. Документально обоснованы методики испытаний и отчетные документы по ним.

СПИСОК ЛИТЕРАТУРЫ

1. Преображенский В.П. Теплотехнические измерения и приборы. М.: Энергия, 1978.

2. Автоматические приборы, регуляторы и вычислительные системы: Справочное пособие. - 3-е изд. перераб. и доп./Под ред. Б.Д. Кошарского. Л.: Машиностроение, 1976.

3. Монтаж приборов и средств автоматизации: Справочник К.А. Алексеев, В.С. Антипин, Г.С. Борисова и др.; под ред. А.С. Клюева. - 2-е изд., перераб. и доп. М.: Энергия, 1979.

. Артемьев Б.Г., Голубев С.М. Справочное пособие для работников метрологических служб. - 2-е изд., перераб. и доп., в двух книгах. М.: Изд-во стандартов, 1985.

. Клюев А.С. Аппаратура для поверки приборов технологического контроля. М.; Энергия, 1979.

6. Паперный Е.А., Эйдельштейн И.Л. Погрешности контактных методов измерения температуры. М.: Энергия, 1966.

7. Методы и средства измерения температуры//Приборы и системы управления. 1971. № 9. С. 11-44.

8. СНиП 3.05.06-85. Электротехнические устройства. Госстрой СССР. М.: ЦИТП Госстроя СССР, 1986.

. СНиП 3.05.07-85. Системы автоматизации. Госстрой СССР. М.: ЦИТП Госстроя СССР, 1986.

10. Правила техники безопасности при эксплуатации электроустановок. Упр. по технике безопасности и промсанитарии Минэнерго СССР. 2-е изд., перераб. и доп. М.: Энергоатомиздат, 1986. Раздел 18: Электрическая часть устройств тепловой автоматики, теплотехнических измерений и защит.

. ГОСТ 8.338-78*. Термопреобразователи технических термоэлектрических термометров.

Похожие работы на - Программа испытаний термопреобразователя технического термоэлектрического термометра ТХК 008-000

 

Не нашли материал для своей работы?
Поможем написать уникальную работу
Без плагиата!
Без нейросетей!