Ознакомление с видами исполнительных механизмов и их основными характеристиками
Цель работы: ознакомление с видами
исполнительных механизмов и их основными характеристиками
. Классификация исполнительных механизмов
исполнительный
механизм электрический
Исполнительный механизм обычно состоит из
серводвигателя и регулирующего органа. Серводвигатель воздействует на объект
регулирования или непосредственно, или при помощи регулирующего органа.
Регулирующий орган может быть выполнен в виде
вентиля, клапана, задвижки, крана, шибера, заслонки и др., которые
устанавливаются на трубопроводах и газоходах с протекающими по ним жидкостью,
газом, паром и т.п. Иногда исполнительный механизм (серводвигатель и
регулирующий орган) выполняется в одном блоке.
В зависимости от вида применяемой
вспомогательной энергии исполнительные механизмы можно разделить на
гидравлические, пневматические и электрические.
Гидравлические и пневматические исполнительные
механизмы характеризуются: а) простотой конструкции; б) большими выходными
моментами или усилиями при малых габаритах; в) высоким К.П.Д.; г) большой
надежностью. По своей конструкции эти серводвигатели исполнительных механизмов
можно разделить на: 1) поршневые двигатели; 2) мембранные двигатели; 3)
шестеренчатые двигатели.
Электрические исполнительные механизмы
характеризуются: а) разнообразием типов электродвигателей; б) простотой питания
в промышленных условиях; в) легкостью получения больших скоростей. В качестве
серводвигателей электрических исполнительных механизмов используются: 1)
двигатели постоянного тока; 2) двигатели переменного тока.
Выбор того или иного типа исполнительного
механизма зависит от типа применяемого регулирующего устройства. В нефтяной
промышленности большое применение находят пневматические исполнительные
механизмы, отличающиеся надежностью действия и полной безопасностью в пожарном отношении.
Выбор исполнительного механизма обычно определяется следующими основными
факторами: 1) применяемым видом вспомогательной энергии; 2) величиной и
характером требуемого перестановочного усилия или мощности; 3) допускаемой
инерционностью; 4) желательными габаритами и весом; 5) зависимостью рабочих
характеристик от внешних влияний; 6) надёжностью.
. Пневматические исполнительные механизмы
Рис.1 Устройство пневматического исполнительного
механизма
Принцип действия пневматического исполнительного
механизма основывается на том, что закреплённая между крышками 1 и 2 мембрана 3
(рис. 1) прогибается в зависимости от разности давлений, создаваемых с одной
стороны воздухом, с другой стороны пружиной 7. Пружина одним концом упирается в
мембраны с помощью металлического диска 5 и направляющей стакана 6, а другим
концом в неподвижный кронштейн 8. Давление на мембрану подаётся при помощи
штуцера 4.
Рис. 2 Устройство пневматического исполнительного
механизма без пружины
К центру стакана 6 прикреплён шток 9 привода,
который при помощи гайки 10 соединятся со штоком 11 золотника 12. золотник 12
имеет возможность перемещаться внутри седла 13 корпуса клапана 14.
При отсутствии давления воздуха на
мембраны золотник под действием пружины поднимается вверх, и клапан
открывается. Когда на мембраны подаётся давление воздуха, золотник перемещается
вниз, и клапан закрывается. С помощью диска 15 и шкалы 16 можно наблюдать за
положением золотника. Корпус клапана снабжён сальником 17. Предварительное
сжатие пружины производится с помощью гайки 18. Опора 19 и шариковый подшипник
20 облегчают регулировку степени сжатия пружины и предотвращают скручивание
мембраны. Для большей части исполнительных механизмов давление воздуха на
мембрану меняется от 0 до 1 кг/
.
Для создания лучшей характеристики,
работы мембранного серводвигателя желательно предварительное натяжение пружины.
На Рис. 2 показан исполнительный
механизм без пружины. Вместо пружины на мембрану воздействует давление
регулируемой среды. Этот тип исполнительных механизмов устанавливается на
линиях подачи газа в печь при регулировании температуры. Если давление воздуха
над мембраной падает, то золотник поднимается и клапан прикрывается, и
наоборот. При неизменном давлении воздуха над мембраной исполнительный механизм
автоматически поддерживает неизменное давление газа после клапана, так как
незначительные отклонения давления газа от величины, равной давлению воздуха, вызывают
перемещения мембраны золотника, направленные в сторону поддержания этого
давления. Исполнительный механизм с мембранным приводом может быть использован
для приведения в действие поворотной заслонки. Для этого шток мембранного
привода соединяется с рычагом. свободный конец которого может быть соединен
тягой с заслонкой. При конструировании мембранных исполнительных механизмов
диаметр мембраны выбирается с учетом сил, противодействующих движению золотника
и штока клапана. Пружина привода, служащая для возвратного перемещения
золотника, штока и мембраны, должна быть достаточно сильной, чтобы сохранить
одинаковые положения золотника при обратном ходе. Между давлением воздуха над
мембраной и перемещением или ходом золотника сохраняется почти прямолинейная зависимость.
Некоторые отклонения от прямолинейности имеют место вследствие изменения
рабочей площади мембраны при ее прогибе. Однако эти отклонения не превышают 1 -
2% от хода золотника.
Для пневматических исполнительных
механизмов весьма существенной является величина гистерезиса. Допустимая
величина гистерезиса, т.е. разница между прямым и обратным ходом, не должна
превышать 2% полного хода золотника. Величина гистерезиса в значительной
степени зависит от силы трения в сальнике штока клапана, которая может в
значительной степени возрасти вследствие плохой смазки и тугой затяжки, что в
конечном счете может привести к возникновению недопустимо большой зоны
гистерезиса. Поэтому при эксплуатации необходимо следить за наличием смазки в
сальнике и за его набивкой.
Гидравлические исполнительные
механизмы обычно выполняются поршневыми или шестеренчатыми. Поршневые
исполнительные механизмы выполняются однопоршневыми и многопоршневыми.
Однопоршневые механизмы, в свою очередь, разделяются на механизмы
одностороннего и двустороннего действия с поступательным и вращательным
движением.
Рис. 3 Гидравлические исполнительные
механизмы; а) поршневой без регулирующего органа; б) поршневой с кривошипной
передачей; в) поршневой с вращательным движением поршня двустороннего действия
без регулирующего органа.
Принцип действия поршневых
исполнительных механизмов основан на том, что создаваемая разность усилий,
действующих с двух сторон на поршень, вызывает соответствующее перемещение
поршня.
На Рис. 3а показан разрез и общий
вид поршневого исполнительного механизма без регулирующего органа.
На Рис. 3б показан поршневой
исполнительный механизм с кривошипной передачей и общий вид исполнительного
механизма с регулирующим органом.
На Рис. 3в показан исполнительный
механизм с вращательным движением поршня двустороннего действия без
регулирующего органа. В поршневых исполнительных механизмах, работающих при
больших давлениях, следует обращать особое внимание на уплотнение в местах
трения.
Существенной характеристикой
исполнительного механизма является время полного хода, т.е. время, в течении
которого поршень серводвигателя переместится из одного крайнего положения в
другое при полностью открытом подводе рабочей жидкости к двигателю.
Время полного хода можно определить
из выражения:
, где
- максимальное проходное сечение
трубопровода, подводящего рабочую жидкость к механизму,
;
- максимальный рабочий ход поршня
серводвигателя,
;
- площадь поршня серводвигателя,
;
- удельный вес рабочей среды, кг/
;
- рабочее давление, кг/
;
- суммарная нагрузка на
серводвигатель, кг;
- ускорение силы тяжести.
Переходной процесс данных исполнительных
механизмов можно описать дифференциальным уравнением вида:
или
, где
- постоянная времени
исполнительного механизма;
- перемещение поршня двигателя;
и
- коэффициенты пропорциональности;
- оператор дифференцирования.
. Многопоршневые исполнительные
механизмы
На Рис. 4 изображен многопоршневой
исполнительный механизм, принцип действия которого сводится к следующему. К
нескольким цилиндрам 1, размещенным по периферии в теле массивного ротора 2,
который вращается в корпусе 3, подводится по каналу 4 поочередно масло под
давлением. Поршни 5, перемещаясь под давлением масла через шарнирные сочленения
6, воздействуют на наклонно расположенный диск 7. Усилие, с которым действует
каждый поршень на диск, разлагается на нормальное к плоскости диска, гасящееся
упором, и тангенциальное, создающее вращающий момент на диск относительно его
оси вращения. Диск, вращаясь поворачивает ротор и тем самым подводит очередной
поршень к каналу 4. При обратном холостом ходе поршня масло свободно выливается
наружу по каналу 8.
Изменением наклона диска можно
изменить рабочий ход поршней, а следовательно и мощность двигателя. Количество
рабочих цилиндров обычно колеблется в пределах от 5 до 9. Рабочий угол a наклона диска 7 к
вертикальной плоскости изменяется обычно в пределах 12-15°.
Рис. 4 Многопоршневой исполнительный
механизм
Исполнительные механизмы данной
конструкции позволяют получить большой крутящий момент в небольших габаритах.
Инерционность исполнительного двигателя в переходном режиме весьма
незначительна.
. Шестеренчатые исполнительные
механизмы
Рис. 5 Шестеренчатый исполнительный механизм
Принцип действия шестеренчатого исполнительного
механизма изображен на Рис. 5, состоит в следующем. Рабочая жидкость под
давлением подводится к отверстию в корпусе 1 механизма и, воздействует на зубцы
шестерён 2 и 3, заставляет последние вращаться. Жидкость под давлением создаёт
соответствующий вращающий момент на валу 3. С помощью регулировки давления
рабочей жидкости можно менять вращающий момент механизма. Шестеренчатый
механизм в динамическом режиме обладает весьма малой инертностью.
. Электрические исполнительные механизмы с
постоянной скоростью
Электрические исполнительные механизмы находят
широкое применение для перемещения регулирующих органов (дроссельных заслонок,
клапанов, кранов, реостатов и т.п.).
Наибольшее распространение среди электрических
исполнительных механизмов (ЭИМ) получили однооборотные ЭИМ с постоянной
скоростью. Они включаются через пусковые устройства (пускатели, усилители)
после поступления командных сигналов от электронных регулирующих приборов с
релейно-импульсным выходом. В состав ЭИМ обычно входят: асинхронный двигатель,
редуктор, концевые и путевые выключатели, датчики положения, тормозное
устройство, ручной привод.
Как отдельное изделие выпускаются однооборотные
ЭИМ типа МЭО, МЭОК, МЭОБ.
В ЭИМ типа МЭО электродвигатели типа ДСР и ДАУ -
однофазные, а типа 4А - трёхфазные. В ЭИМ типа МЭОК и МЭОБ - двигатели
трёхфазные типа АОЛ. Механизмы типа МЭО рассчитаны на бесконтактное управление
с помощью магнитных усилителей типа УМД или реверсивного тиристорного пускателя
ПБР-2-3, ПБР-2М или ПБР-3А (для трёхфазного типа А4), а также допускают
контактное управление с помощью магнитных пускателей МКР-0-58 или МПРТ-69.
Механизмы типа МЭОК рассчитаны на контактное управление от пускателя ПМРТ, а
типа МЭОБ - на бесконтактное управление от тиристорного пускателя типа У-101
или ПБР-3А. Однооборотные ЭИМ типа МЭО, МЭОК, МЭОБ сочленяются своими рычагами
на выходном валу через тяги с рычагами регулирующих клапанов.
В качестве регулирующих органов, сочленяемых с
ЭИМ, применяются клапаны типа 6с, клапаны типа Т, заслонки типа ПРЗ. Полный
рабочий угол поворота рычага клапана типа 6с составляет 90°,
клапана типа Т - 56°,заслонки ПРЗ - 90°.
Клапаны и заслонки могут устанавливаться ка на горизонтальных, так и на
вертикальных участках трубопроводов. Присоединение клапанов к трубопроводам
производится своркой, а присоединение заслонки фланцевое.

Более предпочтительным для целей автоматического
регулирования являются выпускаемые промышленностью регулирующие органы с
электрическим или гидравлическим исполнительным механизмом как единое изделие.
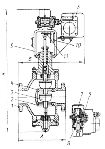
Рис. 7 Общий вид регулирующего клапана с
электроприводом 25ч914нж: 1) корпус с крышками; 2) нижнее седло; 3) шток в
сборе с затворами; 4) верхнее седло; 5) стойка; 6) электрический однооборотный
механизм (МЭО); 7) рейка; 8) пружина; 9) вал-шестерня; 10) шкала; 11) указатель
Клапаны регулирующие с ЭЛИ типа 25ч939нж (Рис.
6) и 25ч940нж. Предназначены для установки на трубопроводах диаметром до 80 мм
для жидких и газообразных сред температурой до 220°С
и давлением 1,6 МПа. Клапаны являются двухседельными, с линейной пропускной
характеристикой; присоединение к трубопроводам фланцевое. Устанавливаются на
горизонтальных трубопроводах вертикально с ЭИМ вверх. В качестве ЭИМ применены
однооборотные исполнительные механизмы типов МЭ0-6,3/10-0,25 для 25ч939нж
(потребляемая мощность 65 Вт, напряжение 220В, 50 Гц) и ЕСПА-02-ПВ для 25ч940нж
(потребляемая мощность 40 Вт, напряжение 220В, 50 Гц).
Клапаны регулирующие с ЭИМ типа 25ч914нж
предназначены для установки на трубопроводах диаметром 100-300 мм для воды и
пара с температурой до 225°С
(диаметр 100-200 мм) и до 200°С
(диаметр 250-300 мм) и давлением до 1,6 МПа. Клапаны двухседельные с линейной и
равнопроцентной пропускной характеристикой, с фланцевым соединением (Рис. 7).
Перепад давлений на клапане не должен превышать 0,4 МПа. Для воды перепад
давлений не должен превышать
(
- абсолютное давление воды до клапана,
МПа;
- давление
парообразования при рабочей температуре, МПа), выше которого возникает
кавитация. Установка клапанов диаметром 100 и 150 мм - любая, диаметром 200-300
мм - вертикально с ЭИМ вверх (отклонение от вертикали не более 15°). Температура окружающей
среды для клапанов диаметром 100,150 мм 5-50°С,
для клапанов диаметром 200-300 мм от -30 до +50°С. Монтаж клапанов должен производиться на
трубопроводах, имеющих прямые участки длиной не менее 10 диаметров условных
проходов до и после клапанов. Концы этих трубопроводов должны быть закреплены
на опорах для устранения усилий на болты фланцевых соединений клапанов.
7. Электрические исполнительные
механизмы с регулируемой скоростью
Рассмотренные выше электрические
исполнительные механизмы работают в режиме “включено - выключено”, что иногда
не дает возможности получить высокое качество процесса регулирования. Кроме
того, наличие контактов в электрических исполнительных устройствах постоянной
скорости понижает надёжность их работы и усложняет их эксплуатацию. На Рис. 8
приведена принципиальная схема исполнительного механизма, скорость выходного
вала которого в определенных пределах пропорциональна входному сигналу.
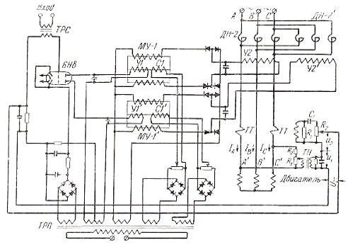
Рис. 8 Схема исполнительного
механизма с регулируемой скоростью
Исполнительный механизм состоит из
магнитных усилителей МУ-1 и МУ-1' с электронной лампой и трансформатором ТРС на
входе, трехфазного асинхронного двигателя, управляемого при помощи дросселей
насыщения ДН-2 и ДН-2', стабилизирующего устройства и питающего трансформатора
ТРП. В качестве привода исполнительного механизма применен трехфазный
асинхронный двигатель с короткозамкнутым ротором, который наиболее прост и
надежен в электрических механизмах переменной скорости.
Плавное регулирование скорости
двигателя производится при помощи дросселей насыщения ДН-2 и ДН-2'. При
подмагничивании дросселей ДН-2 двигатель вращается в одну сторону, а при
подмагничивании дросселей ДН-2 - за счет изменения порядка следования фаз -
двигатель реверсирует. Для усиления сигнала, поступающего с вторичного прибора
или регулирующего устройства, до величины, необходимой для управления
двигателем, применён двухкаскадный магнитный усилитель. В первом каскаде
усилителя использованы магнитные усилители с обратной связью, а во втором
каскаде - дроссели насыщения без обратной связи. Применение усилителя с
обратной связью позволяет получить нужный коэффициент усиления без применения
специальной обмотки обратной связи. В магнитных усилителях предусмотрены
обмотки смещения, питаемые от отдельных обмоток трансформатора питания ТРП. В
системах взаимосвязанного регулирования, а также в регуляторах со сложным
законом регулирования или с обратными связями часто бывает необходимо
производить суммирование напряжений переменного или постоянного тока на входе
усилителя исполнительного механизма. Для этой цели на входе усилителя
исполнительного механизма установлена электронная лампа, работающая в режиме
фазочувствительного каскада.
Стабилизация системы осуществляется
с помощью стабилизирующей связи на переменном токе, создаваемой положительной
обратной связью по току и отрицательной обратной связью по напряжению.
Трансформатор обратной связи по напряжению ТН включается в те фазы двигателя, в
которые перекрёстно включены дроссели.
Вывод: ознакомилась с видами
исполнительных механизмов и их основными характеристиками.