Модернизация котла пищевого газового секционно-модульного КПГСМ-60
Модернизация котла пищевого газового
секционно-модульного КПГСМ-60
Реферат
Основные требования, предъявляемые к тепловому оборудованию
предприятий общественного питания, являются общими для большинства тепловых
аппаратов. Это технологические, эксплуатационные, энергетические,
конструктивные, экологические и экономические требования. Особое место занимают
требования, связанные с охраной труда обслуживающего персонала. Все
перечисленные требования взаимосвязаны. Кроме того, каждое из перечисленных
требований многоплановое и влияет на конструктивные решения аппарата и выбор
системы управления.
Систематизирование теплового оборудования для предприятий
общественного питания в рамках классификации аппаратов для тепловой обработки
кулинарной продукции по различным признакам позволяет сделать правильный выбор
аппарата для тех или иных технологических процессов обработки сырья,
полуфабрикатов и готовой продукции.
Анализ современного теплового оборудования, выбор и расчет
аппарата выполнены в данной работе. Проект содержит ____ страниц текста
пояснительной записки и 2 листа графической части.
Ключевые слова: котел пищеварочный, опрокидывающий,
электрический, паровой, газовый, тепловые расчеты.
Содержание
Введение
1. Анализ современного оборудования
1.1 Назначение и классификация пищеварочных котлов
1.2 Современные конструкции котлов
1.3 Технико-экономическое обоснование темы проекта
1.4 Задачи проекта по теме "Модернизация котла газового
секционного модульного КПГСМ-60"
2. Описание модернизированной конструкции котла газового
секционного модульного КПГСМ-60
2.1 Назначение и область применения
2.2 Описание конструкции и принципа действия
2.3 Техническая характеристика котла
3. Расчеты, подтверждающие работоспособность конструкции
3.1 Технологические расчеты
3.2 Теплотехнические расчеты
Определим площадь поверхности нагрева.
3.3 Конструктивные размеры аппарата
3.3.1 Диаметры патрубков для теплоносителей
3.3.2 Расчет тепловой изоляции
3.4 Расчет на прочность
3.4.1 Корпус аппарата
3.4.2 Выпуклое днище
4. Мероприятия по охране труда и технике безопасности при
обслуживании оборудования предприятий общественного питания
4.1 Мероприятия по охране труда и технике безопасности при
обслуживании газового котла
Заключение
Список использованной литературы
Введение
Разнообразие технологических процессов обуславливают выпуск
качественной продукции сложного производства при оснащении его современными
машинами, аппаратами и механизмами. В аппаратах протекают технологические
процессы, связанные с разными методами обработки пищевых продуктов, тепловыми,
физико-химическими, гидромеханическими и др.
Многие искусственные химические, пищевые, биологические
продукты представляют собой коллоидные капиллярно-пористые тела сложного
химического состава. Поэтому методы и режимы обработки продуктов должны
выбираться с учетом их технологических свойств и на основе анализа процессов,
протекающих внутри самих продуктов.
Создание рациональных конструкций аппаратов требует глубокого
знания процессов, протекающих как в рабочей камере, так и в обрабатываемых
материалах. Целый ряд процессов пищевых и химических производств (варка, сушка,
выпаривание, экстрагирование и др.) являются нестационарными и необратимыми.
Они протекают с переменной, обычно убывающей скоростью, так как чем ближе к
равновесию, тем меньше движущая сила процесса.
Аппараты, служащие для концентрации растворов путем
выпаривания, называются выпарными, или варочными аппаратами. В зависимости от
давления над кипящей средой аппараты бывают открытыми, работающими при
атмосферном давлении и вакуум-выпарными, работающими при давлении ниже
атмосферного. Аппараты периодического действия - варочные котлы открытого и
закрытого типов от 12 до 120 л с механическими мешалками и без них. Непрерывный
цикл тепловой обработки осуществляется в змеевиковых, пленочных и трубчатых
теплообменных аппаратах.
котел газовый секционный модульный
Рациональная эксплуатация аппаратов и анализ их работы
базируются на глубоком знании теории, конструкции аппаратов и протекающих в них
процессов.
Процессы теплообмена широко применяются во многих технологиях
пищевых производств. Наиболее распространенным теплоносителем в выпарных
аппаратах является насыщенный водяной пар. Это объясняется рядом его
достоинств, среди которых особенно важными являются большая энтальпия, высокий
коэффициент теплоотдачи, постоянная температура конденсации при данном
давлении, а также возможность простого и гибкого регулирования процесса
обогревания аппарата.
Правильный выбор и эффективная эксплуатация технологического
оборудования позволяют повысить качество обслуживания клиентов предприятий
общественного питания, интенсифицировать труд обслуживающего персонала, снизить
затраты физического труда, уменьшить потери сырья и удельные расходы энергии.
Это позволит планомерно снижать себестоимость продукции при стабильно высоком
ее качестве и одновременно дает возможность создать компактные производственные
предприятия, цехи и участки с рациональной организацией труда работников.
В настоящее время изменились требования и к обслуживающему
персоналу, в том числе и к электромеханикам, поварам и другим работникам,
осуществляющим эксплуатацию, а также монтаж, наладку, техническое обслуживание
и ремонт механического и теплового оборудования.
Развитие предприятий общественного питания, повышение
качества обслуживания и приготовленных блюд тесно связаны с научно-техническим
прогрессом, определяющим совершенствование всего технологического процесса.
1. Анализ
современного оборудования
Одним из основных процессов обработки продуктов является
термическая обработка. В результате такой обработки в продуктах происходят
глубокие физические, химические и биохимические изменения. Продукты изменяются
в массе, цвете, объеме, улучшаются их органолептические свойства.
Многочисленные тепловые процессы (нагревание, уваривание и
кристаллизация, растворение, стерилизация и т.п.) проводят при определенном
режиме (продолжительность и температура тепловой обработки, температура
теплоносителя).
На предприятиях общественного питания тепловое оборудование
применяется в горячем, кондитерском, мучном цехах и на раздаче.
Тепловое оборудование классифицируется по следующим
признакам: технологическому назначению; виду источников тепла; принципу
действия; способу обогрева; степени автоматизации и т.д.
По технологическому назначению оборудование подразделяется на
универсальное (например, электрическая плита) и специализированное (кофеварка,
пекарский шкаф, котлы).
По виду источника тепла тепловое оборудование подразделяется
на электрическое, газовое, огневое (твердо - и жидкотопливное) и паровое.
По способу обогрева различают тепловое оборудование с
непосредственным обогревом, косвенным обогревом. При непосредственном обогреве
тепло передается от греющей среды к термически нагреваемому продукту через разделительную
стенку (электроплиты, кипятильники).
При косвенном обогреве тепло передается от греющей среды к
нагреваемому продукту через промежуточный теплоноситель - водяной насыщенный
пар (пищеварочные котлы, сковороды).
Для варки продуктов способом объемного обогрева применяются
аппараты, в которых нагрев продуктов производится в элекгромагнитном поле
сверхвысокой частоты (СВЧ-аппараты).
По принципу действия тепловые аппараты подразделяются на
аппараты непрерывного и периодического действия. Аппараты непрерывного действия
характеризуются тем, что загрузка и тепловая обработка продуктов, а также
выгрузка готовых изделий них производится одновременно.
В аппараты периодического действия сначала загружают продукты
и производят их тепловую обработку, а после доведения до готовности разгружают.
По степени автоматизации различают аппараты не
автоматизированные (твердо - и жидкотопливные) и автоматизированные, в которых
работа оборудования и контроль за режимом тепловой обработки осуществляются в
самом аппарате.
При эксплуатации неавтоматизированного оборудования - котлов,
плит, кипятильников, работающих на огневом обогреве, - контроль за его
безопасной работой и регулированием технологического процесса приготовления
пищи осуществляется поваром. К этому виду оборудования относятся, например,
кухонные плиты.
При эксплуатации оборудования на оборудования на газе
(котлов, плит) его безопасная работа контролируется приборами автоматики, а
технологический режим регулируется вручную. При эксплуатации оборудования с
электрообогревом процессы контроля за безопасной работой и за соблюдением
теплового режима в камере осуществляется автоматически. К такому виду
оборудования относятся электрические котлы, пекарные и жарочные шкафы,
различные жаровни и др.
По конструктивному решению тепловые аппараты классифицируются
на несекционные и секционные, немодулированные и модулированные.
Несекционные тепловые аппараты имеют различные габариты,
конструктивное исполнение; их детали и узлы не унифицированы, и они
устанавливаются индивидуально, без учета блокировки с отдельными секциями
других аппаратов с целью получения блока аппаратов требуемой мощности и
производительности.
В основу конструкции модульных аппаратов положен единый
размер - модуль. При этом ширина (глубина) и высота до рабочей поверхности всех
аппаратов одинаковы, а длина кратна модулю. Основные детали и узлы этих
аппаратов максимально унифицированы.
Отечественная промышленность выпускает секционное
модулированное оборудование с модулем 200±10 мм. Ширина оборудования равна 840 мм,
а высота до рабочей поверхности 850±10 мм, что соответствует основным средним
антропометрическим данным человека.
Внедрение модулированного оборудования облегчает
стандартизацию и унификацию узлов и деталей аппаратов, что способствует
упрощению их эксплуатации, ремонта и монтажа, а также проведению его поэтапной
модернизации. За счет широкой унификации узлов и деталей обеспечивается
снижение стоимости оборудования при его изготовлении.
Для информирования специалистов о новых видах выпускаемого
отечественного оборудования по производительности, виду энергоносителя,
целевому назначению, году выпуска в России принята индексация теплового
оборудования в соответствии с ГОСТами. В основу индексации положено
буквенно-цифровое обозначение оборудования. Так, первая буква соответствует
наименованию группы, к которой относятся данные аппараты, например плиты - П,
котлы - К, шкафы - Ш и т.д.
Вторая буква соответствует наименованию вида оборудования,
например секционные - С, пищеварочные - П. Третья буква соответствует
наименованию энергоносителей, например паровые - П, газовые - Г, электрические
- Э, твердо - топливные - Т.
Цифра, отделенная от буквенного обозначения дефисом,
соответствует типоразмеру или основному параметру данного оборудования: площади
жарочной поверхности, числу конфорок, числу жарочных шкафов, производительности
по кипятку, вместимости котла и т.д.
В индексацию секционного модулированного оборудования
вводится четвертая буква М - модулированный.
Например, КПГСМ-60 - котел пищеварочный, газовый, секционный
модульный, вместимостью 60 л.
1.1
Назначение и классификация пищеварочных котлов
Пищеварочные котлы предназначены для варки бульонов, супов,
каш, уваривания сиропов и других блюд на предприятиях общественного питания.
Все пищеварочные котлы классифицируются следующим образом.
По виду используемой энергии: подразделяются на твердо -
топливные, электрические, газовые и паровые.
По способу установки: на неопрокидывающиеся, опрокидывающиеся
и со съемным варочным сосудом.
По геометрическим размерам варочного сосуда: на
немодулированные секционные и модулированные и котлы под функциональные
емкости. Немодулированные пищеварочные котлы имеют цилиндрическую форму
варочного сосуда. Секционные модулированные котлы и котлы под функциональные
емкости имеют варочный сосуд с прямоугольной (в плане) варочной емкостью. Варочный
сосуд котлов под функциональные емкости имеет в плане размеры, соответствующие
размерам функциональных емкостей.
По классификации все пищеварочные котлы имеют
буквенно-цифровую индексацию. У немодулированных котлов буквы обозначают
группу, вид котла и вид энергоносителя, а следующие за ними цифры - вместимость
варочного сосуда в дм.
У секционных модулированных добавляются соответственно буквы
СМ; все остальные обозначения такие же, что и у немодулированных котлов.
Индекс устройств со съемным варочным сосудом УЭВ-60
расшифровывается так: У - устройство; Э - электрическое; В - варочное; 60 -
вместимость, дм. Котлы, работающие под давлением в рабочей камере выше
атмосферного, называются автоклавами. Их индекс, например АЭ-60,
расшифровывается так: А - автоклав; Э - электрический; 60 - вместимость, дм.
Особое место занимают котлы с газовым обогревом стенки варочного сосуда. Газ -
главный альтернативный по отношению к электрической энергии энергоноситель.
Основное преимущество газообразного топлива перед электричеством - дешевизна
вырабатываемой теплоты. Единица теплоты, полученной в результате сжигания газа,
в 7…13 раз дешевле, чем при использовании электрической энергии.
Из недостатков газа следует отметить его взрывоопасность, и
возможное появление в воздухе токсического оксида углерода (СО - угарный газ)
при неправильной эксплуатации оборудования.
1.2
Современные конструкции котлов
На предприятиях общественного питания используются котлы,
имеющие вместимость варочного сосуда 100 дм2 и более. Такие котлы имеют
различные способы нагрева: электрические - КПЭ-100-1М; КПЭ-160-1М; КПЭ-250-1М;
с паровым обогревом - КПП-100-1М, КПП-160-1М, КПП-250-1М; с электрообогревом
под функциональные емкости - КЭ-100М, КЭ-160М, КЭ-250М; с газовым обогревом
секционный модулированный - КПСГМ-250; твердотопливный - КПТ-160.
Электрические пищеварочные котлы
Электрические котлы типа КПЭ имеют одинаковую конструкцию, а
различают их объемом варочного сосуда, мощностью тэнов, габаритами, а также
опрокидывающиеся и не опрокидывающиеся.
Котел пищеварочный электрический КПЭ-100-1М представлен на
рисунке 1.
Рисунок 1 - Общий вид котла пищеварочный электрический
КПЭ-100-1М
Котел пищеварочный электрический КПЭ-100-1М, в соответствии с
рисунком 1, состоит из варочного сосуда 8, окруженного пароводяной рубашкой,
ограниченной с наружной стороны внешним котлом с обечайкой 9 и основанием 10.
Котел укомплектован трубчатыми электронагревателями 1, парогенератором 2,
термобаллоном 3, предохранительным клапаном 7 и манометром 6, пробкой 12,
наливным краном 13, пружинным противовесом 14, реле давления 15, которое служит
для поддержания давления в пароводяной рубашке, датчиком-реле температуры 16.
Пробко-спускной кран 11 служит для контроля уровня дистиллированной воды в
парогенераторе, заливаемую в него через воронку 5. Для слива воды служит кран
17. Варочный сосуд закрывается крышкой 4.
Котел опрокидывающий КПЭСМ-60 (рис.2) состоит из варочного
сосуда, заключенного в прямоугольный корпус и установленного на двух тумбах.
- варочный сосуд, 2 - манометр, 3 - цапфа, 4 - двойной
предохранительный клапан, 5 - тэн, 6 - поворотный механизм
Рисунок 2 - Котел опрокидывающий КПЭСМ-60
Верхняя часть котла выполнена в виде прямоугольного стола с
желобом для слива жидкости.
Варочный сосуд закрывается крышкой, которая крепится в
стойках на столе. В нижней части внутреннего котла на съемном днище установлены
три тэна и электрод "сухого хода”. Механизм для опрокидывания котла
расположен в правой тумбе. Для разгрузки котла от приготовленной пищи он
опрокидывается вперед, а при опрокидывании назад обеспечивается свободный
доступ для обслуживания и ремонта парогенератора.
В левой части размещены панель с электроаппаратурой и
переключатель ре жимов котла, а так же смеситель воды с двумя кранами и
поворотная труба.
Устройство и работа контрольно-регулирующей арматуры котла
КПЭСМ-6О, а также принцип работы и правила эксплуатации аналогичны при работе
на котле КПЭ-100.
Из котлов пищеварочных электрических под функциональные
емкости можно выделить котел КЭ-250М. Главная особенность эксплуатации данных
котлов состоит в том, что варка продуктов в них может осуществляться в
функциональных емкостях, уложенных в кассету.
Принцип работы этих котлов следующий: продукт, подвергаемый
тепловой обработке, укладывают в функциональные емкости и устанавливают в
кассету по направляющим уголкам. Затем с помощью подъемного механизма тележки
кассету опускают в варочный сосуд котла.
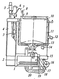
Котел представляет сварную конструкцию. Варочный сосуд 20
герметично соединен с обечайкой 18, к которой приварен парогенератор 15. Между
варочным сосудом и обечайкой располагается пароводяная рубашка. Между обечайкой
18 и облицовочными листами 24, 26, 28 находится теплоизоляция 19, выполненная
из листов алюминиевой гофрированной фольги. Внутри парогенератора 15
располагаются тэны 16. Для защиты тэнов от "сухого хода" используются
датчики-реле температуры 25, термочувствительный баллон которого закреплен на
самом верхнем тэне. Снижение уровня воды в парогенераторе ниже уровня верхнего
тэна приводит к срабатыванию защиты "сухого хода" и отключению тэнов.
Вода в парогенератор заливается через воронку 8, уровень контролируется краном
12. Давление в пароводяной рубашке поддерживается в определенном диапазоне
(0,0045 - 0,045 МПа) с помощью датчика-реле давления 22.
а - общий вид; б - схема
, 27 - сливные краны; 2 - перепускной клапан; 3 - крышка; 4 -
кран для налива воды; 5 - мановакуумметр; 6 - стол; 7 - панель управления; 8 -
воронка; 9 - клапан; 10 - отражатель; 11 - рычаг; 12 - пробно-спускной кран; 13
- фильтр; 14 - термочувствительный баллон датчика-реле температуры; 15 -
парогенератор; 16 - электронагреватели; 17 - каркас; 18 - обечайка; 19 -
теплоизоляция; 20 - варочный сосуд; 21 - переключатель; 22 - датчик-реле
давления; 23 - заземляющий зажим; 24, 26, 28 - облицовки; 25 - датчик-реле
температуры
Рисунок 3 - Котел пищеварочный электрический КЭ-250М
При давлении пара в пароводяной рубашке выше 0,05 МПа
срабатывает предохранительный клапан 9. Заполнение варочного сосуда водой
осуществляется открытием крана 4. Слив жидкости из варочного сосуда
производится через сливной кран 27, отверстие которого защищено сеткой 13.
Плотность прилегания крышки обеспечивается накидными рычагами 11. Элементы
управления и сигнализации выведены на панель управления 7.
В общественном питании нашло применение и устройство
электрическое варочное УЭВ-60 М.
- трубчатые электронагреватели; 2 - парогенератор; 3 - реле
давления; 4 - задняя тумба; 5 - воронка; 6 - клапан; 7 - кран; 8 - кнопка
рычага; 9 - рычаг; 10 - передвижной котел; 11 - паровая рубашка; 12 -
пробно-спускной кран; 13 - парозапорное устройство; 14 - пробка; 15 -
платформа; 16 - колесо; 17 - кран для контроля уровня воды; 18 - датчик защиты
от "сухого хода"; 19 - заглушка; 20 - нижняя часть парозапорного
устройства
Рисунок 4 - Устройство электрическое варочное УЭВ-60М
Устройство предназначено для варки заправочных супов,
приготовления вторых и третьих блюд, гарниров, тушения овощей, а также для
транспортирования готовых блюд к линии раздачи, сохранения их в горячем
состоянии и раздачи потребителю.
Устройство представляет собой комплект со стационарно
установленным парогенератором и передвижным котлом.
Паровые пищеварочные котлы
Паровые пищеварочные котлы устанавливаются на тех предприятиях
общественного питания, где имеется возможность получать пар с заводской
котельной или ТЭЦ.
- вилкообразная станина; 2 - облицовка; 3 - теплоизоляция; 4 -
варочный сосуд; 5 - цапфа; 6 - наружный корпус; 7 - паровая рубашка; 8 -
поворотный кран; 9 - крышка; 10 - клапан; 11 - манометр; 12 - двойной
предохранительный клапан; 13 - маховик; 14 - продувной кран; 15 -
конденсатоотводчик.
Рисунок 5 - Котел пищеварочный паровой КПП-60
Пар, полученный в котельной установке, по паропроводу подается на
предприятие в рубашку пищеварочного котла, где охлаждается, конденсируется и,
пройдя через конденсатоотводчик и конденсатопровод, вновь поступает в котельную
для повторного нагрева.
Котел КПП-60 состоит из внутреннего варочного сосуда,
цилиндрической формы и наружного корпуса покрытого теплоизоляцией и кожухом.
Пар поступает в паровую рубашку по паропроводу через правую цапфу, а конденсат
отводится в нижней части котла.
Котел установлен на литой чугунной вилкообразной станине с помощью
цапф, обеспечивающих опрокидывание его при помощи маховика и червячного
редуктора.
Котлы с газовым обогревом
Большое место в ряду варочных котлов занимают котлы с газовым
обогревом. Из современных котлов можно выделить котел пищеварочный газовый
КПГ-40М, секционный модулированный КПГСМ-250 и другие.
а
б
- варочный сосуд; 2 - наружный котел; 3 - теплоизоляция; 4 -
пароводяная рубашка; 5 - парогенератор; 6 - цапфа; 7 - постамент; 8 - газовая
горелка; 9 - поворотный кран; 10 - манометр; 11 - наполнительная воронка; 12 -
кран уровня; 13 - дверца; 14 - блок газовой автоматики
Рисунок 6 - Котел пищеварочный газовый опрокидывающий КПГ-40М
Котел пищеварочный газовый КПГ - 40М аналогичен котлу КПГ-60М. Они
имеют принципиально одинаковое устройство и отличаются только вместительностью
варочного сосуда и массой.
Котел КПГ-40М состоит из внутреннего варочного сосуда и наружного
корпуса, установленного на литой чугунной вилкообразной станине с помощью двух
цапф, которые обеспечивают опрокидывание при помощи червячного редуктора.
Под парогенератором находится газогорелочная камера, в которой
установлена инжекторная горелка. Подачу первичного воздуха к горелке производят
регулятором, выполненным в виде шайбы. Вторичный воздух к горелкам поступает через
кольцевой зазор в основании котла.
Продукты горения из газогорелочной камеры отводятся в дымоход.
На котле установлена контрольно-предохранительная арматура:
электроконтактный манометр, двойной предохранительный клапан, воздушный клапан.
Кран уровня, наполнительная воронка, а также газовая автоматика безопасности и
регулирования.
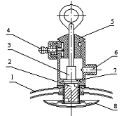
Из специальных предохранительных клапанов можно выделить, чаще
всего используемого в котлах клапан типа "турбинка", обеспечивающего
безопасную работу герметично закрытых рабочих камер (варочного сосуда) при
избыточных давлениях до 2,5 кПа (0,025 ати).
Клапан-турбинка устанавливается на котлах в центральной части
герметически закрывающейся крышки котла.
Состоит клапан, в соответствии с рисунком, из корпуса и
вертикального шпинделя 3 с кольцом в верхней части, за которое приподнимают
турбинку 2, когда нужно выпустить пар из котла. Турбинка с винтовыми канавками
установлена на нижнем конце шпинделя. В корпусе расположены верхний клапан 5,
нижний клапан 7, фиксатор и штуцер 6 для подсоединения к пароотводу. Нижний
клапан имеет канавки для удаления воздуха и пара при незначительном повышении
давления.
На внутренней стороне крышки имеется отражатель 8, предназначенный
для защиты клапана-турбинки от засорения мелкими частицами пищи. Когда давление
под крышкой котла повышается, пар приподнимает турбинку и, проходя по винтовым
канавкам, приводит ее во вращение, в результате чего часть пара выходит в
окружающую среду через верх, а часть - в пароотвод через штуцер. Выход пара из
клапана-турбинки сигнализирует о начале закипания жидкости в котле. Ежедневно
по окончании варки турбинку снимают, промывают, просушивают и устанавливают на
место. Вынимают из гнезда турбинку после того, как будет, вытянут фиксатор.
- крышка котла; 2 - турбинка; 3 - вертикальный шпиндель; 4 -
фиксатор; 5 - верхний клапан; 6 - штуцер для подсоединения к паропроводу; 7 -
нижний клапан; 8 - отражатель
Рисунок 7 - Клапан-турбинка
Более производительным за счет большей вместимости емкости
является котел пищеварочный газовый секционный модульный КПГСМ-250.
Наружный котел имеет прямоугольную форму, внутри которого
находится варочный сосуд в форме горизонтального полуцилиндра. Сверху сосуд
закрывается крышкой 6, снабженной противовесом и откидными болтами 4.
- сливной кран; 2 - кран уровня; 3 - вентили на трубопроводах
холодной и горячей воды; 4 - откидные болты; 5 - поворотный кран; 6 - крышка; 7
- манометр; 8 - пусковая кнопка; 9 - кран основной горелки
Рисунок 8 - Котел газовый модульный КПГСМ - 250
В качестве теплоизоляции используется альфоль. Наружный котел
путем сварки соединен с пятикарманным парогенератором. Крайние карманы
парогенератора имеют меньшую высоту, чем средние. Три средних кармана образуют
две одинаковые камеры сгорания, в каждой из которых расположено по одной трубке
двухтрубной насадки инжекционной многосопловой горелки, имеющей смеситель с
периферийной подачей газа. В процессе работы котла три центральных кармана
обогреваются факелами пламени горелки, причем средний карман с двух сторон.
Продукты сгорания, омывая две внешние стенки крайних центральных и все стенки
остальных карманов, отдают тепло находящейся в них воде, которая начинает
кипеть. Образующийся пар заполняет пароводяную рубашку, соприкасается со
стенками варочного сосуда и конденсируется выделяя тепло на нагрев содержимого
котла. Вместимость котла 250 л. В общественном питании нашли применение также
автоклавы, устройства электрические варочные типа УЭВ-60М, пароварочные аппараты
и т.п.
Патентный обзор
Вакуум-выпарная установка для растительных масел, в соответствии с
патентом № 2288256 автора Щепкина И.В. и соавторов, относится к пищевой
промышленности, а именно к масложировой отрасли. Вакуум-выпарная установка для
растительных масел состоит из вакуум-аппарата, конденсатора и вакуум-насоса.
Устройство отличается тем, что вакуум-аппарат представляет собой горизонтальный
сосуд, выполненный из непрерывной трубы в форме нескольких сопряженных друг с
другом одинаковых сегментов цилиндров с большим сегментом цилиндра, соединенной
с контуром циркуляции теплоносителя. При этом по оси большого сегмента цилиндра
размещены с возможностью вращения в различные стороны валы, к которым крепятся
змееподобные перфорированные лопасти. Изобретение позволяет снизить температуру
нагрева масла и увеличить поверхность испарения.
Известен выпарной аппарат, представленный патентом № 2288018,
который относится к области химической технологии и может быть использован для
концентрирования растворов и суспензий с получением технологического пара либо
для низкотемпературного концентрирования растворов и суспензий в условиях
разрежения с получением чистого конденсата. Выпарной аппарат содержит
вертикальный или наклонный корпус, выполненный из термопластичного материала, и
имеет сотовую ячеистую структуру. Корпус аппарата выполнен многосекционным с
возможностью последовательного перемещения упариваемой жидкости из секции в
секцию с многократной циркуляцией жидкости внутри каждой секции. Выпаривание
осуществляется при "снарядном" или восходящем тонкопленочном кипении
жидкости. Большое количество внутренних перегородок обеспечивает развитую
удельную поверхность теплообмена и высокую прочность аппарата на воздействие
внешнего или внутреннего давления при малой толщине перегородок. Изобретение
позволяет повысить устойчивость выпарного аппарата к изменению режима работы.
1.3
Технико-экономическое обоснование темы проекта
Котлы с газовым обогревом стенки варочного сосуда имеют
преимущество перед электрическими, так как они более дешевые за счет более
дешевого топлива - газа. Единица теплоты, полученная в результате сжигания
газа, в 7…13 раз дешевле, чем при использовании электрической энергии. При
вместимости газового котла 250 л, продолжительность разогрева 60 мин, расход
газа в период разогрева 4,2 м3/ч, что соответствует мощности тэнов (в камере
сгорания) 46,6 кВт.
Такое низкое значение КПД объясняется большими потерями тепла
с уходящими газами. В режиме варки расход газа составляет 0,7 м3/ч, что
соответствует мощности тэнов 7,7 кВт. Однако стоимость единицы теплоты,
вырабатываемой на газе гораздо дешевле, что перекрывает расходы.
1.4 Задачи
проекта по теме "Модернизация котла газового секционного модульного КПГСМ-60"
Заданием предусмотрено модернизировать котел газовый
секционный модульный КПГСМ-60. Разработка проекта позволила усовершенствовать
пружинное устройство системы фиксации крышки и зажимного устройства и
реализовать конструкцию конусной части котла с фиксацией вертикального
положения упором (разрез Г-Г).
2. Описание
модернизированной конструкции котла газового секционного модульного КПГСМ-60
2.1
Назначение и область применения
Котел пищеварочный газовый КПГСМ-60 относится к
опрокидывающим секционно модулированным котлам. Котел предназначен для
приготовления на предприятиях общественного питания гарниров, каш, первых блюд,
соусов, компотов, сиропов и других блюд.
2.2 Описание
конструкции и принципа действия
Котел выполнен в виде прямоугольника. Он состоит из
внутреннего цилиндрического варочного сосуда, наружного корпуса и малоемкого
парогенератора.
Парогенератор выполнен в виде двух цилиндрических карманов
разной высоты, наружные стенки которых образуют топку и два кольцевых газохода.
Цилиндрическая внешняя стенка второго газохода не экранирована. Она переходит в
нижнюю коническую торцевую стенку кольцевых газоходов.
Наружный корпус котла покрыт теплоизоляцией и облицован
плоскими эмалированными панелями. Под топкой в специальном цилиндрическом
кожухе установлена газовая горелка с кольцевой насадкой и запальником. Для
подсоса вторичного воздуха в днище топочной камеры имеются специальные
отверстия.
Между стенкой котла и облицовочным листом установлен
вертикальный дымоход прямоугольного сечения, обеспечивающий отвод продуктов
сгорания.
В правой стойке котла смонтированы опрокидывающее устройство
и подводящий газопровод. В левой - расположены трубопроводы горячей и холодной
воды.
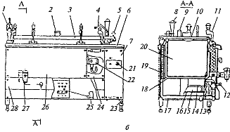
- дымоход; 2 - наружный корпус; 3 - варочный сосуд; 4 -
арматурный узел; 5 - крышка; 6 - кран уровня; 7 - маховичок; 8 - дверца; 9 -
ножки, регулируемые по высоте; 10 - рама; 11 - патрубок; 12 - кожух; 13 -
горелка; 14 - топка; 15 - кольцевые газоходы; 16 - парогенератор; 17 - наружная
облицовка котла
Рисунок 9 - Котел пищеварочный газовый секционный модульный
КПГСМ-60
Котел снабжен газовой автоматикой безопасности и
регулирования 2АРБ и контрольно-измерительной арматурой, аналогичной арматуре
котла КПГ-60М.
Порядок работы. После проверки санитарно-технического
состояния котла и проветривания помещения котел заполняют продуктами и водой,
закрывают крышкой и закрепляют ее откидными болтами. Открывают воздушный клапан
или кран наполнительной воронки, затем открывают заслонку смотрового котла,
подносят зажженную спичку к запальной свече, нажимают на пусковую кнопку
автоматики и удерживают ее в течение 40 с. Отпустив кнопку, необходимо
убедиться в том, что запальная свеча горит, открывают кран горелки, которая
зажигается от запальной свечи. Как только через воздушный клапан или, если его
нет, через наполнительную воронку начинает выходить плотная струя пара,
закрывают клапан. Продолжительность разогрева котла до рабочего режима - 50-60
минут. При давлении более 0,5 кг/см2 котел автоматически при помощи
электроконтактного манометра переходит на режим "тихого кипения". По
окончании варки закрывают регулятор первичного воздуха, кран горелки и кран на
газопроводе перед котлом.
Усовершенствованное пружинное устройство системы фиксации
крышки и зажимного устройства и конструкция конусной части котла с фиксацией
вертикального положения упором (разрез Г-Г) показаны на чертеже А1.
2.3
Техническая характеристика котла
|
Полезная
емкость, л
|
60
|
|
Продолжительность
разогрева, мин.
|
55
|
|
Предельное
рабочее давление пара в рубашке, кг/см2
|
0,5
|
|
Габариты, мм
|
|
|
- длина
|
935
|
|
- ширина
|
1025
|
|
- высота
|
1040
|
|
Масса, кг
|
140
|
3. Расчеты,
подтверждающие работоспособность конструкции
3.1
Технологические расчеты
Производительность П (кг/с) аппарата периодического действия
в общем случае можно определить по формуле
.
- масса загруженного в аппарат продукта, кг;
- продолжительность технологического цикла, с,
Технологический цикл состоит из загрузки продукта в котел,
обработки продукта и разгрузки котла. Следовательно
,
где
- время, необходимое соответственно для
загрузки продукта в котел, его обработки и разгрузки котла, с. Примем, с учетом
всех операций, время технологического цикла 2400 с.
Массу m загружаемого в аппарат продукта рассчитываем по рабочей
вместимости аппарата:
, где
- плотность загружаемого продукта, кг/м3. Примем плотность равной
1340 кг/м3 для карамельного сиропа;
внутренний объем или вместимость аппарата, величина заданная и
равная 0,06 м3;
- коэффициент заполнения объема аппарата, примем
= 0,8.
Тогда, масса составит
= 64 кг
Получим производительность
или 72 кг/ч
3.2
Теплотехнические расчеты
Полезная теплота - Qпол, Вт, определяется в зависимости от
массового расхода нагреваемого продукта - П, кг/ч и его средней массовой
удельной теплоемкости - с, Дж/ (кг×К) в интервале заданных
температур - (tк - tн), °С.пол = П × с × (tк - tн) / 3600,Где с -
удельная теплоемкость. Для карамельного сиропа удельную теплоемкость можно
рассчитать по формуле (2.17) Яновского В.В.
с = 4190 - (2514 - 7,54t) а, Дж/ (кг×К);
где 4190 - теплоемкость воды, Дж/ (кг×К);- температура
раствора, 0С;
а - концентрация сухих веществ в карамельной массе, кг/кг;
при СВ = 1,5 %, а = (100 - 1,5) /100 = 0,985
Или,
с = 4190 - (2514 - 7,54×125) × 0,985 = 2642
Начальную температуру принимаем в соответствии с температурой
среды помещения равной 30 0С, а конечную температуру сиропа необходимо принять
125 0С.
пол = 72 ×2642 × (125 - 30) / 3600 = 5019
Вт
Обычно расход теплоносителей в теплообменных аппаратах
определяют по уравнению теплового баланса. Так как аппарат рассчитывается на
заданную производительность по продукту - П, кг/ч, то расход греющего пара - Д,
кг/с будет равен:
Д = Qпол × Xп / (iп - i к);
где Qпол - полезная теплота (тепловой поток), Вт (см.;п -
коэффициент тепловых потерь.п = 1,03 - 1,05;п и iк - удельные энтальпии
греющего пара и его конденсата, Дж/кг, в зависимости от температуры насыщения
пара или давления греющего пара.
Для пара составит iп = 2750 кДж/кг; конденсата iк = 136,2
кДж/кг
Д = 5019 × 1,03/ (2750 - 136,2) = 1,97 кг/с
Определим
площадь поверхности нагрева.
Потребная для нагревания площадь поверхности теплообмена - F,
м2 определяется из основного уравнения теплопередачи.
= Qпол / (k × Dtср);
Где k - коэффициент теплопередачи, Вт/ (м2×К).
В общем случае коэффициент теплопередачи для плоской
поверхности и через цилиндрическую стенку можно определить по следующей
формуле:
и
- учитывают суммарное термическое
сопротивление всех слоев из которых состоит стенка, включая слои загрязнений
(накипи), (м2·К) /Вт;
и
- коэффициенты теплоотдачи от горячего и холодного
теплоносителей;
- коэффициент теплопроводности;
Выбираем конструкционный материал, стойкий для растворов в
интервале температурной среды по заданию. Для таких условий химически стойкой
является сталь марки Х18Н10Т, имеющей теплопроводность
= 16,4 Вт/ (м·К). Толщина стенки 2 мм.
Примем, что суммарное термическое сопротивление равно термическому
сопротивлению стенки
и накипи
. Термическое сопротивление со стороны пара не учитываем.
Принимаем для корпусов толщину слоя накипи
= 0,01 мм, так как пищевые котлы, как
правило, не ржавые и
=1,16 Вт/ (м·К) , получаем:

При конденсации насыщенного пара
= 9300 Вт/м2·К;
Коэффициент теплоотдачи для сиропа
= 900 Вт/м2·К;
Тогда,
282,2 Вт/ (м2·К)
Средняя разность температур теплоносителей (средний температурный
напор) Dtср определится:
;
где Dtб и Dtм - соответственно большая и меньшая
разность температур теплоносителей, °С.
Dtб = t - tн = 125 - 30 = 95 0С
Dtм = t - tк = 150 - 125 = 25 0С
70,9 0С
Окончательно, площадь поверхности составит
0,25 м2
Найденная площадь поверхности теплообмена - F, м2, является
основой для проведения конструктивного расчета аппарата
3.3
Конструктивные размеры аппарата
3.3.1
Диаметры патрубков для теплоносителей
Для подвода и отвода теплоносителей в корпус аппарата
вваривают патрубки, диаметры которых зависят от массового расхода
теплоносителей, их плотности и скорости.
Из уравнения расхода теплоносителя определим внутренний
диаметр патрубка - di, м.
;
где Д - массовый расход теплоносителя, кг/с;
r - плотность теплоносителя, кг/м3, для пара при температуре 150
0С,
r = 2,614 кг/м3;- скорость теплоносителя, м/с. Скорость греющего
пара в патрубках принимаем 70 м/с;
0,1 м
3.3.2 Расчет
тепловой изоляции
Расчет тепловой изоляции заключается в определении толщины
наружного изоляционного слоя аппарата, выполненного из изоляционного материала.
Из равенства удельных тепловых потоков проходящего через слой изоляции и
уходящего в окружающую среду, толщина слоя - hи, м равна:
и = l× (t1 - t2) / a× (t2 - tв);
где l - теплопроводность изоляционного материала, Вт/
(м×К),
Примем в качестве изоляционного материала совелит (85%
магнезии + 15% асбеста), то его теплопроводность l = 0,09 Вт/ (м×К)., t2 и tв -
соответственно температуры внутреннего слоя изоляции, наружного и окружающей
среды, °С.
Температуру внутреннего слоя - t1 берем равной температуре
греющего пара - t °С, наружного - t2 = 40-45 °С, окружающей среды
(воздуха) - tв = 30°С.
a - коэффициент теплоотдачи от внешней поверхности
изоляционного материала в окружающую среду, Вт/ (м2×К).
a = 9,3 + 0,058 × t2;
a = 9,3 + 0,058 × 40 = 11,62 Вт/ (м2×К).=150 0С; t2 = 40 0С;
tв = 30 0С.
hи =
0,085 м
Следует иметь ввиду, что, так как аппарат устанавливается в
производственном помещении, где находятся пищевые материалы, то поверх слоя
изоляции аппарата надевается оболочка из жести или алюминия.
3.4 Расчет на
прочность
Для обеспечения безопасной работоспособности проектируемого
аппарата необходимо рассчитать на прочность его основные элементы.
.4.1 Корпус
аппарата
Под действием давления пара - pп, МПа цилиндрический корпус
аппарата внутренним диаметром - Dk, м оказывается нагруженным продольными и
поперечными напряжениями.
Стенка корпуса получает деформацию растяжения, поэтому из
уравнения прочности его на эту деформацию можно рассчитать толщину стенки - hс,
м.
с = (pп × Dk / (2 × [s] ×j)) + c;
где [s] - допускаемое напряжение на растяжение
материала корпуса, МПа.
Для определения допускаемого напряжения на растяжение
материала необходимо из сортамента на материал выбрать предел прочности - sв, МПа; sв = 160 МПа.
Задаемся значением запаса прочности по пределу прочности - nв
= 3 - 5, рассчитываем [s]:
[s] = sв / nв;
[s] = 160/3 = 53,33 МПа
j - коэффициент прочности сварных швов. Для
стыковых односторонних швов, выполняемых в ручную электросваркой j = 0,7.
с - конструктивная прибавка толщины стенки на неравномерность
толщины материала, коррозию и т.п. с = 1 - 3 мм (0.001 - 0.003 м).
Принимаем с = 0,002 м. Максимальное рабочее давление пара в
котле при срабатывании клапана pп = 0,05 МПа
Тогда hс =
мм
По найденному значению толщины стенки корпуса выбираем толщину
горячекатанного листа по ГОСТ 19903-90 или холоднокатанного листа по ГОСТ
19904-90.
3.4.2
Выпуклое днище
Так как аппарат работает под избыточным давлением, то днища
необходимо устанавливать только выпуклыми, которые имеют достаточную жесткость
против деформации.
Если аппарат изготавливается силами предприятий общего
машиностроения, то лучше установить на нем конические днища. Они
изготавливаются из листового материала путем вырезания круглой заготовки с
секторным вырезом с последующей гибкой и сваркой.
Толщина стенки конического днища - hд, м определяется:
д = (pд × Dк × tg a / x1) + c; где pд = pн +
r
× g × h1× 10-6;
д - давление жидкости на нижнее днище, МПа;
a - угол наклона образующей стенки конуса, град;
a = 45, 60 или 70 град; принимаем a = 45 град.-
гидростатический напор столба жидкости в аппарате равный высоте аппарата, м; по
габаритным размерам h1 = 1м.
x1 = 4 × [s] × j × cos a = 4×160×0,7×
= 316,78д = pн + r × g × h1× 10-6 =
0,5 + 1340×9,81×1×10-6 =
0,064 МПад =
= 2,0 мм
Толщина днища и корпуса одинаковы.
4.
Мероприятия по охране труда и технике безопасности при обслуживании
оборудования предприятий общественного питания
Технологические схемы производства блюд на предприятиях
общественного питания включают все этапы подготовки сырья, характерные для
данного производства. Многие процессы механизированы и автоматизированы.
Интенсивные методы технологического процесса на современном
предприятии не могут полностью исключить тяжелый ручной труд, работу в среде
повышенной температуры и наличия вредных веществ в воздухе цеха, шума,
напряженность при обслуживании сложных машин.
Санитарно-гигиеническая оценка условий и характера труда на
рабочем месте работника, обслуживающего машины, на которых выпускается
разнообразная продукция, указывает на наличие некоторых неблагоприятных
факторов на производственном участке.
К таким факторам относятся: воздействие продуктов сгорания
при использовании газового топлива; воздействие мучной, сахарной или солевой
пыли; опасность поражения электрическим током; влияние шума и вибрации на
организм человека; микроклимат помещения кухни и другие.
На предприятиях общественного питания газообразные
раздражители появляются при работе котлов на газовом топливе.
Газообразные раздражители обуславливают возможность
загрязнения воздуха помещения. В воздух могут выделяться оксид углерода СО,
угарный газ, ПДК которого составляет 20 мг/м3, класс опасности - 4; акролеин
С3Н4О - вещество, сильно раздражающее слизистые оболочки дыхательных путей. Его
пары в смеси с воздухом взрывоопасны и ядовиты, ПДК составляет 0,2 мг/м3, класс
опасности 2.
При профилактической обработке инвентаря растворами уксусной
кислоты пары кислоты также раздражают слизистые оболочки, на коже вызывают
ожоги.
Воздействие пыли на организм человека на предприятиях
общественного питания невелико. Однако в некоторые рецептуры входит мука, соль
мелкого помола. Для ограничения неблагоприятного воздействия вредных химических
веществ и пыли на организм рабочего необходимо усовершенствование оборудования,
всего технологического процесса, автоматизацию и механизацию производственного
процесса.
Все предприятия общественного питания являются потребителями
электроэнергии. При этом в некоторых случаях проявляется опасность поражения
электрическим током. Основными причинами электротравматизма являются нарушение
изоляции, отсутствие или неисправность заземляющих устройств, отсутствие или
неисправность индивидуальных средств защиты, работа в сетях без снятия
напряжения, неудовлетворительная организация рабочих мест.
Чтобы избежать этого необходимо тщательно изолировать
электропроводку, а корпуса машин надежно заземлять, применять индивидуальные
средства защиты.
В административном порядке осуществлять надзор за обучением и
правилами допуска персонала к обслуживанию электрооборудования; систематически
пропагандировать безопасные методы работы, строго следить за соблюдением правил
техники безопасности.
Действующее оборудование на предприятиях является источником
шума и вибрации. Шум создается несколькими одновременно работающими машинами.
Фактически уровень шума не превышает предельно допустимый уровень - 80 дБ, что
обеспечивает допустимые условия труда.
Главным направлением борьбы с шумом является его ослабление
или ликвидация непосредственно в источнике образования, а также применение
методов звукопоглощения и звукоизоляции; использование оборудования с
минимальными динамическими нагрузками, правильный его монтаж.
С целью профилактики необходимо установить вибрирующее
оборудование на виброопоры, заменять такое оборудование на более совершенное.
Кроме того, машины и аппараты являются источником повышенного
травматизма, так как включают большое количество вращающихся и движущихся рабочих
органов, режущих кромок, выступов.
В качестве профилактики производственного травматизма и
обеспечения безопасных условий труда все оборудование должно быть снабжено
ограждениями, блокировкой крышек и щитков, прикрывающих вращающиеся части
машины, с выключающим устройством для автоматического останова машины при
открывании крышек и щитков, устройствами для управления и контроля.
Перед пуском любой машины или аппарата следует убедиться в ее
исправности, проверить работу контрольно-измерительных приборов и
предохранительных устройств. В соответствии с правилами охраны труда и техники
безопасности не разрешается эксплуатация теплового оборудования без исправной
аппаратуры (манометров, предохранительного и воздушного клапанов и т.п.).
Манометры (с обязательной красной чертой - предельного рабочего давления)
должны проверяться не реже одного раза в 6 месяцев, предохранительный клапан и
продувочные краны - ежедневно. У каждого аппарата должна быть вывешена
инструкция по технике безопасности.
·
производить
сборку, разборку и ремонт его без отключения от электросети;
·
устранять
неполадки и производить ремонт электродвигателей, пусковой и сигнальной
аппаратуры лицам, не имеющим на это права;
·
оставлять
изделие без надзора во время его работы и при пусконаладочных работах;
·
работать
при неисправном оборудовании, не имеющем ограждения вращающихся частей;
·
производить
регулировку и подтяжку болтовых соединений во время работы изделия;
·
работать
при нагрузках выше нормальных.
Для удобства обслуживания необходимо соблюдать следующие
условия безопасной работы:
·
обеспечить
свободный доступ к рабочему месту в любое время;
·
не
засорять зону обслуживания запчастями и вспомогательными материалами во время
эксплуатации;
·
надежно
заземлить электродвигатели, электроаппаратуру и изделие;
·
рабочее
место содержать в чистоте и иметь хорошее освещение;
·
регулярно
перед каждой сменой производить осмотр изделия и проверять затяжку болтовых
соединений, механизмов и ограждений;
·
на
рабочем месте иметь журнал передачи смены с записями о состоянии работающего
оборудования.
4.1
Мероприятия по охране труда и технике безопасности при обслуживании газового
котла
Образующиеся при горении газовоздушные смеси представляют
собой серьезную опасность для обслуживающего персонала, так как они могут
привести к пожару или взрыву в производственных помещениях. Неправильная
эксплуатация пищеварочных котлов с газовым обогревом может привести к пожарам и
отравлениям, поэтому работникам, обслуживающим котлы с газовым обогревом,
необходимо соблюдать правила их эксплуатации и требования техники безопасности.
К работе с котлами на газовом обогреве допускаются работники,
прошедшие обучение по устройству, обслуживанию и технике безопасности, а также
утвержденные приказом по данному предприятию об обслуживании данного
оборудования.
Системы контроля, безопасности и регулирования варочного
оборудования обеспечивают работоспособность аппаратов в экстремальных
ситуациях, безопасность персонала при обслуживании аппаратов, оптимальные
режимные параметры аппаратов при реализации режима варки.
Технические средства, обеспечивающие функционирование системы
безопасности и регулирования, называются арматурой. Арматуру подразделяют на
предохранительную, контрольную, измерительную, регулирующую и запорную.
Предохранительная арматура включает: двойной
предохранительный клапан, "клапан-турбинку", предохранительные
взрывные мембраны.
Контрольно-измерительная арматура состоит из манометра и
контрольного крана уровня.
Регулирующая арматура - это электроконтактный манометр
(вместо обычного контрольного), конденсатоотводчики, реле давления, реле
времени и т.д.
Запорная арматура включает вентили для подвода холодной и
горячей воды из системы водоснабжения, а также паровые вентили, обратные
клапаны, продувочный и воздушный вентили.
Для удобства обслуживания газогорелочного устройства и
автоматики котел устанавливают на специальном несгораемом постаменте.
Перед работой с котлом проводят следующее:
проветривают помещение;
проверяют положение газового крана на коллекторе;
только потом открывают газовый кран на газопроводе перед
котлом.
Затем проверяют уровень воды в парогенераторе при помощи
контрольного крана и при необходимости добавляют в него через наполнительную
воронку дистиллированную или кипяченую воду.
После этого:
проверяют электроконтактный манометр;
клапан-турбинку;
двойной предохранительный клапан.
Турбинку при проверке поднимают за кольцо, а двойной клапан
посредством специального рычага, поднимающего верхний паровой клапан.
Датчики и блок газовой автоматики должны быть опломбированы.
К работе с котлами на газовом обогреве допускаются работники,
прошедшие обучение по устройству, обслуживанию и технике безопасности, а также
утвержденные приказом по данному предприятию об обслуживании данного
оборудования.
Соблюдение правил охраны труда и техники безопасности имеет
важное значение при эксплуатации всех видов оборудования. Работники,
обслуживающие оборудование, кроме обязательного обучения, также обеспечиваются
инструкциями по эксплуатации, в которых содержатся требования по технике
безопасности, указания предельных нагрузок и т.д.
Заключение
Основное направление развития общественного питания состоит в
повышении темпов и эффективности развития экономии на базе технического перевооружения
и реконструкции производства, совершенствования управления.
Современные предприятия общественного питания будут строиться
по новым типовым проектам с внедрением нового технологичного оборудования.
Устаревшее отечественное оборудование весьма громоздко, металло- и энергоемко.
Для значительного прогресса необходимы существенная реконструкция действующих и
капитальное строительство новых предприятий. Создание новых предприятий в
настоящее время чрезвычайно дорого. При этом должны быть использованы
принципиально новые конструктивные решения. Одновременно требует пересмотра и
классическая технология производства блюд с позиции повышения ее эффективности,
увязки с отечественной сырьевой базой, характеризующейся большим разбросом
показателей качества сырья и весьма ограниченным ассортиментом.
Анализируя ситуацию с технологией и оборудованием, выход из
состояния возможен в двух направлениях. Первое - внедрение эффективных
технологий с принципиально новыми приемами выполнения технологических операций.
Второе - разработка отечественного оборудования нового поколения, создание
которого определит качественно новую ступень для данных предприятий.
Поиск оптимальной конструкции, отвечающей технологическим и
техническим требованиям, является определяющими при выборе аналога в процессе
создания нового оборудования.
Список
использованной литературы
1. Белов
С.В. Безопасность жизнедеятельности - М.: Высшая школа, 2001г.
2. Ботов
М.И. Тепловое и механическое оборудование предприятий торговли и общественного
питания: учебник для нач. проф. Образования /М.И. Ботов, В.Д. Елхина, О.М.
Голованов. - 2-е изд., испр. - М.: Издательский центр "Академия",
2006. - 464 с.
. Гайворонский
К.Я., Щеглов Н.Г. Технологическое оборудование предприятий общественного
питания и торговли: учебник - М.: ИД "ФОРУМ": ИНФРА-М, 2008. - 480 с.
. ГОСТ
Р 50663-95 "Общественное питание" Классификация предприятий".
. Драгилев
А.И., Невзоров Г.М. Практикум по расчетам оборудования кондитерского
производства: Учеб. пособие для техникумов. - М.: Агропромиздат, 1990. - 176 с.
. Иоффе
И.Л. Проектирование процессов и аппаратов химической технологии: Учебник для
техникум. - Л.: Химия, 1991. - 352 с.
. Лунин
О.Г., Вельтищев В.Н. Теплообменные аппараты пищевых производств. - М.:
Агропромиздат. 1987.
. Лунин
О.Г., Вельтищев В.Н., Березовский Ю.М. и др. Курсовое и дипломное
проектирование технологического оборудования пищевых производств. - М.:
Агропромиздат. 1986.
. Мягков
В.Д. Краткий справочник конструктора. Изд.2-е, доп. и перераб. - Л.:
Машиностроение. 1975.
. Павлов
К.Ф. Примеры и задачи по курсу процессов и аппаратов химической технологии
/К.Ф. Павлов, П.Г. Романов, А.А. Носков. - Л.: Химия, 1981. - 633 с.
. Романков
П.Г., Курочкина М.И. Примеры и задачи по курсу "Процессы и аппараты
химической промышленности": Учеб. пособие для техникумов. - Л.: Химия,
1984. - 232 с.
. Санитарно-эпидемиологические
требования к организациям общественного питания, изготовлению и
оборотоспособности в них продовольственного сырья и пищевых продуктов: СанПин
2.3.6.959-00. - М.: "Интерсэн", 2000. - 64 с.
. Соколов
В.И. Основы расчета и конструирования машин и аппаратов пищевых производств. -
М.: Колос. 1992.
. Стабников
В.Н., Повод В.Д., Лысянский В.М., Редько В.А. Процессы и аппараты пищевых
производств. Изд.3-е, перераб и доп. - М.: Пищевая промышленность, 1976, - 662
с.
. Усов
В.В. организация производства и обслуживания на предприятиях общественного
питания: Учебник для нач. проф. Образования: Учеб. пособие для сред. Проф.
Образования /В.В. Усов. - 2-е изд., стер. - М.: Издательский центр
"Академия", 2004. - 402-406.