Изучение технологии машиностроительных производств
Содержание
Введение
1. Структура и назначение инженерных служб и отделов
2. Описание основных этапов конструкторской подготовки производства
3. Применение вычислительной техники и САПР
конструкторско-технологических направлений
3.1 Вычислительный центр завода. Тематика и характер решаемых задач
3.2 Функции бюро обработки информации
3.3 Функции бюро программирования
3.4 Структура программно-информационного обеспечения
4. Обзор назначений, компоновок и технических характеристик
современных универсальных горизонтально консольно-фрезерных станков
4.1 Горизонтальный консольно-фрезерный станок с поворотным столом
FU-350R
4.2 Станок консольно фрезерный горизонтальный 6К82Г
4.3 Горизонтальный консольно-фрезерный станок ОРША-Ф32Г
4.3 Горизонтальный консольно-фрезерный станок ОРША-Ф32Г
5. Назначение, компоновка, основные узлы и основные движения
универсально консольно-фрезерного станка
5.1 Горизонтально фрезерные станки
5.2 Принципы работы горизонтальных фрезерных станков
5.3 Удобство и безопасность работы
5.4 Технические и технологические преимущества горизонтально
фрезерных станков
5.5 Горизонтальный консольно-фрезерный станок модели 6Р82
5.6 Основные узлы станка
5.7 Управление станком
6. Технологические схемы обработки, рабочая зона, основные движения
формообразования и методы образования производящих линий на горизонтально
консольно-фрезерном станке
6.1 Схемы обработки на станке модели 6Р82
6.2 Схемы крепления инструмента на станке модели 6Р82
7. Структурная схема, кинематические цепи и расчетные перемещения
горизонтально консольно-фрезерного станка 6Р82
7.1 Структурная схема станка
8. Кинематическая схема горизонтально консольно-фрезерного станка
6Р82
9. Обзор назначений и компоновок токарных горизонтальных станков с
ЧПУ
9.1 Горизонтальные токарные станки с ЧПУ SK40P, SK50P, SK50, SK66
9.2 Горизонтальные токарные станки с ЧПУ CK1630, CK1640, CK1660
9.3 Горизонтальные токарные станки с ЧПУ CK6140H/50H
10. Компоновка, основные узлы и движения токарно станка 16К20Ф3
10.1 Компоновка станка 16К20Ф3
10.1 Карта смазывания и расхода смазочных материалов станка 16К20Ф3
11. Назначение и технологические схемы обработки токарно станка
16К20Ф3 с ЧПУ
12. Кинематическая схема токарно станка 16К20Ф3 с ЧПУ
12.1 Кинематика станка
12.2 Описание устройства ЧПУ
13. Кинематическая схема и описание принципа работы, назначения и
особенностей привода подач токарного станка с ЧПУ
13.1 Назначение
13.2 Отличительные способности
14. Патентно-поисковые исследования конструкций приводов главного
движения и подач станков с ЧПУ и их элементов
14.1 Патентно-поисковые исследования
14.1.1 Шпиндельная головка RU 2053044
14.1.2 Шпиндельная бабка расточного станка SU 1618509
14.1.3 Шпиндельная бабка расточного станка RU 20275591
14.1.4 Шпиндельный узел металлорежущего станка SU 1634369
14.1.5 Шпиндельный узел расточного станка SU 1779474
14.1.6 Шпиндельный узел металлорежущего станка RU 2116165
14.1.7 Беззазорная червячная передача и способ нарезания зубьев
червячного колеса беззазорной червячной передачи RU 2291337
14.1.8 Опора качения SU 1640465
14.1.9 Винтовая передача RU 2279595
14.1.10 Направляющие качения для стола металлорежущего станка RU
2083344
15. Конструкции приспособлений, применяемых в станках, их принцип
работы и кинематические схемы
15.1 Приспособления для токарных станков
15.2 Система перемещения заготовки - рычажная
15.3 Основные работы, выполняемые на токарных станках
15.4 Приспособления для закрепления инструмента с хвостиком
15.5 Приспособления при обработке фасонных поверхностей
15.6 Приспособления для нарезания многозаходных резьб
15.6.1 Оправки оправка
15.7 Приспособление для затылования резьбовых фрез
15.8 Приспособление для правки шлифовального круга
16. Патентно-поисковые исследования конструкций современных режущих
инструментов
17. Измерительные приборы и инструменты, применяемые на станках и
их назначение
17.1 Контроль качества технологической оснастки на стадии
проектирования
17.2 Контроль качества технологической оснастки на стадии
проектирования
17.3 Контроль качества технологической оснастки на стадии
изготовления
17.4 Порядок испытания и внедрения технологической оснастки
18. Технико-экономические показатели производства
19. Требования охраны труда и техника безопасности на
машиностроительном предприятии
19.1 Указание мер безопасности
19.2 Правила техники безопасности при эксплуатации станка
20. Экологическая безопасность на машиностроительном предприятии и
охрана окружающей среды
Литература
Введение
Прохождение практики на заводе является важным этапом
изучения технологии машиностроительных производств, а также различных методов
получения заготовок и обработки деталей, так как позволяет воочию увидеть уже
внедрённое оборудование и убедиться в соответствии изученных в теории методов и
приёмов обработки применяемым на практике. Практика даёт возможность расширить
и закрепить полученные в учебном заведении знания об организации различных
типов производств, о расчётах, проектировании и методах внедрения всевозможных
типов оборудования, приспособлений и инструмента. Целью практики является также
изучение конкретного технологического процесса и нахождение возможностей его
усовершенствования с точки зрения экономии времени, энергии, оборудования и
материалов с экономическим обоснованием. Это позволяет повышать эффективность
производства и обуславливает его технический прогресс.
Основными задачами и перспективами развития
машиностроительной отрасли является уменьшение времени на изготовление деталей,
изделий, сборочных единиц и повышение производительности труда. Это достигается
путём сокращения номенклатуры применяемого универсального оборудования взамен
внедрения различных высокопроизводительных автоматизированных и автоматических
в основном многошпиндельных станков и, как следствие уменьшения количества
операций обработки. Преимущество должно отдаваться совмещению различных переходов
на одном станке, что также позволит сократить время на обработку.
В последние годы ПО "Минский тракторный завод"
выступает как самостоятельный экспортер. На все продаваемые тракторы получены
международные сертификаты, подтверждающие их соответствие стандартам Евросоюза.
машиностроительный консольный фрезерный станок
За большой вклад в развитие производства и международного
сотрудничества МТЗ удостоено всемирной награды " Золотой Меркурий”.
Основные направления развития машиностроения предусматривают
дальнейшее повышение его эффективности, интенсификации, уменьшение сроков
создания, освоения и производства новой прогрессивной техники.
Организационно-методической основой выполнения поставленной задачи является
конструирование машиностроительных изделий с учетом требований технологичности
конструкции.
Рассматривая современное состояние проектирования и
изготовления машиностроительных изделий с учетом требований технологичности,
можно отметить несколько направлений решения этой проблемы, которые
непосредственно или косвенно способствуют повышению технологичности конструкций
в соответствии с требованиями современного производства. К ним относятся:
непрерывно возрастающий объем агрегатного монтажа сборочных
единиц, механизмов и оборудования, развитие системы модульного проектирования
на базе типизации, унификации и стандартизации;
широкое использование ЭВМ, обеспечивающее более высокий
уровень анализа конструктивных решений в различных вариантах использования;
организация широкого обмена опытом в области создания
технологичных конструкций между различными отраслями машиностроения.
Таким образом, генеральная линия развития машиностроения -
комплексная автоматизация проектирования и производства - требует знания и
совершенного метода проектирования.
Эффективность производства, его технический прогресс,
качество выпускаемой продукции во многом зависят от опережающего развития
производства нового оборудования, машин, станков и аппаратов, от всемерного
внедрения методов технико-экономического анализа, обеспечивающего решения
технических вопросов и экономическую эффективность технологических и
конструкторских разработок.
Для народного хозяйства необходимо увеличить выпуск продукции
машиностроения и повысить ее качество. Этот рост осуществляется за счет
качественной интенсификации производства на основе широкого использования
достижений науки и техники, применения прогрессивных технологий. Повышение
эффективности производства возможно путем его автоматизации и механизации,
оснащение производства высокопроизводительными станками с ЧПУ, промышленными
роботами, создание гибких производственных систем.
Технический прогресс в машиностроении характеризуется не
только улучшением машин, но и непрерывным совершенствованием технологий их
производства. Важно качественно, экономично и в заданные сроки с минимальными
затратами индивидуального и общественного труда изготовить машину.
Развитие новых прогрессивных технологических процессов
обработки способствует конструированию более совершенных машин и снижению их
себестоимости. Эффективность производства, его технический прогресс, качество
выпускаемой продукции во многом зависят от опережающего развития производства
нового оборудования, машин, станков и аппаратов, от всемирного внедрения
методов технико-экономического анализа.
1. Структура
и назначение инженерных служб и отделов
С целью улучшения взаимодействия работы отделов, служб и
цехов (участков) по выпуску продукции на МТЗ была разработана "Структурная
схема предприятия с указанием всех цехов, участков, вспомогательных служб"
(рисунок 1). Она представляет собой иерархическую организационную структуру,
построенную по линейно-функциональному принципу, и включает все основные и
вспомогательные производственные функции, а также развитую социально-бытовую
инфраструктуру. Организационная структура предприятия подчинена выполнению
основной цели (миссии) предприятия-организации производства продуктов
машиностроения.
В структуру управления завода входят следующие управления:
- цеха основного производства;
- самостоятельные участки основного производства;
- цеха вспомогательного производства;
- непромышленная группа завода:
¨ жилищно-эксплуатационный участок;
¨ детские сады-ясли;
¨ подсобное сельское хозяйство (свиноферма).
Функциональное руководство предприятием осуществляют
следующие отделы заводоуправления:
- производственно-диспетчерский отдел;
- планово-экономический отдел;
- отдел организации труда и зарплаты;
- отдел главного конструктора;
- отдел главного технолога;
- отдел металлургического производства;
- энерго-механический отдел;
- отдел технического контроля;
- отдел материально-технического снабжения;
- отдел внешней кооперации;
- финансово-сбытовой отдел;
- бухгалтерия;
- отдел кадров;
- отдел капитального строительства;
- отдел автоматизации и механизации;
- отдел автоматизированных систем
управления;
- хозяйственный отдел;
- исполнители по юридическим вопросам,
охране, технике безопасности;
- рационализация, отдел научно-технической
информации.
Директор завода организует всю работу и несет полную
ответственность за деятельность завода. Директору завода непосредственно
подчинены:
- главный инженер;
- заместить директора по капитальному
строительству;
- заместитель директора по
нотариально-финансовым вопросами транспорту;
- помощник директора по кадрам и сбыту;
- начальник планово экономического отдела;
- главный бухгалтер;
- старший юрисконсульт;
- начальник организации труда и заработной
платы;
- начальник производственно-диспетчерского
отдела;
- старший инженер по спецработе.
Главный инженер завода является первым заместителем директора.
Ему подчинены:
- заместитель главного инженера по товарам
народного потребления;
- заместитель главного инженера по новой
технике;
- главный технолог;
- главный конструктор;
- начальник ЭМО;
- начальник отдела автоматизации и
механизации производственных процессов;
- начальник инструментального отдела;
- исполнители по технике безопасности,
научно-технической информации, рационализации и изобретательству.
Заместитель директора по материально финансовым вопросам и
транспорту возглавляет следующие подразделения завода:
- ОМТС;
- ОВК;
- ФСО;
- ХОЗО;
- транспортный цех.
ОМТС отвечает:
- за бесперебойное и компетентное
обеспечение всеми видами сырья, материалов, комплектующих изделий, топливом,
спецодеждой, спец обувью, защитными средствами и т.п. для обеспечения
производства;
- за хранение, складирование и своевременное
перемещение товарно-материальных ценностей и организацию складского хозяйства в
соответствии с нормами правил охраны труда и техники безопасности;
- за своевременное выполнение погрузочно-разгрузочных
работ и отсутствие сверхнормативных простоев железнодорожного транспорта;
- за пожарную безопасность на заводе.
Планово-экономический отдел (ПЭО) получает от технического,
(конструкторского и технологического) и производственного отделов завода расчеты
производственных мощностей по цехам, нормы расхода сырья, материалов,
полуфабрикатов и комплектующих изделий. Получают счета расходов на освоение
новых производств, на опытно-конструкторские и научно-исследовательские работы,
счета затрат на изготовление оснастки новых производств, планы развития и
внедрения новой техники и улучшения организации производства с расчетами
экономической эффективности и отчеты об их выполнении.
Задачи одела:
- руководство работой по экономическому
планированию на предприятии, направленному на организацию рациональной
хозяйственной деятельности;
- выявление и использование резервов
производства с целью достижения наибольшей экономической эффективности;
- организация комплексного экономического
анализа деятельности предприятий и участие в разработке мероприятий по
ускорению темпов роста производства, эффективного использования
производственных мощностей, материальных и трудовых ресурсов, повышению
рентабельности труда;
- организация и совершенствование внутри
хозяйственного расчета;
- разработка проектов оптовых и розничных
цен на реализуемую продукцию и утверждение внутризаводских планово расчетных
цен.
Задачами и функциями отдела главного технолога (ОГТ)
является:
- разработка, внедрение, совершенствование
прогрессивных экономически обоснованных технологических процессов;
- капитальный ремонт различной продукции с
целью обеспечения современного выполнения заданий по выпуску качественной
продукции, сокращение затрат труда по производству продукции;
- систематический контроль за соблюдением
технологической дисциплины на производстве, а так же выполнение приказов и
инструкций по техническим вопросам;
- разработка и внедрение новой техники и
мероприятий по совершенствованию производственных процессов, механизация
трудоемких работ, повышению культуры производства и расчет их экономической
эффективности;
- разработка и внедрение прогрессивных
подетальных норм расхода материала, заготовок и инструмента;
- обобщение трудового опыта и внедрение
более совершенных технологических процессов на производстве;
- разработка и участие в реализации
мероприятий по механизации и автоматизации производственных процессов,
технологического обеспечения внедрения поточных методов работы и сокращение
применения ручного труда;
- снижение трудоемкости изготовления и
ремонта изделий за счет повышения производительности труда при ремонте
автомобильной техники;
- участие в подготовке рекомендаций по
внедрению трудовых методов и приемов труда, улучшению организации и
оборудования рабочих мест, создание благоприятных в санитарно-технических
отношениях условий труда, повышению культуры производства и внедрение
мероприятий по научной организации труда;
- совершенствование методов технического
контроля, разработка мероприятий по предупреждению и устранению брака, составлению
и пересмотру технических условий и требований, предъявляемых к сырью,
материалам и полуфабрикатам;
- участие в выполнении плана мероприятий по
внедрению научной организации труда.
Технологический отдел является самостоятельным отделом завода
и действует на основании Положения. Тех. отдел возглавляется начальником отдела
и подчиняется главному инженеру.
Задачи и функции отдела:
- разработка и осуществление плана тех.
подготовки производства и освоение новых машин, узлов на базе широкого
применения прогрессивной тех. оснастки;
- разработка и внедрение в производство
наиболее прогрессивной капитального ремонта на восстановление изношенных
деталей, новых изделий, запасных частей;
- непрерывное совершенствование новых
технологий;
- произведение вместе с ОТК завода контроля
рабочих чертежей изделий на технологичность конструкции и контроля соблюдения
технологической дисциплины производственных участков;
- разработка и обеспечение производства
рабочими чертежами, картами тех. процессов;
- проектирование тех. оснастки и инструмента
для нужд завода, контроль за их изготовлением и внедрением в производство;
- разработка плановой техники и
организационно-технических мероприятий и осуществления контроля за их
выполнением;
- квалифицированное заключение о целесообразности
поданных рационализаторских предложений;
- разработка норм расхода материалов и
запасных частей.
Рисунок 1.1 Структурная схема предприятия, связь основных и
вспомогательных цехов
2. Описание
основных этапов конструкторской подготовки производства
Конструкторская подготовка производства представляет собой
совокупность работ, необходимых для освоения, в установленные
организационно-распорядительными документами сроки, новых или измененных
технологических процессов, обеспечивающих выпуск изделия высокого качества при
минимальных трудовых и материальных затратах в объемах ежегодного
номенклатурного плана производства тракторов и машин, утверждаемого генеральным
директором.
Исходным для проектирования новой продукции является
проектное (техническое) задание, которое составляется заказчиком (предприятием)
или по его поручению проектной организацией. В проектном задании указывается
наименование продукции, ее назначение, область применения, технические и
экономические показатели в процессе производства и эксплуатации. На уровне
проектного задания должны быть определены принципиальные отличия новой
конструкции или изделия от ранее выпускаемых, приведены перечень и обоснование
необходимости оригинальных изделий, даны подробные расчеты эффективности нового
изделия с учетом эффекта, рассчитанного как для потребителя, так и для
производителя.
На основании анализа проектного задания заказчика и
сопоставления различных вариантов возможных решений изделий, сравнительной
оценки решений с учетом конструктивных и эксплуатационных особенностей
разрабатываемого и существующих изделий, а также патентных материалов
составляется техническое предложение - совокупность конструкторских документов,
содержащих технические и технико-экономические обоснования целесообразности дальнейшей
разработки проекта.
Техническое задание является исходным документом, на основе
которого осуществляется вся работа по проектированию нового изделия. Оно
разрабатывается на проектирование нового изделия либо
предприятием-изготовителем продукции и согласуется с заказчиком (основным
потребителем), либо заказчиком. Утверждается ведущим министерством (к профилю
которого относится разрабатываемое изделие).
В техническом задании определяется назначение будущего
изделия, тщательно обосновываются его технические и эксплуатационные параметры
и характеристики: производительность, габариты, скорость, надежность,
долговечность и другие показатели, обусловленные характером работы будущего
изделия. В нем также содержатся сведения о характере производства, условиях
транспортировки, хранения и ремонта; рекомендации по выполнению необходимых
стадий разработки конструкторской документации и ее составу;
технико-экономическое обоснование и другие требования.
Разработка технического задания базируется на основе выполненных
научно-исследовательских и опытно-конструкторских работ, результатов изучения
патентной информации маркетинговых исследований, анализа существующих
аналогичных моделей и условий их эксплуатации.
Техническое предложение разрабатывается в том случае, если
техническое задание разработчику нового изделия выдано заказчиком. Второе
содержит тщательный анализ первого и технико-экономическое обоснование
возможных технических решений при проектировании изделия, сравнительную оценку
с учетом эксплуатационных особенностей проектируемого и существующего изделия
подобного типа, а также анализ патентных материалов.
Техническое предложение после согласования и утверждения в
установленном порядке является основанием для разработки эскизного
(технического) проекта.
Эскизный проект - совокупность конструкторских документов,
которые должны содержать принципиальные конструктивные решения, дающие общее
представление об устройстве и принципе работы изделия, а также данные,
определяющие назначение, основные параметры и габаритные размеры
разрабатываемого изделия. При разработке эскизного проекта определяется
принципиальная характеристика нового изделия, производится выбор наиболее
эффективного решения, его технических, технологических, эксплуатационных
параметров.
Эскизный проект состоит из графической части и пояснительной
записки.
первая часть содержит принципиальные конструктивные решения,
дающие представление об изделии и принципе его работы, а также данные,
определяющие назначение, основные параметры и габаритные размеры. Таким
образом, она дает конструктивное оформление будущей конструкции изделия,
включая чертежи общего вида, функциональные блоки, входные и выходные
электрические данные всех узлов (блоков), составляющих общую блок-схему. На
этой стадии разрабатывается документация для изготовления макетов,
осуществляется их изготовление и испытания, после чего корректируется
конструкторская документация;
вторая часть эскизного проекта содержит расчет основных
параметров конструкции, описание эксплуатационных особенностей и примерный
график работ по технической подготовке производства;
Эскизный проект всегда составляется в нескольких вариантах
для последующего выбора одного из них. Эскизный проект после согласования и
утверждения в установленном порядке служит основанием для разработки
технического проекта или рабочей конструкторской документации.
Технический проект - совокупность конструкторских документов,
которые должны содержать окончательные технические решения, дающие полное
представление об устройстве разрабатываемого изделия, и исходные данные для
разработки рабочей документации.
Технический проект позволяет осуществлять выбор материалов и
полуфабрикатов, определять основные принципы изготовления продукции и проводить
экономическое обоснование проекта.
Технический проект после согласования и утверждения в
установленном порядке служит основанием для разработки рабочей конструкторской
документации. Ранее разработанные конструкторские документы обычно применяют
при разработке новых или модернизации изготавливаемых изделий, что приводит к
сокращению сроков проектирования.
Рабочий проект является дальнейшим развитием и конкретизацией
технического проекта. Эта стадия КПП разбивается на три уровня:
а) разработка рабочей документации опытной партии (опытного
образца);
б) разработка рабочей документации установочной серии;
в) разработка рабочей документации установившегося серийного
или массового производства. Первый уровень рабочего проектирования выполняется
в три, а иногда и в пять этапов.
На первом этапе разрабатывают конструкторскую документацию
для изготовления опытной партии. Одновременно определяют возможность получения
от поставщиков некоторых деталей, узлов, блоков (комплектующих). Всю
документацию передают в экспериментальный цех для изготовления по ней опытной
партии (опытного образца).
На втором этапе осуществляют изготовление и заводские
испытания опытной партии. Как правило, проводят заводские механические,
электрические, климатические и другие испытания.
Третий этап заключается в корректировке технической
документации по результатам заводских испытаний опытных образцов.
Если изделие проходит государственные испытания (четвертый
этап), то в процессе этих испытаний уточняются параметры и показатели изделия в
реальных условиях эксплуатации, выявляются все недостатки, которые впоследствии
устраняются.
Пятый этап состоит в корректировке документации по
результатам государственных испытаний и согласовании с технологами вопросов,
касающихся классов шероховатости, точности, допусков и посадок.
Второй уровень рабочего проектирования выполняется в два
этапа.
На первом этапе в основных цехах завода изготавливают
установочную серию изделий, которая затем проходит длительные испытания в
реальных условиях эксплуатации, где уточняют стойкость, долговечность отдельных
деталей и узлов изделия, намечают пути их повышения. Запуску установочных
серий предшествует, как правило, технологическая подготовка производства.
На втором этапе производят корректировку конструкторской
документации по результатам изготовления, испытания и оснащения технологических
процессов изготовления изделий специальной оснасткой. Одновременно с этим
корректируют и технологическую документацию. Третий уровень рабочего
проектирования выполняется в два этапа.
На первом этапе осуществляют изготовление и испытание
головной или контрольной серии изделий, на основе которой производят
окончательную отработку и выверку технологических процессов и технологического
оснащения, корректировку технологической документации, чертежей приспособлений,
штампов и т.д., а также нормативов расхода материалов и рабочего времени.
На втором этапе окончательно корректируют конструкторскую
документацию.
Такой, на первый взгляд громоздкий, порядок осуществления
конструкторской подготовки производства в массовом или крупносерийном
производстве дает большой экономический эффект. За счет тщательной отработки
конструкции изделия и его отдельных частей обеспечиваются максимальная
технологичность в производстве, надежность и ремонтопригодность в эксплуатации.
КТПП включает в себя следующие работы:
проработка на технологичность чертежей нового или изменённого
изделия;
разработка чертежей заготовок, поковок, отливок и их
согласование согласно СТП СМК 203-4.2.3-07;
разработка технологических маршрутов согласно СТП СМК
294-7.5.1-24;
разработка технологических процессов согласно СТП СМК
257-4.2.3-10, СТП СМК 202-4.2.3-11, СТП СМК 203-4.2.3-12, СТП СМК 202-4.2.3-21;
выдача заданий на проектирование технологической оснастки
согласно СТП 291-1627;
разработка технических заданий на проектирование
нестандартизированного оборудования согласно СТП 209-2115;
разработка технологических планировок в соответствии с СТП
202-2119;
оформление заявки на разработку и изготовление специального
оборудования согласно СТП СМК 202-7.4.0-05;
определение потребности в технологическом оборудовании и
составление заявок на его приобретение согласно СТП СМК 202-7.4.0-05;
разработка заданий на проектирование программ для станков с
ЧПУ согласно СТП СМК 225-4.2.3-09;
разработка план-мероприятий КТПП; - проектирование
технологической оснастки (инструмента, приспособлений, штампов, прессформ, и
т.п.) согласно СТП 202-2174;
приобретение технологического оборудования согласно И СМК
249-4.2.3-00-30 и оснастки согласно СТП СМК 222-6.3.0-03 и другие работы.
обеспечение материалами, кооперированными и покупными
комплектующими изделиями согласно СТП СМК 244-7.4.0-03, СТП СМК 245-7.4.0-16,
СТП СК 213-4.6-03, И СМК 245-00-41;
КТПП предшествует предварительная проработка предполагаемого
производства, которая включает в себя следующие этапы:
проработка заявки с целью определения уверенности в
способности выполнить требования контракта согласно СТП СК 213-4.3-01;
анализ, отработка и согласование на технологичность
конструкции нового или измененного изделия;
организационно-технологический анализ и технико-экономическая
проработка предполагаемой подготовки производства;
подготовка исходных данных для составления плана мероприятий
КТПП.
В КТПП участвуют отделы, службы, лаборатории, цехи
объединения в зависимости от их специализации и с учетом функций, определяемых
положением о структурных подразделениях ПО "МТЗ”.
Порядок организации и управления техническим обслуживанием
продукции производится по СТП СМК 285-7.5.1-20.
Для проведения КТПП, при необходимости, привлекаются
научно-исследовательские и проектно-конструкторские организации, высшие учебные
заведения, предприятия и организации на договорных началах.
Планирование, учет, контроль и регулирование КТПП проводят
бюро (группы) планирования подготовки производства технологических служб и
другие подразделения ПО "МТЗ" в пределах функций своих служб по
подведомственным цехам и участкам производства. Координацию работ по КТПП
осуществляет технический директор (заместитель технического директора по
инженерной подготовке производства по цехам механосборочного производства).
3. Применение
вычислительной техники и САПР конструкторско-технологических направлений
.1
Вычислительный центр завода. Тематика и характер решаемых задач
Отдел организации систем и процессов управления является
самостоятельным, специализированным структурным подразделением завода. Отдел
ОсиПУ непосредственно подчиняется директору завода.
Основными задачами отдела ОСиПУ являются:
. Разработка и совершенствование систем и процессов
управления на базе вычислительной техники.
2. Выполнение вычислительных работ на ЕС ЭВМ согласно
графику вычислительных работ и корректировки научно-справочной информации
(НСИ).
. Проведение технического обслуживания средств
вычислительной техники, диспетчерской и факсимильной связи, множительной
техники и средств АСУП.
В состав отдела входят следующие подразделения:
Бюро организационных структур, проектирования и
внедрения задач АСУП - разрабатывает, совершенствует и внедряет совместно с
подразделениями завода задачи подсистем АСУП.
- Бюро программирования - разрабатывает и совершенствует
программное обеспечение задач АСУП.
Бюро технического обслуживания ЭВМ - выполняет тех.
обслуживание и ремонт вычислительной техники.
Бюро подготовки кадров и введение НСИ - производит
подготовку и выдачу информации согласно графику вычислительных работ.
Бюро обработки информации на ЭВМ - производит
обработку информации на ЕС ЭВМ и ЛВС ПЭВМ; совершенствование, внедрение и
поддержание в рабочем состоянии систем ПО ЭВМ и ПЭВМ.
3.2 Функции
бюро обработки информации
Бюро обработки информации совершает следующие работы:
Проводит получение от подразделений отдела АСУ
инструкций, магнитных носителей с информацией, отлаженных программ и т.д.
- Осуществляет вычислительные и отладочные работы
согласно тех. процесса.
Осуществляет контроль полученных результатов.
Организует систему хранения и контроля за
своевременностью внесение изменений в нормативно-справочную информацию на МЛ.
Осуществляет контроль и оказывает помощь
пользователям при работе в ЛВС МПЗ.
3.3 Функции
бюро программирования
Бюро программирования выполняет следующую работу:
Осуществляет разработку математического обеспечения.
- Участвует в разработке, согласовании, утверждении
технического задания.
Разрабатывает и внедряет задачи по подсистемам АСУ
МПЗ.
Организует обучение пользователей работе на ПЭВМ и
ознакомление с задачами сдаваемыми в промышленную эксплуатацию.
Внедряет новейшие достижения в области
математического обеспечения подсистем АСУ МПЗ.
- Готовит предложения по приобретению программных
средств.
- Проводит мероприятия по повышению квалификации
сотрудников бюро.
Имеющийся отечественный и зарубежный передовой опыт
компьютеризации процессов ТПП подтверждает целесообразность и необходимость
такого пути решения проблем.
Для решения технологических и конструкторских задач используются
следующие системы программного обеспечения:SolidWorKS Cimatron - разработка
чертежей и пространственное моделирование.
Здесь следует отметить стремление российских разработчиков Т
- FLEX CAD - параметрическая система автоматизированного проектирования и
черчения.
КОМПАС - это параметрическая чертежно-конструкторская графика
для Windows с широким перечнем библиотек и конструкторских приложений, а также
средства их разработки. Ее применение охватывает ключевые направления
конструирования, подготовки и выпуска чертежно-конструкторской документации
любого профиля.
3.4 Структура
программно-информационного обеспечения
Предназначено: для формирования информационных моделей
машинoинженерных расчетов параметров технологического процесса и оборудования,
параметрического проектирования деталей и сборочных единиц, оснастки для
механообработки, штамповки, сварки.
4. Обзор
назначений, компоновок и технических характеристик современных универсальных
горизонтально консольно-фрезерных станков
4.1
Горизонтальный консольно-фрезерный станок с поворотным столом FU-350R
Горизонтальный консольно-фрезерный станок с поворотным столом
FU-350R предназначен для выполнения в автоматических циклах обработки
маятниковое фрезерование, фрезерование с ускоренным перескоком, фрезерование по
ускоренному циклу в трех плоскостях (xy, xz, yz) посредством кулачкового
управления. ОСОБЕННОСТИ КОНСТРУКЦИИ:
· Механизм опускания
консоли и механизм попутной подачи в продольной координате;
· Электромеханическое
приспособление для зажима инструмента;
· Главные узлы: основная
плита, стойка, консоль, суппорт, стол изделия - изготовлены из серого чугуна и
имеют оптимальную целесообразную форму;
· Фторопластовые
направляющие консоли и поперечные салазки обладают хорошими антифрикционными
свойствами и аварийной антизадирной способностью;
· Мощность приводов и
высокая жесткость станков позволяют применять повышенные режимы обработки;
· Точность и высокое
качество обработки;
|
Технические характеристики FU-350R
|
|
Размеры рабочей поверхности стола, мм
|
315х1250
|
|
Наибольшее перемещение стола, мм
|
продольное
|
850
|
|
поперечное
|
270
|
|
вертикальное
|
335
|
|
Частота вращения шпинделя, об/мин
|
28.1400
|
|
Диапазон подач стола, мм/мин
|
продольных
|
16.800
|
|
поперечных
|
16.800
|
|
вертикальных
|
5.250
|
|
Поворот стола в обе стороны, град.
|
45
|
|
Мощность электродвигателей, кВт
|
главного движения
|
5,5
|
|
подач стола
|
1,5
|
|
Наибольшая масса обрабатываемых деталей, кг
|
1000
|
|
Габаритные размеры (ДхШхВ), мм
|
длина
|
2800
|
|
ширина
|
2880
|
|
высота
|
1995
|
|
Масса, кг
|
3000
|
4.2 Станок
консольно фрезерный горизонтальный 6К82Г
Cтанок 6К82Г предназначен для выполнения всех видов фрезерных
работ на деталях из черных и цветных металлов, их сплавов и пластмасс в
условиях единичного, мелкосерийного и серийного производства.
Наличие механизма зажима инструмента и ряда дополнительных
приспособлений и принадлежностей позволяет существенно расширить
технологические возможности станка 6К82Г.
Станок является современный аналогом ранее выпускавшихся
станков моделей 6Т82, 6К82, 6р82, 6Р81Г, 6Р81Ш, 6Р83Г, 6Р83Ш, 6Т804Г, 6Т80Ш,
6Т82Г, 6Т83Г, ОНФ-1, 6Н80, 6Н80Г, 6Н80Ш, 6П80, 6М80Г, 6Н81Г, 6Н82, 6М82Ш,6Н83,
и других.
Обладает отличными эргономическими, эстетическими,
техническими качествами, прост в обслуживании и эксплуатации.
Технические характеристики 6К82Г
|
Наименование параметров
|
6К81Г
|
|
Размеры рабочей поверхности стола, мм
|
250x1000
|
|
Наибольшее перемещение стола, мм
|
продольное
|
850
|
|
поперечное
|
250
|
|
вертикальное
|
400
|
|
Пределы подач стола, мм/мин
|
продольной
|
35-1020
|
|
поперечной
|
27-790
|
|
вертикальной
|
9-264
|
|
Ускоренное перемещение стола, мм
|
продольное
|
2900
|
|
поперечное
|
2300
|
|
вертикальное
|
1150
|
|
Количество частот вращения шпинделя, мин
|
21
|
|
Пределы частот вращения шпинделя, мин-1
|
16-1600
|
|
Конус шпинделя
|
ISO 50
|
|
Мощность электродвигателей приводов, кВт
|
подач
|
|
шпинделя
|
5,5
|
|
Габаритные размеры станка 6К82Г, мм
|
2135х1825х1695
|
|
Масса станка 6К82Г, кг
|
2300
|
|
Класс точности
|
Н
|
4.3
Горизонтальный консольно-фрезерный станок ОРША-Ф32Г
Станок ОРША-Ф32Г предназначен для фрезерования плоских и
фасонных поверхностей цилиндрическими, торцевыми и концевыми фрезами.
Станок ОРША-Ф32Г имеет горизонтальный шпиндель с конусом
ISO-50.
Особенности конструкции ОРША-Ф32Г:
Наличие частотного регулирования скорости асинхронных
электродвигателей главного привода и привода подач.
Возможность подключения гидрофицированного приспособления
зажима изделия.
Перемещения по осям X, Y, Z имеют механизированный и ручной
привод и осуществляются по закаленным чугунным направляющим скольжения.
Возможность установки цифровой индикации по координатам X, Y,
Z.
Станок имеет командоконтроллер SIEMENS, который управляет
электроавтоматикой станка и обеспечивает работу в полуавтоматическом цикле.
Наличие механизма отскока-подскока по координате Z и
механизмов дискретных подач по координатам X, Y, Z.
Наличие высоконадежного гидрофицированного механизма зажима
инструмента.
Комплектующие ведущих производителей SIEMENS, HITACHI,
BALLUFF.
Станок является современный аналогом ранее выпускавшихся
станков моделей 6К82, 6М82,6Р80Г, 6Р81ГМФ3-1, 6Р821, 6Р82Ш, 6Р83Ш,
6Т804Г,6Т82Г, 6Т83Г, ОНФ-1, 6Н80, 6Н80Г, 6Н80Ш, 6П80, 6М80, 6М80Г, 6М80Ш, 6Н81,
6Н81А, 6Н82, 6М82ГВ, 6Н83Г, 6М83Ш и других.
Обладает отличными эргономическими, эстетическими,
техническими качествами, прост в обслуживании и эксплуатации.
4.3
Горизонтальный консольно-фрезерный станок ОРША-Ф32Г
|
Технические характеристики
|
|
|
Наименование параметров
|
Орша-Ф32Г исп.30 без УЦИ
|
|
Класс точности по ГОСТ 8-82
|
П
|
|
Размеры рабочей поверхности стола, мм, длина /
ширина
|
1400/320
|
|
Точностные параметры, максимально достигаемые
на образце изделии: размер образца-изделия, мм
плоскостность\параллельность\перпендикулярность, мкм шероховатость
поверхности, обработанной эльборовым инструментом, Ra
|
400х200х180 20\20\12 1,25
|
|
Наибольшее перемещение стола, мм продольное
(координата X) поперечное (координата Y)
|
840 (1035) 320
|
|
Расстояние от оси горизонтального шпинделя до
рабочей поверхности стола, мм наибольшее\наименьшее
|
450\40
|
|
Наибольшая масса устанавливаемой заготовки
(включая приспособление), кг
|
300
|
|
Наружный диаметр концов шпинделей, мм горизонтального
(ISO-50)
|
128,57
|
|
Пределы рабочих подач стола, мм/мин продольных
и поперечных (координаты X и Y) вертикальных (координата Z)
|
25…1250 6,0…320
|
|
Скорость ускоренных перемещений стола, мм\мин
по координатам Х и Y по координатам Z
|
3000 800
|
|
Пределы частот вращения шпинделей,
мин-1горизонтального/ вертикального
|
25…2000
|
|
Мощность приводов фрезерных шпинделей, кВт
горизонтального/ вертикального
|
7,5
|
|
Наибольший крутящийся момент на фрезерных
шпинделях, Н м горизонтального\вертикального
|
1000\---
|
|
Габаритные размеры станка ОРША-Ф32Г (LxBxH),
мм, не более
|
2327х1690х1745
|
|
Габари тные размеры упаковки ОРША-Ф32Г (LxBxH),
мм
|
2420х1770х2050
|
|
Масса станка ОРША-Ф32Г (нетто/брутто), кг, не
более
|
2940/3440
|
5.
Назначение, компоновка, основные узлы и основные движения универсально
консольно-фрезерного станка
5.1
Горизонтально фрезерные станки
Горизонтально-фрезерные станки являются наиболее
распространенным оборудованием во всей фрезерной группе станков благодаря своей
функциональности, универсальности и широкой области использования. Сферой их
применения является как единичное, так и массовое производство. Данное
оборудование позволяет вести обработку деталей из черных и цветных металлов, а
также их сплавов.
5.2 Принципы
работы горизонтальных фрезерных станков
Как и во всех остальных фрезерных станках, принцип работы
горизонтальных моделей основан на вращении фрезы, обрабатывающей деталь
(заготовку), которая закрепляется на подвижном столе. Подобное оборудование
может быть консольным и бесконсольным.
С помощью горизонтально-фрезерных станков можно вести
обработку деталей небольшого размера и веса методом фрезерования. Станки
оборудованы столом, который передвигается поперечно и продольно, шпинделем
размещенным горизонтально и предназначены для работы различными фрезами:
цилиндрическими, концевыми, фасонными и т.д. Позволяют обрабатывать поверхности
как в горизонтальной, так и в вертикальной плоскостях, включая углы, пазы,
фасонные поверхности. Специальные делительные приспособления позволяют с
высокой точностью вести обработку заготовок, нуждающихся в периодическом
делении.
Простой визуальный осмотр горизонтально-фрезерного станка
позволяет увидеть, что все его основные узлы смонтированы на станине, внутри
которой располагаются коробка скоростей и механический шпиндельный узел.
Оправка с фрезой поддерживается специальным хоботом.
Некоторые модели горизонтально-фрезерных станков имеют статус
широкоуниверсальных, т.к. в их оснащение входит не только удобный рабочий стол
большой площади, но и поворотная фрезерная головка, что создает максимум
удобств в работе и гарантирует высокую точность сверления, растачивания,
зенкерования. Управляется подобное оборудование с помощью приборной панели,
расположенной в удобном для оператора месте. В некоторых моделях такие панели
располагаются по обеим сторонам станины, что создает для рабочего
дополнительный комфорт.
5.3 Удобство
и безопасность работы
Сегодня такое оборудование с успехом эксплуатируется как в
небольших мастерских и цехах, так и на крупных предприятиях. Большинство моделей
горизонтально-фрезерных станков обладают усиленной жесткой конструкций,
позволяющей без труда загружать на рабочую поверхность и вести обработку
довольно тяжелых заготовок, вес которых приближается к 1 тонне. Это стало
возможным благодаря тому, что станина и основные узлы оборудования
изготавливаются из высокопрочных сплавов, позволяющих выдерживать значительные
механические нагрузки. Направляющие горизонтально-фрезерных станков выполнены
из надежных антифрикционных материалов.
Станки обладают широким диапазоном скоростей и высокими
показателями мощности, что гарантирует высокую точность обработки и качество
поверхности. Конструкция станины у них разработана с учетом требований
жесткости и способности гасить вибрацию и динамические колебания. Наличие предохранительных
устройств и кнопки аварийного выключения создает гарантию безопасности при
работе на данных.
В отдельную группу можно вынести консольные
горизонтально-фрезерные станки. Их отличительной особенностью является широкий
диапазон возможностей, которые позволяют производить такие операции как
высокоточное фрезерование канавок и зубьев шестерен на плоских и ступенчатых
поверхностях. Другим преимуществом консольных станков считается возможность
установки на них дополнительной оснастки, еще более расширяющей их
производственные возможности (например, тисков, поворотного стола, делительной
или расточной головки).
5.4
Технические и технологические преимущества горизонтально фрезерных станков
Среди конструктивных преимуществ этого оборудования можно отметить
следующие.
Механизированная фиксация инструмента в шпинделе с помощью
патронов и оправок. Это дает возможность предельно точно установить вылет
инструмента и гарантирует точность обработки.
Механизм пропорционального замедления подачи.
Наличие специального устройства, которое контролирует
величину зазора в продольной подаче.
Встроенная защита привода подач от возможных перегрузок.
Устройство торможения шпинделя на случай его остановки
электромагнитной муфтой.
Новое поколение горизонтально-фрезерных станков обладает
рядом технологических преимуществ, среди которых:
возможность вести обработку заготовок в различных
автоматизированных циклах (например, в автоматическом цикле продольного
движения и т.д.);
обширный диапазон частот вращения шпинделя;
различные способы подачи рабочего стола;
высокая мощность приводов;
массивность, устойчивость, жесткость и долговечность станины
и всех ее рабочих узлов.
5.5
Горизонтальный консольно-фрезерный станок модели 6Р82
Горизонтальный консольно-фрезерный станок модели 6Р82
предназначен для фрезерования всевозможных деталей из стали, чугуна и цветных
металлов цилиндрическими, дисковыми, фасонными, угловыми, торцовыми, концевыми
и другими фрезами в условиях индивидуального и серийного производства.
На станке можно обрабатывать вертикальные и горизонтальные
плоскости, пазы, уступы, зубчатые колеса и т.п. (рис. 5.1 и 5.2).
Технологические возможности станка могут быть расширены за
счет применения делительной головки, поворотного круглого стола и других
приспособлений. Возможность настройки станка на различные полуавтоматические и
автоматические циклы позволяет организовать многостаночное обслуживание.
Техническая характеристика станка
. Размеры рабочей поверхности стола
(ширина Ч длина), мм 320 Ч 1250
. Наибольшая масса обрабатываемой детали, кг 250
. Пределы частот вращения, мин-1
,5 - 1600
. Число ступеней частот вращения 18
. Пределы подач, мм/мин
продольных 25 - 1250
поперечных 25 - 1250
вертикальных 8,3 - 416,6
. Число ступеней подач 18
. Мощность электропривода главного
движения, кВт 7,5
. Мощность электропривода подач, кВт 2,2
5.6 Основные
узлы станка
Базовым узлом станка является станина А, на которой
монтируются все остальные узлы и механизмы станка (рис. 5.3). Станина жестко
закреплена на основании Б, внутренние полости которого служат резервуаром для
охлаждающей жидкости. В станине смонтирована коробка скоростей, которая
представляет собой пятиваловый механизм стремя подвижными зубчатыми блоками
колес на 18 ступеней скорости. Переключение скорости осуществляется селективной
системой управления, позволяющей выбрать требуемую скорость шпинделя
безпоследовательного включения промежуточных ступеней. Осмотр коробки скоростей
можно произвести через окно В с правой стороны станка. Для поддержания конца
фрезерной оправки станок имеет хобот Г и кронштейны Д. Хобот и кронштейн могут
перемещаться и закрепляться - хобот в направляющих станины, кронштейны на
направляющих хобота. С передней стороны станина имеет вертикальные направляющие
типа "Ласточкин хвост" для консоли Е. В консоли смонтирована коробка
подач Ж на 18 ступеней скорости с селективной системой управления, а также ряд
валов, зубчатых колес и муфт, передающих движение от коробки подач в трех
направлениях - к винтам продольной подачи стола И, поперечной подачи салазок К
и вертикальной подачи консоли Е, механизм включения быстрого хода стола и
электродвигатель подач. Стол станка может быть повернут вокруг вертикальной
оси, что позволяет ему перемещаться не только перпендикулярно или параллельно
оси шпинделя, но и под различными углами к ней. Это дает возможность
фрезеровать на станке винтовые канавки и нарезать зубчатые колеса с винтовыми
зубьями.
5.7
Управление станком
Управление станком модели 6Р82 - кнопочно-рукояточное.
Основными движениями в станке можно управлять с двух мест - спереди и сбоку.
Включение станка в сеть осуществляется переключателем 31. По окончании работы
или при продолжительном перерыве станок необходимо отключить от сети. Включение
вращения шпинделя производится кнопками 2 или 16 в зависимости от места
управления станком, а выключение - кнопками 1 и 17. Реверсирование направления
вращения шпинделя производится переключателем 33. Изменение скорости вращения
шпинделя осуществляется перемещением рукоятки 35, вращением указателя скоростей
4 в любую сторону и включением кнопки 6. Включение и выключение продольной
подачи стола осуществляется рукояткой 11, имеющей три фиксированных положения:
вправо, влево, среднее (нейтральное) или дублирующей рукояткой 29. Управление
поперечным перемещением салазок и вертикальным перемещение консоли производится
рукояткой 23, имеющей пять фиксированных положений: среднее (нейтральное), к
себе, от себя перемещение поперечных салазок; вниз, вверх - перемещение
консоли; или дублирующей рукояткой 30. Изменение скорости подач стола
осуществляется нажатием кнопки 24, перемещением грибка 25 и вращением указателя
подач 26 в любую сторону. Быстрые перемещения стола в трех взаимно
перпендикулярных направлениях происходит при нажатии кнопок 5 или 15 и при
включении рукояток 11 или 23 в направлении необходимого перемещения стола и
прекращается, если отпустить кнопку. Ручные продольные, поперечные и
вертикальные перемещения стола осуществляются соответственно маховиком 14 или
34, маховиком 18 и рукояткой 21.
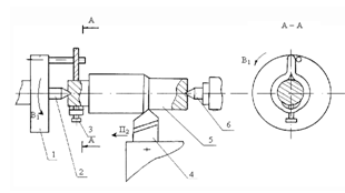
Рис.5.1. Общий вид
6.
Технологические схемы обработки, рабочая зона, основные движения
формообразования и методы образования производящих линий на горизонтально
консольно-фрезерном станке
6.1 Схемы
обработки на станке модели 6Р82
Рис.6.1 Схемы обработки: а, в - плоскости - цилиндрической и
торцовой фрезами; б - фасонной поверхности - набором дисковых фрез; г, д -
уступа - дисковой и концевой фрезами; е - паза - концевой фрезой; ж - паза -
дисковой фрезой; з, и - шпоночного паза - концевой и дисковой фрезами; к -
Т-образного паза концевой фрезой; л - паза типа "ласточкин хвост"
угловой фрезой; н - отрезка заготовки - дисковой фрезой
6.2 Схемы
крепления инструмента на станке модели 6Р82
Рис.6.2 Схемы крепления инструмента на фрезерных станках: 1 -
шпиндель; 2 - шомпол; 3 - оправка; 4 - установочные кольца; 5 - цилиндрическая
фреза; 6 - серьга хобота; а - цилиндрических фрез; б - пальцевых фрез; в -
торцовых фрез
7.
Структурная схема, кинематические цепи и расчетные перемещения горизонтально
консольно-фрезерного станка 6Р82
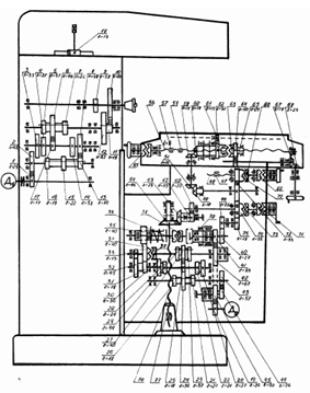
7.1
Структурная схема станка
Станок модели 6Р82 по кинематической структуре относится к
классу Э22 и состоит из нескольких частных структур (рис.5). Каждая из этих
структур содержит кинематические группы для двух исполнительных движений:
движения резания Фv (В) и движения подачи - продольной Ф (П)
s 21, поперечной Ф (П) s 32или вертикальной Ф (П) s 43.
Кинематическая группа движения резания Фv (В1) - простая. Ее
внутренняя связь состоит из одной кинематической вращательной пары между
шпинделем фрезы и станиной. Внешняя кинематическая
связь с органом настройки iv находится между источником
движения Д1 и шпинделем - на схеме пунктирный отрезок 1 - 2.
Кинематическая группа движения продольной подачи Ф (П) s 21 -
простая, с внутренней связью в ви-де поступательной кинематической пары между
столом и поперечными салазками и внешней кинема-тической связью: источник
движения Д2 → iS → 4 → М1 → 5 → ходовой винт с
t1.
Кинематическая группа движения поперечной подачи Ф (П) s 32 -
тоже простая, с внутренней связьюв виде поступательной кинематической пары
между поперечными салазками и консолью и внешней кинематической связью:
источник движения Д2 → iS → 4 → М2 → 6 → ходовой
винт с t2.
Кинематическая группа движения вертикальной подачи Ф (П) s 43
- простая, с внутренней связью в виде поступательной кинематической пары между
консолью и станиной и внешней кинематической связью: источник движения Д2 →
iS → 4 → М3 → 7 → ходовой винт с t3.
Рис 7.1 Структурная схема станка
8.
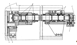
Кинематическая схема горизонтально консольно-фрезерного станка 6Р82
Рис 8.1 Кинематическая схема станка
9. Обзор
назначений и компоновок токарных горизонтальных станков с ЧПУ
9.1
Горизонтальные токарные станки с ЧПУ SK40P, SK50P, SK50, SK66
Общее описание:
В станках данной серии скорость шпинделя меняется
механически. Станок оснащен 4-х позиционным резцедержателем, опционально -
6-позиционным резцедержателем. Закрывающаяся сдвижная дверь гарантирует
безопасность оператора. Устанавливаемая система ЧПУ: FANUC 0i Mate - TC либо
SIEMENS 802C /802D. Токарный станок предназначен для обработки внутренних и
внешних цилиндров, конусов, обточки и нарезания резьбы. Машина может быть
использована в среднем и небольшом серийном производстве различных деталей.
Стандартная комплектация:
система ЧПУ FANUC Oi Mate (серводвигатель)
механическая коробка скоростей с электронной регулировкой
скорости и плавности хода
-станционный резцедержатель
ручной 3-кулачковый патрон
система смазки
система подачи СОЖ
Опции:
Гидравлический 3-кулачковый патрон (250мм) без сквозного
отверстия с гидростанцией либо гидравлический 3-кулачковый патрон (250мм) со
сквозным отверстием и гидростанцией
Гидравлическая задняя бабка 6-станционный резцедержатель с
электроприводом
Спецификация:
|
Параметры
|
Ед. измер.
|
Модель
|
|
|
SK40P
|
SK50P
|
SK50
|
SK66
|
|
Мощность обработки
|
Максимальный устанавл. диаметр над станиной
|
мм
|
400
|
500
|
500
|
660
|
|
Максимальный диаметр над суппортом
|
мм
|
200
|
280
|
300
|
440
|
|
Максимальный диаметр обработки над станиной
|
мм
|
400/350
|
500/350
|
500/350
|
|
Расстояние между центрами
|
мм
|
710/960/1460/1960 (620/870/1370/1870)
|
|
Максимальная длина обработки
|
мм
|
570/820/1320/1820 (500/750/1250/1750)
|
|
Шпиндель
|
Торец шпинделя
|
|
ISO702/ I A2 - 8 или ISO702/ II D8
|
|
Скорость вращения шпинделя
|
об/мин
|
(3 режима) 21-1620 В: 162-1620 С: 66-660 Н:
21-210
|
(3 режима) 30-2650 В: 260-2650 С: 80-870 Н:
30-260
|
|
Диаметр отверстия шпинделя
|
мм
|
77
|
77/82
|
|
Максимальный крутящий момент
|
Н·м
|
800
|
1000
|
|
Мощность двигателя
|
кВт
|
7.5
|
11
|
|
Задняя бабка
|
Диаметр пиноли
|
мм
|
75
|
|
Ход пиноли
|
мм
|
150
|
|
Конус пиноли
|
|
Морзе№5
|
|
Резцедержа-тель
|
Ускоренное перемещение по оси X/Z
|
м/мин
|
6/12
|
|
Количество инструментов
|
шт
|
4/6
|
|
Размер инструмента
|
мм
|
25х25
|
|
Ход по оси X
|
мм
|
275
|
260
|
|
Ход по оси Z
|
мм
|
650/900/1400/1900
|
|
Другое
|
Габариты упаковки (ДхШхВ)
|
мм
|
2550/2800/3300/ 3800х1920х2200
|
2750/3000/3500/ 4000х1830х2350
|
|
Габариты станка (ДхШхВ)
|
мм
|
2250/2500/3000/ 3500х1370х1690
|
2440/2690/3190/ 3960х1490х1750 (SK50) /1820
(SK66)
|
|
Вес нетто
|
кг
|
2050/2100 2150/2200
|
2100/2150 2200/2260
|
2170/2250 2730/3200
|
2220/2750 3230/3700
|
9.2 Горизонтальные
токарные станки с ЧПУ CK1630, CK1640, CK1660
Горизонтальные токарные станки с ЧПУ CK1630, CK1640, CK1660
оснащены системой ЧПУ FANUC 0i Mate, контролирующей 2 оси. Станок также может
быть оснащен ЧПУ SINUMERIK 802C. Токарный станок предназначен для обработки
внутренних и внешних цилиндров, конусов, дуг, неровных поверхностей, а также
дюймовой и метрической резьбы. У станка 4-хстанционная револьверная головка.
Станок также оснащен специальной защитой для безопасности оператора. Машина
может быть использована в среднем и небольшом серийном производстве различных
видов.
Опции:
Гидравлический патрон
Двойной электронный маховик (только для SINUMERIK 802C)
-хкулачковый зажимной патрон
Ведущая планшайба
Технические характкристики горизонтальных токарных станков:
|
Параметры
|
Ед. измер.
|
Модель
|
|
|
CK1630
|
CK1640
|
CK1660
|
|
Мощность обработки
|
Максимальный Ш над станиной
|
мм
|
Ф410
|
|
Максимальный Ш над суппортом
|
мм
|
Ф180
|
|
Максимальный Ш обработки над станиной
|
мм
|
Ф300
|
|
Расстояние между центрами
|
мм
|
750
|
1000
|
1500
|
|
Максимальная длина обработки
|
мм
|
550
|
800
|
1300
|
|
Шпиндель
|
Диаметр
|
мм
|
Ф52
|
|
Тип торца шпинделя
|
|
ISO702/ || №6 (эксцентриковый затвор)
|
|
Скорость вращения шпинделя
|
Об/мин
|
8 скоростей, 80-2000
|
|
Диаметр отверстия шпинделя
|
|
Морзе№4
|
|
Мощность двигателя
|
кВт
|
CJK16: 4 TK40A: 5.5 (преобразователь)
|
|
Задняя бабка
|
Диаметр пиноли
|
мм
|
Ф55
|
|
Ход пиноли
|
мм
|
120
|
|
Конус пиноли
|
|
Морзе№4
|
|
Резцедер-жатель
|
Ускоренное перемещение по X/Z
|
м/мин
|
6/12 (исключая 802S)
|
|
Количество станций
|
|
4
|
|
Размер инструмента
|
мм
|
20х20
|
|
Ход по оси X
|
мм
|
200 (4 станции) / 350 (наборный инструмент)
|
|
Ход по оси Z
|
мм
|
550
|
800
|
1300
|
|
Другое
|
Мощность двигателя подачи СОЖ
|
кВт
|
0.09
|
|
Размеры станка (ДхШхВ)
|
мм
|
1890х1260х1650
|
2140х1260х1650
|
2640х1260х1650
|
|
Вес брутто/вес нетто
|
кг
|
1700/1500
|
2000/1800
|
2500/2300
|
9.3
Горизонтальные токарные станки с ЧПУ CK6140H/50H
Общее описание:
Станок с 4-х или 6-тистанционным резцедержателем и защитной
сдвижной дверью для безопасности оператора. Оснащен системой ЧПУ SIEMENS 802C
либо FANUC 0i Mate-ТС. Токарный станок предназначен для обработки внутренних и
внешних цилиндров, произвольной обточки, нарезания дюймовой и метрической
резьбы. Станок может быть использован в среднем и мелком серийном производстве.
Стандартная комплектация:
система ЧПУ Fanuc Oi
механическая коробка скоростей с электронной регулировкой
скорости и плавности хода
-станционный резцедержатель
ручной 3-х кулачковый патрон
система смазки
система охлаждения
Опции:
) Гидравлический 3-кулачковый патрон (250мм) без сквозного
отверстия с гидростанцией либо гидравлический 3-кулачковый патрон (250мм) со
сквозным отверстием и гидростанцией
) Гидравлическая задняя бабка
) 6-станционный резцедержатель
Спецификация:
|
Параметры
|
Ед. изм
|
Модель
|
|
|
CK6140Н
|
CK6150Н
|
|
Мощность
|
Максимальный устанавл. диаметр над станиной
|
мм
|
400
|
500
|
|
Максимальный диаметр над суппортом
|
мм
|
200
|
280
|
|
Максимальный диаметр обработки над станиной
|
мм
|
400/350
|
500/350
|
|
Расстояние между центрами
|
мм
|
710/960/1460/1960 (620/870/1370/1870)
|
|
Максимальная длина обработки
|
мм
|
570/820/1320/1820 (500/750/1250/1750)
|
|
Шпиндель
|
|
Ф52: ISO702/ III C6 Ф 82, Ф105: ISO 702/ II D8
(эксцентриковый затвор)
|
|
Скорость вращения шпинделя
|
об/мин
|
21 скорость, 11-1600 об/мин 12 скорость,
36-1600 об/мин (Ф 105)
|
|
Диаметр отв. шпинделя
|
мм
|
52
|
52/82/105
|
|
Мощность двигателя
|
кВт
|
7.5
|
|
Задняя бабка
|
Диаметр пиноли
|
мм
|
75/80 (гидравлическая задняя бабка)
|
|
Ход пиноли
|
мм
|
150/130 (гидравлическая задняя бабка)
|
|
Конус пиноли
|
|
Морзе№5
|
|
Резцедержа- тель
|
Ускоренное перемещение по осям X/Z
|
м/мин
|
6/12
|
|
Количество станций
|
|
4/6
|
|
Размеры инструмента
|
мм
|
25х25
|
|
Ход по оси X
|
мм
|
275/210
|
|
Ход по оси Z
|
мм
|
650/900/1400/1900
|
|
Другое
|
Габариты упаковки
|
мм
|
2250/2500/3000/3500х1370х1690
|
|
Габариты станка (ДхШхВ)
|
мм
|
2550/2800/3300/3800х1920х2200
|
|
Вес нетто
|
кг
|
2050/2100/2150/2200
|
2100/2150/2200/2260
|
10.
Компоновка, основные узлы и движения токарно станка 16К20Ф3
10.1
Компоновка станка 16К20Ф3
Станок 16К20Ф3 является наиболее массовой моделью
отечественного токарного станка. Станок 16К20Ф3 предназначен для выполнения
патронных и центровых токарных работ, на нем в полуавтоматическом цикле могут
быть обработаны разнообразные наружные и внутренние цилиндрические, конические
и криволинейные поверхности, а также нарезаны резьбы.
В зависимости от комплектования устройством ЧПУ модификации
станка имеют следующие обозначения: 16К20Ф3С1 - с устройством ЧПУ "Контур
2ПТ", 16К20Ф3С2 - с устройством СС221-02Р фирмы Alcatel (Франция),
16К20Ф3С4 - с устройством ЭМ907, 16К20Ф3С5 - с устройством Р22-1М, 16К20Ф3С6 -
с устройством 1Н22-62, 16К20Т1 - с устройством "Электроника НЦ-31".
Техническая характеристика станка 16К20Ф3С5 приведена в
табл.35. В шпиндельной бабке станка 16К20Ф3 предусмотрено переключение вручную
с помощью рукоятки трех диапазонов скоростей, что вместе с девятискоростной АКС
с учетом перекрытия некоторых ступеней обеспечивает получение 22 частот
вращения шпинделя в диапазоне 12,5 - 200; 50 - 800; 125 - 2000 об/мин.
На рис.10.1 графически представлены технологические
возможности станка 16К30Ф3 исходя из взаимного положения рабочих органов в
конечных рабочих положениях. Шпиндель имеет фланцевый конец с условным размером
6 по ГОСТ 12593-72 (с поворотной шайбой) и отверстие с конусом Морзе 6.
Наибольший диаметр прутка, проходящего через шпиндель, равен 50 мм.
Максимальная высота державки резца равна 25 мм. Повторная шестипозиционная
револьверная головка станка 16К20Ф3 с горизонтальной осью поворота,
параллельной оси шпинделя, имеет на поперечных салазках два смещенных на 75 мм
вдоль оси одно относительно другого рабочих положения, в каждое из которых она
может быть переставлена по мере необходимости.
Рис 10.1 Технологические возможности и установочные размеры
Инструментальный диск 9 (рис.10.1), на лицевой стороне
которого имеются пазы для крепления шести резцов-вставок или резцовых блоков,
съемный, он смонтирован на коническом выступе вала 1 и прижат к задней торцовой
поверхности подвижного плоскозубчатого колеса 2 полумуфты с выпуклыми круговыми
зубьями. В свою очередь, полумуфта жестко скреплена с валом 1. Неподвижная
полумуфта 3 с вогнутыми круговыми зубьями скреплена с корпусом головки 4.
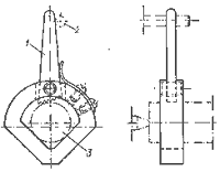
Рис.10.2 Револьверная головка станка 16К20Ф3
Момент достижения револьверной головки требуемой позиции
фиксируется срабатыванием герметизированных электрических контактов 7
(герконов) шестипозиционного командоаппарата 5, на которые воздействует
вращающийся синхронно с валом 1 магнит 6. При достижении заданной позиции
включается реле совпадения, которое дает команду на реверс двигателя, но
подвижное плоское колесо 2 вместе с инструментальным диском 9 удерживается от
поворота фиксатором 8. По окончании зажима сигнал реле максимального тока
отключает электродвигатель поворота и дает команду в устройство ЧПУ на
продолжение автоматического цикла.
Важное значение для нормальной эксплуатации и сохранения
долговечности станка имеет правильное и регулярное смазывание, которое
необходимо производить строго в соответствии с картой (табл.10.1) и схемой
смазывания (рис.10.2) станка 16К20Ф3.
Система смазывания шпиндельной бабки станка 16К20Ф3 -
автоматическая. Шестеренный насос, приводимый во вращение через ременную
передачу от электродвигателя главного привода, всасывает масло из резервуара и
подает его через сетчатый фильтр к подшипникам шпинделя и зубчатым колесам.
Примерно через минуту после включения электродвигателя главного привода
начинает вращаться диск маслоуказателя 4. Его постоянное вращение
свидетельствует о нормальной работе системы смазывания. При прекращении
вращения диска необходимо тут же отключить станок и очистить фильтр, промыв его
элементы в керосине. Фильтр следует очищать не только при его засорении, но и
регулярно не реже 1 раза в месяц. Из шпиндельной бабки масло через сетчатый
фильтр 9 с магнитным патроном сливается в резервуар. Ежедневно перед началом
работы необходимо проверять по риске маслоуказателя уровень масла и при
необходимости доливать его.
Смазывание направляющих суппорта и станины станка 16К20Ф3 осуществляется
автоматически от станции смазывания, установленной в основании. Шестеренный
насос станции включается одновременно с включением станка и в дальнейшем
периодически по команде от моторного реле времени, с помощью которого
устанавливается промежуток времени 10 - 240 мин между подачами масла.
Дозирование подачи масла осуществляется с помощью пневматического реле времени,
настроенного на 3 - 5 с. За это время необходимая порция масла поступает от
разветвительной коробки ко всем точкам смазки направляющих. Если необходимо
осуществить дополнительную подачу масла к направляющим, следует нажать кнопку
"Толчок смазки". Подача масла осуществляется в течение всего времени
нажатия кнопки.
Гидрооборудование станка 16К20Ф3 состоит из следующих
элементов: гидростанции 7,5/1500 Г48-44, в которую входят резервуар для масла,
регулируемый насос с приводным электродвигателем, элементы фильтрации и
охлаждения рабочей жидкости, контрольно-регулирующая аппаратура; гидропривода
продольного хода каретки Э32Г18-23; гидропривода поперечного хода супорта
Э32Г18-22; магистральных трубопроводов, соединяющих между собой гидравлические
узлы и аппаратуру.
10.1 Карта
смазывания и расхода смазочных материалов станка 16К20Ф3
|
Смазываемый механизм
|
Способ смазывания
|
Марка смазочного материала
|
Периодичность замены или смазывания при ручном
способе
|
Количество заливаемого масла, л
|
|
Шпиндельная бабка и АКС
|
Централизованный
|
Индустриальное И-20А
|
1 раз в 6 месяцев
|
20
|
|
Каретка
|
-
|
Индустриальное И-30А
|
2 раза в 6 месяцев
|
10
|
|
Редуктор продольной и поперечной подачи
|
Разбрызгивание
|
Индустриальное И-20А
|
1 раз в 6 месяцев
|
2
|
|
Редуктор поворота револьверной головки
|
-
|
Индустриальное И-30А
|
1 раз в месяц
|
0,5
|
|
Винтовые пары
|
Ручной
|
ЦИАТИМ 201
|
1 раз в 6 месяцев
|
0,5
|
|
Задняя бабка
|
-
|
Индустриальное И-30А
|
Ежедневно
|
0,5
|
|
Правая опора продольного винта
|
-
|
Индустриальное И-20А
|
1 раз в 6 месяцев
|
2
|
|
Левая опора продольного винта
|
-
|
ЦИАТИМ 201
|
1 раз в 6 месяцев
|
0,5
|
Станок 16К20Ф3 устанавливают на бетонном полу цеха (без
специального фундамента) и закрепляют четырьмя фундаментными болтами. Выверку
станка с точностью 0,02 мм на 1000 мм следует производить с помощью клиньев или
башмаков по уровням, расположенным на суппорте параллельно и перпендикулярно
оси центров, перемещения суппорт на всю длину хода.
Пусковые работы выполняют в соответствии с общими указаниями.
Устройство ЧПУ необходимо соединить со станком с помощью кабелей, входящих в
комплект станка. Для устройства Н22-1М таких кабелей семь.
На включенном станке в режиме "Ручное управление" с
помощью тумблеров осуществить перемещения по осям X и Z в обоих направлениях по
всей возможной длине хода на быстром ходу и рабочих подачах. От кнопок пульта
управлением станком проверить работу остальных механизмов и систем станка:
подачу масла в шпиндельную бабку, в АКС и к направляющим, переключение
скоростей шпинделя, работу поворотной револьверной головки, работу аварийных и
блокировочных выключателей, подачу охлаждающей жидкости. Обкатать шпиндель
станка на минимальной скорости в течение 30 мин, а затем последовательно кратковременно
на всех остальных частотах вращения.
Проверить работу станка в режиме ручного ввода. Завершаются
пусконаладочные работы проверкой геометрической точности станка, работой по
тест-программе и обработкой образцов.
11.
Назначение и технологические схемы обработки токарно станка 16К20Ф3 с ЧПУ
К основным техническим характеристикам токарных станков
относятся: наибольший диаметр обрабатываемой заготовки, устанавливаемой над
станиной (Dmax) и над суппортом (D).
В соответствии с ГОСТ440-71 предусматриваются следующие
значения:. = 100; 125; 160; 200; 250; 320; 400; 500; 630; 800; 1000; 1250;
1600; 2000; 2500; 3200; 5000; 6300 мм.= 50; 60; 80; 100; 125; 160; 210; 260;
350; 450; 600; 800; 1100; 1400; 1800; 2300; 3000 мм.
Станки всех перечисленных размеров выпускаются отечественной
промышленностью.
Другими техническими характеристиками являются:- длина
обрабатываемой детали; n шп - частота вращения шпинделя; N - мощность привода
главного движения; G - масса станка.
На станках этой группы можно обрабатывать детали практически
всех размеров, применяемых в современном машиностроении.
На станках нормальной точности обеспечивается обработка с
допусками по 8…9 квалитетам и достигаются 5…6 классы шероховатости. На
прецизионных станках можно получить допуски по шестому и выше квалитетам и
шероховатость по седьмому и более высокому классам.
Для обработки на токарных станках заготовка может
устанавливаться в центрах (рис.10,1), в патронах четырех кулачковом или трех
кулачковом само центрирующих и на оправке.
Рис.11.1 Схема установки заготовки при обработке в центрах.
Для установки заготовки в центрах станок оснащается передним
2 и задним 6 центрами и поводковыми патронами 1, имеющими поводковый палец. На
левый конец заготовки, имеющей с торцов центровые отверстия, закрепляется
поводковый хомутик 3.
При обработке коротких цилиндрических заготовок их установка
производится в само центрирующем трех кулачковом патроне (рис.4а), который
состоит из корпуса I, закрепляемого на переднем конце шпинделя, и кулачков 2.
Механизм, размещаемый в корпусе, позволяет поворотом ключа, вставляемого в одно
из трех отверстий 3, сближать и разводить одновременно все кулачки. Если
обрабатываемая деталь имеет сложную, несимметричную форму, ее устанавливают в четырех
кулачковом патроне в котором каждый из кулачков 2 перемещается независимо от
других.
а)
Рис.11.2 Установка заготовок в патронах: а) - в трех
кулачковом
Детали типа шайб, дисков и другие, длина которых весьма незначительна,
целесообразно устанавливать на оправку (рис.5), а последнюю - в центрах станка.
Для обработки конических поверхностей заготовка может
устанавливаться как в центрах, так и в патроне.
Обрабатывать конус можно сдвигом корпуса задней бабки относительно
плиты в поперечном направлении или при помощи копирной линейки.
Коническую поверхность можно обрабатывать, если поворотную
часть суппорта установить под соответствующим углом, а подачу осуществлять
вручную, перемещая резцовые салазки.
В ряде станков имеется кинематическая связь между продольной
и поперечной подачей. В этом случае коническую поверхность можно получить,
обеспечивая одновременно эти подачи.
При настройке токарно-винторезного станка на нарезание резьбы
следует учитывать, что в большинстве случаев переход от метрических к дюймовым,
модульным и питчевым резьбам производится установкой соответствующих сменных
колес гитары ix (по паспорту станка).
На станках возможно нарезание многозаходных резьб, для чего
станок настраивается на нарезание витка:
,
где k - число заходов резьбы, t - шаг резьбы.
Деление на число заходов можно осуществлять либо с помощью
специального поводкового патрона, либо смещением резца в осевом направлении при
неподвижной заготовке. Нарезание многозаходной резьбы возможно применением
многорезцовых (по числу заходов) державок.
На токарных станках применяют так называемое вихревое
нарезание резьб, при котором резец, устанавливаемый во вращающей головке,
работает как зуб фрезы. Такой метод позволяет существенно повысить скорость
резания, а следовательно, и производительность резьбонарезания.
При оснащении токарных станков специальными приспособлениями
на них можно обтачивать сферические поверхности, фрезеровать плоскости и шлицы,
зубья зубчатых колеса, выполнять токарно-копировальные и шлифовальные работы.
12.
Кинематическая схема токарно станка 16К20Ф3 с ЧПУ
12.1
Кинематика станка
Рис 12.1 Кинематическая схема станка 16К20ф3 с ЧПУ
Главное движение шпиндель 4 получает от электродвигателя М1
(N=10 кВт, n=1460 мин-1) через клиноременную передачу с диаметрами шкивов D=130
мм и D=178 мм, АКС, клиноременную передачу со шкивами D=204 мм и D=274 мм и
передачи шпиндельной бабки. АКС обеспечивает девять переключаемых в цикле
частот вращения шпинделя за счет включения электромагнитных муфт. Вал 2 имеет
три значения частоты вращения шпинделя благодаря переключению муфт М1, М2, М3
(соответственно работают передачи z=36-36 или z=30-42 или z=24-48); вал 3
вращается уже с девятью различными частотами вращения: при включении муфты М4
работает зубчатая пара z=48-24, муфты М5 - пара z=30-42, муфты М6 - пара
z=14-56. Одновременным включением муфт М4 и М6 осуществляется торможение
шпинделя. В шпиндельной бабке переключением блока Б1 вручную можно получить три
диапазона частот вращения шпинделя (12.5…200; 50…800 и 125…2000 мин-1).
Смазывание шпиндельной бабки автоматическое централизованное.
Шпиндель смонтирован на двух конических роликоподшипниках 5-го или 4-го класса
точности в зависимости от класса точности станка.
Датчик резьбонарезания (ДР.) связанный со шпинделем
беззазорной зубчатой парой z=60-60, осуществляет связь между шпинделем и
ходовым винтом, исходя из условия, что за один оборот шпинделя резец должен
переместится на величину шага нарезаемой резьбы.
Приводы подач имеют два исполнения: с гидравлическим шаговым
приводом и с электродвигателем постоянного тока.
В станке применены электрогидравлические шаговые двигатели
ШД5-Д1 с гидроусилителем Э32Г18-23 для продольной подачи и гидроусилителем
Э32Г18-22 для поперечной подачи. Винт качения продольной подачи Х с шагом Р=10
мм получает вращение от двигателя М2 через беззазорный редуктор z=30-125, а
винт поперечного перемещения 8 с шагом Р=5 мм от двигателя М3 через беззазорную
передачу z=24-100. Минимальная поперечная передача
(1.1)
где
- минимальная доля оборота выходного вала
гидроусилителя при шаге на выходном валу шагового двигателя 1.50.
При применении двигателей постоянного тока М4 (N=1 кВт,
n=3000 мин-1) на ходовые винты 8 и 10 устанавливают датчик обратной связи Д.
Суппорт и каретка имеют традиционное устройство, но их
размеры увеличены по высоте в связи с увеличением размера винта поперечной подачи
и для повышения жесткости.
12.2 Описание
устройства ЧПУ
Устройство и работа УЧПУ Н22 1М. Рассматриваемое
микропроцессорное контурное устройство типа СNС предназначено для оперативного
ввода, расчета и редактирования управляющих программ, автоматического
управления станком при работе от программы и ручного управления с клавиатуры
пульта. Контурное устройство ЧПУ Н22 1М обеспечивает движение формообразования,
изменение в цикле значений подач и частот вращения шпинделя, индексацию
поворотного резцедержателя, нарезание резьбы по программе.
Аппаратно-программное исполнение этой системы ориентировано главным образом на
группу токарных станков, оснащенных следящим приводом подач и импульсными
(обычно фотоэлектрическими) преобразователями. При использовании в токарных
станках, встраиваемых в гибкие производственные системы (ГПС), УЧПУ оснащается
дополнительным модулем. "Н22 1М" совмещает обычные функции отработки
введенной управляющей программы и ее коррекции с функциями расчета управляющей
программы на рабочем месте.
В УЧПУ предусмотрено три варианта ввода управляющей
программы: с помощью набора команд на клавиатуре, с кассеты внешней электронной
памяти и по каналу связи от ЭВМ, осуществляющей общее управление группой
станков. Программное обеспечение УЧПУ позволяет работать в режиме
"обучения", в котором запоминаются движение всех рабочих органов
станка, осуществляемые путем управления ими квалифицированным оператором или
наладчиком вручную при обработке Заготовки первой детали из партии. Эти движения
преобразуются в команды управления и формируются системой ЧПУ в кадры
управляющей программы, которая заносится в память УЧПУ. Обработка последующих
заготовок осуществляется уже по этой программе. Программа-носитель - восьми
дорожковая перфолента.
В состав устройства входят следующие модули (рис.1.2):
Рисунок 12.2 - Состав устройства ЧПУ Н22 1М
Главный 4 и вспомогательный 5 процессоры, блоки внешней и
оперативной 6 памяти, пульт оператора 10, адаптер каналов и таймеров 1, контроллер
автоматики 2, контроллер импульсных преобразователей 8 и контроллер привода 9.
Блоки УЧПУ подключены к магистральному каналу связи 7, построенному по принципу
общей шины (ОШ). Контроллеры УЧПУ связаны с соответствующими приводами или
элементами управляющей системы станка 11.
Процессоры 4 и 5, оперативное запоминающее устройство,
емкостью 4К слов, адаптер магистрали и таймер составляют вычислительную часть
УЧПУ Н22 1М. Процессор устройства содержит в своем составе постоянное
запоминающее устройство объемом 8К слов, в котором хранятся программы,
осуществляющие преобразование входной информации (команд управляющей программы,
команд оператора при вводе программы и др.) в соответствии с алгоритмами.
В результате работы процессора и в зависимости от режима работы
УЧПУ формируются кадры управляющей программы (при вводе программы с клавиатуры)
или коды команд управления механизмами станка. Постоянное программное
обеспечение заносится в память при изготовлении УЧПУ, и доступ к нему со
стороны внешних устройств исключен.
Оперативное запоминающее устройство используется для хранения
управляющих программ обработки заготовок и промежуточных результатов,
необходимых для работы вычислительной части УЧПУ, которое связано по каналу
связи с процессором.
Модули УЧПУ взаимодействуют между собой по магистрали связи
типа общая шина, осуществляя либо обмен информацией (чтение или запись), либо
передачу управления магистралью другому модулю. Обмен информацией производится
16-разрядными словами по запросам одного из ведущих модулей, которому в
процессе работы требуется вызвать обмен с другим модулем или прервать работу
другого модуля. Основными модулями являются процессорное устройство,
контроллеры электроавтоматики и импульсных преобразователей, пульт оператора и
адаптер каналов и таймеров. Запоминающие устройства и контроллер приводов
участвуют в обмене информацией только по вызову одного и основных модулей.
Адаптер каналов связи и таймер управляют дополнительным
каналом связи радиального типа (в отличие от кольцевого по магистральному
каналу), связывающим контроллеры и пуль оператора. При необходимости обмена
информацией с каким-либо из контроллеров или пультом оператора один из основных
модулей посылает запрос на закрепление за ним магистрального канала связи и
после разрешения формирует адрес ведомого модуля, по которому адаптер каналов
связи образует радиальный канал связи между Вызывающим и вызываемым модулями.
По окончании обмена информацией основной модуль освобождает
магистральный канал связи. Дополнительный радиальный канал увеличивает
функциональную гибкость УЧПУ и упрощает аппаратную часть в контроллерах и
пульте оператора. Таймер реализует необходимый для работы станка отсчет
интервалов времени. Максимальная длительность интервала 6,4 с при дискретности
задания на отработку интервала времени 0,1 мс.
Команда на отработку интервала времени может поступать в
модуль от процессора. Пульт оператора служит для ввода управляющих программ, их
редактирования, подачи команд на работу по программе и управления станком в
других режимах. На лицевой панели пульта размещены клавиши управления и
устройства индикации параметров режима работы станка: величина подачи суппорта;
номер вводимого (при вводе программы) или выводимого (при работе по программе)
кадра управляющей программы; информация о содержании кадра программы и
состоянии устройства ЧПУ.
Клавиши управления позволяют ввести команды режима работы
УЧПУ и осуществлять оперативное управление при вводе программы, ее
редактировании и отработке по отдельным шагам или в непрерывном (автоматическом)
режиме. С пульта оператора можно ввести управляющую программу емкостью до 250
кадров, содержащих адрес величин перемещений по координатам Х и 1, знак числа,
величины перемещений из шести десятичных цифр и другую технологическую
информацию.
Контроллер электроавтоматики обеспечивает необходимое
согласование сигналов между УЧПУ и аппаратурой электроавтоматики станка. Кроме
того, контроллер выполняет функцию сигнализации процессору состояния контактов
исполнительных реле станка и кнопок, расположенных в силовой части электросхемы
станка. Контроллер связан электросхемой станка 16-ю выходными линиями,
обеспечивающими включение или выключение реле электроавтоматики. Состояние
ВКЛЮЧЕНО или ОТКЛЮЧЕНО на каждой из линий связи отражается на 16-разрядном
регистре модуля. При выполнении программы любой из процессоров УЧПУ может
послать на этот регистр необходимую информацию о включении или отключении
соответствующих реле.
В свою очередь, станок связан с модулем 16 входными линиями,
сигнализирующими о состоянии концевых и аварийных выключателей электросхемы
станка. При использовании станка в составе ГПС сложность подачи управления
электроавтоматикой возрастает, поэтому для ГПС предусматривается применение
программируемого командоаппарата связанного по каналам связи электроавтоматики
с УЧПУ
В контроллере импульсных преобразователей предусмотрено
четыре входа от измерительных импульсных преобразователей. Один из входов
используется для подачи сигналов датчика от главного привода станка для
обеспечения жесткой кинематической связи шпинделя с продольным перемещением
суппорта при нарезании резьбы. Два хода служат для приема импульсных сигналов
обратной связи от датчиков продольного и поперечного перемещения суппорта, а
четвертый для сигналов импульсного преобразователя электронного маховика
ручного управления продольным или поперечным перемещением. Другая функция
модуля заключается в преобразовании с помощью двоичного счетчика следующих друг
за другом импульсов в 16-разрядное двоичное число, которое считывается со
счетчика процессором после чего счетчик "обнуляется".
Контроллер привода подачи управляет частотой вращения
двигателей подачи суппорта по осям Z и Х. Код величины подачи записанный в
управляющей программе, модуль преобразует в аналоговый сигнал, величина
которого пропорциональна этому коду.
Все входы и выходы в УЧПУ Н22 1М имеют оптронную развязку с
электрическими цепями станка. Модуль внешней памяти емкостью 4К слов расширяет
объем оперативной памяти до 8К слов, а также позволяет вводить и выводить из
УЧПУ управляющие программы и передавать их для использования на других станках.
Модуль выполнен в виде кассеты с электронной памятью и внутренним
аккумуляторным устройством обеспечивающим при отключении кассеты от УЧПУ
хранение записанной блок информации в течение 100 часов.
13.
Кинематическая схема и описание принципа работы, назначения и особенностей
привода подач токарного станка с ЧПУ
13.1
Назначение
Проектируемый станок предназначен для обработки в замкнутом
полуавтоматическом цикле деталей типа тел вращения со ступенчатым и
криволинейным профилем, включая нарезание крепежных резьб. Станок-аналог
оснащен устройством ЧПУ с вводом программы обработки изделия с клавиатуры,
магнитной кассеты или с перфоленты.
Класс точности станка "Н", область применения -
индивидуальное, мелкосерийное и серийное производство с мелкими повторяющимися
партиями деталей.
Наладка станка является одним из ответственных этапов его
эксплуатации. Правильная наладка способствует повышению производительности
труда, качества продукции и сохранению долговечности оборудования.
Наладка - подготовка технологического оборудования и
технологической оснастки к выполнению технологической операции.
Подналадка - дополнительная регулировка технологического
оборудования и (или) технологической оснастки при выполнении технологической
операции для восстановления достигнутых при наладке значений параметров. Под
наладкой следует понимать большой комплекс действий, направленных на
подготовку, как нового, так и находящегося в эксплуатации станка к работе и на
поддержание его в работоспособном состоянии. Сокращение времени наладки
особенно важно в связи с расширением области использования станков с ЧПУ в
мелкосерийном производстве.
Наладка станка с ЧПУ включает в себя подготовку режущего
инструмента и технологической оснастки, размещение рабочих органов станка в
исходном для работы положении, пробную обработку первой детали, внесение
корректив в положение инструмента и режим обработки, исправление погрешностей и
недочетов в управляющей программе.
В единичном и мелкосерийном производстве, когда требуемая
точность обработки достигается методом пробных ходов и измерений, задачами
наладки являются:
. Установка приспособления и режущих инструментов в
положения, обеспечивающие наивыгоднейшие условия обработки (высокая производительность
обработки и стойкость режущего инструмента, требуемое качество обрабатываемой
поверхности и хорошие условия стружкообразования);
2. Установка режимов работы станка.
13.2
Отличительные способности
В металлорежущих станках с ручным управлением кинематические
связи исполнительных органов между собой и источником движения осуществляется
через цепи механических элементов и передач. Такие станки называют станками с
механическими связями. В них широко используют коробки скоростей и передач,
гитары сменных зубчатых колес, реверсы, управляемые в ручную.
Применение в станках систем числового программного управления
(ЧПУ) приводит к замене традиционных нерегулируемых источников движения на
управляемые по программе двигатели (асинхронные частотно-токовым управлением,
постоянного тока и т.д.), позволяющие регулировать скорость, направление, а
иногда и путь создаваемого ими движения. В связи с этим происходит упрощение
механической части кинематической структуры станка (а следовательно, и его
конструкции) но при этом улучшаются его характеристики.
Отличительные особенности станков с ЧПУ:
Ø Мощный привод главного
движения до 20-40 и более кВт. Используются двигатели постоянного тока,
позволяющие осуществить бесступенчатое регулирование частоты вращения шпинделя,
или трехфазные двигатели переменного тока с большим числом ступеней
регулирования (18-20 и более). Верхние пределы частоты вращения шпинделя
достигают 2000 об/мин. Пределы регулирования частоты вращения шпинделя
изменяются до 200 раз.
Ø Бесступенчатый привод
движения подачи с очень широкими пределами регулирования величины подачи. У
некоторых станков величина подачи изменяется от 1 до 1200 мм/мин, т.е. в 1200
раз. У других моделей еще больше. Например, существуют станки пределы
регулирования подач которых 0,1-10000 мм/мин. Это дает возможность для каждого
конкретного случая выбрать оптимальную по условиям обработки подачу.
Ø Станки с ЧПУ имеют две
координаты с независимым управлением по каждой из них. Это позволяет
реализовать очень сложные траектории перемещения рабочих органов, недостижимые
для нечисловых систем управления (например, копировальной).
Ø Большинство станков имеет
скорость установочных перемещений суппорта 4,8 м/мин, а некоторые до 10 м/мин.
Это позволяет максимально сократить время холостых перемещений суппорта.
Ø Обычно станки с ЧПУ имеют
высокую точность изготовления и повышенную жесткость по сравнению с обычными
станками аналогичного назначения. Это позволяет обеспечить высокую точность
обработки.
Ø Станки снабжены развитыми
инструментальными системами с числом инструментов 12 и более.
14.
Патентно-поисковые исследования конструкций приводов главного движения и подач
станков с ЧПУ и их элементов
14.1
Патентно-поисковые исследования
14.1.1
Шпиндельная головка RU 2053044
Шпиндельная головка содержащая корпус, полый шпиндель с
инструментом и стружкоограничитель, включающий крышку и шайбу с внутренним
фигурным отверстием, расположенную в крышке, отличающаяся тем, что
стружкоограничитель расположен на шпинделе головки, при этом его крышка жестко
соединена со шпинделем.
14.1.2
Шпиндельная бабка расточного станка SU 1618509
Шпиндельная бабка расточного станка с выдвижным шпинделем и
планшайбой, несущей радиальный суппорт, в верхней стенке которого выполнены
гнезда для резцедержателей и окно для прохода выдвижного шпинделя,
отличающаяся, тем, что, с целью повышения производительности, в верхней стенке
радиального суппорта выполнены дополнительные гнезда, предназначенные для
хранения инструментальных оправок.
14.1.3
Шпиндельная бабка расточного станка RU 20275591
ШПИНДЕЛЬНАЯ БАБКА, включающая в себя установленный в корпусе
шпиндель, устройство для регулирования положения шпинделя в плоскости,
перпендикулярной оси последнего, выполненное в виде эксцентрично размещенных
одна в другой планшайб с круговыми направляющими, первая из которых установлена
в корпусе, а вторая несет эксцентрично размещенный в ней шпиндель, при этом
величина эксцентриситета расположения планшайб равна величине эксцентриситета
расположения шпинделя, а планшайбы снабжены механизмами их поворота с приводами
и датчиками положения планшайб, и приводной вал механизма поворота второй
планшайбы, размещенный в полом двухвенцовом блоке кинематической цепи,
соединяющей шпиндель с приводом его - вращения, отличающаяся тем, что, с целью
повышения надежности в работе и точности при обработке, в качестве датчиков
использованы датчики с предназначенными для взаимодействия друг с другом
ротором и статором с кабелем подвода тока, при этом приводной вал механизма
поворота второй планшайбы выполнен полым для размещения в нем введенной в бабку
тяги, одним концом соединенной с первой планшайбой, а другим - с ротором
датчика положения первой планшайбы, статор которого закреплен на корпусе бабки,
которая снабжена дополнительным полым валом, кинематически связанным с
шпинделем и двухвенцовым блоком, и размещенной в дополнительном полом залу
дополнительной тягой, одним концом соединенной с первой планшайбой, а другим -
с ротором датчика положения последвитки червячного колеса 18 и полной выборки
зазора.
14.1.4
Шпиндельный узел металлорежущего станка SU 1634369
Шпиндельный узел металлорежущего станка, содержащий шпиндель,
установленный в корпусе на подшипниках качения, и механизм регулирования
натяга, выполненный в виде деформируемого элемента, инерционных масс и нажимных
колец, отличающийся тем, что, с целью повышения надежности шпиндельного узла
путем повышения точности и стабильности регулирования натяга в подшипниках,
деформируемый элемент, инерционные массы и нажимные кольца выполнены за одно
целое, причем деформируемой элемент выполнен с арочным профилем а продольном
сечении, а центры инерционных масс расположены в плоскости симметрии арочного
профиля.
14.1.5
Шпиндельный узел расточного станка SU 1779474
Шпиндельный узел расточного станка, содержащий закрепленную
на фланце, полого шпинделя планшайбу, размещенным на ней радиальный суппорт,
несущий оправку с инструментом, установленную с возможностью перемещения,
механизм подачи, размещенный в корпусе отверстии полого шпинделя и соединенный
с выдвижным шпинделем, причем механизм подачи включает две кинематические пары,
одна из которых выполнена зубчато-реечного типа, отличающийся тем. что, с целью
повышения производительности обработки, вторая кинематическая пара выполнена в
виде расположенной соосно указанным шпинделям втулка, причем на валу, связанном
с выдвижным шпинделем, выполнены наклонные шлицы, на втулке, установленной в
корпусе в подшипниках соответственно шлицевые пазы, а на ее наружной части
выполнена зубчатая шестерня первой кинематической пары, рейка которой
закреплена на радиальном суппорте со стороны боковой базовой направляющей, при
этом зубья рейки расположены параллельно оси шпинделя.
14.1.6
Шпиндельный узел металлорежущего станка RU 2116165
Шпиндельный узел металлорежущего станка с адаптивным
управлением для сверления глубоких отверстий, содержащий корпус, в котором
через промежуточную втулку размещена опора шпинделя, при этом на поверхности
промежуточной втулки размещены датчики измерения осевой составляющей силы
резания, связанные с системой адаптивного управления станком, отличающийся тем,
что промежуточная втулка выполнена с фланцем на торце, предназначенным для ее
крепления на передней торцевой поверхности так, чтобы была образована консоль
относительно стенки корпуса, при этом упомянутые датчики расположены на
наружной консольной части промежуточной втулки.
14.1.7
Беззазорная червячная передача и способ нарезания зубьев червячного колеса
беззазорной червячной передачи RU 2291337
Беззазорная червячная передача, содержащая рабочий червяк с
переменной толщиной витка, обеспечиваемой разностью осевых модулей для правой и
левой сторон витка, и червячное колесо, активные поверхности зубьев которого
выполнены как огибающие производящей поверхности червячной фрезы, отличающаяся
тем, что осевые углы профиля для правой и левой стороны витка рабочего червяка
выполнены различными между собой и при этом угол профиля витка червяка на
стороне с большим значением модуля выполнен большим, чем угол профиля на
противоположной стороне витка, а осевые модули и углы профиля для обеих сторон
витка производящей поверхности фрезы для обработки зубьев червячного колеса
выполнены равными между собой, причем указанные углы и модули связаны между
собой зависимостями.
14.1.8 Опора
качения SU 1640465
Опора качения, содержащая неподвижное основание, корпус с
рабочим, возвратным и переходными каналами, в которых размещены тела качения, и
механизм регулирования натяга между телами качения и стенкой рабочего канала,
отличающаяся тем, что, с целью повышения надежности путем уменьшения трения и
исключения заклинивания тел качения, она снабжена установленными у концов
рабочего канала соплами для подачи рабочей среды и бесприводными звездочками,
шаг зубьев которых равен расстоянию между телами качения в рабочем канале, и
электропневматическим блоком реверса.
14.1.9
Винтовая передача RU 2279595
Винтовая передача, содержащая ходовой винт, закрепленный в
подшипниках, гайку, шток, соединенный с гайкой, и обоймы, отличающейся тем, что
гайка выполнена в виде пакета гибких нитей, который размещен между обоймами.
14.1.10
Направляющие качения для стола металлорежущего станка RU 2083344
Направляющие качения для стола металлообрабатывающего станка,
содержащие основные роликовые опоры с закрепленными осями и механизм
предварительного натяга, отличающиеся тем, что механизм предварительного натяга
выполнен в виде дополнительных роликовых опор с закрепленными осями,
установленных на упругих элементах и расположенных зеркально над основными
опорами, при этом основные и дополнительные роликовые опоры размещены в несущих
направляющих элемента С-образной формы.
В качестве приводного двигателя в станках с ЧПУ обычно
применяются регулируемые двигатели постоянного и переменного тока. Последние
проще по конструкции и обладают большей надежностью в виду отсутствия щеточных
узлов (особенно в области высоких частот вращения, которые требуются для
главного движения). Диапазон регулирования двигателя с постоянной мощностью
(Rд) р ограничен величиной 3.5 (в последних моделях двигателей 6.8), что
требует, как правило, применения в приводе главного движения механических
устройств (коробок скоростей) и диапазоном регулирования Rк и числом ступеней
скорости ZК = 2,3 или 4.
Приводами подачи с бесступенчатым регулированием оснащают
станки с ЧПУ, гибкие производственные модули, станки с адаптивным управлением.
Приводы должны обеспечивать широкий диапазон режимов обработки, максимальную
производительность, высокую точность позиционирования исполнительных органов.
Для роста производительности станка предусматривают скорость
быстрого хода исполнительных узлов 15 м/мин и более, а в легких токарных и
сверлильных станках с малыми ходами - высокое быстродействие привода (время
разгона до максимальной скорости не превышает 0,2 с).
Благодаря регулированию электродвигателя и упрощению
механической части снижается нагрузка на двигатель, повышается КПД привода,
снижается его момент инерции, повышается точность исполнения команд. Поскольку
доля силы резания в общей нагрузке на привод подачи значительна и в процессе
обработки сила резания изменяется в широком диапазоне, требования к статической
и динамической жесткости приводов подач станков с ЧПУ намного выше, чем к
приводам подач традиционных станков.
Сейчас в главном приводе вместо автоматических коробок
скоростей с электромагнитными муфтами используют регулируемые электродвигатели
постоянного тока или асинхронные частотно-регулируемые, что существенно
упрощает конструкцию привода и позволяет автоматически поддерживать постоянную
скорость резания путем бесступенчатого регулирования частоты вращения шпинделя.
В приводах станков с ЧПУ в настоящее время применяются
высокомоментные, регулируемые электродвигатели постоянного тока; на шариковом
винте или непосредственно на валу двигателей, перемещающих суппорт в поперечном
и продольных направлениях, устанавливают фотоимпульсные датчики, следящие за
исполнением заданных перемещений и сообщающие эту информацию в УЧПУ. Последнее
выдает соответствующие команды приводам подач. В результате повысилась точность
позиционирования, а скорость быстрых перемещений суппорта возросла до 30 м/мин.
Привод продольного перемещения суппорта (рисунок 14.1)
включает в себя шариковую винтовую передачу, опоры 2 винта, редуктор 1
(передаточное отношение 1:
), электродвигатель 6 постоянного тока и датчик 3 обратной связи,
связанный с винтом посредством муфты 4.
Если станок оснащен частотно-регулируемым асинхронным
двигателем, то устанавливают редуктор с передаточным отношением 1: 2, а датчик
обратной связи встраивают в электродвигатель. Зазор в зубчатом зацеплении редуктора
выбирается перемещением переходной плиты 5 (с установленным на ней
электродвигателем) относительно корпуса редуктора.
При конструировании приводов подач в современных станках
нашли широкое применение комплектующие (направляющие скольжения, шариковинтовые
механизмы, линейные модули, соединительные муфты) таких известных фирм как
Star, Micron, THK.
Рисунок 14.1 Привод продольного перемещения суппорт.
Еще одна конструкция привода продольных подач представлена на
рисунке 14.2.
Рисунок 14.2 Привод подач станка с числовым управлением.
- двигатель, 2 - кронштейн, 3 - соединительная муфта, 4 -
шариковый винт, 5 - шариковая гайка, 6 - суппорт, 7 - защитная гармошка.
Механизм линейного перемещения
Механизм сообщает линейное перемещение рабочему блоку по
сигналу, поступающему по проводу. Механизм содержит линейный двигатель 12 и
удлинений шток 13 несущий рабочий орган Линейный двигатель снабжен средствами
передачи движения сбоку от двигателя 14. Линейный двигатель соединен со штоком,
который имеет продольный канал для питающего провода. Линейная направляющая для
штока крепится к линейному двигателю 12.
Рисунок 14.3 - Механизм линейного перемещения.
Данные механизмы линейного перемещения нашли широкое
применение при проектировании крестовых столов, обеспечивающих перемещение по
осям X-Y, X-Z. Возможные варианты конструкций составленные из линейных модулей
приведены рисунке.
При использовании линейных шариковых или роликовых
направляющих на каждой шине возможна установка гофрированных рукавов (рисунок
14.4), монтаж которых наглядно не составляет особой сложности.
Рисунок 14.4 - Типовые конструкции шарико-винтовых передач
предлагаемых фирмой Micron: а-OMB01,OMB05; б-OMB10, OMB15; в-OMB20; г-OMB25,
OMB30, OMB35; д-OMB45; е-OMB50
Рисунок 14.5 - Шариковинтовая пара фирмы THK

Рисунок 14.6 Шарико-винтовые приводы Star.
Узел крепления корпуса гайки ходового винта
Формула изобретения:
Узел крепления корпуса гайки ходового винта металлорежущего
станка, содержащий корпус с установленными в нем двумя полугайками, размещенный
в отверстии салазок станка с возможностью взаимодействия с корпусом посредством
наклонной базовой поверхности фиксирующий палец, отличающийся тем, что, с целью
повышения жесткости при одновременном уменьшении габаритов и упрощении монтажа
и регулировки, узел снабжен дополнительным фиксирующим пальцем с гранью,
размещенных в салазках с возможностью взаимодействия с торцом корпуса
посредством упомянутой грани.
Рисунок 14.7 - Узел крепления корпуса гайки ходового винта.
Устройство для защиты направляющих станков с быстрым
движением подвижных узлов
Цель изобретения_ обеспечение надежности в работе устройства.
Поставленная цель достигается тем, что устройство для защиты направляющих,
содержащее телескопически соединенные щитки, связанные между собой пантографным
механизмом, и опорные ролики, взаимодействующие с направляющей, снабжено
поперечными планками, установленными на осях средних шарниров пантографного
механизма, и упругими элементами, при этом щитки соединены с планками через
упругие элементы, а упорные ролики установлены на планках.
Рисунок 14.8 - Устройство защиты направляющих
Шпиндельная бабка, корпус которой снабжен опорами,
расположенными в приводной и инструментальной зонах шпинделя, первые из которых
предназначены для схватывания в вертикальной, а вторые - в горизонтальной
плоскостях базовых направляющих и содержат регулирующие элементы, определяющие
положение оси шпинделя, отличающаяся тем, что, с целью повышения точности
обработки путем уменьшения погрешности ориентации положения шпинделя в двух
взаимно перпендикулярных плоскостях, регулирующие элементы выполнены в виде
планок, снабженных гидростатическими карманами, причем регулирующие элементы в
опорах приводной зоны шпинделя установлены с двух сторон, а в инструментальной
- с одной стороны относительно базовых направляющих, при этом регулирующие
элементы каждой опоры предназначены для изменения положения оси шпинделя в
вертикальной плоскости, перпендикулярной поверхности опор, несущих эти
элементы.
Рисунок 14.9 Шпиндельная бабка
Цель изобретения - повышение точности обработки путем уменьшения
погрешности ориентации положения шпинделя в двух взаимно перпендикулярных
плоскостях.
Рисунок 14.9 изображена шпиндельная бабка, общий вид; - на рисунке
14.10 - то же, вид сбоку.
Шпиндельная бабка 1, установленная на неподвижных направляющих 2
базового узла, содержит шпиндель 3. Корпус шпиндельной бабки 1 имеет замкнутые
гидростатические направляющие, которые в нижней части корпуса состоят из
базовой опоры 4 и параллельной ей замыкающей опоры 5, базовой опоры 6 и
параллельной ей замыкающей опоры 7, расположенных перпендикулярно к опорам 4 и
5.
В верхней части корпуса шпиндельной бабки i замкнутые
гидростатические направляющие состоят из дополнительной базовой опоры 8,
замыкающей опоры 9, вспомогательной опоры. Опоры 7-9, снабжены регулировочными
элементами, выполненными в виде жестких планок, установленных парами на каждой
опоре с базированием на корпус, например, с помощью клиновых поверхностей.
В замыкающей опоре 7 установлены регулировочные элементы 11 и 12,
зафиксированные в корпусе с помощью ступенчатых компенсаторов 13 и 14.
Установка двух пар регулировочных элементов на дополнительных
направляющих в верхней части корпуса шпиндельной бабки, с их оппозитным
расположением на базовой и замыкающей опорах, вызвана тем, что диапазон
регулирования (переориентации) может выполняться в пределах допустимой
неравномерности рабочих зазоров в базовых опорах 4 и 6 и в замыкающих опорах 5
и 9 при повороте оси шпинделя на угол.3.
Рабочие суммарные зазоры в замкнутых гидростатических
направляющих, например, для тяжелых станков, с учетом оптимальной точности
обработки направляющих базового узла и отсутствия сухого трения в направляющих,
а также жесткости гидростатического слоя и расхода масла выбираются 100-120
мкм, а минимальный рабочий зазор допускается 20-30 мкм.
В опоре 8 установлены регулирующие элементы 15 и 16,
зафиксированные компенсаторами 17 и 18, а в опоре 9 - элементы 9 и 20,
зафиксированные компенсаторами 21 и 22.
Опора б, в том числе и регулировочные элементы 11,12,15,16, 19,
20. снабжены несущими карманами 23, количество и размеры которых выбираются в
зависимости от размеров узлов и воспринимаемой ими нагрузки.
Вспомогательная опора 10 служит для разгрузки массы шпиндельной
бабки на неподвижную направляющую базового узла, для чего на ней
предусматриваются разгрузочные механизмы 24. Несущие карманы 23 соединены
гидролиниями с системой смазки типа "насос-карман" (не показано).
Регулирование оси шпинделя в двух взаимно перпендикулярных
плоскостях производится следующим образом.
Если масса шпиндельной бабки разгружена полностью, то зазор h1 в
базовой опоре 6 равен нулю, масса шпиндельной бабки 1 полностью воспринимается
опорой 10, а зазоры h1 и h2 в замыкающей опоре 7 имеют какую-то величину.
Включается система смазки и масло под давлением подается в несущие
карманы 23 гидростатических направляющих. При этом шпиндельная бабка I
определенным образом устанавливается на направляющих базового узла 2.
Так как применены замкнутые гидростатические направляющие это
происходит выравнивание (усреднение) рабочих зазоров в базовых и замыкающих
опорах. В этом положении замеряют фактическое положение оси шпинделя в двух
взаимно перпендикулярных плоскостях, углы а: и у (Регулирование оси шпинделя в
плоскости, параллельной рабочей поверхности базовой опоры 4 (угол В),
производится при помощи регулировочных элементов 11 и 12, которые перемещаются
в направлении гидростатического слоя с целью его увеличения или уменьшения,
т.е. изменяются величины рабочих зазоров h1, h2, h3
Учитывая особенности шпиндельной бабки, имеющей замкнутые
гидростатические направляющие и регулировочные элементы на них, можно в
автоматическом цикле придать ей два устойчивых положения, одно с включенной
гидростатикой и второе - без нее.
Рисунок 14.10 Вид сбоку шпиндельной бабки
15. Конструкции
приспособлений, применяемых в станках, их принцип работы и кинематические схемы
15.1
Приспособления для токарных станков
Приспособления представляют дополнительное оборудование, с
помощью которого обрабатываемые заготовки или инструмент устанавливаются и
закрепляются в соответствии с требованиями технологического процесса.
Приспособления для токарных станков могут сделать токарную обработку более
производительной, удобной, повысить точность обработки. Также за счет
приспособлений для станков возможно увеличение срока службы инструментов и
отдельных механических узлов оборудования.
Специальные приспособления могут значительно расширить
возможности универсальных токарных станков до простых фрезерных операций или
операций сверления.
Все приспособления для токарных станков в целях унификации
могут быть классифицированы по следующим основным признакам: конструкция;
размеры оборудования: размеры заготовок; достижимая точность обработки с
использованием приспособления.
По конструктивному признаку (в зависимости от способа
установки и закрепления заготовок) токарные приспособления подразделяют на
следующие группы: кулачковые, поводковые, цанговые и мембранные патроны;
токарные центры; токарные оправки, базируемые в конус шпинделя; люнеты;
планшайбы.
Кулачковые патроны бывают двух, трех и четырехкулачковые.
Двухкулачковые самоцентрирующие патроны применяются для
закрепления небольших заготовок, при установке которых не требуется точного
центрирования. В двухкулачковых самоцентрирующих патронах закрепляют различные
отливки и поковки, причем кулачки таких патронов часто предназначены для
закрепления заготовки только одного типа размера.
Наиболее широко применяется трехкулачковый самоцентрирующий
патрон. Используют при обработке заготовок круглой и шестигранной формы или
круглых прутков большого диаметра. Расположение зажимных поверхностей уступом
по трем различным радиусам увеличивает диапазон зажимаемых заготовок и
облегчает переналадку патрона с одного размера на другой. Преимуществом
универсальных трехкулачковых спиральных патронов является простота конструкции
и достаточное усилие зажима, а недостатком - сильный износ спирали и
преждевременная потеря точности патрона. Самоцентрирующие трехкулачковые
патроны изготавливают трех типов (1, 2 и 3), в двух исполнениях каждый; патроны
исполнения 1 - с цельными кулачками, исполнение 2 - со сборными кулачками.
Заготовки произвольной формы устанавливают в
четырехкулачковом патроне с индивидуальным приводом кулачков, что дает
возможность их сцентрировать. Четырехкулачковые патроны с независимым
перемещением кулачка крепят непосредственно фланцевые концы шпинделя или через
переходной фланец. В четырехкулачковых самоцентрирующих патронах закрепляют
прутки квадратного сечения, а в патронах с индивидуальной регулировкой кулачков
- заготовки прямоугольной или несимметричной формы.
Кулачковые патроны выполняются с ручным и механизированным
приводом зажимных механизмов. Автоматизированный двухкулачковый патрон крепится
на шпинделе с помощью планшайбы, к которой четырьмя винтами прикреплен корпус
патрона. Ползуны, связанные с кулачками патрона, перемещаются в пазах корпуса.
Патрон работает от пневмо цилиндра, закрепленного на заднем
конце шпинделя. Заготовка зажимается в тот момент, когда ползун, перемещаясь
влево, поворачивает рычаги вокруг осей, сдвигая кулачки к центру. Для снятия
обработанной детали ползун перемещается вправо. Сменные кулачки предварительно
регулируют на заданный размер заготовки вручную винтом. На патрон в зависимости
от размеров и формы заготовок устанавливают сменные кулачки на выступы
оснований и прикрепляют винтами. Упоры устанавливают по размеру заготовки и
фиксируют винтами, передвигающимися в Т-образных пазах корпуса, и гайками.
Стержень с помощью шпонок обеспечивает одновременное перемещение кулачков при
наладке патрона.
Применение автоматизированного патрона сокращает время на
зажим заготовки и открепление обработанной детали по сравнению с ручным
механизмом на 70.80 %; в значительной мере облегчает труд рабочего. Патрон
состоит из корпуса, основных и накладных кулачков, сменной вставки с плавающим
центром и эксцентриков, в кольцевые пазы которых входят штифты. Быстрый зажим и
разжим накладных кулачков при их переналадке осуществляется тягами через
эксцентрики.
Для обработки заготовок типа вала в патрон устанавливают
сменную вставку с плавающим центром и выточкой по наружному диаметру. Заготовку
располагают в центрах (центре и заднем центре станка) и зажимают плавающими
кулачками с помощью втулки с клиновыми замками, которая соединена с приводом,
закрепленным на заднем конце шпинделя станка. Разжим осуществляется с помощью
фланца.
В условиях единичного и мелкосерийного производства установку
заготовок в зависимости от состояния их опорных поверхностей производят на
подкладки, опорные поверхности кулачков или непосредственно на планшайбу
станка. Заготовки закрепляются с помощью кулачков или прихватов.
Установка и закрепление заготовок в специальных
приспособлениях применяются в серийном и массовом производстве, а также при
изготовлении особо точных, крупногабаритных и тонкостенных деталей.
Переставные кулачки применяют для закрепления заготовок,
имеющих форму вращения. Они могут быть использованы для опоры заготовки и
небольших ее перемещений в процессе выверки. Кулачки закрепляются на планшайбе
болтами, устанавливаемыми в один или два паза. Кулачки могут быть расположены в
любом месте планшайбы.
Прихваты применяются для закрепления заготовок на планшайбе
станка или в специальном приспособлении. Прихват представляет собой крепежный
комплект, состоящий из крепежного болта, шайбы, гайки, прижимной планки и
опоры, которая может быть регулируемой или в виде ступенчатых колодок.
Для установки и закрепления осевого инструмента применяются
патроны и различные переходные втулки.
При растачивании отверстий резцы устанавливаются и
закрепляются на вертикальных суппортах с помощью многорезцовых державок, а в
револьверной головке - с помощью специальных расточных державок.
Расточные державки выполняют однорезцовыми с прямыми
креплениями резца и двухрезцовыми с косым креплением резца.
Для выполнения работ в патроне с самоцентрирующими кулачками
сменную вставку заменяют вставкой, которая не имеет выточки по наружному
диаметру, благодаря чему обеспечивается самоцентрирование патрона. Патрон
крепят на шпиндель станка с помощью фланца. К приводу патрон присоединяют
втулкой и винтом. В корпусе четырех кулачкового патрона выполнены четыре паза,
в каждом из которых смонтирован кулачок с винтом для независимого перемещения
кулачков в радиальном направлении.
От осевого смещения винт удерживается сухарем. Кулачки могут
быть повернуты на 180° для закрепления заготовок по внутренней или наружной
поверхности. На передней поверхности патрона нанесены концентричные риски
(расстояние между ними составляет 10.15 мм), которые позволяют выставить кулачки
на одинаковом расстоянии от центра патрона.
Многообразие конструкций кулачковых патронов не позволяет
описать особенности функционирования каждого из них. Такие патроны используют
при точной обработке, когда необходимо исключить любую возможность деформации
заготовки. Приспособление обеспечивает закрепление заготовки в две стадии
(последовательно) посредством двойного захвата кулачками.
Положение кулачков определяется приводящей их в действие
отдельной втулкой. Ход достаточен для компенсации разности диаметров заготовки
между двумя захватами. Широко открывающийся самоцентрирующий патрон
предназначен для токарной обработки деталей типа вилок. Длина хода зажима 210
мм.
15.2 Система
перемещения заготовки - рычажная
Патрон предназначен для токарной обработки заготовки в
центрах. Плавающие захваты компенсируют шероховатость на поверхности заготовки
при ее установке. Комплект из трех кулачков, зажимая деформирующуюся часть
(диафрагму) заготовки, центрирует ее с помощью штифтов для предварительной
установки. Затем заготовка зажимается прихватами.
Привод патрона - гидравлический цилиндр. Поводковые патроны
используют на токарных станках при обработке заготовок деталей типа вала в
центрах. Поводковый патрон через палец-поводок и хвостовик хомутика, который крепится
на заготовке винтом, передает вращение заготовке.
Универсальный поводковый патрон предназначен для базирования
заготовок типа вала и передачи им крутящего момента при обработке на токарных
станках, в том числе с ЧПУ. В отверстии корпуса хвостовика установлен плавающий
центр и пружина, расположенная между резьбовыми втулками. В задний торец центра
установлена штанга. Корпус патрона имеет выточку иод диск, в котором закреплены
через 120° три неподвижных пальца.
На диске установлены также три пальца, на которых закрепляют
сменные кулачки незубчатыми поверхностями и поворотный кожух. Диск,
поворачиваясь, увлекает за собой кулачки, которые пазами охватывают неподвижные
пальцы и, перемещаясь вместе с диском, поворачиваются относительно пальцев, в
результате чего кулачки равномерно зажимают заготовку, передавая ей крутящий
момент. При повороте кожуха против часовой стрелки кулачки раскрываются и
фиксируются подпружиненным фиксатором.
Все приспособления для токарных станков делятся на
универсальные, предназначенные для обработки различных заготовок, и специальные
- для обработки только одной заготовки.
Рассмотрим универсальные приспособления для
токарно-винторезных станков.
Рис.15.1
Центры служат для установки (базировки) заготовок между
шпинделем станка и пинолью задней бабки. Для установки заготовок в центрах, на
их торцах предварительно высверливают центровые отверстия.
Передача крутящего момента от шпинделя при обработке в
центрах обычно осуществляется патронами или поводковыми устройствами.
Рис.15.3
На рисунке приведен поводковый патрон, навинчиваемый на
шпиндель, и хомутик 2, закрепляемый на левом конце заготовки с помощью болта 3.
При скоростной обработке валов применяют задние центры 4 наплавленные сормайтом
или оснащенные пластинками из твердых сплавов, а также вращающиеся центры.
С целью сокращения времени для закрепления заготовки и
обеспечения безопасности работы применяют различные самозажимные хомутики или
самозажимные поводковые патроны. Действие самозажимного хомутика легко помять
при рассмотрении рисунка. При вращении поводкового патрона его палец 2
упирается в рычаг 1 хомутика, который и зажимает обрабатываемую заготовку 3.
Рис.15.3
Самоцентрирующиеся патроны применяются обычно для закрепления
цилиндрических заготовок при одновременном их центрировании. Самоцентрирующийся
патрон закрепляется на шпинделе станка. Существует несколько конструкций
центрирующих механизмов патронов: с двузначным винтом, спиральные, реечные и
др. с числом кулачков от 2 до 4. Значительная экономия времени при закреплении
деталей в патронах достигается применением быстродействующих приводов. У
четырех кулачковых патронов каждый кулачок можно перемещать отдельно, что
позволяет закреплять в них некруглые и несимметричные заготовки. Выверка
заготовок в четырех кулачковых патронах в ряде случаев требует много времени.
Рис.15.4
В тех случаях, когда закрепление заготовок в обычных патронах
невозможно, применяют специальное приспособление или планшайбу, к которой
прикрепляется угольник. На нем устанавливается и закрепляется обрабатываемая
заготовка 2. Для уравновешивания вращающихся масс к планшайбе прикрепляется
противовес 3.
Самоцентрирующиеся и четырехкулачковые патроны приведенной
конструкции, а также планшайба требуют ручного зажима заготовки. Это является
их общим недостатком. В массовом и серийном производстве, с целью сокращения
вспомогательного времени, применяют быстродействующие пневматические,
гидравлические, электрические патроны и др.
При обтачивании нежестких валов (длина которых в 10 раз и
более превышает их диаметр) установка их только на центрах, без опоры в средней
части, оказывается недостаточной, так как при этом под действием усилия резания
будет происходить значительный изгиб заготовки. Это затрудняет обработку и
вызывает понижение точности. Предотвращение изгиба обеспечивается введением
дополнительной опоры для заготовок. В качестве такой опоры используются люнеты.
Каждый токарный станок снабжается обычно двумя люнетами - подвижным и
неподвижным. Неподвижный люнет устанавливается и закрепляется на станине; он
имеет три кулачка, поддерживающие заготовку при обработке. Кулачки люнета
обычно оснащаются бронзовыми подушками, заливаются баббитом или снабжаются
роликами. При высоких скоростях резания наблюдается значительное нагревание
бронзовых или даже баббитовых кулачков и обрабатываемой заготовки, поэтому для
скоростной обработки валов рациональнее применять специальные люнеты. Подвижный
люнет устанавливается на продольных салазках суппорта; его кулачки касаются
обработанной поверхности и принимают на себя то давление, которое при
отсутствии их вызвало бы изгиб заготовки. Рационально применять подвижные
люнеты - виброгасители, которые не только предотвращают изгибы заготовок, но
одновременно гасят вибрации, возникающие при обработке валов. Копировальная
(конусная) линейка является приспособлением для обтачивания конусов. На этом же
принципе осуществляется обычно обработка фасонных (криволинейных) поверхностей,
в этом случае на место копировальной линейки устанавливают специальный
профильный копир, который имеет контур, соответствующий требуемому профилю
детали.
15.3 Основные
работы, выполняемые на токарных станках
На токарных станках выполняются следующие основные виды
работ: обтачивание цилиндрических поверхностей, подрезание торцевых
поверхностей, отрезание, сверление, зенковку (зенкерование), растачивание и
развертывание отверстий, обтачивание наружных и растачивание внутренних
конусов, нарезание резьбы (резьбонарезание), обтачивание и растачивание
фасонных поверхностей.
Рис.15.5
Обтачивание разделяется на черновое и чистовое. При черновом
обтачивании производится съем значительного количества стружки. Нормальный
припуск на черновое обтачивание обычно составляет 2-5 мм. В результате
чернового обтачивания достигаются 1-3-й классы чистоты и 5-7-й классы точности.
Припуски на чистовое обтачивание колеблются в пределах 1-2 мм и менее на
сторону.
Подача при чистовом обтачивании резцами с закругленной
режущей кромкой должна быть мелкой, а при обтачивании широкими резцами может
быть более крупной. В результате чистового обтачивания достигаются 4-8-й классы
чистоты и 2-4-й классы точности.
Обтачивание торцевых поверхностей производят обдирочными или
чистовыми резцами. При обработке таких поверхностей заготовок, установленных на
центры токарно-винторезных станков, применяют подрезные резцы и в некоторых
случаях специальные срезанные центры. Сверление, зенкерование, развертывание
отверстий производятся сверлами, зенкерами и развертками.
Растачивание предварительно просверленных или полученных при
заготовительных операциях отверстий производится обдирочными и чистовыми (с
закругленной режущей кромкой) резцами. Обтачивание конических поверхностей
может осуществляться широким резцом; при повернутых верхних салазках суппорта;
при сдвинутой задней бабке; с использованием копировальной линейки. Широким
резцом можно обтачивать конические поверхности длиной не более 15 мм.
При обтачивании конических поверхностей методом поворота
верхних салазок нижние салазки остаются неподвижными, а подача осуществляется
верхними салазками вручную или автоматически (на крупных станках). Длина конуса
в этом случае ограничивается длиной хода верхних салазок. Поворотная часть
суппорта должна быть повернута на угол а, равный углу наклона образующей конуса
к его оси.
Рис.15.6
Обтачивание конуса методом поперечного сдвига задней бабки.
При сдвинутой задней бабке могут обтачиваться конусы с небольшими углами а, так
как максимальная величина сдвига бабки в поперечном направлении относительно
невелика. Растачивание внутренних конусов можно производить широким резцом,
методом поворота верхних салазок и с помощью копировальной линейки с
применением соответствующих резцов.
Резьбонарезание - весьма важная операция. Для получения
резьбы необходимо строго согласовать вращение заготовки и поступательное
движение резца. Если при каждом обороте заготовки ходовой винт будет также
совершать точно один оборот, то шаг нарезаемого винта будет равен шагу ходового
винта.
15.4
Приспособления для закрепления инструмента с хвостиком
Важнейшим условием высокой производительности
токарно-револьверных станков является правильный выбор вспомогательного
инструмента, применяемого для установки и закрепления на станках режущего
инструмента.
Для закрепления в револьверной головке резцов с круглой
оправкой, сверл, разверток, другого режущего инструмента, а также державок
применяются зажимные втулки. При наладке втулки подбираются по размеру
наружного диаметра сверла или хвостовика.
Для закрепления инструмента, установленного в державках или
различных приспособлениях токарно-револьверного станка с вертикальным
расположением оси револьверной головки, применяются жесткие стойки.
15.5
Приспособления при обработке фасонных поверхностей
Для повышения производительности и точности обработки
фасонных поверхностей проходным резцом применяют копировальное устройство.
Копир может располагаться либо впереди поперечного суппорта, либо сзади.
Копир представляет собой диск с радиусом, равным радиусу R
обрабатываемой сферы, копир закрепляют на каретке суппорта или в люнете. Резец
и копирный палец устанавливаются таким образом, чтобы они касались наивысших
точек сферы на заготовке и копире. Шаровая поверхность обрабатывается при
автоматической поперечной и продольной подачах.
15.6 Приспособления
для нарезания многозаходных резьб
Деление на заходы можно производить при помощи
градуированного патрона. Патрон устанавливается на шпинделе станка. В начале
обработки первой винтовой канавки резьбы нулевые риски на обеих частях патрона
должны совпадать. При нарезании следующей винтовой канавки нужно ослабить гайки
и повернуть поворотную часть патрона вместе с поводковым пальцем на
соответствующий угол.
При делении на заходы применяют также поводковый патрон с
прорезями. После нарезания одной нитки резьбы заготовку поворачивают (освободив
из центров) и вставляют отогнутый конец хомутика в соответствующую прорезь.
15.6.1
Оправки оправка
Затылуемое изделие (фреза) обрабатывается на оправке, которая
должна обеспечивать жесткость крепления и точность вращения. Оправка
устанавливается в коническую расточку шпинделя. Крутящий момент оправке от
шпинделя передается следующим образом: на торце шпинделя имеется прямоугольный
паз, в который вставляется оправка. Второй конец оправки вводят в бронзовую втулку,
вставленную в пиноль задней бабки. Обрабатываемая фреза устанавливается на
шпонке и закрепляется гайкой.
В шпиндель станка оправку также устанавливают коническим
хвостовиком, фиксируя ее от проворота при помощи лысок, которыми оправка
вставляется в паз, выфрезерованный на переднем конце шпинделя. Заготовка фрезы
крепится на сменных цангах и поджимается понолью задней бабки.
Пиноль задним центром разжимает лепестки цанги, тем самым,
закрепляя фрезу по отверстию. От проворота фреза предохраняется сменной
вставкой, которая крепится болтами в корпусе оправки. Размеры оправок с
разжимными цангами зависят от модуля затылуемой фрезы.
15.7
Приспособление для затылования резьбовых фрез
Позволяет осуществлять точное перемещение на величину шага
резьбовой фрезы после затылования каждого витка. Оно используется при
затыловании резцом, гребенкой и однониточным шлифовальным кругом. С помощью
этого приспособления можно обрабатывать резьбовые фрезы, перемещая инструмент,
как в сторону задней бабки, так и в противоположную сторону.
15.8
Приспособление для правки шлифовального круга
Правка круга осуществляется алмазным карандашом,
установленным в держателе. Правка осуществляется вручную по упорам. Основание
можно поворачивать от нулевого положения в обе стороны. В положении упоров
шлифовальный круг правят под углом 20. ̊Для получения другого
угла правки упоры перемещают по пазу и закрепляют в необходимом месте по шкале
на корпусе и нониусу периферии основания. Угол правки устанавливается с
точностью до 6 ́. Для правки торца шлифовального круга к
приспособлению прилагается удлинитель, который крепится на оси. Алмаз подается
на шлифовальный круг рукояткой, которая при помощи винта подачи перемещает
корпус приспособления.
16.
Патентно-поисковые исследования конструкций современных режущих инструментов
Резцы
Назначение и основные типы резцов
Одним из наиболее простых и распространенных металлорежущих
инструментов является резец <#"579240.files/image035.gif">
Рис.16.1 Токарные резцы <#"579240.files/image037.gif">
Рис.16.2 Схемы режущих частей отрезных резцов
<#"579240.files/image038.gif">
Рис.16.3 Строгальные резцы <#"579240.files/image039.gif">
Рис.16.4 Долбежные резцы <#"579240.files/image040.gif">
Рисунок 12.1 Калибры: а - нормальные, б - предельные; в -
схема измерения.
Кронциркуль и нутромер служат для измерения линейных
размеров. Наружные размеры измеряются кронциркулем, внутренние нутромером.
Погрешность измерения деталей с помощью кронциркуля и нутромера равна ±0,5 мм.
К штангенинструментам относят штангенциркуль,
штангенглубиномер и штангенрейсмас. Основой штангенинструмента является линейка
- штанга с нанесенными на ней делениями - основная шкала. По штанге движется
рамка с вырезом, на наклонной грани которой нанесена нониусная шкала
Штангенциркуль применяется для измерений как наружных, так и
внутренних размеров деталей (рис.12.2).
Рисунок 17.2 Штангенциркуль.
Он состоит из штанги 1, двух пар губок - 2-9 и 3-4, изготовленных
заодно с рамкой 6, скользящей по штанге. С помощью винта 5 рамка может быть
закреплена в требуемом положении на штанге. Нижние губки 2 и 9 служат для
измерений наружных размеров, а верхние 3 и 4 - для внутренних измерений.
Глубиномер 7 передвигается по пазу штанги 1 и служит для измерения глубины
отверстий, пазов и др. Отсчет целых миллиметров производится по шкале штанги, а
отсчет долей миллиметра - по шкале нониуса 8, помещенной в вырезе рамки 6
штангенциркуля. При измерении детали штангенциркулем сначала отсчитывают по
шкале целое число миллиметров на штанге, отыскивая его под первым 2 штрихом
нониуса, а затем с помощью нониуса определяют десятые доли миллиметра. При этом
замечают деление нониуса, штангенциркулем совпадающее с делением на штанге.
Порядковое число этого деления показывает десятые доли миллиметра, которые
прибавляют к целому числу миллиметров. На рис.12.2 изображено положение нониуса,
соответствующее размеру 25.6 мм. Нониусы бывают с ценой деления 0.02,0.05,0.1
мм.
Микрометр (рис.17.3) предназначен для измерений наружных размеров
деталей.
Рисунок 17.3 Микрометр
Основной несущей деталью микрометра является скоба 7, с одной
стороны которой имеется неподвижная измерительная пятка 2, а с другой - гайка
5, в которую ввинчивается шпиндель 3. Шпиндель наглухо скреплен с барабаном 6.
При вращении 1 барабана вращается и шпиндель, ввинчиваясь или
вывинчиваясь из гайки 5, Для постоянства измерительного давления служит
трещотка 1, которая соединена с барабаном 6 храповичком, отжимаемым пружиной.
Когда шпиндель 3 упрется в поверхность измеряемой детали, храповичок начнет
щелкать, свободно вращаясь, и барабан 6 со шпинделем 3 остановятся. Целые
деления миллиметров и половины миллиметров отсчитываются по шкале стебля 4, а
десятые и сотые доли - на скосе барабана 6. Например, размер по микрометру,
показанному на рис.4, составляет 17.05мм.
Индикаторы применяются для измерения отклонений от заданного
размера при проверке биения, эксцентричности и т.д. Они бывают двух типов:
транспортирные и универсальные. С помощью универсального угломера измеряют
наружные углы от 0 до 180°, а также внутренние углы от 40 до 180°. Величина
отсчета по нониусу составляет 2 минуты.
Для контроля шага и одновременно угла профиля резьбы пользуются
набором шаблонов-резьбомеров. Прикладывая шаблон гребенкой к резьбе, определяют
Рисунок 17.4 Контроль шага резьбы: а - линейкой; б - резьбомером.
Рисунок 17.5 Резьбовой микрометр: 1 - скоба; 2 - пятка; 3 -
призматическая вставка; 4 - коническая вставка; 5 - шпиндель; 6 - стебель; 7 -
барабан; 8 - шаблон.
На просвет совпадение шага и угла профиля гребенки с шагом и углом
профиля контролируемой резьбы (рис, 12.4). Средний диаметр резьбы измеряют
резьбовым микрометром (рис.12.5). В шпинделе 5 и пятке 2 сделано отверстие, в
которое устанавливают резьбовые вставки (из набора к микрометру): в шпиндель -
коническую 4 с углом, равным углу профиля; в пятку - призматическую 3. При
контроле коническую вставку 4 вводят в канавку резьбы, а призматическая 3
охватывает противоположную нитку. Для установки микрометра на нуль служит
установочный шаблон 8. В массовом производстве точность резьбовых изделий
контролируют предельными калибрами: наружную резьбу резьбовыми кольцами, а
внутреннюю резьбовыми пробками. Проходной калибр ПР имеет полный профиль резьбы
и должен свинчиваться с контролируемым резьбовым изделием на полную длину резьбы;
непроходной калибр НЕ имеет всего два - три витка и укороченный профиль.
Непроходной калибр должен свинчиваться с резьбой не более чем на 1 - 2 нитки.
18.
Технико-экономические показатели производства
Экономическое обоснование конструкторских решений, повышающих
технологичность отдельных агрегатов, сборочных единиц и станка в целом,
выполняется в соответствии с методическими указаниями по расчету экономической
эффективности внедрения новых технологических процессов.
Разработка и внедрение новых средств труда (машин,
оборудования, приборов и др.) должны сопровождаться экономическим анализом
(ЭА), который представляет системное исследование влияния технических
показателей на экономическую эффективность принимаемых решений.
a)
экономическую
оценку технических решений;
b)
эффективность
новой техники в сравнении с базовой;
c)
конкурентоспособность
и эффективность новой техники.
Экономическая оценка технических решений комплексно
характеризуется полезным эффектом новой техники (Эп) и конкурентной
наукоёмкостью.
Полезный эффект новой техники в потреблении представляет
стоимостную оценку изменений ее потребительских свойств, производительности,
надежности, качества выпускаемой продукции, расхода электроэнергии, материалов,
производственных площадей и др. ресурсов.
Коэффициент наукоёмкости новой техники (Книокр) показывает,
какая часть стоимости станка создана интеллектуальным трудом работников
научно-исследовательской и опытно-конструкторской организации.
Конкурентоспособность новой техники проявляется на рынке и
определяется ее потребительными свойствами и ценой. Цена должна стимулировать и
производство, и потребление новой техники.
В рыночных условиях устанавливается договорная цена путем
соглашения между двумя субъектами - изготовителем и потребителем, -
экономические интересы которых не совпадают. Изготовитель нового станка, в
данном случае - станкостроительный завод, заинтересован продать его как можно
дороже. Потребитель оборудования заинтересован в снижении затрат на свою
продукцию и, следовательно, стремится приобрести новый станок по возможно
низкой цене. Однако изготовитель не может нормально работать при цене ниже его
экономических затрат. Поэтому возникает необходимость определения нижнего и
верхнего пределов отпускной цены нового станка.
Нижний предел отпускной цены нового станка устанавливается
исходя из интересов завода изготовителя. Это такая цена, которая после
реализации оборудования и уплаты всех видов налогов в бюджет, должна обеспечить
заводу получение прибыли и при этом уровень рентабельности производства
продукции должен быть не ниже норматива общей рентабельности инвестиций и не
ниже того уровня, который завод уже имеет, выпуская освоенную продукцию.
При рентабельности ниже действующего норматива общей
рентабельности инвестиций завод не сможет расплатиться с кредитом, а при
рентабельности ниже достигнутого уровня заводу не выгодно осваивать
производство нового оборудования (новой продукции).
Верхний предел отпускной цены нового станка определяется
исходя из интересов завода-потребителя. Это такая цена, которая обеспечивает
заводу экономически эффективное применение нового оборудования при производстве
своей продукции. Капитальные вложения в новый станок должны обеспечить
рентабельность производства продукции не ниже норматива общей рентабельности
инвестиций и уже достигнутой рентабельности предприятием-потребителем
оборудования.
Если разность между верхним и нижним пределами отпускной цены
положительна, то новая техника конкурентоспособна и эффективна.
Если разность между верхним и нижним пределами отпускной цены
отрицательна, то новая техника неэффективна. В этом случае необходимо за счет
совершенствования конструкции улучшить технико-эксплуатационные параметры
станка и тем самым повысить его полезный эффект иди снизить затраты на
производство. Желательно, применив функционально-стоимостной анализ конструкции
изделия, сделать и то, и другое.
Таким образом, основными показателями экономического
обоснования новой техники являются - полезный эффект; верхний предел цены;
нижний предел цены.
Поставка новой техники потребителю осуществляется по договорной
отпускной цене, которая назначается в интервале между нижним и верхним
пределами и корректируется поправками: на удорожание материалов; комплектующих
изделий; общую инфляцию. Расчет поправок осуществляется за период с момента
заключения договора на разработку конструкции до даты поставки готового изделия
потребителю.
Таблица 18.1
Срок окупаемости - период времени года, в течении которого
дополнительные единовременные затраты на внедрение новой техники возмещаются от
снижения себестоимости продукции. Расчетный срок окупаемости при различных в
сравниваемых вариантах годовых объемах производства находиться по формуле:
Тр= (К2-К1) / (С1-С2),
где К1 и К2 - удельные капвложения соответственно по базовому и
проектному вариантам;
С1 и С2 - удельные эксплуатационные затраты по базовому и
проектному вариантам;
Обратная величина окупаемости - коэффициент сравнительной
экономической эффективности.
Соответствие вложений хозяйственным интересам предприятия
определяется в сравнении с нормативными величинами окупаемости и эффективности
и должен быть больше нормативного.
Технико-экономические показатели указаны в табл. 20.2
Таблица 18.2
|
План
|
Факт
|
|
Изготовлено деталей, шт
|
35153
|
37621
|
|
Объем, т. н. /час
|
|
|
|
Производства по трудоемкости
|
616,61
|
645,35
|
|
Узлов и деталей трактора
|
464,82
|
500,39
|
|
З/ч на сбыт
|
97,06
|
90,06
|
|
Кооперации на сбыт
|
54,73
|
54,9
|
|
Затраты на товарный выпуск
|
18230,6
|
18199,64
|
|
Затраты на единицу продукции
|
28,249
|
28, 201
|
19.
Требования охраны труда и техника безопасности на машиностроительном
предприятии
Для обеспечения нормальной работы станка необходимо его
установить на фундамент согласно инструкции. Температура воздуха в цехе, в
котором установлен станок, должна быть в пределах 10-35 градусов С. Получение
стабильной точности на станке достигается после его разогрева до установившейся
температуры (через 30-60 мин после начала работы станка при Пшп=400…500
об\мин). Необходимо соблюдать "Правило технической эксплуатации станков с
ЧПУ", утвержденные ГТУ МСИ ИП от 04.05.1973 г. требования инструкции по
эксплуатации системы ЧПУ.
К наладке и обслуживанию станка с ЧПУ могут допускаться
только квалифицированные специалисты, изучившие конструктивные и
технологические особенности станка, правила технической эксплуатации, прошедшие
специальные курсы или инструктаж и аттестованные квалифицированной комиссией.
19.1 Указание
мер безопасности
Технические средства безопасности, предусмотренные в
конструкции станка.
Безопасность работы на станке обеспечивается следующими
техническими средствами:
. гибкие передачи, соединяющие электродвигатель
главного движения со шпиндельной бабкой защищены кожухом;
2. зона резания ограждена защитным кожухом со смотровым
окном с защитной решеткой;
. винты продольной и поперечной подачи защищены
кожухом;
. при нажатии кнопки "общий стоп"
производится остановка всех движений и торможение шпинделя;
. на всех пультах управления установлены кнопки
"общий стоп";
. местное освещение питается пониженным напряжением
24В;
. вводный автомат сблокирован с дверцами электрошкафа,
при открывании дверок вводной автомат выключается;
. на станине, электрошкафах, пультах управления,
каретке предусмотрены болты заземления;
. предусмотрена нулевая защита;
. электрическая аппаратура питается пониженным
напряжением 110В, 24В и располагается в защитных электрошкафах и пультах
управления;
. разводка по станку выполнена в металлических
коробах, металлорукавах и шлангах;
. управление станком осуществляется посредством
электрических аппаратов, ручное перемещение каретки, ползушки и узлов
используется при наладке станка;
. на станке имеется сигнальная лампочка с белым
колпачком, сигнализирующая о подключении станка к сети;
. имеется блокировка, выключающая станок при падении
давления в пневмосети ниже допустимого.
19.2 Правила
техники безопасности при эксплуатации станка
Для безопасной эксплуатации станка необходимо:
. соблюдать все общие правила техники безопасности при
работе на металлорежущих станках, а также требования инструкции;
2. перед включением станка убедиться, что его пуск не
опасен для людей, находящихся у станка;
. в первый период после пуска станка не рекомендуется
работать на максимальных оборотах шпинделя;
. обеспечивать надежное крепление детали;
. при обработке деталей в патронах не допускается
выступание кулачков за наружный диаметр патрона, в случае большего диаметра
обработки детали, необходимо применять специальные патроны;
. при обработке деталей в центрах запрещается
применять центры с изношенными конусами;
. в случае использования станка на прутковых работах,
когда заготовка выходит за задний торец шпинделя, ограждение выступающего
прутка выполняется заказчиком;
. надежно закрепить заднюю бабку и пиноль, т.к. при
плохом креплении может вырвать деталь из центров;
. перед установкой патронов и планшайбы необходимо тщательно
протереть их. После установки надежно закрепить. Главный двигатель должен быть
отключен;
. запрещается работать на станке с открытыми
ограждениями;
. запрещается прикасаться руками к вращающимся частям
станка, а также к обрабатываемой детали;
. запрещается производить уборку, чистку, смазку
станка, установку и съем детали при работе станка;
. станок должен быть заземлен в соответствии с
"правилами устройства электроустановок". Станина станка имеет у
основания защищенное, залуженное или покрытое другим антикоррозийным
металлическим покрытием с резьбовым отверстием, в которое ввернут заземляющий
залуженный или оцинкованный винт;
. перед включением вводного автомата необходимо
закрыть дверцы электрошкафов специальным трехгранным торцевым ключом;
. в случае неисправности электрооборудования станка
необходимо вызвать электрика. Категорически запрещается производить ремонт
электрооборудования лицам, не имеющим удостоверения на право работ на
электроустановках;
. перед осмотром или ремонтом электрооборудования
станка необходимо отключить вводной автомат и вывесить предупредительную
надпись "не включать - ремонт", "не включать - наладка";
. подступы к электрошкафу, пультам программного и
электронного управления не должны быть загромождены;
. при эксплуатации электрооборудования станка
руководствоваться правилами техники безопасности;
. поворот резцодержавки вручную производить только при
выключенном вводном автомате;
. при работе в центрах с плавающим центром в шпинделе
передней бабки необходимо, во избежание вырова детали из центров, обеспечивать
осевое усилие поджима детали не менее силы резания;
. скорость резания при установленных защитных экранах
не должна превышать 5 м\сек.
20.
Экологическая безопасность на машиностроительном предприятии и охрана окружающей
среды
Выбросы промышленных предприятий в окружающую среду:
. Выбросы в атмосферу (газы, пары, аэрозоли);
. Сточные воды;
. Твердые отходы;
. Энергетические выбросы (тепловые, шум, вибрации,
электромагнитные поля, различного вида излучения);
Заготовка изготавливается в кузнечно-прессовом цехе. В
процессе нагрева и обработки металла давлением выделяется пыль, кислотный и
масляный аэрозоль (туман), оксид углерода, диоксид серы и др. При использовании
в кузнечно-прессовых цехах для нагрева металла пламенными печами в атмосферу
выбрасываются оксид углерода, серы, азота и др продукты сгорания.
Механическая обработка сопровождается выделением пыли,
стружки, туманов масла и эмульсии, которые через вентиляционные системы
выбрасываются из помещений в атмосферу. Пыль, образующаяся в процессе
абразивной обработки, состоит на 30 - 40 % из материала абразивного круга и на
60 - 70% из материала обрабатываемой заготовки. При абразивной обработке
выделяется: пары воды 150 г / час, масляный туман 10 г / час, туман эмульсола
16 г / час, пыли 170 г / час. Основными загрязнителями сточных вод в
кузнечно-прессовом цехе являются частицы пыли, окалины, масла Вода используется
для охлаждения оборудования, гидросбива окалины, уборки помещений. Основным
твердым отходом при металлобработке является стружка, также в качестве отходов
фигурирует ветошь, упаковочные материалы и др. При работе оборудования
возникают энергетические выбросы, такие как шум, вибрации, тепловые излучения.
Для приготовления СОЖ, промывки изделий в больших объёмах
используется вода, которая в результате использования для технологических целей
в значительной степени загрязняется металлической пылью, абразивными и другими
мелкодисперсными механическими примесями, кроме того, в ней как правило
содержаться различные масла, сода, растворители. С целью предотвращения
попадания вредных веществ в окружающую среду применяют различные методы
очистки, самыми распространёнными из которых являются: процеживание,
фильтрование, флотация, отстаивание в специальных отстойниках, используются
циклоны и другие инерционные устройства.
Процеживание используется для выделения из сточных вод
крупных нерастворимых примесей, а так же более мелких волокнистых загрязнений.
Отстаивание связано с процессом осаждения твёрдых частиц или выделения более
лёгких маслянистых фракций, однако этом метод очистки требуем больших временных
затрат. Для удаления стружки и других металлических примесей из воды используют
с достаточно высокой эффективностью магнитную сепарацию.
Для уменьшения вредных воздействий на окружающую среду,
обуславливаемых работой металлорежущего оборудования применяется обильное
охлаждение режущих инструментов при помощи эмульсии, что приводит к снижению
пыле - и газовыделений при обработке, особенно на шлифовальных станках. При этом
снижается также тепловыделение. Рекомендуется применение на станках различных
отсасывающих пыль и стружку устройств, что также позволит сократить
пылевыделение и, кроме этого экономить материалы.
В качестве предложений по усовершенствованию технологического
процесса обработки детали с точки зрения охраны окружающей среды предлагаю:
установить дополнительные воздухоочистительные фильтры, маслоотделители,
организовать многоступечатую очистку сточных вод (локальные аэраторы).
Кузнечно-прессовый цех, как основной источник загрязнений
окружающей среды, при возможности закрыть и получать заготовки по кооперации от
специализированных заводов.
Литература
1.
Металлорежущие станки. Учеб. пособие для вузов / Н.С. Колев, Л.В. Красниченко,
Н.С. Никулин и др. - 2-е изд., перераб. и доп. - М.: Машиностроение, 1980. -
500 с.
.
Станки в программным управлением и промышленные роботы / Б.И. Черпаков, С.Е.
Локтева. - М.: Машиностроение, 1986. - 320 с
.
Обработка на станках с числовым программным управлением: справ. пособие / И.А.
Каштальян, В.И. Клевзович. - Мн.: Выш. шк., 1989. - 271 с.
.
Режущий инструмент: Проектирование. Производство. Эксплуатация: Учеб. Пособие /
В.И. Шагун. - Мн.: НПООО "ПИОН", 2002. - 496 с.
Токарные
автоматы: Учебно-метод. пособие по дисц. "Технологическое
оборудование" для студ. машиносроительных спец. / В.И. Глубокий, В.И.
Туромша. - Мн.: БНТУ, 2007. - 58 с.
.
Фельдштейн Е.Э. Режущий инструмент и оснастка станков с ЧПУ - М.: Вышэйшая
школа 1988. - 336 с.
.
Приспособления, применяемые при обработке деталей на станках:
www.metall-capital.ru
<http://www.metall-capital.ru>
. Обработка
деталей на станках с ЧПУ: учеб. пособие / Е.Э. Фельдштейн, М.А. Корниевич. -
3-е изд., доп. - Минск: Новое знание, 2008. - 299 с.
.
Патентно-поисковые исследования: www.bd-patent. su
<http://www.bd-patent.su>