Автоматизация процессов управления испытаниями (калибровка измерительного комплекса)
Введение
Современные машины, агрегаты и приборы эксплуатируются в сложных
условиях, характеризуемых широким диапазоном режимов работы, температуры,
давления, непрерывным ростом нагрузок. При создании современных изделий и
материалов необходимо четко представлять основные факторы, воздействующие на
них в процессе эксплуатации. Эти сведения необходимы при моделировании внешних
воздействий как в процессе создания новых материалов и изделий, так и при
оценке качества готовой продукции. Виды воздействующих факторов и их значения в
зависимости от условий эксплуатации материалов и изделий устанавливаются в
стандартах и технических условиях, а для вновь создаваемой продукции - в
технических заданиях на их разработку. К основным воздействующим факторам
относят механические, климатические, биологические, специальные среды,
ионизирующие и электромагнитные среды. Механические воздействия представляют
собой статические, вибрационные, ударные нагрузки, линейные ускорения и
акустический шум. Они вызывают разрушение вследствие растяжения, сжатия,
изгиба, кручения, среза, вдавливания и усталости материала изделий.
Изделия, предназначенные для функционирования в условиях воздействия
механических нагрузок, должны быть прочными и устойчивыми при воздействии этих
нагрузок. Прочность к воздействию механических факторов - это способность
изделий выполнять свои функции и сохранять свои параметры в пределах
установленных норм после воздействия механических факторов. Устойчивость к
воздействию механических факторов - это способность изделий выполнять свои
функции и сохранять свои параметры в пределах установленных норм во время
воздействия механических факторов. В данной курсовой работе рассмотрены методы
проведения испытаний изделий на прочность и надежность при воздействии линейных
ускорений.
1. Классификация методов измерения, анализ влияния факторов на измерение
Для воспроизведения линейных ускорений, действующих на различные изделия
в условиях реальной эксплуатации, целесообразно при проведении лабораторных
испытаний осуществлять вращательное движение с помощью центрифуг.
Целью лабораторных испытаний является проверка способности изделий
выполнять свои функции в процессе воздействия линейных ускорений или
выдерживать условия испытаний. Испытания могут также использоваться для оценки
качества конструкции и структурной прочности элементов.
Точность поддержания ускорения существенно влияет на выбор конструкции и
определяет точность изготовления отдельных узлов центрифуги. Точность
поддержания ускорения зависит от ряда факторов и прежде всего от системы
привода: привод может быть с переменной угловой скоростью и постоянной
погрешностью поддержания ускорения или с переменной погрешностью, уменьшающейся
при уменьшении угловой скорости.
На точность поддержания ускорения влияет также изменение напряжения и
частоты сети.
Факторы, влияющие на измерение: изменение температуры окружающей среды, отклонение стола от горизонтальной
плоскости, скорость нарастания ускорения, изменение ускорения по площади
изделия, вибрация, возникающая в системе привода центрифуги, изменение длины
плеча при изменении скорости центрифуги.
В процессе разгона центрифуги кроме центробежных сил, определяющих
линейное ускорение, возникают силы инерции, сообщают объекту испытания
касательные ускорения, которые отсутствуют в реальных условиях эксплуатации.
Касательные ускорение, оказывающих дополнительные воздействия на исходные
параметры исследуемых изделий, могут привести к искажению результатов
испытания.
Поэтому время разгона или торможения центрифуги должен соответствовать условию
или
где R - расстояние от оси вращения до точки (центра тяжести испытуемого
изделия), см; а - линейное ускорение, g; n - частота вращения платформы
центрифуги, мин-1.
2. Неразрушающие методы и приборы
Измерения производятся различными методами: ультразвуковым,
рентгенографическим, вихретоковым.
3. Нормативные документы
ГОСТ 30630.0.0-99 Методы испытаний на стойкость к внешним воздействующим
факторам машин, приборов и других технических изделий. Общие требования
ГОСТ Р 51805-2001 Методы испытаний на стойкость к механическим внешним
воздействующим факторам машин, приборов и других технических изделий. Испытания
на воздействие линейного ускорения
ГОСТ 28204-89 Основные методы испытаний на воздействие внешних факторов.
Часть 2. Испытания. Испытания Ga и руководство: Линейное ускорение
ГОСТ 21616-91 Тензорезисторы. Общие технические условия
Центрифуга Ц 1/150:
Код ОКП: 42 7190 - Приборы и средства автоматизации общепромышленного
назначения. Машины и приборы для измерения механических величин. Машины и
приборы для определения механических свойств материалов. Принадлежности,
устройства и комплектующие изделия к машинам и приборам для/определения
механически. Испытания металлов.
Код ОКП: 42 7354 Машины и приборы для измерения механических величин.
Приборы для измерения деформации. Тензометры.
Код ТН ВЭД: 8 421 19 200 0 - центрифуги, используемые в лабораториях.
4. Методы испытаний
Для различных изделий форма кривой временного значения изменения
перегрузок различна. Законы перегрузок различаются по амплитуде, времени
нарастания и другим характеристикам.
Особый интерес для разработчиков блоков и узлов аппаратуры представляют
перегрузки, вызванные динамическими факторами.
Отличительной особенностью перегрузок является сравнительно большая
длительность действия, измеряемая обычно от 1 с до нескольких десятков секунд.
Однако формы импульсов разнообразны, что имеет существенное значение при выборе
метода их имитации.
Особенность перегрузок группы I - быстрый фронт нарастания и спада
перегрузки. Поэтому имитация законов изменения перегрузок этой группы на
центрифугах представляет ряд сложностей.
Перегрузки группы II имеют вид «колоколобразного» импульса, время
нарастания перегрузки и длительность всего процесса измеряются обычно десятками
секунд. Максимальные значения перегрузки достигают нескольких сотен секунд.
Воспроизводить реальные кривые перегрузок группы II на обычных
центрифугах невозможно, так как существующие установки предназначены для
испытания изделий при постоянной угловой скорости центрифуги.
Специфические особенности кривых перегрузок (большое время их нарастания
и незначительная максимальная амплитуда) позволяют рекомендовать для их воспроизведения
центрифугу с регулируемой по определенному закону угловой скоростью, т. е.
программную центрифугу.
Классификацию центрифуг можно проводить по следующим признакам:
• по назначению - для испытаний на линейные перегрузки (с
фронтом нарастания перегрузки 0,001 - 0,1 с; с фронтом нарастания перегрузки
свыше 0,1 с), для испытаний на комбинированное воздействие факторов окружающей
среды;
• по типу привода - с электрическим приводом, с гидравлическим приводом,
с комбинированным приводом;
• по развиваемому линейному ускорению условно различают
следующие категории: «А» - до 250 м/с2, «Б» - до 500 м/с2, «В» - до 1000 м/с2,
«Г» - до 2000 м/с2, «Д» - свыше 2000 м/с2;
• по конструкции - открытого и камерного типа, с неповоротным и
поворотным столом, с ударными платформами: центрифуги с поворотными столами
применяют в основном для имитации восходящего линейного участка синусоидального
всплеска кривых перегрузок группы I; у центрифуг с поворотными и неповоротными
столами может быть изменяющийся радиус вращения изделия;
• по грузоподъемности - малые (до 10 кг), средние (до 50 кг), тяжелые (до
100 кг) и сверхтяжелые (свыше 100 кг).
Основными параметрами, характеризующими центрифуги, являются следующие:
) максимальное линейное ускорение;
) диапазон линейных ускорений на заданном радиусе вращения;
) отклонение линейного ускорения от заданного значения. При линейных
размерах изделия меньше 10 см не должно превышать 10%. В других случаях
ускорение должно находиться в пределах -10%...+30% заданного значения;
) длительность (или продолжительность) воздействия линейных ускорений в
процессе испытаний. При испытаниях наиболее критично действие во время
нарастания ускорения, поэтому сама длительность воздействия с заданным линейным
ускорением может быть небольшой.
) длительность разгона (нарастания) τн, и торможения (спада) τс; фронта нагрузки должно
удовлетворять условию
n= ≥ 100 H С τ τ ,
где n - частота вращения центрифуги, мин-1.
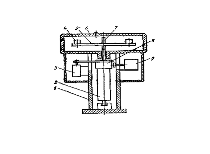
Структурная схема установки линейного ускорения: 1-привод, 2-редуктор,
3-средство измерений числа оборотов, 4-стол центрифуги, 5-токосъемное
устройство, 6-средство измерений значений параметров испытуемых изделий,
7-измерительный прибор, 8-система автоматического управления, 9-источник
питания
Структурная схема отражает общий принцип построения установок линейного
ускорения. Основным узлом центрифуги является привод 1, который совместно с
редуктором 2 определяет ряд значений параметров установки. Полученное
вращательное движение передается столу 4 центрифуги, обеспечивающему крепление
испытуемых изделий.
Для проведения испытания изделий на устойчивость, когда изделие находится
под нагрузкой и с помощью средства измерений 6 осуществляют контроль его
параметров, используется токосъемное устройство 5. Линейные ускорения
контролируются с помощью средства измерений, состоящего из преобразователя 3 и
измерительного прибора 7.
Сигналы с измерительного прибора могут подводиться по цепи обратной связи
к системе автоматического управления 8, поддерживающей постоянство заданных
режимов испытаний путем воздействия управляющих сигналов на источник питания 9.
Рассмотрим основные конструкции применяемых центрифуг. Простейшая
установка для воспроизведения линейных ускорений имеет центрифугу открытого
типа. В комплект установки кроме центрифуги также входит стойка 1 с блоками
управления. Стол (платформа) 3 центрифуги приводится во вращение
электродвигателем 6 через редуктор 5. Стол центрифуги имеет резьбовые отверстия
4, обеспечивающие крепление изделий или приспособлений.
Столы должны обладать высокой механической прочностью и жесткостью,
исключающей их вибрацию. Для уменьшения аэродинамического сопротивления
плоскость стола должна быть горизонтальной. Для обеспечения испытаний изделий в
рабочем состоянии под электрической нагрузкой предусмотрено токосъемное
устройство, в конструкцию которого входит коллектор 2 с токоподводами,
оканчивающимися штепсельными колодками. Центрифуги должны иметь приспособления
для статической и динамической балансировки.
Для имитации восходящего участка и синусоидального всплеска кривых
перегрузок группы I используют центрифуги с поворотными столами.
Законы перегрузок можно имитировать на специальной центрифуге, состоящей
из двух инерционных тел: маховика 1 и траверсы 2. У маховика и траверсы общая
вертикальная ось вращения. Маховик снабжен выдвижными упорами 5, на траверсе
укреплены плоские пружины 6. Испытуемое изделие 4 устанавливается на траверсе
2. Маховик разгоняется до определенной скорости ω0, после чего из него поднимаются упоры.
Последние соприкасаются с плоскими пружинами и толчком приводят траверсу во
вращение. Как только угловая скорость траверсы превысит угловую скорость
маховика, маховик с ней расцепляется.
Поворот платформы 3 связан с разгоном траверсы так, что ось изделия
следит за равнодействующей двух ускорений: касательного ωк и центростремительного ωц.
Все параметры центрифуги рассчитывают так, чтобы обеспечить заданный
закон перегрузки.
Центрифуга Ц 1/150
Конструкция центрифуги Ц 1/150
- кожух; 2 - коллектор; 3 - электродвигатель; 4 - прижимное устройство; 5
- стол; 6 - крышка; 7 - вал; 8 - барабан; 9 - электромагнит.
Частота вращения (мин-1) платформы центрифуги

где
а - линейное (центробежное) ускорение, g; R - расстояние от оси вращения до
геометрического центра изделия или его центра тяжести, см.
Испытуемое
изделие помещают на столе центрифуги таким образом, чтобы разброс ускорений
малогабаритного изделия относительно его центра тяжести не превышал ± 10%
ускорения в центральной точке, а для изделий с габаритными размерами более 100
мм этот разброс может составлять от -10 до +30%.
Необходимо
контролировать такие параметры, по изменениям которых можно судить об
устойчивости к воздействию линейного ускорения изделия в целом.
Чувствительным элементом является тензодатчик КФ-5, ФКПА.
Продолжительность испытания определяется значением линейного ускорения.
При испытании с ускорением до 500 g продолжительность испытания составляет 3
мин в каждом направлении, а при ускорении более 500g - 1 мин. Для установки
заданного ускорения изменяют частоту вращения или расстояние R от оси вращения,
перемещая испытываемое изделие вдоль оси платформы.
Основной элемент центрифуги - следящий привод, превращающий входной
сигнал (напряжение) двигателя в угловую скорость вала. Контролируя частоту n
вращения в контрольной точке
Так как радиус измеряется от центра тяжести испытуемого изделия, то для
изделий больших размеров и для центрифуги с малым радиусом стола линейное
ускорение значительно изменяется в пределах изделия. Этим изменением,
обусловленным разностью нагрузки между двумя точками, расположенными на
протяжении радиуса стола центрифуги, является градиент линейного ускорения
где R1 и R2 (R2> R1) - радиусы двух контролируемых точек испытуемого
изделия.
Для точного испытания больших изделий стол центрифуги должен быть
большего диаметра, чем размеры испытуемого изделия. Устройство для крепления изделия
должен быть достаточно жестким и допускать проведения испытаний в трех
взаимноперпендикулярных направлениях.
Центры притяжения должны совпадать с центром тяжести стола.
Для измерения частоты вращения наибольшее распространение получили
электронные тахометры с генератором постоянного и переменного тока, импульсные
и стробоскопические.
Тахометры с генератором постоянного тока используют для измерения частоты
вращения с точностью ± (1 ... 5)%. Тахометры с генератором переменного тока
используют для повышения точности измерений. Импульсные и стробоскопические
тахометры служат для измерения больших частот вращения.
Для измерения частоты вращения применяются тахометры следующих типов: с
генератором постоянного тока, с генератором переменного тока, импульсные и
стробоскопические.
Тахометры с генератором постоянного тока представляют собой электрические
машины небольших габаритных размеров с постоянными магнитами, получающие
вращение от вала, частоту вращения которого необходимо измерить.
Среднее значение ЭДС генератора E=kФn, где k - коэффициент, определяемый
конструкцией машины, Ф - магнитный поток, n - частота вращения.
При постоянном магнитном потоке среднее значение напряжения строго
пропорционально частоте вращения. Напряжение измеряется вольтметром.
Тахометры с генератором переменного тока представляют собой синхронные
машины небольших габаритных размеров с неподвижным якорем и вращающимся
индуктором, выполненным из магнитно-твердого материала. Тахометры с генератором
переменного тока используют так, чтобы частота вращения контролируемого объекта
задавалась частотой генерируемого переменного тока.
Тахометры с импульсным генератором получили распространение в технике для
контроля частоты вращения в быстроходных конструкциях. Датчиками являются
контактные устройства - механические, индуктивные или фотоэлектрические,
которые за каждый оборот или долю оборота контролируемого объекта генерируют
кратковременный электрический импульс.
Для измерения частоты вращения применяеся тахометр 7ТЭ-М1. Измерение
производится без механического контакта датчика с валом при наличии доступа к
шестерням или другим деталям с выступами (впадинами) по окружности,
установленным на валу. Тахометр состоит из: показывающего прибора;
преобразователя первичного. Диапазон измерений тахометра должен быть от 2 до
99999 об/мин. Предел допускаемой погрешности выражается формулой: +(а%+М), где
- а - класс точности тахометра: - М - погрешность, обусловленная дискретностью
измерения (цена деления наименьшего разряда). Измеритель рассчитан на работу от
сигнала отрицательной полярности любой формы или синусоидальной формы
амплитудой 2 ... 50 В Чувствительность измерителя - не более 2 В в диапазоне 2
... 40 000 Гц. Потребляемая мощность - не более 10 ВА. НТД (: ТУ 25-7416.088-86
Масса: 2 Размер: изм. - 90х167х149; преобр. - диам.16х109 Энергопитание:
Измерителя 220 В, 50 Гц; преобразователя -12В.
прибор
линейный испытание ускорение
5. Статические характеристики приборов
Основным элементом тензодатчика является тензорезистор. Они наилучшим
образом удовлетворяют критерию стоимость-эффективность. Тензорезистор
конструктивно представляет собой чувствительный элемент из тензочувствительного
материала (проволоки, фольги и др.), закрепленный с помощью связующего (клея, цемента)
на исследуемой детали. Для присоединения чувствительного элемента в
электрическую цепь в тензорезисторе имеются выводные проводники.
Деформация е исследуемой конструкции, переданная с помощью связующего
чувствительному элементу, приводит к изменению его сопротивления, функционально
зависимого от деформации вдоль главной оси тензорезнстора, сопротивления R до
деформации, коэффициентов передачи деформаиии /Спер и ее преобразования /Спр.
Схема тензорезнстора: 1 - чувствительный элемент; 2 - связующее; 3 -
подложка; 4 - исследуемая деталь; 5 - защитный элемент; 6 - узел пайки
(сварки); 7 - выводные проводники
Этот принцип и был положен в основу разработанных в 1975-1976 гг.
Государственных стандартов на тензорезисторы, включающих в себя термины и
определения (ГОСТ 20420-75), общие технические условия с установленными
параметрами метрологических характеристик (ГОСТ 21616-76) и методику их
определения (ГОСТ 21615-76).
Преобразование измеряемой деформации в изменение электрического
сопротивления происходит в чувствительном элементе тензорезистора вследствие
наличия тензорезистивного эффекта в проводниковых и полупроводниковых
материалах.
Резистивные чувствительные элементы относятся к пассивным и преобразуют
внешние воздействия в изменение сопротивления, определяемого по формуле:
где ρ, l, S - удельное электросопротивление, длина и сечение проводника
соответственно.
Удельное сопротивление ρ зависит от изменения температуры:
где
ρ0
- удельное сопротивление при эталонной
температуре (обычно 25 ˚C).
При
механическом напряжении металлической нити ее сопротивление изменяется, т.к.
при удлинении нити её площадь поперечного сечения уменьшается при постоянном
объеме. Это свойство называется тензоэффектом.
Отношение
называется тензочувствительностью, которая
показывает, насколько относительное изменение сопротивления превосходит его
относительную деформацию.
Использование
тензоэлементов в датчиках основано на законе Гука
где
σ,
Е - напряжение и модуль Юнга
соответственно.
После
преобразования получим:
где
К - постоянный коэффициент.
Зависимость приращения сопротивления материала от изменения объема при
всестороннем сжатии
|
Модель
|
Тип
|
Относительная деформация Δl/l в %
|
Тензочувствительность S
|
Рабочий ток I, мА
|
Размеры, мм
|
|
|
|
|
|
Длина
|
Ширина
|
|
КФ-5, ФКПА (Россия)
|
Фольговый
|
0,2
|
3
|
30
|
11
|
5
|
Основными характеристиками тензодатчиков являются:
) Температурная и временная стабильность.
) Погрешность измерения деформации, которая не должна превышать Δll=
1 мкм/м в диапазоне
±5%(±50000мкм/м).
) Длина и ширина датчика должны быть достаточно малы для адекватного
измерения деформации в точке.
) Инерционность датчика должна быть мала для регистрации высоких частот
динамических процессов.
) Линейность отклика датчика в пределах всего диапазона.
) Экономичность датчика и сопряженных с ним устройств.
) Минимальные требования к квалификации обслуживающего персонала для
установки и проведения измерений.
Применияется трехпроводная схема включения тензодатчиков. Рабочий (Rp) и
компенсационный (Rk) тензорезисторы установлены в зонах с одинаковой
температурой. На рабочий тензорезистор воздействует измеряемая деформация и
температура. На компенсационный тензорезистор влияет только температура.
Соединительные провода к рабочему и компенсационному тензорезисторам имеют
одинаковую длину и находятся при одинаковой температуре. На рис. б представлена
эквивалентная схема для такого включения тензорезисторов. Если выполняются
указанные выше условия, то изменение температуры не приведет к изменению
баланса мостовой схемы. Это обеспечивает устранение аддитивной погрешности от
изменения температуры. Но как следует из рис. б, линии с сопротивлениями rл
включены последовательно с тензорезисторами, что приводит к уменьшению чувствительности
схемы к измеряемой деформации, т.е. к образованию мультипликативной
погрешности, которая зависит от соотношения rл /R и изменяется при изменении
температуры.
. Применение управляющих ЭВМ при испытаниях
Возможно создание программных центрифуг, в которых вращение вала,
изменяющееся по заданному закону, воспроизводит входное (управляющее)
воздействие.
Основным элементом такой центрифуги является следящий привод,
преобразующий входной сигнал, изменяющийся по заданному закону, в угловую
скорость вала. Привод должен обладать достаточными точностью и быстродействием.
Кроме того, он должен позволять регулировать угловую скорость центрифуги в
широких пределах, т.к. в процессе работы она должне непрерывно меняться.
Этими свойствами обладают двигатели постоянного тока, имеющие широкий
диапазон регулирования угловой скорости и высокий КПД.
7. Калибровка измерительного комплекса
#define STAT 0x309 /*регистр состояния макетной платы*/
#define CNTRL 0x30C /*управляющий регистр макетной платы*/
#define ADC 0x308 /*АЦП: адрес и данные*/
#define STRTAD 0x30A /*регистр запуска преобразования*/
()
{per100, per500, adcx, slope, chastota;c =0(CNTRL, 2): /*установка
второго бита в управляющем регистре для разрешения*/
/*запуска программы преобразования*/(ADC, 2): /*выбор канала 1*/
(«калибровка 1:задать частоту вращения n=100об/мин. \n»);(«через 2 минуты
нажмите любую клавишу. \n»);
(!kbhit()); /*ждать нажатия клавиши*/=get_data() /*получить значение
перегрузок для частоты вращения 100 об/мин*/
(«калибровка 2: задать частоту вращения n=500об/мин \n»);(«через 8 минут
нажмите любую клавишу. \n»);
(!kbhit()); /*ждать нажатия клавиши*/=get_data()= 400/(per500-per100);
/*расчет коэффициента зависимости перегрузок от*/
/*частоты вращения*/
(«нажмите любую клавишу для расчета частоты вращения. \n»);(«нажмите е
для выхода из программы. \n»);(c! = ‘e’) /*повторять, пока не нажата клавиша
е*/
{(kbhit() /*отсчет перегрузок, если нажата любая клавиша*/
{= get_data( );= slope*((adcx*882/rad)^0,5 - per100); /*расчет частоты
вращения */(«частота вращения = %d \n», chastota);= getch();
}
}
}= data( )
{datum;
(STRTAD); /*запуск преобразования*/(!(inp(STAT)&2)); /*ждать
завершения преобразования*/= inp(ADC);(datum);
}
Заключение
Проведено исследование технического устройства - центрифуга Ц 1/150 для
испытания на прочность и надежность при воздействии линейных ускорений.
Проверена полнота и достоверность требований промышленной безопасности
представленной документации на соответствие требованиям промышленной
безопасности в стандартах нормативных документов, а именно требований стандарта
ГОСТ Р 51805-2001 “Методы испытаний на стойкость к механическим внешним
воздействующим факторам машин, приборов и других технических изделий. Испытания
на воздействие линейного ускорения” и ГОСТ 28204-89 “Основные методы испытаний
на воздействие внешних факторов. Часть 2. Испытания. Испытания Ga и
руководство: Линейное ускорение”.
ОКП 42 71 90
ТН ВЭД 9032 810009
Данное техническое устройство подлежит обязательной сертификации в
системе обязательной сертификации ГОСТ Р по схеме 3а.
Для определения величины деформации изделия выбран тензорезистор КФ-5,
ФКПА:
Тип - фольговый;
Относительная деформация Δl/l в % - 0.2
Тензочувствительность S - 3
Рабочий ток I,mA - 30
Длина - 11 мм
Ширина - 5 мм
Список литературы
1.
Испытательная техника - В.В.Клюева М.: Машиностроение , 1982 - Кн.1, 1982.- 528
с., ил.
2. Приборы и
системы для измерения вибрации, шума и удара. Справочник. В 2 книгах. Книга 2 -
Больших А. С., Васильева Р, В., Гречинский Д. А. и др. М.: Машиностроение.
1978. - 439 с.
3.
Машиностроение. Энциклопедия. Измерения, контроль, испытания и диагностика. Т.
III-7- Под общ. ред. В.В. Клюева М.: Машиностроение, 1996 464с.
. Испытание
аппаратуры и средств измерений на воздействие внешних факторов. Справочник -
Малинский В.Д. М.: Машиностроение, 1993 - 573 с.
5. ГОСТ Р
51805-2001 Методы испытаний на стойкость к механическим внешним воздействующим
факторам машин, приборов и других технических изделий
6. ГОСТ
30630.0.0-99 Методы испытаний на стойкость к внешним воздействующим факторам
машин, приборов и других технических изделий. Общие требования