Разработка конструкции ситового сепаратора типа SPR
ВВЕДЕНИЕ
Одна из важнейших технологических операций в
процессах приёмки, хранения и переработки зерна - это сепарирование, т. е.
разделение сыпучих материалов на фракции отличающиеся свойствами частиц.
Степень очистки основной культуры и точность, классификации посевного материала
во многом влияют на урожай, а так же на стабильность качества зерна при
хранении. Очистка зерна перед измельчением на мукомольных заводах и перед
шелушением на крупяных заводах предопределяет качество готовой продукции. И,
наконец, чёткость сепарирования на промежуточных стадиях измельчения и
шелушения не только влияет на качество продукции и степень использования сырья,
но и определяет нагрузку и эффективность работы остальных технологических
машин, а следовательно производительность и технико-экономические показатели
предприятий в целом. Достаточно отметить, что недосев мелких фракций в крупках,
поступающих на ситовеечные машины не позволяет установить оптимальный воздушный
режим; недосев муки в крупках и дуистах, поступающих на размол, приводит к
перегрузке вальцового станка и снижает качество муки; неполное извлечение ядра
из продуктов шелушения крупяных культур вызывает увеличение количества
дроблёнки и перегрузку шелушильных машин.
Имеющееся оборудование для сепарирования муки и
продуктов его переработки по своим эксплуатационным качествам -
производительности, эффективности и надёжности - не отвечает возрастающим
требованиям промышленности. Создание новой, более совершенной техники и
усовершенствование технологических приёмов её эксплуатации при хранении и
переработке зерна встречает ряд трудностей, обусловленных многими причинами,
важнейшие из которых следующие: многообразие сепарируемых материалов и способов
сепарирования; сложность и разнообразие механических явлений взаимодействия
частиц сепарируемых материалов друг с другом и с рабочим органам машины;
недостаточное развитие теоретических основ сепарирования и инженерных методов
расчёта параметров процесса и машины.
Овладение научными представлениями о сущности
различных процессов сепарирования необходимо не только для создания новых
машин, но и для определения оптимальных условий эксплуатации имеющихся машин,
сокращения сроков внедрения новой техники, усовершенствование технологических
процессов хранения и переработки зерна в целом.
В последние годы для промышленности хранения и
переработки зерна созданы новые сепарирующие машины: ворохоочистители,
зерноочистительные сепараторы, мельничные и крупяные рассевы, ситовеечные
машины, камнеотделительные машины и другие. Некоторые из них по принципу
действия и устройству отличаются от машин, применяющихся до этого на
предприятиях.
Целью курсового проекта является разработка
конструкции ситового сепаратора типа SPR: описание теоретических основ процесса
сепарирования, обзор существующих конструкций, патентный поиск, описание
конструкции и принцип действия машины, расчёт производительности,
энергетический расчёт и проверочный расчёт ременной передачи.
1. СОСТОЯНИЕ ВОПРОСА И ПАТЕНТНЫЙ ПОИСК
.1 ТЕОРЕТИЧЕСКИЕ ОСНОВЫ ПРОЦЕССА
Цели и способы сепарирования продуктов на
хлебоприёмных и зерноперерабатывающих предприятиях весьма разнообразны.
Основные цели следующие:
очистка зерновых смесей от примесей, ухудшающих
условия хранения, транспортирования и переработки зерна или снижающих качество готовой
продукции;
сортирование зерна на фракции различного
качества для переработки в продукты разного назначения; сортирование зерна на
фракции для раздельной переработки в продукты одинакового назначения
(калибрование гречихи и некоторых других крупяных культур для раздельного
шелушения);
извлечение готовых продуктов в процессе
переработки (отбор продуктов на мукомольных заводах);
сепарирование промежуточных продуктов
переработки для их раздельной обработки на последующих операциях.
Признаки, которыми должны отличаться частицы
фракций, далеко не всегда совпадают с признаками, по которым можно механически
разделить сыпучую смесь. Например, по химическому составу или биологической
природе частиц смесь можно разделить при помощи механических воздействий только
в тех случаях, если этим признакам сопутствуют различные физико-механические
свойства: размеры, форма, плотность, коэффициент трения, магнитная
восприимчивость и т. д.
Таким образом успех сепарирования зависит прежде
всего от степени соответствия желаемых признаков разделения, обусловленных
потребностями производства, возможным признаком разделения, определяющим
различное движение частицы в процессе сепарирования смеси.
Связь между этими группами признаков
устанавливают после массовых опытов, в результате которых составляют
корреляционные таблицы и графики, а надёжность и силу связи выражают
коэффициентами корреляции. Для механических способов сепарирования сыпучих
материалов используют следующие признаки частиц:
длину - максимальный размер частицы;
ширину - максимальный размер наибольшего по
площади сечения, перпендикулярного линии длины;
толщину - минимальный размер того же сечения;
форму, оцениваемую коэффициентом формы в виде
отношения длины к толщине;
плотность - отношение массы частицы к её объёму;
упругость, оцениваемую коэффициентом
восстановления нормальной скорости, т. е. отношение проекции скорости частицы
после удара о неподвижную поверхность к такой же проекции скорости до удара;
трение о поверхность, оцениваемое коэффициентом
сухого трения, т. е. отношением тангенциальной реакции связи к нормальной
реакции при относительном движении;
Магнитную восприимчивость, оцениваемую силой, с
которой на массу в 1г действует магнитное поле с единичной магнитной индукцией
и поражённостью.
Для использования различия по этим признакам
частиц смеси при её сепарировании на две и более фракций применяют разные
способы механического воздействия.
Механические воздействия в процессе
сепарирования выполняют три функции: во-первых, они заставляют частицы с
различными свойствами перемещаться в разные места рабочего пространства;
во-вторых, они обеспечивают непрерывное поступление смеси в рабочее
пространство; в-третьих, раздельно удаляют из рабочего пространства полученные
фракции. Характер механических воздействий на частицы при выполнении этих
фракций может быть одинаковым или различным. Например, при сепарировании в
вертикальных пневматических каналах смесь в рабочее пространство поступает
обычно гравитационным истечением из питателя или при помощи вибролотка; смесь разделяется
на лёгкие и тяжёлые частицы под совместным воздействием аэродинамических сил и
сил тяжести, так же происходит и раздельное удаление лёгкой и тяжёлой фракций
из рабочего пространства.
При ситовеечном процессе различное направление
движения частиц компонентов смеси в рабочем пространстве обусловлено совместным
действием сил тяжести, аэродинамических сил и вибраций.
В рабочее пространство смесь поступает по
вибрирующему лотку, из рабочего пространства частицы компонентов выводятся
различно: лёгкие уносит восходящий воздушный поток, крупные частицы с большой
плотностью сходят с сита под воздействием вибраций, а меньше по размерам, из
большей плотности просеиваются через сито.
Наиболее чёткого сепарирования можно достигнуть,
если способ механического воздействия в производственном процессе совпадает с
лабораторным способом определения того признака, по которому производят
сепарирование. Например, плотность частиц определяют обычно погружением их на
тонкой нити в жидкость известной плотности и измеряют натяжение нити до и после
напряжения.
Частицы разной плотности можно разделить
гидростатическим способом, погрузив их в жидкость, плотность которой больше
плотности частицы одного компонента (лёгкого), но меньше плотности частицы
другого компонента (тяжёлого). Более плотные частицы утонут, а менее плотные
останутся на поверхности.
Другим примером может служить разделение по
размерам, например по ширине, которую измеряют обычно штангенциркулем,
микрометром или инструментальным микроскопом.
Чтобы извлечь из смеси частицы с шириной,
меньшей предельно допустимой по технологическим требованиям, применяют
пробивные сита с круглыми отверстиями, каждое из которых представляет собой
«предельный калибр». Для точного разделения смеси каждую частицу нужно
подвергнуть испытанию - «примериванию» к отверстию в том положении, в том
положении, в котором измерили ширину, т. е. ось измерения длины должна быть
перпендикулярна поверхности сита.
Однако сепарирование частиц по плотности и по
толщине в производственных условиях происходят не так, как определяют
соответствующие свойства. Это обусловлено непрерывностью процесса и
требованиями к габаритным размерам, массе, простоте конструкций,
производительности и надёжности сепарирующих машин.
Чтобы удовлетворить этим требованиям при сепарировании
по плотности гидростатическим способом, для очистки машины, непрерывной подаче
в неё исходной смеси и вывода фракций после разделения пришлось бы вызвать
движение жидкости, т. е. сделать процесс гидродинамическим. При этом за
движение частицы, определяющее её попадание в лёгкую или тяжёлую фракцию
оказали бы влияние не только плотность, но и размеры, форма и состояние
поверхности. Отметим также, что при гидравлическом сепарировании увеличивается
влажность продукта.
Ситовое сепарирование по ширине частиц
осуществляют обычно при колебаниях наклонных плоских сит, по которым продукт
перемещается слоем с толщиной, в несколько раз превышающей толщину частиц.
Чтобы частица с шириной меньшей, чем диаметр
отверстия, просеялась через него, ей необходимо занять положение в нижнем слое
с осью измерения длины ориентироваться перпендикулярно поверхности сита.
Выполнению первого условия благоприятствует увеличение плотности и уменьшение
объёма данной частицы по сравнению с плотностью и объёмом окружающих частиц;
выполнению второго условия благоприятствует увеличение общей толщины слоя и
высоты его подбрасывания над ситом, а также уменьшение коэффициента формы
данной частицы.
Таким образом, и в этом случае основной признак
разделения не единственный, а результаты сепарирования зависят не только от
этих признаков, но и от параметров процесса. Действие второстепенных признаков
может совпадать по направлению с действием основного признака разделения, а
может быть ему противоположным.
В ряде случаев, когда несколько признаков
различия оказывают соизмеримое влияние на результаты сепарирования, свойства
частицы характеризуют косвенно через параметр механического воздействия,
определяющий направление движения частицы при сепарировании. Такой косвенной
характеристикой служит, например, скорость витания частицы в восходящем
воздушном потоке, зависящая от плотности, размеров, формы и состояния
поверхности частицы.
Выбор способа сепарирования в зависимости от
основных признаков различия частиц разделяемых компонентов сыпучей смеси часто
неоднозначен. На него влияют не только направленность действия сопутствующих
признаков различия, но и ряд других факторов: место и значение данной операции
сепарирования в общем технологическом процессе предприятия, энергоёмкость
способа, требуемая производительность и т. д.
Влияние этих факторов можно видеть на примере
очистки зерна пшеницы от равновеликих частиц минеральных примесей. Основной
признак различия компонентов данной смеси - это плотность, которая у
минеральных частиц вдвое больше, чем у зерна пшеницы, что позволяет очень точно
разделить смесь в пневмосепарирующем канале по скорости витания.
Однако такой способ на предприятиях хранения и
переработки зерна не применяют из-за чрезвычайно малой концентрации тяжёлого
компонента (тысячные доли процента) и больших затрат электроэнергии. Иначе
говоря, в таком случае из смеси извлекали бы не минеральные примеси, а зерно.
По этому на практике применяют машины, основанные на других, более экономичных
способах: в основном дисковые и вибропневматические камнеотделительные машины.
.2 ОБЗОР СУЩЕСТВУЮЩИХ КОНСТРУКЦИЙ МАШИН
сепаратор
зерноочистительный ременная передача
Зерноочистительные ситовые сепараторы
предназначены для очистки зерна от примесей, отличающихся от него толщиной и
шириной.
Очистка зерна осуществляется путем отделения
примесей при последовательном просеивании на наклонно расположенных решетках,
совершающих возвратно-поступательное движение, и двукратного продувания зерна
воздухом в каналах - при поступлении зерна в сепаратор и при выходе из него. В
некоторых сепараторах (ЗСМ-5, ЗСМ-10) предусмотрена магнитная защита.
Сепараторы типа ЗСМ (рис. 1) по конструкции во
многом аналогичны друг другу. Они имеют сварную станину 3, верхний 5 и нижний 4
решетные кузова, приемную 9 и аспирационную 11 камеры, вентиляторы с приводом,
электродвигатель 8, пневмосепарирующий канал 7 с магнитной защитой
Рис 1. Зерноочистительный сепаратор ЗСМ
Вентиляторы сепараторов ЗСМ-10 и ЗСМ-20 снабжены
индивидуальными электродвигателями, а вентиляторы в ЗСМ-5 приводятся в движение
от одного электродвигателя. Каждый решетный кузов подвешен к станине на четырех
вертикальных пружинных подвесках. Решетные кузова сепараторов ЗСМ-5 и ЗСМ-10
имеют три ряда выдвигающихся решетных рамок, а сепаратор ЗСМ-20 - четыре ряда.
Решета первого ряда - сортировочные, второго - разгрузочные, третьего и
четвертого - подсевные.
Решетные кузова приводятся в движение
эксцентриковым колебателем 1 от электродвигателя 2 через клиноременную
передачу. Для уравновешивания сил инерции колеблющихся масс эксцентриковый
колебатель снабжен двумя шкивами с противовесами.
Решета очищаются инерционными очистительными
механизмами. Степень прижатия очистителя к решету регулируют подъемом плоской
пружины.
На верхнем кузове смонтирована приемная камера,
имеющая рамку с приемным решетом. В приемной камере 9 установлен
распределительный шнек 10 для равномерного распределения зерна по всей ширине
камеры. На станине установлена аспирационная камера с двумя вентиляторами, которые
входными отверстиями присоединены к всасывающим воздуховодам аспирационной
камеры, а выходными - к фильтру.
Внутри аспирационной камеры имеется канал первой
продувки и две осадочные камеры. В задней части станины находится
пневмосепарирующий канал 7, в котором осуществляется вторая продувка.
Пневмосепарирующий канал, приемная и аспирационная камеры имеют люки для
обслуживания и шнеки 12 для удаления легких примесей.
Процесс очистки зерна в сепараторе происходит
следующим образом. Зерно, поступающее из бункера регулируемым потоком, с
помощью наклонных скатов распределяется по всей ширине приемной камеры.
Преодолевая сопротивление клапана, зерно равномерным слоем поступает в
аспирационный канал первой продувки, в нем происходит выделение из зерна легких
примесей, которые уносятся воздушным потоком в первую осадочную камеру, затем
через лепестковые клапаны поступают в лоток и выводятся из сепаратора.
Освобожденный от легких примесей воздух из
первой осадочной камеры по воздуховоду поступает в вентилятор первой продувки,
а из него - в фильтр. Режим в аспирационной камере регулируется установленным в
ней клапаном. Из канала первой продувки зерно через приемную коробку 6
поступает на приемное решето, сходом с которого идет крупный сор, удаляемый из
сепаратора лотком, а проходом зерно направляется на сортировочное решето.
Сходом с сортировочного решета идут примеси крупнее зерна, а проходом зерно
поступает на разгрузочное решето, которое по длине состоит из двух частей: одна
- с отверстиями диаметром 5 мм, другая - с отверстиями диаметром 4 мм, что
обеспечивает более эффективное отделение мелких примесей.
Сходом с разгрузочного решета идет зерно, не
содержащее мелких примесей, которое затем поступает в аспирационный канал
второй продувки, а проходом зерно и мелкие примеси поступают на подсевное
решето. Распределение зерна по подсевным решетам осуществляется делителем
щелевого типа. Подсевные решета отделяют от полноценного зерна мелкое, битое
зерно, сорняки и минеральные примеси, которые собираются на поддонах кузова и
по лотку выводятся из него.
Освобожденное от мелких примесей зерно, идущее
сходом с подсевного решета, также поступает в аспирационный канал второй
продувки. При этом легкие примеси по каналу 7 уносятся во вторую осадочную
камеру и через лепестковые клапаны по лотку выводятся из сепаратора, а воздух
из камеры по всасывающему воздуховоду поступает в вентилятор второй продувки и
далее в циклон. Поток зерна из канала второй продувки проходит через магнитный
аппарат, освобождается от металломагнитных примесей, и очищенное зерно
выводится из сепаратора.
Техническая характеристика сепараторов типа ЗСМ
представлена в табл.
Сепаратор ЗСП-10 (рис. 2) предназначен для
очистки зерна (пшеницы, ржи, овса и др.) от примесей, отличающихся
геометрическими размерами (шириной и толщиной). Аспирация служит для
обеспыливания машины и технологических функций не выполняет. Примеси отделяются
в процессе последовательного просеивания зерна на ситах.
Рис. 2 Сепаратор ЗСП-10
Сепаратор ЗСП-10 выполнен в виде разборной
металлической станины, внутри которой подвешены два ситовых кузова 1 и 3 на
восьми пружинах 8, расположенных вертикально. Для удобства обслуживания
сепаратора станина снабжена съемными люками.
Возвратно-поступательное движение ситовым
кузовам сообщается эксцентриковым колебателем 13, который приводится в действие
от электродвигателя 12 через клиноременную передачу. Для равномерного
распределения зерна по ширине сит служит приемно-распределительное устройство
17 с грузовым клапаном 16.
Сепаратор имеет четыре ряда сит: первый -
приемное сито 15, второй - сортировочное 4, третий - разгрузочное 5 и четвертый
- подсевное сито 6. Сита, кроме приемного, очищаются инерционными
очистительными механизмами 2.
Зерно, подлежащее очистке, из приемно-распределительного
устройства 17, преодолевая сопротивление клапана, поступает равномерным слоем
на приемное сито 15. Сход с него выводится лотком 14 в сборник отходов 7.
Проход приемного сита поступает на сортировочное 4, которое служит для
выделения из зерна крупных примесей. Они сходом с сита попадают в поперечные
лотки 9 и выводятся из машины.
Зерно, прошедшее через сортировочное сито,
поступает на разгрузочное 5, в верхней части которого поток зерна разделяется
на две части: одна идет сходом с разгрузочного сита, а другая проходом
поступает на подсевное сито 6 нижнего кузова. Сход с разгрузочного и подсевного
сит (очищенное зерно) объединяют и выводят из машины. Проход подсевного сита
(песок, семена сорных растений, битое и щуплое зерно) по под дону 11 нижнего
кузова поступает в патрубок 10 и выводится из машины. Машину аспирируют,
включая ее в вентиляционную сеть через патрубок 18.
При эксплуатации сепаратора ЗСП-10 необходимо,
чтобы зерно на половине длины сортировочного сита полностью проходило на разгрузочное
сито; размер отверстий этого сита устанавливают так, чтобы сход зерна с него
был не ниже 35 %, но не более 50 % от общей нагрузки.
Если зерно идет сходом с приемного сита и с
подсевного попадает в подсев, то приемное сито забилось крупным сором, а
подсевное - повреждено. При избыточном поступлении зерна на сита задвижка над
питателем чрезмерно открыта, при тяжелом ходе колебателя и нагреве подшипников
необходимо проверить правильность крепления кронштейнов и смазку.
Остановка инерционного очистительного механизма
может быть вызвана износом колодки тормозного башмака, увеличением зазора между
башмаком и угольником, обрывом спиральной пружины. Если механизм передвигается,
но не очищает сито, то это означает, что сработались резиновые очистители или
лопнула плоская пружина.
Зерноочистительный сепаратор А1-БМС-6 (рис. 3)
предназначен для отделения от зерна основной культуры примесей, отличающихся
шириной, толщиной и аэродинамическими свойствами.
Рис. 3 Сепаратор А1-БМС-6
Сепаратор А1-БМС-6 выполнен в
цельнометаллическом исполнении. Станина разборной конструкции изготовлена из
гнутого профиля. Ситовой корпус имеет раму 4, на которой монтируют балансирный
механизм 1 с приводом 3. Раму четырьмя тросовыми подвесками 18 подвешивают к
станине. Сверху на раму устанавливают ситовой корпус с тремя рядами сит: первый
- приемное сито 8, второй - сортировочное 6, третий - подсевное 5. Ситовые рамы
вынимают спереди машины. Сита сменные, их подбирают в зависимости от обрабатываемого
зерна. Сита, установленные под углом 3° к горизонтали, очищаются резиновыми
шариками 20. Ситовой корпус совершает круговое поступательное движение в
горизонтальной плоскости. Радиус траектории его колебания регулируют сменными
грузами 2, а частоту круговых колебаний - шкивами на электродвигателе.
Осадочные камеры 13 и 15 с питающими
устройствами, двумя вентиляторами 14 и 16 и двумя шнеками 22 устанавливают на
станине. Пневмосепарирующий канал крепят к станине и камере второй продувки. В
нижней части пневмосепарирующего канала второй продувки вмонтирована магнитная
защита 19 для улавливания металломагнитных примесей из зерна.
Приемная камера 12 снабжена специальным
устройством, которое автоматически поддерживает постоянный уровень зерна в
камере независимо от количества поступающего в сепаратор зерна. Это устройство
состоит из верхнего 7 и нижнего 10 грузовых клапанов, сблокированных между
собой тягой 7.
Зерно, заполняя приемную камеру, поднимается до
верхнего клапана, оказывает давление на него и, преодолевая сопротивление
грузов, отклоняет верхний клапан вправо. Одновременно, за счет блокировки
клапанов, открывается нижний клапан и через образующуюся щель зерно поступает в
пневмосепарирующий канал 9 первой продувки равномерным потоком по всей его
длине. Благодаря постоянному подпору зерна в приемной камере исключается
попадание воздуха в осадочную камеру, минуя зону сепарирования, что увеличивает
эффективность очистки в пневмосепарирующем канале 9.
Затем зерно поступает на приемное сито 8, сходом
с которого идет крупный сор, удаляемый из сепаратора через лоток. Проход
направляют на сортировочное сито 6, сходом с которого идут примеси крупнее
зерна, а проход (зерно) поступает на подсевное сито 5, где от полноценного
зерна отделяются мелкие, битые зерна, сорняки и минеральные примеси. Их
собирают на поддоне ситового корпуса и выводят за пределы сепаратора через
патрубок.
Очищенное от мелких и крупных примесей зерно,
преодолевая сопротивление выпускного клапана, поступает во второй
пневмосепарирующий канал 27. Легкие примеси, уносимые из зерна воздушным
потоком, оседают в камере 15 второй продувки, затем шнеком и по системе лотков,
объединяясь с легкими примесями осадочной камеры 13 первой продувки, выводятся
из сепаратора. Воздушные режимы в каналах первой и второй продувок регулируют
клапанами 23, установленными в осадочных камерах.
Сепараторы типа А1-БИС и А1-БЛС относят к
ситовоздушным сепараторам, на ситах которых зерно очищается от примесей,
отличающихся от него шириной и толщиной, а в пневмосепарирующем канале -
скоростью витания.
Отличительные особенности конструкции
сепараторов - отсутствие осадочных камер и совмещение функции дебаланса и
приводного шкива, что значительно уменьшает высоту и обеспечивает безопасность
обслуживания; наличие регулируемого пневмосепарирующего канала позволяет
изменять скорость воздуха. Круговое поступательное движение обеспечивает
высокую эффективность очистки зерна от крупных и мелких примесей, а прижим
ситовых рам эксцентриковым механизмом - хорошую фиксацию, простую установку и
выемку ситовых рам. Благодаря освещению пневмосепарирующего канала можно
визуально контролировать процесс выделения легких примесей.
Сепараторы типа А1-БИС-12 (рис. 4) состоят из
двухсекционного ситового корпуса, подвешенного к станине на гибких подвесках, и
вертикального пневмосепарирующего канала.
В корпусе сепаратора А1-БИС-12 установлены
выдвигающиеся рамы с сортировочными 11 и подсевными 10 ситами, зафиксированные
эксцентриковыми механизмами. Ситовые рамы продольными и поперечными брусками
разделены на ячейки, в каждой из которых имеется по два резиновых шарика 13,
предназначенных для очистки сит. К нижней плоскости ситовой рамы прикреплены
сетчатые фордоны.
На передней стенке ситового корпуса установлен
электродвигатель 9, который посредством клиноременной передачи приводит во
вращение шкив 8 с дебалансным грузом, обеспечивающий круговое поступательное
движение ситового корпуса. В верхней части станины установлен приемный патрубок
12 для поступления исходного зерна и патрубок 14 для подключения к аспирационной
сети. Очищенное зерно выходит через выпускной канал 3. Для вывода крупных
примесей служит лоток 7, для мелких - лоток 6. Со стороны сходовой части
корпуса установлен пневмосепарирующий канал 2 с вибролотком 4, предназначенным
для подачи зерна в канал.
Рис. 4 Сепаратор А1-БИС-12
Для наиболее эффективного выделения легких
примесей в пневмосепарирующем канале регулируют амплитуду колебаний вибролотка
с помощью вибратора 5, величину вылета его в канал, размер выходной щели и
скорость воздушного потока (положением подвижной стенки 1) в верхней и нижней
частях канала, а также расход воздуха.
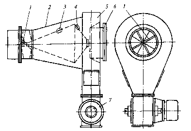
В комплект поставки сепаратора входит
специальный горизонтальный циклон, предназначенный для осаждения относов и
устанавливаемый после сепаратора. Циклон представляет собой усеченный конус 2
(рис. 5), внутри которого на общей горизонтальной оси расположены два
внутренних конуса 3, 4 меньших размеров. Они сварены между собой большими
основаниями так, что образованный между конусами кольцевой канал вначале
постепенно сужается, а затем резко расширяется, переходя в расширительную
камеру 5, присоединенную к большему основанию наружного конуса 2. С
противоположной стороны камера 5 имеет выходной патрубок 6.
Рис. 5 Циклон сепаратора А1-БИС-12
Во входной части циклона приварены четыре
криволинейные лопасти 1, обеспечивающие закручивание воздушного потока в
кольцевом канале. Снизу к расширительной камере присоединяют шлюзовой затвор 7
либо противоподсосный клапан.
Принцип работы сепараторов следующий (рис. 6):
очищаемое зерно из приемного патрубка 1 самотеком поступает в ситовой корпус на
распределительное днище 2, крупные примеси (сход с сортировочного сита 3)
выводятся через фартук 5 по лотку 9 из сепаратора, а смесь зерна с мелкими
примесями проходом через сортировочное сито 3 направляется на подсевное сито 4.
Мелкие примеси (проход подсевного сита) поступают в лоток 12 и удаляются из
сепаратора.
Рис. 6 Технологическая схема процесса в
сепараторах А1-БИС-12 и А1-БИС-100
Очищенное на ситах от крупных и мелких примесей
зерно поступает на вибролоток 10 и далее в пневмосепарирующий канал 6; при
прохождении воздуха через поток зерна легкие примеси выделяются из зерновой
смеси и выносятся воздухом через канал в горизонтальный циклон. С помощью
дроссельного клапана 7 и подвижной стенки 8 регулируется аэродинамический
режим, обеспечивающий эффективное удаление легких примесей из сепаратора.
Очищенное зерно из пневмосепарирующего канала через отверстие в полу по
самотечным трубам идет на дальнейшую обработку.
Во время работы сепаратора под нагрузкой особое
внимание обращают на равномерность подачи зерна в ситовой корпус, равномерность
распределения зерна по ширине сортировочных сит, плавность хода ситового
корпуса, отсутствие подпора зерна и чрезмерного пыления, наличие подпора зерна
в питающих коробках 11 над вибролотками 10, эффективность сепарирования в
пневмосепарирующем канале, отсутствие забиваемости сит зерном и примесями.
Сепаратор А1 - БЛК (рис. 7) предназначен для
очистки круп от сорных примесей, отличающихся от них размерами и
аэродинамическими свойствами.
Рис. 7 Сепаратор А1-БЛК
Сепаратор А1-БЛК состоит из распределителя 1,
станины 2, кузова 3, двух решетных рамок 4 и 5, привода 6, траверсы 8,
ограждений 7 и 9 и двух лотков 10.
Решетный кузов 3 подвешен к станине 2 на четырех
гибких подвесках. Он состоит из секции, в которой в два яруса установлены
выдвигающиеся решетные рамки 4 и 5. Решетные рамки 4 и 5 продольными и
поперечными брусками разделены на ячейки, в каждой из которых имеется по два
резиновых шарика диаметром 35 мм, предназначенных для очистки решет от
застрявших частиц. К нижним плоскостям решетных рамок прикреплены сетчатые
поддоны. Решетные рамки вставляются между боковинами кузова по направляющим
уголкам. Зажатие и освобождение решетных рамок обеспечиваются за счет
вертикального перемещения валков и прижимов при повороте эксцентриковых втулок
специальным ключом.
На передней стенке станины установлен двигатель,
который с помощью клиноременной передачи приводит во вращение шкив с
закрепленным на нем дебалансным грузом, обеспечивающим круговое поступательное
движение решетного кузова. Шкив свободно вращается на оси, запрессованной в
расточке траверсы 8 кузова 3, на двух роликоподшипниках. В верхней части
передней стенки станины имеются два смотровых патрубка, на которых стоит
распределитель потока крупы. На нижние патрубки станины и решетного кузова
надеты матерчатые рукава с вшитыми в них резиновыми уплотняющими кольцами.
В зоне выхода из решетного кузова очищенная от
грубых и мелких примесей крупа поступает сходом с нижнего сита через каскадное
устройство в аспирационную зону. Здесь осуществляется отсос пыли и легких
примесей от крупы. Эффективность выделения легких примесей регулируется
клапаном, находящимся в аспирационном трубопроводе. В верхней части
аспирационной коробки решетного кузова установлен аспирационный патрубок,
соединенный с патрубком станины матерчатым рукавом. В целях предотвращения
возможных ударов кузова о станину при пуске и остановке машины на нижней крыше
станины закреплены ограничители с резиновыми амортизационными кольцами. Лотки
10 служат для отвода крупных и мелких примесей.
Процесс очистки крупы в сепараторе
осуществляется следующим образом. Крупа из самотека поступает в распределитель
1, который делит крупу на два потока. Из приемного патрубка крупа идет на
распределительное днище, на котором с помощью скатов распределяется равномерным
слоем по ширине сортировочного решета. Сход с сортировочных решет,
представляющий собой крупные примеси, выводится из сепаратора верхним лотком
10, а смесь крупы с мелкими примесями проходом через сортировочное решето
поступает на подсевное решето. Проход подсевного решета (мелкие примеси) по
днищу кузова направляется в нижний лоток 10 и выводится из сепаратора.
Очищенная крупа поступает сходом с нижнего сита через каскадное устройство в
аспирационную коробку, а оттуда выводится из сепаратора.
Для оценки работы сепараторов приняты следующие
показатели: производительность, содержание полноценных зерен в отходах и
технологический эффект очистки зерна от примесей.
.3 ПАТЕНТНЫЙ ПОИСК
Воздушно-ситовой сепаратор-фракционер (Пат.
2343013 РФ В07В4\08). Изобретение относится к области очистки и сортирования
зерна и может быть использовано в сельскохозяйственном производстве и
зерноперерабатывающей промышленности. Сепаратор включает приемное
приспособление, решетный и пневмосепарирующий модули. Дополнительно снабжен модулем-ворохоочистителем
и модулем-фракционером. Решета решетного модуля и модуля-фракционера
установлены с противоположными уклонами и конец нижнего решета решетного модуля
связан с началом верхнего и нижнего решет модуля-фракционера пневмосепарирующим
каналом. Технический результат - повышение эффективности очистки зерна. 1 ил.
Комбинированный сепаратор (Пат. №2322310 РФ
В07В9\00)Изобретение относится к устройствам для очистки зерна, а именно к
комбинированным сепараторам, и может быть использовано в мукомольно-крупяной
промышленности для очистки зерна от аэроотделимой примеси, мелкой примеси и
сортирования зерна по крупности. Устройство состоит из
приемно-распределительного устройства, ситового кузова, пневмосистемы ситового
кузова с надситовой камерой и отсасывающим патрубком. Пневмосепарирующая
система с рециркуляцией основного воздушного потока включает пневмосепарирующий
канал, осадочную камеру со шнеком в нижней ее части, вентилятор,
рециркуляционный канал, дросселирующие устройства. Пневмосистема ситового
кузова и пневмосепарирующая система выполнены независимыми друг от друга,
причем пневмосистема ситового кузова имеет разомкнутый цикл воздуха, а
пневмосепарирующая система выполнена с замкнутым циклом воздуха.
Пневмосепарирующая система снабжена регулятором давления воздуха. Ситовой кузов
снабжен регулируемым экраном. Устройство позволяет повысить эффективность
выделения мелкой примеси (подсева), разделения зерна на фракции по крупности в
пневмосистеме ситового кузова и аэроотделимой примеси в пневмосепарирующей
системе. 2 з.п. ф-лы, 2 ил.
Рис. 8 Воздушно-ситовой сепаратор-фракционер
Рис. 9 Комбинированный сепаратор
Зерноочистительный сепаратор (Пат. №71567 РФ
В07В1\30). Зерноочистительный сепаратор, имеющий станину; по меньшей мере
односекционный подвижный ситовой корпус, который связан со станиной гибкими
подвесками и оснащен приемным патрубком, выдвигающимися рамами с сортировочными
и подсевными ситами, лотками для вывода крупных и мелких примесей,
расположенными под указанными ситами, и аспирационным патрубком;
электродвигатель, связанный с ситовым корпусом клиноременной передачей, у
которой ведомый шкив состоит из ступицы, обода и диска и снабжен дебалансным
грузом, занимающим сектор 90-120°; и по меньшей мере одну аспирационную
колонку, которая подключена к сходу зерна из ситового корпуса через лоток и
имеет подвижную стенку для регулирования проходного сечения, нижнее отверстие
для выпуска очищенного зерна и верхнее отверстие для вывода смеси воздуха и
относов, отличающийся тем, что дебалансный груз включает основу в виде прилива
на диске указанного ведомого шкива, высота которого не меньше высоты обода
этого шкива, и по меньшей мере одну съемную накладку на указанный прилив.
Зерноочистительный сепаратор по п.1,
отличающийся тем, что аспирационная колонка подключена к сходу зерна из
ситового корпуса через подвижный вибролоток.
Зерноочистительный сепаратор по п.1,
отличающийся тем, что аспирационная колонка подключена к сходу зерна из
ситового корпуса через поворотный лоток.
Рис. 10 Зерноочистительный сепаратор
Ситовой сепаратор (Пат №20637 РФ В07В1\22).
Ситовой сепаратор, содержащий корпус в виде цилиндрического сита, загрузной и
отводящие патрубки, отличающийся тем, что он дополнительно содержит лоток и
шнек, жестко связанный с цилиндрическим корпусом, причем лоток расположен под
шнеком, а сито состоит из двух решет различной величины ячеи.
Рис. 11 Ситовой сепаратор
Просеиватель сыпучих продуктов (Пат. №30632 РФ
В07В1\18).Просеиватель сыпучих продуктов, в частности муки, характеризующийся
тем, что содержит герметичный корпус, состоящий из последовательно соосно
расположенных цилиндрической шнековой камеры с загрузочным патрубком, камеры
просеивания с разгрузочным патрубком и бункером для сбора отходов, внутри
которой установлено неподвижное цилиндрическое решето с калибровочными
отверстиями, а также горизонтально расположенный вал, соединенный с приводом
вращения, на котором в шнековой камере установлен шнек, а в камере просеивания
внутри цилиндрического решета установлен рыхлитель в виде симметрично
расположенных относительно вала пластин, причем непосредственно под решетом,
между ним и разгрузочным патрубком установлен магнитный сепаратор.
Рис. 12 Просеиватель сыпучих продуктов
Просеиватель муки вибрационный (Пат. №13169 РФ
В07В1\02). 1.Просеиватель муки вибрационный, содержащий корпус, ситовую раму,
установленную с возможностью колебательного движения в горизонтальной плоскости
посредством действия кривошипно-шатунного механизма, отличающийся тем, что
ситовая рама закреплена с возможностью замены на контурном основании,
подвешенном к корпусу на упругих элементах, и снабжена лотком с магнитным
уловителем.
. Просеиватель муки вибрационный по п.1,
отличающийся тем, что в качестве упругих элементов использованы полосы кордовой
резины.
. Просеиватель муки вибрационный по п.1,
отличающийся тем, что ситовая рама закреплена на контурном основании болтами.
. Просеиватель муки вибрационный по п.1,
отличающийся тем, что ситовая рама закреплена на контурном основании откидными
зажимами.
. Просеиватель муки вибрационный по п.1,
отличающийся тем, что корпус снабжен полкой для установки мешков с мукой.
Рис. 13 Просеиватель муки вибрационный
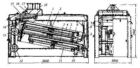
2. ОПИСАНИЕ КОНСТРУКЦИИ И ПРИНЦИП ДЕЙСТВИЯ
МАШИНЫ
Сепаратор состоит из закрытого решётного кузова.
Решётный кузов состоит из секции, в которой установлены выдвигающиеся решётные рамки
с двумя ситами (сортировочным и подсевным). В сепараторе SPR
каждый ярус состоит из двух решётных рамок, соединяющихся при их установке в
кузов с помощью зацепных устройств. Решётные рамки продольными и поперечными
брусками разделены на ячейки: в каждой ячейке имеется по два резиновых шарика
диаметром 35 мм, предназначенных для очистки сит от застрявших частиц. К нижним
плоскостям решётных рамок прикреплены сетчатые фордоны.
Решётные рамки подогнанные по секциям,
вставляются между боками кузова. На передней стенке решётного кузова установлен
приводной двигатель, который по средствам двух клиновых ремней приводит во
вращение шкив с закрепленным на нём дибалансным грузом, обеспечивающим круговое
поступательное движение решётного кузова.
На передней связи станины находятся смотровые
окна.
С целью предотвращения возможных ударов кузова о
станину при пуске и остановке машины на нижних связях станины закреплены
ограничители с резиновыми амортизационными кольцами.
Лотки служат для вывода крупных и мелких примесей.
Зерно из самотёков, с помощью дозатора
установленного в приёмном патрубке, поступает в секцию решётного кузова, в
котором при помощи наклонно расположенных решёток, равномерно распределяется по
всей площади сит.
Сход с сортировочного сита (крупные примеси)
идёт через выпускной патрубок, а проход поступает на подсевное сито, где также
равномерно распределяется по всей площади сита. Сходом с подсевного сита идёт
очищенное зерно, а проходов - мелкие примеси.
3. РАСЧЕТНАЯ ЧАСТЬ
.1 РАСЧЁТ ПРОИЗВОДИТЕЛЬНОСТИ

(3.1.1.)
Где 
- удельная производительность по
ширине решета (принимаем

).
.2 ЭНЕРГЕТИЧЕСКИЙ РАСЧЁТ
Производительность: Q=24 т/ч;
Полнота разделения: ε=0,89;
Ширина решётного стана: В=1.2м.
Удельная производительность по
ширине решета:
24 т/ч=6.67кг/с

(3.2.1.)
Где Q - производительность
сепаратора, т/ч;
В - ширина решётного стана, м;
Значение оптимального ускорения 
, м/с2 определяется по формуле:

(3.2.2.)
Где 
- удельная производительность по
ширине решета, 
;

- угол между направлением колебаний
и плоскостью решета( 
, принимаем для просевных решёт угол
наклона к горизонту 
, угол колебаний 
);
Удельная производительность решета 
, 
, отнесённая к единице его площади

(3.2.3.)
Где ε - полнота
разделения

- угол колебаний

принимаем равным 27.0
Частоту колебаний n, кол/с
определяют по уравнению

(3.2.4.)
Где А - амплитуда колебаний, м

(3.2.5.)
Где е - эксцентриситет, м ( е =
0.0005…0,010м)
к - Коэффициент, учитывающий
колебания рамы машины, он зависит от величины оптимального ускорения
Длина решета l, м, в
каждом стане будет равна

(3.2.6.)
Уравновешивание качающихся масс
решётных станов в зерноочистительных сепараторах осуществляется путём сообщения
(от эксцентриков, расположенных на двух эксцентриковых валах) решётным станом
движений в противоположном направлении. Уравновешивание решётного стана
осуществляется вращающимися грузами на двух параллельных валах. На каждом валу
располагают по два диска с грузами.
Примем следующие размеры груза:
R=0.15м
r=0.04м
α=900
Определим толщину груза ∆, м

(3.2.7.)

- плотнасть материала груза, кг/м3
(
кг/м3);

- масса груза, кг.

(3.2.8.)

- масса решётного стана, кг
(G=120кг);

- радиус вращения центра тяжести
груза, м (
D=320 м;
V=15.6
м3/ч;=720 об/мин
Мощность N, кВт, потребную для
работы решётного стана, определяем по формуле:

(3.2.9.)
Выбираем трёхфазный асинхронный
двигатель общего назначения типа АИР132М8, мощностью 5.5 кВт, число оборотов
750 об/мин.
3.3 ПРОВЕРОЧНЫЙ РАСЧЁТ РЕМЕННОЙ ПЕРЕДАЧИ
Выбираем сечение ремня АВ исходя из мощности
двигателя и частоты вращения двигателя
Определяем фактическое передаточное число uф:
(3.3.1)
где ε - коэффициент
скольжения, d1 - диаметр
ведущего шкива, d2 - диаметр ведомого шкива;
Межосевое расстояние а =260 мм,
Определяем расчётную длину ремня l, мм:
(3.3.2)
Значение l округляем
до ближайшего стандартного по табл.К31
Принимаем l=800 мм
При монтаже передачи необходимо
обеспечить возможность уменьшения а на 0,01l для того,
чтобы облегчить надевание ремня на шкив; для увеличения натяжения ремней
необходимо предусмотреть возможность увеличения а на 0,025l.
Определим угол обхвата ремнём
ведущего шкива α1,
град:
(3.3.3)
Угол α1 должен быть
больше 1200
Определим скорость ремня υ, м/с:
(3.3.4)
где d и n -
соответственно диаметр ведущего шкива, мм, и его частота вращения, об/мин; [υ] - допускаемая
скорость, м/с ([υ]=25
м/с
- для клиновых ремней).
Определим допускаемую мощность [Рп],
передаваемую одним клиновым ремнём, к/Вт:
(3.3.5)
где [Ро] - допускаемая приведённая
мощность, передаваемая одним клиновым ремнём с десятью клиньями, кВт,
выбирается из табл.5.5 в зависимости от типа ремня, его сечения, скорости и
диаметра ведущего шкива, мм; С - поправочные коэффициенты (табл. 5.2).
[Ро]=0,65 кВт;
Сα=0,98;
Ср=0.8;
Сι=1;
Сż=0,95;
Определим
количество клиновых ремней
(3.3.6)
Принимаем z =2
Определим силу предварительного
натяжения F0, Н:
(3.3.7)
Определим окружную силу,
передаваемую комплектом клиновых ремней, Н:
(3.3.8)
Определим силы натяжения ведущей и
ведомой ветвей, Н:
(3.3.9)
(3.3.10)
Определим силу давления на вал Fоп, Н:
(3.3.11)
Проверим прочность одного клинового ремня по
максимальным напряжениям в сечении ведущей ветви σмакс,
Н/мм2:
(3.3.12)
где σ1, σи, -
напряжения растяжения и изгиба, Н/мм2;
(3.3.13)
(3.3.14)
Eu =80…100 -
модуль продольной упругости при изгибе для прорезиненных ремней;
συ -натяжения от
центробежных сил, Н/мм2:
(3.3.15)
где ρ - плотность
материала ремня, кг/м3 (1250…1400 кг/мм3);
[σ]p -
допускаемое напряжение растяжения, Н/мм2;
[σ]p=10 Н/мм2
Так как σмах<[σ]p , то данные
параметры подходят для нормальной работы оборудования.