Обоснование выбора комплекта технологического оборудования для проведения капитального ремонта магистрального трубопровода
Введение
Современная сеть магистральных
трубопроводов характеризуется значительной протяженностью, большими диаметрами,
значительным возрастом и высоким давлением перекачки.
Возрастной состав и повышенные
требования к экологической безопасности объектов трубопроводного транспорта
обусловливают необходимость обеспечения надежной, безотказной работы и
предупреждения аварий трубопроводной системы.
Аварии на магистральных
трубопроводах кроме экономического ущерба от их простоя, потерь, затрат на
ликвидацию аварии создают значительную угрозу для окружающей среды. В этих
условиях большое значение приобретают вопросы обеспечения надежности
магистральных трубопроводов, т.е. способности их объектов выполнять заданные
функции в период эксплуатации. И здесь особое внимание должно уделяться
надежности линейной части.
Подземные трубопроводы подвергаются
интенсивному воздействию как внешних факторов, так и воздействию перекачиваемой
жидкости, в результате чего в материале труб происходят различные физические и
физико-химические процессы, основными из которых являются коррозия, старение и
износ.
Обеспечение надежной и безотказной
работы крупных транспортных систем, к которым относятся магистральные
трубопроводы, представляет задачу государственной важности, при решении которой
значительное место отводится вопросам капитального ремонта линейной части
трубопроводов.
1. Современные способы
выявления микротрещин в трубопроводе
.1 Развитие технологии
методов выявления микротрещин в магистральном трубопроводе
капитальный ремонт трубопровод
магистральный
Среди всех существующих методов
сплошного контроля состояния труб наиболее предпочтительным является
неразрушающий метод диагностики. Основой неразрушающего метода контроля
является внутритрубная дефектоскопия. Осуществление такого контроля состояния
труб, уложенных глубоко в грунт, является довольно сложной научной и
технической проблемой.
Первые попытки решения проблемы были
предприняты в 1956 году за рубежом, а первые попытки разработки внутритрубных
дефектоскопов для контроля состояния трубопроводов были сделаны в СССР в 1966
году в Институте физики металлов УрО АН СССР. Первые успехи в создании
внутритрубных дефектоскопов были достигнуты фирмой AMF Tuboscope (Houston,
Texas) созданием аппаратов «Лайналог» разных типов.
В этих аппаратах трубопровод
намагничивается в направлении ее оси мощным электромагнитом, цилиндрический
сплошной сердечник которого несет на себе обмотку, для питания электромагнита
необходимо иметь дополнительную энергетическую секцию, целиком заполненную серебрянно-цинковыми
аккумуляторами.
Такая двух- или трехсекционная
система дефектоскопов «Лайналог» наряду с положительными сторонами имеет ряд
отрицательных: сложность системы, ее огромный вес и дороговизна.
Основной прорыв в эффективном
решении проблемы контроля качества трубопровода был выполнен коллективом
лаборатории электромагнетизма ИФМ УрО РАН и ЗАО НПО «СПЕКТР». Под руководством
лауреата Ленинской и Государственной премий д.т.н. П.А. Халилеева сотрудниками
указанных коллективов был выполнен огромный объем работ, проведена масса
научных исследований с использованием современных физических методов, найдены
новые научные и технические решения по разработке конструкции и компоновке
основных узлов дефектоскопа, созданию системы измерительных датчиков и обработки
полезной информации.
Впервые в международной практике
были определены оптимальные параметры намагничивающей системы на базе мощных
постоянных магнитов при оптимальном намагничивании трубы с целью выявления
встречающихся повреждений производственно-технологического характера и
различных дефектов, вызванных коррозионными процессами и условиями эксплуатации
линейной части трубопровода. Разработаны датчики для регистрации полей
дефектов, проведен анализ сигналов и корреляция их с обнаруженными и известными
из практики дефектами и повреждениями стенки трубопровода. Разработаны узлы и
создан новый тип дефектоскопа на базе постоянных магнитов. Проведены полевые
испытания данного дефектоскопа на действующих трубопроводах, которые дали
положительный результат.
При этом следует отметить, что, если
для обслуживания внутритрубного дефектоскопа типа «Лайналог» необходима бригада
сотрудников до 9 человек, то для обслуживания дефектоскопа магнитного типа
необходимо в 2-3 раза меньше, в зависимости от выполняемого объема и типа
работы, при том же конечном результате. Разработанными средствами внутритрубной
дефектоскопии были обследованы участки магистральных трубопроводов:
«Тюментрансгаза», «Пермтрансгаза», «Волготрансгаза», «Мострансгаза»,
«Севергазпрома», «Лентрансгаза», «Сургутгазпрома», «Волгоградтрансгаза»,
«Татартрансгаза», «Уралтрансгаза». Всего по предприятиям ОАО Газпрома
обследовано к 2009 году с использованием очистных средств и инспекционных
снарядов магнитного типа собственной разработки и изготовления, в которых
реализованы современные достижения системотехники, регистрации и обработки
данных - 9265,5 км трубопровода и выявлено 16295 дефектных труб, что составляет
17,5% всех обследованных труб.
Однако развитие техники не стоит на
месте. Так, по мере прохождения снаряда дефектоскопа по трассе трубопровода
выходили из строя те или иные элементы всей поисковой системы, например,
отказывали каналы регистрации дефектов, выходили из строя одометры, что
затрудняло привязку местонахождения дефектов, записанных регистрирующей
аппаратурой на пленке, к действительному их местонахождению на трубопровод и
т.д.
Трудности дефектоскопии подземных
трубопроводов и требования к надежности результатов, можно проиллюстрировать
примером. Для проверки достоверности сигнала внутритрубного дефектоскопа о
наличии опасного дефекта необходима шурфовка грунта, то есть полное вскрытие
трубопровода и очистка трубы от изоляции. В основном выполнение этих работ
допустимо только после снижения давления в МТ. Нередко трубопровод проходит в
таком месте, что всю работу приходится начинать с прокладки подъездных путей
для прохода экскаватора и другой техники к точке на трассе, где заподозрен
опасный дефект. Но если внутритрубный дефектоскоп выдал ложный сигнал, то это
не только неприятное событие, а еще и дорого обойдется предприятию.
Таким образом, основные требования к
внутритрубной дефектоскопии - это гарантия отсутствия ложных сигналов и
безошибочная аттестация размеров, формы и степени опасности дефектов по
результатам дефектограмм, а также точная привязка местоположения дефекта.
.2
Анализ появления микротрещин в трубопроводе
Основными
источниками повреждений трубопроводов, сосудов и аппаратов, находящихся в
эксплуатации на объектах нефтяной, газовой и нефтехимической промышленности,
являются зоны концентрации механических напряжений.
Явное описание
поверхности трещины при выполнении условия разрушения приводит к некоторым
особенностям и ограничениям при использовании тех или иных критериев
разрушения.
Одной из
характерных особенностей методов с явным определением поверхности трещины
является то, что при выполнении условия разрушения необходимо «скорректировать»
значение параметра поврежденности в этой точке (рисунок 1.1).
а б
Рисунок 1.1.
Корректировка значения параметра поврежденности:
а - поврежденность
достигла критического значения; б - поврежденность превысила критическое
значение
Это необходимо для
того, чтобы избежать повторного срабатывания критерия разрушения в этом месте
на следующем шаге по времени и имеет под собой реальное физическое обоснование:
при возникновении трещины поврежденность, как правило, локализуется в
достаточно узкой области, которая и становится плоскостью трещины. Если принять
область (рисунок 1.1) за характерный объем, а в качестве условия разрушения
взять наличие микротрещины определенной длины, то видно, что после разделения
материал на берегах трещины имеет остаточное значение параметра поврежденности,
меньше критического (рисунок 1.2, а-в).


а б
в
Рисунок 1.2. Процесс образования
микротрещины: а - рост поврежденности, например, образование микротрещин; б -
локализация поврежденности в магистральную трещину; в-поврежденность достигла
критического значения
В НИИ измерительных
систем им. Ю.Е. Седакова ведется разработка промышленного образца локатора
микротрещин, основанного на эффектах нелинейной акустики. Результаты
теоретических работ академических институтов и совместные испытания макета
локатора в НИИИС и ИПФ РАН подтверждают возможность обнаружения реальных трещин
(микротрещин, колоний трещин) на фоне других типов дефектов на расстояниях до 2
метров и более. Работы по возбуждению высокочастотной ультразвуковой волны в
трубах из нержавеющей стали малого диаметра (до 8 мм), подтверждают возможность
обнаружения дефектов на расстоянии до двух метров как при локации на
«отражение», так и при локации на «просвет». Используя существующие методы
возбуждения низкочастотных изгибных колебаний в стержнях, можно осуществлять
модуляцию трещин. Полученные в результате данные можно использовать для
разработки технических средств по обнаружению трещин в трубах парогенераторов,
импульсных трубках системы контроля технологических параметров трубопроводов
первого и второго контуров ядерных энергетических установок. Использование
непрерывных ультразвуковых волн диапазона сотен килогерц, определение изменения
их параметров (амплитуды, фазы) при низкочастотной вибрации, после механического
удара, показывают возможность создания аппаратуры интегральной диагностики
трещин и изменения структуры металла в многоэлементных, сложных
металлоконструкциях ядерных энергетических установок.
Элементы машин,
механизмов, конструкции и трубопроводы испытывают во времени целый ряд
труднопредсказуемых изменений, приводящих к варьированию их напряженного
состояния вследствие изменения нагрузок, колебаний температуры в течение суток,
года (лето - зима). Особенно опасны локальные колебания температуры весной,
когда открытые части металлоконструкции (например, трубопроводы) интенсивно
прогреваются, в то время как закрытые мерзлым грунтом части жестко закреплены.
Оттаивание грунта в условиях многолетней мерзлоты приводит к его
непредсказуемым деформациям как вертикальным, так и горизонтальным и,
соответственно, к деформациям протяженных металлоконструкций, к появлению
значительных напряжений. Действия этих напряжений совместно с внутренними и
рабочими напряжениями создают предпосылки для разрушения труб и возникновения
аварий. Учесть эти факторы расчетными методами не всегда удается как в случае
разрушения Московского аквапарка и конструкций аэропорта в Париже. Все это
подчеркивает важность контроля напряженного состояния участков трубопроводов,
например, в местах перехода через водные преграды, дороги, в местах образования
промывов и провисания трубопровода, в местах выпучивания труб в геодинамических
зонах и на участках неодинакового промерзания грунта, обусловленного
неоднородностью его теплопроводности, изменения ледовой и снеговой нагрузки.
Другим, практически не изученным
фактором, который может сказаться на надежности металлоконструкций, является
медленно изменяющиеся напряжения на фоне статически действующей нагрузки. Хотя
эти напряжения много меньше предела текучести, роль их велика в механизме
возникновения усталостных трещин, а в конечном итоге в поломке элемента
конструкции. Динамические напряжения, действующие на фоне статических, согласно
современным представлениям, являются одним из факторов, приводящих к
стресс-коррозионному разрушению металла МТ.
Разрушение детали
под действием циклических нагрузок начинается с образования в зоне повышенных
напряжений микротрещин, которые, постепенно развиваясь, проникают вглубь
металла и ослабляют несущее сечение до уровня, при котором происходит
разрушение.
Требует также
своего изучения и влияние зон пластичности, возникающих как при изготовлении,
так и эксплуатации металлоконструкций и трубопроводов, на их надежность в
условиях напряженного состояния, обусловленного действием суммарных сил
(внешними сжимающими или растягивающими напряжениями, внутренними
напряжениями).
Элементы
конструкции предназначены для того, чтобы выдерживать заданную нагрузку. Эти
нагрузки рассчитываются на этапе конструирования. Для этого необходимо знать
источники механических напряжений, иметь эквивалентный математический аппарат
для вычисления. Однако оценки напряжений с помощью расчетов в ряде случаев
сильно расходятся из-за неопределенностей в исходных данных, выбора методики
расчета и изменяющихся в процессе эксплуатации конструкции условий. Реальные
условия эксплуатации металлоконструкций чрезвычайно разнообразны, и учесть их
расчетами в полной мере невозможно, что доказывает разброс значений
коэффициента запаса прочности в различных теориях.
Поэтому разработка
новых методов является актуальной, позволяющей косвенно осуществлять
оперативное определение напряжений приборными (в идеале дистанционно)
средствами, таким образом, становится понятным, почему уделяется столь большое
внимание во всем мире разработке неразрушающих методов и средств измерения
напряжений.
1.3
Факторы, влияющие на надежность магистрального трубопровода
Надежность
трубопроводов во многом определяет непрерывность функционирования большинства
отраслей народного хозяйства. К сожалению, как показывают статистические
данные, на трубопроводах нередко имеют место механические отказы. Отказы
происходят, в основном, из-за коррозионного износа и старения трубопроводов,
несовершенства проектных решений, заводского брака труб, брака
строительно-монтажных и ремонтных работ, по вине производственного персонала и
по другим причинам. Отказы на трубопроводах, связанные с разрывом стенок труб,
происходят относительно редко, но могут наносить огромный ущерб, связанный с
загрязнением окружающей среды, возможными взрывами и пожарами, человеческими
жертвами, нарушением снабжения нефтью, газом и нефтепродуктами потребителей.
Поэтому сохранение работоспособности линейной части МТ является одной из
основных проблем трубопроводного транспорта. В этом плане большое значение
имеет своевременное и качественное проведение профилактических мероприятий,
направленных на сохранение, восстановление и повышение несущей способности
линейной части трубопроводов.
В настоящее время
для обеспечения надежной работы трубопровода, имеющего участки с уменьшенной
несущей способностью, применяют ряд методов: перекачку продукта производят при
давлении ниже проектного, на отдельных участках или по всей длине трубопровода
прокладывают лупинги, производят ремонт стенок трубопровода путем заплавки
коррозионных язв, приваркой усиливающих накладных элементов. Если коррозионный
износ превышает предельную величину, то трубы или их участки вырезают и
заменяют на новые. Иногда трубопровод полностью демонтируют, производят тщательную
отбраковку с целью выявления качественных труб и повторного их использования.
Эти методы требуют больших затрат, связанных с остановкой перекачки,
опорожнением трубопровода, выходом перекачиваемого продукта на землю и
значительной его потерей. Возросшие требования к охране окружающей среды и к
методам безопасного ведения ремонтных работ делают эту проблему особенно
актуальной. Известным и широко апробированным методом повышения надежности МТ
является гидравлическое испытание повышенным давлением. Линейная часть и
лупинги должны подвергаться циклическому гидравлическому испытанию на прочность
и проверке на герметичность. При этом, количество циклов должно быть не менее
трех, а величины испытательного давления в каждом цикле должны изменяться от давления,
вызывающего в металле трубы напряжение 0,9-0,75 предела текучести. Участок МТ,
выдержавший испытательное давление, считается пригодным к дальнейшей
эксплуатации. Однако сроки последующей эксплуатации или переиспытаний
назначаются, в основном, экспертным путем без учета фактического состояния
металла и реальных условий эксплуатации.
Испытания
трубопроводов следует рассматривать как метод активной диагностики и
обеспечения фактического запаса прочности, равного 1,1…1,5. При определенных
условиях эти запасы прочности могут обеспечивать безопасность трубопроводов.
Однако действующие в настоящее время нормативные документы (НД) не дают ответа
на основной вопрос количественного установления безопасного срока службы МТ,
испытанных при конкретно заданных режимах.
Недостаточное
совершенство НД по нормированию остаточного ресурса трубопровода объясняется
тем, что они базируются, в основном, на критериях статической прочности
бездефектного металла. Между тем, при эксплуатации в металле труб происходят
необратимые повреждения, снижающие ресурс трубопроводов. Процессы накопления
повреждений в металле усиливаются в зонах концентрации напряжений (дефектах).
Следует отметить,
что в ряде случаев диагностическая информация, необходимая для количественной
оценки остаточного ресурса МТ, является недостаточной или необъективной. В этом
случае целесообразно использовать априорную информацию. В последнее время в
литературе появилось достаточно большое количество научно-технических работ,
посвященных оценке остаточного ресурса трубопровода. Это, очевидно, объясняется
возрастным составом МТ и повышением требований к экологической безопасности
объектов трубопроводного транспорта.
Анализ причин и
характера разрушения трубопровода показал, что при их проектировании
предъявляются преимущественно традиционные требования к прочности, ресурсу и
надежности. Основными материалами труб остаются низкоуглеродистые и
низколегированные стали. При этом в качестве основных расчетных
(аттестационных) характеристик механических свойств металла труб принимаются
пределы текучести, и прочности, ударная вязкость, относительное удлинение,
отношение предела текучести и прочности.
В общем случае
оценка остаточного ресурса трубопроводов может включать комплекс трудоемких
работ по анализу технической документации, функциональной диагностике,
экспертному обследованию, анализу механизмов повреждения и выявлению
определяющих параметров технического состояния, уточнению параметров
технического состояния, напряженно-деформированного состояния и характеристик
металла, выбору критериев повреждаемости и др. Этот комплекс работ
соответствует требованиям методических указаний по определению остаточного
ресурса потенциально опасных объектов, подведомственных Госгортехнадзору
России. Анализ надежности МТ показал, что основными причинами их отказов
являются малоцикловая усталость, коррозионный износ, коррозионное
растрескивание и деформационное старение металла. Необходимо подчеркнуть, что
при анализе механизмов коррозионного износа следует учитывать усиление
коррозионных процессов от действия механических напряжений (механохимическая
коррозия).
Указанные факторы
разрушений предопределяют разработку методов расчета остаточного ресурса по
критериям малоцикловой усталости, коррозионного износа, коррозионного
растрескивания и старения. Так как, деформационное старение в расчетах
остаточного ресурса должно учитываться оценкой степени снижения
вязкопластических характеристик. Еще в период 1961-1966 гг. в США были
проведены испытания 24 тыс. км магистральных трубопроводов повышенным
давлением, вызвавшим напряжения в теле труб, близкие к действительному пределу
текучести металла. Оценка этого результата за 6-15 лет последующей эксплуатации
позволила сделать вывод, что лучше подвергнуть трубопровод высокому давлению
при испытании, в результате чего дефектные места либо разрушатся, либо
несколько упрочнятся, чем подвергать трубопровод опасности аварии при
эксплуатации.
Развитие на Севере
нефтяной и газовой промышленности, транспортных трубопроводов, изготовление
землеройных механизмов для работы в зонах с низкими температурами, а также
химическая промышленность, нуждаются в хладостойкой листовой стали.
Использование таких сталей делает конструкции надежней, расход материала
уменьшается, а следовательно экономятся и денежные средства. На Томской
железной дороге установили, что в январе - феврале месяце по сравнению с июлем
- сентябрем выход рельс из строя по трещинам возрастал в 7-15 раз. Так как
температуры от -30 до -50 градусов встречаются на большей территории России, то
проблема использования и изготовления подходящих сталей очень актуальна и
важна. Для большинства металлов способность к пластической деформации в
значительной степени зависит от температуры. С понижением температуры эта
способность для большинства металлов и сплавов уменьшается. При критических
температурах резко возрастает сопротивление сдвигу, металл переходит в хрупкое
состояние и разрушается без признаков пластической деформации. Сопротивление
такому разрушению называется хрупкой прочностью, а свойство металлов хрупко
разрушаться со снижением температуры называется хладноломкостью. Обратное
понятие хладноломкости - хладностойкость. Результаты исследований показали, что
металлы с объемноцентрированной кубической решеткой (железо, хром, вольфрам), а
также некоторые металлы с гексагональной решеткой (титан, цинк, кадмий) при
снижении температуры быстро охрупчиваются. У металлов с более плотно
упакованной решеткой гранецентрированного куба (медь, никель, алюминий, магний,
свинец) с понижением температуры вязкость сохраняется, а иногда даже
повышается. Подобные закономерности имеют и многокомпонентные сплавы, имеющие
соответствующие кристаллические решетки. Явление охрупчивания с точки зрения
природы кристаллических решеток объясняется отсутствием плоскостей скольжения у
металлов с объемноцентрированной кубической и гексагональной решеткой.
Трещины образуются
в местах встречи или пересечения полос двух систем скольжения. При этом
возможность хрупкого разрушения тем больше, чем сильнее препятствия, тормозящие
свободное передвижение групп дислокаций. Если скорость распространения
микротрещин превысит скорость пластической деформации, то наступит хрупкое
разрушение. Пути сдвигов примерно равны диаметру зерна, поэтому измельчение
зерна способствует увеличению интервала пластического состояния. Поэтому
углеродистые и легированные перлитные и мартенситные стали после закалки с
отпуском при наличии очень мелкого зерна имеют более низкие критические
температуры хрупкости.
Известны два типа
хрупкого разрушения: транскристаллитное и интеркристаллитное. Чистые металлы
обычно разрушаются по зерну. Межзеренному разрушению благоприятствует наличие
включений по границам зерен. Сплавы разрушаются по зерну и между зернами;
сплавы с гексагональной решеткой, преимущественно только по зерну; сплавы с
гранецентрированной кубической решеткой, только между зернами. С увеличением
общего периметра границ зерен межзеренное вещество распределяется в форме более
тонких прерывистых пленок, что увеличивает межкристаллические связи и
затрудняет распространение микротрещин за счет увеличения путей сдвига. Границы
зерен характеризуются значительными нарушениями кристаллической решетки,
вредное влияние которых существенно ослабляется с повышением гранулярности
структуры, за счет дробления путей сдвига, уменьшения длины микротрещин и
соответствующего увеличения интервала пластического состояния. Таким образом,
прочность металлов и их сопротивляемость хрупкому разрушению в значительной
степени обуславливаются состоянием границ зерен. Еще больше влияют на величину
хрупкой прочности неметаллические включения, располагающиеся как по границам
зерен, так и внутри них. Но при этом включения рассматриваются как
концентраторы напряжений, из-за которых распространяются трещины разрушения. Но
влияние природы и формы включений на хладноломкость изучено не в полной мере.
Большое влияние на
хладностойкость оказывают микродефекты структуры металлов, являющиеся
своеобразными концентраторами напряжений. Особенно опасны дефекты типа
усадочных раковин, микропористости и газовых пузырей, нарушающие однородность и
сплошность структуры. Поэтому плотность металла является объективным
показателем для оценки его хладноломкости. Несмотря на достижения в развитии
теоретических представлений о природе хладноломкости металлов, общей теории,
объясняющей все многообразие этого явления, до сих пор не предложено.
Теоретические представления основаны на опытных данных многочисленных
исследований, рассматривающих влияние отдельных параметров состояния и свойств
металла на критическую температуру его перехода в хрупкое состояние. Важным
является признание необходимости повышения уровня хрупкой прочности металлов
как основного фактора, определяющего хладноломкость.
В качестве независимой
переменной при определении металла устойчивости к хрупкости выбирают температуру,
определяющую критический интервал хрупкости. Известный метод испытания ударной
вязкости является весьма чувствительным и удобным способом оценки степени
хладноломкости стали. Надежность и долговечность изделия в значительной степени
определяется его склонностью к хрупкому разрушению, которому способствуют не
только низкие температуры, но и такие параметры, как усиление концентрации
напряжения, увеличение скорости деформации и другие. Опыт показывает, что сталь
с более низкой температурой хрупкости лучше сопротивляется высоким напряжениям
и увеличенным скоростям нагружения и дольше сохраняет свою пластичность.
Следовательно, метод испытания ударной вязкости, выявляющий критический
интервал хрупкости, носит универсальный характер и характеризует склонность
стали к хрупкому разрушению. Для оценки хладноломкости стали также используют
фрактографический метод контроля, основанный на измерении доли волокнистого и
кристаллического строения ударных образцов. В качестве критерия оценки
хрупкости принимают выраженное в процентах соотношение площадей волокнистых и
кристаллических участков излома. Обычно за критерий вязкости принимают
критическую температуру (
),
при которой доля вязкого излома составляет 50%. Чем ниже
,
тем выше надежность стали при низких температурах.
Опыт показывает, что
детали, изготовленные из стали с более низкой температурой хрупкости, способны
оставаться вязкими при более высоких скоростях напряжения в более острых в
надрезах и выточках. В подобной стали распространение микротрещин существенно
затрудняется.
Все указанные факторы влияют
самостоятельно и независимо друг от друга и учесть долю влияния каждого весьма
сложно. Для решения этих задач прибегают к натурным испытаниям изделий.
1.4 Диагностирование трубопроводов
Под диагностикой
понимается получение и обработка информации о состоянии технических систем в
целях обнаружения их неисправностей, выявления тех элементов, ненормальное
функционирование которых привело (или может привести) к возникновению
неисправностей.
С технологической
точки зрения техническая диагностика трубопроводов включает в себя:
) обнаружение
дефектов на трубопроводе;
) проверку
изменения проектного положения трубопровода, его деформаций и напряженного
состояния;
) оценку
коррозионного состояния и защищенности трубопроводов от коррозии;
) контроль за
технологическими параметрами транспортируемой среды;
) оценку теплового
воздействия трубопроводов на вечную мерзлоту, влияние трубопроводов на гидрологию
трассы, учет результатов экологического и технологического мониторинга;
) оценку
результатов испытаний и диагностики трубопроводов, целесообразность проведения
новых испытаний и повторной диагностики;
) интегральную
оценку работоспособности трубопроводов, прогнозирование сроков службы и
остаточного ресурса трубопровода.
Дефекты линейной
части магистральных трубопроводов подразделяются по виду:
· дефекты
изоляционных покрытий;
· дефекты
трубы;
· дефекты,
связанные с изменением проектного положения трубопровода, его деформаций и
напряженного состояния.
Дефекты трубы по
степени опасности классифицируются по двум категориям:
· дефекты
подлежащие ремонту;
· дефекты
первоочередного ремонта.
По назначению
диагностирование можно разделить на текущее и прогнозное. При текущем
диагностировании определяют состояние трубопровода в какой-то определенный
момент времени функционирования. Цель текущего диагностирования - определение
правильности и возможности выполнения объектом определенных функции до
следующего диагностического воздействия. При прогнозном диагностировании
необходимо получить исходные данные для прогнозирования неисправностей, которые
могут возникнуть при работе. Поэтому прогнозное диагностирование всегда
выполняют в большем объеме, чем текущее.
Функциональное
диагностирование дает возможность на работающем трубопроводе выявить нарушения
правильности функционирования отдельных узлов и немедленно реагировать путем
включения резерва, повторного выполнения операций, перехода на другой режим и
т.п. Функциональное диагностирование во многих случаях обеспечивает нормальное
или частичное выполнение трубопроводом возложенных на него функций даже при
наличии неисправности в нем. Недостаток функционального диагностирования в том,
что оно выявляет правильность функционирования только в данный момент и только
в данном режиме. При этом могут быть не выявлены неисправности, мешающие работе
в другом режиме.
Тестовое
диагностирование дает возможность получить полную информацию о техническом
состоянии МТ, дать оценку его работоспособности и исправности, однако его
применение возможно только при проведении профилактики или ремонте объекта.
Комбинированное
диагностирование представляет собой сочетание функционального и тестового и
дает наиболее точное представление о техническом состоянии объекта как при
эксплуатации, так и ремонте. При комбинированном диагностировании проверяют не
только правильность функционирования, но и исправность и работоспособность
объекта.
И тестовые, и
функциональные методы применяют при текущем диагностировании, например, при
температурном контроле за режимом металла. Для прогнозного диагностирования
используют тестовые методы, например: осмотры, проверки, испытания и
исследования в период ремонта объекта. Следует отметить, что для получения правильного
прогноза, кроме данных диагностирования, следует учитывать ретроспективные
данные.
По режиму работы
методы диагностирования можно разделить на постоянно действующие (непрерывные),
периодически действующие и разовые. Постоянно действующие методы характеризуются
постоянным контролем за выбранными параметрами в процессе работы объекта,
поэтому этими методами выполняется только функциональное диагностирование. При
периодически действующих методах контроль рабочих параметров при функциональном
или тестовом диагностировании осуществляется через определенные, строго
повторяющиеся промежутки времени, определенные производственными инструкциями.
Разовые методы применяют только при необходимости получения дополнительной
информации, когда информация от постоянного и периодического контроля
недостаточна.
Неавтоматизированное
диагностирование отдельных элементов трубопроводов, основанное на правилах
эксплуатации, инструкциях, на интуиции обслуживающего персонала, существует и
функционирует давно, например: проверка механической прочности элементов
оборудования, дефектоскопия и др.
В настоящее время
разработано значительное число методов технического диагностирования.
По степени
автоматизации методы диагностирования можно разделить на автоматические,
автоматизированные, ручные. Автоматические обеспечивают диагностирование,
включая и выдачу заключения, без участия человека. В этих случаях автоматически
реализуется весь алгоритм технического диагностирования, задающий совокупность
элементарных проверок, последовательность их реализации, правила обработки и
анализа информации. При решении задач диагностирования автоматизированными
методами человек не исключается из процесса диагностирования - он реализует
часть алгоритма, например, обработку или анализ результатов элементарных
проверок, контроль за выдерживанием параметров работающего энергоблока, когда
средства контроля только дают информацию об отклонении параметров от заданных,
а анализ информации и поиск дефекта должен выполнять оперативный
персонал. К таким методам относят, например, виброакустический,
предусматривающий диалог «человек - машина». При ручном методе диагностирования
весь алгоритм технического диагностирования выполняет человек.
Накопленную и
постоянно поступающую информацию о состоянии эксплуатируемого оборудования
следует систематизировать. Информация должна характеризовать такие параметры,
которые в максимальной мере определяют состояние диагностируемых элементов.
Средства
технической диагностики можно использовать как во время ремонтов для проверки
его качества, так и в оперативном режиме, они, выполняя роль предвестников
отказа, позволяют более эффективно использовать необходимое оборудование и
сократить потери.
Необходимо совмещать анализ, причины
появления дефектов с контролем технологических режимов эксплуатации и другими
компонентами, нарушение которых приводит к дефектам.
.5 Методы
диагностирования
Методы диагностики технического
состояния можно разделить на два типа: разрушающие и неразрушающие. К методам
разрушающего контроля обычно относят предпусковые или периодические
гидравлические испытания аппаратов, а также механические испытания образцов
металла, вырезанных из их элементов. Неразрушающие методы предполагают
применение физических методов контроля качества, не влияющих на
работоспособность конструкции.
Неразрушающие методы контроля
подразделяются на пассивные (интегральные) и активные (локальные).
К активным методам относятся методы,
в которых измеряется изменение возбуждаемого физического поля, а к пассивным
методам относятся методы, использующие свойства физического поля, возбуждаемого
самим контролируемым объектом.
Локальные методы позволяют
обнаружить дефект лишь на ограниченной площади, а интегральные методы способны
проконтролировать весь объект в целом.
Активными методами являются: визуальный
и измерительный контроль, ультразвуковая дефектоскопия, магнитные,
радиографические капиллярные, метод вихревых токов, электрический.
К пассивным относятся:
тепловизионный, виброакустические методы и акустической эмиссии.
Визуальный и измерительный контроль
являются необходимыми условиями контроля качества как при изготовлении, так и
при эксплуатации технологического оборудования. Они применяются для выявления
следующих дефектов: трещин всех видов и направлений; свищей и пористости
наружной поверхности шва; подрезов; наплывов, поджогов, незаплавленных
кратеров; несоответствие формы и размеров швов требованиям технической
документации и др.
Для определения внутренних дефектов
металла и сварных соединений (трещин, непроваров, включений) трубопроводов в
основном применяются радиационный и ультразвуковые методы контроля, в более
редких случаях - магнитный.
В основе радиационного метода лежит
ионизирующее излучение в форме рентгеновских лучей и гамма-излучения. С одной
стороны объекта устанавливают источник излучения - рентгеновскую трубку, с
другой - детектор, фиксирующий результаты просвечивания (рентгеновские пленки).
Ультразвуковой метод основан на
исследовании процесса распространения упругих колебаний в контролируемом
объекте. Этот метод основан на способности ультразвуковых колебаний отражаться
от внутренних неоднородностей контролируемой среды.
Все трубопроводы подвергаются
испытанию на прочность и плотность. Для этого чаще применяют гидравлическое
испытание, реже - пневматическое. В соответствии с требованиями
нормативно-технической документации, проведение гидравлического или
пневматического испытания трубопроводов относятся к основным видам работ при
оценке их технического состояния. При диагностировании технического состояния
длительно проработавшего оборудования, для продления ресурса его безопасной
эксплуатации этот метод является обычно завершающим этапом диагностирования.
При испытании на прочность в
трубопроводе создают давление, превышающее рабочее. При этом в конструкции
трубопровода возникают повышенные напряжения, которые вскрывают его дефектные
места.
При испытании на плотность в
трубопроводе создают рабочее давление, при котором производят осмотр и
обстукивание с целью выявления неплотности системы в виде сквозных трещин,
отверстий и т.д.
На плотность трубопроводы испытывают
только после предварительного испытания на прочность.
Гидравлический способ наиболее
безопасный. Пневматический способ предусматривают в следующих случаях: когда
опорные конструкции или трубопровод не рассчитаны на заполнение его водой; если
температура воздуха отрицательная и отсутствуют средства, предотвращающие
замораживание системы; гидравлический метод недопустим или невозможен по
технологическим или другим требованиям.
Вид и способы испытаний, значения
испытательных давлений указывают в проекте для каждого трубопровода. Испытанию
следует по возможности подвергать весь трубопровод. Обвязочные трубопроводы,
непосредственно примыкающие к аппаратам, испытывают одновременно с ними.
Для проведения гидравлического
испытания необходимо заполнить изделие рабочей жидкостью. Давление в
испытываемом трубопроводе необходимо повышать плавно и с остановками для
своевременного выявления возможных дефектов. Во время выдержки не должно
наблюдаться падения давления.
Давление нужно плавно снизить до
рабочего и выдержать изделие под рабочим давлением в течение времени,
необходимого для осмотра трубопровода.
Пневматическое испытание аналогично
гидравлическому. В процессе испытания трубопровод заполняется воздухом или
инертным газом и поднимается давление. Необходимо постоянно наблюдать за
испытываемым трубопроводом. Утечки обнаруживаются по звуку.
Контроль за
деформациями и напряженным состоянием трубопровода в целом не производится.
Контроль за деформациями и напряженным состоянием отдельных участков
трубопровода в особо сложных условиях (при просадках и пучении на вечной
мерзлоте, на переходах через водные препятствия, в районах оползневых и
карстовых проявлений, тектонических разломов и т.д.) возможен с использованием:
· акустико-эмиссионного
метода;
· тензометрирования;
· шурфирования.
Использование шурфирования,
акустико-эмиссионного метода и тензометрирования требует доступа к трубопроводу
и непосредственного контакта с ним.
Рисунок 1.3.
Порядок диагностирования подземных трубопроводов
Наиболее сложными
для технического диагностирования являются подземные трубопроводы.
Оперативную
диагностику выполняют посредством обхода обслуживающим персоналом трассы МТ.
При обходе подземных участков утечки газа на трассе определяются по внешним
признакам и приборами. Наибольшие сложности возникают при диагностировании
подземных участков, что связано с трудностями доступа к ним и более интенсивным
накоплением повреждений, обусловленным агрессивным воздействием грунта.
Получить информацию
о динамике изменения свойств металла и изоляционного покрытия на трассе
подземных трубопроводов, необходимую для оценки остаточного ресурса, можно
только при наличии шурфов, что значительно повышает трудности диагностирования.
Поэтому на первом этапе технического диагностирования максимум информации
стремятся получить без вскрытия грунта.
• проверка
эффективности электрохимической защиты от коррозии путем измерения потенциалов
на защищенном участке (в точке подключения установки электрохимической защиты и
на границах создаваемой ею защитной зоны);
• проверка
состояния изоляции (в том числе наличия сквозных повреждений) производится во
всех местах, доступных для визуального контроля; на засыпанных участках МТ -
проверка сплошности изоляционного покрытия с помощью специальных приборов
(АНПИ, КАОДИ, C-Scan и др.);
• выявление
участков трубопровода с аномалиями металла труб с помощью приборов, позволяющих
дистанционно установить места коррозийных или иных повреждений труб, а также
участки с местным повышением напряжений;
• определение
коррозийной активности грунта и наличия блуждающих токов на участках с наиболее
неблагоприятными условиями по этому показателю.
1.6 Оценка технического
состояния магистрального трубопровода
Для оценки технического состояния МТ
необходимо провести следующие мероприятия:
выявить наиболее опасные участки в
отношении:
а) внешней коррозии;
б) внутренней коррозии;
в) напряженного состояния;
осуществить ревизию наиболее опасных
участков трубопровода;
осуществить ревизию запорной
арматуры, установок электрохимзащиты (ЭХЗ), защитных противопожарных средств,
линий технологической связи, сооружений линейной производственно-диспетчерской
службы;
провести испытания на прочность и
проверку их на герметичность в соответствии с [5];
принять решение по отбраковке труб и
деталей и ремонту МТ.
Критериями опасности в отношении
внешней коррозии являются:
значение разности потенциалов «труба
- земля», не удовлетворяющая требованиям [6];
высокая коррозионная агрессивность
среды (грунт, грунтовые и другие воды) по [6];
наличие дефектов изоляционного
покрытия по результатам обследования;
для трубопроводов, проложенных в
зоне действия блуждающих токов, опасное смещение разности потенциалов между
трубопроводом и электродом сравнения;
величина замеренного коррозионного
износа по данным толщинометрии или определенного с помощью внутритрубной
диагностической аппаратуры;
отказы по причине наружной коррозии.
Наиболее вероятными местами
проявления внутренней коррозии являются:
пониженные места по рельефу
трубопровода со скоростью течения рабочей среды (V), не обеспечивающей
вынос водных скоплений. Скорость течения (Vкр), достаточная для выноса водных скоплений, определяется по
следующей формуле:
, (1.1)
где i - геометрический уклон восходящего участка, град.;
l - коэффициент
гидравлического сопротивления;
r - плотность
перекачиваемой жидкости, кг/м;
D - разность плотностей
воды и перекачиваемой жидкости, кг/м³;
k
- коэффициент поправки к теоретической формуле;
g
= 9,8 м/с2 - ускорение свободного падения;
D
- внутренний диаметр трубы, м.
Коэффициент поправки
определяется по формуле:
k
= 0,564 - 0,133·ln(n) + (2,437·(i)0,272
- 1)·(0,06·ln(n) - 0,278),
где п - отношение
кинематических вязкостей перекачиваемого продукта и воды.
Формула применима при
0,02 < n < 4,93.
Условие коррозионной
опасности искривленного участка:
V
< Vкр;
места возможных донных
скоплений перед термокомпенсаторами, участками с пониженной скоростью течения и
др., где возможно развитие сульфатвосстанавливающих бактерий (СВБ);
места, где происходили
аварии по причине внутренней коррозии;
места, где величина
замеренного коррозионного износа по данным толщинометрии или определенная с
помощью внутритрубной диагностической аппаратуры превышает средние значения.
Наиболее опасными в
отношении действия напряженного состояния являются участки, подвергаемые
перенапряжению металла трубы по следующим причинам:
в результате действия
неучтенных нагрузок. К таким нагрузкам относятся силовое воздействие оползающих
грунтов при укладке трубопровода, размыв подводных переходов, колебания
размытых участков под воздействием потока;
в результате нарушения
проектных решений или ошибок в проекте. Характерными примерами такого рода
являются дополнительное к проектному искривление МТ в вертикальной и
горизонтальной плоскостях вплоть до образования гофр и др.
Выявленные наиболее
опасные участки трубопровода подвергаются ревизии. Для этого производят:
шурфование, осмотр трубопровода, контроль изоляционного покрытия, толщины
стенки трубы и качества сварных швов принятыми способами контроля.
Обнаруженные
неисправности заносятся в рабочие журналы и оформляются в виде сводных таблиц и
актов.
По результатам ревизии
опасных участков производят оценку технического состояния и отбраковку труб и
деталей.
Критериями оценки
технического состояния труб при их отбраковке является следующее:
если в результате
ревизии окажется, что толщина стенки не удовлетворяет расчету на прочность по
[7];
если в результате
коррозии до планового срока капитального ремонта толщина стенки выйдет за
пределы, допускаемые по расчету на прочность;
если во время ревизии
обнаружатся дефекты в стенке труб в виде сферических, цилиндрических язв,
трещин, свищей, пробоин, вмятин, гофр, рисок, царапин, наличие которых по
критериям [8], требует отбраковки и ремонта элемента МТ;
если механические
свойства материала изменились и не удовлетворяют требованиям проекта;
если при обследовании
сварных швов обнаружены следующие дефекты, не подлежащие исправлению:
трещины длиной более 50
мм в сварном шве или околошовной зоне основного металла;
непровары размером более
10% толщины стенки.
На основе анализа данных
проведенных обследований по указанным выше критериям оценки технического
состояния трубопровода технические службы эксплуатирующей организации
осуществляют:
уточнение местоположения
дефектного участка;
планирование мероприятий
по предотвращению возможных нарушений работы МТ;
выбор вида и способа
ремонта, установление сроков проведения ремонта в зависимости от характера
дефекта с учетом загруженности трубопровода на рассматриваемый момент и
перспективу;
разработку
перспективного и текущего планов ремонта МТ.
2. Виды и способы
капитального ремонта магистрального трубопровода
На магистральных
трубопроводах, проложенных по территории городов, населенных пунктов, ПС и
нефтебаз, выполняются следующие виды капитального ремонта:
с заменой труб;
с заменой изоляционного
покрытия с восстановлением или без восстановления стенки трубы;
с заменой труб на
участках МТ, проложенных внутри защитного кожуха или футляра.
Ремонт с заменой труб
производится следующими способами:
путем укладки в
совмещенную траншею вновь прокладываемого участка трубопровода рядом с
заменяемым с последующим демонтажем последнего (ввиду значительной опасности
выполнения работ этот способ может применяться в виде исключения);
путем укладки в
отдельную траншею, в пределах существующего технического коридора коммуникаций,
вновь прокладываемого участка трубопровода с последующим демонтажем
заменяемого;
путем демонтажа
заменяемого трубопровода и укладки вновь прокладываемого трубопровода в прежнее
проектное положение.
Капитальный ремонт с
заменой изоляционного покрытия производится:
с подъемом трубопровода
в траншее;
с подъемом и укладкой
трубопровода на лежки в траншее.
Капитальный ремонт
участков МТ, проложенных внутри защитного кожуха или футляра, выполняется
следующими способами:
с заменой дефектного
участка трубопровода перехода на новый внутри эксплуатируемого защитного кожуха
(футляра);
с полной заменой
перехода (дефектного трубопровода и кожуха (футляра) в старой траншее);
путем строительства
нового перехода параллельно действующему (при невозможности замены дефектного
участка).
Выбор вида и способа
капитального ремонта зависит от диаметра МТ, технического состояния, конкретных
условий его пролегания и других требований, предъявляемых к обеспечению
безопасности и сохранности, а также технических условий сторонних и других
организаций.
.1 Укладка в совмещенную
траншею вновь прокладываемого трубопровода рядом с заменяемым с последующим
демонтажем последнего (рис. 2.1)
Рис. 2.1.
Технологическая схема капитального ремонта трубопроводов с заменой труб путем
укладки в совмещенную траншею: 1 - прибор для уточнения положения трубопровода;
2 - бульдозер; 3 - экскаватор; 4 - заменяемый участок трубопровода; 5 -
сварочная установка; 6 - трубоукладчик; 7 - очистная машина; 9 - передвижная
электростанция; 10 - троллейная подвеска; 11 - изоляционная машина; 12 -
труборез; 13 - вновь прокладываемый участок трубопровода; 14 - отвал
минерального грунта
Укладка выполняется в
два этапа. Первый этап включает следующие операции:
уточнение положения МТ;
снятие плодородного слоя
почвы, перемещение его во временный отвал;
разработка совмещенной
траншеи с размещением отвалов грунта с одной или двух сторон траншеи;
демонтаж балластных
грузов;
демонтаж
контрольно-измерительного пункта (КИП) с отключением средств ЭХЗ;
планировка отвала грунта
со стороны движения РСК;
сварка одиночных труб в
секции;
раскладка секций труб
или отдельных труб на бровке траншеи;
сварка отдельных труб
или секций труб в нитку с контролем качества монтажных сварных швов;
очистка, нанесение и
контроль качества изоляционного покрытия;
укладка трубопровода в
траншею;
установка балластных
грузов;
частичная засыпка
трубопровода грунтом;
установка КИП с
подключением к трубопроводу средств ЭХЗ;
промывка и очистка
внутренней полости трубопровода от посторонних предметов;
испытание на прочность и
герметичность;
контроль состояния
изоляции катодной поляризацией;
отключение заменяемого и
подключение (врезка) нового участка к действующему МТ.
На втором этапе выполняются
следующие операции:
опорожнение, промывка
заменяемого трубопровода;
подъем, очистка от
старого изоляционного покрытия и укладка трубопровода на бровку траншеи;
засыпка траншеи
минеральным грунтом;
резка трубопровода на
части;
транспортирование труб к
месту складирования;
техническая и
биологическая рекультивация плодородного слоя почвы.
.2 Укладки в отдельную
траншею вновь прокладываемого трубопровода, в пределах существующего
технического коридора (рис. 2.2)
Рис. 2.2.
Технологическая схема капитального ремонта трубопроводов с заменой труб путем
укладки в отдельную траншею: 1 - прибор для уточнения положения трубопровода; 2
- бульдозер; 3 - экскаватор; 4 - отвал минерального грунта; 5 - заменяемый
участок трубопровода; 6 - сварочная установка; 7 - трубоукладчик; 9 -
дефектоскопическая лаборатория; 10 - передвижная электростанция; 11 -
троллейная подвеска; 12 - изоляционная машина; 13 - вновь прокладываемый
участок трубопровода; 14 - труборез
Укладка выполняется в
два этапа. Первый этап включает следующие операции:
закрепление трассы вновь
прокладываемого трубопровода на местности;
снятие плодородного слоя
почвы, перемещение его во временный отвал;
сварка одиночных труб в
секции;
раскладка секций труб
или отдельных труб вдоль будущей траншеи;
сварка секций труб или
отдельных труб в нитку с контролем качества монтажных сварных швов;
разработка траншеи;
очистка, нанесение и
контроль качества изоляционного покрытия;
укладка трубопровода в
траншею;
установка КИП с
подключением к трубопроводу средств ЭХЗ;
засыпка трубопровода
минеральным грунтом;
промывка и очистка
внутренней полости трубопровода от посторонних предметов;
испытание на прочность и
герметичность;
контроль состояния
изоляции катодной поляризацией;
отключение заменяемого и
подключение (врезка) нового участка к действующему МТ.
На втором этапе выполняются
следующие операции:
уточнение положения
заменяемого МТ;
опорожнение, промывка
отключенного трубопровода;
снятие плодородного слоя
почвы и перемещение его во временный отвал;
вскрытие трубопровода до
нижней образующей;
демонтаж КИП с
отключением средств ЭХЗ;
подъем, очистка от
старого изоляционного покрытия и укладка трубопровода на бровку траншеи;
засыпка траншеи
минеральным грунтом;
резка трубопровода на
части;
транспортировка труб к
месту складирования;
техническая и
биологическая рекультивация плодородного слоя почвы.
2.3 Укладка нового
трубопровода в прежнее проектное положение (рис. 2.3)
Рис. 2.3.
Технологическая схема капитального ремонта трубопроводов с заменой труб путем
укладки на существующее ложе: 1 - прибор для уточнения положения трубопровода;
2 - бульдозер; 3 - экскаватор; 4 - заменяемый участок трубопровода; 5 -
трубоукладчик; 6 - труборез; 7 - сварочная установка; 8 - дефектоскопическая
лаборатория; 9 - очистная машина; 10 - передвижная электростанция; 11 -
троллейная подвеска; 12 - изоляционная машина; 13 - вновь прокладываемый
участок трубопровода; 14 - отвал минерального грунта
Укладка выполняется в
два этапа. Первый этап включает следующие операции:
уточнение положения
заменяемого трубопровода;
снятие плодородного слоя
почвы, перемещение его во временный отвал;
вскрытие трубопровода до
нижней образующей;
отключение трубопровода;
опорожнение, промывка
заменяемого трубопровода;
демонтаж балластных
грузов;
демонтаж КИП с
отключением средств ЭХЗ;
подъем, очистка от
старого изоляционного покрытия и укладка трубопровода на бровку траншеи;
резка трубопровода на
части;
транспортирование труб к
месту складирования;
Одновременно с
демонтажем трубопровода проводится сварка одиночных труб в секции.
На втором этапе выполняются
следующие операции:
доработка или разработка
траншеи;
раскладка секций труб
или отдельных труб на бровке траншеи;
сварка секций труб или
отдельных труб в нитку с контролем качества монтажных сварных швов;
очистка, нанесение и
контроль качества изоляционного покрытия;
укладка трубопровода в
траншею;
установка балластных
грузов;
установка КИП с
подключением к трубопроводу средств ЭХЗ;
засыпка трубопровода
минеральным грунтом;
промывка и очистка
внутренней полости трубопровода;
испытание на прочность и
герметичность;
контроль состояния
изоляции катодной поляризацией;
подключение (врезка)
нового участка к действующему МТ;
техническая и
биологическая рекультивация плодородного слоя почвы.
3. Подготовка и
проведение капитального ремонта магистрального трубопровода
Организационно-техническая
подготовка капитального ремонта включает организационные мероприятия и
подготовительные работы.
3.1 Организационные
мероприятия
Организационные
мероприятия, поэтапно выполняемые заказчиком:
проведение комплексной
диагностики технического состояния МТ;
определение участков,
подлежащих капитальному ремонту на основании анализа результатов обследования
технического состояния МТ;
составление
перспективного и текущего планов капитального ремонта МТ;
проведение
изыскательских работ на участках, планируемых к ремонту;
уточнение положения в
плане вантузов, задвижек, сооружений и сетей в техническом коридоре по
проектной и эксплуатационной документации;
составление ведомости
пересечений или приближений сооружений и сетей с указанием пикетов пересечений
или приближений, глубины заложения, владельцев и других данных, имеющихся в
документации и, при необходимости, уточнение на месте мест пересечений
совместно с представителями владельцев коммуникаций;
получение технических
условий на проведение работ по капитальному ремонту от владельцев сооружений и
сетей, пересекающих МТ или проходящих в одном техническом коридоре, местных
органов власти и других заинтересованных организаций;
разработка и утверждение
задания на проектирование капитального ремонта;
выполнение проектных
работ в соответствии с заданием, экспертиза и утверждение проекта в
установленном порядке;
оформление документов по
отводу земель с согласованием условий рекультивации;
определение субподрядной
организации и заключение договора на выполнение капитального ремонта переходов
через естественные и искусственные преграды;
оформление
финансирования;
передача всей
технической и проектной документации на капитальный ремонт РСУ или подрядной
организации, с которой заключен договор.
При капитальном ремонте
трубопровода применяется одностадийное проектирование-рабочий проект. Рабочий
проект разрабатывается проектной организацией с привлечением в необходимых
случаях специализированных организаций. Все организации должны иметь
соответствующую лицензию.
Рабочий проект должен
состоять из следующих разделов:
общая пояснительная
записка;
план и профиль
ремонтируемого участка МТ;
расчет технологических
параметров ремонтной колонны;
проект организации
строительства (ПОС);
проект рекультивации
земель;
мероприятия по охране
водоемов, почвы и атмосферного воздуха от загрязнений;
сметная документация;
рабочие чертежи.
В приложении к общей
пояснительной записке рабочего проекта должны быть представлены копии
технических условий на проведение работ по капитальному ремонту от владельцев
сооружений и сетей, пересекающих МТ или проходящих в одном техническом
коридоре, и других организаций.
Состав рабочего проекта
может отличаться от приведенного выше, если это оговорено в договоре на проектирование
или в особых условиях задания на проектирование.
В условиях пролегания
трубопроводов в границах городов, поселков и т.д. по требованиям местных
органов власти и надзорных организаций в рабочий проект и его сметную часть
могут быть включены дополнительные объемы работ и затраты, оговоренные в
технических условиях и других документах.
Проект рекультивации
земель должен определять порядок восстановления земель, предоставленных во
временное пользование, для сельскохозяйственных, лесохозяйственных и других
целей или предусматривать выполнение требований технических условий
землевладельцев на проведение нарушенных земель в состояние, пригодное для их
последующего использования, и соответствующих объемов работ.
Разработке проекта
рекультивации земель предшествует получение от землевладельцев технических
условий на приведение нарушенных земель в состояние, пригодное для последующего
использования.
В проекте рекультивации
земель в соответствии с техническими условиями должны быть определены:
границы угодий по трассе
трубопровода, в пределах которых необходимо проведение рекультивации;
мощность снимаемого
плодородного слоя почвы по каждому нарушенному участку;
ширина зоны
рекультивации в пределах полосы отвода;
срок нанесения
плодородного слоя почвы с учетом уплотнения грунта, уложенного в траншею;
место расположения
отвала для временного хранения плодородного слоя почвы;
способ снятия, хранения,
транспортировки и нанесения плодородного слоя;
мощность наносимого
плодородного слоя и потенциально плодородных пород;
меры по восстановлению
плодородия земель;
план отведенного под
ремонт МТ земельного участка с планировочными данными, позволяющими определить
объем земляных работ по рекультивации земель и их сметную стоимость.
Проект рекультивации
земель должен быть представлен в государственную экологическую экспертизу на
рассмотрение и получение положительного заключения и согласован с местными
органами Минприроды России и Роскомзема.
Выдача Разрешений на
проведение работ, связанных с нарушением почвенного покрова, осуществляется в
порядке, устанавливаемом соответствующими органами исполнительной власти
субъектов Российской Федерации.
При наличии параллельно
действующего или пересекающего трубопровода необходимо разработать и включить в
рабочий проект решения, обеспечивающие сохранность трубопровода и безопасность
производства работ в соответствии с [9].
Работы по капитальному
ремонту МТ выполняются согласно проекту производства работ (ПНР), который
разрабатывается организацией, производящей ремонт (РСУ или сторонней
организацией) и согласовывается заказчиком. ППР в целом или отдельные его
разделы могут быть разработаны подрядными организациями.
Исходными документами
для разработки ППР являются:
задание на разработку
ППР;
рабочий проект на
капитальный ремонт;
сведения о количестве и
типах намечаемых к использованию ремонтных машин и механизмов, а также о
рабочих кадрах по профессиям;
материалы
топографо-геодезических изысканий по трассе ремонтируемого трубопровода;
сведения об условиях
использования существующих дорог;
ведомость пересечений
ремонтируемого участка МТ с подземными коммуникациями, искусственными и
естественными препятствиями;
сведения об условиях
безопасного производства ремонтных работ.
Организационные
мероприятия по подготовке и заключению договора подряда и осуществлению в
соответствии с ним подготовки к КР МТ подразделяются на три этапа:
преддоговорный;
последоговорный,
выполняемый одновременно с разработкой рабочего проекта КР;
этап подготовки КР,
осуществляемый на основе рабочего проекта КР.
На преддоговорном этапе
осуществляется подготовка договора подряда, распределение обязанностей между
заказчиком и генеральным подрядчиком.
На преддоговорном этапе
в качестве исходной информации используются: протокол о намерениях заказчика и
генерального подрядчика, технико-экономический расчет, действующие методические
документы по определению договорных цен, прейскуранты, расчетная стоимость КР и
др.
На преддоговорном этапе
генеральный подрядчик выполняет:
проверку
технико-экономического расчета;
оценку возможности
использования для КР собственных средств механизации и оснастки, необходимость
привлечения средств со стороны и определение затрат на эти цели;
согласование и
подписание протоколов с субподрядчиками, поставщиками основных материалов,
конструкций и изделий с организацией, которая будет разрабатывать ППР (при
необходимости);
уточнение перечня
взаимных обязательств заказчика и генподрядчика;
разработку обоснования и
предложения по сумме договорной цены;
подготовку, согласование
и подписание договора подряда.
Генеральный подрядчик
вправе заключить договор субподряда на выполнение части работ с другими
организациями. Ответственность перед заказчиком за выполнение всех работ, в
т.ч. проводимых субподрядчиком, несет генеральный подрядчик.
На последоговорном этапе
выполняются:
разработка рабочего
проекта;
выявление необходимости
наращивания собственных производственных мощностей;
заключение договоров
(контрактов) с субподрядными организациями, поставщиками средств механизации,
материалов, конструкций, изделий, оснастки, оборудования.
приемку от исполнителей,
регистрацию и передачу непосредственным исполнителям (прорабам) ППР рабочих
чертежей;
объявить и произвести
набор недостающих работников, заключить с ними контракты;
не позднее чем за 10
дней до начала подготовительных работ принять от заказчика подготовленную
трассу МТ с оформлением акта передачи;
издать совместно с
заказчиком и проектной организацией приказ о назначении лиц, осуществляющих
технический и технологический контроль.
.2 Подготовительные
работы
Подготовительные работы,
выполняемые генеральным подрядчиком (РСУ или сторонней организацией), включают:
обследование дорог,
мостов для выяснения возможности перебазировки машин и механизмов;
оборудование пунктов
погрузки и выгрузки;
перебазировка ремонтных
колонн к месту работы;
организация пунктов
хранения горюче-смазочных материалов;
строительство временных
складов;
оборудование пунктов
технического обслуживания машин и механизмов;
сооружение вдольтрассовых
дорог;
подготовка трассы
трубопровода;
обеспечение связью РСК с
диспетчерской службой и ближайшей ПС.
Подготовка трассы
включает:
определение оси трассы и
глубины заложения МТ;
обозначение на местности
километража и пикетов трассы и всех пересечений МТ с инженерными
коммуникациями, места установки вантузов, а также всех параллельно пролегающих
коммуникаций;
планировку трассы;
восстановление
вдольтрассовых дорог;
другие условия,
оговоренные в технических условиях и других согласующих документах.
Положение МТ определяют
трассоискателями и шурфованием.
Результаты измерений
фактической глубины заложения трубопровода (от поверхности земли или дорожного
или иного покрытия до нижней образующей трубы) наносят на вешки высотой 1,5-2,0
м, забиваемые по оси трубопровода через 50 м, а при неровном рельефе через 25
м.
Вешки следует также
установить в местах изменений рельефа, в вершине углов поворотов трассы и в
местах пересечения с другими подземными коммуникациями, а также на границах
разработки грунта вручную, перед началом и концом вскрышных работ, у линейных
задвижек и в опасных местах (недостаточное заглубление и т.д.).
Планировочные работы
заключаются в срезке валика, бугров, неровностей, подсыпке низинных мест,
удалении растительности и валунов.
Сдача трассы МТ
производится заказчиком, подрядчику (РСУ или сторонней организации) с
оформлением акта передачи до начала ремонтных работ.
Производство ремонтных
работ разрешается начинать после завершения организационно-технической
подготовки и получения письменного разрешения от руководства или ОАО на право
производства работ.
Перед началом ремонтного
сезона исполнитель работ должен поставить в известность местные органы
исполнительной власти, Госгортехнадзора и ГПС МВД о сроках проведения работ по
капитальному ремонту МТ.
.3 Земляные работы
Земляные работы при
капитальном ремонте МТ выполняются в соответствии с требованиями действующей
НТД.
Земляные работы в
пределах охранных зон линий и сооружений технологической связи, телемеханики и
электрических сетей должны выполняться с соблюдением требований.
Разработка грунта в
местах пересечения трубопровода с другими подземными коммуникациями допускается
лишь при наличии письменного разрешения и в присутствии представителя
организации, эксплуатирующей эти подземные коммуникации (трубопроводы, линии
связи и др.). Вызов представителя возлагается на исполнителя работ. К
разрешению должен быть приложен план (схема) с указанием расположения и глубины
залегания коммуникаций, составленный на основании шурфовки.
При обнаружении на месте
производства работ подземных коммуникаций и сооружений, не указанных в
проектной документации, исполнитель работ должен поставить в известность
заказчика и принять меры по защите обнаруженных коммуникаций и сооружений от
повреждений.
Вантузы, задвижки и
другие узлы должны быть предварительно открыты и обозначены.
Способы выполнения
земляных работ и типы используемых механизмов определяются проектом с учетом
физико-механических свойств грунта и напряженного состояния ремонтируемого
участка МТ.
Земляные работы при КР
МТ в условиях городов, населенных пунктов, ПС и нефтебаз следует выполнять по
технологическим картам, входящим в состав ППР.
В технологических картах
приводятся последовательность выполнения земляных работ и указания по
организации и методам труда ремонтников, технико-экономические показатели и
особенности применяемых машин, другие указания в соответствии с конкретными
условиями и выбранным применительно к ним способом производства земляных работ.
Снятие и восстановление
плодородного слоя почвы
Работы по снятию и
восстановлению плодородного слоя почвы должны производиться в соответствии с
проектом рекультивации земель, входящим в состав рабочего проекта.
Минимальная ширина
полосы, с которой снимается плодородный слой почвы, должна равняться ширине
траншеи по верху плюс 0,5 м в каждую сторону, максимальная - ширине полосы
отвода.
Плодородный слой почвы
должен быть снят и перемещен во временный отвал.
Снятие плодородного слоя
почвы рекомендуется производить на всю глубину, по возможности за один проход
или послойно за несколько проходов землеройной техники. Не допускается
смешивание плодородного слоя почвы с минеральным грунтом.
Разработка траншеи
При пересечении трассы с
действующими подземными коммуникациями разработка грунта механизированным
способом разрешается на расстоянии не ближе 2 м от боковой стенки и не менее 1
м над верхом коммуникаций (трубы, кабели и др.). Оставшийся грунт должен
дорабатываться вручную без применения ударных инструментов и с принятием мер,
исключающих возможность повреждения этих коммуникаций. Во избежание
недопустимого провисания вскрытого кабеля следует установить обязательную
подвеску.
Участки защемленного
трубопровода, а также примыкающие к линейным задвижкам, тройниковым
соединениям, отводам и др. после вскрытия экскаватором дорабатываются вручную
без применения ударных инструментов. Длина такого участка в одну сторону должна
быть не менее 30 м.
Для устойчивой и
надежной работы машин и механизмов полоса трассы в зоне движения должна быть
спланирована и по оси трубопровода вновь забиты вешки.
Поперечный профиль и
размеры разрабатываемой траншеи должны устанавливаться в проектной документации
в зависимости от принятого вида и способа ремонта, диаметра ремонтируемого
трубопровода, ширины режущей кромки рабочего органа землеройной машины. Во
избежание повреждения трубопровода размеры траншеи должны обеспечить расстояние
между стенкой трубы и ковшом работающего экскаватора не менее 0,15-0,2 м.
При капитальном ремонте
с заменой труб путем укладки в отдельную траншею заглубление трубопровода до
верха трубы, а также ширину траншеи по низу, следует принимать согласно [7].
При ремонте с заменой
труб путем укладки в совмещенную траншею существующий трубопровод вскрывается
до верхней образующей. Новая траншея разрабатывается параллельно на безопасном
расстоянии от оси существующего трубопровода. Размеры траншей назначаются
исходя из требований [7]. Профиль траншеи показан на рис. 3.1.
Рис. 3.1. Профиль
траншеи при ремонте с заменой труб путем укладки в совмещенную траншею: 1 -
заменяемый участок трубопровода; 2 - траншея; 3 - вновь прокладываемый участок
трубопровода
Если заглубление
заменяемого трубопровода не отвечает требованиям [7] и участок трубопровода
прокладывается ниже существующего, то при ремонте по способу, описанному выше,
может произойти сползание существующего трубопровода в разработанную траншею.
Для предотвращения сползания (за исключением болотистых участков) необходимо
оставлять перемычки, расстояние между которыми составляет 15-20 м. Длина
перемычки - 1 м. Перед укладкой трубопровода грунт перемычек последовательно
разрабатывается до уровня траншеи экскаватором или вручную. После укладки
трубопровода перемычка незамедлительно восстанавливается.
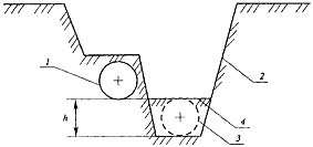
Рис. 3.2. Профиль
траншеи при ремонте с заменой труб путем укладки в совмещенную траншею ниже
существующего трубопровода: 1 - заменяемый участок трубопровода; 2 - траншея; 3
- вновь прокладываемый участок трубопровода; 4 - перемычка; h - величина заглубления.
При ремонте путем
вскрытия и демонтажа заменяемого трубопровода вскрытие трубопровода производят
до нижней образующей. Размеры траншеи должны быть достаточными для свободного
перемещения по трубе очистных и изоляционных машин, ширина траншеи по низу
должна быть не менее Дгр ±1,0 м.
При ремонте с заменой
изоляционного покрытия с подъемом трубопровода в траншее, с подъемом и укладкой
трубопровода на лежки в траншее, трубопровод должен быть вскрыт до нижней
образующей и расположен по оси траншеи.
Минимальная ширина
траншеи по низу:
В
= D + 2K + 2d, (3.1)
где D - диаметр трубопровода;
K
- не менее 0,5 м - ширина режущей кромки рабочего органа машины;
d = 0,15¸0,20
м - минимальное расстояние между стенкой трубы и работающим органом машины.
Траншеи с вертикальными
стенками без крепления разрабатываются в грунтах естественной влажности с
ненарушенной структурой при отсутствии грунтовых вод на глубину в соответствии
с [7].
Таблица 3.1. Глубина
траншеи с учетом свойства грунта
|
В насыпных песчаных и гравелистых грунтах
|
- не более 1,00
|
|
В супесях
|
- не более 1,25
|
|
В суглинках и глинах
|
- не более 1,50
|
|
В особо плотных нескальных грунтах
|
- не более 2,00
|
Засыпка траншей
До начала работ по засыпке
уложенного трубопровода необходимо проверить качество изоляционного покрытия и
в случае необходимости его отремонтировать, выполнить работы по предохранению
изоляционного покрытия от механического повреждения, а также восстановить
устройства электрохимзащиты.
Засыпать траншею следует
непосредственно после укладочных работ (в течение одной смены). При засыпке
трубопровода необходимо обеспечить плотное прилегание трубопровода ко дну
траншеи.
В щебенистых грунтах, а также сухих
комковатых и мерзлых грунтах трубопроводы укладывают в траншею на подсыпку из
мягкого грунта толщиной не менее 10 см над выступающими неровностями основания
траншеи, и таким же грунтом присыпают над верхней образующей на 20 см.
Засыпку траншеи осуществляют
бульдозером (траншеезасыпателем). В тех случаях, когда работа бульдозера со
стороны отвала невозможна, засыпку выполняют одноковшовым экскаватором,
оборудованным ковшом - обратная лопата или драглайном. Экскаватор устанавливают
со стороны траншеи, противоположной отвалу, а грунт для засыпки берется из
отвала и ссыпается в траншею.
В местах с уменьшенной полосой
отвода засыпку выполняют косоперекрестными или косопоперечными параллельными
проходами бульдозера. После искусственного или естественного уплотнения грунта
в траншее выполняют техническую рекультивацию, которая заключается в возвращении
плодородного слоя почвы на нарушенную площадь с насыпкой и планировкой.

Рис. 3.3. Схемы производства работ
по засыпке уложенного трубопровода бульдозером: а - прямолинейными
проходами; б - косопоперечными параллельными проходами
После завершения технической
рекультивации выполняют биологическую рекультивацию, включающую проведение
комплекса агротехнических и фитомелиоративных мероприятий, предусмотренных
техническими условиями соответствующих заинтересованных организаций и
включенных в проектно-сметную документацию.
Восстановление земельных участков с
плодородным слоем почвы (улиц, скверов и т.д.) производят в ходе работ, а при
невозможности этого в течение одного года после завершения работ или срока,
оговоренного в технических условиях.
Подключение нового участка
трубопровода к средствам ЭХЗ производится не позднее 30 дней после укладки и
засыпки.
3.4 Подъем и укладка
трубопроводов
Работы по подъему и укладке
трубопроводов разрешается производить только в присутствии лица, ответственного
за производство работ.
Перед подъемом должны быть выполнены
все организационные и технические мероприятия, предусмотренные в проекте
производства работ, обеспечивающие безопасность его проведения и предотвращения
аварийных ситуаций.
В случае капитального ремонта МТ с
заменой труб работы по подъему и укладке заменяемого МТ разрешается выполнять
после полного освобождения его от перекачиваемого продукта и получения
разрешения диспетчера.
Подъем и укладку МТ следует
осуществлять плавно, без рывков и резких колебаний, осуществляя контроль
значений расчетных усилий на крюках грузоподъемных механизмов динамометрами.
На время длительных остановок и в
конце смены МТ следует укладывать на лежки, земляные тумбы и установить боковые
упоры для предотвращения горизонтальных смещений.
При укладке трубопровода в траншею
должны обеспечиваться:
правильный выбор количества и
расстановки трубоукладчиков и минимально необходимая для производства работ
высота подъема трубопровода над землей с целью предохранения трубопровода от
перенапряжения, изломов и вмятин;
сохранность изоляционного покрытия;
плотное прилегание трубопровода по
дну траншеи по всей его длине;
проектное положение трубопровода.
Работы по очистке, изоляции и
укладке трубопровода производятся, как правило, совмещенным способом (рис.
3.4). Расстояние от ремонтных машин до трубоукладчиков не должно превышать 10,0
м.
Рис. 3.4. Расстановка машин и
механизмов при совмещенном способе изоляционно-укладочных работ: 1 - отвал
минерального грунта; 2 - заменяемый участок трубопровода; 3 - отвал
плодородного слоя почвы; 4 - очистная машина; 5 - трубоукладчик; 6 - резервный
трубоукладчик; 7 - электростанция; 8 - вновь прокладываемый участок
трубопровода; 9 - изоляционная машина; 10 - бульдозер; 11 - прибор для контроля
качества изоляционного покрытия
Раздельный способ производства
изоляционно-укладочных работ следует применять в условиях холмистого рельефа
местности (рис. 3.5).
Рис. 3.5. Расстановка машин и
механизмов при раздельном способе: изоляционно-укладочных работ: 1 - отвал
минерального грунта; 2 - заменяемый участок трубопровода; 3 - вновь
прокладываемый участок трубопровода; 4 - инвентарные лежки; 5 - трубоукладчик;
6 - бульдозер; 7 - отвал плодородного слоя почвы
На сложных участках трассы МТ, во
избежание опрокидывания трубоукладчиков, необходимо использовать дополнительный
трубоукладчик.
Если трубопровод содержит большое
количество кривых вставок или протяженность отдельных его участков невелика,
укладку следует выполнять методом последовательного наращивания, ведя его
монтаж из отдельных труб или секций непосредственно в проектном положении.
При капитальном ремонте с заменой
изоляционного покрытия с восстановлением или без восстановления стенки трубы
при подъеме и укладке трубопровода должны выполняться все требования, а также
дополнительные требования, отраженные в рабочем проекте и проекте производства
работ.
.5 Очистка наружной
поверхности трубопровода
При капитальном ремонте
трубопроводов очистку наружной поверхности следует выполнять ремонтными
очистными машинами.
Очистка заключается в удалении с
наружной поверхности трубопровода остатков земли, старого изоляционного
покрытия и продуктов коррозии.
Очистка трубопровода в зоне наличия
заплат, вантузов, хомутов и других препятствий выполняется вручную.
Ручную очистку следует производить
скребками, изготовленными из углеродистой инструментальной стали (УИС). Не
допускается нанесение глубоких царапин, рисок, сколов основного металла и
срезания сварных швов.
Степень очистки поверхности труб
перед нанесением покрытий отечественного производства должна соответствовать
требованиям рабочего проекта. Для изоляционных покрытий импортного производства
в рабочем проекте должны быть учтены требования технических условий
фирм-изготовителей на эти покрытия.
.6 Сварочные работы
Сварочные работы при капитальном
ремонте МТ подразделяются на сварочно-монтажные при ремонте с заменой труб и
ремонтные сварочные работы при восстановлении стенки труб.
Специальные сварочные работы (сварка
захлестов, вварка запорной и распределительной арматуры и др.), термообработку
сварных швов при капитальном ремонте с заменой труб следует выполнять в
соответствии с ГОСТом.
Перед началом проведения работ по
капитальному ремонту МТ следует провести аттестацию выбранной технологии
сварки.
Технологический процесс сварки
считается аттестованным, если по данным визуального и радиографического
контроля, результатам испытаний механических свойств сварные соединения
удовлетворяют требованиям нормативной документации.
По результатам испытаний сварных
соединений должен быть составлен акт приемки технологии сварки.
К выполнению сварочных работ следует
допускать сварщиков, прошедших ежегодную проверку квалификации с целью
определения способности сварщика выполнить качественное сварное соединение.
По результатам испытаний сварных
соединений составляется акт проверки квалификации сварщиков (допускной лист).
Сварочно-монтажные работы при капитальном
ремонте МТ с заменой труб включают:
подготовку к сборочным и сварочным
работам;
сборку и сварку труб в трубные
секции на трубосварочной базе или в полевых условиях;
сборку и сварку отдельных труб или
секций в сплошную нитку на трассе;
контроль качества сварочных
соединений трубопроводов.
При сборке и сварке секций труб в
нитку в условиях городов, населенных пунктов и т.д. должны быть выполнены
следующие подготовительные работы:
развезены и уложены секции труб на
расстояние не более 1,5 м от бровки траншеи под углом 15-20° к проектной оси
траншеи;
размещены в зоне производства работ
трубоукладчики, сварочные агрегаты, бульдозер, центратор, емкость ГСМ,
инвентарные лежки и другое необходимое оборудование и инструменты;
установлены на полосе отвода вагончики
для обогрева людей, хранения инвентаря и сварочных материалов.
Объем и порядок проведения работ
определяются рабочим проектом на капитальный ремонт и проектом производства
работ и в зависимости от специфики объекта могут отличаться от приведенного выше
перечня.
Свариваемые трубы обрезаются со
скосом кромок и притупляются на 1,5 - 2,5 мм.
Края свариваемых участков
трубопровода должны зачищаться до металлического блеска на ширину не менее 10
мм. Зачистка должна производиться шлифовальными машинками, напильниками или
металлическими щетками.
Типы и марки применяемых электродов
по своим механическим свойствам и назначению должны соответствовать маркам
сталей свариваемых труб и обеспечивать свойства сварного соединения не ниже
свойств основного металла.
Электродуговую сварку следует
выполнять качественными электродами, позволяющими выполнять сварку в любых
пространственных положениях на постоянном токе обратной полярности (плюс на
электроде). Каждая партия электродов должна иметь сертификат. Запрещается применение
электродов неизвестной марки.
Перед применением электроды должны
быть прокалены (просушены) и проверены на качество состояния их покрытия. Не
должно быть повреждений покрытия, растрескивания. Покрытие должно быть
постоянной толщины относительно стержня, а при ударе о твердый предмет и при
изгибе - не отставать от стержня. При обнаружении следов ржавчины на стержне
под покрытием электроды отбраковываются.
При применении электродов с
целлюлозным покрытием необходимо соблюдать дополнительные требования к методу
сварки (следует выполнять методом «замочной скважины» (окна)).
В процессе сварки должны соблюдаться
требования и к сварочному току, установленные в зависимости от типов (марок) и
диаметров электродов, а также от пространственного положения и направления
сварки.
В зависимости от толщины стенок труб
сварка должна производиться в несколько слоев. Минимальное число слоев сварного
шва при сварке неповоротного стыка приведено в табл. 3.2.
Таблица 3.2. Минимальное допустимое
число слоев шва при ручной дуговой сварке
|
Толщина стенки трубы, мм
|
Минимальное число слоев шва при сварке корневого слоя шва
электродами с разным видом покрытия
|
|
Целлюлозный
|
Основной
|
|
1
|
2
|
3
|
|
До 10
|
3
|
2
|
|
10-15
|
4
|
3
|
|
15-20
|
5
|
4
|
|
1
|
2
|
3
|
|
20-25
|
5
|
5
|
|
25-32
|
7
|
6
|
Сварной шов облицовочного слоя
должен перекрывать основной металл в каждую сторону от шва на 2,5-3,5 мм и
иметь усиление высотой 1-3 мм.
Устранение дефектов в сварных швах,
выявленных при проведении сварочно-монтажных работ, допускается в следующих
случаях:
суммарная длина дефектных участков
не превышает 1/6 длины шва;
суммарная длина выявленных в сварном
шве трещин не превышает 50 мм.
При наличии трещин суммарной длиной
более 50 мм сварные швы должны быть вырезаны.
Дефекты в сварных швах устраняются
следующими способами:
наплавкой ниточных валиков высотой
не более 3 мм при ремонте подрезов;
вышлифовкой и последующей заваркой
участков швов со шлаковыми включениями и порами.
Обнаруженные при внешнем осмотре
недопустимые дефекты должны быть устранены до проведения контроля физическими
методами.
Ремонтные сварочные работы на МТ
проводятся без остановки перекачки или при остановленной перекачке с целью
устранения дефектов стенки труб и сварных швов путем установки усилительных
элементов (муфт) или наплавки металла. Сварочные работы на МТ под давлением
проводятся также при приварке штуцеров, катодных выводов и др.
Давление в МТ при проведении
сварочных работ не должно превышать 2,5 МПа.
Запрещается проводить сварочные
работы на участках МТ, работающих при неполном заполнении сечения трубы перекачиваемым
продуктом.
Заполнение МТ продуктом следует
определять гидравлическим расчетом (с учетом перевальных точек) и
контролировать ультразвуковым методом по амплитуде эхо-сигнала от внутренней
поверхности трубы (при полном заполнении трубы продуктом амплитуда эхо-сигнала
на 15-20% меньше, чем при частичном заполнении).
Перед выполнением сварочных работ
обязательно проведение следующих мероприятий:
назначение лиц, ответственных за
подготовку МТ к проведению сварочных работ (от заказчика);
назначение лиц, ответственных за
проведение сварочных работ (от подрядчика);
оформление наряда-допуска на ведение
огневых работ;
определение перечня противопожарных
мероприятий.
В процессе сварки должны выполняться
следующие операции:
проверка состояния воздушной среды
на месте проведения сварочных работ;
внешний осмотр, классификация
дефектов, измерение толщины стенки труб МТ в местах предполагаемой сварки;
подготовка поверхности свариваемых
мест (снятие фаски, зачистка поверхности);
выполнение сварочных работ;
контроль качества сварки.
В зависимости от вида, размера и
взаимного расположения повреждений используются следующие методы ремонта стенки
трубы сваркой:
заварка дефектов (наплавка металла);
приварка накладных элементов (муфт).
Непосредственная заварка дефектов
стенки трубы производится после зачистки дефектов до металлического блеска и
замеров остаточной толщины стенки.
Заварку дефектов разрешается вести
ниточными швами (без поперечных колебаний электрода). Швы накладываются по
периметру дефекта навстречу друг другу. Наиболее глубокая часть дефекта
заваривается в последнюю очередь.
При заварке незначительных
повреждений (диаметром 3-8 мм) электрод должен оставаться в одной точке не
более 7 секунд (во избежание прожога стенки). Затем следует прервать заварку,
выводя кратер на наплавленный металл. Последующий шов можно накладывать после
остывания наплавленного металла и удаления шлака.
Дефекты завариваются с усилением
1,5-2,0 мм с таким расчетом, чтобы края наплавленного металла заходили за края
повреждения не более чем на 2 - 3 мм.
При остаточной толщине стенки менее
5 мм восстановление несущей способности труб (участка МТ) производится путем
приварки накладных усилительных элементов (заплат, муфт).
На поперечные и продольные сварные
швы заплаты привариваются с технологическими сегментами, устанавливаемыми на МТ
и охватывающими заплату по периметру.
Контроль качества сварочных работ
включает:
проверку квалификации сварщика;
входной контроль сварочных
материалов;
входной контроль труб, трубных
заготовок, запорной и распределительной арматуры;
проверку исправности применяемого
оборудования, инструмента;
проверку качества подготовки труб;
систематический операционный
контроль процесса подготовки и проведения сварочных работ;
визуальный контроль (внешний осмотр)
и обмер геометрических размеров готовых сварных соединений;
проверку сварных швов неразрушающими
методами контроля.
Аттестацию и проверку квалификации
сварщиков осуществляет постоянно действующая комиссия под председательством
главного инженера В состав комиссии должны быть включены инженерно-технические
работники служб сварки, контроля, охраны труда и техники безопасности.
Аттестация производится в
соответствии с «Правилами аттестации сварщиков».
Все сварочные материалы по мере их
поступления должны проходить входной контроль, включающий:
проверку наличия сертификатов
качества фирмы (завода-изготовителя);
проверку сохранности упаковки
электродов, флюсов и проволок;
проверку соответствия электродов
требованиям спецификаций на электроды (технических условий);
проверку сварочно-технологических
свойств электродов.
Все трубы, детали трубопроводов,
элементы запорной (распределительной) арматуры могут быть приняты в монтаж
только после прохождения приемки и (или) освидетельствования на соответствие их
требованиям [11].
Проверку исправности применяемого
оборудования, инструмента проводят согласно инструкциям по эксплуатации, а
качество подготовки труб и режимы сварки - согласно требованиям [11].
Операционный контроль осуществляют
мастера и производители работ. При этом контролируются соблюдение режимов
сварки, порядок наложения слоев и их количество, применяемые сварочные
материалы и другие требования по [11]. В условиях прохождения трубопроводов по
территории городов, населенных пунктов и т.д. контроль может осуществляться
иным способом, оговоренным в соответствующих документах.
Визуальный осмотр и обмер проводят
работники службы контроля (спецуправлений по контролю и т.п.).
Визуальному осмотру подвергаются все
сварные швы после их очистки от шлака, брызг металла, при этом наплавленный
металл не должен иметь трещин, подрезов глубиной более 0,5 мм, незаплавленных
кратеров и выходящих на поверхность пор. Наплавка металла шва должна
обеспечивать плавное сопряжение его поверхности с поверхностью трубы. Не
допускаются наплывы и бугристость, грубая чешуйчатость, пористость шва.
Сварные швы при ремонте МТ с заменой
труб должны подвергаться 100%-му неразрушающему контролю радиографическим
методом.
При контроле неразрушающим методом
сварных швов муфт и технологических колец годными следует считать сварные
соединения, в которых:
отсутствуют трещины любой глубины и
протяженности;
глубина шлаковых включений не
превышает 10% толщины стенки трубы при их суммарной длине не более 1/6
периметра стыка;
наибольший из размеров пор в
процентном отношении к толщине стенки трубы не превышает 20% при расстоянии
между соседними порами не менее 3 толщин стенки; 15% при расстоянии между
соседними порами не менее 2 толщин стенки; 10% при расстоянии между соседними
порами менее 2 толщин стенки, но не менее 3-х кратного размера поры; 10% при
расстоянии между соседними порами менее 3-х кратного размера поры на участках
общей длиной не более 30 мм на длине 500 мм шва;
местный непровар в корне шва
глубиной до 10% толщины стенки трубы, но не более 1 мм, суммарной длиной до 1/6
периметра стыка;
суммарная глубина непровара и
шлаковых включений, расположенных в одной плоскости, не должна превышать 10%
толщины стенки трубы, но не более 1 мм, при этом длина дефектного участка не
должна превышать 50 мм на участке шва длиной 350 мм.
Во всех случаях максимальный размер
поры не должен превышать 2,7 мм.
Неразрушающий контроль должен быть
выполнен специалистом, имеющим право давать заключение, в соответствии с
требованиями Инструкции.
Контроль сварных швов должен
выполняться в соответствии с требованиями ВСН 012-88 «Контроль качества и
приемка работ».
Недопустимые дефекты в сварных швах
необходимо ремонтировать вышлифовкой или путем сверления и заваркой этих
участков или другими методами с последующим повторным контролем.
.7 Испытание
отремонтированного участка МТ
При капитальном ремонте МТ с заменой
труб вновь прокладываемый участок перед его подключением в основную магистраль
подлежит испытанию на прочность и проверке на герметичность согласно.
Перед проведением испытаний полость
трубопровода должна быть очищена.
Способы, параметры и схемы
проведения очистки полости трубопровода и испытания трубопровода
устанавливаются в рабочем проекте с учетом местных условий работ. В проекте
должна быть предусмотрена очистка загрязненной воды (или жидкости) после
промывки полости трубы, а также включен проверочный расчет на устойчивость
трубопровода против всплытия на обводненных участках.
Очистку полости трубопровода, а
также испытание МТ следует осуществлять по специальной инструкции и под руководством
комиссии, состоящей из представителей заказчика (ОАО) или органов его
технадзора, генерального подрядчика, подрядчика (исполнителя работ).
На основании принятых решений по
очистке и испытанию МТ подрядчик (исполнитель работ) должен разработать специальную
инструкцию, устанавливающую:
способы, параметры и
последовательность выполнения работ;
методы и средства выявления и
устранения отказов (застревание очистных устройств, утечки, разрывы и т.п.);
схему организации связи;
требования пожарной, газовой,
технической безопасности и указания о размерах охранной зоны.
Специальная инструкция
согласовывается с проектной организацией, разработавшей рабочий проект, и
утверждается председателем комиссии.
При проведении очистки полости
трубопровода и испытания МТ должна быть установлена бесперебойная связь.
При очистке полости трубопровода
необходимо:
удалить случайно попавшие внутрь
грунт, воду, различные предметы, а также окалину и грат;
проверить путем пропуска поршня
проходное сечение трубопровода и тем самым обеспечить возможность многократного
беспрепятственного пропуска очистных, инспекционных или других устройств при
дальнейшей эксплуатации;
достигнуть качество очистки полости,
обеспечивающее заполнение участка трубопровода транспортируемым продуктом без его
загрязнения и обводнения.
Очистка полости трубопровода должна
проводиться после укладки и засыпки одним из следующих способов:
промывкой с пропуском очистных
поршней или поршней-разделителей;
продувкой с пропуском очистных
поршней (при необходимости) и поршней-разделителей;
продувкой без пропуска очистных
поршней.
Очистка полости трубопровода, как
правило, должна выполняться продувкой воздуха с пропуском поршня-разделителя.
При продувке пропуск и выпуск загрязнений, очистных поршней через линейную
арматуру запрещается.
На трубопроводах, монтируемых без
внутренних центраторов, следует производить предварительную очистку полости
протягиванием очистных устройств в процессе сборки и сварки отдельных труб или
секций в нитку.
При промывке с пропуском очистных поршней
или поршней-разделителей следует подвергать трубопроводы, испытание которых
предусмотрено в рабочем проекте гидравлическим способом. Промывку совмещают с
удалением воздуха при заполнении трубопровода водой или другой жидкостью.
Движение очистного или
разделительного устройства осуществляется давлением жидкости. Для смачивания и
размыва загрязнений перед устройством заливают воду в количестве 10-15% объема
полости очищаемого участка трубопровода. Скорость перемещения устройств при
промывке должна быть не менее 1 км/ч для обеспечения его безостановочного
движения.
Очистка полости считается
законченной, если после выхода очистного устройства из трубопровода не выходит
загрязненный воздух или вода. Для достижения этого очистные устройства
пропускают повторно.
При застревании в трубопроводе
очистного устройства, его следует извлечь, а участок трубопровода подлежит
повторной продувке или промывке.
После очистки полости трубопровода
на концах очищенного участка следует установить временные инвентарные заглушки.
Испытание отремонтированного с
заменой труб участка МТ на прочность и проверку на герметичность следует
проводить после полной готовности участка (установки арматуры и приборов,
приварки катодных выводов, засыпки минеральным грунтом).
Испытание участка МТ на прочность и
проверку на герметичность следует производить гидравлическим способом (водой
или незамерзающей жидкостью).
Участок МТ должен подвергаться
циклическому гидравлическому испытанию на прочность. Количество циклов должно
быть не менее 3, а значение испытательного давления в каждом цикле в нижней
точке трубопровода не более гарантированного заводом испытательного давления (Pзав. = 0,9sт), а в верхней точке не менее Pисп = 1,1Pраб.
Время выдержки участка под
испытательным давлением должно быть не менее 24 ч.
Проверку на герметичность участка МТ
необходимо проводить после испытания на прочность и снижения испытательного
давления до максимального рабочего (по проекту).
Участок МТ считается выдержавшим
испытание на прочность и проверку на герметичность, если за время испытания
трубопровода на прочность давление остается неизменным, а при проверке на
герметичность не будут обнаружены утечки.
При разрыве, обнаружении утечек
визуально, по звуку или с помощью приборов, участок МТ подлежит ремонту и
повторному испытанию на прочность и проверке на герметичность.
После окончания испытаний воду
следует удалить из трубопровода с помощью поршней-разделителей, перемещаемых
под давлением транспортируемого продукта.
О выполненных работах и результатах
испытаний необходимо составить соответствующие акты.
.8 Порядок сдачи и ввод
отремонтированного участка в эксплуатацию
Сдача отремонтированного участка МТ
заказчику выполняется после полной готовности участка (засыпки, обвалования,
установки арматуры и приборов, восстановления средств ЭХЗ, пикетных и
километровых указателей, проведения контроля состояния изоляции методом
катодной поляризации, проведения испытания на прочность и проверки на
герметичность).
Приемка отремонтированного участка
МТ осуществляется приемочной комиссией, назначенной приказом руководителя
предприятия-заказчика.
При приемке в эксплуатацию
отремонтированного участка МТ комиссия должна руководствоваться проектом,
нормами, правилами, техническими условиями и другими нормативными документами,
действующими в период проектирования и проведения капитального ремонта.
Запрещается приемка в эксплуатацию
отремонтированного участка с недоделками, препятствующими безопасной
эксплуатации, с отступлениями от проекта, без проверки качества выполненных
работ и проведения испытаний.
В процессе сдачи отремонтированного
участка генеральный подрядчик (РСУ) должен представить комиссии комплект
приемо-сдаточной документации:
перечень организаций, участвовавших
в ремонте МТ, с указанием вида выполненных ими работ и фамилий лиц,
ответственных за выполнение этих работ;
сертификаты, технические паспорта и
другие документы, удостоверяющие качество материала труб, конструкций, деталей,
применяемых при ремонте;
исполнительную проектную
документацию - комплект рабочих чертежей на ремонт предъявляемого к приемке
участка МТ с записями о соответствии выполненных в натуре работ по этим
чертежам или внесенным в них изменениям и оформленными в установленном порядке
[7];
комплект исполнительной
производственной документации - акты об освидетельствовании скрытых работ и о
промежуточной приемке отдельных ответственных конструкций (узлов линейной
арматуры, камеры приема и пуска очистных устройств), журналы производства
работ, материалы обследования и проверок в процессе ремонтных работ органами
государственного и другого надзора, акты об индивидуальных испытаниях ремонтных
участков и т.д.
После окончания работы приемочной
комиссии приемосдаточная документация передается заказчику и хранится наравне с
документацией по строительству МТ.
4. Выбор комплекта
технологического оборудования для проведения капитального ремонта
магистрального трубопровода
Расчет основных параметров траншеи
выполняется следующим образом. По условиям задания диаметр трубопровода d = 1220 мм, глубина заглубления
трубопровода h = 0,8 м, длина участка траншеи L = 10 км.
. Ширина траншеи по дну (рис. 4.1):
Согласно [12, п. 5.3] ширина траншей
по дну принимается 1,5dтр мм для трубопроводов
диаметром 700 мм и более, то есть должна быть равна:
, (4.1)
- диаметр трубопровода,
по заданию принимаем
=1220
мм.
. Глубина траншеи:
(4.2)
где
h
- глубина заглубления трубопровода, по заданию принимаем h=0,8 м,
C
- толщина мягкой подушки из песка, равная 0,2 м [12, п. 5.7],
.
. Длина основания
трапеции:
, (4.3)
где b - ширина траншеи по дну равная 1,83 м;
- глубина траншеи
равная 2,22 м;
β
- угол откоса, равный 45o,
ctg45o = 1 [7, табл. 5.1].
4. Площадь сечения
траншеи:
(4.4)
Рис. 4.1 Поперечный профиль траншеи трубопровода
. Объем грунта в целике:
, (4.5)
где Sсечен - площадь сечения траншеи, равная 9 м²;
L
- длина участка траншеи, принимаем по зданию L
= 10 км = 10000 м.
м³
Фактический объем
грунта:
(4.6)
где Kp - коэффициент разрыхления, по заданию принимаем 1,26;
Vземли
- объем грунта в целике, равный 90000 м³.
Объем работ на объекте:
Время на сооружение
трубопровода протяженностью 10 км по заданию 30 дней.
Время на
подготовительные работы (составляет 50% основного времени на сооружение
траншеи):
(4.7)
где Т - основное время
на сооружение траншеи.
Принимаем 15 дней.
Согласно условиям
задания для разработки траншеи при капитальном ремонте магистрального
трубопровода диаметром 1220 мм протяжённостью 10 км, по 3-ой категории грунта
потребуются: машины для подготовительных работ и машины для разработки траншеи.
Для производства
подготовительных работ потребуются следующие машины: бульдозеры и т.д.
Для сооружения траншеи,
исходя из категории грунта и объёмов работ, выбираем одноковшовый экскаватор с
обратной лопатой.
4.1 Бульдозеры
Бульдозер - основная
машина для подготовительных работ (рис. 4.2). Он применяется для планировки
местности, срезки бугров, засыпки ям и траншей, перемещения грунта на небольшие
расстояния (до 100 м) и т.д. Бульдозер может быть использован для валки
деревьев с корнями, корчевания пней и кустарников. В зимнее время его применяют
для расчистки дорог и площадок от снега.
Бульдозер состоит из
базовой машины (трактора) и специального навесного рабочего оборудования
(отвала с рамой или толкающими балками).
По способу установки
отвала относительно оси трактора различают бульдозеры неповоротные и
универсальные (рис. 4.3).
Неповоротными называются
бульдозеры, у которых отвал располагается только перпендикулярно оси трактора,
универсальными - когда отвал может быть установлен как перпендикулярно оси
трактора, так и под другим углом к ней, а также повернут в вертикальной
плоскости под углом 5-6° (изменение угла резания).
Рабочий процесс
бульдозера с неповоротным отвалом состоит из операций копания, срезания
стружки, перемещения грунта перед ним и разравнивания грунта. Срезанный грунт,
поднимаясь вверх по отвалу, накапливается перед ним, образуя валик, близкий по
форме к треугольнику в поперечном сечении, называемый призмой волочения. При
транспортировании грунта катет призмы, прилегающей к отвалу, может достигнуть
его высоты. После этого отвал приподнимают, прекращая тем самым процесс
резания, транспортируют срезанный ранее грунт до места разгрузки.
При разработке грунта
бульдозером универсального типа срезаемый грунт будет перемещаться по ширине
отвала, и отводиться в боковом, к направлению движения машины, направлении.
Наиболее эффективно последняя операция совершается при установке отвала под
углом к продольной оси, близким к 450. Таким методом могут вестись
работы при засыпке траншей, разработке выемок на косогорах, разравнивании
валиков грунта и т.п.
Рис. 4.2. Бульдозер
(общий вид): 1 - базовая машина; 2 - толкающая балка; 3 - отвал; 4 - система
управления отвалом
Рис. 4.3. Конструкция
отвала бульдозера: а - неповоротного типа; б - универсального (поворотного)
типа
Расчет основных рабочих
параметров бульдозера
Рис. 4.4. Бульдозер
Komatsu D275A-5
Таблица 4.1. Техническая
характеристика бульдозера Komatsu D275A-5
|
Показатели
|
Komatsu D275A-5
|
|
Отвал: Ширина, мм Высота, мм Подъем, мм Опускание, мм
|
4300 1960 1450 1000
|
|
Угол, град: резчик перекоса в плане
|
50 5 63-90
|
|
Продолжение таблицы 4.1. Техническая
характеристика бульдозера Komatsu D275A-5
|
|
Масса, кг: Бульдозерного оборудования Масса базовой
машины
|
7507 37863
|
|
Мощность, кВт
|
306
|
Максимальное сопротивление
перемещению бульдозера в момент окончания набора грунта отвалом:
, (4.8)
где Pp - сопротивление грунта резанию;
Pпр - сопротивление
перемещению призмы грунта (призмы волочения) перед отвалом;
Pс - сопротивление от
скольжения грунта вверх по отвалу;
Рн - сопротивление трению
ножа отвала бульдозера по грунту;
Рт - сопротивление
перемещению тягача.
(4.9)
где kpез - удельное сопротивление грунта резанию, принимаем kpез =
120 кПа;
В = 4,3 м - ширина отвала (табл.
4.1);
φ
- угол поворота отвала в плане, принимаем 630 (табл. 4.1);
h = 0.1Н = 0,1·196 = 0,196 м - средняя толщина стружки,
где Н = 1,96 м - высота отвала
(табл. 4.1).

Н. (4.10)
Сопротивление
перемещению призмы грунта перед отвалом (при угле наклона 
10):
, (4.11)
где
-
плотность грунта;
- коэффициент трения
грунта о грунт, принимаем
=
1;
Объем призмы волочения:
, (4.12)
где
-
угол естественного откоса грунтов (40о) для глинистых грунтов;
- коэфф. разрыхления
грунта.
; (4.13)
.
Сопротивление от
скольжения грунта вверх по отвалу:
(4.14)
, (4.15)
где α
- угол резания, град, α=500
(табл. 4.1);
- коэфф. трения грунта о
сталь.
,
Сопротивление трению
ножа отвала бульдозера по грунту:
, (4.16)
где
- коэффициент несущей способности грунта
;
- ширина нижней
площадки ножа, трущейся о грунт
;
- коэффициент трения
грунта о металл,
- масса отвала и
толкающих брусьев, т;
;
.
Сопротивление
перемещению тягача:
, (4.17)
где М - масса базовой машины (табл.
4.1.),= 0,1-0,15 - коэфф. удельного сопротивления перемещению бульдозера.
.
Таким образом
максимальное сопротивление перемещению:
.
Расходуемая двигателем
мощность:
, (4.18)
где Vp - скорость резания
(2 - 6 км/ч);
η
= 0,75 - КПД.
Полученная необходимая
мощность не превышает мощности выбранного бульдозера Komatsu D275A-5 (306 кВт),
то есть бульдозер с данными техническими характеристиками целесообразно
использовать для работы.
Найдем объем призмы волочения
по формуле:
, (4.19)
где
-
определяется по формуле
;
- расстояние, на
которое перемещается грунтовая призма, согласно таблице 7 [1, стр. 457];
;
;
Найдем длину пути
резания грунта:
(4.20)
Продолжительность работы
машины
за
один цикл слагается из следующих отрезков времени:
, (4.21)
где
-
время переключения передач (
);
- время опускания
отвала (
);
- время поворота
бульдозера (
);


(4.22)
.
Производительность
бульдозера при резании и перемещении грунта определяется по формуле:
, (4.23)
где
-
коэффициент использования бульдозера по времени (
);
- коэффициент,
учитывающей влияние уклона местности на производительность бульдозера (табл.
2.3.2).
Таблица 4.2. Значение
коэффициента
|
Угол подъема в град.
|
Ку
|
Угол уклона в град.
|
Ку
|
|
0 - 5
|
1,00 - 0,67
|
0 - 5
|
1,00 - 1,33
|
|
5 - 10
|
0,67 - 0,50
|
5 - 10
|
1,33 - 1,94
|
|
|
10 - 15
|
1,94 - 2,25
|
|
10 - 15
|
0,50 - 0,40
|
15 - 20
|
2,25 - 2,68
|
;
Производительность
бульдозера при планировочных работах (разравнивании грунта) определяется по
формуле:
, (4.24)
где L - длина планируемого участка (10 км);
- величина перекрытия
прохода (
);
- число проходов по
одному месту (
);
- рабочая скорость
движения бульдозера при резании (2 км/ч);
- время поворота
бульдозера (
);
Расчет количества
бульдозеров
Время на выполнение
работ 30 дней, 50% времени отводится на проведение земляных подготовительных
работ.
Время, требуемое для
выполнения земляных работ на участке длиной 10 километров принимаем 15 дней.
Площадь участка, на
котором производятся планировочные работы:
, (4.25)
где L =10000 м - длина планируемого участка, м;
Lп
- ширина полосы земель несельскохозяйственного назначения,
отводимых для одного подземного трубопровода (принимаем Lп =19 м схему? 7 [1, стр. 457]).
Объем грунта, снимаемого
при резании:
, (4.26)
где h - толщина срезаемого слоя грунта (0,1 м)
.
Принимаем, что
планировочные работы выполняются в одну смену по 12 часов. Необходимое время
для выполнения работ составит:
Необходимая
производительность при выполнении планировочных работ:
, (4.27)
Работы по резанию и
перемещению грунта выполняются в две смены по 12 часов.
Необходимое время для
выполнения работ составит:
Необходимая
производительность при резании и перемещении грунта:
(4.28)
м³/ч.
Необходимое количество
бульдозеров:
при планировочных
работах
(4.29)
при резании и
перемещении грунта:
(4.30)
Принимаем количество
бульдозеров, равное 1 шт.
На примере предыдущих
расчетов, рассчитаем основные рабочие параметры бульдозера ООО «Челябинского
тракторного завода» Б10М.0001-1Е рис. 4.5.
Рис. 4.5. Бульдозер
«ЧТЗ»» Б10М.0001-1Е
Таблица 4.3. Технические
характеристики бульдозера ЧТЗ
|
Двигатель бульдозера Б10М.0001-1Е
|
Д180
|
|
|
Эксплуатационная мощность, кВт (л.с.)
|
132 (180)
|
|
|
Удельный расход топлива при эксплуатационной мощности, г/кВт х ч
|
218
|
|
|
|
Эксплуатационная масса (кг)
|
|
|
|
Базового трактора
|
15 475
|
|
|
|
Трактора с бульдозерным оборудованием типа Е и жестким прицепным
устройством
|
18 425
|
|
|
|
Среднее удельное давление на грунт, МПа
|
0.054
|
|
|
|
Максимальное тяговое усилие (не менее), кН
|
151.8 (15.5)
|
|
|
|
Габаритные размеры
|
|
|
Длина, мм
|
4825
|
|
|
Ширина, мм
|
3230
|
|
|
Высота, мм
|
3145
|
|
|
Колея, мм
|
2282
|
|
|
База, мм
|
3225
|
|
|
Основные размеры и параметры бульдозерного оборудования
|
|
|
Объем призмы волочения, куб. м
|
5,3
|
|
|
Продолжение таблицы 4.3. Технические характеристики бульдозера
ЧТЗ
|
|
|
Ширина отвала, мм
|
4260
|
|
|
Высота отвала, мм
|
1350
|
|
|
Максимальный подъем, мм
|
1220
|
|
|
Максимальное заглубление, мм
|
470
|
|
|
Регулировка угла резания, град
|
10°
|
|
|
Масса, кг
|
2870
|
|
|
Габаритные размеры трактора с бульдозерным оборудованием
|
|
|
Высота, мм
|
3145
|
|
|
Длина, мм
|
6255
|
|
|
Ширина, мм
|
4260
|
|
|
Масса, кг
|
19560
|
|
Необходимое количество бульдозеров
марки ООО «Челябинского тракторного завода» Б10М.0001-1Е при планировочных
работах, а также резании и перемещении грунта - 1 шт.
Сравнение и обоснование выбора
бульдозеров.
Рис. 4.6. Стоимость капитальных
затрат бульдозеров
Рис. 4.7. Стоимость эксплуатационных
затрат бульдозеров
Рис. 4.8. Мощность
бульдозеров
Рис. 4.9. Сравнение
количества требуемой техники для выполнения работ
Проанализировав данные
гистограммы, по таким параметрам как: эксплуатационные и капитальные затраты,
мощность и приняв тот факт что на выполнение работ достаточно по одному
бульдозеру, можно сделать вывод, что бульдозер Komatsu D275A-5 не рационален по
сравнению с ЧТД Б10М.0001-1Е.
.2 Экскаваторы
Для разработки траншей в
процессе строительства магистральных трубопроводов применяют экскаваторы
циклического и непрерывного действия.
Одноковшовые экскаваторы
представляют собой машины, предназначенные для разработки траншей и котлованов.
Одноковшовые экскаваторы
являются машинами общестроительного назначения. Они широко применяются при
строительстве магистральных трубопроводов.
Рабочий процесс
экскаватора состоит из следующих операций:
рабочего хода (копания)
ковша;
поворота стрелы и
выгрузки ковша;
холостого (обратного)
хода ковша и перемещения самого экскаватора по мере разработки траншеи.
Рабочее, силовое и
вспомогательное оборудование, основная часть трансмиссии, механизмы управления,
а также кузов экскаватора расположены на платформе. Она опирается на ходовую
часть экскаватора при помощи опорно-поворотного устройства и может
поворачиваться в горизонтальной плоскости.
По конструкции ходового
оборудования экскаваторы, применяемые для строительства магистральных
трубопроводов, разделяются на гусеничные, на специальном шасси, на базе
трактора или автомобиля, пневмоколесные, по силовому оборудованию - на
дизельные и комбинированные: дизель-электрические и дизель-гидравлические
(рис.).
Главным параметром
экскаватора принят объем его ковша. На строительстве трубопроводов в основном
получили распространение экскаваторы с емкостью ковша от 0,1 до 0,6 м³.
Одноковшовые экскаваторы
общестроительного назначения получили название универсальных потому, что кроме
рытья траншей и котлованов ими при соответствующем переоборудовании производят
погрузочно-разгрузочные и монтажные работы, забивку свай, корчевку леса,
рыхление мерзлоты, трамбовку, планировку и многие другие работы. Для этого
одноковшовые строительные экскаваторы снабжаются сменным рабочим оборудованием.
Под сменным рабочим оборудованием подразумеваются те части экскаватора,
посредством которых производятся копание и рыхление грунта, подъем грузов,
зачерпывание и перегрузка сыпучих материалов и т.д.
Цепной траншейный
экскаватор - самоходная землеройная машина непрерывного действия, снабженная
рабочим органом в виде бесконечной цепи с навешенными на нее на определенном
расстоянии друг от друга ковшами.
Ковшовая цепь
монтируется на специальной наклонной или вертикальной подъемной раме,
расположенной в задней части тягача.
Вследствие большого
количества шарнирных соединений цепной рабочий орган обладает сравнительно
меньшей жесткостью, более подвержен износу и способен работать на меньших
скоростях, чем роторный.
В связи с тем, что
цепные экскаваторы имеют меньшую производительность и надежность, а также менее
маневренны в рабочем положении по сравнению с роторными траншейными
экскаваторами, они не нашли применения при строительстве магистральных
трубопроводов.
Роторным траншейным
экскаватором называется самоходная землеройная машина, оснащенная рабочим
органом в виде жесткого колеса (ротора) с расположенными по его периметру
ковшами и предназначенная для рытья траншей определенного профиля.
Роторные траншейные
экскаваторы благодаря жесткой конструкции своего рабочего органа способны
разрабатывать более плотные грунты (например, разборную скалу), чем цепные.
Роторный траншейный
экскаватор формирует траншею прямоугольного сечения с вертикальными стенками;
при оснащении его рабочего органа двумя наклоненными ножами-откосниками может
разрабатывать траншею трапецеидального сечения. Производительность экскаваторов
этого типа (при одних и тех же размерах траншеи и одинаковой установленной
мощности двигателя) в два раза выше производительности цепных и в пять-шесть
раз выше производительности одноковшовых экскаваторов.
Рис. 4.10 Экскаватор
гусеничный гидравлический
Одноковшовый экскаватор,
являясь по существу универсальной землеройной машиной, малопроизводителен при
разработке многокилометровых траншей, служащих для укладки магистральных
трубопроводов. Для этой цели необходимы специализированные машины непрерывного
действия. К таким машинам относятся цепные и роторные траншейные экскаваторы,
составляющие класс многоковшовых экскаваторов.
Таблица 4.4. Технические
характеристики экскаватора
|
Показатели
|
Komatsu PC270-7
|
|
|
Вместимость ковша, м³
|
1,3
|
|
|
Наибольшая грузоподъемность кранового оборудования, т
|
-
|
|
|
Габаритные размеры (без рабочего оборудования) м: длина ширина
высота
|
9,79 3,19 3,21
|
|
|
Тип ходового устройства
|
Гусеничный
|
|
|
Скорость передвижения, км/ч
|
5,5
|
|
|
Длина ходовой части, м
|
4,625
|
|
|
Ширина ходовой части, м
|
3,19
|
|
|
Ширина гусеничной ленты, м
|
0,6
|
|
|
Двигатель
|
Komatsu SAA6D102E-2
|
|
|
Мощность двигателя, л.с.
|
179 л.с.
|
|
|
Управление механизмами
|
Гидравлическое
|
|
|
Наибольшая глубина копания, м
|
6,46
|
|
|
Масса экскаватора, кг
|
27350
|
|
|
Давление на грунт, кгс/см²
|
0,56
|
|
Продолжительность цикла, с
|
30
|
|
|
|
|
Техническая
производительность одноковшовых экскаваторов определяется по формуле:
, (4.31)
где q - вместимость ковша, (табл. 4.4);
Кр - коэффициент
разрыхления породы;
Кн - коэффициент
наполнения ковша принимаем равным 1,2 (обратная лопата);ц -
продолжительность цикла, (табл. 4.4);.
м³/ч.
Эксплуатационная
производительность определяется по формуле:
, (4.32)
где КУ - коэффициент,
зависящий от уровня квалификации машиниста экскаватора
(в нашем случае - высокая),
принимаем КУ =0,98;
КВ - коэффициент
использования экскаватора в смену принимаем 0,75
(нагрузка в транспортные средства).
Теоретическая
производительность применяется только как часовая:
(4.33)
Мощность необходимая при
наиболее энергоемкой операции копания грунта можно определить по формуле:
(4.34)
где А - удельная
энергоемкость копания, равная работе, затрачиваемой на разработку 1 м³
грунта/
,
tk
- продолжительность копания;
tц
- продолжительность рабочего цикла, с (табл. 4.4).
kм
- коэффициент использования двигателя при копании с учетом привода
вспомогательных устройств, принимаем 0,75;
η
- коэффициент полезного действия привода и рабочего оборудования, принимаемый
для экскаваторов с гидравлическим приводом (0,52 - 0,64).
=76 л.с.
Полученная мощность не
превышает мощность выбранного экскаватора Komatsu PC270-7 которая составляет
179 л.с. (табл. 4.4), поэтому дальнейший расчет ведем по данному типу
экскаватора.
Количественные расчеты
Рассчитаем количество
смен:
(4.35)
где
-
фактический объем земляных работ;
- производительность
экскаватора в час.
Принимаю 24-ти часовой
рабочий день.
Определяем количество
единиц техники:
, (4.36)
где
-
время на подготовительные работы.
Для капитального ремонта
МТ принимаем 3 одноковшовых экскаватора типа Komatsu PC270-7 для работы в 2
смены по 12 часов.
На примере предыдущих
расчетов, рассчитаем основные рабочие параметры экскаватора гусеничного гидравлического
ET - 25.
Рис. 4.11. Экскаватор ET - 25
Таблица 4.5. Технические
характеристики экскаватора ЕТ-25
|
Показатель
|
Значение
|
|
Вес, т
|
19,5
|
|
Емкость ковша (по SAE), куб. м
|
0,8
|
|
Длина, мм
|
7400
|
|
Ширина, мм
|
4800
|
|
Высота, мм
|
3200
|
|
Двигатель
|
Perkins 1106C-E60TA
|
|
Мощность двигателя, л.с.
|
140
|
|
Продолжительность цикла, с
|
21
|
|
Давление в гидросистеме, МПа
|
28
|
|
Скорость передвижения, км/час
|
4,3
|
|
Удельное давление на грунт, кг/см²
|
0,4
|
Сравнение и обоснование выбора
экскаваторов.
Рис. 4.12. Стоимость капитальных
затрат экскаваторов
Рис. 4.13. Стоимость
эксплуатационных затрат экскаваторов
Рис. 4.14. Мощность экскаваторов
Рис. 4.9. Сравнение количества
требуемой техники для выполнения работ
Проанализировав данные гистограммы,
по таким параметрам как: эксплуатационные и капитальные затраты, мощность и
приняв тот факт, что на выполнение работ достаточно по четыре экскаватора,
можно сделать вывод, что бульдозер Komatsu PC-270-7 не рационален по
сравнению с ET-25.
.3 Трубоукладчики
Одной из основных специализированных
машин, работающих на строительстве и ремонте магистральных трубопроводов,
является трубоукладчик (рис. 4.10).
Трубоукладчиком называется
самоходная грузоподъемная машина, способная перемещаться с грузом на крюке и
служащая для подъема и укладки трубопровода в траншею, а также для выполнения
различных грузоподъемных и монтажных работ (погрузка и разгрузка труб и плетей,
центровка труб при сварке и пр.).
Основное назначение трубоукладчика -
сопровождение очистных и изоляционных машин и укладка изолированного
трубопровода в траншею.
Навесное оборудование включает
стрелу, блочно-талевую систему с крюком, контргруз и лебедку.
Рис. 4.10. Краны - трубоукладчики
Трубоукладчик ТГ-503 чебоксарского
тракторного завода Промтрактор, предназначен для выполнения комплекса работ по
трудоустройству нефтяных и газовых месторождений и при строительстве
магистральных трубопроводов диаметром трубы до 1420 мм (рис. 4.10).
Надежное сцепление гусениц с грунтом
в сочетании с большим тяговым усилием позволяет использовать трубоукладчик в
качестве тягача.
Трубоукладчик состоит из базовой
машины и навесного оборудования. В состав базовой машины (базы) входит
двигатель, трансмиссия, ходовая часть и нижняя рама (шасси) трубоукладчика.
Рис. 4.11. Трубоукладчик ТГ-503
Рабочими движениями трубоукладчика
являются подъем и опускание груза, перемещение трубоукладчика вместе с грузом и
изменение вылета стрелы с грузом.
Таблица 4.6. Двигатели для
трубоукладчиков ТГ-503
|
Тип двигателя трубоукладчика
|
Дизельный двигатель, 4-х тактный, с жидкостным охлаждением, с
газотурбинным наддувом, охлаждением наддувочного воздуха
|
|
Марка двигателей: ТГ-503К ТГ-503Я
|
КТТА19-С, (CUMMINS, США) ЯМЗ - 850,10 (ОА «Автодизель», г.
Ярославль)
|
|
Эксплутационная мощность, кВт
|
ЯМЗ-353, КТТА-388
|
|
Номинальная частота вращения, об/мин
|
1900
|
|
Количество и расположение цилиндров
|
ЯМЗ-12V, КТТА-6Р
|
|
Удельный расход топлива, г/кВт*час
|
ЯМЗ-231, КТТА-227
|
|
Рабочий объем двигателей, л
|
ЯМЗ - 25,86; КТТА - 18,85
|
Гидротрансформатор одноступенчатый,
с центростремительной турбиной, литыми рабочими колесами, снабженный
принудительной системой подпитки, смазки и охлаждения рабочей жидкости.
Гидротрансформатор обеспечивает использование максимального крутящего момента
двигателя и бесступенчатое его регулирование в зависимости от нагрузок на
рабочих органах трубоукладчика.
Трансмиссия состоит из планетарной
коробки передач ПКП, согласующего редуктора и главной передачи, выполненных в
виде единого силового блока. Коробка передач ПКП - трехскоростная, полностью
реверсивная с переключением передач под нагрузкой гидроуправляемыми дисковыми
фрикционными муфтами.
Механизмы поворота и тормоза,
трубоукладчиков ТГ-503
Непостоянно замкнутые остановочные
тормоза выполнены в виде многодисковых муфт, работающих в масле, с
гидравлическим управлением и принудительной смазкой. Выполнены в одном блоке и
обеспечивают легкое и плавное управление трубоукладчиком.
Бортовые передачи двухступенчатые,
I-я ступень - шестерни внешнего зацепления, II-я ступень - планетарная (с
остановленной коронной шестерней). Для облегчения замены в полевых условиях
ведущая звездочка выполнена из секторов, которые крепятся болтами.
Таблица 4.7. Характеристики ходовой части
|
Количество опорных катков гусеницы
|
18 катков (по 9 с каждой стороны)
|
|
Количество поддерживающих роликов гусениц
|
4 ролика (по 2 с каждой стороны)
|
|
Количество звеньев в одной гусенице
|
48
|
|
Ширина башмака гусеницы, мм
|
860
|
|
Высота грунтозацепа гусениц, мм
|
90
|
|
Шаг звена гусеницы, мм
|
250
|
|
Площадь опорной поверхности, м²
|
7,31
|
Кабина одноместная с дополнительным
местом, установленная на резиновых амортизаторах, с защитой стекол от обрыва
тросов. Шумопоглащающая обивка, обеспечивающая максимальную обзорность, площадь
остекления стеклопакетами, исключающими обледенение стекол, подрессоренное,
регулируемое под индивидуальный вес и рост оператора сиденье, вентиляционная
установка с калориферным обогревателем обеспечивают оператору комфортные
условия труда. Переключение передач и направления движения осуществляются одним
рычагом. Управление кинематически связанными бортовыми фрикционами и тормозами
производится двумя рычагами, расположенными перед оператором. Управление
лебедками подъема / опускания крюка и стрелы, а также механизмом регулирования
положения противовеса осуществляется тремя рычагами. Все рычаги управления расположены
в зоне комфорта.
Таблица 4.8. Заправочные емкости
трубоукладчика ТГ-503
|
Топливный бак трактора, л
|
760
|
|
Система охлаждения трактора, л
|
196
|
|
Система смазки двигателя, л
|
ЯМЗ-75, КТТА-59
|
|
Трансмиссия с гидросистемой привода навесного оборудования, л
|
385
|
|
Бортовая передача трактора, л
|
40х2
|
Погрузочное оборудование с
гидростатическим независимым приводом для стрелы и крюка, обеспечивающим два
скоростных диапазона. Тормоза лебедок погрузочного оборудования постоянно
замкнутые многодисковые, работающие в масле с гидравлическим управлением и
принудительной смазкой.
Таблица 4.9. Характеристики погрузочного
оборудования
|
Скорость крюка погрузочного оборудования, м/мин: Подъем
опускание погрузочного оборудования: -1 передача- 2 передача
|
3,5/4,1 10,6/12,5
|
|
Диаметр/ширина барабана крюка-стрелы Длина стрелы погрузочного
оборудования
|
400/320-400/320 8,9
|
|
Масса противовеса погрузочного оборудования с рамой, кг
|
11 317
|
|
Длина/диаметр каната стрелы погрузочного оборудования, м/мм
|
82/21
|
|
Длина/диаметр каната стрелы погрузочного оборудования, м/мм
|
100/21
|
|
Кратность полиспастов погрузочного оборудования: грузового
стрелового
|
8 6
|
|
Масса стрелы погрузочного оборудования, кг
|
2 852
|
Таблица 4.10. Технические
характеристики и габариты трактора-трубоукладчика ТГ-503
|
Грузоподъемность погрузочного оборудования, т - на плече 2,5 м -
на плече 1,22 м
|
50 102
|
|
Скорость движения трактора, км/час - вперед - назад
|
0-12,3 0-14,6
|
|
Момент устойчивости трубоукладчика, тм
|
125
|
|
База тракторов - трубоукладчиков, мм
|
4 250
|
|
Колея тракторов - трубоукладчиков, мм
|
2 700
|
|
Дорожный просвет трактора, мм
|
650
|
|
Масса трубоукладчика эксплутационная, кг
|
68 685
|
Рис. 4.12. Схемы расположения
трубоукладчиков и машин в изоляционно-укладочной колонне для трубопроводов
различных диаметров: а - 529 мм; б - 720-1020 мм; в - 1220-1420 мм; ОЧ -
очистная машина; ИЗ - изоляционная машина; СТ - сушильная установка; l1,
l2, l3 - расстояния между трубоукладчиками
Для удержания при подъеме,
перемещения и укладки в траншею изолированного трубопровода методом
периодического перехвата, а так же труб и секций длиной до 36 метров при сварке
трубопровода в «нитку» применяются полотенца мягкие ПМ (рис. 4.13).
Рис. 4.13 Полотенца мягкие для
удержания трубопровода
Укладку трубопровода будем
производить 3-мя трубоукладчиками.
4.4 Машины для
транспортировки труб
Для доставки труб в процессе
строительства или капитального ремонта магистрального трубопровода используют
специальные автомобильные поезда - трубовозы и плетевозы.
Трубовозом называется автопоезд,
предназначенный для перевозки труб длиной до 12 м (рис. 4.14).
Трубовозы в основном перевозят трубы
от мест их разгрузки из железнодорожного или водного транспорта до
механизированных трубосварочных баз, где отдельные трубы сваривают в плети
длиной до 48 м. Дорожные условия в этих случаях, как правило, лучше, чем на
последующем этапе - перевозке плетей от сварочной базы до строительной полосы,
совершаемой плетевозами.
Рис. 4.14. Трубовоз
Трубовоз состоит из тягового
автомобиля и роспуска, соединенных дышлом и канатами крестовой сцепки. На раме
тягового автомобиля, вместо кузова, укреплено специализированное навесное
оборудование. Оно включает в себя сварной надрамник с предохранительным щитом в
передней части, предохраняющим кабину водителя от повреждения трубами.
Надрамник крепится к лонжеронам рамы автомобиля стремянками (равномерно с
каждой стороны). В местах их установки для предохранения рамы автомобиля от
смятия положены деревянные бруски. Аналогичные бруски имеются также между
лонжеронами рамы и продольными швеллерами надрамника. На надрамнике укреплен
поворотный коник, представляющий собой вращающуюся на вертикальной оси
горизонтальную балку с деревянным брусом, на который укладывают перевозимые
трубы. На балке коника устанавливаются и закрепляются упорные стойки, удерживающие
трубы от скатывания с коника.
Выбираем тягач трубовозный 5960-10-06
на базе шасси Урал 55571-1252-41, предназначенный для
транспортировки длинномерных грузов (труб, трубобуров и т.д.) длиной от 6 до 12
м, по всем видам дорог и местности, в составе автопоезда с двухосным прицепом
роспуском трубовозным модели 89731-0000010-10. Тягач трубовозный оборудован
механизмом погрузки и разгрузки путем подтягивания груза тросами по наклонным
накатам.
4.5
Подъемно-разгрузочные машины
Автокран предназначен для погрузо-разгрузочных
работ. В нашем случае он необходим для погрузки и разгрузки труб,
электросварочного оборудования и т.п. в период ремонта магистрального
трубопровода.
Требуемая грузоподъемность крана
определяется по формуле
,
где
-
вес монтируемого элемента, кг;
- вес оснастки (стропы,
траверсы), принимаем 30 кг.
Определим вес трубы по
формуле [11, стр. 34]:
где n - коэффициент надежности по нагрузке (n
= 1,1);
d
- диаметр трубопровода равный 1,22 м
- толщина стенки трубы
(
=
8∙ 10-3 м);
- удельный вес стали (
).
кг,
Таким образом, требуемая
грузоподъемность крана должна быть равна не менее:
кг. (4.37)
Таблица 4.11. Технические
характеристики автокранов
|
Показатели
|
КС-45717-1
|
КС-35719-3-02
|
КС-55713-3
|
|
Конструкция стрелы
|
телескопическая, 3-х секционная
|
телескопическая, 3-х секционная
|
телескопическая, 3-х секционная
|
|
Грузоподъемность для работы с грузами, т
|
25.0
|
16
|
25.0
|
|
Продолжение таблицы 4.11. Технические характеристики автокранов
|
|
Грузоподъемность для работы с ядовитыми и взрывоопасными грузами,
т
|
20.0
|
-
|
20.0
|
|
Длина стрелы, м
|
9.0 - 21.0
|
8 - 18
|
9.7 - 21.7
|
|
Длина гуська, м
|
7
|
7.5
|
|
|
Вылет при максимальной грузоподъемности, м
|
3.2
|
3.2
|
-
|
|
Высота подъема, м
|
3.0 - 21.3
|
18.4
|
-
|
|
Высота подъема при максимальном вылете
|
8.0
|
|
|
|
Максимальный грузовой момент, тс·м
|
75
|
51.2
|
80
|
|
Производительность крановой установки
|
|
Скорость подъема груза массой до 4.5 т, м/мин
|
13.6
|
13
|
12.0
|
|
Скорость подъема груза подъема / опускания груза, м/мин
|
6.8
|
-
|
5.0
|
|
Скорость посадки, м/мин
|
0.2
|
не более 0.3
|
0.3
|
|
Частота вращения лебедки, об/мин
|
1.9
|
-
|
0.15 - 1.4
|
|
Двигатель
|
|
Модель
|
ЯМЗ-236НЕ2, дизельный
|
ДЯМЗ-236НЕ, дизельный
|
ЯМЗ-236НЕ2, дизельный
|
|
Мощность, кВт (л.с.)
|
169 (230)
|
-
|
169 (230)
|
|
Общие характеристики
|
|
Полная масса, кг
|
22 210
|
18770
|
22 200
|
|
Нагрузка на переднюю ось, кг
|
6 050
|
-
|
-
|
|
Нагрузка на заднюю тележку, кг
|
16 160
|
-
|
-
|
|
Максимальная скорость при полной массе, км/ч
|
60
|
до 70
|
70
|
|
Габаритные размеры в транспортном положении, мм
|
10 900 х 2 500 х 3 650
|
10100 х 2 500 х 3 600
|
12 000 x 2 500 х 3 600
|
По таблице (4.11) выбираем кран
автомобильный КС-35719-3-02 грузоподъемностью 16 т, смонтированный на трехосном
шасси автомобиля-вездехода Урал 5557, оснащенном системами регулировки давления
в шинах и блокировки колесных дифференциалов (рис. 7.3.1). Кран предназначен
для погрузо-разгрузочных и строительно-монтажных работ на рассредоточенных
объектах. Система подкачки шин позволяет на ходу изменять давление в камерах
колес в зависимости от дорожного покрытия, тем самым, увеличивая проходимость
машины. Высокая проходимость шасси позволяет использовать кран на объектах,
находящихся в труднодоступных местах с плохими подъездными условиями, в том
числе на строительстве нефте- и газопроводов, разработках месторождений.
Хорошая маневренность и небольшие габариты позволяют также использовать его в
стесненных условиях современных городов.
Привод крановой установки
осуществляется посредством аксиально-поршневого гидронасоса, который приводится
во вращение от двигателя базового автомобиля через раздаточную коробку и
дополнительную коробку отбора мощности. Крановые механизмы имеют индивидуальный
привод с независимым управлением от гидромоторов и гидроцилиндров.
Гидравлическая система крановой установки обеспечивает плавное управление всеми
механизмами с широким диапазоном регулирования скоростей рабочих операций,
обеспечивает возможность одновременного совмещения нескольких крановых
операций.
Трехсекционная телескопическая
стрела длиной 8-18 м. Обеспечивает крану компактность и маневренность при
переездах, обширную рабочую зону и большую высоту перемещения груза при работе.
Для увеличения зоны обслуживания и размеров подстрелового пространства кран
может комплектоваться решетчатым гуськом длиной 7,5 м.
Автокран оборудован кабиной
крановщика, отвечающей последним требованиям по комфортности и обзорности:
задвижная дверь купейного типа, солнцезащитные шторки на лобовом и верхнем
стеклах, отопитель, вентилятор, откидной задний люк. Надежную работу автокрана
обеспечивают импортные комплектующие, которые не требуют замены и ремонта в
течение всего срока службы крана. Безопасную работу крана обеспечивает комплекс
приборов и устройств, в том числе, микропроцессорный ограничитель нагрузки с
цифровой индикацией параметров работы на дисплее в кабине машиниста. Прибор в
автоматическом режиме осуществляет защиту крана от перегрузки и опрокидывания,
оснащен системой координатной защиты кран, необходимой для работы в стесненных
условиях, имеет встроенные блок телеметрической памяти («черный ящик») и модуль
защиты крана от опасного напряжения (МЗОН) для работы вблизи линий электропередач.
Рис. 4.15. Автокран КС-35719-3-02
«Клинцы»
.6 Автомастерские
Автомастерские ПАРМ применяются для
проведения ремонтных работ и профилактического обслуживания автомобильной,
тракторной, дорожно-строительной и другой самоходной техники в полевых
условиях. Передвижные мастерские ПАРМ оснащаются оборудованием для дуговой
электросварки, газовой резки, выполнения большинства слесарных операций при
сборке-разборке и ремонте узлов и агрегатов. ПАРМы комплектуются токарным
станком отечественного или импортного производства (по заказу).
Автофургон ПАРМа утеплен
пенополистиролом, имеет автономные отопительные установки, дверные проемы
герметизируются трубчатыми уплотнителями. Окна автофургона выполнены из
пластикового профиля и двойного или тройного стеклопакета. Замки дверей -
транспортного исполнения, с двумя положениями фиксации.
Передвижные мастерские ПАРМ
выпускаются в цельнометаллических фургонах (КУНГах), смонтированных на
различных шасси автомобилей УРАЛ. Конструкция автофургона для ПАРМ
предусматривает установку внутри него различного оборудования общего и
специализированного назначения, предназначенного для выполнения как основных,
так и дополнительных функций.
Передвижная мастерская может
выполнять следующие основные виды работ: токарные работы, слесарные работы,
сверлильные, шлифовальные работы, газоэлектросварочные работы,
смазочно-заправочные работы, шиномонтажные работы.
Таблица 4.12. Модельный ряд автомастерских ПАРМ
|
Модификация ПАРМ
|
Базовое шасси
|
Описание модификации
|
|
ПАРМ 4895-0А
|
УРАЛ 4320 (3) - 1112-41
|
Короткобазное шасси УРАЛ позволяет разместить кузов фургон
длиной 3700-4800 мм (В некоторых случаях требуется изготовление нового ДЗК).
В кузов-фургон может быть установлен токарный станок либо один отсек может
быть разделен на два перегородкой.
|
|
ПАРМ 4895-3А
|
КАМАЗ 43114 (18)
|
Бескапотная кабина шасси КАМАЗ оставляет больше пространства для
кузова-фургона, в котором можно разместить как токарный станок, так и места
для отдыха персонала, а также большое количество оборудования.
|
По таблице (4.12.) выбираем
передвижную автомастерскую ПАРМ 4895-0А (рис. 4.16).
Рис. 4.16. ПАРМ 4895-0А
4.7 Топливозаправщики
Учитывая отдаленность ремонта
магистрального трубопровода, постоянно возникает необходимость в топливной
дозаправке машин, участвующих в разработке траншеи и последующей укладки
трубопровода. Для доставки на место строительства, хранения, перекачивания
светлых и темных МТв используют автотопливозаправщики.
Топливозаправщик на базе автомобиля
УРАЛ применяется для доставки топлива и масел в отдаленные районы, небольшие
аэродромы, полевые станы, а также заправки автотракторной техники при помощи
дозаторов или топливораздаточных колонок.
Выбираем автотопливозаправщик
АТЗ - 6,5-4320 (рис. 7.5.1), технические характеристики которого представлены в
таблице 7.5.1.
Рис. 4.17. Автотопливозаправщик АТЗ
- 6,5-4320
Автоцистерна - топливозаправщик
оборудована топливораздаточным пистолетом, счетчиком и насосом для наполнения и
слива цистерны. Цистерна топливозаправщика обычно имеет один отсек для одного
вида топлива, но часто встречаются топливозаправщики с двумя и более отсеками,
например: топливозаправщик на три отсека - для дизельного топлива, бензина и
моторного масла.
Отдельные отсеки оборудуются
собственными устройствами учета отпуска жидкостей.
Таблица 4.13. Техническая характеристика автотопливозаправщика АТЗ - 6,5-4320
|
Базовое шасси
|
Урал-4320
|
|
Двигатель
|
ЯМЗ-236НЕ2
|
|
Мощность, кВт (л.с.)
|
169 (230)
|
|
Колесная формула
|
6*6
|
|
Вместимость цистерны, л
|
6500
|
|
Габаритные размеры, мм, не более длина*ширина* высота
|
7630*2500*2900
|
|
Насосная установка - производительность, л/мин - глубина
самовсасывания, м, не менее
|
1СВН-80А 580 6,5
|
|
Время заполнения цистерны насосом, мин
|
18
|
|
Время слива из цистерны, мин, не более - при помощи насоса -
самотеком
|
15 28
|
|
Полная масса, кг, не более
|
15890
|
4.8 Транспортные машины
для доставки персонала к месту работы на трассе
Доставку рабочего персонала к месту
работы на трассе выполняют специальные автомобили обладающие, как правило,
повышенной проходимостью.
Таблица 4.14 Техническая характеристика автобусов специальных
|
Показатели
|
3255-0010-41
|
32551-0010-41
|
32552-0010-41
|
|
Весовые параметры
|
|
Полная масса, кг
|
14 100
|
12 800
|
11 750
|
|
Снаряженная масса, кг
|
11 750
|
11 050
|
10 000
|
|
Двигатель
|
|
Модель
|
3255-0010-41 - ЯМЗ-236НЕ2 (Евро-2)
|
32551-0010-41 - ЯМЗ-236НЕ2 (Евро-2)
|
32552-41 - ЯМЗ-236НЕ2 (Евро-2)
|
|
Номинальная мощность, кВт (л.с.)
|
3255-0010-41 - 169 (230)
|
32551-0010-41 - 169 (230)
|
32552-41 - 169 (230)
|
|
Колеса
|
|
Модель шин
|
ИД-П284
|
ОИ-25
|
ИД-П284
|
|
Размер шин
|
1200*500-508
|
1260*370-508
|
1200*500-508
|
|
Описание пассажирского салона
|
|
Количество мест
|
30
|
21
|
22
|
|
Система отопления
|
Комбинированная
|
Комбинированная
|
Комбинированная
|
|
Распределение нагрузки полной массы
|
|
Задняя тележка, кг
|
9 310
|
8 455
|
7 227
|
|
Передняя ось, кг
|
4 790
|
4 345
|
4 523
|
|
Распределение нагрузки снаряженного
|
|
Задняя тележка, кг
|
7 005
|
6 750
|
5 516
|
|
Передняя ось, кг
|
4 745
|
4 300
|
4 484
|
|
Характеристики транспортного средства при полной массе
|
|
Внешний габаритный радиус поворота, м
|
11.4
|
11.4
|
11.6
|
|
Максимальная скорость, км/ч
|
85
|
85
|
85
|
|
Преодолеваемый подъем, %
|
60
|
60
|
58
|
|
|
|
|
|
По таблице (4.14.) выбираем вахтовый
автобус Урал 3255-0010-41 (3255-0010-01) предназначен для перевозки людей по
всем видам дорог и местности (рис. 4.18). Закрытый, однодверный кузов
фургонного типа, металлический с термоизоляцией. Сиденья полумягкие,
травмобезопасные. Радиооборудование - радиоприёмник, переговорное устройство.
Система отопления: основная (от автономного жидкостного подогревателя),
аварийная (с подключением жидкостной системы охлаждения двигателя к основной
системе отопления). Естественная вентиляция - через окна с форточками и люки
крыши.
Рис. 4.18. Автобус специальный Урал
3255-41
4.9 Электросварочное
оборудование
Для проведения капитального ремонта
МТ в полевых условиях чаще всего используют электродуговую сварку в силу
универсальности, оперативности и возможности получения высококачественных
соединений.
В качестве электросварочного
оборудования выбираем агрегат электросварочный передвижной «АЭП-52» ФЭБ (рис.
4.13).
Рис. 4.19. Агрегат электросварочный
передвижной «АЭП-52» ФЭБ
На площадке, прикрепленной к задней
части трактора, крепится генератор БГ-100 и укрытие. Передача вращения
осуществляется через редуктор. В блоке питания, установленном на санях,
размещены: выпрямитель сварочный многопостовой ВДМ-1201, электропечь, верстак с
тисками, шкаф управления. На санях установлены реостаты РБ-302. На рабочих
местах регулирование сварочного тока осуществляется переносными балластными
реостатами
Технические характеристики агрегата
электросварочного передвижного «АЭП-52» ФЭБ представлены в табл. 4.15.
Таблица 4.15. Технические
характеристики Агрегат электросварочный передвижной «АЭП-52» ФЭБ
|
Базовый тягач
|
Т10.1111-12
|
|
Количество сварочных постов, шт.
|
4
|
|
Источник питания переменным током: род тока (с изолированной
нейтралью) 3-50 Гц выходная мощность, кВт, не более потребляемая мощность,
кВт, не более мощность, потребляемая вспомогат. оборудованием, кВт
|
400 100 100 8
|
|
Источник питания сварочным током: продолжительность включения
(ПВ), % номинальный сварочный ток, А, не менее сварочное напряжение, В, не
менее ручное регулирование силы тока
|
60 1000 60 ступенчатое
|
|
Грузоподъемность стрелы, Н (кГс), не более
|
4900 (500)
|
Для защиты сварщиков от атмосферных
осадков агрегат оснащен брезентовой палаткой на металлическом каркасе, которая
подвешивается на крюке поворотной гидрофицированной стрелы.
Агрегат предназначен для питания
сварочным током четырёх постов при электродуговой сварке магистральных
трубопроводов в полевых условиях, а также для питания вспомогательного
оборудования, используемого при сборочно-сварочных операциях. Может быть
использован в качестве передвижной электростанции мощностью до 100 кВт. Агрегат
состоит из электростанции и блока питания.
Трактор Т10.1111-12 является базой
электростанции и служит для транспортирования блока питания.
.10 Труборезные машины
Рис. 4.20 Машина для резки труб МРТ
«Волжанка»
Вырезка дефектного участка
производится труборезными машинами с приводами во взрывобезопасном исполнении с
частотой вращения режущего инструмента не более 60 об/мин, и подачей не более
30 мм/мин. Инструкции по эксплуатации труборезов разрабатываются на основании
инструкций и паспортов предприятий-изготовителей, правил и норм безопасности,
включают в себя требования по транспортировке, монтажу на трубопроводе и
подготовке к работе, выполнению резки, демонтажу и хранению и утверждаются
главным инженером.
Вырезка дефектного участка
осуществляться одновременно двумя труборезными машинами (плюс одна в резерве).
Труборезные машины устанавливаются на трубе согласно инструкций по эксплуатации
и в соответствии со схемой вырезки «катушки» (рис. 4.21).
Рис. 4.21. Схема безогневой вырезки
участка трубопровода труборезами: 1 - рабочий котлован; 2 - трубопровод; 3 -
труборезы; 4 - пульт управления труборезом; 5 - провода заземления машинок
труборезов со штырями; 6 - шунтирующая перемычка
Работы при резке труб следует
проводить с соблюдением следующих требований и в последовательности:
проверить и убедиться в полной
исправности и комплектности применяемого оборудования до начала работ;
разметить место реза и установить
труборез на трубопровод, при монтаже удерживать его грузоподъемным механизмом
до тех пор, пока не будут натянуты цепи;
установить электрощит управления на
расстоянии не менее 30 м от места проведения работ;
выполнить расключение силовых
кабелей, заземлить труборез и пульт управления;
проверить силовые кабели на
отсутствие внешних повреждений;
подготовить емкость с охлаждающей
жидкостью вместимостью 50 л для обеспечения постоянного охлаждения фрезы во
время резки;
застопорить вырезаемую «катушку»
(арматуру) грузоподъемным механизмом;
произвести вырезку «катушки» в
соответствии с инструкцией по эксплуатации трубореза, при движении трубореза по
трубопроводу не допускать попадания силового и заземляющего кабелей,
шунтирующих перемычек в зону работы фрезы, не допускать натяжки кабеля;
для избежания защемления режущего
диска фрезы при резке труб, вследствие освобождающихся напряжений, необходимо
вбивать клинья в надрез через каждые 250…300 мм на расстоянии 50…60 мм от
режущего инструмента. Клинья должны быть изготовлены из искробезопасного
материала.
Грузоподъемные работы по монтажу и
демонтажу труборезов, поддержке и удалению вырезаемых деталей выполнять с
помощью грузоподъемных механизмов в соответствии с Правилами устройства и
безопасной эксплуатации грузоподъемных кранов.
Работа по вырезке «катушек»
безогневым методом отрезными машинками запрещается:
при отсутствии предохранительного
кожуха на фрезе;
без равномерного постоянного
охлаждения фрезы;
без заземления пульта управления,
трубореза, передвижной электростанции;
при наличии людей в рабочем
котловане, не занятых в работе по вырезке «катушки»;
при расстоянии между стенкой
котлована и труборезом менее 0,5 м;
при скорости вращения фрезы более 60
об/мин.
После окончания работ по вырезке
дефектного участка трубы, задвижки или соединительного элемента труборезные
машинки демонтируются, ремонтный котлован освобождается от вырезанных
«катушек», деталей и зачищается от замазученности.
Машины изоляционные предназначены
для нанесения грунтовки, липких лент и комбинированных покрытий типа
«Пластобит» на наружную поверхность магистральных трубопроводов диаметрами
317-1220 мм при капитальном ремонте с заменой изоляции и ремонте с заменой
труб.
Рис. 4.22. Изоляционная машина
Грунтовка подается на поверхность
трубопровода из бака и растирается полотенцами, закрепленными на переднем
роторе. Нанесение изоляционной ленты происходит за счет вращения шпули вокруг
трубопровода и поступательного движения машины. Машина может монтироваться на
условно бесконечном трубопроводе. Управление машиной осуществляется с бровки
траншеи при помощи пульта управления, расположенного на телескопической штанге.
По согласованию с Заказчиком машина
может быть поставлена в различных исполнениях:
с поджимным ходовым механизмом (для
обеспечения возможности нанесения рулонных изоляционных материалов в горных
условиях с уклоном трубопровода до 35 градусов);
без поджимного механизма (для работы
на равнинной местности с уклоном трубопровода до 8 градусов);
для нанесения всех видов
изоляционных материалов;
для нанесения только рулонных
изоляционных материалов;
с комплектом ЗИП по усмотрению
Заказчика.
Таблица 4.16. Технические характеристики
изоляционных машин
|
Основные параметры
|
ИМГ-530
|
ИМ-820У
|
ИМ-1220У
|
|
Диаметр изолируемого трубопровода, мм
|
377, 426, 530
|
630, 720, 820
|
1020, 1220
|
|
Максимальная производительность, м/ч
|
580
|
480
|
400
|
|
Мощность электродвигателя, кВт
|
5,5
|
11,0
|
15,0
|
|
Объем битумной мастики в емкости, куб. м
|
0,3
|
0,6
|
0,8
|
|
Температура битумной мастики, оС
|
120 - 180
|
120 - 180
|
145 - 170
|
|
Усилие натяжения рулонных материалов, кгс/см
|
1,0 - 1,5
|
1,0 - 1,5
|
1,0 - 1,5
|
|
Габаритные размеры, мм (длина х ширина х высота)
|
2450 х 1230 х 2100
|
2535 х 1570 х 2450
|
2700 х 2000 х 2600
|
|
Масса, кг
|
1600
|
2500
|
3000
|
4.12 Технология герметизации полости магистральных трубопроводов
После освобождения трубопровода от
перекачиваемого нефтепродукта, вырезки дефектной арматуры или катушки до
выполнения огневых и сварочно-монтажных работ внутренняя полость трубопровода
должна быть перекрыта (рис. 4.23).
Рис. 4.23. Схема установки герметизаторов: А - расстояние от
открытого торца до герметизатора - 1000 мм; * - защитный экран применяется при
установке ПЗУ
Внутренняя полость трубопровода
линейной части магистральных трубопроводов Ду 400 мм и более должна
перекрываться герметизаторами из резинокордной оболочки типа «Кайман» и
пневматическими заглушающими устройствами (ПЗУ).
Герметизаторы «Кайман»
предназначены для временного перекрытия внутренней полости трубопровода, опорожненного
от нефти, нефтепродуктов или газа с целью предотвращения выхода горючих газов
при ремонтно-восстановительных работах, выполняемых методом вырезки катушки
(рис. 4.24). Установка герметизаторов осуществляется через открытые
концы трубы после вырезки арматуры, катушки или дефектного участка
трубопровода.
Рис. 4.24. Перекрывающее устройство
«Кайман»: 1 - корпус; 2 - герметизирующая оболочка; 3 - элемент центрирующий
Герметизатор ПЗУ представляет собой
замкнутую резинокордовую оболочку с металлическим вентилем в одном из днищ для
подачи в оболочку сжатого воздуха (инертного газа) и предназначен для
временного перекрытия внутренней полости трубопровода, с целью предотвращения
выхода взрывоопасных и горючих паров при ремонтно-восстановительных работах на
линейной части магистральных трубопроводов.
Рис. 4.25. Пневматическое
перекрывающее устройство ПЗУ: 1 - ушки; 2 - оболочка; 3 - ниппель
При ремонте с заменой участков
технологических трубопроводов НС и КС, а также камер приема-пуска средств
очистки и диагностики (СОД), тройниковых узлов, резервных ниток подводных
переходов без камер приема-пуска для герметизации внутренней полости
трубопровода может применяться глина.
Выполнение работ по герметизации
трубопроводов должно осуществляться по наряду-допуску и проекту производства
работ (ППР).
В ППР и наряде-допуске должен быть
указан способ перекрытия, вид герметизаторов, применяемых для герметизации
каждого участка трубопровода.
Герметизаторы удаляются с места
проведения ремонтных работ после их окончания потоком перекачиваемого
нефтепродукта до камер приема-пуска СОД, которые используются для приема
герметизаторов.
С целью гарантированного определения
местоположения герметизаторов «Кайман» при движении их по трубопроводу, после
завершения ремонтных работ и заполнения трубопровода, каждый герметизатор
должен быть оснащен трансмиттером.
Герметизаторы ПЗУ должны быть
оборудованы устройством для контроля и регулирования давления (УКРДВ). После
окончания сварочных работ и при наличии положительных результатов
дефектоскопического контроля сварных стыков воздух из ПЗУ должен быть спущен,
давление снижено и УКРДВ должно быть демонтировано. Отверстие в трубопроводе
для установки устройства должно быть заглушено металлической пробкой и
обварено.
Герметизаторы должны проверяться на
комплектность, наличие маркировки и исправность и пройти визуальный контроль.
Перед установкой на стенде или после установки в трубопровод герметизаторы
должны быть испытаны на прочность и плотность.
Количество одновременно принимаемых
герметизаторов должно определяться конструктивными размерами и вместимостью
камеры приема СОД.
При врезке деталей на месте
выполнения работ должно быть не менее 2-х резервных герметизаторов на каждый
диаметр ремонтируемого трубопровода.
При концентрации паров газов ниже
0,01% объемных единиц (300 мг/м³) рабочее место считается подготовленным к выполнению огневых
работ и подгонке катушки.
Контроль за состоянием газовоздушной
среды должен производиться через отверстия диаметром 8…12 мм, просверленные в
верхней образующей трубы на расстоянии 80…150 мм от герметизатора в сторону
катушки у каждого стыка на расстоянии не менее 100 мм от продольных и
поперечных сварных швов.
По завершению ремонтных работ при
заполнении трубопровода нефтью следует организовать контроль за движением
герметизирующих устройств по трубопроводу до момента их поступления в камеру
приема СОД.
Для контроля прохождения
герметизаторов по нефтепроводу должны быть определены контрольные пункты, по
которым определяется время прохождения и их фактическая скорость движения.
4.13 Итоговый комплект
технологического оборудования для проведения капитального ремонта
магистрального трубопровода
При капитальном ремонте
магистрального трубопровода, важно использовать надежное и современное
оборудование. Это влияет на будущую продолжительность бесперебойной работы
трубопровода, а так же на качество и скорость выполнения работ. Большую роль
играет и экономическая составляющая, так как многое современное оборудование
требует большие экономические затраты, как капитальной составляющей, так и
эксплуатационной. Поэтому важно учитывать все параметры техники и подбирать
соответствующую данным работам.
Для выполнения капитального ремонта
магистрального трубопровода диаметром 1220 мм, протяженностью 10 км, необходимо
привлечь следующую технику:
Таблица 4.17 Комплект оборудования
для проведения КР
|
№ п.п
|
Наименование оборудование
|
Марка
|
Вид работ
|
Кол-во, шт.
|
|
1
|
Бульдозер
|
ЧТЗ М10т
|
Перемещение грунта
|
1
|
|
2
|
Экскаватор
|
ET
- 25
|
Погрузка грунта
|
4
|
|
3
|
Трубоукладчик
|
ТГ-503
|
Укладка трубопровода
|
3
|
|
4
|
Тягач трубовозный
|
Урал 55571-1252-41
|
Доставка труб
|
2
|
|
5
|
Автокран
|
КС-35719-3-02
|
Погрузо-разгрузочные работы
|
2
|
|
6
|
Топливозаправщик
|
АТЗ - 6,5-4320
|
Заправка техники
|
1
|
|
7
|
Электросварочный агрегат
|
АЭП-52 ФЭБ
|
Питание сварочным током
|
1
|
|
8
|
Автобус специальный
|
Урал 3255-0010-41
|
Доставка персонала
|
3
|
|
9
|
Труборезная машина
|
МРТ «Волжанка»
|
Резка труб
|
3
|
|
10
|
Герметизатор
|
«Кайман»
|
Перекрытие полости трубопровода
|
3
|
5 Динамика ежегодных затрат
на капитальный ремонт трубопровода
.1 Расчёт затрат на
выполнение капитального ремонта
Таблица 5.1 План капитального
ремонта за 2010-2011 гг
|
№
|
Финансируемые объекты по кап. ремонту
|
Ед.изм.
|
2010 год
|
2011 год
|
% выполнения
|
|
|
|
Факт
|
план
|
факт
|
|
|
1
|
Линейная часть, всего
|
|
15911,4
|
22597
|
22109
|
98
|
|
1.1
|
Устранение дефектов
|
тыс. руб.
|
9632
|
5706
|
5327
|
93
|
|
|
шт.
|
306
|
144
|
134
|
|
|
1.2
|
Предремонтное обследование, всего
|
тыс. руб.
|
582
|
588
|
588
|
100
|
|
|
км.
|
75
|
75
|
75
|
|
|
1.3
|
Подводные переходы (приборное обследование)
|
тыс. руб.
|
1109
|
-
|
-
|
|
|
|
км.
|
254
|
-
|
-
|
|
|
1.4
|
Обустройство трассы
|
тыс. руб.
|
50
|
5422
|
5422
|
100
|
|
1.5
|
Кап.ремонт автотракторной техники
|
тыс. руб.
|
2991
|
4139
|
4139
|
100
|
|
|
ед.
|
57
|
20
|
20
|
|
|
1.6
|
Электроснабжение
|
тыс. руб.
|
220
|
484
|
484
|
100
|
|
|
км.
|
39
|
41
|
41
|
|
|
1.7
|
ЭХЗ
|
тыс. руб.
|
-
|
4293
|
4293
|
100
|
|
|
км.
|
-
|
13
|
13
|
|
|
1.8
|
Линейная телемеханика
|
тыс. руб.
|
830
|
856
|
830
|
97
|
|
1.9
|
Прочие затраты
|
тыс. руб.
|
497,4
|
1109
|
1026
|
93
|
|
2
|
Резервуарные парки
|
тыс. руб.
|
3100
|
958
|
958
|
100
|
|
|
шт./м³
|
1/5
|
1/10
|
1/10
|
|
|
3
|
Телемеханика, автоматика и ВТ
|
тыс. руб.
|
770
|
540
|
540
|
100
|
|
4
|
Система измерения количества и качества сырья
|
тыс. руб.
|
39
|
-
|
-
|
-
|
|
5
|
Механо-технологическое оборудование
|
тыс. руб.
|
2124
|
855
|
853
|
99,7
|
|
6
|
Энергетическое оборудование
|
тыс. руб.
|
1259
|
2639
|
2639
|
100
|
|
7
|
Промсооружение
|
тыс. руб.
|
51561
|
8367
|
8367
|
100
|
|
8
|
Объекты СКБ
|
тыс. руб.
|
1603
|
3500
|
3473
|
99,2
|
|
Итого
|
тыс. руб.
|
74352
|
39456
|
38940
|
98,7
|
По данным из таблицы видно, что план
по капитальному ремонту линейной части в денежном выражении выполнен на 98%, на
это повлияло не выполнение плана по устранению дефектов на 7%. В 2011 году была
проведена электрохимическая защита 13 км. трассы, также в 2011 году увеличились
прочие затраты на 528,6 тыс. руб. это в два раза больше чем в 2010 году.
Увеличиваются затраты на ремонт автотракторной техники. За 2010 год из выполненных
объемов работ на сумму 38940 тыс. руб., собственными силами Нижневартовского
УМН освоено 19313 тыс. руб.
Также в 2010 году проводилась
внутритрубная диагностика линейной части и подводных переходов трубопроводов
Усть-Балык-Курган-Уфа - Альметьевск - 1,2 снарядами.
Снарядом «Ультраскан - WM» обследовано 581,4 км,
что составляет 98,7% от общей протяженности трассы в однониточном исполнении.
Снарядом «Магнескан - MFL» обследовано 490,4 км, что составляет 83,2% от общей
протяженности трассы в однониточном исполнении. Диагностическим снарядом
«Ультраскан - CD» обследовано 234 км, что составляет 39,7% от общей протяженности
трассы. На 01.01.2011 года наличие всего 1182 дефекта ДПР, в том числе 1 дефект
ПОР, из них 424 дефекта ДПР, в том числе 1 дефект ПОР на ППМН. Устранено 134
дефекта ДПР, в том числе 40 дефектов ПОР, дефекты устранены собственными силами
- УУД Нижневартовского УМН. По методам ремонта распределяются:
установкой муфт - 43 шт.;
проведение ДДК - 41;
шлифовка - 32;
заварка - 18;
вырезка дефектного участка - 0.
Проведено ДДК дефектов геометрии
глубиной до 1% - 154 шт. На ППМН Нижневартовского УМН устранено всего 21 дефект
ДПР, в том числе 5 дефектов ПОР.
В 2011 году проводилось частичное
обследование резервуаров - РВС 5000 м³ №6, РВС 10000 м³ №8 АЭМ, без вывода из эксплуатации. Обследование проводил ЦТД
«Диаскан». РВС №6 признан годным к эксплуатации без ограничения, РВС №8
требуется капитальный ремонт. Полное, предремонтное обследование резервуаров -
РВС 10000 м³
№7, обследование проводил ООО «ДИАСИБ». Полезная емкость резервуаров 51176,944
м³. списание и демонтаж
резервуаров, выведенных из эксплуатации - не планировалось и не проводилось.
Трубопровод
Усть-Балык-Курган-Уфа-Альметьевск (линейная часть) обустроен камерами пуска и
приема в полном объеме.
Для обслуживания трубопровода на
01.01.2010 г. имеется 3 ЛЭС, с полным техническим оснащением, они располагаются
на НПС «Вагай» (2 ИТР+11 рабочих), «Абатская» (2 ИТР+11 рабочих), «Бекишево» (2
ИТР+11 рабочих), участок устранения дефектов (2 ИТР+18 рабочих) общая
численность 59 человек.
Таблица 5.2. Расчет заработной платы
ремонтной службы в год
|
Должность
|
ИТР
|
Рабочий
|
|
Оклад
|
140 р.ч
|
90 р.ч
|
|
Категория
|
+40%
|
+30%
|
|
Премия
|
+80%
|
+70%
|
|
Район коэфф.
|
+50%
|
+50%
|
Итого в год (без учета отчислений на
соц. нужды):
(5.1)
ИТР=140*8*22*12=295680+170%=798336*8=6,386688
м.р.
Рабочий=90*8*22*12=190080+150%=475200*51=24,235200
м.р.
Таблица 5.3. Затраты
связанные с ремонтом трубопровода
|
Элементы затрат
|
2010 год 14 дней
|
2011 год 14 дней
|
Абсолютное изменение
|
Темп роста
|
|
Материалы
|
10203
|
12078
|
1875
|
118,4
|
|
Энергия, всего в т.ч. электроэнергия теплоэнергия
|
11536 11009 527
|
16676 16078 668
|
5140 5069 141
|
144,6 146,0 126,8
|
|
Расходы на оплату труда
|
865,76
|
976,45
|
110,69
|
112,8
|
|
Налоги
|
225,097
|
253,877
|
28,780
|
|
Прочие, всего в т.ч. услуги авиатранспорта услуги связи расходы
на диагностику, всего в т.ч. диагностика РВС диагностика мех.-технологич.
оборуд. диагностика электрооборудования Затраты на ремонт
|
78044 3196 55 2044 802 1242 - 72749
|
41198 4570 78 1362 1054 28 280 35161
|
-36846 1374 23 -682 252 -1214 280 -37588
|
52,8 143 141,8 66,6 131,4 2,25 48,3
|
|
Итого
|
100874
|
71182,3
|
-29691,673
|
70,6
|
Рассчитаем амортизацию линейным
методом на примере одноковшового экскаватора HYUNDAI R140LC-7A (стоимость 3150000
руб., срок полезного использования 20000 мото. час.)
Сумма амортизационной премии:
, (5.2)
руб.*0,1=315000 руб.
Ежечасовая сумма амортизационных
отчислений:
(3150000-315000):20000 ч= 142 руб. в
час.
Комплексный анализ факторов дает
возможность моделировать хозяйственную деятельность, осуществлять комплексный
поиск внутрихозяйственных резервов с целью повышения эффективности
производства.
Общая численность персонала
предприятия на 01.01.2011 год составила 556 чел. В основном, это
квалифицированные работники, давно работающие на предприятии.
Таблица 5.4. Состав и численность
персонала Нижневартовского УМН
|
Показатель
|
Ед. изм
|
01.01.2011
|
% к общей численности всего персонала
|
|
Численность работающих всего
|
чел.
|
556
|
100
|
|
В т.ч. руководителей
|
чел.
|
35
|
6,3
|
|
Специалистов
|
чел.
|
136
|
24,5
|
|
Рабочие
|
чел.
|
385
|
69,2
|
Обеспеченность предприятия кадрами в
2009 году составляла 97,7%. На сегодняшний день текучесть персонала в целом по
предприятию небольшая. Должностным требованиям (уровень образования, состояние
здоровья, возможность повышения квалификации) отвечает 95,8% сотрудников. В
отчетном периоде прошли переквалификацию, повышение квалификации и
дополнительные курсы 44 сотрудника.
Рис. 5.1. Качественный состав
персонала Нижневартовского УМН
,3% сотрудников имеют высшее
образование, 28,5% среднее профессиональное, 31,2% среднее (рис. 6.1). Таким
образом, Нижневартовское УМН обладает достаточным количеством
квалифицированного персонала.
5.2 Обоснование плановых
показателей объема продукции
Планом 2011 года предусмотрены
следующие виды работ по линейной части.
Таблица 5.5. План работ по линейной
части МН на 2011 год.
|
Вид работ
|
Ед. изм.
|
Значение
|
|
Устранение дефектов
|
Шт.
|
329
|
|
Предремонтное обследование изоляции МН
|
Км.
|
35
|
|
Предремонтное обследование изоляции ВЛ
|
Км
|
40
|
|
Ремонт ограждений и площадок обслуживания на трубопроводе
|
Шт.
|
3
|
|
Ремонт и замена коверов
|
Шт.
|
17
|
|
Берегоукрепление трубопровода
|
Уч-к
|
3
|
|
Капитальный ремонт автотракторной техники
|
Ед.
|
12
|
Показатели для реализации плана
ремонтных работ Нижневартовского УМН на плановый период была рассчитана на
основе вышеизложенной методики.
Таблица 5.6. Показатели для
реализации плана ремонтных работ Нижневартовского УМН на плановый период
|
Показатель
|
Отчетный год
|
Плановый год
|
Абс. Изменение планового периода к отчетному
|
Относит. Изменение планового периода к отчетному (%)
|
|
1. Коэффициент специализации, %
|
28
|
30
|
2
|
1,07
|
|
2. Коэффициент кооперации
|
72
|
70
|
-2
|
0,97
|
|
3. Трудоемкость ремонта, чел. час
|
731,8
|
729,7
|
-2,1
|
0,99
|
|
4. Количество рабочих занятых в ремонте, чел.
|
59
|
66
|
7
|
1,12
|
|
5. Количество текущих ремонтов
|
19
|
22
|
3
|
1,16
|
|
6. Количество технических осмотров
|
3630
|
3782
|
152
|
1,04
|
|
7. Количество кап. ремонтов
|
2
|
1
|
-1
|
0,5
|
|
8. Время простоя трубопровода, сут.
|
0,23
|
0,22
|
-0,01
|
0,96
|
Из таблицы видно, что количество
текущих ремонтов увеличилось на три шт., при этом идет снижение трудоемкости
ремонта на 2,1 чел. час, это снижение произошло из-за увеличения числа рабочих
занятых в ремонте на 7 чел., также идет увеличение коэффициента специализации
на 2%, это означает, что увеличилось число ремонтов устраненных собственными
силами. Время простоя трубопровода сократилось незначительно на 0,01 сут.
Из-за увеличения числа ремонтных
рабочих возрастут затраты на оплату труда, они будут равными 1128600 руб., это
увеличение повлечет за собой увеличение ЕСН
Эффективная деятельность предприятия
в значительной степени зависит от того, насколько достоверно оно предвидит
долгосрочную и краткосрочную перспективу своего развития, то есть от
планирования.
Затраты на ремонт трубопровода в
2011 году составили 71182,327 тыс. руб. это меньше на 29691,673 тыс. руб. чем в
2010 году.
Основные отклонения произошли по
следующим элементам:
По статье «Материалы» - увеличение
затрат на 18,4% или на 1875 тыс. руб. это связано с увеличение цен на
материалы.
По статье «Энергия» - перерасход на
5140 тыс. руб. (44,6%), так как произошло увеличение потребления как
электроэнергии, так и теплоэнергии. Также увеличились тарифы по потребляемой
энергии.
По статье «Заработная плата», также
увеличение на 110,69 тыс. руб., на это повлияло увеличение численности
ремонтных рабочих на три человека, также увеличение средней заработной платы на
1090 руб.
По статье «Налоги» - увеличение на
28,780, данное увеличение затрат сложилось вследствие перерасхода фонда
заработной платы.
По статье «Прочие затраты» произошло
снижение затрат на 36846 тыс. руб., снижение произошло в основном за счет
снижения затрат на ремонт на 48,3%, также повлияло снижение затрат на
диагностику оборудования на 682 тыс. руб.
Исходя из динамики предыдущих лет,
организация стала значительно меньше тратить средства на капитальный ремонт
трубопровода, что показывает на качество ранее проделанных работ.
Список использованной
литературы
1. Трубопроводный транспорт нефти. Под ред. С.М. Вайнштока.
Учебник. - М.: Недра, Т.2 - 2004. - 621 с.
. С.А. Горелов Машины и оборудование для сооружения
газонефтепроводов. Уч.пособие. - М.: РГУ нефти и газа им. И.М. Губкина, 2000. -
122 с.
. В.Г. Лукьянов, А.Д. Громов, Н.П. Пинчук Технология проведения
горно-разведочных выработок. Учебник. - Томск.: Изд-во ТГУ, 1999.
. В.И. Минаев Машины для строительства магистральных
трубопроводов. Учебник. - М.: Недра, 1985. - 440 с.
. ВСН 011-88 Строительство магистральных и промысловых
трубопроводов.
. ГОСТ 9.602-2005 - Единая система защиты от коррозии и старения.
. СНиП 2.05.06-85 - Магистральные трубопроводы.
. РД 39-0147103-334-86 - Инструкция по безопасному ведению
сварочных работ при ремонте трубопроводов под давлением.
. РД 102-011-89 - Охрана труда. Организационно-методические
документы.
. СНиП 3.01.01-85 - Организация строительного производства.
. ВСН 006-89 - Строительство магистральных трубопроводов.
. Богданов Е.А. Основы технической диагностики нефтегазового
оборудования. М.: Высшая школа, 2006 - 279 с.
. Защита трубопроводов от коррозии. Т.2 / Ф.А. Мустафин, Л.И.
Быков, А.Г. Гумеров и др. СПб.: Недра, 2007. - 656 с.
. Коршак А.А., Байкова Л.Р. Диагностика объектов
нефтеперекачивающих станций. Уфа: ДизайнПолиграфСервис, 2008. - 176 с.
. Кузнецов Н.С. Теория и практика неразрушающего контроля изделий
с помощью акустической эмиссии. М.: Машиностроение, 1998. - 197 с.
. В.А. Шмурыгин, В.Г. Крец, К.В. Перовский Методические указания
по выполнению практических и курсовых работ. - Томск: ТПУ, 2005.
. Интернет - сайт: http://www.traktora.ru/, «Трактора.ru»
. Интернет - сайт: http://www.promtractor.ru, «ОАО Промтрактор».
. Интернет - сайт: http://www.specserver.com, «Специальный сервер
для специального транспорта».
. Интернет - сайт: http://www.ural-market.com, «Урал Маркет».
21. GRI - Clarification on Composite Repair of Transmission Pipelines
February 17,2000
22. Analysis, Testing and Recommended Guidelines for Composite
Materials Used to Repair Pipelines. 2nd International Pipe Line
Week: C.R. Alexander F.D. Wilson J.C. Caldwell
23. 1994 Marinetech Research, Project CP 275, General Principals and
Guidance for the Application of Glass Reinforced Composites Offshore: Edited
by: D.A. Spagni and A.G. Gibson Contributors: M.J. Cowling, T. Hodgkiess, T.Y.
Reddy
24. GRI-98/0032 «Field Validation of Composite Repair of Gas
Transmission Pipelines» - Final Repot
25. An Introduction to Composite Materials - Cambridge Solid State
Science Series - Cambridge University Press 1987
26. Composites for Infrastructure - A Guide for Civil Engineers - Ray
Publishing