Вдосконалення пристрою для обробки паза 3х3
Вступ
Інтенсифікація виробництва у машинобудуванні безперервно пов’язана з
технічним переоснащенням та модернізацією засобів виробництва, за рахунок
використання новітніх досягнень науки та техніки. Технічне переоснащення,
підготовка виробництва нових видів продукції та 
модернізація
засобів виробництва неминуче включає у себе процеси проектування засобів
технологічного оснащення та процеси їх виготовлення.
В загальному об’ємі засобів технологічного оснащення приблизно половину
складають верстатні пристрої. Застосування верстатних пристроїв дозволяє:
точно та надійно встановлювати, закріплювати оброблюємо деталь зі
збереженням жорсткості деталі у процесі обробки;
забезпечує високу якість обробки деталей при мінімальній залежності
цього показника від кваліфікації робітника;
підвищують продуктивний показник праці, полегшують умови праці
робітника за рахунок механізації пристроїв;
розширюють технологічні можливості використовує мого обладнання.
В залежності від виду виробництва технічний рівень і структура
верстатних пристроїв різна. Для масового та крупно серійного виробництва у
більшості випадків застосовують спеціальні верстатні пристрої.
Спеціальні верстатні пристрої мають призначення на виконання окремих
операцій, конкретної деталі. Ці пристрої є найбільш трудомісткими та більш
коштовні у виготовленні.
В умовах одиничного та дрібносерійного виробництва широке використання
отримала система універсально-збірних пристроїв (УЗП), яка заснована на
використанні стандартних деталей та вузлів. Цей вид пристроїв більш мобільний у
плані підготовки виробництва та не потребує значних витрат.
1. Загальний розділ
.1 Призначення, будова, і принцип роботи пристрою
На курсовий проект було завдання вдосконалити „Пристрій для обробки
паза 3х3 ”.
Цей пристрій є нерозбірним спеціальним (НСП). Встановлюється на
фрезерний верстат моделі МА-655А3.
Деталь встановлюється на центратор поз. до упору в кронштейн
поз. і фіксується пальцем поз.
Закріплення відбувається при подачі повітря через штуцер поз.
. Повітря потрапляє у штокову порожнину пневмоциліндра поз.. Повітря тисне на
поршень-шток. Шток по різьбі зв`язаний з тягою поз.,
на яку нагвинчена гайка з буртиком поз.. Гайка тисне на швидкозмінну шайбу, яка закріплює деталь.
Розкріплення відбуваться при стравленні повітря зі штокової
порожнини і подачі повітря через штуцер поз. у безштокову порожнину
пневмоциліндра поз.. Повітря тисне на поршень-шток. Шток по різьбі зв`язаний з тягою поз., на яку
нагвинчена гайка поз.. Шток з гайкою і шайбою переміщується вправо і розкріплює
деталь.
Роздивившись принцип дії даного пристрою можна зробити
висновок, що даний пристрій використовується у серійному типі виробництва.
1.2 Перевірка умови позбавлення можливості переміщення
заготівки в пристрою за 6-тю ступенями волі
Базою називають точку, вісь чи поверхню заготівки, яку
використовують для встановлення заготовки в пристрої. Базування-це процес, під
час якого надають заготовці заданого положення відносно вибраної системи координат.
Тверде тіло відносно трьох взаємно перпендикулярних осей має
6 ступенів свободи. Вони полягають у трьох можливих переміщеннях вздовж осей та
обертання навколо них.
Розташування опорних точок на базах заготовки називають
схемою базування. В залежності від ступенів свободи, яких позбавляють заготовку
технологічні бази їх поділяють на: установочні, напрямні, подвійні напрямні,
опорні, подвійні опорні.
Установочна -позбавляє трьох ступенів свободи - переміщення
вздовж однієї осі та обертання навколо двох інших.
Напрямна-позбавляє двох ступенів свободи-переміщення вздовж
однієї осі та обертання навколо іншої.
Опорна-позбавляє одного ступеню свободи-переміщення вздовж
однієї осі чи обертання навколо неї.
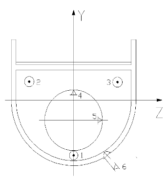
Точка 1-позбавляє можливості переміщення заготовки вздовж осі
OX.
Точка 2-позбавляє можливості
обертання заготовки навколо осі OY.
Точка 3-позбавляє можливості
обертання заготовки навколо осі OZ.
Точки 1,2,3-установочна база.
Точка 4-позбавляє можливості переміщення заготовки вздовж осі
OY.
Точка 5-позбавляє можливості переміщення заготовки вздовж осі
OZ.
Точки 4,5-напрямна база.
Точка 6-позбавляє можливості
обертання заготовки навколо осі OX.
Точка 6-опорна база.
Згідно розглянутої умови деталь встановлена і жорстко
закріплена не буде мати ні зсуву ні повороту в момент різання.
Рисунок 1.1- Схема встановлення деталі за правилом 6-ти крапок
1.3 Розрахунок похибки базування
Для створення нормальних умов для обробки заготовки в пристрої
необхідно правильно її орієнтувати відносно установочної, напрямної та упорної
бази.
Фактична точність виготовлення деталей залежить не лише від
точності верстата, а й від похибки базування. Похибка базування при встановлені
заготовки визначається за формулою: [ 1.с30 ]
1.1
]
де
-різниця критичних відхилень вимірювальноі бази
відносно установленого на розмір ріжучого інструмента , виникаюча в процесі
зазування і закріплення заготовки;
де
-частина похибки установки , виникаюча в наслідок
неспівпадання вимірювальної бази та бази налаштування ;
-
частина похибки установки , виникаюча в наслідок відхилення вимірювальної бази
відносно встановленого на розмір ріжучого інструменту під дією прикладених сил
закріплення,
[ 1.с49 ].
Рисунок 1.2 - Схема встановлення деталі
Похибка
базування визначається за формулою : [ 1.с31 ]
,
[ 1.2 ]
де
-допуск на встановленя на поверхню 1,2 ,
=0,04мм;
-
допуск на встановленя на поверхню 4 , 5 , 6 ,
=0,039мм.
Похибка базування визначаеться за формулою [ 1.2 ]
Розрахунок похибки базування визначаемо за формулою [ 1.1 ]
1.4 Розрахунок сили затиску заготівки в пристрої
Одним із елементів пристрою є затискний елемент, який
призначений для закріплення деталі в пристрої на верстаті в процесі обробки.
До затискних елементів висувають такі вимоги:
повинні забезпечувати точність встановлення деталі згідно
тех.. вимогам креслення;
забезпечувати жорстке встановлення і закріплення деталі в момент різання;
надійний і зручний в експлуатації;
по можливості бути швидкодіючим.
Затискні елементи діляться на : гвинтові, клинові, важільні,
плунжерні, ексцентрикові, комбіновані.
Розраховуємо необхідне зусилля затиску :
Qнеобх=К · Q , [ 1.3 ]
де К -
коефіцієнт запасу, К = 1,5;
-
сила затиску деталі, Q= Pz;
де
Pz - складова сила різання, Н.
Сила різання визначається за формулою [ 5,с 117 ]:
, [ 1.4 ]
В - ширина фрезерування, В = 3 мм;
D - діаметр фрези, D = 3 мм;
Sz - подача на зуб, Sz = 0,02 мм/зуб; [ 2. с 283 ]
Z - число зубців фрези, Z =4; [ 2.с 187 ]
t - глибина
фрезерування, t = 3 мм;
х = 0,86; у = 0,72; q = 0,86; m = 0;
=1; [ 5.с 117 ]
Кмр -коефіцієнт матеріала деталі, Кмр=0,87;
n -
частота обертання фрези, n m = 1 мм/об. [ 7.с 218 ]
Визначаю силу різання за формулою [ 1.4 ]
.
Звідки сила затиску деталі:
Q= 427,2
Н.
Розраховуємо зусилля затиску формулою[ 1.3 ] :
Qнеобх = 1,5 · 427,2 = 640,8 Н.
1.5 Розрахунок основних параметрів затискного механізму
В
розглядаємому пристрої затискний елемент є ексентриковий зажим. Ексентрики
призначені у верстатних пристроях для швидкого закріплення і розкріплення
обрблюємої деталі.
Основні вимоги к ексцентриковим затискачам:
- повинні забезпечувати точність встановлення деталі згідно
тех..вимогам креслення;
-забезпечувати
жорстке встановлення і і закріплення деталі в момент різання;
-надійний
і зручний в експлуатації;
Забезпечувати достатнє зусилля затиску .
Ексцентрикові зажими відносяться к простим ручним зажерним
пристроям
По конструктивним ознакам ексцентрикові зажими поділяються на
циліндричні
і криволінійні. Циліндричні ексцентрики більш прості в
виготовлені але менш довговічні при експлуатації. Вони виготовляються зі сталі
20Х з подальшою цементацією на глибину 0,8…1,2мм і закалкою до твердості 55…60НRC
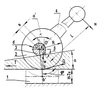
Половину циліндричного кулачка 3 , поварачівая силою Р відносно осі О,
віддалений від геометричної осі
на
величину е , можно важати односкосним клином .Цей клин под дією момента
продвигає між нерухомою вісю, ексцентрика і
пересуваючись під дією цього клина оброблюваної деталі 1.
Рис 1.3 -Циліндричний ексцентриковий зажим.1-заготовка, 2-кулачок-ексентрик
, 3-ось ексцентрика , 4- рукоятка .
Визначаємо
зусилля затиску за формулою: [3, с.92]
,
[ 1.5 ]
При
умові нормальної довжини
ручкоятки
де W-зусилля затиск ;
N-сила на ручці, N=55H;
-довжина
рукоятки;
D-діаметр ексцентрика.
Визначаємо
зміщення осі ексцентрика від осі його обертання за
формулою
[4, с.105]:
, [
1.6 ]
де
- кут повертання ексцентрика,
;
-початковий
проміжок для вільного розміщеннязаготовки,
0,4мм;
-допуск
розміра заготовки,
мм;
Q-зусилля затиску, Q=640,8;
J-жорсткість затискання, J=50Н/мм .
Визначаємо
діаметр осі ролика за формулою [1, с.132]
:
, [ 1.7 ]
де b-ширина цапфи, b=8мм ;
-допустиме навантаження на зминання ,
=15Мпа.
Визначаємо радіус ексцентрика за формулою [4, с.105] :
,
[ 1.8 ]
де R-радіус
ексцентрика, мм ;
е- зміщення осі ексцентрика від осі обертання, мм ;
р-радіус
кола тертя, мм;
-кут тертя,
.
Визначаємо ширину ексцентрика за формулою [4, с.105] :
,
[ 1.9 ]
В-ширина ексцентрика , мм ;
Q-зусилля затиску , Н;
R-радіус ексцентрика , мм ;
-границя міцності на зминання ексцентрика,
=800МПа;
E-модуль пружності матерьялу ексцентрика,
МПа;
Визначаємо довжину рукоятки за формулою [4, с.105] :
,
[ 1.10 ]
де N-сила на
рукоятці , N=50H;
L-довжина
рукоятки , мм ;
-кут
розміщення цапфи ,
=45 ;
- кут тертя ,
.
Умова
самогальмування ексцентрика визначається
за формулою [3, с.92]:
, [
1.11]
де D-діаметр
ексцентрика , мм;
e-
зміщення осі ексцентрика від осі обертання, мм :
Визначаємо
зміщення осі ексцентрика від осі його обертання за
формулою
[1.6]:
Визначаємо
діаметр осі ролика за формулою [1.7] :
Визначаємо радіус ексцентрика за формулою [1.8] :
Визначаємо ширину ексцентрика за формулою [1.9] :
Визначаємо довжину рукоятки за формулою [1.10] :
Звідси визначаємо L
Визначаємо зусилля затиску за формулою: [1.5] :
Умова нормальної довжини рукоятки виконується
Перевіряєму умову самогальмування ексцентрика за формулою [ 1.10 ]:
Умова самогальмування виконується
Так
як сила різання складає 640,8Н, а сила
затиску, що розвиває ексцентриковий затискач 660 Н, отже цієї сили достатньо
для затиску
Розраховуємо діаметр циліндра за формулою (1.5):
Згідно ГОСТ 15608-81 приймаємо діаметр пневмоциліндра 100мм.
Виходячи із стандартного діаметра пневмоциліндра розраховуємо
дійсне зусилля затиску за формулою (1.4):
.
Так як сила затиску в данному пристрої складає 1726,5
Н, а зусилля, що розвиває пневмопривід 2649,4 Н, то цієї сили достатньо для
затиску даної деталі.
1.6 Аналіз пристрою, що проектується з метою зменшення його
металоємності
Основною тенденцією в сучасному машинобудуванні є зменшення
металоємності пристроїв, це спричинено тим, що метал дорого коштує.
Основа - це сама металоємна частина пристрою, отже вона
призначена для компонування усіх елементів пристрою.
Вимоги до основ:
повинні бути міцними і забезпечувати швидку і зручну
установку,
та зняття оброблених деталей;
повинні бути жорсткими;
повинен бути доступ для очистки від стружки, її установочних
елементів.
Основи пристроїв виготовляють як цільними, зварними так і збірними.
У данному випадку використовуємо суцільна основа, виготовлена
із Сталі 45. Суцільні стальні основи використовуються в пристроях для обробки
крупних деталей.
Робимо розрахунок металоємності пристрою за формулою:
, (1.6)
(1.7)
де Мпр - металоємність пристрою;
Мосн- металоємність основи;
Мкор - металоємність корпусу;
Мцентр - металоємність центратора;
Мштиря - металоємність штиря;
Мпор - металоємність поршня;
Мвт - металоємність втулки;
Мвт - металоємність втулки;
Мтяги - металоємність тяги;
Мопори- металоємність опори;
Мкришки- металоємність кришки;
Мпал- металоємність пальця.
Металоємність основи:
Мосн = Vосн · ρ ,
де Vосн - обґєм основи, Vосн = 1375,289 (см3);
ρ - густина матеріалу, ρ
= 7,8 (гк/см3);
Мосн = 1375,289 · 7,8 = 10,727 (кг).
Металоємність корпусу:
Мкор = Vкор · ρ ,
де Vкор - об’єм корпусу, Vкор = 930,037 (см3);
ρ - густина матеріалу, ρ
= 7,8 (гк/см3);
Мкор = 930,037 · 7,8 = 7,254 (кг).
Металоємність центратора:
Мцентр = Vцентр · ρ ,
де Vцентр - об’єм центратора, Vцентр = 20,498 (см3);
ρ - густина матеріалу, ρ
= 7,8 (гк/см3);
Мцентр = 20,498 ·
7,8 = 0,16 (кг).
Металоємність штиря:
Мштиря = V штиря · ρ ,
де V штиря - об’єм штиря, V штиря = 10,519 (см3);
ρ - густина матеріалу, ρ
= 7,8 (гк/см3);
М штиря = 10,519 · 7,8 = 0,082 (кг).
Металоємність поршня:
Мпор = Vпор · ρ ,
де Vпор - об’єм поршня, Vпор = 212,528 (см3);
ρ - густина матеріалу, ρ
= 7,8 (гк/см3);
Мпор = 212,528 · 7,8 = 1,658 (кг).
Металоємність втулки:
Мвт = Vвт · ρ ,
де Vвт - об’єм втулки, Vвт = 62,605(см3);
ρ - густина матеріалу, ρ
= 7,8 (гк/см3);
Мвт = 62,605 · 7,8 = 0,488 (кг).
Металоємність втулки:
Мвтулки = Vвтулки · ρ ,
де Vвтулки - об’єм втулки, Vвтулки = 22,961 (см3);
ρ - густина матеріалу, ρ
= 7,8 (гк/см3);
Мвтулки= 22,961 ·
7,8 = 0,179 (кг).
Металоємність тяги:
Мтяги = Vтяги · ρ,
де Vтяги - обґєм тяги, Vтяги = 12,325 (см3);
ρ - густина матеріалу, ρ
= 7,8 (гк/см3);
Мтяги = 12,325 ·
7,8 =0,096 (кг).
Металоємність опори:
Мопори = Vопори · ρ,
де Vопори - обґєм опори, Vопори = 5,627 (см3);
ρ - густина матеріалу, ρ
= 7,8 (гк/см3);
Мопори = 5,627 ·
7,8 =0,041 (кг).
Металоємність кришки:
Мкришки = Vкришки · ρ,
де Vкришки - обґєм кришки, Vкришки = 212,669 (см3);
ρ - густина матеріалу, ρ
= 7,8 (гк/см3);
Мкришки = 212,669 ·
7,8 =1,659 (кг).
Металоємність пальця:
Мпальця = Vпальця · ρ ,
де Vпальця - об’єм пальця, Vпальця = 0,151 (см3);
ρ - густина матеріалу, ρ
= 7,8 (гк/см3);
Мпальця= 0,151 ·
7,8 = 0,0012 (кг).
.
Виходячи з розрахунку,
вага пристрою складає 23,47 кг.
Пристрій вагою до 20 кг дозволяється підіймати вручну дорослим
чоловіком для встановлення на верстат.
Цей пристрій підіймається за допомогою підйомно-
транспортних засобів, але в цьому пристрої не передбачені римболти.
1.7 Розрахунок собівартості пристрою
Економічна ефективність від застосування пристрою
визначається шляхом зіставлення річних витрат і річної економії для порівнюємих
варіантів обробки деталі. Річні витрати складаються з амортизаційних
відрахувань та витрат на експлуатацію пристрою.
Річна економія утримується за рахунок зменшення
трудомісткості виготовлення оброблених деталей, тобто за рахунок зменшення
витрат на заробітну плату робочих - верстатників та за рахунок зменшення
накладних цехових витрат.
При техніко економічних розрахунках, виконуємих при виборі
відповідної конструкції пристрою, необхідно зіставити ефективність різних
конструктивних варіантів пристроїв для визначеної операцій обробляємої деталі.
Зіставлення виконується на основі собівартості виготовлення пристроїв.
Враховуючи витрати на ріжучий інструмент, відрахування на амортизацію пристрою,
платню за електричну енергію, визначають і порівнюють ті елементи собівартості
пристрою, які відрізняються між собою, або залежать від конструкцій приладу.
Позначаємо собівартість модернізованого пристрою літерою - А,
а собівартість базового літерою - Б. В курсовому проекті порівнюють пристрій з
пневмоциліндром і ручним пристроєм.
Розраховуємо час на виготовлення деталі на операцію за
формулою:
,
(1.8)
де То - основний час;
Тдоп - допоміжний час;
аобс - час на обслуговання;
авід - час на відпочинок;
Визначаємо основний час за формулою:
, хв (1.9)
, (1.10)
де L - довжина оброблюємої поверхні;
і - кількість переходів, і = 1;
Sхв - хвилинна подача фрези.;
,
,
,
,
.
З
формули (1,9) визначаємо
основний час:
.
Розраховуємо допоміжний час за формулою [1.c.238]:
,
хв (1.11)
де Твст - час на встановлення деталі;
модернізованого:
Твст А = 0,12 хв; [
6, с 75 ]
базового:
Твст Б = 0,32 хв; [
6, с 75 ]
Тпер - час на перехід,
Тпер = 0,02·5+0,06·3+0,05·3=0,43 хв; [ 6, с 150-153 ]
Твимір - час на вимірювання,
Твимір = 0,3·(0,055+0,14+0,06·3)=0,113 хв. [ 6, с 196-219 ]
Визначаємо допоміжний час модернізованого пристрою [1.c.238]:
.
Визначаємо допоміжний час базового пристрою:
.
Знаходимо час на обслуговання і відпочинок:
аобс = 2,5% , авід = 4% . [ 6, с 224,236 ]
Визначаємо час на виготовлення деталі за формулою (1.8):
,
.
,
грн (1.12)
де Тшт - час на виготовлення деталі в пристрої на операції;
Ст.час - часова тарифна ставка робітника, Ст..час А =
1,69грн,
Ст..час Б =2,08 грн;
,
.
Накладні цехові витрати: Н= 200%.
Розраховуємо витрати на виготовлення пристрою за формулою: [1.c.237]
,
(1.13)
де С - коефіцієнт складності пристрою, СА=30, СБ=20;
-
кількість деталей в пристрої, проектує мого:
А
= 11 шт, базового:
Б
= 7 шт;
,
.
Визначаємо програму випуску деталей за формулою: [1.c.239]
,
(1.14)
де q -
витрати на ремонт і експлуатацію пристрою, q = 20%;
А - амортизаційні відрахування, А = 3 роки;
.
Програму випуску для данного
пристрою приймаємо 8000 шт.
Собівартість пристрою розраховують згідно формули:
, (1.15)
Тоді собівартість модернізованого
пристрою розраховують згідно формули:
,
.
Собівартість базового пристрою:
,
.
Для
графічного розв’язку собівартості по варіанту А та Б, при різних програмах випуску, розраховуємо по формулі (1.15) та
будуємо графік.
Модернізованого:
,
,
,
,
.
Базового:
,
,
,
,
.
Рисунок
1.5-Графік залежності собівартості
пристрою від програми випуску
З розрахунків
видно, що собівартість базового пристрою СБ = 0,249 грн, тобто вище за собівартість модернізованого пристрою Са = 0,199 грн.
З
цього випливаєє що даний пристрій використовується у серійному типі виробництва.
1.8 Розрахунок економічної ефективності пристрою
Використовувати пристрій вигідно лише у випадку, коло річна
економія від його використання буде більшою за річні витрати на його
виготовлення. При техніко-економічному розрахунку визначають величину зниження
трудомісткості виготовлення одної деталі по всім технологічним операціям,
механічним обробкам, які відносяться до одного пристрою.
,
хв./пр (1.16)
де е - зниження трудомісткості;
ΣТшт1 - час на виготовлення деталі до використання
нового пристрою;
ΣТшт2 - час на виготовлення деталі після використання
нового пристрою;
n - кількість нових пристроїв по технологічному
процесу;
.
Розраховуємо зниження витрат на пряму заробітну платню робітника, що
відносимо також до одного пристрою.
,
грн./пр (1.17)
де Счас - часова тарифна ставка робітника,
= 2,08 грн/час,
=1,69
грн/час;
.
Визначаємо економічний ефект: [1.c.238]
,
(1.18)
.
Річні витрати повинні бути меншими за економію РВ < Э · П,
де П - партія деталей за рік.
Розраховуємо економію:
ЭП =
3,27 · 8000 = 26160 грн.
Визначаємо річні витрати: [1.c.238]
,
грн. (1.19)
де Сст - початкові витрати на виготовлення спеціального верстатного
пристрою, Сст = 300 грн;
Кпр - коефіцієнт витрат на проектування спеціального пристрою,
Кпр= 0,25;
Кєк - коефіцієнт затрат на експлуатацію спеціального пристрою,
Кєк= 0,3;
.
Так, як річні витрати складають РВ = 40,05 грн, а річна
економія ЭП = 26160 грн., то даний пристрій вигідно
використовувати у серійному типі виробництва.
Висновки
Відповідно до завдання на курсовий проект, здійснена
розробка креслення фрезерного пристрою.
Виконані:
опис призначення, будови і принципу роботи пристрою;
перевірка умови позбавлення можливості переміщення заготівки в пристрої
за шістю ступенями волі;
розрахунок похибки базування;
розрахунок зусилля затиску заготовки в пристрої;
розрахунок основних параметрів затискного механізму;
аналіз пристрою з метою зменшення металоємності;
розрахунок собівартості пристрою і економічної ефективності від
впровадження пристрою.
Спроектоване верстатне пристосування дозволяє швидко і надійно
закріплювати деталь під час обробки, що в умовах багатосерійного виробництва
дуже важливо.
Перелік посилань
1. Белоусов
А.П. Проектирование станочных
приспособлений: Учебное пособие для учащихся техникумов. - 3-е изд., перераб. и доп. - М.:Высшая школа, 1980 - 240с.,ил.
2. ГорошкинА.К. Приспособления для металлорежущих станков. Справочник. -7-е
изд., перераб. и доп. - М.:Машиностроение, 1979 - 303с.
3.
Справочник технолога - машиностроителя.
В 2-х т. Т1. /Под ред. А.Г. Касиловой и Р.К. Мещерякова. - 4-е изд., перераб. и доп. - М.:Машиностроение, 1985 - 656с., ил.
4.
Справочник технолога - машиностроителя.
В 2-х т. Т2 /Под ред. А.Г. Касиловой и Р.К. Мещерякова. - 4-е изд., перераб. и доп. - М.:Машиностроение, 1985 - 496с.,ил.
. Богуслаев В.А., Лехофицер В.А., Смирнов А.С. Станочные
приспособления, г. Запорожье, изд. ОАО "Мотор-Сич", 2000г-461с.
6. Общемашиностроительные нормативы времени вспомогательного, на обслуживание рабочего места, подготовительно- заключительного
на работы, выполняемые на металлорежущих станках. Под ред. Н.М. Федосова М.Машиностроение, 1981 - 469 с., ил.
7. Общемашиностроительные нормативы режимов резания для технического нормирования работ на металлорежущих станках. Ч.1, ред.
В.И.Яколева, корректоры Ю.Н. Рыкова М.Машиностроение, 1985 - 416с.