Проектирование прокладки самотечного канализационного трубопровода
Введение
Строительство различных объектов водоснабжения и водоотведения должно
выполняться на основании обоснованного выбора эффективных строительных
материалов и конструкций, правильной организации производства и планирования
строительно-монтажных работ с соответствующими технико-экономическими
расчетами.
Целью данного курсового проекта является проектирование прокладки
самотечного канализационного трубопровода в городе Гродно протяженностью 2,31
километра.
При строительстве трубопровода водоотведения большое внимание уделяется
вопросам снижения стоимости строительно-монтажных работ, экономии материалов и
энергетических ресурсов, улучшению качества строительства и индустриализации,
повышению надежности и охране окружающей среды. Это достигается путем повышения
производительности труда, широкого внедрения комплексной механизации,
использования сборных железобетонные конструкций.
В данном курсовом проекте вычисляется потребность в строительных
конструкциях, определяются объемы земляных работ и методы их производства с
учетом мероприятий по монтажу трубопровода и колодцев в соответствии с
предложенным календарным планом и графиком производства работ для данного
объекта строительства; предложены мероприятия по охране труда при устройстве
земляных сооружений и охране окружающей среды, а также приведены
технико-экономические показатели проекта.
трубопровод
подземный самотечный канализационный
1. Описание
района строительства
Город Гродно находится в западной части Республики Беларусь в умеренном
климатическом поясе и относится к климатическому району строительства в.
Согласно СНБ 2.04.05-2000 «Строительная климатология» средние температуры
наружного воздуха по месяцам:
- Январь -5,1 оС;
- Февраль -4,5 оС;
Март -0,6 оС;
Апрель 6,3 оС;
Май 13 оС;
Июнь 16,2 оС;
Июль 18 оС;
Август 16,8 оС;
Сентябрь 12,6 оС;
Октябрь 7 оС;
Ноябрь 1,6 оС;
Декабрь -2,8 оС;
Среднегодовая температура для данного района составляет 6,5 оС,
абсолютная минимальная - -35 оС, абсолютная максимальная - 36 оС.
Температура наиболее холодных суток обеспеченностью 0.98 - -30 оС.
Температура наиболее холодных суток обеспеченностью 0.92 - -26 оС.
Температура наиболее холодной пятидневки обеспеченностью 0.98 - -24 оС.
Температура наиболее холодной пятидневки обеспеченностью 0.92 - -22 оС.
Нормативная глубина промерзания с обеспеченностью 0,98 по данным
наблюдений для города Гродно составляет 1,3 м.
2. Потребность в строительных конструкциях
В соответствии СНиПа 2.04.03-85 для прокладки коллектора водоотведения
используются самотечные керамические трубы ГОСТ 286-82.
Керамические трубы (рисунок 1) изготавливаются из пластической
огнеупорной глины с примесью кварцевого песка и шамота и покрываются снаружи и
внутри стенок соляной глазурью. Глазурь придает трубам водонепроницаемость и
гладкость, предохраняет их от воздействия кислот и щелочей. Трубы выпускаются
раструбными с внутренним диаметром от 150 до 600 и длинной от 1200 до 1800 мм.
Согласно п. 4.14 и 4.15 в зависимости от диаметра труб устанавливаем
смотровые колодцы. Диаметр колодцев для труб диаметром 200, 250, 350 и 400 мм
принимаем 1000 мм.
Рисунок 1 - Керамическая труба
Требуемое количество материала и конструкций приведено в таблице 2.
Таблица 1 - Спецификация сборных элементов
|
№ п/п
|
Наим. элементов марка
|
ГОСТ
|
Размеры
|
Масса элем., кг
|
Общее кол-во, шт
|
Общая масса, т
|
|
|
|
l
|
d
|
h
|
|
|
|
|
Трубы керамич.
|
286-82
|
1500
|
|
|
|
|
|
|
1
|
Æ200
|
|
|
240
|
-
|
43,5
|
567
|
37,00
|
|
2
|
Æ250
|
|
|
294
|
-
|
65,9
|
318
|
31,43
|
|
3
|
Æ350
|
|
|
406
|
-
|
92,1
|
202
|
27,91
|
|
4
|
Æ400
|
|
|
460
|
-
|
115
|
516
|
89,00
|
|
Колодцы
|
8020-86
|
|
1000
|
|
|
|
|
|
5
|
КСЛ-7
|
|
|
|
1200
|
|
1
|
|
|
6
|
КСЛ-8
|
|
|
|
2120
|
-
|
1
|
-
|
|
7
|
КСЛ-16
|
|
|
|
3450
|
-
|
1
|
-
|
|
8
|
КСЛ-26
|
|
|
|
3200
|
|
1
|
|
|
9
|
КСЛ-31
|
|
|
|
3400
|
-
|
2
|
-
|
|
Кольцо стеновое
|
|
|
|
|
|
|
|
|
10
|
КC-10-6
|
|
|
|
590
|
400
|
11
|
4,40
|
|
11
|
КC-10-9
|
|
|
|
890
|
600
|
5
|
3,00
|
|
Плита днища:
|
|
|
|
|
|
|
|
|
12
|
КЦД-10
|
|
|
|
100
|
440
|
6
|
2,64
|
|
13
|
Плита перекрытия
|
|
|
|
|
|
|
|
|
КЦП1-10-1
|
|
|
|
150
|
250
|
6
|
1,5
|
|
14
|
Легкий люк - Л
|
3634-79
|
|
640
|
|
30
|
6
|
0,18
|
3.
Определение объёма земляных работ
Определяем минимальную глубину заложения трубопровода hmin, м,
согласно СНиП 2.04.03-85:
hmin=max{hпр - m; 0,7
+ Dн} м ; (1)
где hпр - глубина промерзания, hпр=1,3 м;
m=0,3
м - для трубопроводов d<500
мм;
m=0,5
м - для трубопроводов d>500
мм;
Dн -
наружный диаметр труб, м.
hmin=1,3-0,3=1,0 м,=0,7 + Dн=0,7+0,2=0,9 м.
Принимаем минимальную глубину заложения hmin=0,9 м.
. Смотровые колодцы располагаем на сети водоотведения в местах
присоединений; в местах изменения направления, уклонов и диаметров
трубопроводов; на прямых участках на расстояниях в зависимости от диаметра
труб.
. Располагаем на трассе пикеты:
Дополнительные пикеты устанавливаются в местах поворота трассы, изменений
рельефа, на границе городской и загородной зоны.
По отметкам профиля определяем глубину заложения колодцев.
. По построенному профилю определяем ширину траншеи по дну:
Разработка траншеи выполняется в загородной зоне, поэтому траншея
разрабатывается с откосами (рисунок 2).
Рисунок 2 - Поперечное сечение траншеи
Размер траншеи понизу bтр,
м, определяется по формуле
bтр= Dн+ 2f; (2)
где f - расстояние между стенкой трубы и
подошвой откоса, f=0,5 м;
Dн - наружный
диаметр трубы, м.
Для диаметра 200 мм bтр=
0,240+ 2·0,5 = 1,240 м;
Для диаметра 250 мм bтр=
0,294+ 2·0,5 = 1,294 м;
Для диаметра 350 мм bтр=
0,406+ 2·0,5 = 1,406 м;
Для диаметра 400 мм bтр=
0,460+ 2·0,5 = 1,460 м.
Все результаты расчетов по определению объемов земляных работ сводятся в
таблицу 2.
Таблица 2 - Определение объема земляных работ под участки траншей между
колодцами
№
пикета Рабоч. отмет. м Полусумма раб. отметок h, м.
Площади средних попереч.. сечений м2
Поправка
м2
|
Расчётная площадь поп. сеч. Fр, м2Объём V, м3Расст.
м/д пикетами, м
|
|
|
|
|
|
|
|
К1
|
1,20
|
|
|
|
|
|
|
|
П1
|
1,48
|
1,34
|
2,56
|
0,00327
|
2,56
|
256,27
|
100,00
|
|
П2
|
1,76
|
1,62
|
4,63
|
0,00653
|
4,64
|
463,97
|
100,00
|
|
К2
|
2,12
|
1,94
|
6,17
|
0,01080
|
6,18
|
865,20
|
140,00
|
|
П3
|
2,49
|
2,31
|
8,17
|
0,01141
|
8,18
|
1227,40
|
150,00
|
|
П4
|
2,91
|
2,70
|
10,64
|
0,01470
|
10,65
|
1597,91
|
150,00
|
|
К3
|
3,45
|
3,18
|
14,23
|
0,02430
|
14,25
|
2565,29
|
180,00
|
|
П5
|
3,30
|
3,38
|
15,76
|
0,00188
|
15,76
|
2363,96
|
150,00
|
|
П6
|
3,23
|
3,27
|
14,89
|
0,00041
|
14,89
|
2232,83
|
150,00
|
|
К4
|
3,20
|
3,22
|
14,86
|
0,00007
|
14,86
|
2377,05
|
160,00
|
|
П7
|
3,29
|
3,25
|
15,09
|
0,00067
|
15,09
|
2263,98
|
150,00
|
|
К5
|
3,42
|
3,36
|
15,97
|
0,00141
|
15,97
|
2236,44
|
140,00
|
|
П8
|
3,43
|
3,43
|
16,55
|
0,00001
|
16,55
|
2481,93
|
150,00
|
|
П9
|
3,44
|
3,44
|
16,84
|
0,00030
|
16,84
|
2525,50
|
150,00
|
|
П10
|
3,45
|
3,45
|
17,30
|
0,00021
|
17,30
|
2594,63
|
150,00
|
|
П11
|
3,46
|
3,46
|
17,76
|
0,00030
|
17,76
|
2664,69
|
150,00
|
|
К6
|
3,48
|
3,46
|
18,15
|
0,00007
|
18,15
|
2541,14
|
140,00
|
|
|
|
|
|
|
31258,18
|
2310,00
|
Объем грунта при разработке под траншею составляет 31258,18 м3.
Определение объёмов работ при отрыве котлованов под колодцы.
Объем, м3, занимаемый колодцем определяем по формуле
; (3)
где
Fk - площадь колодца, м.
-
толщина плиты перекрытия, м;
-
толщина плиты днища, м.
Объем
грунта, м3, вытесняемого трубопроводом определятся
; (4)
где
а - диаметр колодца, м;
L - длина
участка, м;
N - число
колодцев.
Все
результаты расчетов, по определению различных объемов земляных работ сводим в
таблицу 3.
Таблица
3. - Сводная ведомость объемов земляных работ
|
№
|
Объем выемки под траншею, Vв,
м3
|
Объем труб, Vтр,
м3
|
Объем колодцев, Vк,
м3
|
|
К1-К3
|
6976,04
|
36,99
|
5,31
|
|
К3-К4
|
6973,84
|
31,14
|
2,51
|
|
К4-К5
|
4500,42
|
37,40
|
2,69
|
|
К5-К6
|
12807,88
|
122,75
|
2,85
|
|
∑
|
31258,18
|
228,28
|
13,36
|
Определение объема грунта обратной засыпки, м3
Vобр=Vтр - Vк - Vтруб
; (5)
Vобр=31258,18
- 228,28 - 13,36 =31016,54 м3.
Лишний грунт вывозится за пределы строительной площадки на расстояние 2
км. Объем отвозимого грунта, м3, определяется по формуле
Тот = Vк + Vтр; (6)
Тот = 13,36 + 228,28 = 241,64 м3
4. Выбор метода производства земляных работ
.1 Выбор одноковшовых экскаваторов по техническим параметрам
Основным параметром одноковшовых экскаваторов является емкость ковша,
которая устанавливается исходя из трех условий:
а)
Выполнение работ в заданные сроки. Требуемая сменная производительность
экскаватора,
, определяется по формуле
; (7)
где
- общий объем грунта, разрабатываемого экскаватором,
м3;
Тз
- заданный срок выполнения работ, дни, принимаем 60 дней;
м
- количество смен в день, принимаем м = 2;

.
Исходя из требуемой производительности по табл. 7[1] устанавливаем
соответствующую ей емкость ковша экскаватора q, м3.
Принимаем q = 0.65 м3.
б) Набор ковша с «шапкой» за одно черпание.
Для экскаватора с обратной лопатой емкость ковша подбирается таким
образом, чтобы
где
- минимальная рабочая отметка по трассе, м;
-
наименьшая глубина забоя, обеспечивающая наполнение ковша за одно черпание. Для
вместимости ковша, равной 0,65 м3 при мокрых грунтах принимаем
. Получаем:
Наименьшая ширина торцевого забоя равна 1,3 м.
в) Обеспечение заданной ширины траншеи по дну. Емкость ковша подбирается
таким образом, чтобы:
где
- ширина режущей кромки ковша экскаватора, м,
принимается исходя из объема ковша экскаватора и равняется 1,15 м, при q =
0,65 м3.
Ширина
траншеи по дну:
Таким
образом получаем:
Экскаватор выбираем исходя из емкости ковша экскаватора и максимальной
глубины копания (3,46 м) по справочнику Перешивкина [4]:
экскаватор марки ЭО-4112А, со следующими техническими характеристиками:
вместимость ковша 0,65 - 0,8 м3;
максимальная глубина копания 6,8 м;
максимальный радиус копания 10 м;
максимальная высота выгрузки 5,3 м;
продолжительность рабочего цикла 23 с;
двигатель Д 1606 - 6 диз.;
транспортная скорость 4,3 км/ч;
масса 23700 кг;
габариты в транспортном положении 9500х3100х4200 мм.
Определение
эксплуатационной сменной производительности одноковшовых экскаваторов
,
; (8)
где
- емкость ковша экскаватора, равная 0,65 м3;
-
продолжительность смены в часах (
= 8 ч);
-
количество циклов экскаватора, зависит от емкости ковша.
; (9)
где
- продолжительность рабочего цикла экскаватора,
принимается равным 23 с [4].
.
-
коэффициент использования экскаватора по времени, равный 0,56 для песка при
емкости ковша 0,65 м3 по приложению 3 [2];
-
коэффициент использования емкости ковша, определяемый по формуле
; (10)
где
- коэффициент наполнения ковша грунтом, принимаем в
зависимости от типа грунта по табл. 4.31 [3] равный 0,98;
-
коэффициент разрыхления грунта в ковше, принимаем в зависимости от типа грунта
по табл. 4.33 [3] равный 1,1.

,
Так
как
, значит марка экскаватора подобрана правильно.
Расчет
экскаваторного забоя
Движение
экскаватора, при разработке траншей выполняется по оси с торцевой проходкой,
следовательно, расстояние от оси хода экскаватора до кавальера должно быть не
менее радиуса выгрузки экскаватора (Rвыгр). Для экскаватора ЭО -
4112А радиус выгрузки равен 10 м [4].
При
разработке грунта торцевой проходкой необходимо определить максимальный радиус
выгрузки (R) в отвал на бровку траншеи, и максимальную глубину копания. Для
этого составляем схему поперечного сечения разреза выемки на максимальную
глубину (рисунок 3).
Рисунок 3 - Схема выемки с односторонним отвалом грунта
Устанавливаем размеры кавальеров.
Требуемая площадь кавальеров, м2
Рисунок 4 - Схема выемки с односторонним отвалом грунта
; (11)
где
- максимальная площадь траншеи для участка траншеи с
откосами, м2,
-
коэффициент, учитывающий первоначальное разрыхление грунта, для песка равен 1,1
по приложению 2[2].
- объемы
обратной засыпки и отвозимого грунта, равные соответственно 31016,54 и 241,64
м3.
; (12)
м2.
где
- максимальная рабочая отметка на участке траншеи с
откосами равная 3,46 м.
м2.
Высота
кавальера треугольной формы при условии односторонней засыпки равна
, (13)
м.
Ширина
кавальера bo = 2ho, bo = 8,56 м
Радиус
выгрузки экскаватора, м будет равен
; (14)
где В - ширина траншеи поверху, м;
B = b + 2hmax m; (15)
где b - ширина траншеи понизу в месте ее
максимального заглубления, 1,460 м;
m -
уклон откосов траншеи (для песков 1:1);
а - расстояние от бровки траншеи до подошвы кавальера, т.к. выполняем
водопонижение, то принимаем, а ≥ 1,5;
B =
1,460 + 6,92 = 8,38 м,
м.
Экскаватор подобран верно.
Окончательно принимаем экскаватор ЭО - 4112А.
Схема разработки траншеи экскаватором торцевой проходкой изображена на
рисунке 4.
Lп -
длина рабочей передвижки экскаватора
Рисунок 4 - Схема разработки траншеи экскаватором торцевой проходкой
4.2 Подбор транспортных средств
Рекомендуемую грузоподъемность транспортных средств принимаем в
зависимости от дальности транспортирования (2 км) и емкости ковша экскаватора,
на основании которой устанавливаем марку транспортного средства. Принимаем МАЗ
- 53363 [4]со следующими характеристиками:
колесная формула 4х2
грузоподъемность 8280 кг
снаряженная масса 7950 кг
полная масса 16380 кг
двигатель ЯМЗ - 238Д дис. с турб
мощность 234 кВт (330 л.с.)
максимальная скорость 115 км\ч
контрольный расход топлива при v=60 км\ч 33 л на 100 км
количество мест 2
внутренние размеры платформы, мм 6100х2420х690
колесная база 490 мм
дорожный просвет 260 мм
габариты 8630х2500х3180
Для определения количества необходимых самосвалов определяем количество
ковшей загружаемых в одно транспортное средство
; (16)
где
Ке - коэффициент использования емкости ковша, рассчитываемый по формуле
; (17)
где
Кн - коэффициент наполнения, Кн =0,98;
Кр
- коэффициент разрыхления, Кр =1,1.
Тогда
.-
грузоподъемность транспортного средства, для МАЗ - 53363 грузоподъемность составляет
8 т;
γ - удельный вес грунта, равный 1,6
;-
емкость ковша экскаватора, равная 0,65 м3.
шт.
Требуемое
количество транспортных средств, шт
; (18)
где
Тц - время одного цикла транспортного средства [4], мин;
; (19)
где
- время движения груженого и порожнего транспорта
соответственно, мин;
- время
разгрузки, принимается 6 мин по табл. 10.5 [3];
- время
маневрирования, мин.
tн - время
загрузки, рассчитываемое по формуле
; (20)
где
tц - продолжительность рабочего цикла экскаватора, tц
=23 с.
мин.
Время
движения, груженого транспорта, мин
; (21)
где
L - расстояние транспортирования грунта, L=2 км;
Vcp - средняя
скорость движения транспорта, Vср =25 км/ч;
мин.
Общее
время маневрирования равно
; (22)
где
tуп - время установки под погрузку, принимается равным
18 с;
tур - время
установки под разгрузку, равное 36 с;о - время ожидания транспортом погрузки,
равное 15 с;пр - время на пропуск встречного транспорта, tпр = 60 с.
Перечисленные
коэффициенты определяются в соответствии с [3].м =18+36+15+60 =129 с = 2,15 мин
Тогда
время одного цикла транспортного средства равно
мин.
Требуемое
количество транспортных средств
машин
Для
вывоза грунта, разрабатываемого экскаватором, ЭО-4112А с емкостью ковша 0,65 м3
принимаем автосамосвалы МАЗ-53363 в количестве 6 штук.
При
параллельной работе экскаватора в транспорт и в отвал необходимо учесть
поправку на время разработки грунта при отгрузке отвала
; (23)
где
- время разработки грунта при работе экскаватора в
транспорт и навымет, соответственно, м3;
, (24)
, (25)
Vотв и Vнав
- объемы грунта, разрабатываемого экскаватором в транспорт и навымет
соответственно, м3;
-
производительность экскаватора при работе в транспорт и навымет,
см,
см,
.
С
учетом поправки
, (26)
.
В
данном курсовом проекте для вывоза грунта необходимо принять грузовой
автомобиль марки МАЗ-53363 в количестве 1шт.
.3 Выбор машин для обратной засыпки
Засыпка траншеи с уложенными трубопроводами должна производиться в два
приема: присыпка мягким грунтом и последующая засыпка, после испытания
трубопроводов, любым грунтом.
Присыпка
грунта может осуществляться одноковшовым экскаватором грейфер, краном с подачей
грунта в бадьях или вручную. Последующая засыпка - бульдозером. Бульдозер
подбираем таким образом, чтобы их производительность
,
,при обратной
засыпке была равна
, (27)
.
Принимаем
марку бульдозера ДЗ - 171.1, с трактором Т170.01.
Характеристики
бульдозера:
максимальное
тяговое усилие - 142 кН или 14,4тс;
марка
двигателя - Д - 160;
мощность
двигателя - 125 (170) кВт;
тип
отвала - поворотный;
высота
отвала - 1140 мм;
ширина
отвала - 4100 мм;
подъем
отвала - 0,93 м;
заглубление
отвала - 0,5 м;
масса
- 20000 кг;
габариты
- 5700х3420х3065 мм;
заглубление
рыхрытеля - 0,5 м;
ширина
захвата трехзубчатого рыхрытеля - 1300 мм.
5.
Разработка мероприятий по защите траншеи от подземных вод
Приток
воды к иглофильтровым установкам, смонтированным вдоль траншей, определяется из
выражения
; (28)
где
- приток воды,
, на 100
м траншеи с 2-х сторон;
-
коэффициент, принимаемый равным от 1 до 3; при малых сроках строительства и
большой мощности водоносного слоя (свыше 7-8 м) и малых сроках строительства
величина
ближе к 3; при коэффициенте фильтрации более 30
значения его ближе к 1, принимаем
;
S - глубина
необходимого понижения уровня грунтовых вод, м.Определяем по рисунку 6. S =
2,66 м.

.
Число
необходимых иглофильтров определяется исходя из пропускной способности
иглофильтра q, по формуле
; (29)
где
q - пропускная способность иглофильтра,
; (30)
где
kф - коэффициент фильтрации грунта,
, для песка принимается 1,7
.
d - наружный
диаметр иглофильтра, равный 0,05 м.
Иглофильтры
можно располагать в один ряд с одной стороны траншеи или в два ряда с двух
сторон. Однорядные установки применяются при необходимости понижения уровня
воды не более чем на 3 м при расстоянии от ряда иглофильтров до оси траншеи не
свыше 2-2,5 м.

,
.
Число
необходимых иглофильтров по всей длине траншеи определяется по формуле
; (31)
где
Lтр - длина траншеи, равная 2310 м.
.
Количество
установок, шт, равно
; (32)
.
Иглофильтры
необходимо устанавливать не менее чем через 3 м друг от друга в песках.
Определим расстояние через которое будут установлены 3 комплекта иглофильтров,
м.
; (33)
Расстояние
между иглофильтрами равное 3,85 м не допустимо. Принимаем
, а число иглофильтров, шт, пересчитываем
; (34)
,
.
Принимаем количество установок равное 8 шт.
Принимаем иглофильтры марки ЛИУ - 3 с насосами.
Характеристика насоса:
-
подача - 60
;
мощность
электродвигателя - 10 кВт;
масса
насоса - 350 кг;
высота
всасывания - до 6 м вод. ст;
полный
напор - 0,24 МПа;
В
одном комплекте иглофильтра содержится:
шланг
диаметром 100 мм, длиной 4 м, для соединения коллектора с насосным агрегатом
ЛИУ - 3 - 1;
шланг
диаметром 38 мм, длиной 1 м для соединения иглофильтров с коллектором 100 шт.;
задвижки
параллельные диаметром 100 мм - 1 шт.
Игловые
установки применяются для понижения уровня воды в траншеях и котлованах на
глубину 4-5 м при коэффициенте фильтрации грунта равном 1-10
.
Конструктивно
принимаем 16 комплектов иглофильтровых установок ЛИУ-3 с двухрядным
расположением, так как расстояние до оси траншеи от ряда иглофильтров свыше
2-2,5 м (4,39 м). Располагаем по 8 комплектов с каждой стороны траншеи.
Устанавливаем иглофильтры через 3 м
Рисунок 5 - Схема расположения иглофильтров
6. Выбор кранового оборудования
Для прокладки и монтажа трубопроводов, колодцев и других объектов
водоснабжения используются самоходные стреловые краны на гусеничном,
автомобильном или пневматическом ходу, а также краны трубоукладчики (рисунок
7).
При выборе кранового оборудования, необходимо учитывать три параметра:
) Требуемую грузоподъемность, т, вычисляемую по формуле
; (35)
где
- вес монтируемого элемента (стеновое кольцо),
принимаемый по табл. 2, и равный 0,6 т;
- вес
захватного приспособления (стропы) равный 0,005 т.
т.
) Требуемый
вылет стрелы
, м, при раскладке труб за краном определяется по
формуле:
,
; (36)
где
- половина ширины траншеи по верху, равная 4,19 м;
-
половина ходовой части крана, равная 1,6 м;
-
расстояние от бровки до крана, принимаем равным 2 м.
) Требуемую
высоту подъема крюка крана
, но при
укладке труб в траншею существенного значения не имеет.
Принимаем
кран на гусеничном ходу марки МКГ-16 М [4] с техническими характеристиками:
грузоподъемность,
т, при вылете стрелы: наименьшем - 16 т;
наибольшем
0,6 т;
длина
стрелы 10 м;
вылет
крюка - 4-22 м;
высота
подъема крюка, м, при вылете крюка: наименьшем - 10 м;
наибольшем
- 25,4 м;
скорость
подъема груза - 2,3-33 м/мин;
скорость
передвижения крана - 1 км/ч;
ширина
гусеничного хода - 3,2 м;
удельное
давление на грунт - 0,58 МПа;
радиус,
описываемый хвостовой частью - 3,65 м;
угол
подъема - 200.
Рисунок
6 - Схема работы крана по укладке трубопровода
7. Монтаж трубопроводов
.1 Подготовка оснований
Монтаж трубопровода - это перемещение трубопровода, сборка, опускание в
траншею, центрирование и другие работы, выполняемые механизмами с
использованием грузоподъемных приспособлений.
Грунт в естественном (ненарушенном) состоянии может служить надежным
основанием для труб и коллекторов, заполненных водой, так как их масса не
превышает массы вытесненной ими земли. Однако грунты по своему строению
неоднородны, они могут быть сухими или насыщенными водой.
Основания под трубы следует принимать в зависимости от несущей
способности грунтов и фактических нагрузок.
Основание под трубопроводы в зависимости от несущей способности грунта
может быть естественным и искусственным. Вид основания зависит от назначения,
диаметра, материала трубопровода, конструкции стыковых соединений, от степени
водонасыщенности грунта.
В зависимости от материала и диаметра труб и характера грунта
канализационные трубы укладывают непосредственно на грунт или искусственное
основание. В песчаных сухих грунтах трубы укладывают непосредственно на грунт.
При этом на 1/3 диаметра труба должна засыпаться песком. При прокладке труб в
супесчаных, суглинистых и глинистых сухих грунтах под трубу устраивают песчаную
подушку. В мягкопластичных глинистых и суглинистых сухих грунтах устраивают
бетонное основание.
В водонасыщенных грунтах трубы укладывают на слой щебня, гравия или
крупного песка толщиной 0,15 - 0,2 м с дренажными лотками для отвода воды, а
также предусматривается бетонная плита или основание из монолитного
железобетона.
В данном курсовом проекте коллектор укладывается на песчаный грунт,
поэтому устраивается естественное основание (рисунок 7).
Рисунок 7 - Схема укладки трубопровода в песчаный грунт
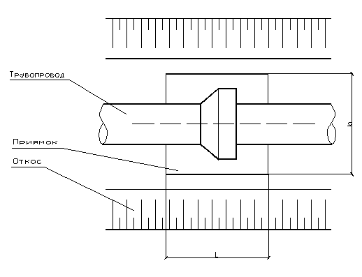
.2 Устройство приямков для монтажа стыков труб
В местах соединения труб для удобства их монтажа (сварки, заделки и
изоляции труб) заранее устраивают приямки с учётом свойств грунтов и количества
выпадающих осадков (рисунок 8). Укладку раструбных керамических труб ведут
снизу вверх по уклону раструбами вперёд. При стыковом соединении каждая
уложенная труба должна плотно опираться на основание.
Правильность уклона укладываемых труб проверяется по визирам. Зазор между
трубами в разных точках окружности трубы не должен отличаться на величину более
5 мм.
Приямки для труб диаметром менее 300 мм отрываются непосредственно перед
укладкой трубы. Размеры приямков зависят от материала труб, их диаметра и типа
соединения. Приямки выполняются особо тщательно путём подсыпки песка с
послойным трамбованием.
Общими характеристиками приямков для керамических труб являются:
глубина h=0,2 м;
длина l=0,5 м;
ширина b=Dн+0,5 м.
Для диаметра 200 мм b=0,24+0,5
= 0,740 м
Для диаметра 250 мм b=0,294+0,5
= 0,794 м
Для диаметра 350 мм b=0,406+0,5
= 0,906 м
Для диаметра 400 мм b=0,460+0,5
= 0,960 м
Рисунок 8 - Устройство приямков под керамические трубы
7.3 Заделка стыков соединений труб
Стыки керамических труб должны быть герметичными и обладать некоторой
упругостью. В стыковых соединениях керамических трубопроводов в качестве
уплотнительных материалов применяют пеньковую смоляную или битуминизированную
прядь, для агрессивных стоков - асбестовый шнур или пеньковую прядь, тщательно
пропитанные синтетической мастикой.
Для заделки стыков применяют следующие материалы: асфальтовую мастику,
битумную мастику, глину, цементный раствор или асбестоцементную смесь,
специальные мастики на основе полимерных смол.
Мастики должны иметь следующий состав по массе:
асфальтовая- 34% асфальта и 1-2% битума БН-III; битумная - 28,5% нефтебитума БН-III, 28,5% битума БН-II и 43% наполнителя
(гранитно-известняковой муки).
В курсовом проекте для заделки стыков керамических труб применяем
асфальтовую мастику, которую необходимо предварительно нанести на наружную
поверхность конца трубы и на внутреннюю поверхность раструба (рисунок 9).
Рисунок 9 - Заделка стыков соединений керамических труб
8. Монтаж колодцев
На сети водоотведения предусматривается строительство смотровых и
перепадных колодцев, а также соединительных камер.
Смотровые колодцы и камеры предусматривают в местах присоединения, в
местах изменения направления уклонов и диаметров трубопроводов, на прямых
участках на расстояниях, удобных для эксплуатации.
В зависимости от назначения смотровые колоды делятся на линейные,
поворотные, узловые и контрольные. Кроме того, применяют промывные, перепадные
и специальные колодцы.
Поворотные колодцы предусматривают во всех точках изменения направления
линии в плане (на поворотах). Поворотный колоде отличается от линейного только
формой лотка.
Узловые колоды устраивают в местах соединения двух-трех канализационных
линий. Они имеют узел лотков, соединяющих не более трех подводящих труб и одной
отводящей. Узловые колодцы на крупных коллекторах называют соединительными
камерами.
Контрольные колодцы выполняют в местах присоединения дворовой,
внутриквартальной или заводской сети к уличной и располагают за пределами
красной линии застройки со стороны зданий. Эти колодцы служат для контроля за
работой сети водоотведения присоединяемых объектов.
Промывные колодцы устраивают для промывки сети в начальных участках там,
где возможно выпадение осадков.
Перепадные колодцы предусматривают на участках, где отметки лотка
подводящей и отводящей труб резко различны.
Специальные колодцы предназначены для спуска приспособлений при прочистке
коллекторов.
В данном курсовом проекте предусматривается монтаж линейных колодцев
КСЛ-7, КСЛ-8, КСЛ-16, КСЛ-26, КСЛ-31. Линейные колодцы устраиваются на
прямолинейных участках сети водоотведения и предназначены для её осмотра и
очистки. В соответствии с действующими нормативами расстояние между колодцами
принимается в зависимости от диаметра труб от 30 м (при Æ150 мм) и до 300 м (при Æ2000 мм).
Колодцы делают из бетона, железобетона или кирпича, а в настоящее время
из структуральных труб «Прокор». Однако из кирпича и других материалов
устраивать колоды следует при надлежащем технико-экономическом обосновании.
Бетонные колоды изготавливают двумя способами: набивкой их на месте или собирая
стандартные элементы, изготавливаемые на заводе. В настоящее время в основном
используют второй способ.
Основание колода состоит из бетонной или железобетонной плиты и набивных
лотков из монолитного бетона марки 200. На грунтах при отсутствии грунтовых вод
толщину бетонной или железобетонной плиты для малых колодцев допускается
принимать 80 см.
На плиту укладывают концы труб, а по периметру - регулировочные камни до
верха трубы, затем по шаблону делают бетонный лоток, соответствующий форме и
размерам трубы. Максимальную глубину лотка принимают равной диаметру наибольшей
трубы.
Рабочую камеру устраивают высотой 1800 мм из стеновых колец внутренним
диаметром 700, 1000, 1500 и 2000 мм. Высоту колец принимают равной 290, 590 и
890 мм. Для спуска в колодец предусматривают ходовые скобы. Горловину собирают
из железобетонных колец диаметром 700 мм и высотой 290, 590 и 890 мм, а сверху
устанавливают опорные кольца. Горловину сверху закрывают люком с крышкой.
Вторую крышку устанавливают на опорное кольцо.
Для железобетонных конструкций смотровых колодцев и камер марку бетона по
прочности на сжатие, по морозоустойчивости и водонепроницаемости выбираем в
зависимости от климатических условий района строительства и категории
конструкций по условиям их работы под нагрузкой.
Выбираем для гродненской области бетон со следующими характеристиками:
прочность на сжатие 20 Мпа;
марка по морозостойкости F100;
по водонепроницаемости W4.
Заделка труб в стенах колодцев должна обеспечивать плотность соединения,
водонепроницаемость в условиях мокрых грунтов, а также возможность независимой
осадки стенок. Трубы следует заделывать в стенку, устанавливая в ней патрубок
из стальной или асбестоцементной трубы с зазором 30 мм на чеканку. Отверстие со
стороны наружной поверхности патрубка бетонируется. Бетонная заделка должна
выходить за пределы наружной поверхности стенки колодца на 100 мм, а края её
должны перекрывать отверстие в стенке колодца. Щель между трубой и патрубком
зачеканивается смоляным канатом, выходные отверстия щели заделываются
асбестоцементом.
При наличии грунтовых вод на наружную поверхность колодца на 0,5 м выше
их уровня наносят грунтовку и окрашивают её горячим битумом марки БН-14 дважды.
Сборный железобетонный колодец представлен на рисунке 10.
- люк с крышкой; 2 - кирпичная кладка; 3 - опорное кольцо;
- кольцо диаметром 700 и высотой 300-600 мм; 5 - плита; 6 - кольцо;
- лоток из железобетона; 8 - основание; 9 - щебёночная подготовка;
- скобы
Рисунок 10 - Сборный железобетонный колодец
9. Переход трубопровода через автодорогу
В данном курсовом проекте между пикетами необходимо выполнить прокладку
труб через автодорогу.
Бестраншейную прокладку сети устраивают в местах где прокладка
трубопроводов различных сетей с разработкой траншей затруднена или невозможна.
Существует несколько способов бестраншейной прокладки труб:
прокол;
продавливание;
щитовая проходка;
горизонтальное бурение.
Прокладку труб выполняем способом продавливания. При этом методе
устраивается защитный футляр, в который затем укладывают керамические трубы.
Проходку начинают с откапывания рабочего котлована, который должен быть на 2..3
м длиннее прокладываемой трубы и на 1..2 м шире её диаметра. После отрывают
приёмный котлован длиною 1,5..2 м.
Котлованы делают с откосами или без, но с креплением стенок на заднем торце
рабочего котлована устраивают упор из шпал или железобетонных блоков и
укрепляют приямок для сварки нашиваемой трубы. На дно котлована укладывают
направляющую раму из шпал и прикреплённых к ней уголков, рельсов или швеллеров.
На них устанавливают гидравлические домкраты и подготовленную для укладки
трубу. Отличительные особенности данного способа - большое число домкратов и
необходимость разрабатывать и удалять грунт внутри трубы. Вдавливание
производят циклически, переключая домкраты на прямой и обратный ход. Давление
от домкратов на трубу передают сменными нажимными патрубками, зажимными
хомутами или шомполами.
Грунт внутри трубы разрабатывают лопатой с укороченной рукояткой, а
удаляют рельсовой тележкой или роликовым совком с рельсовой лебёдкой, установленной
за пределами котлована.
При гидромеханической разработке грунта воду подают в забой по трубам
диаметром 38 мм под давлением 0,8..0,4 мм/м2. Пульпа стекает прямо в приямок,
откуда её откачивают насосами.
Прокладка трубопровода под автомобильной дорогой способом продавливания
изображена на рисунке 11.
- насос; 2 - приямок; 3 - укладываемая труба; 4 - наголовник;
- отверстия для штырей; 6 - шомпол; 7 - направляющая рама;
- нажимная балка; 9 - домкрат; 10 - свая
Рисунок 11 - Прокладка трубопровода под автомобильной дорогой способом
продавливания
10. Гидравлическое испытание трубопроводов
При прокладке сетей канализации трубопровод испытывают на прочность и
плотность. Испытания бывают: предварительное (испытывают отдельные участки
трубопровода) и окончательное (испытания проводят по всей длине трассы).
Предварительное испытание - испытание на прочность, при котором
выявляются дефекты сети (производится при монтаже трубопровода). Окончательным
испытанием называют испытание на плотность и герметичность. Оно выполняется
после завершения всех работ и засыпки трубопровода. Испытание выполняется
гидравлическим или пневматическим способом.
Проникание грунтовых вод в канализационную сеть через стенки труб и стыки
называют инфильтрацией, обратное же явление - эксфильтрацией. Инфильтрация
может происходить при укладке труб ниже уровня грунтовых вод, эксфильтрация -
при укладке труб выше уровня грунтовых вод.
Инфильтрация происходит главным образом через плохо заделанные стыки труб
и сборных железобетонных элементов, через стенки пористых бетонных труб или
колодцев, изготовленных из неплотного бетона. При инфильтрации сеть заполняется
грунтовыми водами, осложняется работа насосных и очистных станций вследствие
излишнего притока сточных вод, происходит просадка и разрушение трубопроводов.
Плотность заделки стыков канализационных самотечных трубопроводов, а
также сопряжение этих трубопроводов с колодами проверяют:
а) в мокрых грунтах - на поступление воды в трубопровод при естественном
горизонте грунтовых вод; при уровне грунтовых вод на 2-4 м над шелыгой трубы
поступление воды не должно превышать допускаемых значений, зависящих от
материала и диаметра труб, а при уровне грунтовых вод более 4 м над шелыгой
трубы допускаемое поступление воды увеличивается на 10% на каждый добавочный
метр напора;
б) в сухих грунтах - на утечку воды из трубопровода; для этого участок
трубопровода между колодцами наполняется водой до высоты 4 м над шелыгой трубы
в верхнем колодце; утечка не должна превышать допустимых значений;
в) в мокрых грунтах при уровне грунтовых вод менее 2 м над шелыгой трубы
- на утечку воды из трубопровода; испытание производят также, как в сухих
грунтах.
Сеть проверяют на водонепроницаемость до засыпки труб в траншеях: в
мокрых грунтах - замером притока грунтовой воды на водосливе, установленном в
лотке нижнего колодца, а в сухих грунтах - двумя способами.
По первому способу испытывают одновременно два смежных интервала сети с
тремя колодцами. В конечных колодцах устанавливают заглушки, а через средний колодец
наполняют систему водой до определенной отметки. Затем производят наружный
осмотр стыков на утечку и поддерживают постоянный уровень воды в течение 30
мин.
По второму способу испытания проводят на одном интервале до устройства
колодцев. Концы трубопровода закрывают заглушками с быстросоединяющимися
гайками, к которым присоединяют два резиновых шланга для наполнения водой и
выпуска воздуха. Нижнюю заглушку соединяют шлангом с переносным металлическим
баком, установленном на высоте 4 м над лотком трубы. Трубы заполняют водой
через бак и по рейке устанавливают необходимый уровень воды в нём. По мере
снижения уровня воды в баке доливают замеренное количество воды до прежнего
уровня. По количеству долитой воды в течение 30 минут определяют суточную утечку
в пересчёте на 1 км сети.
Таблица 5 - Допустимое поступление или утечка воды через стыки и стенки
самотечных трубопроводов на 1 км трубопровода (для керамических труб), м3/сут
|
Диаметр труб, мм
|
<150
|
200
|
250
|
300
|
400
|
500
|
600
|
>600
|
|
Допустимое значение, м3/сут
|
7
|
12
|
15
|
16
|
21
|
23
|
23
|
-
|
Герметичность трубопровода проверяют спустя 1..3 суток после заполнения
водой. Продолжительность испытания составляет не менее 320 минут. Трубопроводы
можно также испытывать с помощью сжатого воздуха.
Схема гидравлического испытания канализационных сетей после устройства
колодцев и до устройства показана на рисунке 12.
1 - распорка; 2 - заглушка; 3 - испытуемый трубопровод; 4 - переносной
бак; 5 - шланги; 6 - опора для крепления шланга
11. Карта
трудовых процессов
Основное назначение технологических карт - это оказать помощь строителям
и проектировщикам при разработке технологической документации. По технологическим
картам устанавливают технологическую последовательность выполнения
строительно-монтажных работ, что улучшает организацию производства, повышает
производительность труда.
Технологические карты подразделяются на:
1) типовые технологические карты;
2) карты трудовых процессов.
Карты трудовых процессов разработаны для массового внедрения в
строительное производство рациональных форм организаций труда и предназначены
для обучения рабочих непосредственно на строительной площадке.
Карты трудовых процессов разрабатывают на простой рабочий процесс,
представляющий собой совокупность операций организационно объединенных в
определенной технологической последовательности, результатом которого является
получение части строительной продукции.
Карта состоит из пяти разделов:
1. Назначение и эффективность применения карты
2. Исполнители и орудия труда
. Подготовка процесса и условия его выполнения
. Технология и организация процесса
. Приёмы труда
1. Назначение и эффективность применения карты
Карта трудовых процессов строительного производства - основной документ,
регламентирующий создание на стройках необходимых исходных условий для
организации труда рабочих. На научной основе комплект карт предназначен для
совершенствования организации труда бригад при монтаже наружных сетей
канализации и может быть использован непосредственно в строительных бригадах,
при проведении школ передового опыта, при обучении рабочих по специальности и
студентов на строительных факультетах.
Эффективность применения карты:
|
по КТП
|
по ЕНиР
|
|
Выработка на 1 чел-день, м3
грунта
|
2,48
|
2,28
|
|
Затраты труда на 100 м3
грунта, чел-час
|
3,21
|
3,52
|
2. Исполнители и орудия труда
Исполнители:
Машинист экскаватора VI
разряда (м);
Помощник машиниста V
разряда (п).
Инструменты:
Экскаватор, оборудованный обратной лопатой, с вместимостью ковша 0,65 м3;
Визирка ходовая инвентарная;
Лопата штыковая;
Лом монтажный;
Молоток слесарный;
Кувалда массой 5 кг.
3. Подготовка процессов и условия выполнения
До начала работ необходимо:
Выровнять бульдозером поверхность грунта в пределах полосы движения
экскаватора по оси траншеи;
Закрепить на местности границы траншеи и её ось с установкой колышков
через каждые 10-15 м;
разработать дорожное покрытие (при его наличии);
закрепить колышками оси движения экскаватора через каждые 20 м,
отшурфовать действующие коммуникации и установить знаки;
установить временные водоотливные лотки;
установить по нивелиру на бровке траншеи обноски с учётом заданного
уклона трубопровода и закрепить их на расстоянии не более 50 м друг от друга.
. Технология и организация процесса
. Приёмы труда.
Рисунок
13 - Схема организации рабочего места
Рисунок 14 - Разработка грунта в забое
Рисунок 15 - Разработка грунта в отвал
12 Составление календарного плана и графика производства работ по
прокладке коллектора водоотведения
Назначение календарного плана:
установление оптимальной продолжительности строительства системы
водоотведения;
становление очередей строительства и пусковых комплексов;
определение строительства;
определение состава, последовательности и сроков выполнения работ
(подготовительный период и строительно-монтажные работы);
уточнение сроков поставок оборудования.
Календарный план устанавливает целесообразную последовательность и взаимную
увязку во времени работ по возведению отдельного здания или сооружения, а также
определяет потребность в рабочих кадрах, материалах, машинах и механизмах для
осуществления строительства. Календарный план сводится к технологической модели
комплекса строительства зданий.
Основное назначение календарного плана - составление графика процесса
строительства, в котором указываются все виды работ и исполнители. Важной
расчётной характеристикой плана являются сроки начала и окончания
строительства, а также сроки выполнения отдельных видов работ.
Календарные планы делятся на математические и имитационные модели.
Имитационная модель может быть умозрительной, описательной и графической.
Для составления календарного графика необходимо разработать календарный
план.
Порядок разработки календарного плана:
составление перечня (номенклатуры) работ;
выбор методов производства основных работ и ведущих машин;
расчёт нормативной трудоёмкости и машиноёмкости;
определение состава бригад;
уточнение технологической последовательности выполнения работ;
установка количества смен работы;
выявление возможности совмещения работ;
определение расчётной продолжительности отдельных видов работ;
сравнение полученной по графику продолжительности строительства объекта с
нормативной;
при необходимости корректировка графика.
Затраты труда определяем по формуле
; (38)
где
НВ - норма времени, определяемая по ЕНиР [2];
,2
- продолжительность смены;
V - объём работ;
n - число смен.
Продолжительность
работ определяем по формуле
; (39)
где
N - количество рабочих;
Результаты
расчетов и календарный план представлен в форме таблицы 6. Из таблицы 6 видно,
что общая трудоемкость составляет 667,09 чел-дней.
Продолжительность
работ - 60 дней. Графики поступления на обьект строительных конструкций,
изделий, материалов и потребность в строительных машинах приведены на графиках
2 и 3.
13. Охрана труда при устройстве земляных сооружений
Перед началом работ каждый рабочий должен пройти инструктаж по технике
безопасности.
До начала работ на монтажной площадке следует определить места проходов и
проездов, установить опасные зоны, которые надо оградить или оснастить
предупредительными знаками, надписями или сигналами.
Монтажники должны работать в специальной одежде, защитных касках и
рукавицах. Для спуска в глубокие траншеи и подъёма из них рабочий должен
пользоваться лёгкой прочной переносной лестницей.
Монтируемое оборудование на монтажной площадке следует размещать так, чтобы
оно не мешало производству работ.
В целях безопасности ведения монтажных работ очень важно правильно
подобрать монтажный кран. В случае расположения его на откосе необходимо
проверить степень его устойчивости. Откос должен быть устойчивым при воздействии
небольших нагрузок крана. Зона передвижения стрелы крана не должна накрывать
рабочие места монтажников. Перемещение кранов с грузами над рабочими строго
запрещается. Рабочая зона крана должна быть ограждена установкой
предупредительных щитов.
Строительная площадка должна быть ограждена и иметь достаточное
освещение.