Новый агрегат для переработки твердых отходов

  • Вид работы:
    Статья
  • Предмет:
    Биология
  • Язык:
    Русский
    ,
    Формат файла:
    MS Word
    24,11 kb
  • Опубликовано:
    2009-01-12
Вы можете узнать стоимость помощи в написании студенческой работы.
Помощь в написании работы, которую точно примут!

Новый агрегат для переработки твердых отходов

Новый агрегат для переработки твердых отходов

Канд.техн.наук А.С.Парфенюк (ДонГТУ, Украина)

Разработка техники и технологии комплексной переработки твердых отходов представляет собой одну из наиболее актуальных проблем, стоящих перед современной цивилизацией. При этом твердые углеродсодержащие отходы промышленного и бытового происхождения являются вторичными ресурсами, объемы которых вблизи крупных городов измеряются сотнями миллионов кубометров и продолжают быстро расти. В результате продолжается загрязнение поверхностных и подземных вод, воздуха и отчуждение почв. По экономическим и технологическим причинам в настоящее время полное использование таких отходов невозможно. Неиспользуемые отходы складируют на полигонах, в шламонакопителях, частично сбрасывают в канализацию, подвергают захоронению или обезвреживают с помощью различных химических, термических и других методов. Возрастающее многообразие и постоянный поиск способов обезвреживания и переработки твердых отходов во всем мире свидетельствует об остроте проблемы. Причем современные предприятия и установки для переработки различных отходов имеют оборудование не менее технически сложное, чем в передовых отраслях промышленности.

В качестве одного из наиболее эффективных способов термической переработки при комплексном использовании твердых углеродсодержащих отходов может быть применен термолиз—сравнительно простой способ, обеспечивающий лучшее обезвреживание отходов и их использование в качестве топлива и химического сырья.

В настоящее время в действующих и разрабатываемых термолизных печах достигают следующих основных целей: получение газа, масел и жидких углеводородов; вторичное использование твердого углеродистого остатка и шлака или получение высококалорийного газа; одновременное осуществление термолизной газификации; сокращение образования сажи.

Процесс термолиза твердых углеродсодержащих отходов более эффективен по сравнению с непосредственным сжиганием отходов и с точки зрения предотвращения загрязнения окружающей среды. Наиболее экологически чистым представляется экзотермический термолиз, реализуемый в относительно компактном оборудовании. Но и при эндотермическом термолизе ввиду его протекания при низком содержании кислорода происходит незначительное выделение NOx, SOx, HCl и прочих загрязняющих веществ, причем газ и масла можно сжигать при низком содержании воздуха в компактном оборудовании, что делает выброс газов в атмосферу незначительным.

С помощью термолиза можно перерабатывать вещества, трудно поддающиеся переработке-такие, как автопокрышки, лом пластмасс, отработанные масла, отстойные вещества. Поскольку после термолиза практически не остается биологически активных веществ, то захоронение твердого зольного остатка не наносит существенного ущерба окружающей среде. К тому же при термолизе образуется пепел с высокой плотностью, что резко уменьшает объем отходов, подвергающихся захоронению (ввиду термического разложения и последующего сжигания вещества эффект снижения объема отходов больше, чем при прямом сжигании). Термолиз не сопровождается восстановлением (выплавкой) тяжелых металлов, отходы превращаются в легко транспортируемые и аккумулируемые источники сырья и энергии. Так, в соответствии с потребностями можно получать масла или жидкие топлива, которые легко транспортируются и хранятся, газ, который можно непосредственно подавать по газопроводам потребителю, и низкосортное твердое углеродистое топливо для промышленных энергоустановок.

В этой связи целесообразно искать возможности переработки твердых углеродсодержащих отходов на коксохимических заводах, тем более что сейчас они загружены на 25-40% своей мощности, а некоторые коксовые батареи выведены на холодную консервацию. Однако проблема-в отсутствии оптимальных промышленных агрегатов для термолиза наиболее массовых отходов: шламов углеобогащения и бытовых отходов. Существующие коксовые печи из-за ограниченных возможностей управлять процессом для этих целей не приспособлены, а выгрузка твердого остатка продукта термолиза после завершения процесса термического разложения весьма затруднена в связи с техническими трудностями при его выталкивании.

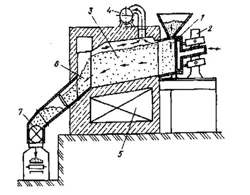
Все преимущества термолиза пока в полной мере не реализуются на известных установках, поэтому полностью не используется и весь сырьевой и энергетический потенциал промышленных и бытовых отходов. По нашему мнению, наиболее полно все основные достоинства термолиза могут быть достигнуты при осуществлении процесса в наклонных блочных агрегатах (НБА), разработанных Донецким государственным техническим университетом. НБА компонуют в батареи, аналогичные обычным коксовым батареям /1/. На рисунке представлена схема НБА (продольный разрез агрегата).

Схема НБА

Схема наклонного блочного агрегата для термолиза углеродистых материалов:

1 - камера прессования; 2 - прессующе-проталкивающее устройство; 3 - камера термолиза; 4 - газосборник; 5 - регенератор; 6 - камера изотермической выдержки; 7 - разгрузочное устройство

Одним из возможных направлений применения НБА является их использование для переработки твердых углеродсодержащих отходов бытового происхождения, шламов углеобогащения, отходов коксохимического и других производств. На базе НБА после доработки под исходное сырье можно создать агрегаты, предназначенные для интенсивной переработки таких отходов. Подготовка сырья предполагает его предварительную классификацию по крупности с извлечением металлов и керамики, измельчение крупных классов, перемешивание компонентов в заданной пропорции, брикетирование или компактирование.

Конструкция агрегата органически совмещает в едином технологическом процессе происходящие в определенных зонах (блоках) загрузку, уплотнение и проталкивание сырья, его термолиз с получением газообразных, жидких химических продуктов и твердого углеродистого остатка, возможную изотермическую выдержку, газификацию или сжигание твердого углеродистого остатка в котлоустановке с последующим его охлаждением на конвейере и разгрузкой.

Технология обеспечивает полное отсутствие газопылевых выбросов в атмосферу. Отвод, улавливание и переработка летучих продуктов термолиза протекают по схеме, аналогичной схеме для традиционного химического крыла коксохимических заводов. Гибкое варьирование параметров переработки в зависимости от свойств сырья и целевого продукта осуществляется за счет регулирования степени уплотнения, режима загрузки и теплового режима и других параметров агрегата. Предусмотрена работа батареи НБА в автоматическом режиме, когда весь процесс от подачи сырья на прессование до выгрузки твердого остатка происходит без прямого участия человека. При любом варианте реализации процесса предотвращается прямое сжигание отходов, токсичные твердые вещества, имеющиеся в отходах, оказываются связанными в твердом остатке термолиза или золе.

Перечисленные достоинства новой технологии переработки твердых углеродсодержащих отходов при ее внедрении в промышленных масштабах на некоторых коксохимических предприятиях выразятся в конечном итоге в достижении значительного экологического, экономического и социального эффекта, что делает такую технологию весьма привлекательной и перспективной для освоения.

Список литературы

1 Парфенюк А.С., Зборщик М.П. Экологически чистая технология коксования углей в наклонных камерных печах: Тез. науч.-техн. семинара "Фундаментальные основы экологически чистых технологий". "Технология-91". -Донецк, 1991. С.76.

Для подготовки данной работы были использованы материалы с сайта http://masters.donntu.edu.ua


Не нашли материал для своей работы?
Поможем написать уникальную работу
Без плагиата!
Без нейросетей!