Шнекороторный снегоочиститель на базе трактора Т-150

  • Вид работы:
    Дипломная (ВКР)
  • Предмет:
    Транспорт, грузоперевозки
  • Язык:
    Русский
    ,
    Формат файла:
    MS Word
    3,03 Мб
  • Опубликовано:
    2012-05-04
Вы можете узнать стоимость помощи в написании студенческой работы.
Помощь в написании работы, которую точно примут!

Шнекороторный снегоочиститель на базе трактора Т-150

1. Технико-экономическое обоснование


1.1 Обзор существующих конструкций машин для уборки снега


Машины для уборки взаимодействуют со снегом и снабжаются рабочими органами пассивного или активного типа. Анализ литературных источников показывает, что получили распространение снегоочистители плужного, щеточного и роторного типа. Роторные снегоочистители обеспечивают отбрасывание снега на значительные расстояния от дороги, и при их применении не требуется транспортных средств.

Универсальная машина УСБ-25Р с фрезерно-роторным оборудованием. Фрезерно-роторное оборудование УСБ25-Р входит в комплект сменных рабочих органов универсальной машины УСБ-25 для содержания скверов и бульваров и предназначено для перекидывания снега в сторону из валов и куч и расчистки дорожек от глубокого снега. В качестве базовой машины-тягача УСБ25-Т - используется трактор Т-25, оборудуемый дополнительными узлами и механизмами [3].

Фрезерно-роторный механизм навешивается специальными захватами на переднюю подъемную рамку тягача и соединяется с ней четырьмя болтами. Он состоит из рамы, конического редуктора, ротора, двух фрез - правой и левой, желоба с управляемым козырьком и ограждения.

Рама механизма представляет собой сварную конструкцию из листов и профилей. На ней монтируются узлы механизма. Передняя часть рамы выполнена в виде профиля и служит желобом для фрез. В верхней части желоба имеются отверстия для крепления редуктора. Задняя часть рамы представляет собой ферму с захватами для навешивания механизма на переднюю рамку тягача. Внутри фермы вварена улитка ротора. В диске, закрывающем отверстие улитки, предусмотрено место для установки стакана сферического подшипника ведущего вала редуктора.

Снежная масса, поступающая в желоб, подхватывается двумя фрезами, консольно-установленными на ведомом валу конического редуктора, и транспортируется к ротору, который с большой скоростью выбрасывает ее через горловину улитки. Для регулирования направления и дальности снежного потока на горловине улитки установлен желоб с управляемым козырьком. Привод фрезерно-роторного механизма от переднего вала отбора мощности тягача, который посредством карданной передачи соединен с ведущим валом конического редуктора. Ведущий вал вращается в трех шариковых подшипниках, двух радиальных и одном (на выходном конце) сферическом радиальном двухрядном. На одном конце вала закреплена шестерня г = 18, на другом - ступица, которая соединена с ротором через резиновые втулки, уменьшающие ударные нагрузки.

Для предотвращения перегрузок фрезерно-роторного механизма в трансмиссии тягача помещена шариковая муфта.

Универсальная машина КО-705Р с фрезерно-роторным оборудованием. Фрезерно-роторныи механизм входит в комплект сменных рабочих органов машины КО-705. Он предназначен для перекидывания снега в сторону из валов и куч, погрузки в автомашины для вывоза обвалованного снега с магистралей и улиц малых городов и поселков. В качестве базовой машины используется трактор Т40-А, оборудованный дополнительными узлами и механизмами. Конструктивная особенность машины - навешивание на тягач и снятие с него фрезерно-роторного механизма без дополнительных грузоподъемных приспособлений.

Фрезерно-роторный механизм навешивается специальными захватами на переднюю подъемную рамку тягача и соединяется с ней четырьмя болтами. Фрезерно-роторный механизм состоит из рамы, трансмиссии, рабочих органов, направляющих аппаратов и механизмов поворота направляющего аппарата.

Крутящий момент отбирается от переднего вала отбора мощности (п = 765 мин/мин) через цилиндрический редуктор, на выходном валу которого установлена ступица ротора. В зависимости от режима работы ротора погрузки снега или перекидки, в зацепление вводятся различные венцы блока шестерен цилиндрического редуктора. Ступица ротора другим концом соединяется через карданный вал с коническим редуктором, с помощью которого вращение передается на фрезы. Снежная масса поступает в желоб, в котором вращаются фрезы, подхватывается ими и транспортируется к средней части механизма» где в улитке вращается четырехлопастной ротор и с большой скоростью выбрасывает снег через направляющий аппарат.

Рисунок 1.1 - Фрезерно-роторная машина КО-705З (на базе Т-40) [3]

Технические характеристики машин для зимней уборки дорожек приведены в таблице 1.1.

Таблица 1.1 - Технические характеристики фрезерно-роторных очистителей

Параметры

УСБ-25Р

КО-705Р

Тип шасси

Тягач УСБ-25Р

Трактор Т-40А

Ширина захвата, м

1,4

1,7

Высота убираемого снега при полном захвате, м

0,3

0,6

Дальность отброса, м, до

6

17

Скорость движения машины, км/ч

0,73

0,59 - 2,23

Техническая производительность, м3

300

602 - 2260

Диаметр ротора, м

0,474

0,66

Ширина лопастей ротора, м

0,143

0,21

Длина лопастей ротора, м

0,13

0,18

Диаметр фрезы, м

0,48

0,86

Шаг фрезы, м

0,5

1,46

Частота вращения ротора, об/мин

920

541; 812

Частота вращения фрезы, об/мин

376

119; 179

Окружная скорость ротора, м/с

22,8

18,6; 28

Окружная скорость фрезы, м/с

9,45

5,35; 8

Масса оборудования, кг

220

670


Шнекороторный снегоочиститель Д-470 представляет собой самоходную машину на базе шасси трехосного автомобиля повышенной проходимости ЗИЛ-157КЕ (рисунок 1.2). Снегоочиститель предназначен для очистки от снега взлетно-посадочных полос и подъездных путей аэродромов и может успешно работать на разбрасывании снежных валов и удалении других снежных скоплений на площадях с усовершенствованным покрытием. Снегоочиститель выполнен по одномоторной схеме: автомобильный двигатель с машины снят, и привод рабочего органа и ходовой части осуществляется от установленного на раме шасси сзади кабины на месте снятого кузова автомобиля двигателя У2Д6-С2.

Рисунок 1.2 - Шнекороторный снегоочиститель Д-470

Рабочий орган состоит из смонтированных в общем цельносварном корпусе ротора и двух шнекового питателя. Боковины корпуса несут на себе вертикальные ножи, нижняя часть корпуса снабжена горизонтальным сменным ножом.

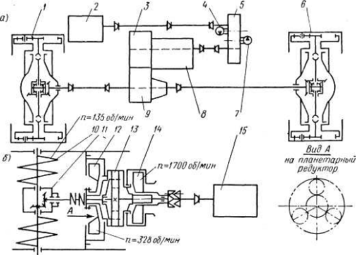
Рисунок 1.3 - Кинематическая схема шнекороторного снегоочистителя Д-470: 1 - питатель; 2 - ротор; 3 и 15 - предохранительные устройства; 4 - конический редуктор; 5 - раздаточный редуктор с демультипликатором; 6 - карданный вал; 7 - двигатель; 8, 9 и 13 - задний, средний и передний мосты; 10 - раздаточная коробка; 11 - коробка перемены передач; 12 и 14 - муфты сцепления; 16 - цепная передача

Привод ротора осуществляется от двигателя через систему карданных валов, раздаточный и конический редукторы (рисунок 3.3). Шнековому питателю крутящий момент передается от той же трансмиссии через ведомую шестерню конического редуктора и систему цепных передач, соединенных с выходным валом конического редуктора предохранительными калиброванными пальцами.

Для получения пониженных, рабочих скоростей передвижения снегоочистителя, в трансмиссии между двигателем и автомобильной коробкой перемены передач встроен ходоуменьшитель с прямой передачей и передачей 1:6. Наличие пятискоростной КПП и двухскоростной раздаточной коробки позволяет получить 10 рабочих скоростей в диапазоне от 0,35 до 5 км/ч. От ходоуменшителя отбирается мощность на насос гидросистемы, состоящей из маслобака, шестеренного насоса МШ-ЗА, двухзолотникового распределителя с предохранительным клапаном, двух гидроцилиндров подъема и опускания рабочего органа и одного гидроцилиндра поворота кожуха ротора.

Снегоочиститель снабжен системой подогрева, обеспечивающей возможность быстрого запуска двигателя в суровые зимние периоды.

Шнекороторный снегоочиститель Д-707 спроектирован на базе автомобиля ЗИЛ-131 в двух исполнениях: двухмоторном и одномоторном.

Исполнением снегоочистителя Д-707 по двухмоторному варианту предусмотрено создание снегоочистителя, сочетающего в себе аэродромную и дорожную модификации.

Рабочий орган снегоочистителя состоит из ротора и двухшнекового питателя с однозаходными шнеками, смонтированных в общем цельносварном корпусе, снабженном вертикальными и горизонтальными ножами для подрезания и обрушения снежной массы. Ротор заключен в кожух с патрубком для выброса снега, при помощи гидроцилиндра поворачиваемым в заданное положение на правую или левую сторону. Кожух рабочего органа внизу снабжен поворотными вокруг вертикальной оси и регулируемыми по высоте лыжами.

Механизм передвижения снегоочистителя приводится от автомобильного двигателя, а в целях получения необходимых рабочих скоростей в трансмиссию механизма встроен двухступенчатый ходоуменьшитель с передачами 1: 1,645 и 1: 5,85. Привод рабочего органа осуществляется от дизеля ЯМЗ-238НБ, установленного на раме шасси автомобиля сзади кабины на месте снятого кузова. Через цилиндрические редукторы, систему карданных валов и цилиндрическую передачу раздаточного редуктора крутящий момент передается ротору и дополнительно через коническую передачу раздаточного редуктора и цепную передачу шнекам.

Трансмиссия рабочего органа позволяет получить при номинальном числе оборотов двигателя две скорости ротора: повышенную - для аэродромной модификации, обеспечивающую значительную дальность отброса снега, и пониженную - для дорожной модификации, дающую возможность получить более высокую производительность при соответственно уменьшенной дальности отброса снега.

Второе, одномоторное исполнение шнекороторного снегоочистителя Д-707С ЩЭ-210) - это аэродромный вариант снегоочистителя с одной повышенной дальностью отброса снега. Этот снегоочиститель, предназначен для очистки от снега взлетно-посадочных полос, подъездных путей и других площадей аэродромов, и его применение на работах, где не требуется отбрасывания снега на значительное расстояние, недостаточно рентабельно.

Рабочий орган снегоочистителя этого исполнения полностью унифицирован с рабочим органом шнекороторного снегоочистителя Д-470 и состоит из такого же ротора и питатели, смонтированных в общем корпусе, снабженном вертикальными и горизонтальными ножами.

Рисунок 1.4 - Шнекороторный снегоочиститель ДЭ-210 (Д-707С)

Привод рабочего органа и механизма передвижения снегоочистителя осуществляется от двигателя У2Д6-250, установленного на раме автомобильного шасси сзади кабины. Автомобильный двигатель с машины снят, что позволило по сравнению с двухмоторным вариантом разгрузить передний мост при транспортном положении.

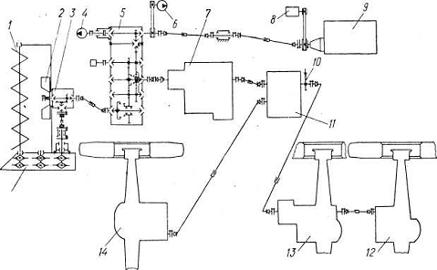
Рисунок 1.5 - Кинематическая схема шнекороторного снегоочистителя: ДЭ-210: 1 - питатель; 2 - ротор; 3 - конический редуктор; 4 и 6 - гидронасосы; 5 - раздаточный редуктор; 7 - коробка перемены передач с ходоуменьшителем; 8 - компрессор; 9 - двигатель; 10 - ручной тормоз; 11 - раздаточная коробка; 12, 13 и 14 - задний, средний и передний мосты; 15 - цепная передача

Для получения пониженных рабочих скоростей в трансмиссию встроен двухскоростной ходоуменьшитель с прямой передачей и передачей 1:6,96. Так как раздаточная коробка двухскоростная и коробка перемены передач пятискоростная, то это обеспечивает получение 10 рабочих скоростей машины в диапазоне от 0,384 до 5,92 км/ч. Привод механизма передвижения осуществляется от двигателя через раздаточный редуктор, коробку перемены передач, ходоуменьшитель, раздаточную коробку, систему карданных передач, главные передачи и дифференциалы ведущих мостов. Ротор приводится от того же двигателя через раздаточный редуктор и редуктор рабочего органа, шнеки - дополнительно через коническую и систему цепных передач. От раздаточного редуктора отбирается мощность на насос гидросистемы. Гидросистема рабочего оборудования (рисунок 1.5) приводится от насоса НШ-10.

Фрезерно-роторный снегоочиститель Д-558 (рисунок 1.6) представляет собой самоходную машину с рабочим оборудованием, состоящим из ротора, питателя и воздуходувной установки, смонтированных на тягаче МоАЗ-542. Машина способна удалять с больших площадей, имеющих усовершенствованное покрытие, значительные массы слежавшегося и смерзшегося снега и отбрасывать его на расстояние более 50 м. Это достигается за счет большой мощности силовых установок, высокой окружной скорости ротора и поддува снежной струи сжатым воздухом.

Снегоочиститель выполнен по двухмоторной схеме. Ходовая часть приводится от дизеля ЯМЗ-238НБ, рабочий орган - от дизеля М-616В. В конструкцию тягача внесены, некоторые изменения: главными из них являются увеличение базы колес до 3600 мм, поднятие кабины водителя и перенос на новое место двигателя.

Трансмиссия механизма передвижения состоит из цилиндрического редуктора, от которого отбирается мощность на привод гидронасосов, пятискоростной коробки перемены передач с двухскоростным ходоуменьшителем, раздаточной коробки с реверсом, системы карданных передач, дифференциалов переднего и заднего мостов и колесных планетарных редукторов. Трансмиссия обеспечивает получение 10 скоростей от 1,36 до 27,2 км/ч вперед и такое же количество скоростей назад.


Рисунок 1.6 - Фрезерно-роторный снегоочиститель Д-558

Рисунок 1.7 - Кинематическая схема фрезерно-роторного снегоочистителя Д-558: а - ходовая часть; б-рабочий орган; 1 и 6 - мосты базовой машины; 2 и 15 - двигатели; 3 - ходоуменьшитель; 4 и 7 - гидронасосы; 5 - цилиндрический редуктор; 8 - коробка перемены передач; 9 - раздаточная коробка; 10 - питатель; 11 - конический редуктор; 12 - ротор; 13 - планетарный редуктор; 14 - вентилятор поддува

Трансмиссия привода рабочего органа содержит муфту сцепления, систему карданных валов, планетарный и конический редукторы. Вентилятор приводится от двигателя прямой передачей, ротору крутящий момент передается через планетарный, питателю - дополнительно через конический редуктор.

В целях предохранения трансмиссии и рабочего оборудования от поломок, ведомая шестерня конического редуктора соединена с фланцем, насаженным на вал фрезы, а ступица ротора - с ведомым валом планетарного редуктора посредством калиброванных пальцев, срезающихся при перегрузках.

Конструкции рабочих органов

Наиболее близки по конструкции рабочим органом предлагаемому варианту является рабочий орган машины Д-558.

Смонтированный на раме рабочий орган дорожной машины Д-558 (рисунок 1.8) навешен на тягач с помощью подвески, толкающая рама которой шарнирно соединена с рамой базовой машины. Кожух рамы рабочего органа вверху имеет рассекатели для обрушения нависающего над питателем снега, внизу - ножи для зачистки основания снежного забоя. Рабочий орган опирается на два катка.

Ротор - дисковый, шестилопастной - в центральной части имеет конусную форму, что позволило приблизить его центр тяжести к переднему мосту. Ротор заключен в кожух, снабженный выбросным патрубком, устанавливаемым в заданное положение посредством механизма, управляемого гидроцилиндром. Питатель состоит из двух фрез с четырехзаходными винтовыми лентами правого и левого вращения, соединенных между собой общим валом. Угол подъема винтовой линии ленты по наружному диаметру -25°, ширина ее 170 мм, в сечении она имеет форму уголка. Необходимая прочность ленты обеспечивается ребрами жесткости и мощными подпорками, соединенными с крестовинами вала.

Включение воздуходувки осуществляется с помощью зубчатой муфты независимо, от ротора. Нагнетаемый вентилятором сжатый воздух поступает в ресивер, откуда со скоростью порядка 80 м/сек выходит в щелевой насадок прямоугольной формы, охватывающий выбросной патрубок кожуха ротора по всему периметру. Работа с включенной воздуходувкой позволяет несколько увеличить дальность отбрасывания снежной массы за счет соответствующего уменьшения производительности снегоочистителя.

Гидросистема снегоочистителя состоит из гидроприводов рулевого управления тягача и рабочего оборудования. Гидропривод тягача имеет шестеренный насос и гидрораспределитель, следящее устройство рулевого управления и гидроцилиндры управления колесами; гидропривод рабочего оборудования имеет свой шестеренный насос и гидрораспределитель, два гидроцилиндра механизма подъема и опускания рабочего оборудования и гидроцилиндр поворота кожуха ротора. Масляный бак общий.

Приданная снегоочистителю радиостанция и дополнительное к имеющемуся на тягаче электроборудование обеспечивают обслуживающему персоналу машины двухстороннюю связь в любое время года и суток в радиусе до 20 км, а также работу снегоочистителя в ночное время и туман.

Запуск двигателя тягача осуществляется стартером, двигателя рабочего органа - сжатым воздухом от специальных баллонов, придаваемых машине. Для ускорения подготовки снегоочистителя к работе двигатели оборудованы системой подогрева.

Все органы управления снегоочистителем и контрольно-измерительные приборы размещены в кабине водителя.

Рабочий орган фрезерно-роторного снегоочистителя Д-904С Рабочее оборудование снегоочистителя (рисунок 1.9) - два шестилопастных ротора дискового типа и фрезерный питатель, заключенные в кожух, - установлено на подвешенной к трактору общей раме. В нижней части рама снабжена опорами, расположенными по ее краям, на которые рабочий орган опирается во время работы снегоочистителя. Каждый ротор заключен в кожух, снабженный выбросным патрубком.

Рисунок 1.8 - Рабочий орган фрезерно-роторного снегоочистителя Д-558: 1-кожух ресивера; 2 - выбросной патрубок; 3 - колесо вентилятора; 4 - кожух ротора; 5 - планетарный редуктор; 6 - гидроцилиндр механизма поворота кожуха; 7 - питатель; 8 - рассекатель; 9 - рама

Статически отбалансированный ротор насажен на выходной вал соответствующего конического редуктора, и для предохранения ротора и трансмиссии от поломок в случае превышения расчетных усилий при встрече с непреодолимым препятствием вал ротора соединен с приводным коническим колесом посредством срезных калиброванных штифтов, рассчитанных на передачу лишь заданного крутящего момента. Фрезерный питатель выполнен в виде двух отдельных четырехзаходных винтовых ленточных фрез с правой и левой навивкой, разрабатывающих забой в лобовом направлении, и боковых фрез лопастного типа, расположенных по торцам питателя и разрабатывающих боковые стенки забоя, способствуя тем самым уменьшению боковых усилий, действующих на питатель при его повороте в забое. Предохранение фрезерного питателя от поломок при попадании в него твердых включений крупных размеров осуществляется за счет проскальзывания пневмошинных муфт, служащих связующим звеном между цепной передачей и валом питателя и отрегулированных на заданный крутящий момент. Питатель заключен в кожух, составленный из двух отдельных кожухов для правой и левой фрезы, и снабжен в нижней части горизонтальным ножом для подрезания снега.

Гидросистема состоит из двух шестеренных насосов НШ-46 и НШ-10, приводимых от тракторного двигателя, гидрораспределителя, масляного бака, гидроцилиндров для подъема и опускания рабочего оборудования, а также для поворота кожухов роторов.

Рисунок 1.9 - Рабочий орган машины Д904С: 1 - корпус редуктора раздаточного; 2 - корпус рабочего органа; 3 - фреза торцовая; 4 - рама; 5 - кожух ротора; 6 - рассекатель; 7 - питатель; 8 - кожух питателя; 9 - лыжа; 10 - корпус редуктора конического левого ротора

Рисунок 1.10 - Схема питателя шнекового типа (машина Д-904С): 1 - лента фрезы; 2 - вал фрезы; 3 и 4 - фреза торцовая; 5 - звездочка ведомая; 6 - муфта пневмошинная

Рисунок 1.11 - Общий вид фрезернороторного снегоочистителя МС-59: 1 - питатель; 2 - кожух ротора; 3 - направляющая труба; 4 - направляющий желоб; 5 - шасси; 6 - коробка перемены передач; 7 - управление; 8 - двигатель

Фрезерно-роторный снегоочиститель МС-59 является малогабаритной машиной, предназначенной для очистки от снега мест стоянок, тротуаров, бульварных дорожек, дворов, складских площадок и различных труднодоступных мест, где использование крупногабаритных снегоочистителей невозможно, с отбросом снега или погрузкой в транспорт. Снегоочиститель представляет собой самоходный агрегат, передвигающийся на двух пневмоколесах и двух самоориентирующихся катках, регулируемых по высоте, и состоит из шасси и рабочего органа. Соединение рабочего органа с шасси осуществлено при помощи откидных болтов по привалочной плоскости с центрирующим поясом.

Рабочий орган состоит из ротора и питателя в виде двух четырехзаходных фрез ленточного типа. Статически отбалансированный ротор, представляет собой стальной диск, с тремя радиально расположенными лопастями, заключенный в кожух, который снабжен выбросным патрубком, позволяющим отбрасывать снег под углом к горизонту от 15° и больше на правую или левую сторону. Поворот кожуха в нужное положение осуществляется поворотным механизмом вручную. Фрезы питателя выполнены из труб, к которым приварены ленточные спирали с отгибными зубьями. Вал питателя смонтирован на опорах в кронштейнах рамы рабочего органа.

Снегоочиститель выполнен по одномоторной схеме (Рисунок 1.12). Мотоциклетный двухцилиндровый двигатель М-72, задросселированный на мощность 14 л. с, приводит ходовую часть снегоочистителя и рабочее оборудование через коробку перемены передач.

Фрезерно-роторный снегоочиститель Д-663 является малогабаритной машиной, предназначенной для очистки от снега заводских территорий, открытых складов и небольших площадей в труднодоступных местах и отбрасывания снега в сторону или погрузки его в транспортные средства. Рабочее оборудование снегоочистителя навешено на полностью гидрофицированный двухосный колесный тягач рамной конструкции Д-456 с жесткой подвеской на четырех пневматических колесах. Каждая пара колес, расположенных по одну сторону тягача, приводится от своего гидродвигателя, питаемого насосом переменной производительности.

Рисунок 1.12 - Кинематическая схема фрезерно-роторного снегоочистителя МС-59: 1-питатель; 2 - конический редуктор; 3-муфта предельного момента; 4 - ротор; 5 - муфта кулачковая; 6 - червячная зубчатая пара; 7 - ходовое колесо; 8 - коробка перемены передач; 9 - двигатель; 10 - муфта соединительная

Рисунок 1.13 - Кинематическая схема тягача Д-456: 1 - двигатель; 2 - муфта центробежная; 3 - раздаточная коробка; 4 - насос переменной производительности; 5 - гидродвигатель; 6 - редуктор; 7 - гидронасос привода рабочего органа; 8 - муфта зубчатая

Механизм привода рабочего органа также гидромеханический: от двигателя тягача приводится насос постоянной производительности, питающий гидродвигатель, передающий через систему зубчатых передач крутящий момент ротору и от вала ротора через конический редуктор - питателю.

Питатель выполнен в виде трехзаходной фрезы ленточного типа с углом подъема винтовой линии наружной кромки 30°.

Для погрузки снега в транспортные средства снегоочиститель снабжен погрузочным желобом, установленным над выбросным патрубком.

1.2 Анализ зарубежных снегоочистителей


Анализ конструкций зарубежных снегоочистителей показывает, что за границей получили распространение снегоочистители на базе погрузчиков.

Анализ конструкций снегоочистителей показывает, что в нашей стране не выпускаются снегоочистители, разработанные для функционирования с тракторами класса тяги 3 кН с гидроприводом рабочих органов.


2. Выбор и анализ аналога и базового трактора

2.1 Выбор прототипа


Наиболее близкие параметры разрабатываемому объекту имеет снегоочиститель ДЭ-226, устанавливаемый на шасси автомобиля Урал-4320 (рисунок 2.1).

Рисунок 2.1 - Общий вид и параметры шнекороторного снегоочистителя на базе шасси Урал-4320 (по материалам выставки «Строительство и архитектура - 2008», Красноярск) (аналог)

Техническая характеристика шнекороторного снегоочистителя приведена в таблице 2.1.

Таблица 2.1 - Техническая характеристика шнекороторного снегоочистителя ДЗ-226 (СШР-2,6Г)

Наименование параметра

Единица измерения

Величина

Базовое шасси


Урал-4320

Производительность

т/ч

1500

Дальность отбрасывания снега

м

30

Ширина захвата

мм

2810

Максимальная толщина снега, очищаемого за один проход

мм

1600

Двигатель приводной


дизель 1Д12БМ

Мощность

кВт (л.с.)

295 (400)

Скорость транспортная

км/ч

52

Скорость технологическая

км/ч

0,3 - 7,0

Максимальная плотность убираемого снега

т/м3

0,7

Число шнеков


2

Число роторов


1

Полная масса

кг

15 100

Производитель


«АМКОДОР»


2.2 Выбор базового трактора


В качестве базовой машины был выбран трактор класса тяги 30кН - трактор Харьковского тракторного завода - ХТЗ-150К-09 (Украина).

Техническая характеристика трактора (по материалам сайта www //htz.ua):

Трактор сельскохозяйственный колесный ХТЗ-150К-09

База, мм - 2860

Колея, мм - 1680-1860

Тяговое усилие, кН - 1080-6000

Скорость, км/ч:

вперед - 3,36 - 30,08

назад - 5,1 - 9,14

Радиус поворота, м - 6,5

Экспл. масса, кг - 8005

Экспл. мощность двигателя, кВт (л.с.) - 121,4 (165)

Модель двигателя - ЯМЗ-236Д

Завод-изготовитель двигателя - Ярославский моторный завод (РФ).

Числовые значения параметров трактора приведены на первом листе графической части дипломного проекта.

На тракторе сзади установлена гидравлическая навесная трех точечная система, которая может переналаживаться в двух точечную наладку. Грузоподъемность, приведенная к оси подвеса, составляет 3 000 кг, что позволяет навешивать на трактор снегоочиститель. Высота подъема оси подвеса от поверхности почвы составляет 1050 мм. Высота стойки присоединительного треугольника составляет значения от 800 до 1000 мм. Высота самой стойки - 900 мм. Размеры присоединительных шарниров: центральной тяги Ç 30 х 80 мм, продольных тяг - Ç 30 х 50 мм. Общий вид навесной системы показан на рисунке 2.3. Данные параметры были учтены при разработке навески снегоочистителя на трактор.

Рисунок 2.3 - Навесная система трактора Т-150

Сзади трактора установлен независимый вал отбора мощности (ВОМ) с частотой вращения в зависимости от наладки 1025 и 560 об/мин.


3. Определение основных проектных параметров


3.1 Анализ параметров предмета труда


Прочностные свойства снега

Предметом труда в снегоочистителе является снег, находящийся в естественном состоянии. Прочностные параметры снега, находящегося в естественном состоянии, приведены в таблице 3.1 [4].

Таблица 3.1 - Коэффициент сопротивления резанию крез, Н/см2 для снега в естественном состоянии

Вид снега

Плотность снега, г/см3

Температура снега в°С



от -1 до -3

от -4 до -22

ниже -22

Рыхлый

0,12-0,18

0,00-0,18

0,02-0,08

0,04-0,12

Слабоуплотненный

0,20-0,28

0,2-0,4

0,15-0,3

0,2-0,5

Плотный из мелкозернистого

0,30-0,36

0,3-0,6

0,4-0,7

0,5-1,0

фирна

0,37-0,44

0,6-1,1

1,0-1,6

1,2-1,8

Плотный из малосвязного

0,28-0,35

0,4-0,7

0,3-0,6

0,5-0, 9

крупнозернистого фирна

0,38-0,48

0,5-1,0

0,4-0,7

0, 7-1,0

Плотный, слежавшийся

0,42-0,52

0,8-1,7

1,4-2,2

1,8-3,0

под давлением верхних слоев






В таблице 3.1 приведены параметры снега, находящегося в естественном состоянии. С течением времени снег слеживается, и его свойства изменяются. Параметры слежавшегося снега приведены в таблице 3.2 [4].

Таблица 3.2 - Коэффициент сопротивления резанию крез, Н/см2 уплотненного снега

Вид снега

Плотность снега в г/см3

Температура снега в°С



от -1 до -3

от -4 до -22

ниже -22

Слабоуплотненный Плотный Очень плотный

0,30-0,40 0,45-0,52 0,55-0,65

0,5-1,2 1,0-2,5 2,0-3,5

0,8-2,5 1,5-4,0 3,0-8,0

1,5-3,5 3,0-8,0 7,0-13,0


Анализ данных таблиц 3.1 и 3.2 показывает, что прочностные параметры снега возрастают с понижением температуры окружающего воздуха.

Применение в тяговых и энергетических расчетах коэффициента сопротивления резанию крез, базирующееся на рациональной формуле академика В.П. Горячкина, предполагает, что его значение не зависит от сечения срезаемой стружки.

Несущая способность снега

Несущая способность снега как дорожной одежды, если он не подвергался специальной обработке, повышающей его прочностные свойства, характеризуется быстрым изменением состояния в зависимости от воздействия внешних факторов и, прежде всего от изменения температуры окружающего воздуха. Свежевыпавший снег обладает незначительной несущей способностью, но по мере увеличения плотности и твердости его несущая способность возрастает, и допускаемая на него нагрузка может достигнуть значительных размеров, обеспечивающих скоростное движение по нему транспорта. Однако уплотнение снега проходящим транспортом не может гарантировать получение дорожной одежды с достаточно хорошей несущей способностью, так как с погружением колеса и гусеницы в снег увеличивается сопротивление движению вследствие неравномерности образующейся толщины снежного покрова.

Движение автомобильного транспорта по дороге, покрытой рыхлым снегом, практически возможно при толщине покрова, не превышающей 25-30 см при толщине 5 см - движение грузовых автомобилей возможно со скоростью, не превышающей 50 км/ч; при толщине до 10 см - скорость автомобилей снижается до 15 км/ч, а движение автопоездов уже невозможно; при толщине до 20 см движение автотранспорта возможно на скоростях 5-15 км/ч только с цепями противоскольжения; еще меньшие скорости у автомобилей при толщине покрова более 20 см. Проходимость гусеничных машин обычно ограничена размером дорожного просвета.

Допускаемые на снег и лед вертикальная нагрузки от лыж снегоочистительного оборудования и горизонтальная нагрузка от ведущих колес и гусениц приведены по данным [4] в таблице 3.3.

Таблица 3.3 - Допускаемая нагрузка на снег и лед

Вид снега

Плотность снега в г/см3

Вертикальная нагрузка в Н/см2

Горизонтальная нагрузка в Н/см2

Очень рыхлый

До 0,10

0,3-0,5

0,05-0,1

Рыхлый

0,11-0,25

0,5-1,2

1,0-2,5

Средней плотности

0,26-0,35

1,2-4,0

2,5-8,0

Плотный

0,36-0,50

4,0-8,0

0, 8-1,6

Очень плотный

0,51-0,60

8,0-15,0

1,6-3,0

С прослойками льда

0,65-0,85

15,0-60

Лед дробится

Лед

0,92

60-120

-


Основные физические свойства

Наиболее важными физическими свойствами снега, определяющими условия эксплуатации и проектирования машин и оказывающими непосредственное влияние на экономичность процесса уборки снега, являются его плотность, твердость и влажность.

Плотность снега. Под плотностью снега, характеризующей массу, заключенную в единице объема, понимают его объемный вес, т.е. отношение веса воды, полученной из взятой снежной пробы, к объему снега. Плотность снега определяют плотномером (снегомером), состоящим из мерного полого металлического цилиндра и пружинных или рычажных весов [4]. Хорошо зарекомендовал себя в работе удобный в эксплуатации и компактный снегомер производства Тбилисского завода гидрометприборов.

Плотность снега может меняться в очень широких пределах: от 0,01 г/см3 для свежевыпавшего до 0,8 г/см3 для обледенелого. На практике обычно имеют дело со снегом, плотность которого лежит в пределах от 0,1 до 0,6 г/см3, и этим диапазоном значений плотности руководствуются при проектировании снегоочистительных средств.

На протяжении зимы снежный покров непрерывно уплотняется, в течение каждого месяца плотность его увеличивается в среднем на 10-12% [5]. В сечении снежный покров состоит обычно из слоев, плотность которых возрастает с глубиной. Как правило, нижерасположенный снег возникает раньше верхнего и более подвержен процессу фирнизации. В первом приближении можно считать, что плотность снега от некоторого начального своего значения на поверхности слоя увеличивается пропорционально глубине залегания.

Среднее значение плотности свежевыпавшего снега в г/см3 в зависимости от температуры воздуха при снегопаде в °С характеризуется следующими данными:

Таблица 3.4 - Параметры плотности снега (г/см3)

Температура, 0С

Ниже -10

От -10 до -5,1

От -5,1 до -2,1

От -2,1 до -0,1

От 0 до +2,0

Плотность г/см3

0,075

0,087

0,104

0,128

0,183


В широком диапазоне меняется плотность снега в зависимости от его состояния в городах. Эту зависимость характеризуют данные исследований [9]:

Плотность снега, г/см3

Свежевыпавший, чистый, нескученный 0,1-0,15

скученный лопатами........................ 0,18-0,22

обвалованный плужно-щеточным снегоочистителем                  0,25-0,35

Скученный старый, лежалый........ . 0,34-0,42

Лежалый, обвалованный плужно-щеточным снегоочистителем 0,30-0,44

Целинный, лежалый в течение 30 дней 0,20-0,30.

Твердость снега. Под твердостью понимается способность материала сопротивляться проникновению в него другого, не получающего остаточных деформаций, тела. При небольшой толщине снежного покрова твердость снега определяется с помощью портативного или индикаторного твердомера, при больших толщинах снежного покрова - таранным пенетрометром [5,6].

Твердость снега меняется с течением времени. Пределы изменения твердости для различного состояния снега в зависимости от его плотности приведены в таблице 3.5.

Твердость снега увеличивается с уменьшением зерен снега и с уменьшением пористости: она возрастает при перемешивании снега даже без дальнейшего его уплотнения. Эффект увеличения твердости тем выше, чем ниже температура.

Резко заметное увеличение твердости снега достигается при сочетании перемешивания с последующим уплотнением.

Таблица 3.5 - Твердость снега

Вид снега

Плотность снега, г/см3

Твердость снега, Н/см2, при температуре от -1 до -20° С

Рыхлый

менее 0,25

До 5

Слабо уплотненный

0,26-0,35

6-10

Плотный

0,36-0,50

21-200

Очень плотный

0,51-0,60

38-300


Коэффициент внешнего трения. Под коэффициентом внешнего трения снега по какому-либо материалу f1 понимают отношение силы трения скольжения снега по этому материалу Т к нормальному давлению N. В отличие от других материалов коэффициент внешнего трения снега по стали меньше коэффициента трения качения. С увеличением плотности снега коэффициент внешнего трения, как правило, уменьшается. Согласно исследованиям А.Л. Горбунова, наименьшее его значение отмечается при температурах, близких к - 4°С, а с приближением температуры к нулю, когда появляется жидкая фаза, и при понижении температуры, значение коэффициента повышается. Обычно при расчетах используют f1 = 0.12 - 0,18 (трение по стали).

3.2 Анализ снега и снежного покрова районов Красноярского края

В сибирской тайге, где не бывает зимних оттепелей, средняя плотность метровой толщи снега местами не превышает 0,10 г/смЗ. В степях и в тундре метели сильно уплотняют снег, там высота снежного покрова значительно меньше, а плотность - в 2…4 раза больше. Очень быстро меняется плотность снега в период весеннего таяния: от 0,35 г/смЗ в начале, 0,45 г/смЗ в разгар, 0,5-0,6 г/смЗ в конце снеготаяния. Практически уже при так называемой первой критической плотности - 0,55 г/смЗ снег перестает быть собственно снегом. Вторая критическая плотность (около 0,75 г/смЗ) наступает при таком близком расположении ледяных кристаллов, что происходит замыкание воздушных пор. При этом воздух уже не может вытесняться из снега, и он оказывает упругое сопротивление сжатию. Дальнейшее уплотнение возможно лишь при деформации ледяных частиц под давлением вплоть до слияния их в монолитную поликристаллическую породу - лед.

Защита от снежных заносов (снегозащита) дорог и других объектов осуществляется тремя основными способами (1) ставят снеговые заборы, которые могут быть сплошными, проницаемыми, снегозадерживающими, снеговыдувающими, однорядными и многорядными, высаживают снегозащитные насаждения и нарезают б снегу траншеи; (2) сами сооружения делают снегонезаносимыми - на высокой насыпи, на опорах, особой формы и т.д.; (3) закрепляют снег б поле, откуда он может сноситься. Снегозадержание б поле проводят с помощью посева растений с высокими стеблями, снегосборных лесных полос, снегопахания, снегоуплотнения и расстановки различных препятствий.

Февраль 2009 года. Прошедший месяц характеризовался отрицательной аномалией температуры воздуха на большей части территории.

Юг Таймыра. Средняя за месяц температура воздуха составила - 31, - 35°, что ниже нормы на 4-6°. Осадков за месяц выпало 9 - 19 мм, что составило 26-77% от нормы, местами (Волочанка, Норильск) 24 - 28 мм, что составило 113-150% от нормы. Высота снежного покрова на последний день месяца составила 56 - 81 см местами (Снежногорск, Исток) 91 - 108 см, на севере (Кресты Таймырские, Караул) 7-37 см.

Эвенкия. Средняя за месяц температура воздуха составила - 30, -34°. на северо-востоке-36, - 39°, что ниже нормы на 2-6°. Осадков за месяц выпало 10-15 мм, местами (Кузьмовка) 20 мм, на северо-востоке (Тембенчи, Тура) 4 - 6 мм, что составило 60-105% от нормы, местами (Ванавара, Муторай, Кислокан) 116 -147% от нормы. Высота снежного покрова на последний день месяца составила 50 - 77 см, местами (Кузьмовко, Тутончаны, Байкит) 84 - 93 см.

Туруханский район. Средняя за месяц температура воздуха составила -28, - 3 Т, что ниже нормы на 4-6°. Ос ад к од за месяц выпало 11-19 мм, что составило 45-78% от нормы. Высота снежного покрова на последний день месяца составила 64 - 95 см, местами (Светлогорск) 117 см.

Центральные районы. Средняя за месяц температура воздуха составила -19, - 24°, по Енисейской и Ангорской группам районов -25, - 28°, местами (Вельма) -30°, что ниже нормы на 3-7°. По Ангарской и Енисейской группам районов осадков за месяц выпало 10 - 15 мм, что составило 58-97% от нормы, б Богучанском районе 111% от нормы, в Енисейском, Пировском, Казачинском и Мотыгинском районах 21 - 28 мм, что составило 121-133% от нормы. Высота снежного покрова на последний день месяца составила 59-85 см, местами на севере 95 - 99 см, в Богучанском районе 42 см. По Ачинской группе районов осадков за месяц выпало 19-27 мм, в Ужурском районе 14 мм, что составило 130-210% от нормы. Высота снежного покрова на последний день месяца составила 39-62 см, в Ачинском районе 17 см. По Красноярской группе районов осадков за месяц выпало 18-2Змм, местами (Кача, Шумиха) 28 мм, что составило 145-230% от нормы, в Манском районе 16 мм, что составило 105% от нормы. Высота снежного покрова на последний день месяца составила 27-47 мм, в Емельяновском (Кача), Манском и Козульском районах 62-85 мм. По Канской группе районов осадков за месяц выпало 16-28 мм, что составило 140-226% от нормы, в Тасеевском районе 11 мм, что составило 93% от нормы. Высота снежного покрова на последний день месяца составила 33-53 см, в Канском и Саянском районах 23-2 7 см.

Южные районы. Средняя за месяц температура воздуха составила -18, - 20°, в Краснотуранском и Идринском районах -22°, местами (Казыр, Кантегир) -15, - 16°, что ниже нормы на 2-4°, местами (Кантегир) около нормы. Осадков за месяц выпало в предгорье Восточного Саяна (Артемовск, Щетинкино) 46-6О мм, что составило 133-140% от нормы, в горах Западного Саяна (Юл. Речка) 41 мм, что составило 98% от нормы, в Краснотуранском и Минусинском районах 9 - 10 мм, что составило 126-156% от нормы, в Каратузском и Ермаковском районах 31-32 мм, что составило 209-241% от нормы, на остальной территории 19-29 мм, местами (Казыр) 37 мм, что составило 126 - 224% от нормы. Высота снежного покрова на последний день месяца составила 62-98 см, местами (Кантегир) 39 см, в предгорье Восточного Саяна (Артемовск, Щетинкино) 110-152 см соответственно, в горах Западного Саяна (Юл. Речка) 147 см, в Минусинском, Идринском и Краснотуранском районах 18-4 9 см.

Республика Хакассия. Средняя за месяц температура воздуха составила -17,-200, б районе Саяно-Шушенской ГЗС -12-13°, что ниже нормы на 2-4°, в Боградском районе (-24°), что ниже нормы на 7°. Осадкоб за месяц выпало в горах Кузнецкого Алатау 79-122 мм, что составило 149-212% от нормы, в степной зоне 1-5 мм, что составило 23-96% от нормы, на остальной территории 12-15 мм, местами (Неожиданный) 53 мм, что составило 135-167% от нормы, в Боградском районе 324% от нормы. Высота снежного покрова на последний день месяца составила 3-10 см, местами (Первомайское, Черемушки) 20-21 см, в горах Кузнецкого Алатау 64 - 66 см, Неожиданный 111 см.

Республика Тыва. Средняя за месяц температура воздуха составила -20-25°, местами (Мугур-Аксы) - 16, - 18°, что 1 - 3° выше нормы, местами около нормы. Осадков за месяц выпало 3-11 мм, что составило 98-133% от нормы, местами (Сарыг-Сеп, Шагонар, Зрзин) 218-284% от нормы, на западе (Тэли) 37% от нормы. Высота снежного покрова на последний день месяца составила 19-35 см, местами (Тэли, Чадан, Шагонар Мугур-Аксы, Хобу-Аксы) 4 - 14 см.

 

.3 Расчет основных параметров очистителя


Расчет ротора

1)  захват снега лопастью;

2)  перемещение снега вдоль лопасти;

3)  соприкосновение снега с неподвижным кожухом ротора;

4)  движение снега по кожуху ротора к выбросному отверстию;

5)  движение снега по направляющему устройству.

Захват снега лопастью ротора сопровождается затратой энергии на удар лопасти о снег и сообщение снегу начальной скорости; в процессе перемещения снега по лопасти энергия расходуется на сообщение ему дополнительной скорости, необходимой для отброса снежной массы к наружному краю лопасти, и на преодоление сил сопротивления трения снега о лопасть; при встрече снега, сошедшего с лопасти, с неподвижным кожухом ротора теряется энергия на удар снега о внутренние стенки кожуха, а при движении снежной массы по кожуху энергия также затрачивается на преодоление сил сопротивления трения снега о кожух. И, наконец, часть энергии расходуется на преодоление сил сопротивления трения при движении снега по направляющему устройству выбросного патрубка. На рисунке 3.1 - Приведена схема сил, действующих на частицу снега на роторе.

Независимо от характера подачи снега в ротор - с помощью активного или пассивного питателя, снежная масса поступает на лопасть хаотически. Даже при одинаковом на всем рабочем участке состоянии разрабатываемого снежного забоя и неизменных физико-механических свойствах снега, поступающие в ротор, частицы приходят в соприкосновение с лопастью в различных ее точках, вследствие чего рабочий процесс в роторе является, строго говоря, стохастическим.

Рисунок 3.1 - Схема сил, действующих на ротор снегоочистителя

Характер движения снежной частицы по лопасти схематически может быть представлен следующим образом: поступившая на вращающуюся лопасть ротора частица вначале приобретает окружную скорость той точки лопасти, с которой она пришла в соприкосновение, затем под влиянием действующих на нее сил, вращаясь вместе с лопастью, начинает свое движение вдоль лопасти к ее наружному краю с возрастающей скоростью и, достигнув края лопасти, покидает ротор, когда лопасть проходит выбросное окно. Полученный частицей заряд кинетической энергии определяется ее массой и конечной абсолютной скоростью, равной геометрической сумме практически постоянной переносной скорости вместе с лопастью и конечной относительной скорости движения вдоль лопасти, значение которой зависит, в частности, от начального положения частицы при ее соприкосновении с лопастью.

Длина лопасти ротора

Из конструктивных соображений, с целью рационального использования центральной части роторного пространства для более компактного размещения приводных элементов питателя, длину лопасти представляется целесообразным ограничить. Ограничение длины лопасти способствует также улучшению условий поступления снега в ротор и разгрузки.

Оптимальную длину лопасти установим, руководствуясь результатами анализа опорожнения ротора. Для роторных снегоочистителей (рисунок 3.14) с наиболее широко распространенными параметрами разгрузочное окно в кожухе ротора ограничено обычно углом yк, не превышающим 90°, и независимо от положения лопасти (величины угла b) и значения коэффициента внешнего трения f1 Таким образом, рабочая длина лопасти может быть практически без ущерба для пропускной способности ротора ограничена размером (0,55-0,6) R, так как снежная масса, расположенная близко к оси ротора, за каждый оборот ротора не удаляется. Наибольшую длину радиальной лопасти целесообразно принимать соответственно равную[5]

lлоп = (0,55 - 0,6) R (3.1)

где R - радиус ротора.

Диаметр ротора

Диаметр ротора снегоочистителя определяется из условия обеспечения нормальной загрузки за каждый оборот. Определяется коэффициентом заполнения kзап значение которого определяется опытным путем и находится в пределах от 0,3 до 0,45 [4,5]. Отношение длины ротора снегоочистителя к его диаметру находится в пределах от 0,325 до 0,375 [4,5]

 (3.2)

где Q - весовая производительность снегоочистителя, т/ч; vе - переносная скорость ротора, м/с, равная скорости движения агрегата; k3 - коэффициент заполнения ротора; kр - коэффициент отношения длины ротора к его диаметру; r - плотность материала (снега), кг/м3; mр - количество роторов в снегоочистителе.

Определение конструктивных параметров

Исходные данные для расчета: снегоочиститель должен иметь исполнение, соответствующее параметрам трактора Т-150; дальность отбрасывания снега для дорожного исполнения 30 м (по прототипу ДЭ-226), производительность снегоочистителя в аэродромном исполнении - не менее 1000 м3/ч; нормальные условия работы снегоочистителя - в снеге плотностью до 0,3 г/см3; рабочий орган должен обеспечить разработку слежавшегося снега плотностью до 0,5 г/см3, высота разрабатываемого слоя снега до 1,0 м; рабочая скорость снегоочистителя - 5,1 км/ч (данные трактора).

Принимаем схему с одним ротором. Гидропривод от одного двигателя.

Грубо потребная мощность может быть оценена по формуле

 (3.3)

где Q - часовая производительность снегоочистителя, т/ч; L - дальность отбрасывания снега ротором, м, L= 30 м.

По таблице 3.5 выбираем плотность снега 0,25 г./см3, или 0,25 т/м3. Тогда весовая производительность снегоочистителя составит Q = 250 т/ч. Подставляя значения в формулу (3.3), определяем мощность для привода ротора

 кВт.

Ротор и двух шнековый питатель приводятся от одного двигателя.

Задавшись коэффициентом отношения диаметра ротора к его длине, по формуле (3.2) определяем диаметр ротора при параметрах:

vе = 5,1 км/час = 1,4 м/с - поступательная скорость ротора, равна скорости движения трактора Т-150 на первой задней передаче;

kз = 0,3 при максимальной плотности снега, подаваемого к ротору r = 0,3 г/см3;

kр = 0,375; mр = 1:

Принимаем диаметр ротора 960 мм. Ширина ротора определяется коэффициентом kр = 0,5. Тогда ширина ротора 0,325 × 960 = 325 мм. Принимаем 400 мм.

Поскольку высота убираемого снега по техническому заданию должна быть не менее 1000 мм, то с учетом сгруживания снега перед шнековым питателем принимает диаметр шнековой фрезы 440 мм. Шнек - однозаходный с шагом 460 мм. Принимаем два шнека с зазором между ними 200 мм.

Мощность, расходуемую на привод шнекового питателя, определим по формуле, рекомендованной ВНИИземмаш для практических расчетов

, (3.4)

где Nф - мощность на привод шнековой фрезы, л.с.; Q - производительность снегоочистителя, т/ч; ve - окружная скорость шнекового питателя, м/с.

Производительность шнекового питателя равна производительности ротора, Q=250 т/ч. Пусть на один шнек приходится половина производительности - 122 т/ч. Зададимся угловой скоростью вращения шнековой фрезы n = 250 об/мин. Тогда окружная скорость фрезы vф = (p×n)/30 × (Dф/2) = (3.14× 250)/30 × (0,44/2) = 5,7 м/с. Подставляя значения в формулу (3.4), получаем для одного шнека

 или 3,6 кВт.

Тогда на два шнека необходима мощность 7,2 кВт.

Таким образом, для привода снегоочистителя необходима мощность 62,5 + 7,2 = 69,7 кВт. С учетом к.п.д. привода - 88 кВт. Мощность, снимаемая с ВОМа или с гидросистемы трактора ХТЗ-150К-09, составляет 80% от номинальной мощности, что составляет 96 кВт. Мощности достаточно. Однако плотность снега, равная 300 кг/м3, является почти предельной для работы снегоочистителя.

Проверим производительность шнекового питателя. Чтобы избежать уплотнения снега шнеками, их скорость вращения должна определяться условием [5].

 (3.5)

где q - фактически транспортируемое шнеком количество снега, приходящегося на один шнек, т/ч, q = 250/2 = 125 т/ч;

dшн - диаметр шнека, м, dшн = 0,44 м;

tшн - шаг шнека, м, tшн = 0,46 м;

dв - диаметр вала шнека, м, dв = 0,1 м;

r - плотность снега, г/см3; r = 0,3 г/см3;

lшн - безразмерный коэффициент, характеризующий проскальзывание транспортируемого снега относительно шнека, lшн = 0,8.

Подставляя значения в формулу (3.5), получаем

Фактическая скорость вращения шнека 250 об/мин. Таким образом, производительность шнекового питателя достаточная. Уплотнения снега при работе снегоочистителя происходить не будет.

Угловая скорость ВОМ = 1000 об/мин. Таким образом, необходим редуктор. Примем передаточное отношение редуктора 4. Редуктор - конический и цилиндрический, поскольку вал шнека вращается поперек направления движения трактора, а оси вращения шнеков смещены относительно вала ротора.

На рисунке 3.2 показана схема привода снегоочистителя. Ротор установлен на валу на шлицах. Направление навивок шнеков - противоположное, чтобы снег транспортировался к центру шнеков к окну для подачи на ротор. Подача снега от шнеков к ротору осуществляется надвиганием снегоочистителя.

Рисунок 3.2 - Схема привода снегоочистителя

шнекороторный снегоочиститель трактор уборка

3.4 Конструктивный расчет шлицевого соединения

В качестве примера приведем прочностной расчет шлицевого соединения вала редуктора и шнека (рисунок 3.3).

Исходные данные:

Мощность, предаваемая одним шнеком, Nш = 7,2/2 = 3,6 кВт;

Диаметр шнека, dш = 0,44 м;

Частота вращения шнека, nш = 250 об/мин.;

Диаметр вала, dв = 36 мм;

Параметры соединения - d-8х36Н7х40Н ГОСТ 1139-980.

Боковые поверхности зубьев шлицевого соединения работают на смятие, а основание их - на изгиб и срез. Решающее значение имеет расчёт на смятие:

, (3.6)

где M кр - наибольший крутящий момент, передаваемый соединением;

y - коэффициент, учитывающий неравномерность распределения усилий по рабочим поверхностям зубьев (принимаем y = 0,75 по [6]);= 0,8 ´ h ´ z - площадь всех боковых поверхностей зубьев с одной стороны на 1 мм длины (для прямозубых соединений), мм 2, h - высота шлица, мм; z - число шлицев.

Рисунок 3.3 - Шлицевое соединение

l - рабочая длина зуба, мм, принимаем l = 30 мм;

[s см] - допускаемое напряжение на смятие.

Для шлицов на входном валу:

M кр = , H· мм,

где: N - мощность на одном шнеке, кВт; w - частота вращения, рад/с;

если nш = 250 об/мин, тогда w = 40 рад/с.

Мкр = 3,6: 40 = 0,09 Н×м = 90 Н×мм.= 0,8 · 2,0 · 8 = 12,8 мм 2;

[s см] = 400 Н/мм2.

Подставляя данные в формулу 3.6, имеем

Тогда

Напряжение смятия в соединении меньше допустимого. Шлицевое соединение проходит проверку на смятие зубьев.

3.5 Описание изделия

Назначение

Изделие предназначено для уборки неслежавшегося снега на дорогах, площадях и других поверхностях. Агрегатируется с трактором ХТЗ-150К-09 (Украина). Техническая характеристика снегоочистителя приведена в таблице 3.6 и на первом листе общего вида.

Таблица 3.6 - Техническая характеристика снегоочистителя

Наименование параметра

Ед. измер.

Значение параметра

Производительность

т/ч

250

Дальность отбрасывания снега: дорожный вариант аэродромный вариант

м

 15 30

Скорость передвижения: рабочая транспортная

км/ч

 5,1 - 9,14 30,08

Ширина очищаемой полосы

м

2,65

Привод

-

от гидросистемы трактора

Мощность двигателя

кВт

121


Работа изделия

Работа изделия понятна из чертежа общего вида. Изделие устанавливается на ровную поверхность. Изделие навешивается на переднюю навеску трактора ХТЗ-150К-09 (либо Т-150). Для навески не требуется грузоподъемных устройств и дополнительных приспособлений. Гайки поз. 20 и 30 на пальцах поз. 3 и 4 должны быть затянуты и зафиксированы шплинтами. Подсоединяются рукава высокого давления к гидромоторам привода снегоочистителя. Гидросистема прокачивается. После навески следует проверить возможность перевода изделия из транспортного положения в рабочее положение.

Для уборки снега снегоочиститель устанавливается на поверхность. Рычаг управления распределителя трактора устанавливается в положение «плавающее». ВОМ с гидростанцией трактора включается, и трактор передвигается вперед на первой задней передаче. Управление подачи топлива осуществляется в номинальном положении рейки топливного насоса двигателя трактора. Выброс снега осуществляется вправо по ходу движения трактора. Изделие надвигается на слой снега. Шнеки захватывают снег и перемещают его без уплотнения к ротору. Ротор лопастями захватывает снег и швыряет его в сторону через направляющий раструб. Для транспортирования к месту уборки изделие переводится в транспортное положение. Подъем изделия в транспортное положение выполняется после выключения ВОМа трактора. Транспортируется изделие движением трактора вперед при поднятой и застопоренной навеске трактора.

Обслуживание изделия

Ежедневно. Ежедневно и перед каждым пуском изделия необходимо осматривать его и удалять все посторонние предметы. Удаление предметов и спрессованного (оледеневшего) снега выполняется специализированным инструментом (показано на чертеже). Проверяется надежность крепления изделия к навеске трактора.

ТО-1. При ТО-1 (125 ч) проверяется надежность всех креплений. Осуществляется смазка опор ротора и питателя через масленки снегоочистителя смазкой Литол-24. Проверяется уровень масла в редукторе.

ТО-2. При ТО-2 (250 ч) изделие разбирается со снятием агрегатов с корпуса. Проверяется и регулируется зазор в зацеплении конической передачи редуктора. Подшипники опор промываются, проверяется их износ и осуществляется смазка новой смазкой Литол-24. Заменяется смазка редуктора с его промывкой.

Карта смазки снегоочистителя показана на чертеже. Применяемые материалы приведены в таблице 3.7.

Таблица 3.7 - Материалы, применяемые для смазки снегоочистителя



4. Безопасность и экологичность проекта

4.1 Анализ условий труда


Трудовой кодекс Российской Федерации гарантирует «обеспечение права каждого работника на справедливые условия труда, в том числе на условия труда, отвечающие требованиям безопасности и гигиены, права на отдых, включая ограничение рабочего времени, предоставление ежедневного отдыха, выходных и нерабочих праздничных дней, оплачиваемого ежегодного отпуска» [17].

Разработанный агрегат включает в себя снегоочиститель, агрегатируемый с трактором ХТЗ-150К, и трактор ХТЗ-150К. Обслуживается агрегат одним оператором.

Анализ рабочего места оператора

Рабочее место оператора находится в кабине трактора ХТЗ-150К. Анализ вредных и опасных факторов рабочего места приведен в таблице 4.1 [18].

Таблица 4.1 - Анализ вредных и опасных факторов на рабочем месте

Рабочее место

Наименование оборудования

Наименование фактора

Ед. изм.

Величина фактора

Допустимые значения

Ссылка

1

2

3

4

5

6

7

Рабочее место водителя

Трактор ХТЗ-150К

Шум

дБА

85

80

ГОСТ 12.1.003-83



Вибрация

дБА

115

107

ГОСТ 12.1.012-90



Освещенность

лк

80

75

СНиП 23-05-03



Загазованность - окись углерода

мг/м3

90

100

ГОСТ 12.1.005-ССБТ

                  Микроклимат: теплый период года холодный период года  




22ГОСТ 12.1.005-ССБТ





Вывод: параметры безопасности рабочего места оператора в целом соответствуют требованиям нормативных документов. Защитные приспособления не требуются. В холодный период года необходимо рабочее место дополнительно дооборудовать обогревателем.

Анализ рабочего места выполняется по нормативным документам: ГОСТ 12.2.019 - 86 «Тракторы и машины самоходные сельскохозяйственные. Общие требования» [21], ГОСТ 12.3.033 - 84 «Строительные машины. Общие требования безопасности при эксплуатации» [15]. В анализируемом тракторе устанавливается подрессоренное сиденье. Размеры сиденья приведены в таблице 4.2.

Таблица 4.2 - Размеры сиденья оператора

Высота спинки сиденья, не менее, мм

250

Ширина спинки сиденья, не менее, мм

400

Высота нагружаемого сиденья, мм

360 ÷ 400

Регулируемое перемещение сиденья

продольное, мм

150


по высоте, мм

80


угловое отклонение спинки, 0

30


В кабине трактора ХТЗ-150К установлено второе неподрессоренное сидение, которое не удовлетворяет требованиям стандартов.

Анализ параметров эргономики показывает, что трактор Т-150К-09 не предназначен для управления им при движении задним ходом. В результате при движении задним ходом оператор находится в неудобной позе, что снижает работоспособность и может привести к несчастным случаям. В комплектации трактора, поставляемой Харьковским тракторным заводом, отсутствует поворотное сидение и дублирующие органы управления трактором. Хотя в трансмиссии трактора предусмотрено несколько передач назад. Таким образом, рабочее место оператора не удовлетворяет требованиям стандартов безопасности при движении трактора задним ходом.

Для устранения вышеуказанных недостатков привод снегоочистителя выполнен гидравлическим, а сам он навешивается спереди трактора.

Кабина оборудована смотровыми окнами, выполненными в соответствии с эргономическими требованиями, позволяющими оператору вести наблюдение рабочей зоной в удобном для него положении.

Анализ органов управления машиной

Конструкция органов управления должна удовлетворять следующим требованиям [22]:

точность и скорость движения при осуществлении управления;

частоту использования органа управления;

допустимые динамические и статические нагрузки на двигательный аппарат человека;

необходимость быстрого и точного распознания органов управления;

необходимость быстрого формирования и закрепления навыков по управлению;

использование сигнальной окраски органов управления аварийного отключения и отличие формой от других органов управления;

нанесение на поверхность оборудования схем и надписей указывающих правильную последовательность операций;

использование блокировки при неправильном включении.

Для удобства охвата, рукояти и рычагов управления имеют грушевидную форму (длина 100 мм, диаметр 35 мм). Покрытие выполняется из пенополиуретана. Ножные рычаги снабжаются накладками исключающие соскальзывание ног. В таблице 4.3 приведены параметры расположения органов управления. Отдельное положение рычагов и рукояток управления фиксируются и имеют обозначения, исключая неправильную последовательность операций.

Анализ данных, приведенных в таблице 4.3, показывает, что расположение органов управления соответствует стандартам.

Таблица 4.3 - Параметры расположения органов управления

Наименование органов управления

Расстояние органов управления от ТОС, мм

Зоны расположения органов управления от ТОС, мм


Основные органы управления

Дублирующие органы управления


Педаль сцепления

770

750

600÷950

Педаль тормоза

770

-

600÷950

Педаль управления подачей топлива

890

760

600÷950

Рычаг переключения передач

45

-

550÷750 до пола -100÷+100

Рычаг гидрораспределителя

70

-

550÷750 до пола -100÷+100


Контрольные приборы

Контрольные приборы располагаются на щитке, расположенным на капоте трактора (рисунок 4.1). Анализ показывает, что на тракторе контрольные приборы соответствуют ГОСТ 12.2.019 - 86 «Тракторы и машины самоходные сельскохозяйственные. Общие требования» [21], ГОСТ 12.3.033 - 84 «Строительные машины. Общие требования безопасности при эксплуатации» [15].

Анализ показывает, что параметры контрольных приборов соответствуют требованиям стандартов.

Анализ конструкционных материалов

В конструкции оборудования используются следующие материалы; сталь, цветные металлы, резина и другие материалы, приведённые в таблице 4.4. Из таблицы следует, что из всех используемых материалов к III классу опасности относятся всего три типа, остальные относятся к IV классу. При правильной эксплуатации предлагаемое оборудование отвечает требованиям стандартов системы ССБТ.

Таблица 4.4 - Состав используемых материалов в снегоочистителе

Наименование материала

Состав или ТУ по ГОСТ

Класс опасности

Примечание

Сталь 09Г2С

ГОСТ 19281-73

IV

При эксплуатации воздействия на организм не оказывает

Масло моторное

Углеводороды нефти

IV

При нормальной эксплуатации безвредны

Резина

ГОСТ 51011-71

III

При нормальной эксплуатации безвредны, а при горении токсичны

Войлок

ГОСТ 9573-72



Солидол

ГОСТ 1033-79




Шнек, ротор, навеска и рама спроектированы из элементов, изготовляемых из конструкционной стали со сварочными соединениями. Прочность сварных швов рассчитана на прочность. Крепление шнека с приводом предусмотрено фланцевым соединением. При перемонтаже грузоподъемное оборудование и вспомогательные рабочие не требуются. При отсоединении снегоочистителя он устанавливается на лыжах. Опрокидывание исключается.

Гидроцилиндры. Применены промышленные изделия по специальному стандарту, имеющие заводской сертификат безопасности. Крепления в узлах шарнирные. Гидроцилиндры заливаются рабочей жидкостью с классом опасности III.

Трубопроводы гидросистемы. Использованы промышленные образцы по ГОСТ 8732-78 [12]. Для рукавов высокого давления по ТУ 22-3125-74, для повышения безопасности эксплуатации трубопроводы заключены в армированную оболочку. Трубопроводы и гибкие шланги надёжно защищены от возможных механических повреждений.

Для обеспечения безопасности от движущихся узлов, частей оборудования предусмотрены:

прочно укреплённые, съёмные металлические ограждения;

подвижные элементы конструкции предусмотрено окрасить в желто-черный цвет в соответствии с ГОСТ Р 12.4.026-76 [13];

систематический осмотр и испытание на прочность, балансировка. Параметры балансировки ротора указаны на сборочном чертеже;

для проверки прочности сварных швов ротора предусматривается испытание. Параметры испытаний указаны на сборочном чертеже ротора.

Для предупреждения травмирования вспомогательных рабочих и людей, случайно оказавшихся в зоне работы, предусмотрена звуковая сигнализация.

Активно-пассивные опасности. В конструкции оборудования не имеется наличия острых углов и кромок, а также горячие или переохлажденные части.

4.2 Безопасность производственной деятельности

Анализ безопасности при обслуживании оборудования

Анализ показывает, что конструкция трактора ХТЗ-150К выполнена из двух полурам, соединенных шарнирно. При обслуживании машины (например, при замене колеса) и поддомкрачивании возможно нарушение устойчивости. Для устранения подобного недостатка предусматривается монтаж на полурамах двух кронштейнов.

При стандартной поставке трактора ХТЗ-150К стопорение пальцев навесной системы предусмотрено шплинтами 5 мм. Такое крепление не обеспечивает необходимого уровня безопасности. Поэтому в дипломном проекте при навеске снегоочистителя на трактор ХТЗ-150К предусмотрено крепление пальцев корончатыми гайками, которые шплинтуются (чертеж общего вида).

Анализ обзорности рабочего оборудования снегоочистителя

Конструкция проектируемого изделия обеспечивает видимость с рабочего места оператора в положении сидя следующих объектов наблюдения: трассы движения агрегата в парке на дороге, что необходимо для обеспечения безопасности вождения агрегата; элементов конструкции трактора и передней навесной системы (узла автосцепки и пальцев в передней части нижней рамки), служащих для присоединения снегоочистителя к трактору; качества расчищаемой изделием органом дорожки в парке и на дороге, требующей визуального контроля при выполнении технологического процесса; габаритных элементов конструкции трактора, необходимых для присоединения изделия к трактору; рабочей зоны выброса снега из снегоочистителя на расстояние не менее 10 метров; нахождение в рабочей зоне людей, деревьев, объектов малых архитектурных форм.

Углы обзора с рабочего места оператора не менее значений, предусмотренных ГОСТ 12.2.019 - 90 [21]. Опасные уклоны местности в парке и на дорогах отсутствуют.

Безопасность при хранении снегоочистителя с трактором

При эксплуатации снегоочистителя необходимо предусмотреть и оборудовать место для хранения оборудования в не рабочее время по ГОСТ 12.1.004 - 91 ССБТ «Пожарная безопасность. Общие требования» [26].

Размеры временной стояночной площадки зависят от размеров и типа техники, хранящейся на ней. На площадке должен находиться пожарный щит и ящик с песком, ёмкостью 1,5 м3, в случае отсутствия ящика песок насыпают буртом в непосредственной близости от стоянки.

Заправка ГСМ машины в парке и на дороге не допускается. Хранится машина за пределами парка на неотапливаемой крытой стоянке. При пуске трактора в зимнее время запрещается использование легковоспламеняющихся жидкостей для облегчения запуска. Запрещается запускать двигатель трактора буксировкой трактора другой машиной.

При установке снегоочистителя отдельно от базовой машины его необходимо закрепить упорами, исключающими опрокидывание изделия. Установка выполняется на ровной площадке с твердым покрытием.

Расчет устройства для защиты от шума

Шумом является всякий нежелательный для человека звук. Ухо человека воспринимает звуковые колебания с частотами в пределах 20-20000 Гц. Для шумоизоляции кабины используется шумопоглощающий материал ИЗОТОН - самоклеящийся многослойный материал, состоящий из эластичного пенополиуретана толщиной 8 мм и декоративного лицевого покрытия.

Пенополиуретан на простых или сложных полиэфирах имеет открыто-ячеистую структуру, позволяющую с высокой эффективностью поглощать шум. Имеет толщину от 5 до 40 мм, с увеличением которой звукопоглощение смещается в область низких частот. Лицевое покрытие представляет собой перфорированную ПВХ, звуко-проницаемую металлизированную лавсановую пленку или текстильный материал. Наличие перфорированной лицевой ПВХ-пленки в Изотоне делает материал легко моющимся и стойким к механическим повреждениям. Устанавливается внутри кабины трактора (схема установке показана на рисунке 4.4).

Липкий монтажный слой, защищенный антиадгезионной бумагой или пленкой, позволяет существенно снизить трудозатраты при монтаже материала на поверхность изделия. Материал обладает также теплозащитными свойствами. Средняя плотность звукопоглощающего материала Изотон Рср =15 кг/м3. Толщина слоя звукопоглощающего материала h =100 мм.


Таблица 4.5 - Таблица звукового давления

Среднегеометрические частоты октавных полос

Реверберационный коэффициент звукопоглащенияα

Снижение экраном №20 октавного уровня звукового давления ∆Lэкр

Снижение октавного уровня звукового давления материалом Изотон

63

0.3

3

20

125

0.66

0

30

250

1

3.5

26

500

1

9

35

1000

1

9.5

39

2000

0.96

11.5

40

4000

0.7

14

46

8000

0.55

17

48


Рисунок 4.4 - Схема защитного экрана: 1 - корпус кабины трактора; 2 - шумопоглащающий материал «Изотон»; 3 - лицевое покрытие

4.3 Производственная санитария

В соответствии со ст. 212 Трудового кодекса Российской Федерации [17], работодатель обязан обеспечить приобретение и выдачу за счет собственных средств специальной одежды, специальной обуви и других средств собственной защиты в соответствии с установленными нормами работникам, занятым на работах с вредными и (или) опасными условиями труда, а также на работах, выполняемых в особых температурных условиях или связанных с загрязнением.

Типовые отраслевые нормы бесплатной выдачи специальной одежды, специальной обуви и других средств индивидуальной защиты работникам автомобильного транспорта и шоссейных дорог были утверждены Постановлением Минтруда Российской Федерации от 16 декабря 1997 г. №63 «Об утверждении Типовых отраслевых норм бесплатной выдачи работникам специальной одежды, специальной обуви и других средств индивидуальной защиты». Согласно данному документу:

Оператору трактора или водителю специального автомобиля ежегодно полагаются:

комбинезон хлопчатобумажный (1 штука),

рукавицы комбинированные двупалые (2 пары);

зимой в IV поясе, а также при управлении автомобилем с не отапливаемой кабиной в III, II, I поясах на линиях, протяженностью более 50 км дополнительно предоставляются:

куртка;

брюки на утепляющей прокладке;

валенки.

Оператор обеспечивается питьевой водой в герметичной упаковке.

Принимать пищу и курить в кабине трактора запрещается.

.4 Противопожарные мероприятия

Для обеспечения пожарной безопасности машина имеет места установки первичных средств пожаротушения: огнетушитель углекислотный на облицовке машины с правой стороны [26].

Наиболее опасными в пожарном отношении на машине являются двигатель, выхлопной коллектор, трубопроводы системы питания и гидропровода, топливные и масляные баки, электросистема. Рабочее оборудование является пожаробезопасным. Содержание их в исправном состоянии и чистоте, а также своевременной замене неисправных деталей и элементов является залогом пожарной безопасности.

Оператору во избежание пожара запрещается:

проверять исправность аккумуляторной батареи по силе искры, замыкать клеммы между собой;

курить в машине и принимать пищу;

пользоваться открытым огнём и курить при прогреве машины в зимнее время, при осмотре машины, заправке двигателя, баков, узлов гидросистемы;

открывать крышку топливного бака ударами металлических предметов, проверять уровень топлива огнем зажигалки;

складировать использованный обтирочный материал в неустановленном месте;

складывать в раме трактора, кабине и других местах мусор и легковоспламеняющиеся предметы и вещества, особенно в зоне расположения выхлопной трубы;

загромождать и блокировать запасную дверь и аварийный выход;

при пожаре топливный бак следует тушить огнетушителем, песком или землёй, во избежание взрыва.

При возникновении пожара оператор должен сразу остановить машину и заглушить двигатель, при помощи первичных средств пожаротушения приступить к тушению пожара, направлять огнетушитель следует к основанию пламени. Для тушения пожара можно использовать подручные средства (снег, земля, песок). После тушения огня, во избежание повторного загорания, следует в течение двух часов производить наблюдение за машиной.

Заключение


В дипломном проекте разработана конструкция шнекороторного снегоочистителя с гидроприводом на базе трактора ХТЗ-150К-09. Навешивается спереди трактора на навесную систему. Приводится в действие от гидропривода.

Частота вращения ротора - 1000 об/мин, частота вращения двух шнеков - 250 об/мин. Шнеки приводятся во вращение через конический и цилиндрический редуктор. Ширина захвата - 2,6 м. Диаметр ротора 960 мм.

Обоснованы основные проектные параметры снегоочистителя. Выполнен конструктивный расчет его отдельных элементов.


Библиографический указатель

1 Гоберман Л.А. Конструкция и расчет строительных и дорожных машин / Л.А. Гоберман, К.В. Степанян, А.А. Яркин, В.С. Заленский. Теория, конструкция и расчет строительных и дорожных машин. - М.: Машиностроение, 1979. - 407 с., ил.

Зотов В.А. Машины для городских озеленительных хозяйств. - М.: Машиностроение, 1978. - 203 с.

3      Ионов Б.Д. Дорожно-строительные машины. - Лесная промышленность.:1971.-240 с.

4 Зотов В.А. и др. Механизация зеленого хозяйства. Справочник. - М.: Стройиздат, 1985. - 440 с.

Васильев А.А., Мартынов Н.В. Машины для земляных работ при строительстве дорог. - М.: Машиностроение, 1970. - 470 с.

Гоберман, Л.А. Основы теории, расчета и проектирования строительных и дорожных машин: Учебник для техникумов [Текст] / Л.А. Гоберман. - М.: Машиностроение, 1988. - 464 с.

7      Мелиоративные машины/Б.А. Васильев и др.-М.: Колос, 1980.-351 с.

9 Полетайкин В.Ф. Погрузочные машины: Учебное пособие [Текст] / В.Ф. полетайкин, Е.В. Авдеева. - Красноярск: СибГТУ, 1999. - 201 с.

Вагнер В.Ф. Машины и механизмы лесного комплекса: Учебное пособие для студентов специальности 17.04. всех форм обучения [Текст] / В.Ф. Вагнер, Г.Г. Ворожейкин, В.Н. Холопов. - Красноярск: КГТА, 1995. - 76 с.

Анурьев В.И. Справочник конструктора машиностроителя. В трех томах. Т. 1. [Текст]/ В.И. Анурьев. - М.: Машиностроение, 1979. - 559 с.

Машины и оборудование лесозаготовок: Справочник [Текст] /Е.И. Миронов и др. - М.: Лесная промышленность, 1990. - 440 с.

ГОСТ 12.3.033-84 ССБТ. Строительные машины. Общие требования безопасности при эксплуатации. - М.: Изд-во стандартов, 1988. - 12 с.

Потехина Е.В. Экономическая оценка мероприятий: методические указания к выполнению дипломного проекта: Учебное пособие для студентов специальности 17.04 всех форм обучения [Текст] / Е.В. Потехина. - Красноярск: КГТА, 1996 г. - 25 с.

Трудовой Кодекс Российской Федерации. Принят Государственной Думой 21 декабря 2001 года, №197-ФЗ.

18 ГОСТ 12.0.003-91 ССБТ. Опасные и вредные производственные факторы. Классификация [Текст] - М.: Изд-во стандартов, 1996 - 267 с.

ГОСТ 12.4.011 - 89 ССБТ. Средства защиты работающих. Общие требования и классификация [Текст] - М.: Изд-во стандартов, 1990. - 4 с.

ГОСТ 12.1.012 -01. Вибрационная безопасность. Общие требования безопасности. - М.: Изд-во стандартов, 2001. - 12 с.

ГОСТ 12.2.019-86 ССБТ. Тракторы и машины самоходные сельскохозяйственные. Общие требования. - М.: Изд-во стандартов, 1988. - 15 с

ГОСТ 12.2.064 81. СССБ. Органы управления производственным оборудованием. Общие требования безопасности. - М.: Изд-во стандартов, 1981. - 12 с.

СНиП 2.09.04. - 87. Административные и бытовые здания. - М.: Стройиздат, 1995 - 30 с.

СНиП 23-05-95*. Естественное и искусственное освещение. - М.: Стройиздат, 1995 - 12 с.

В.И. Бас, Безопасность жизнедеятельности в чрезвычайных ситуациях / Ф.И. Некрохин, В.Л. Павленко. - Красноярск: СибГТУ, 2002. -52 с.

ГОСТ 12.1.004-91 ССБТ. Пожарная безопасность. Общие требования.

27 Лапкаев А.Г. Безопасность жизнедеятельности: Учебное пособие. - Красноярск: КГТА, 1996. - 300 с.

ГОСТ 12.2.102-89. ССБТ. Машины и оборудование лесозаготовительные и лесосплавные. Требования безопасности, методы контроля требований безопасности и оценки безопасности труда. - Введ. с 01.01.91 // Система стандартов безопасности труда: Межгос. стандарты: [Сб]. - М.: Изд-во стандартов, 2005. - с. 49-89.

29. ГОСТ 12.1.007-99. ССБТ. Вредные вещества. Классификация и общие требования безопасности. - М.: Изд-во стандартов, 2000. - 12 с.

СанПиН 2.2.4.548-96. Гигиенические требования к микроклимату производственных помещений. - М.: Госкосанэпидемнадзор России, 2001. - 25 с.

Похожие работы на - Шнекороторный снегоочиститель на базе трактора Т-150

 

Не нашли материал для своей работы?
Поможем написать уникальную работу
Без плагиата!
Без нейросетей!