Технология ремонта колесных пар без смены элементов
Московский
Государственный Университет
Путей
Сообщения (МИИТ)
Кафедра
“Вагоны и вагонное хозяйство”
КУРСОВОЙ ПРОЕКТ
по
дисциплине:
”Технология
производства и ремонта вагонов”
на тему:
“Технология
ремонта колесных пар без смены элементов”
Выполнил: студентка гр. ТВГ-413
Проверил: доц. Петров А.А.
Москва 2007
1. Анализ конструкции колесной пары
Колесные пары, воспринимающие статическую и динамическую нагрузку,
обеспечивают непосредственный контакт экипажа и пути и направляют подвижной состав
в рельсовой колее, через них передается на рельсы нагрузка от вагона, а
колесные пары жестко воспринимают все толчки и удары от неровностей пути. При
следовании подвижного состава по кривым участкам пути появляются дополнительные
нагрузки на колесные пары от воздействия центробежных сил, а при торможении -
от тормозных сил. Бывают также случаи, когда колеса скользят по рельсам без
вращения (идут юзом). Кроме того, оси колесных пар пассажирских вагонов
взаимодействуют с элементами приводов электрогенераторов.
Изменение режима движения поезда, прохождение вагонов по кривым участкам
и стрелочным переводам вызывают изменение направления действующих на колесную
пару сил и перераспределение нагрузок на ее элементы. Поэтому при изготовлении
и эксплуатации к колесным парам предъявляются высокие требования.
Типы колесных пар, их основные размеры и технические условия на
изготовление определены государственными стандартами. Специальной инструкцией
установлены порядок и сроки осмотра, освидетельствования и ремонта колесных
пар, а также нанесения на них знаков и клейм. Наиболее важные для обеспечения
безопасности движения нормы и требования изложены в Правилах технической
эксплуатации железных дорог (ПТЭ).
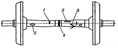
Колесная пара (рис. 1) состоит из оси 1 и напрессованных на нее колес 2.
Рис.1. Колесная пара
Тип колесной пары (см. таблицу 1.1) определяется типом оси и диаметром
колес.
Колеса насаживаются на ось на равных расстояниях от ее середины так,
чтобы расстояние между их внутренними гранями было в установленных пределах
(см. таблицу 1.1). Правильное положение колес и прочное соединение их с осью -
важные условия обеспечения безопасности движения подвижного состава по
рельсовому пути. Проверка колесных пар на соответствие этим условиям осуществляется
в процессе эксплуатации вагонов постоянно.
У внутренней грани колеса имеется гребень высотой 28 мм. Такая высота
достаточна для предотвращения схода подвижного состава с рельсов и вместе с тем
исключает возможность повреждения деталей рельсовых скреплений и стрелочных
переводов. Толщина гребня, измеряемая на расстоянии 18 мм от вершины, у новых и
обточенных колес составляет 33 мм. Вследствие трения гребня о головку рельса в
эксплуатации эта величина уменьшается, поэтому установлены предельные нормы
износа.
Таблица 1.1
Типы колесных пар и их основные размеры.
|
Тип колесной пары
|
Тип оси
|
Назначение оси
|
Диаметр колес, мм
|
Используются для вагонов
|
|
1
|
2
|
3
|
4
|
5
|
|
РУ1-950
|
РУ1
|
Для роликовых на горячей
посадке с торцевым креплением гайкой
|
950
|
Грузовых и пассажирских
|
|
РУ1Ш-950
|
РУ1Ш
|
Для роликовых на горячей
посадке с торцевым креплением шайбой
|
950
|
Грузовых
|
|
РУ-950
|
РУ
|
Для роликовых на втулочной
посадке с торцевым креплением гайкой
|
950
|
Грузовых и пассажирских
|
|
Параметр
|
Основные размеры, мм:
|
Допуски
|
|
Расстояние между
внутренними гранями колес (L) у колесных пар вагонов, эксплуатируемых в поездах
со скоростями движения: -до 120 км/ч -свыше 120 до 160 км/ч
|
1440 1440
|
+1/-2 +2/-1
|
|
Диаметры колес (D) по кругу
катания колесных пар: -всех типов
|
950
|
+14
|
|
Разность расстояний между
внутренними гранями колес в одной колесной паре, не более:
|
1,5
|
|
|
Разность диаметров колес по
кругу катания в одной колесной паре, не более:
|
1.0
|
|
|
Расстояние от торца шейки
оси / до внутренней грани колеса колесной пары типа: РУ1-950 РУ1Ш-950 РУ-950
|
374 388 420
|
|
|
Разность расстояний от
торцов шеек оси до внутренних граней ободов колес с одной и другой стороны
колесной пары, не боле:
|
3,0
|
|
|
Отклонение от соосности
кругов катания колес относительно оси базовой поверхности, не более:
|
1,0
|
|
|
Ширина обода:
|
130
|
+3
|
2. Анализ износов и повреждений колесных пар и причины
их образования
Колесные пары являются одним из основных элементов
ходовых частей, от технического состояния которых существенно зависит
надежность работы вагона в целом. При движении колесной пары по рельсовой колее
на нее действует комплекс статических и динамических вертикальных и
горизонтальных сил. Кроме того, ось колесной пары испытывает дополнительные
напряжения сжатия в зонах напрессовки ступиц колес на оси и ряд других эксплуатационных
факторов. Сочетание комплекса этих факторов способствует возникновению в
элементах колесных пар ряда неисправностей. Неисправности осей колесных пар
подразделяют в общем виде на износы, трещины, изломы.
В средней части оси в условиях эксплуатации образуется
ряд неисправностей, расположение которых представлено на рис. 2.1.
Рис.2.1. Неисправности средней части оси
Наиболее опасными дефектами являются поперечные
трещины 1. Выполненный анализ большого количества осей с изломами в средней
части показал, что подавляющее большинство трещин имеет усталостный характер и
вызван многократным повторением циклических нагрузок, усиленных дополнительным
влиянием загрузки вагонов сверх установленных норм, неравномерным распределением
груза по кузову , усталостью металла, наличием концентраторов напряжений, а
также дефектами поверхностей катания колес (ползун, выщерблина и т.д.),
вызывающими дополнительные динамические нагрузки. При обнаружении поперечных
трещин в оси независимо от других параметров колесная пара подлежит
расформированию.
Продольные трещины 2 образуются вследствие наличия в
поверхностных слоях металла дефектов Технологического происхождения в виде
неметаллических включений, закатов, плен, забоин. Оси колесных пар с продольной
трещиной длиной более 25 мм заменяются исправными. Браковка наклонных трещин 3
зависит от угла наклона α к образующей оси. При угле наклона 30° и менее,
трещина относится к продольным, а при угле α а более 30° - к поперечным.
Трещины можно обнаружить с помощью ультразвуковой или
магнитной дефектоскопии, либо визуально (в условиях ПТО) по ряду внешних
признаков. Практикой установлено, что пленка краски в зоне расположения трещины
плотно не прилегает к оси, а в некоторых случаях вздувается в виде пузыря или
отслаивается. Более глубокие трещины могут быть обнаружены летом по скоплению
пыли, а зимой по наличию инея. Объясняется это тем, что в трещине
концентрируется влага, к которой летом прилипает пыль, а зимой влага
превращается в иней.
Кольцевые выработки на средней части оси 4 возникают
от трения вертикальных рычагов и горизонтальных тяг, неправильно собранной или
неправильно отрегулированной рычажной передачи тормоза или их падения на ось.
Значительная глубина истирания может привести к излому оси, поэтому колесные
пары с протертостью оси глубиной, более 2,5 мм бракуются.
Забоины и вмятины 5 - механические повреждения,
которые характеризуются образованием местного углубления, возникающего в
результате пластической деформации от удара каким-либо предметом (чаще всего в
процессе погрузки или выгрузки колесных пар). Оси колесных пар бракуются по
этим дефектам, если диаметр оси в месте его расположения меньше допускаемого.
Изогнутость оси колесной пары - механическое
повреждение с образованием изгиба оси в результате ее деформации от ударов при
авариях и крушениях. Изогнутость определяется измерением расстояния между
внутренними гранями колес в четырех точках по окружности или как биение при
вращении оси в центрах. Колесные пары с изогнутостью оси к эксплуатации не
допускаются.
Дефекты в подступичной части оси в основном связаны с
дополнительным влиянием запрессовки ступицы колеса на ось. Наиболее опасный
дефект трещина - нарушение сплошности металла в зоне контакта оси и ступицы у
торца. Сразу же от поверхности трещины распространяются под углом 70...750
(рис. 2.2) внутрь подступичной части оси, а затем на глубине 2...4 мм меняет
свое направление на перпендикулярное к поверхности. Наклон трещины от
поверхности оси связан с давлением, оказываемым концами ступицы колеса, в
сечениях которых давление возрастает в 1,5... 1,8 раза от нормального давления
ступицы колеса после посадки на ось.
Рис.2.2. Характер образования трещины в подступичной
части оси.
Причиной резкого снижения выносливости оси в этой зоне
является также повреждение поверхности оси вследствие коррозии трения
(фреттинг-коррозии), которая развивается на поверхностях сопряженных деталей в
процессе циклического нагружения. Кроме того, при контактном трении происходят
процессы микроизнашивания, химического окисления поверхности, а также
развиваются электроэрозионные явления за счет возникающего при трении двух
металлов термоэлектрического тока.
Дефекты в шейках осей:
Трещины в шейках осей образуются чаще всего вблизи
галтелей. Основной причиной их образования в шейках осей с роликовыми
подшипниками является местная концентрация напряжения в зоне торца внутреннего
кольца, особенно вблизи задней галтели. Характер этих трещин аналогичен
характеру трещин в подступичной части, т.е. является следствием концентрации
напряжений по сечению торца внутреннего кольца роликового подшипника. С целью
снижения концентрации напряжений в этой зоне необходимо выполнять разгружающие
канавки вблизи задней галтели глубиной 0,04 мм.
Задиры и риски на шейках и предподступичных частях -
круговой неравномерный по поперечному профилю износ. На шейках и
предподступичных частях с подшипниками качения поперечные задиры и риски
образуются из-за проворачивания внутренних колец подшипников и лабиринтных
колец при грении букс или недостаточном натяге колец при монтаже.
Неисправности цельнокатаных колес:
Техническое состояние поверхности катания и гребня
оказывает огромное влияние на плавность хода вагона и взаимодействие с путями,
особенно при прохождении стрелочных переводов. Различают следующие группы
неисправностей: естественные износы, термомеханические повреждения, нарушения
сплошности металла.
К группе естественного износа относятся такие износы
как различные виды проката поверхности катания колеса, износы гребня, ползуны и
другие.
Равномерный круговой износ - прокат поверхности
катания колеса h (рис. 2.3, а) в
плоскости круга катания происходит от взаимодействия колеса с рельсом и
тормозной колодкой. Образование проката от взаимодействия с рельсом происходит
вследствие одновременного действия двух процессов: смятие волокон металла на
площадке контакта колеса с рельсом и истирания металла под действием сил
трения, возникающих при торможении от проскальзывания колеса по рельсу и
колодки по ободу. Нарастание проката связано также с пластической деформацией.
В начальный период приработки процесс образования
проката протекает в 3 раза быстрее, чем после приработки. В период приработки;
кроме интенсивного износа микронеровностей поверхности катаний, происходит
уплотнение верхних слоев металла и образование наклепа. Твердость наклепанного
слоя может достигать НВ 470. На втором этапе образования проката металл из зоны
контакта колеса с рельсом перетекает в сторону наружной грани колеса с образованием
круговых наплывов.
Рис. 2.3. Виды износа поверхности катания колес:
- профиль изношенного колеса;
- профиль неизношенного колеса.
колесный пара износ ремонт
По данным ВНИИЖТа среднегодовой прокат колес грузовых
вагонов составляет 2,8 мм. Однако эта скорость образования проката существенно
различается для колес с разной толщиной обода. Так у нового колеса грузового
вагона 1 мм проката образуется за 37 тыс. км пробега, а при ободе толщиной
30...32 мм - за 22 тыс. км. Это объясняется неравномерным распределением
твердости металла нового обода колеса по толщине. Так у поверхности катания
нового колеса твердость около НВ 300, а на глубине до 60 мм около НВ 270.
Средняя скорость образования проката у пассажирских
вагонов составляет примерно 1 мм за 25 тыс. км пробега.
Неравномерный по профилю круговой износ-ступенчатый
прокат (рис. 2.3, б), при котором на поверхности катания образуется ярко
выраженная ступень, возникает при смещении зоны контакта колеса с рельсом в
основном из-за несимметричной посадки колес на ось, большой разницы диаметров
колёс на одной оси по кругу катания, неправильной установке колесной пары в
тележке. Ступенчатый прокат, как правило, наблюдается у одного колеса колесной
пары, а на другом колесе имеется либо повышенный износ, либо вертикальный
подрез гребня колеса. Наибольшая глубина ступенчатого проката находится на
расстоянии 25...30мм от круга катания в сторону фаски. Колесные пары со
ступенчатым прокатом исключаются из эксплуатации по нормам предельного
равномерного проката, но чаще по подрезу гребня на другом колесе.
Износы гребня цельнокатаного колеса образуются
вследствие интенсивного взаимодействия гребня колеса с головкой рельса. Этот
процесс интенсифицируется при ненормальной работе колесной пары, вызываемой
неправильной установкой колесной пары в тележке, значительной разницей
диаметров кругов катания колес одной колесной пары, несимметричной посадкой
колес на ось, а также из-за сужения рельсовой колеи. Во всех случаях колесная
пара перекашивается в рельсовой колее и увеличивается частота набегания гребня
на боковую грань головки рельса.
Различают три вида износов гребней: равномерный износ,
вертикальный подрез (рис. 2.3, в) и остроконечный накат (рис. 2.4, а).
а)
б)
Рис.2.4. Остроконечный накат гребня (а) и круговой
наплыв металла на фаску (б) колеса
Вертикальный подрез гребня - это износ гребня, при
котором угол наклона профиля боковой поверхности гребня приближается к 90°.
Вертикальный подрез в эксплуатации не допускается более 18 мм по высоте.
Остроконечный накат (см. рис. 2.4,а) - это
механическое повреждение, при котором по круговому периметру гребня в месте
перехода его изношенной боковой поверхности к вершине образуется выступ. Этот
дефект возникает в результате пластической деформации поверхностных слоев
металла гребня в сторону его вершины из-за высокого контактного давления и
интенсивного трения в зоне взаимодействия с головкой рельса. Эксплуатация
колесных пар с остроконечным накатом запрещается, так как возможен сход вагонов
с рельсов при взрезании противошерстной стрелки.
Круговой наплыв на фаску обода колеса (рис 2.4, б) -
это повреждение, образующееся у колесных пар с прокатом 5 мм и более, когда
дальнейшее увеличение проката происходит за счет пластической деформации смещения
металла с поверхности катания в сторону фаски. Прохождение колесных пар с этим
дефектом через горочные замедлители приводит к образованию другого дефекта -
откола кругового наплыва колеса.
Откол кругового наплыва обода колеса (рис.2.5, 7)
встречается в виде кругового откола на отдельных участках, либо по всему кругу
обода.
В эксплуатации встречается также местное разрушение -
откол металла у наружной грани в районе фаски, которое, как правило, имеет
значительную глубину и протяженность вдоль поверхности катания. Это разрушение
возникает в результате усталостных процессов под действием нормальных и
касательных сил путем развития трещин, образующихся на глубине 8...10 мм при
наличии местного концентратора напряжений в виде раковин, неметаллических включений
и т.п.
В эксплуатации не допускаются любые отколы глубиной
более 10 мм или, если ширина оставшейся части обода колеса в месте откола менее
120 мм, или, если в месте разрушения независимо от размеров имеется трещина,
распространяющаяся вглубь металла.
Седлообразный прокат (рис. 2.3, г) - неравномерный по
поперечному профилю обода круговой износ, при котором на поверхности катания
образуется вогнутая седловина,
Кольцевые выработки (рис. 2.3, д) - это износы, при
которых на поверхностях катания колес образуются местные кольцевые углубления
различной ширины. Эти явления наблюдаются, как правило, у колесных пар,
взаимодействовавших с композиционными тормозными колодками. Кольцевые выработки
образуются по краям зоны контакта поверхности катания с тормозной колодкой, и
эта закономерность их появления объясняется неодинаковыми термическими
условиями работы поверхностных слоев металла колеса и композиционной колодки по
ширине зоны контакта и воздействием абразивных частиц пыли на поверхность
трения по краям колодки.
К эксплуатации не допускаются колесные пары с
кольцевыми выработками глубиной более 1 мм у основания гребня и более 2 мм
вблизи наружной грани обода или шириной более 15 мм.
Ползун (рис.2.5, 1)-локальный износ колеса, который
характеризуется образованием плоской площадки на поверхности катания. Ползун
возникает при движении колеса по рельсу юзом вследствие действия в зоне
контакта комплекса явлений: разогрева зоны контакта до высоких температур,
контактного схватывания металла и интенсивной пластической деформации.
Основными причинами заклинивания колесных пар
тормозными колодками, приводящими к юзу колес, являются неисправности тормозных
приборов, неправильная регулировка рычажной передачи, неправильное управление
тормозами, изменения взаимного соотношения коэффициента трения тормозной
колодки с колесом и сцепления колеса с рельсом (увлажнение поверхностей,
попадание смазки и др.).
Ползуны во время движения вагона вызывают удары,
которые приводят к ускоренному разрушению деталей подвижного состава и верхнего
строения пути. Исследованиями установлено, что при движении колесной пары юзом
со статической нагрузкой на ось даже около 20 т интенсивность образования
ползуна составляет 1 мм на 1 км пути. К эксплуатации не допускаются колесные
пары с ползуном глубиной более 1мм.
Рис.2.5. Неисправности колеса и оси
Высокая температура зоны ползуна приводит при отпуске
тормозов и проворачивании колесной пары к огромной теплоотдаче с нагретой
поверхности, при низких температурах окружающего воздуха и образованию
закалочных структур металла в зоне ползуна, что вызывает возрастание хрупкости
металла и в дальнейшем может стать причиной выкрашивания металла из зоны
ползуна и образования выщербин.
Выщербина (рис.2.5, 2) - местное разрушение обода
колеса в виде выкрашивания металла поверхности катания. Причиной их образования
являются термомеханические повреждения, явления усталости металла и термические
трещины обода. Выщербины в местах термомеханических повреждений и термических
трещин образуются под действием касательных и нормальных сил во время
торможения. Образованию выщербин способствует мартенситная структура верхних
слоев металла колес, которая обладает высокой твердостью и хрупкостью. Большие
остаточные напряжения закаленного верхнего слоя металла колес вызывают
образование микротрещин, которые, постепенно развиваясь, соединяются между
собой и в результате происходит выкрашивание металла. Выщербины в местах
термомеханических повреждений и в местах термических трещин характеризуются
небольшой глубиной, не превышающей 2...3 мм, причем они имеют, как правило,
групповое расположение. Выщербины в местах усталостных трещин отличаются
глубиной значительных размеров, достигающей 10 мм, неровной с характерным видом
усталостного разрушения поверхностью, покрытой пленкой окислов.
В зимний период (декабрь-март) выщербины образуются в
2...3 раза чаще, чем в период апрель-ноябрь, что связано с нестабильностью
коэффициента трения от погодных условий, а значит, и с трудностью правильно
выбрать режим торможения. Это связано также с увеличением зазоров в стыках
рельсов, приводящих к дополнительным ударным воздействиям при прохождении
колесных пар.
Навар металла (рис.2.5, 3) на поверхности катания -
термомеханическое повреждение, при котором на поверхности катания образуются
участки сдвига металла U-образной
формы. Такая форма пластической деформации с максимальным сдвигом в центре
полосы контакта и минимальным по краям объясняется эллиптическим законом
распределения давлений на контактной площадке. Наибольшие деформации возникают
в центре площадки контакта, где создается максимальное давление, которое
развивается в направлении скольжения колес.
Навар располагается на поверхности катания в виде
одной или нескольких зон, может быть однослойным и многослойным. Навар
определяется высотой сдвига металла, измеряемой от неповрежденной поверхности
катания до вершин сдвигов. Основной причиной этого дефекта является нарушение
режимов торможения, в результате чего происходит проскальзывание колеса по
рельсу на 20...30 мм в течение очень коротких промежутков времени. При этом в
зоне контакта колеса с рельсом происходит интенсивная пластическая деформация с
элементами контактного схватывания и значительным нагревом металла, что,
во-первых, приводит к деформациям, а, во-вторых, к закалке этой зоны на
мартенсит, обладающей повышенной твердостью. Таким образом, чередование сдвигов
навара объясняется небольшим проскальзыванием колеса вследствие скачкообразного
изменения силы сцепления колеса с рельсом.
Частота появления этого дефекта за последние годы
возрастает. Это объясняется, с одной стороны, ростом скоростей движения
поездов, их массы, при которых приходится гасить растущую кинетическую энергию
поезда, а с другой стороны, внедрением неметаллических колодок, которые обеспечивают
высокий тормозной эффект, но слабо отводят тепло от поверхности катания в
период торможения. Так при торможении чугунными колодками в тело колеса уходит
70 % тепловой энергии, а при неметаллических колодках уже до 95%.
Навар на поверхностях катания вызывает повышенные
ударные нагрузки на подвижной состав и верхнее строение пути и поэтому не
допускается навар высотой более 0,5 мм у колесных пар пассажирских вагонов и
более 1 мм для грузовых вагонов.
Значительную долю дефектов колес составляют механические
повреждения, к которым относятся ослабление посадки ступицы колеса на оси,
сдвиг ступицы колеса.
Ослабление посадки ступицы колеса возможно при
нарушении технологии формирования колесной пары, несоблюдении равенства
температуры оси и колеса при измерении диаметров посадочных поверхностей, в
результате чего неправильно определяется натяг на посадку. Признаками
ослабления посадки является разрыв краски по всему периметру вблизи торца
ступицы в месте ее сопряжения с осью и выделение характерной коррозии и масла
из-под ступицы колеса с внутренней стороны. Колесные пары с признаками
ослабления ступицы подлежат расформированию.
Сдвиг ступицы колеса - это смещение ступицы колеса
вдоль оси. Этот дефект также является следствием нарушения технологии
формирования колесной пары или ударов при авариях.
Сдвиг ступицы колеса ведет к изменению расстояния
между внутренними гранями ободов колес и представляет серьезную угрозу
безопасности движения, и поэтому колесные пары исключаются из эксплуатации.
Трещины в ступице колеса и в диске (рис.2.5, 4) -
образуются под действием комплекса динамических сил из-за наличия
металлургических дефектов металла в этих зонах, неметаллических включений и
неровностей от прокатки колеса при изготовлении. Кроме того, трещины в ступице
колеса развиваются от растягивающих напряжений после посадки колеса на ось и
наличии микротрещин на кромках, образующихся при прошивке отверстия ступицы
колеса.
Продольная трещина обода колеса (рис.2.5, 5) - это
нарушение сплошности металла в виде единичных продольных или поперечных трещин.
Такие трещины возникают из-за наличия очагов неметаллических включений или
местной неоднородности металла обода колеса. Эти неисправности выявляют внешним
осмотром. Если позволяет толщина обода, дефект можно устранить обточкой на
колесотокарном станке. Если толщина обода недостаточна, то колесная пара
исключается из эксплуатации.
Термические поперечные трещины в ободе колеса
образуются в виде множества трещин термической усталости на поверхности катания
в зонах уклона 1:7, на фаске и в отдельных случаях переходящих на наружную
грань обода. Трещины термической усталости возникают в результате чередования
интенсивного нагрева поверхности катания колеса при торможении и последующего
охлаждения. При резком торможении поезда поверхность катания колеса от трения,
особенно с композиционными колодками, нагревается до температуры 400 °С, а в
отдельных зонах температура может достигать 1000 °С. Повторяющиеся циклы
нагрева и охлаждения вызывают последовательно в поверхностном слое обода колеса
напряжения сжатия и растяжения, величина которых может превышать предел
текучести стали, а это приводит к развитию пластической деформации и, как
следствие, к образованию трещин.
Трещины на шейке и предподступичной части оси
(рис.2.5, 6) - это нарушение сплошности металла, которые характеризуются
расположением чаще всего вблизи галтелей, как концентратов напряжений. Основной
причиной образования трещин в шейках осей с роликовыми подшипниками на
втулочной посадке является местная концентрация напряжений в зоне прилегания
тонкого конца закрепительной втулки или торца внутреннего кольца подшипника на
горячей посадке.
Общими причинами образования поперечных трещин в осях
являются:
явление усталости металла;
загрузка вагона сверх установленной нормы;
перегрузки, вызываемые наличием ползунов и выщербин;
неправильное расположение груза по кузову вагона;
Трещины выявляются внешним осмотром и
дефектоскопированием при освидетельствовании и ремонте колесных пар. Колесные
пары с трещинами осей выводят из эксплуатации.
3. Пути увеличения надежности
и долговечности колесных пар
Срок службы колесных пар зависит от большого
количества факторов: от условий эксплуатации, от конструктивного оформления
колесных пар, качества стали и технологии изготовления.
Фактический срок службы колес можно определит по
следующей формуле:
где Hн -
толщина обода нового цельнокатаного колеса, Hн = 75 мм;
Hк - толщина обода колеса, изношенного о предельных размеров,
мм;
п - количество обточек за весь период службы колеса;
h - средняя толщина снимаемого слоя металла за одну обточку,
мм;
А - полезная работа вагона в течение года, сут.;
Lср - пробег вагона за сутки, км;
γ - средняя величина износа
поверхности катания за 1 км пробега, мм.
Из анализа формулы следует, что срок службы колес
можно продлить за счет уменьшения числа обточек и толщины снимаемого слоя
металла при каждой обточке. Поэтому необходимо строго следить, чтобы при
обработке колес по кругу катания снимался минимальный слой металла.
Число переточек можно уменьшить за счет
организационных и технологических мероприятий по повышению прочности и
надежности колесных пар, которые можно реализовать по следующим направлениям:
снижение напряженности осей в эксплуатации, технологические пути повышения надежности.
Снижение напряженности осей в эксплуатации можно добиться путем ликвидации
дополнительных силовых факторов, возникающих в эксплуатации из-за образования
ранее рассмотренных износов и повреждений поверхностей катания колес,
перегрузки и неравномерности распределения нагрузки внутри вагона,
неисправностей систем рессорно-пружинного подвешивания, неисправностей и
неровностей пути.
Несвоевременно устраненные дефекты поверхностей
катания колес занимают ведущее место по своему вредному влиянию на прочность
оси.
Эти дефекты вызывают перенапряжения постоянно одних и
тех же волокон. Установлено, что ползун глубиной до 2 мм дает наибольшие
ускорения до 60g. Эти ускорения
вызывают значительную перегрузку оси и, в частности, расчетное усилие на шейку
увеличивается в 2 раза.
Снижению напряженности элементов колесных пар служит
такое мероприятие, как балансировка колесных пар, которая обязательна для
колесных пар вагонов, эксплуатируемых со скоростями движения выше 140км/ч.
Нарушение баланса для скоростей от 140 до 160 км/ч допускается до 6 Н • м.
Технологические пути повышения надежности колесных пар
имеют несколько направлений - это методы накатки осей по всей длине, отжиг
колес перед обточкой, восстановление шеек металлизацией, восстановление резьбы
методами автоматической наплавки.
В настоящее время все новые оси подвергаются накатке в
процессе изготовления, а старогодные оси накатываются непосредственно после
проточки.
Операция накатывания позволяет повысить усталостную
прочность оси, снизить шероховатость и повысить твердость поверхности. Схема
накатки осей роликами представлена на рис.1.1
Рис. 1.1 Схема накатки оси роликами
Для подступичной части оси усилие Р лежит в пределах
18...28кН. Накатной ролик деформирует поверхность и создает непосредственно в
сечении (1) под роликом в поверхностных волокнах напряжения, значительно
превышающие предел текучести, которые вглубь детали постепенно убывают. После
прохождения ролика (сечение 2) глубинные волокна металла, получившие напряжения
и деформации упругого сжатия, стремятся вернуться в исходное положение, однако
этому препятствуют наружные волокна, получившие остаточные деформации.
В результате этого, хотя за роликом диаметр оси
больше, чем непосредственно под роликом, но полного восстановления размера не
происходит и в поверхностных волокнах образуются остаточные напряжения сжатия.
Эти напряжения, суммируясь с рабочими напряжениями растяжения, снижают
суммарное напряженное состояние в одной группе волокон, что приводит к повышению
их усталостной прочности. Другая группа волокон металла, находящаяся под
рабочими напряжениями сжатия, получает дополнительную нагрузку. Однако это не
наносит серьезного ущерба, так как допускаемые напряжения на сжатие значительно
выше, чем допускаемые напряжения на растяжение.
Операция накатывания приводит к повышению твердости
поверхности не менее чем на 22 % и составляет примерно НВ 219... 229. Глубина
наклепанного слоя после накатывания подступичной части оси должна находиться в
пределах 3,6.. .7,2 мм. Шероховатость поверхности Rа - 1,25мкм.
Для обработки подступичных частей оси применяют
универсальные токарно-винторезные станки, а также специализированные
токарно-накатные станки, например модели КЖ1843 КЗТС, фирмы Поремба (ПНР)
моделей ТОА-40Z: и ТОА-40W.
стали за счет перехода на выплавку в электропечах с
последующим вакуумированием и продувкой инертными газами (аргоном) с целью
очистки от неметаллических включений.
Повышение качества стали для колес достигается за счет
специализации химического состава стали для колес эксплуатирующихся под
грузовыми или пассажирскими вагонами. Эта специализация идёт по пути выбора
оптимального, содержания углерода, марганца, ванадия и других присадок.
Проводятся работы по совершенствованию технологии
изготовления колес и осей. В частности, целесообразен переход от изготовления
осей методами ковки и штамповки к изготовлению методом поперечно-винтовой
прокатки. Этот метод позволяет полностью автоматизировать процесс, снизить
металлоемкость изделия на 70 кг и повысить качество и усталостную прочность
оси.
Совершенствование технологии изготовления колес идет
по пути совершенствования штамповой оснастки с целью уменьшения припусков на
обработку, совершенствование методе термической обработки.
В настоящее время ВНИИЖТом разработана и внедряется
технология обточки колес по ремонтному профилю на толщину гребня 27 и 30 мм,
что позволяет увеличить число переточек колесных пар, а значит и их
долговечность.
4. Анализ производственного процесса ремонта
колесной пары
В основу современной организации производственного процесса в колесных
цехах положены следующие принципы: пропорциональность, ритмичность,
специализация, параллельность и непрерывность.
Пропорциональность - соответствие пропускной способности производственных
звеньев запланированному выпуску колесных пар и соотношение пропускных
способностей каждого звена: пропускная способность каждого последующего звена
должна быть не ниже, а в идеале и выше предыдущего.
Ритмичность - равномерный выпуск колесных пар из ремонта в течении
календарного периода.
Специализация - разделение труда во всех звеньях производственной
структуры.
Параллельность - протекание расчлененного производственного процесса
одновременно на всех рабочих местах.
Непрерывность - протекание процесса производства без перерывов -
непрерывное движение ремонтируемых колесных пар.
Ремонт и формирование колесных пар по стабильности номенклатуры, по
специализации рабочих мест и оборудования относится к массовому производству.
Однако на большинстве вагоноремонтных предприятий из-за небольшой программы
ремонта колесных пар уровень организации производственных процессов в колесных
цехах не отвечает требованиям массового производства, характеризующегося
высокой производительностью труда и низкой себестоимостью деталей. Наиболее
прогрессивной формой организации основного производственного процесса является
поточный метод ремонта и формирования колесных пар, который характеризуется
строгой последовательностью выполнения ремонта на специализированных по видам
работ операциях.
В колесных цехах наибольшее распространение получили поточные линии с
прерывным движением деталей, которое возникает в результате различной
производительности применяемого оборудования, не синхронизированного по
выпуску. В связи с этим между отдельными операциями образуются заделы, в
которых колесные пары или их элементы простаивают в ожидании очередной
операции. Поточные линии характеризуются тактом, т. е. временем, затрачиваемым
на выпуск из ремонта одной колесной пары. Такт определяется отношением действительного
фонда времени на выпуск (количество деталей) за рассматриваемый период. Ритм -
обратное значение такту - характеризуется количеством деталей, выпускаемых в
единицу времени.
Важнейшим показателем, характеризующим организацию производственного
процесса во времени, является длительность производственного цикла, т. е. время
от начала до конца процесса освидетельствования, ремонта или формирования
колесных пар. Цикл состоит из технологического, межоперационного времени и
времени перерывов. Технологическое время затрачивается на выполнение основных
операций по ремонту и формированию. Межоперационное время расходуется на
транспортирование и окончательный межоперационный контроль.
Входящие в состав цикла элементы имеют следующий смысл. Штучное время -
это полное время, затрачиваемое на выполнение основной операции. Штучное время
на выполнение каждой операции складывается из основного (машинного),
вспомогательного времени, времени на организационно-техническое обслуживание
рабочего места и времени на естественные процессы и физиологические потребности
и отдых. Основное и вспомогательное время в сумме образуют оперативное время.
Время на протекание естественных процессов - это время, затрачиваемое на сушку,
нагрев, остывание и другие процессы. Время на контроль и транспортирование -
время, затрачиваемое на выполнение входного, межоперационного и окончательного
контроля, измерения и дефектоскопии, и время на транспортирование колесных пар
в процессе их ремонта. Время перерывов складывается из времени нахождения деталей
в оборотных заделах (оборотные перерывы); ожидания освобождения рабочего места;
пролеживания деталей в резервных (страховых) заделах (резервные перерывы),
которые создаются внутри и вне колесного цеха с целью не допустить возможных
перебоев в работе, пролеживания деталей из-за организационно-технических
неполадок в производстве (случайные перерывы) и пролёживания деталей в
нерабочее время (праздники, обеденные перерывы и т. д.) (внережимные перерывы).
Организация ремонта и формирования колесных пар осуществляется поточным и
стационарным методами. Стационарный метод ремонта заключается в том, каждый
поданный на сборочный участок вагон или агрегат находится на одной позиции в
течение всего времени выполнения работ. Ремонт осуществляют специализированные или
комплексные бригады рабочих различных профессий. Технологические процессы
работы по такому методу разрабатывают на основе типового технологического
процесса деповского ремонта пассажирских и грузовых вагонов применительно к
местным условиям, предусматривая организацию ремонта по принципу замены
неисправных деталей и узлов новыми или заранее отремонтированными. К
технологическому процессу составляют графики, определяющие последовательность
выполнения операций, параллельность осуществления работ, затраты труда.
Поточный метод заключается в том, что ремонтируемые объекты передвигаются
в установленной последовательности к рабочим местам для выполнения
определенного объема операций. Рабочие бригады постоянно находятся на своих
позициях. При такой организации трудового процесса исключается необходимость в
переноске приспособлений и инструмента с одного рабочего места на другое,
значительно сокращается разнообразие выполняемых работ. В результате повышается
производительность труда, снижается себестоимость и улучшаете качество ремонта.
Поточность выполнения ремонта может быть соблюдена при условии одновременного
завершения установленного объема работ на всех позициях. Поэтому для подачи на
поточную линию подбирают агрегаты с примерно одинаковым объемом ремонтных работ.
Имеющие значительные повреждения или износ агрегаты сначала подают на
специальную не входящую в поточную линию позицию, называемую уравнительной.
Исходя из вышесказанного, для дальнейшей разработки выбираем поточный
метод, как наиболее экономичный и прогрессивный. Он
приводит к повышению производительности труда и качества ремонта, к
улучшению использования оборудования и площадей цеха, к сокращению длительности
цикла и к снижению себестоимости ремонта и формирования колесных пар.
Применяемое в колесных цехах оборудование разделяется на производственное
(технологическое), вспомогательное и подъемно-транспортное. Производственное
оборудование - это все рабочие машины, станки, установки, стенды, занятые на
выполнении основных операций технологического процесса ремонта и формирования
колесных пар. Вспомогательное - это оборудование, непосредственно не
участвующее в выполнении технологического процесса, но используемое для
обслуживания основного производства. Подъемно-транспортное оборудование - это
различные устройства, механизмы, выполняющие подъемно-транспортные и
погрузочно-разгрузочные работы в цехе.
Число единиц производственного оборудования (Оц) для одной выполняемой в
цехе работы определяют по формуле:
, где
шт
- штучное время, мин.
Вк
- количество ремонтируемых колесных пар в год.
Fд - годовой
фонд рабочего времени оборудования.
Помимо
основного производства колесные цехи имеют вспомогательные службы: мастерские
по ремонту инструмента, склады, кладовые, инструментально-раздаточные.
А
организации работы колесного цеха большую роль играет правильная организация
труда и квалификация персонала.
5. РАЗРАБОТКА ТЕХНОЛОГИЧЕСКОГО ПРОЦЕССА РЕМОНТА КОЛЕСНЫХ ПАР
Технологический процесс ремонта и формирования колесных пар содержит
значительное число операций, выполняемых последовательно и параллельно на
специализированных рабочих местах с применением высокопроизводительного
оборудования.
Поступившие на механический участок колесного цеха колесные пары
подвергаются предварительному осмотру и обмывке, которая производится в
специализированной моечной машине. Затем колесная пара поступает на
инспекторскую площадку, которая оснащена стендом, позволяющим вращать колесную
пару при осмотре. Здесь же производится ультразвуковая, магнитная дефектоскопия
дефектоскопом. Делаются необходимые замеры и определяется объем ремонта.
В механическом участке колесного цеха колесные пары ремонтируют со сменой
и без смены элементов. Колесные пары, которым не требуется смена элементов и
выполнение сварочных работ поступают на станки для обточки колес. После обточки
их подают на сдаточную площадку, где вторично подвергаются дефектоскопии.
Расстояние между внутренними гранями колес после ремонта без смены
элементов 1440±3мм. Разность расстояний между внутренними гранями колес в
различных точках допускается до 2мм. Минимальная и максимальная ширина обода
цельнокатаного колеса допускается 126мм и 130мм.
Форму профиля колес проверяют максимальным шаблоном. Допускается
отклонения очертаний колеса от профиля выреза шаблона по высоте гребня 1мм, по
поверхности катания и внутренней грани 0,5мм.
Обточка колес по кругу катания производится на колесно-токарных станках
последней модель польской фирмы «Рафамет» ККВs-125, 1Т-СН-А.
Обработка шеек осуществляется на специальных шеечно-накатных станках.
Шейки и предподступичные части под роликовые подшипники зачищают шлифовальной
шкуркой. Допускается оставлять мелкие поперечные и продольные риски, небольшие
задиры.
При ремонте колесных пар применяют электросварочные работы. Здесь
происходит нарезание резьбы на оси, наплавляют разработанные центровые
отверстия осей. После формирования колесных пар и после ремонта, и
освидетельствования на торцах оси ставят знаки маркировки и клейма, которые
наносят в пределах контрольной окружности.
После опробования колес на сдвиг на правый торец оси рядом со знаком
формирования ставят букву «Ф». Принятую колесную пару окрашивают масляной
краской черного цвета или черным лаком и направляют в роликовое отделение.
Если колесную пару не подкатывают сразу под вагон, то ее консервируют,
обмазывают шейки оси солидолом или техническим вазелином и накрывают ее
защитными деревянными щитками.
Согласно техническим указаниям на производства сварочных и наплавочных
работ, при ремонте вагонов разрешается восстанавливать изношенные гребни
цельнокатаных колес механизированной наплавкой под флюсом. Колесную пару перед
наплавкой протачивают на колесотокарном станке с целью удаления поверхностных дефектов,
нагревают в муфельной печи до температуры 2500 С, затем колесную пару
устанавливают на модернизированный шеечно-накатной станок, на котором
установлены наплавочные головки типа А-580 с выпрямителем ВС-600, производят
автоматическую дуговую наплавку под слоем флюса, затем колесную пару помещают в
термостат для остывания, обтачивают по профилю катания, производят
ультразвуковую дефектоскопию.
Основными достоинствами этого метода ремонта являются высокое качество
наплавленного металла и производительность. Однако данная технология приводит к
изменению структуры металла колеса и ее неравномерности по толщине обода,
изменению механических свойств, возникновению дополнительных внутренних
напряжений, высокой трудоемкости выполняемых работ.
Настоящий технологический процесс предназначен для описания ремонта
колесных пар типов РУ1-950 и РУ1Ш-950 в ВКМ вагонного депо.
Технологический процесс действует одновременно со следующими
нормативно-техническими документами:
"Инструкция по осмотру, освидетельствованию, ремонту и формированию
вагонных колесных пар" ДЧ-4/224;
"Инструктивные указания по эксплуатации и ремонту вагонных букс с
роликовыми подшипниками" 3-ЦВРК;
"Инструкция по организации ремонта колесных пар в вагоноколесных
мастерских и вагонных депо", ЦВ РК-6, 1987, утв. 30.12.86г.;
"Технологическая инструкция по упрочнению накатыванием роликами осей
колесных пар вагонов", ТИ 32 ЦВ-ВНИИЖТ-86;
"Руководство по испытанию на растяжение и дефектоскопирование
вагонных деталей", ЦВТ-6, утв. 30.12.80, "Транспорт". 1982г.;
"Типовое положение по организации работ по неразрушающему контролю
на предприятиях, производящих ремонт и модернизацию вагонов всех типов",
ПР 0707-98;
"Руководство по комплексному ультразвуковому контролю колесных пар
вагонов", РД 0709-97;
"Технологическая инструкция по испытанию на растяжение и
неразрушающему контролю деталей вагонов", 637-96 ПКБ ЦВ;
"Классификация неисправностей вагонных колесных пар и их
элементов", ИТМ1-В, утв. 28.07.77г., "Транспорт", 1978г.;
"Классификация и каталог дефектов и повреждений подшипников
качения", ИТМ1-ВТ, утв. 15.04.75г., "Транспорт", 1976г.
"Инструкция по сварке и наплавке при ремонте вагонов и
контейнеров", РТМ-32ЦВ-201-97, "Транспорт", 1997г.;
«Подшипники качения для железнодорожного подвижного состава. Технические
условия» ТУ 37.006.048 - 73 1978г.
Общие положения:
Настоящий комплект документов устанавливает:
а) порядок выполнения работ по разборке, ремонту, сборке и контролю
составных частей колесной пары;
б) способы ремонта и контроля поврежденных и изношенных деталей и
сборочных единиц;
в) предельно-допустимые величины износов и допусков, при которых
сборочные единицы и детали выпускают с восстановлением или без восстановления
размеров;
г) меры безопасности.
Настоящий комплект документов полностью и однозначно (в пространстве и во
времени) определяет технологический процесс ремонта колесных пар в
колесно-роликовом участке депо.
Ремонт производят по способу замены неисправных деталей и сборочных
единиц заранее отремонтированными или новыми соответствующего типа, отвечающими
техническим требованиям.
Материалы и запасные части, применяемые при ремонте колесных пар должны
соответствовать требованиям стандартов, техническим условиям и рабочим
чертежам.
Каждый производственный участок должен быть оснащен соответствующими
средствами транспортирования и оборудованием, необходимыми для ремонта колесных
пар, их элементов и буксовых узлов.
Работа и расстановка оборудования в производственных участках ВКМ должны
осуществляться таким образом, чтобы было обеспечено поточное производство
ремонта колесных пар и буксовых узлов.
МАРШРУТНАЯ КАРТА
|
№ п/п
|
Наименование операции
|
Применяемые механизмы,
приспособления и инструмент
|
Профессия исполнителей
|
Коли- чество испол- ните-
лей
|
Время на опера- цию, в мин
|
|
1.1
|
Обмывка колёсной пары
|
Шлифовальный инструмент
|
Слесарь
|
1
|
15
|
|
1.2
|
Перемещение колёсной пары
на 2-ю позицию
|
Кран-балка
|
Дежурный электрик
|
1
|
5
|
|
2.1
|
Диагностика колёсной пары.
Определить объём работ. Составить ведомость формы ВУ-45
|
Дефектоскоп
|
Мастер, приёмщик вагонов
|
1
|
15
|
|
2.2
|
Переместить колёсную пару
на 3-ю позицию
|
Кран-балка
|
Дежурный электрик
|
1
|
5
|
|
3.1
|
Произвести обточку шейки
оси
|
Станок для обточки осей
|
Токарь-фрезеровщик
|
1
|
30
|
|
3.2
|
Произвести обточку колёс
|
Токарный станок
|
Токарь-фрезеровщик
|
1
|
30
|
|
3.3
|
Переместить колёсную пару
на 4-ю позицию
|
Кран-балка
|
Дежурный электрик
|
1
|
5
|
|
4.1
|
Произвести сварочные работы
на оси
|
Инструмент сварщика
|
Сварщик
|
1
|
20
|
|
4.2
|
Переместить колёсную пару
на 5-ю позицию
|
Кран-балка
|
Дежурный электрик
|
1
|
5
|
|
5.1
|
Произвести замер
контролиру- емых параметров колёсной пары
|
Монометры
|
Мастер, приёмщик вагонов
|
1
|
15
|
|
5.2
|
Нанести маркировки на
колёсную пару
|
Штамп с наборным клеймом
|
Слесарь
|
1
|
5
|
|
5.3
|
Покрасить колёсную пару
|
Малярные инструменты
|
Маляр
|
1
|
10
|
Обмывочный участок
Колесная пара очищают от грязи металлическими щетками и скребком.
Очищенная колесная пара подается в моечную машину, где обмывается моющим
раствором, содержащим 2-3% каустической соды при температуре 50-60 С с
последующей обмывкой чистой водой.
Колесотокарный участок
В колесотокарном участке производится обработка поверхностей катания
колес на колесотокарном станке "Hegenscheidt" в соответствии с требованиями "Инструкции по
осмотру, освидетельствованию, ремонту и формированию вагонных колесных
пар" ДЧ-4/224.
Поступившую в колесотокарный участок колесную пару осматривают. При
осмотре измеряют:
расстояние между внутренними гранями колес;
диаметры по кругу катания.
Результаты измерений отмечают мелом на внутренних гранях колес. После
этого колесную пару устанавливают на колесотокарный станок.
Колесные пары могут подаваться на станок без демонтажа букс. В этом
случае снимают смотровые крышки букс, взамен которых устанавливают специальные
временные крышки с отверстиями для прохода центров станка.
При обработке профиля поверхности катания колес обточке подвергаются:
поверхность катания;
гребень;
внутренняя боковая поверхность обода (при необходимости).
Обточка внутренних боковых поверхностей обода производится только в тех
случаях, когда разница расстояний между ними в разных точках у одной колесной
пары более 2 мм.
Наружную боковую поверхность обода колеса допускается обтачивать только
для устранения поверхностных дефектов и неровностей прокатки при условии, что
при обточке не будут срезаны клейма, поставленные на заводе-изготовителе, и
ширина обода колеса будет не менее допускаемой.
В целях увеличения срока службы старогодных колес разрешается оставлять
черновины на следующих обточенных частях:
на гребне глубиной не более 2 мм, расположенные от вершины гребня в
пределах от 10 до 18 мм;
на поверхности катания глубиной до 0,5 мм;
на внутренней боковой поверхности обода глубиной не более 1 мм при
условии, что расстояние между внутренними боковыми поверхностями ободов колес в
местах нахождения черновин не выходит из допускаемых пределов.
При обточке поверхности катания фаска наружной боковой поверхности обода
колеса должна начинаться на расстоянии 124+1 мм от внутренней боковой
поверхности обода и выполняться под углом 45о.
Правильность обточки ободов колес проверяют максимальным шаблоном,
свободно установленным на поверхности катания. Также подлежит проверке
расстояние между внутренними гранями колес.
После снятия колесной пары со станка мастер или бригадир проверяют
шероховатость обработки поверхностей обода колеса, профиль поверхности катания,
наружную фаску, гребень и внутреннюю грань.
Примечание. Значения величин допускаемой шероховатости обработанных
поверхностей приведены в табл. 2 Размеры элементов профиля поверхности катания,
а также допускаемые отклонения должны соответствовать указанным в Приложении 8
"Инструкции по осмотру, освидетельствованию, ремонту и формированию
вагонных колесных пар" ДЧ-4/224.
Таблица 2
Допускаемая шероховатость обработанных поверхностей элементов колесных
пар
|
№№ п.п.
|
Наименование элементов и
частей колесных пар
|
Шероховатость поверхности,
мкм
|
Класс шероховатости по
ранее действовавшим стандартам
|
|
1
|
Оси Поверхность шейки
(включая галтели) после накатки
|
Rа £ 1,25
|
7а
|
|
2
|
Торцевые поверхности
зарезьбовой канавки колесных пар: со стороны шейки со стороны резьбы
|
Rz £
20 Rz £ 40
|
5 4
|
|
3
|
Предподступичная часть: под
накатку роликами после накатки, шлифовки
|
Rz £
40 Ra £ 2.5
|
4 6a
|
Подступичная часть (включая
заходный конус): после обточки под накатку роликами после накатки
|
Rz £
20 Ra £ 1.25
|
5 7a
|
|
5
|
Торец оси: у осей РУI у
осей РУIШ на пояске шириной 20 мм от поверхности шейки
|
Rz £
40 Rz £ 20
|
4 5
|
|
6
|
Средняя часть оси: при
обточке под накатку после накатки
|
Rz £
40 Ra £ 2.5
|
4 6a
|
|
7
|
Колеса Отверстие ступицы,
расточенное под запрессовку
|
Rz £
20
|
5
|
|
8
|
Внутренний и наружный торец
ступицы, внутренняя боковая поверхность обода, поверхность катания, наружная
фаска поверхности катания и гребень
|
Rz £
80
|
|
Участок приемки отремонтированных колесных пар
Все отремонтированные колесные пары поступают на пути участка приемки,
где имеются необходимое оборудование, приспособления, измерительный инструмент
и шаблоны. Здесь выполняют окончательный осмотр колесных пар, проверку качества
ремонта, обмер элементов, дефектоскопирование и клеймение.
Размеры и отклонения колесных пар и их элементов при выпуске из ремонта
должны соответствовать требованиям Приложения 8 "Инструкции по осмотру,
освидетельствованию, ремонту и формированию вагонных колесных пар"
ДЧ-4/224.
Осмотр и обмер колесных пар и их элементов производится мастером.
Результаты замеров заносятся в журнал формы ВУ-53.
После осмотра и обмера колесные пары должны пройти дефектоскопирование,
которое осуществляется тремя методами:
ультразвуковым (УЗ);
магнитопорошковым (МП);
вихретоковым (ВТ)
В соответствии с требованиями "Руководства по комплексному ультразвуковому
контролю колесных пар вагонов" РД 0709-97 и "Технологической
инструкции по испытанию на растяжение и неразрушающему контролю деталей
вагонов" 637-96 ПКБ ЦВ.
Ультразвуковой метод.
УЗ метод неразрушающего контроля применяется для выявления как поверхностных,
так и внутренних дефектов (трещин, пор, неметаллических включений и др.) на
элементах колесных пар, в том числе и в тех случаях, когда буксовые узлы не
демонтированы и колеса не распрессованы. Данный метод использует законы
распространения, преломления и отражения упругих волн. Для контроля свойств
металла и обнаружения несплошностей (дефектов) применяют разновидности теневого
и эхо-методов УЗ контроля. В основе теневого метода используют явления
ослабления энергии УЗ поля за счет рассеяния на границах дефекта. В основе
эхо-метода используют явление отражения ультразвука на границах дефекта.
К проведению УЗ контроля колесных пар могут быть допущены дефектоскописты
по УЗ контролю 5-6 разряда, прошедшие начальную подготовку или повышение
квалификации (практическое обучение) по программам, утвержденным МПС России,
выдержавшие установленные испытания и назначенные приказом руководителя
предприятия.
При УЗ контроле колесных пар применяют следующие технические средства -
дефектоскопы, пьезоэлектрические преобразователи (ПЭП) и устройства:
УЗ дефектоскоп типа УД2-12;
устройство сканирования для УЗ контроля колес УСК-4;
регистратор результатов УЗ контроля УР-1;
УЗ ПЭП, входящие в комплекты перечисленных дефектоскопов и устройств
сканирования, или ПЭП из комплектов ПКО (ТУ32ЦЩ 3547-89).
Магнитопорошковый контроль колесных пар.
МП метод неразрушающего контроля основан на явлении притяжения частиц
магнитного порошка магнитными потоками рассеяния, возникающими над дефектами
при намагничивании деталей.
Данный метод применяется для выявления поверхностных дефектов типа
усталостных, закалочных и шлифовочных трещин, волосовин, плен и расслоений в
изделиях из ферромагнитных материалов. Метод позволяет контролировать всю
поверхность детали или ее отдельные части.
МП метод включает следующие основные технологические операции:
подготовка деталей к контролю;
намагничивание контролируемой детали;
нанесение сухого магнитного порошка или суспензии на контролируемую
поверхность;
осмотр контролируемой поверхности и расшифровка результатов контроля;
размагничивание (при необходимости).
При МП методе контроля элементов колесных пар применяют следующие
технические средства:
дефектоскопы (или намагничивающие устройства) типа МД-12ПШ,
МД-12ПС, МД-13ПР, УНМД-300/2000;
сухие магнитные порошки типа ПЖВ5-160 (для средней части оси);
магнитные суспензии, приготовленные на основе магнитного порошка ПЖВ5-71
или концентратов магнитного порошка ДИАГМА.
Типы применяемых средств контроля выбирают в зависимости от
геометрических размеров, формы, материала, состояния поверхности элементов
колесных пар, а также от требуемого уровня чувствительности контроля.
Вихретоковый метод контроля колесных пар
ВТ метод неразрушающего контроля предназначен для выявления поверхностных
дефектов типа усталостных и закалочных трещин и волосовин на деталях из
электропроводящих материалов.
Принцип действия ВТ дефектоскопов основан на возбуждении в контролируемом
изделии вихревых токов с помощью ВТ преобразователя. В качестве преобразователя
обычно используются индуктивные катушки, по которым пропускается переменный или
импульсный ток, создающий вокруг катушки электромагнитное поле. При установке
преобразователя на металлическую (электропроводящую) поверхность магнитное поле
катушки вызывает в поверхностном слое металла вихревые токи в виде
концентрических окружностей, максимальный диаметр которых примерно равен
диаметру катушки. Вихревые токи создают собственное (вторичное) магнитное поле,
которое воздействует на параметры преобразователя. По характеру этого воздействия
можно судить о состоянии поверхностного слоя контролируемой детали, в том числе
о наличии трещин.
Параметры вихревых токов зависят от следующих основных факторов:
электромагнитных свойств поверхностного слоя контролируемого материала, частоты
и формы возбуждающего тока. Вихревые токи возбуждаются непосредственно под
вихретоковым преобразователем, установленным на контролируемую поверхность, и
проникают на глубину от долей миллиметра до нескольких миллиметров в
зависимости от частоты возбуждающего тока. Чем выше частота возбуждающего тока,
тем меньше глубина проникновения вихревых токов.
Для проведения дефектоскопирования ВТ методом используют следующие
дефектоскопы:
ВД-13НФ;
ВД-15НФ;
ВД-18НФ.
При обыкновенном освидетельствовании колесных пар с осями РУIШ, если сняты тарельчатые шайбы,
дефектоскопированию подлежат все элементы колесных пар, перечисленные при
полном освидетельствовании, кроме контроля МП методом шеек и предподступичных
частей осей и внутренних колец подшипников. При обыкновенном освидетельствовании
колесных пар с осями РУI и РУIШ (тарельчатые шайбы с оси РУIШ не сняты) дефектоскопированию
подлежат следующие элементы:
цельнокатаное колесо;
ось колесной пары;
стопорная планка.
При формировании колесных пар и старогодные и новые оси проверяются на
"прозвучиваемость" УЗ методом с помощью дефектоскопа УД2-12.
Нанесение знаков и клейм на колесных парах должно производиться в строгом
соответствии с требованиями "Инструкции по осмотру, освидетельствованию,
ремонту и формированию вагонных колесных пар" ДЧ-4/224.
Требования безопасности
При ремонте должны выполняться требования ГОСТ 12.3.002-75.ССБТ. Процессы
производственные. Общие требования.
Запасные части и материалы доставляются на производственный участок в
производственной таре, отвечающей требованиям ГОСТ 12.3.010-82.Перемещения
грузов должны соответствовать требованиям ГОСТ 12.3.020-80.
Проходы и транспортные проезды должны быть свободными и иметь габаритные
полосы безопасности.
Освидетельствование и эксплуатация грузоподъемных механизмов и вспомогательных
приспособлений должны удовлетворять: - правилам устройства и безопасности
эксплуатации грузоподъемных кранов; - инструкции по безопасному ведению работ
для стропальщиков, обслуживающих грузоподъемные краны; - ГОСТ 12.2.071-90 и
ГОСТ 12.11.009-76.
Все производственное оборудование должно отвечать требованиям ГОСТ
12.1.003-83, ГОСТ 12.2.003-91, ГОСТ 12.2.022-80
Состояние воздушной среды на производственных участках должно
соответствовать требованиям ГОСТ 12.1.005-88.
На производственных участках применяют сигнальные цвета и знаки
безопасности в соответствии с требованиями ГОСТ 12.4.026-76.
Коллективные и индивидуальные средства защиты работающих должны отвечать
требованиям ГОСТ 12.4.011-75.
Рабочая одежда должна соответствовать требованиям ГОСТ 12.4.103-83
Мероприятия по ограничению шума должны отвечать требованиям ГОСТ
12.1.003-83.
При погрузке и разгрузке материалов, запасных частей и изделий должны
соблюдаться требования ГОСТ 12.3.009-76.
На производственных участках, в отделениях и на рабочих местах должны
быть местные инструкции по охране труда (ИОТ) и технике безопасности.
6. Расчёт технических норм времени по
организации технологического процесса наплавки и механической обработки
резьбовой части шейки оси
Одной из основных задач, стоящих перед вагоноремонтным производством
является поддержание вагонного парка в технически исправном состоянии. Однако,
для выполнения этой задачи требуется затраты большого количества запасных
частей, большой затраты трудоёмкости, а значит, и больших финансовых затрат.
Поэтому рациональное использование запасных частей и восстановление изношенных
деталей вагонов наиболее эффективными методами позволяет решать эти задачи,
особенно если учесть, что стоимость восстановления изношенных деталей на 50-80
% меньше стоимости новой детали. Кроме того, часто восстановленная деталь
обладает лучшими противоизносными и другими свойствами, чем новая.
Для восстановления резьбовой части шейки оси будем использовать
механизированную (автоматическую) сварку и наплавку под слоем флюса.
Этот метод применяют в основном для наплавки изношенных поверхностей
деталей, имеющих значительные износы по глубине и площади при толщинах деталей
от 2 до 100 мм. Эта наплавка отличается высокой производительностью и
качеством: флюсы не только защищают расплавленный металл от кислорода воздуха,
но и препятствуют разбрызгиванию наплавляемого металла (потери около 2-3%),
способствуют сохранению тепла дуги. Автоматическая наплавка под слоем флюса
одной электродной проволокой даёт глубокое проплавление.
Подготовка детали к наплавке.
Очищенную и прошедшую дефектоскопию колесную пару устанавливают на станок
и срезают старую деформированную резьбу. Восстановление проточенной поверхности
производят автоматической сваркой под слоем флюса. Для этого используется токарно-винторезный
станок, в центрах которого устанавливается ось.
Наплавка производится в один-два слоя в зависимости от диаметра сварочной
проволоки с припуском 2 мм на последующую механическую обработку. Для защиты
паза стопорной планки от шлаков и брызг расплавленного металла он закрывается
медным кольцом, а резьбовая канавка - шнуровым асбестом. Наплавленная часть оси
подвергается обточке, нарезанию и накатыванию резьбы в соответствии с
существующими техническими требованиями.
Выбор и расчет режима наплавки.
Выбор марки электродной проволоки.
При проектировании режима механизированной сварки (наплавки) необходимо
установить марку и диаметр электродной проволоки, род, полярность и силу
сварочного тока, напряжение дуги, скорость подачи электродной проволоки,
скорость наплавки, марку применяемого флюса и расход материалов.
Будем использовать проволоку
|
Марка
|
Тип электрода, которому
соответствует проволока
|
Вид наплавки
|
Марка флюса
|
|
Св-08А
|
Э-42
|
Автоматическая наплавка под
слоем флюса.
|
АН-348А
|
Определение силы тока.
Сила сварочного тока Iсв
выбирается так, чтобы был обеспечен провар на заданную глубину Н по формуле
,
где
Н1-заданная глубина проплавления за один проход, мм;
Kh-коэффициент
равный 1,40 мм/100А, для выбранного типа проволоки.
Рекомендуемые
режимы наплавки.
Можно
определять силу тока и другие параметры в зависимости от диаметра электродной
проволоки:
|
Диаметр электродной
проволоки, мм
|
Сварочный ток, А
|
Напряжение на дуге, В
|
Скорость наплавки, м/ч
|
|
2
|
170 - 180
|
25 - 27
|
35
|
Определение подачи электродной проволоки.
Скорость подачи электродной проволоки (мм/ч) определяется:
где
Кр-коэффициент расплавления электродной проволоки;
При
автоматической наплавке на постоянном токе обратной полярности Кр изменяется
незначительно и может быть принят Кр =12 гА/ч.
γ- удельная масса наплавленного металла, равная γ=0,0078 г/мм³
Определение
скорости наплавки.
Скорость
наплавки определяется из выражения
где
Fэ- площадь поперечного сечения электродной проволоки,
мм;
Fнп- поперечное
сечение валика наплавленного металла, мм²;
Площадь
наплавленного валика в этом случае определяется по формуле
где
h- заданная толщина наплавленного слоя, 2 мм;
S- шаг наплавки,
мм;
K1- коэффициент,
учитывающий отклонения фактической площади сечения слоя от площади
прямоугольника, K1=0,6-0,7 .
Определение
напряжения на дуге.
Напряжение
на дуге определяется в зависимости от принятого диаметра электрода и силы
сварочного тока по формуле:
Определение
расхода электродной проволоки.
Расход
электродной проволоки определяется по формуле:
где
Qн- масса наплавленного металла,
н-
объём наплавленного металла,
где
l- длина шва, 408 мм;
m-количество
швов с учётом шага наплавки, 6;
n- количество
слоёв наплавки, 2 по 2мм;
Определение
расхода флюса.
Расход
флюса Qд на один метр шва определяется по формуле:
где
UД- напряжение на дуге, 26,36 В;
Vнп=35,5м/ч=0,59м/мин
Определение
термических напряжений при механизированной сварке.
Определение
погонной энергии.
Погонная
энергия определяется по выражению
где
UД-напряжение на дуге;
η- коэффициент использования тепла дуги (при автоматической сварке - 0,85-
0,9)
Vсв=35,5м/ч=9,86
мм/сек;
Определение
суммы относительных пластических продольных деформаций укорочения, вызванных
продольным швом.
Сумма
относительных пластических продольных деформаций укорочения, вызванных
продольным швом, определяется по формуле:
где
m- коэффициент, учитывающий конструктивнее оформление
шва (при ведении односторонних сплошных швов стыковых, угловых, нахлёсточных
соединений m=1).
μ- расчётный коэффициент, зависящий от свойств свариваемых материалов,
Определение
относительной продольной деформации любого продольного волокна после наложения
продольного шва.
Относительной
продольной деформации любого продольного волокна после наложения продольного
шва определяется по формуле:
Определение
остаточных продольных сварочных напряжений.
Определение
остаточных продольных сварочных напряжений определяется по формуле:
Техническое
нормирование сварочных работ.
Затраты
времени на восстановление деталей сваркой зависят от ряда параметров: от
свойств свариваемого металла, толщин детали, величины сварочного тока,
пространственного положения шва и др.
Норму
штучного времени на электродуговую сварку определяют по формуле:
где
tо- основное время на 1погонный метр, мин;
tВ1-
вспомогательное время, связанное с образованием шва, мин;
L - длина шва определённого
размера, м;
tВ2 -
вспомогательное время, связанное со свариваемым изделием и управлением
оборудованием, мин;
K2 - коэффициент
учитывающий время на обслуживание рабочего места, перерывы, отдых и личные
нужды; при автоматической сварке и работе на стационарных установках K2=1,11.
Основное
время на 1 погонный метр шва подсчитывается:
мин/м
Вспомогательное
время, связанное с образованием одного метра шва, определяется по формуле:
где
t1 - время на зачистку кромок под шов, t1=0,5
мин/м;
t3 - время
измерения и осмотра шва, t3=0,35 мин/м;
t6 - время на
установку, кантовку и снятия изделия, t6=3 мин/м;
t7 - время на установку
клейма сварщика в одном месте, t7=0,3 мин/м;
Вспомогательное
время tВ2, связанное с управлением оборудованием и
независящее от длины шва определяется из таблицы1.
Вспомогательное
время, не зависящее от длины шва. Таблица1
|
Элементы работы
|
Время, мин
|
Примечание
|
|
Установить автомат в начале
шва
|
2,1
|
Засыпка в бункер флюса,
установка проволоки на оси шва, опускание проволоки, включение самохода
трактора.
|
|
Отключить автомат после
сварки
|
0,5
|
|
|
Собрать флюс в конце шва
|
0,25
|
Включается в норму при
сварке без флюсоотсоса.
|
|
Установить токопровод к
детали и снять его
|
0,40
|
Включается в норму в случае
отсутствия специального токопровода и детали.
|
|
Подготовить флюсовую
подушку для кольцевых швов быстродействующем прижимом. Переместить несущую
конструкцию установки.
|
0,3
|
Время дано на 1 м
перемещения вручную.
|
Определение
нормы выработки за смену производится по формуле:
где
Fg1 - фонд времени за смену, Fg1=480 мин;
Tпа -
подготовительно-заключительное время, требующееся на подготовку приспособлений,
рабочего места, сдачу работы и т.д., Tпа=17 мин.
7.Расчет и выбор параметров колесно-роликового
цеха
Заданная годовая программа ремонта колесных пар без сменны элементов: Nсм=7400 колесных пар в год.
Определение программы ремонта кол. пар без смены элементов:
,
где
Псмо - процент кол. пар, требующих ремонта со сменной осей; Псмо=0,645
Определение
кол-ва моечных машин для очистки кол. пар:
,
где
tмк - время обмывки одной кол. пары, час; tмк=0,17ч.;
Fн - годовой
фонд времени работы оборудования при двухсменном режиме, час; Fн=2075ч.;
Qсм - кол-во
смен работы цеха в сутки; Qсм=2
ηм - коэффициент использования оборудования; ηм=0,7-0,9
Определение
кол-ва дефектоскопных установок:
,
где
tдеф - время, затрачиваемое на магнитную и
ультрозвуковую дефектоскопию оси, час; tдеф=0,17ч.
Определение
кол-ва станков для обточки кол. пар по кругу катания:
,
где
tокр - время, затрачиваемое на обточку кол. пары по
кругу катания, час: tокр=0,76ч.
Определение
площади парка накопления неисправных кол. пар,
:
,
где
Кко - коэффициент запаса колесных пар, ожидающих ремонта; Кко=0,5;
Dк - диаметр
колеса, м; Dк=0,950м.;
lос - длина оси
по торцам, м; lос=2,3м.;
Dр - число
рабочих дней в году, дн.; Dр=254дн.;
Определение
площади, занятой моечными машинами,
:
,
где
Fммк - площадь, необходимая для размещения моечной
машины для колесных пар,
.
Определение
площади, занятой дефектоскопными установками,
:
,
где
Fдеф - площадь, занимаемая одной дефектоскопной
установкой,
; Fдеф=6,6
.
Определение
площади, занятой колесо-токарными станками,
:
,
где
Fокр - площадь, занимаемая одним колесо-токарным
станком,
; Fокр=39,5
.
Определение
площади участка исправных кол. пар,
:
,
где
Fкп - площадь, необходимая для размещения одной кол.
пары,
; Fкп=2,8
;
Кки
- коэффициент запаса исправных кол. пар,
;
Кки=0,3;
Определение
общей площади колесно-роликового цеха,
:
,
где
Кдоп - коэффициент, учитывающий увеличение площади колесно-роликового цеха на
размещение вспомогательного оборудования (стеллажи, шкафы и т.д.) и
транспортные проезды и проходы; Кдоп=3-5
Определение
объема здания колесно-роликового цеха,
:
,
где
Нцкр - высота колесно-роликового цеха до низа конструкции перекрытия, м;
Нцкр=10,8м.
Определение
годовых амортизационных отчислений от стоимости здания цеха, приходящихся на
одну отремонтированную кол. пару, руб.:
,
где
Судкр - удельная стоимость 1
здания
колесно-роликового цеха, руб.; Судкр=50руб.;
Нгц
- норма годовых амортизационных отчислений от стоимости здания
колесно-роликового цеха; Нгц=0,026.
Определение
расходов на отопление здания, приходящихся на одну отремонтированную кол. пару,
руб.:
,
где
qт - удельный расход тепла на отопление 1м здания,
руб.; qт=ккал/час;
Фот
- кол-во часов в отопительном сезоне, час; Фот=4800час;
S
-
стоимость 1т пара, руб.; S
=5руб.;
i - теплота
испарения, ккал/кг; i=540ккал/кг.
Определение
стоимости эл. энергии, расходуемой на освещение, приходящ. на одну
отремонтированную кол. пару, руб.:
,
где
qосв - норма расхода электроэнергии на 1м площади цена
за 1 час, квт/ч; qосв=0,02квт/ч;
Носв
- продолжительность работы электроосвещения в год, ч.; Носв=1800ч
q
осв - норма расхода электроэнергии на дежурное
освещение, квт; q
осв=2,6квт
S
- стоимость 1квт осветительной электроэнергии, руб.; S
=2руб.;
Определение
стоимости эл. энергии, расходуемой моечными машинами для кол. пар, руб.:
,
где
S
- стоимость 1квт силовой электроэнергии, руб.; S
=0,03руб.;
Nммк - мощность
электродвигателей моечной машины для обмывки кол. пары, квт; Nммк=40-50квт.
Определение
стоимости эл. энергии, расходуемой колесо-токарными станками, руб.:
,
где
Nокр - мощность электродвигателя колесо-токарного
станка, квт; Nокр=75-80квт.
Определение
стоимости эл. энергии, расходуемой оборудованием приходящ. на одну кол. пару,
руб.:
Определение
стоимости основной технологической оснастки, руб.:
751930
Определение
амортизационных отчислений от стоимости технологической оснастки, приходящ. на
одну кол. пару, руб.:
Определение
стоимости расхода воды на обмывку одной кол. пары, руб.:
,
где
qкп - норма расхода воды на 1 кол. пару,
; qкп=0,03
;
S
в - стоимость 1
воды,
руб.; S
в =1руб.
Определение
расходов на нагрев воды для обмывки одной кол. пары, руб.:
,
где
qп - средний расход пара на нагрев воды, расходуемой на
1 кол. пару, кг ; qп=0,09кг;
Определение
себестоимости ремонта одной колесной пары, руб:
1,57+1,6+8,62+101,61+2,64+0,03+1,566=117,636
Технико-экономическое
обоснование ремонта резьбовой части шейки оси.
Выбор
типа и расчёт количества сварочного оборудования.
Выбор
сварочного и наплавочного оборудования производят в соответствии с принятым
методом и параметрами восстановления детали с учётом технических характеристик
производимого сварочного оборудования. К сварочному оборудованию относят
источники питания дуги, а также автоматы при механизированной наплавке.
Техническая
характеристика сварочного трансформатора
|
Характеристики
|
Автоматическая сварка
|
|
ТСД-10003
|
|
Напряжение холостого хода,
В
|
69 - 78
|
|
Номинальная мощность, кВа
|
76
|
|
Рабочее напряжение при
номинальной нагрузке, В
|
42
|
|
Пределы регулирования
сварочного тока, А
|
400 - 1200
|
|
КПД, %
|
90
|
|
Внешняя характеристика
|
падающая
|
Техническая характеристика сварочного выпрямителя
|
Тип источника
|
Внешняя характеристика
|
Пределы регулирования тока,
А
|
Номинальное рабочее
напряжение, В
|
КПД, %
|
Область применения
|
|
ВДУ-1001
|
крутопадающая
|
300-1000
|
66
|
70
|
Под флюсом, в защитных
газах
|
Техническая характеристика аппарата для автоматической сварки
|
Тип аппарата
|
Диаметр электрод-ной
проволоки, мм
|
Сварочный ток при ПВ-65%, А
|
Скорость подачи
электрод-ной проволоки, м/ч
|
Регулирова-ние скорости
подачи
|
Скорость сварки
|
Источник питания
|
|
ТС-33
|
1,0-4
|
До 800
|
21-696
|
Ступенча-тое
|
8-35
|
ВДУ-1001
|
Количество аппаратов автоматической сварки и наплавки определяется по
формуле:
где
Sн - общая площадь наплавки по данному изделию, см²;
n - количество
слоёв наплавки, n=2;
ηи - коэффициент использования сварочной установки, ηи=0,5 - 0,7;
fi -
наплавленная площадь за 1 час, см²/ч, fi=VнпS=2130;
Vнп - скорость
наплавки, Vнп=3550 см/ч;
S - шаг
наплавки, S=6 мм=0,6 см;
Технико-экономическое
обоснование принятого технологического процесса.
Себестоимость
изготовления или ремонта деталей сваркой определяется по формуле:
где
Сз - заработная плата производственных рабочих;
См
- стоимость материалов (проволока, флюсы);
Сэ
- стоимость электроэнергии для технологических целей;
Са
- затраты на содержание и ремонт оборудования;
СТ
- затраты на обеспечение технологического процесса (отопление, освещение,
уборка помещения);
Сox -
затраты на охрану труда;
Определение
заработной платы производственных рабочих.
Расчёт
заработной платы производится по формуле:
где
Зо - основная заработная плата;
ЗД
- дополнительная заработная плата;
Зстр
- отчисления на социальное страхование;
Основная
заработная плата определяется:
где
Sср - средняя часовая тарифная ставка сварщиков, руб/ч;
Тшт
- штучное время, Тшт=7 мин=0,11ч;
Nз - количество
отремонтированных деталей, 50шт.
Тарифные
ставки электросварщиков
|
Разряд работы
|
5
|
6
|
7
|
8
|
9
|
10
|
|
Часовая тарифная ставка,
руб/ч
|
378
|
420
|
472
|
526
|
584
|
648
|
Средняя часовая ставка одного рабочего определяется из выражения:
,
где
mi - количество сварщиков i-го разряда;
Допустим,
в цеху работает 4 сварщика: 2 - по пятому разряду,
-
по шестому разряду,
Дополнительная
заработная плата определяется:
,
где
b - коэффициент дополнительной зарплаты принимаемый от
0,2 до 1.
Начисление
на социальное страхование определяется:
,
где
а - коэффициент начислений на социальное страхование, равное а=0,15.
Определение
стоимости израсходованных материалов
Расход
электродной проволоки: Qэп=705г;
За
1час наплавки тратится: 50*705=35250г;
Если
1 т электродной проволоки стоит 3230 руб, тогда
Определение
расходов на электроэнергию
Расход
электроэнергии определяют по формуле:
,
где
Iсв - сварочный ток, 180А;
UД - напряжение
на дуге, 26,36 В;
tо - основное
время, 1,7мин/м;
η - КПД источника питания дуги, η=0,75-0,9;
Wo - мощность
холостого хода источника питания, Wo=0,3 кВт;
Т
- полное время сварочного цикла, 7мин;
Затраты
на содержание и ремонт оборудования (Са) и накладные цеховые расходы (Сц).
Примерное
распределение расходов на содержание оборудования и накладных расходов.
|
Участок
|
Расходы на содержание и
эксплуатацию оборудования, %
|
Накладные цеховые расходы,
%
|
|
Колесной
|
150-180
|
50-70
|
Эти затраты ориентировочно можно принять в % от заработной платы основных
рабочих в соответствии с выше указанными данными.

Расчёт
себестоимости восстановления резьбовой части шейки оси.
|
Показатели
|
Условные обозначения
|
Единицы измерения
|
Вариант восстановления
|
|
|
|
Автоматическая
|
|
Электроэнергия
|
|
|
|
|
Основное время на
восстановление детали
|
tо
|
мин/м
|
1,7
|
|
Сила сварочного тока
|
Iсв
|
А
|
180
|
|
Напряжение на дуге
|
UД
|
В
|
26,36
|
|
Расход электроэнергии на
восстановление детали
|
Эсв
|
кВт*ч
|
10,55
|
|
|
|
|
|
Материалы
|
|
|
|
|
Расход электродной
проволоки на деталь
|
G
|
кг
|
0,705
|
|
Расход флюсов на
восстановление детали
|
Mф
|
кг
|
11
|
|
Затраты на материалы
|
См
|
руб
|
113,85
|
|
Заработная плата
|
|
|
|
|
Штучное время на деталь
|
Тшт
|
мин
|
7
|
|
Разряд работы
|
|
|
2ое - по 5 2е - по 6
|
|
Часовая тарифная ставка
|
S
|
руб
|
378 420
|
|
Заработная плата на
восстановление детали
|
Сэ
|
руб
|
3785,5
|
|
Цеховые расходы
|
Сц
|
руб
|
1316,7
|
|
Нормы выработки
|
N
|
шт
|
66,14
|
|
Себестоимость
восстановления детали
|
C
|
руб
|
8837,05
|
Список использованной литературы:
1. .
Мотовилов К.В., Лукашук В.С., Криворудченко В.Ф., Петров А.А.; Под ред.
Мотовилова К.В. Технология производства и ремонта вагонов. - М.:Маршрут, 2003г.
2. Грузовые
вагоны железных дорог колеи 1520мм. М: Транспорт 1992г;
. Технология
производства и ремонта вагонов. М: Транспорт 2003г;
. Вагоны.
Конструкция, теория и расчет под.ред. А.А. Шадура М: Транспорт 1980г;
. А.П.Власов.
Журнал «Вагоны и вагонное хозяйство». М.: Маршрут. №4,№6. 2007г.;
. Учёт
данных по колёсным парам ВЧД1 Орехово-Зуево (начальник депо: Ивашов И.В.)