Проектирование технологического процесса ремонта валика подъемника автосцепки СА-3

  • Вид работы:
    Курсовая работа (т)
  • Предмет:
    Транспорт, грузоперевозки
  • Язык:
    Русский
    ,
    Формат файла:
    MS Word
    54,75 Кб
  • Опубликовано:
    2012-07-19
Вы можете узнать стоимость помощи в написании студенческой работы.
Помощь в написании работы, которую точно примут!

Проектирование технологического процесса ремонта валика подъемника автосцепки СА-3

Введение

Технология изготовления и ремонта вагонов является наукой, которая изучает сущность, взаимосвязь, развитие многочисленных и разнообразных технологических процессов, используемых при изготовлении и ремонте вагонов в целом, их сборочных единиц и деталей. Сложны и разнообразны процессы изготовления и ремонта вагонов. Для их осуществления требуются значительные затраты труда и времени, необходимы различные технологические оборудования и оснастка.

Курсовое проектирование по технологии производства и ремонта вагонов выполняется с целью закрепления знаний, полученных при изучении этой дисциплины.

1. Анализ исходных данных для разработки технологического процесса

1.1 Назначение детали (сборочной единицы)

Автосцепка СА-3 обеспечивает: автоматическое сцепление при соударении единиц подвижного состава с различными маневровыми скоростями; автоматическое запирание замка в нижнем положении у сцепленных автосцепок, что устраняет самопроизвольное расцепление на ходу поезда (саморасцеп); расцепление подвижного состава без захода человека между концевыми балками и удержание механизма в расцепленном положении до разведения автосцепок; автоматическое возвращение механизма в положение готовности к сцеплению после разведения автосцепок; восстановление сцепления у ошибочно расцепленных автосцепок без их разведения; маневровую работу толчками (работа "на буфер"), когда при соударении автосцепки не сцепляются.

Автосцепка СА-3 (рисунок 1.1) является тягово-ударной нежесткого типа. Она состоит из корпуса 9 и деталей механизма сцепления: замка 4, замкодержателя 3, предохранителя 8, подъемника 10, валика подъемника 6.

Головная часть автосцепки (голова) переходит в удлиненный пустотельный хвостовик, в котором имеется отверстие 7 для размещения клина, соединяющего автосцепку с тяговым хомутом. Голова автосцепки имеет большой 2 и малый 5 зубья. В пространство между малым и большим зубьями, в так называемый зев автосцепки, выступают замок 4 и замкодержатель 3, взаимодействующие в сцепленном состоянии со смежной автосцепкой.

Большой зуб имеет три усиливающих ребра: верхнее, среднее и нижнее, плавно переходящие в хвостик и соединенные между собой перемычкой. Голова автосцепки заканчивается сзади упором 1, предназначенным для передачи при неблагоприятном сочетании допусков на основные размеры жесткого удара на хребтовую балку через концевую балку рамы вагона и ударную розетку.

Рисунок 1.1. Автосцепка СА-3

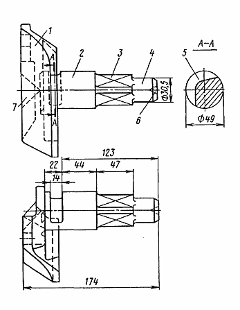
Валик подъемника (рисунок 1.2) предназначен для поворота подъемника замка при расцеплении автосцепок и ограничения выхода замка из кармана корпуса в зев собранной автосцепки. Балансир 7, соединяемый с цепью расцепного привода, облегчает возвращение валика подъемника в исходное положение после разведения автосцепок и в других случаях. Стержень валика состоит из толстой 2, тонкой 4 цилиндрических и квадратной 3 частей. В собранной автосцепке цилиндрические части располагаются в соответствующих отверстиях корпуса, а квадратная часть находится в отверстии подъемника. Толстая цилиндрическая часть удерживает замок от выпадания; имеющаяся на ней выемка 5 предназначена для запорного болта. Конические углубления на балансире 7 и на торце 6 стержня служат для центровки валика подъемника на станке при обработке поверхностей стержня во время ремонта.

Рисунок 1.2 - Валик подъёмника

Технические требования к автосцепному устройству

Расстояние от головок рельсов до оси автосцепки для нового и эксплуатируемого порожнего подвижного состава (вагоны и локомотивы) должно быть не более 1080 мм, для эксплуатируемых грузовых груженых вагонов - не менее 950 мм, пассажирских вагонов и локомотивов (груженых и с экипировкой) - не менее 980 мм, для вновь изготавливаемых грузовых, пассажирских вагонов и локомотивов (не загруженных и без экипировки) - не менее 1040 мм.

Вертикальное смещение продольных осей автосцепок зависит от типа подвижного состава, его состояния, степени загрузки и др. Для новых автосцепок, имеющих номинальные размеры, предельное расстояние по вертикали между их продольными осями, позволяющее осуществить сцепление, составляет 240 мм, а для изношенных, но еще отвечающих эксплуатационным нормам, - около 150 мм. Однако сцепление при такой разнице уровней будет ненадежным из-за недостаточного размера площадки зацепления замков, что приводит к смятию их кромок. По этой причине в случае прохода подвижного состава по неровным участкам пути (пучины, просадки) может произойти разъединение автосцепок. Поэтому Правилами технической эксплуатации железных дорог РФ допускается расстояние по высоте между продольными осями сцепленных автосцепок вагонов в грузовом поезде не более 100 мм.

Ширина окна в переднем упоре должна обеспечивать отклонение автосцепки при прохождении подвижного состава по кривым участкам пути наименьшего радиуса, предусмотренного нормативными документами. Зазор между тяговым хомутом и потолком хребтовой балки или ограничительными планками 4 должен быть не более 24 мм.

Расстояние от упора головы автосцепки до оси зацепления, равное 350 мм, может быть изменено по согласованию с МПС.

Отклонение продольной оси автосцепки от горизонтального положения вверх не должно превышать 3 мм, а вниз (провисание) - 10 мм. Оно определяется как разность высот над уровнем головок рельсов точек а (по оси зацепления) и б (у опоры автосцепки на центрирующую балочку). Такой диапазон отклонений продольной оси автосцепки от горизонтали выбран для облегчения условий работы маятниковых подвесок. При натяжении или сжатии сцепленные автосцепки стремятся занять горизонтальное положение. Поэтому автосцепки, отклоненные вверх, растягивают маятниковые подвески, которые при значительных продольных силах могут оборваться.

Стандартом также установлены следующие расстояния: (330 ± 10) мм - от оси автосцепки до упругой площадки пассажирского вагона и 55+20 мм - между упорной поверхностью упругой площадки пассажирского вагона и осью зацепления автосцепки. Контур зацепления выполняется по ГОСТ 21447-75.

1.2 Технические условия на ремонт

С целью поддержания в исправном состоянии вагоны грузового парка подвергаются типовому ремонту в вагонном депо. Плановый ремонт должен обеспечивать безотказную работу вагонов в межремонтный период.

Выход из строя отдельных узлов и деталей вызывающий необходимость достаточного ремонта вагонов, свидетельствует о недостаточной надежности вагонов, низком качестве ремонта или неправильной эксплуатацией.

Для ремонта автосцепного устройства в вагонном депо предусмотрены специализированные участки. В нем устанавливаются всевозможные стенды для проведения технологических операций по контролю и ремонту осей.

1.3 Условия эксплуатации

Автосцепное устройство используются в сложных условиях эксплуатации: различных температурных режимах (от -500С до +600С); различных режимах атмосферного давления и влажности; различной интенсивностью использования и простоя вагона; и т.д.

1.4 Виды трения и изнашивания взаимодействующих поверхностей с указанием действующих сил

В эксплуатации вагонов большое воздействие на работоспособность деталей несут различные виды внешнего трения.

Виды и характеристики внешнего трения:

Внешнее трение - явление сопротивления относительно соприкосновения, возникающее между двумя телами в зонах соприкосновения поверхностей, направленное по касательным к ним.

Сила трения - сила соприкосновения при относительном перемещении одного тела по поверхности другого под действием внешней силы тангенциально направленной к общей границе между этими телами.

Скорость скольжения - разность скоростей тел в точке касания при скольжении.

Коэффициент трения - отношение силы трения двух тел к нормальной силе, прижимающей эти тела друг к другу.

Трение покоя - трение двух тел, находящихся в движении относительно друг друга.

Трение без смазочного материала - это трение двух тел при отсутствии на поверхности трения введенного смазочного материала любого вида.

Трение со смазочным материалом - трение двух тел при наличии на поверхности любого смазочного материала.

Трение скольжения - трение движения, при котором скорости тел в течении касания различны по значению или направлению.

Трение качения - трение движения, при котором скорости соприкасающихся тел одинаковы по направлению и значению.

Трение качения с проскальзыванием - трение движение соприкасающихся тел при одновременном трении качения и скольжения в зоне контакта.


Ремонт и проверка автосцепного устройства подвижного состава производятся в контрольных пунктах автосцепки (КПА) депо и отделениях по ремонту автосцепки вагоно- и локомотиворемонтных заводов, имеющих специальные удостоверения установленной формы, выдаваемые Департаментом вагонного хозяйства (ЦВ) МГТС России.

Похожие работы на - Проектирование технологического процесса ремонта валика подъемника автосцепки СА-3

 

Не нашли материал для своей работы?
Поможем написать уникальную работу
Без плагиата!
Без нейросетей!