Оптимизация конструкции лонжерона лопасти несущего винта вертолета

  • Вид работы:
    Дипломная (ВКР)
  • Предмет:
    Транспорт, грузоперевозки
  • Язык:
    Русский
    ,
    Формат файла:
    MS Word
    2,23 Мб
  • Опубликовано:
    2012-06-30
Вы можете узнать стоимость помощи в написании студенческой работы.
Помощь в написании работы, которую точно примут!

Оптимизация конструкции лонжерона лопасти несущего винта вертолета














ОПТИМИЗАЦИЯ КОНСТРУКЦИИ ЛОНЖЕРОНА ЛОПАСТИ НЕСУЩЕГО ВИНТА ВЕРТОЛЕТА

РЕФЕРАТ

Работа состоит из 5 разделов, соответствующих заданию на дипломный проект, и включает в себя: 91 страницы текста; 7 таблиц; 33 рисунков. В качестве литературных источников использовано 16 изданий, в том числе: справочники, книги отдельных авторов по соответствующей тематике.

Ключевые слова: лонжерон, лопасть, оптимизация, масса конструкции, вертолет, САПР.

Объектом исследования в данной работе выступает лонжерон лопасти несущего винта легкого вертолета.

Цель работы: подбор оптимальной конструкции лонжерона лопасти несущего винта легкого вертолета, которая должна соответствовать требованиям достаточной прочности и жесткости, эксплуатационным требованиям, требованиям минимального веса.

В качестве метода исследования использован метод математического программирования в задаче оптимизации конструкций из композиционных материалов с применением компьютерной программы виртуального конечноэлементного моделирования Solid Works. В результате работы было получено оптимальное значение толщины стенки лонжерона 6,6 мм, которое меньше на 1,2 мм толщины стенки исходного лонжерона. Оптимизированная конструкция соответствует эксплуатационным требованиям.

ВВЕДЕНИЕ

Вертолетостроение традиционно было лидирующим в применении композитов. В последнее время доля их использования в конструкции вертолета существенно возросла. Использование композитов предъявляет дополнительные требования к содержанию знаний конструктора. Сложность конструирования деталей, выполняемых из композитов, обусловлена тем, что деталь и материал изготавливаются одновременно. Поэтому наряду с выбором внешней формы, оптимальной с точки зрения изготовления детали, конструктор должен определить структуру композита, которая была бы оптимальна для выбранной формы детали и наилучшим образом соответствовала действию внешних нагрузок. Для успешного решения этой задачи конструктор должен знать свойства композитов, методы их расчета и способы изготовления из них конструкций [2].

С первого взгляда, для получения наилучшей конструкции достаточно составить математическую модель проектируемого объекта и найти его оптимальные параметры по одному или нескольким заранее выбранным критериям эффективности. Однако есть принципиальные трудности, которые не позволяют решить эту задачу достаточно корректно. Во-первых, определение оптимальных параметров конструкции возможно лишь для заданной конструктивно-силовой схемы, при этом остается нерешенным вопрос об оптимальности самой схемы. Во-вторых, не всегда удается формализовать все ограничения и требования к конструкции при построении математической модели. Выбор и определение комплексного критерия оптимизации также является достаточно сложной и неоднозначной в своем решении задачей. Поэтому упомянутые вопросы конструирования обычно решаются последовательно, в порядке определенного соподчинения [2].

Значительный прогресс в совершенствовании процесса проектирования достигается при переходе на CAD/CAM/CAE технологии. Имеющийся в них широкий набор инструментов автоматизации конструкторских работ позволяет не только сократить сроки проектирования и выпуска изделия, но и повысить качество конструкции по многим показателям [2].

Целью данного дипломного проекта является:

–      оптимизация конструкции лонжерона лопасти несущего винта вертолета. Подбор оптимальной конструкции будет осуществляться с использованием персонального компьютера и прикладной программы Solid Works;

–       оценка возможности использования прикладной программы Solid Works как инструмента системы автоматизированного проектирования (САПР) конструкций из КМ.

1. НЕСУЩИЙ ВИНТ ВЕРТОЛЕТА

.1 Общие требования к конструкциям элементов несущего винта

Общие требования, предъявляемые к конструкции элементов НВ, противоречивы и проектирование несущей системы вертолета является сложной задачей нахождения компромисса между ними. Требования можно подразделить на следующие группы.

Аэродинамические требования. Взаимное расположение частей НВ, его формы и параметры должны обеспечивать высокие летно-технические характеристики. Конструкция лопастей должна обеспечивать заданные характеристики аэродинамического контура и балансировку в пределах, которые позволяют эксплуатировать вертолет с учетом установленных ограничений, ресурсов и сроков службы [3].

Требования прочности. Все элементы конструкции вертолета должны выдерживать все виды нагрузок в соответствии с нормами летной годности вертолетов, в которых предусмотрены различные случаи нагружения частей вертолета [1].

По видам нагрузок элементы несущего винта должны проектироваться с учетом статической, усталостной прочностей и их совокупности. Также, ввиду того, что лопасть НВ является длинномерной конструкцией, необходим учет прочности по устойчивости конструкции.

Статическая прочность конструкции проверяется при больших редко действующих нагрузках. При этом расчет и выбор параметров конструкции проводится по разрушающей нагрузке Рразр. которая должна превосходить эксплуатационную Рэ в некоторое число раз. Это число называют коэффициентом безопасности f . Для авиационных конструкций f принято выбирать равным 1,5. Чрезмерное увеличение значения этого коэффициента ведет к возрастанию габаритов и массы, что является недопустимым для конструкции летательного аппарата. Для каждого агрегата вертолета и конкретного случая его нагружения рекомендуемые значения коэффициентов безопасности даются в "Авиационных правилах". Начальным этапом определения размеров детали является проектировочный расчет по допускаемым напряжениям. Размеры сечений детали рассчитываются таким образом, чтобы действующие в них напряжения от расчетной нагрузки σр , были равны допускаемым напряжениям [σ], [τ]. В качестве допускаемых напряжений принимаются пределы прочности σ в , τ в или текучести σ т в зависимости от характера и условий нагружения конструкции. Определенные трудности возникают при выборе допускаемых напряжений в деталях, изготавливаемых из композиционных материалов, вследствие особенностей характера их разрушения. На рисунке 1.1 представлена диаграмма изменений напряжений в зависимости от удлинения образца однонаправленного стеклопластика при приложении нагрузки вдоль армирующих волокон [2].

В начале нагружения до некоторого момента материал сохраняет целостность и ведет себя как упругий, подчиняясь закону Гука: σ = Е·ε . После достижения напряжений, соответствующих точке 1 (рисунок 1.1), в связующем на разделе сред появляются мелкие трещины. Армирующие элементы здесь не разрушаются, и конструкция не теряет несущих свойств. Более того, для некоторых материалов наблюдается увеличение жесткости. На второй стадии (рисунок 1.1, точка 2) вдоль армирующих элементов появляются значительные трещины, но волокна не повреждаются. Конструкция еще сохраняет несущие свойства. На третьей стадии (рисунок 1.1, точка В) армирующие нити рвутся, и материал полностью разрушается. Если допускаемые напряжения при действии максимальных эксплуатационных нагрузок выбирать соответствующими последней стадии разрушения (σв), то может оказаться, что при действии номинальных нагрузок материал будет находиться в первой или второй стадиях разрушения. Это недопустимо, поскольку при повторных нагрузках трещины в конструкции будут расти, ускоряя ее разрушение. Поэтому прочность деталей из композиционных материалов следует оценивать как при максимальных, так и при номинальных нагрузках эксплуатации. Это противоречие в ряде случаев преодолевается выбором большого значения коэффициента безопасности f = 2,0-2,5 и занижением допускаемых напряжений в композите до уровня 2/3σв при расчете конструкции на предельную несущую способность.

Рисунок 1.1 - Диаграмма изменений напряжений σ в зависимости от удлинения образца ε однонаправленного стеклопластика, где σ1 и ε1 - напряжение и деформации согласно закону Гука; σ2 - напряжение появления значительных трещин без повреждения волокон; σв - напряжение разрушения образца; 1 - точка предела пропорциональности; 2 - точка; характеризующая начало накопления трещин; В - разрушение композита

При расчете лонжерона по условиям статической прочности (для случая падения лопасти на ограничитель свеса) ставится условие, чтобы расчетные напряжения в слое не превышали σ1. Это делается с целью недопущения микротрещин даже при статическом, кратковременном нагружении. В дальнейшем они могут привести к снижению усталостной прочности при действии циклических нагрузок. При таком подходе лопасть несущего винта приобретает большой ресурс, ограниченный не столько усталостными характеристиками исходного материала, сколько другими факторами, например временем его естественного старения [2].

Расчет конструкции, работающей на устойчивость, производится по разрушающим нагрузкам и сводится к определению критической силы потери устойчивости Ркр , которая должна быть не меньше расчетной Рр.

Усталостные разрушения составляют основной вид разрушения механических агрегатов вертолета и нередко приводят к тяжелым последствиям. На усталостные характеристики композиционных материалов оказывает влияние множество факторов. Среди основных: состав и структура материала, температура, влажность окружающей среды, вид нагружения. Поэтому для каждого образца материала, который предполагается использовать в конструкции, необходимо проводить полный цикл усталостных испытаний. Усталостную прочность композитов, как и у металлов, оценивается кривыми усталости. Между усталостными и статическими характеристиками композита существует прямая зависимость. Чем выше статическая прочность материала, тем лучше он сопротивляется усталости [2].

Практика использования композитов в конструкциях показала, что срок их службы в условиях действия переменных многоцикловых нагрузок значительно превышает срок службы аналогичных конструкций, выполненных из металлов. В частности, ресурс лопасти, выполненной из полимерных композитов, ограничен не столько возможностью усталостного разрушения, сколько изменением в течение длительной эксплуатации и хранения физико-механических свойств деталей лопасти и их клеевых соединений вследствие старения и охрупчивания [2].

Требования жесткости. Ввиду подверженности лопасти НВ знакопеременным нагрузкам, а также случаям значительного статического нагружения, конструкция лопасти должна обладать необходимой жесткостью для предотвращения остаточных деформаций и соблюдения заданного аэродинамического профиля поверхности лопасти. Следствием низкой изгибной и крутильной жесткости может стать потеря эффективности управления вертолетом, когда из-за изгиба и закручивания аэродинамической поверхности, находящейся под воздействием внешних сил, появляются неконтролируемые изменения углов установки и, соответственно, углов атаки по длине лопасти. Недостаточная изгибная и крутильная жесткость может стать причиной недопустимых явлений аэроупругости, таких, как флаттер и дивергенция [2].

Требование надежности. Основным требованием к вертолету и его конструкциям является надежность - способность выполнять свои функции с сохранением летных и эксплуатационных показателей в заданных пределах в течение заданного промежутка времени [1]. Конструкция элементов НВ вертолета, значения их прочности, жесткости, массы, ресурса должны обеспечивать надежность эксплуатации при заданных условиях работы и случаях внештатных нагрузок.

Технологичность конструкции. Конструкция элементов НВ вертолета должна обеспечивать возможность применения прогрессивных и экономичных технологических процессов [1].

Совершенство по массе. Для авиационных конструкций требование минимальной массы является обязательным, разумеется, при соблюдении прочности и жесткости. Поскольку лопасть НВ и ее составные элементы (лонжерон, узлы крепления) относятся к силовым элементам, то основным путем уменьшения массы служит выбор рациональной конструктивно-силовой схемы, применение конструкционных материалов с высокими характеристиками относительной прочности и относительной жесткости [2]. Однако масса лопасти должна обеспечивать необходимые инерционные характеристики для безопасного полета в режиме авторотации несущего винта, а также соответствовать значениям, необходимым для устранения аэроупругих явлений (флаттера, дивергенции) [3].

Оптимальная масса конструкции может быть достигнута грамотным конструированием.

Долговечность конструкции. Долговечность - это общее время (обычно исчисляемое в годах) работы конструкции на номинальном режиме в условиях нормальной эксплуатации без существенного снижения расчетных параметров при экономически приемлемой суммарной стоимости ремонтов. Долговечность агрегатов вертолетов, особенно имеющих силовые детали и узлы, во многом определяется величиной их ресурса.

Ресурсом называется наработка агрегата (исчисляемая в часах) от начала эксплуатации до наступления предельного состояния, после которого существует вероятность его разрушения [2]. Для большинства основных агрегатов вертолета (лопастей и втулок несущих и рулевых винтов, систем управления винтами, трансмиссии, редукторов, подредукторной рамы и др.) устанавливается ресурс по условиям усталостной прочности [7].

Существует два способа проектирования авиационных конструкций по выносливости в условиях действия переменных нагрузок: проектирование по принципам "безопасного ресурса" и "безопасного повреждения".

При назначении безопасного ресурса предполагается, что в процессе отработки задаваемого срока службы ни в одной из деталей рассматриваемой серии не будут возникать усталостные трещины [2].

В конструкции с безопасным повреждением допускается появление трещин в отдельных силовых элементах конструкции, однако, трещины не должны приводить к разрушению или чрезмерной деформации всей конструкции. Это достигается выбором типа конструкции, при котором возможное разрушение или усталостные трещины только уменьшат до некоторой степени статическую прочность и жесткость конструкции, достаточные для завершения безаварийного полета вертолета. Увеличение допускаемых напряжений в элементах конструкции с безопасным повреждением может составлять 15-20 % по сравнению с соответствующими напряжениями, принимаемыми для конструкции безопасного срока службы. Выигрыш от применения безопасно повреждаемых конструкций заключается в уменьшении массы изделия, увеличении срока службы и уменьшения его стоимости [2].

Эффективным способом обеспечения безопасной повреждаемости является использование "избыточных" конструкций с несколькими каналами передачи нагрузок. Примером такого решения является лопасть несущего винта с многоконтурным лонжероном, показанная на рисунке 1.2.

Рисунок 1.2 - Отсек лопасти с многоконтурным лонжероном

При использовании в конструкции НВ композиционных материалов часто используется проектирование по принципу безопасного повреждения.

.2 Краткая характеристика несущего винта вертолета

Несущий винт является важнейшей частью вертолета. Основным назначением НВ является создание подъемной силы на всех режимах полета и сил, обеспечивающих поступательное перемещение вертолета в заданных направлениях. Помимо этого, несущий винт создаст устойчивость вертолету и используется для управления им [5].

Несущий винт состоит из лопастей и втулки. Лопасти создают потребную подъемную силу. Втулка представляет собой кинематический механизм, обеспечивающий движение и угловые перемещения лопасти в вертикальной и горизонтальной плоскости под воздействием аэродинамических и инерционных сил, а также поворот лопасти для управления её подъемной силой [3].

По способу крепления лопасти к втулке и втулки к валу, который вращает винт, несущие винты можно подразделить на четыре типа:

). с шарнирной подвеской лопастей (рисунок 1.3, а, б);

). на кардане (рисунок 1.3, в);

). с жестким креплением лопастей (рисунок 1.3, г);

). с упругим креплением лопастей (рисунок 1.4).

В настоящее время на некоторых легких вертолетах применяются несущие винты с рессорным креплением лопастей, которые можно считать разновидностью винтов первого типа [5].

Рисунок 1.3 - Типы несущих винтов, где а - с шарнирной подвеской лопастей; б - с общим горизонтальным шарниром; в - на кардане; г - с жестким креплением лопастей; 1 - горизонтальный шарнир (ГШ); 2 - вертикальный шарнир (ВШ); 3 - осевой шарнир (ОШ); 4 - общий горизонтальный шарнир; 5 - кардан

Шарнирная подвеска лопастей несущего винта к втулке позволяет им совершать три вида поворотных движений [4]:

. Лопасть может поворачиваться вокруг оси, проходящей вдоль ее размаха, изменяя свой установочный угол, величина которого в формулах обозначается буквой φ. Угол φ называется еще шагом лопасти.

. Лопасть может поворачиваться около горизонтального шарнира (ГШ), совершая маховые движения. Угол взмаха обозначается буквой β. Взмах вверх и вниз конструктивно ограничен упорами, но так, что при работе лопасть никогда их не касается. Нижний упор является ограничителем свисания лопасти при стоянке вертолета.

. Лопасть может поворачиваться около вертикального шарнира (ВШ). Угол поворота лопасти относительно вертикального шарнира называется углом отставания или опережения и обозначается буквой ζ. Этот угол конструктивно также ограничен упорами.

Другим типом крепления лопастей является упругое крепление к втулке НВ при помощи торсионов, представляющих собой пакет упругих пластин, заменяющий ГШ или ВШ.

Пакеты торсионных пластин попарно соединяют противолежащие лопасти и воспринимают центробежные силы. Они же позволяют лопасти совершать маховое движение в плоскости тяги и поворачиваться относительно своей продольной оси [1]. На рисунке 1.4 представлена втулка с торсионным креплением лопастей несущего винта вертолета MD-500.

Рисунок 1.4 - Втулка НВ вертолета MD-500 с торсионами

Такая схема установки втулки позволила разгрузить приводной вал главного редуктора от переменных изгибающих нагрузок, возникающих на винте, и обеспечить посадку вертолета на авторотации в случае разрушения приводного вала.

Пластины торсиона растянуты центробежной силой. Они изгибаются при изгибных колебаниях лопасти в плоскости взмаха. Возникающие при этом напряжения уменьшают, помещая над и под торсионом специальные детали, ограничивающие его деформации. При изменении угла установки происходит закрутка обеих ветвей торсиона. Изгибные колебания лопасти в плоскости вращения приводят к изменению осевой силы в каждой ветви торсиона. В целом в поперечном сечении пластины возникают в основном нормальные напряжения от действия перечисленных факторов. Они имеют значительную переменную составляющую. Поэтому главной является задача обеспечения достаточного ресурса [1].

.3 Лопасти несущего винта вертолета

1.3.1 Основные характеристики

Лопасть НВ представляет собой вращающееся крыло большого удлинения и характеризуется определенной совокупностью геометрических и кинематических параметров, относящихся ко всей лопасти или к ее отдельном сечениям [6].

Лопасти при поступательном полете вертолета вращаются вокруг оси НВ, перемещаются вместе с вертолетом в пространстве, изменяют свое угловое положение, поворачиваясь в указанных шарнирах при каждом обороте винта [6].

Аэродинамика несущей поверхности определяется прежде всего формой ее поперечных сечений. Профиль представляет собой контур, образующийся при пересечении крыла или лопасти плоскостью, перпендикулярной ее продольной оси, и характеризующийся совокупностью геометрических параметров. Прямая, соединяющая две наиболее удаленные точки профиля, называется хордой [6]. От внешних форм лопасти зависит получение высоких значении подъемной силы и максимальной скорости горизонтальною полета при заданной мощности двигателя и т. д. Поэтому профиль лопасти должен обладать большим аэродинамическим качеством, малым изменением положения центра давления в рабочем диапазоне углов атаки сечений лопасти, высокими значениями коэффициента подъемной силы Сy max, угла атаки сечения αкрит. и крутящего момента Мкр., обеспечивать способность перехода на режим самовращения (авторотации) в большом диапазоне углов атаки и возможность простого конструктивного и технологического выполнения лопасти [5].

Круткой лопасти Δφ называется разность углов установки в комлевом и концевом сечениях лопасти (рисунок 1.5). У большинства лопастей крутка составляет 6-12°. Крутку из соображений аэродинамики (улучшения КПД) желательно увеличивать, но при этом в конструкции лопасти растут переменные напряжения, что снижает ее ресурс. Крутка дает более равномерное распределение аэродинамических сил вдоль лопасти и уменьшает индуктивные потери НВ, вызываемые неравномерностью индуктивного потока. Кроме того, крутка увеличивает углы атаки сечений лопасти, расположенных близко к оси винта, где окружная скорость мала, что повышает их эффективность [1].

Рисунок 1.5 - Незакрученная (а) и закрученная (б) лопасти

Обычно лопасти несущих винтов вертолетов аналогично крыльям самолетов, имеют отрицательную геометрическую крутку, так что у комля углы атаки больше, чем на конце. Такая крутка приводит к затягиванию срыва потока на конце лопасти, идущей по потоку, и увеличивает значение критического изгибающего момента концевых профилей, что позволяет повысить скорость полета вертолета [5].

Форма лопасти в плане может быть прямоугольной, трапециевидной и смешанной (рисунок 1.6). Трапециевидные лопасти близки к оптимальным с точки зрения аэродинамики (наиболее схожи с эллиптической формой), имеют меньшие индуктивные и профильные потери. Однако чаще всего на вертолетах из технологических соображений применяются лопасти прямоугольной формы в плане [1].

Рисунок 1.6 - Формы лопастей в плане, где а - прямоугольная; б - трапециевидная; в - смешанная

Лопасть состоит из лонжерона и закрепленных на нем хвостовых отсеков, которые образуют основную несущую поверхность и формируют аэродинамический профиль лопасти.

Силовым элементом лопасти является лонжерон, а нервюры, стрингеры и обшивка лишь передают на него нагрузки [2].

1.3.2 Конструкции лопастей

Лопасти различаются по своей конструкции ввиду различных подходов к материалам, изготовлению и компоновке элементов лопасти.

Лопасти цельнометаллической конструкции. Лопасти цельнометаллической конструкции можно подразделить на две группы: лопасти каркасной конструкции с трубчатым стальным лонжероном и лопасти с прессованным лонжероном из легких сплавов.

Лопасти каркасной конструкции впервые появились в 30-х годах на вертолете ЦАГИ 1-ЭА и вертолетах конструкция Снерва (Англия). Основным элементом лопасти является лонжерон, изготовленный из стальной трубы, имеющей переменную по длине толщину стенки и форму поперечного сечения[1]. Для трубчатого лонжерона применяется обычно труба из высоколегированной стали типа 30ХГСА или 40ХНМА, закаленной и отпущенной на прочность (σв = 1100-1300 МПа). После горячей и холодной прокатки, формообразования и закалки наружная и внутренняя поверхности трубы полируются. На внешней и внутренней поверхностях лонжерона создается наклеп виброударным способом, повышающий предел выносливости до амплитуды изгибных динамических напряжений σω min = 280-300 МПа при постоянной части нагружения равной 200-250 МПа [3]. Такие лопасти используются на вертолетах Ми-6 и Ми-26 [1].

Лопасть состоит из отдельных отсеков, включающих в себя обшивку, нервюры и стрингеры. Отсек цельнометаллической лопасти со стальным трубчатым лонжероном состоит из носовой и хвостовой частей, закрепленных на лонжероне (рисунок 1.7).

Основа носовой части отсека - обшивка, имеющая подсечку для укладки пакета электрического противообледенителя. Для увеличения жесткости контура носовой части к обшивке приклеены и дополнительно приклепаны диафрагмы, гофрированные накладки и передний профиль. Для создания необходимой по флаттерным характеристикам поперечной центровки лопасти к обшивке носка приклеены и приклепаны противовесы в виде стального профиля. Носовая часть отсека приклеена к передней стенке хвостовой части отсека и прикреплена к ней винтами по подсечке [1].

Хвостовая часть отсека лопасти с трубчатым лонжероном включает в себя переднюю стенку корытообразного сечения, к которой приклеивают обшивку, торцевые нервюры и сотовый заполнитель. Для придания жесткости задней кромке в нее вклеен текстолитовый стрингер. Усиливающие подкладки приклеены для устранения резкого изменения жесткости в местах соединения обшивки с профилем передней стенки и сходят на ус в направлении к задней кромке отсека. Сотовый блок склеен из листов алюминиевой фольги и придает жесткость хвостовой части отсека. По бокам хвостовой части имеются торцевые нервюры, к которым прикреплены боковые накладки, предназначенные для соединения винтами носовых и хвостовых частей отсеков. Спереди хвостовой части приклеен дюралюминиевый башмак с выступающими передними поясами, которые охватывают сзади часть лонжерона и опираются на хомуты, приклеенные к лонжерону (рисунок 1.7). Это позволяет воспринимать и передавать на лонжерон центробежные и перерезывающие силы. В поясах имеются отверстия под болты для крепления лент, притягивающих хвостовые части отсеков к лонжерону. Эти ленты воспринимают моменты, действующие на отсек. Для крепления хвостовых частей отсеков к лонжерону приклеены и притянуты двумя стальными хомутами стальные цапфы. Хомуты также приклеены к цапфам и лонжерону. В местах расположения средних частей отсеков на лонжероне приклеен пенопластовый блок, армированный фанерой, к которому приклеен носок [1].

Рисунок 1.7 - Отсек лопасти с трубчатым стальным лонжероном, где 1 башмак; 2 - цапфа; 3 - лонжерона; 4 - хомут; 5 - болт; 6 - пенопластовый блок; 7 - крестовина; 8 - лента; 9 - хвостовой отсек

Упругие изгибные деформации лопасти в плоскости вращения таковы, что задняя кромка лопасти, находящаяся на наибольшем удалении от оси жесткости, испытывает значительные сжимающие усилия, особенно на режимах раскрутки НВ. Для разгрузки от переменных усилий задняя часть лопасти выполняется разрезной и обычно состоит из отдельных, не связанных между собой отсеков с резиновыми вкладышами между ними, которые предотвращают перетекание воздуха с нижней на верхнюю поверхность лопасти. При изгибных деформациях лонжерона лопасти хвостовые отсеки практически не нагружаются. Обшивка является наиболее нагруженным элементом конструкции хвостового отсека. Она передает на лонжерон центробежную силу отсека, изгибающие моменты, создаваемые аэродинамическими и инерционными силами, и деформируется в зоне прикрепления вместе с лонжероном [1]. Использование в конструкции отдельных секций позволяет в производстве легко обеспечить крутку лопасти, а в случае повреждения одной из секции заменить ее, не заменяя всей лопасти [5].

В конструкции лопасти, основанной на стальной трубе, лонжерон обычно защищен каркасом и не может быть механически поврежден при эксплуатации [3].

Лопасти с прессованным лонжероном применяются на вертолетах Ми 2, Ми-8, Ми-24. Лопасти имеют прессованный лонжерон из алюминиевого сплава, представляющий собой пустотелую балку с внутренним контуром постоянного сечения [1].

Использование прессованного профиля из дюралюминиевого материала позволило формировать профиль лонжерона с наиболее целесообразным сечением (рисунок 1.8). Применение замкнутого профиля, полученного методом прессования (экструзия), ограничил диапазон использования существующих дюралюминиевых сплавов. В процессе прессования происходит разделение материала на две части, поэтому и формирующем профиль инструменте (фильере) эти две части должны соединяться и свариваться давлением. Чтобы структура материала в местах сварки не ухудшалась, необходимо применять материал с высокой коррозионной стойкостью. Усталостная прочность дюралюминиевого лонжерона может снизиться из-за дефектов, возникающих в процессе прессования профиля и механической обработки лонжерона [3]. Поэтому наружную и внутреннюю поверхности лонжерона подвергают нагартовыванию стальными шариками вибрационным методом [1]. Предел выносливости может быть доведен до амплитуды изгибных динамических напряжений σω min = 55-60 МПа при постоянной части нагружения равной 60 МПа [3].

Рисунок 1.8 - Сечение лопасти с дюралюминовым прессованным лонжероном, где 1 - пакет противоабразивной накладки; нагревателя и прокладки диэлектрика; 2 - резиновый слой; привулканизированный к отсекам противофлаттерного груза (3) из стали; 4 - лонжерон; 5 - клеевое соединение дюралюминовой обшивки хвостового отсека (6) с лонжероном; 7 сотовый заполнитель из алюминиевой фольги

Для повышения жесткости верхняя и нижняя полки лонжерона имеют внутри ребра. Первые от носка ребра служат направляющими для противовеса, устанавливаемого в целях обеспечения требуемой поперечной центровки лопасти. Противовес состоит из отдельных частей, покрытых резиной для уплотнения и предохранения от коррозии. Под концевым обтекателем имеется винтовой упор, удерживающий противофлаттерные грузы от продольных перемещений. Комлевая часть лонжерона утолщена для установки на ней стального наконечника, который крепится к лонжерону стальными болтами и для предохранения от коррозии дополнительно приклеивается к лонжерону. Щеки наконечника имеют увеличивающееся к заделке во втулке сечение для более плавного включения их в работу при изгибе и растяжении. На концевой части лонжерона крепятся на двух шпильках стальные балансировочные пластины статического момента массы лопасти [1].

Хвостовой отсек лопасти состоит из обшивки, склеенной с сотовым заполнителем, с двумя торцевыми нервюрами и хвостовым стрингером. Хвостовой отсек приклеен к полкам и задней стенке лонжерона [1].

Процесс прессования не позволяет изменять форму сечения по заданному закону, поэтому требуемую высоту профиля по длине лопасти можно обеспечить только за счет фрезерования внешней поверхности.

В результате конструктор имеет возможность разрабатывать конструктивно-силовую схему лопасти только прямоугольной формы в плане (сужение η = 1).

Лопасти с лонжероном замкнутой формы позволяют использовать технические средства постоянного контроля усталостных разрушений материала лонжерона. Система сигнализации повреждения цельнометаллических лонжеронов состоит из сигнализатора давления воздуха и заглушек на концах лонжерона. Внутренняя полость лонжерона заполняется воздухом под давлением, превышающим давление начала срабатывания сигнализатора. В случае появления в лонжероне трещины давление воздуха в нем падает. Информация о разгерметизации полости лонжерона поступает от сигнализатора давления в виде выдвижения красного колпачка сильфона, установленного в комлевой части каждой лопасти [3].

Лопасти смешанной конструкции. Лопасти смешанной конструкции имеют стальной трубчатый лонжерон, подкрепленный по длине кольцевым слоем композитного материала. Примером такой лопасти является лопасть вертолета Ми-26, стальной трубчатый лонжерон которой подкреплен стеклопластиковым каркасом.

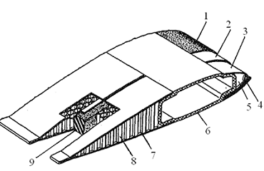
Лопасть НВ вертолета Ми-26 состоит из общей носовой части и отдельных хвостовых отсеков, а также комлевого и концевого обтекателей (рисунок 1.9). В носовую часть, изготовленную по форме профиля лопасти, входят стальной трубчатый лонжерон, пенопластовый заполнитель и пакет противообледенительной системы. Лонжерон воспринимает все нагрузки от носовой части и хвостовых отсеков лопасти с помощью специальных компенсаторов. Труба лонжерона облицована по наружному диаметру слоем стеклоленты для обеспечения прочного соединения лонжерона с каркасом, защиты его от коррозии и для образования каналов системы сигнализации о повреждении лонжерона. Обшивка носовой части лопасти образована из восьми слоев стеклоткани, компенсаторы изготовлены из стеклопластика. Они представляют собой как бы продольные нервюры носовой части лопасти, связывающие обшивку лопасти с лонжероном и обеспечивающие передачу нагрузок с хвостовых отсеков и носовой части на лонжерон. Компенсатор состоит из набора прямоугольных участков стеклоткани, склеенных связующим и прошедших режим полимеризации [1].

Рисунок 1.9 - Конструктивно-силовая схема носовой части лопасти вертолета Ми-26, где 1 - стальной трубчатый лонжерон; 2 - заполнитель из самовспенивающегося пенопласта; 3 - обшивка из стеклопластика; 4 - компенсатор из пенопласта; 5 - каналы системы обнаружения усталостных трещин в лонжероне; 6 - электропроводка; 7 - противоабразивная накладка;
8 - нагревательная накладка

Хвостовой отсек включает в себя обшивку с двумя слоями стеклоткани, стеклопластиковые нервюры, хвостовой стрингер, дюралюминиевый закрылок и сотовый заполнитель из специальной бумаги, обладающей высоким сопротивлением усталости и коррозионной стойкостью. Все хвостовые отсеки имеют закрылки для изменения шарнирного момента и усилий в цепи управления [1].

Система сигнализации повреждения лопасти со стеклопластиковым каркасом имеет некоторую особенность. Наружная поверхность трубы лонжерона облицована стеклолентой, поэтому при возникновении трещины в лонжероне воздух из его внутренней полости не может стравливаться. В связи с этим при изготовлении лопасти вдоль трубы лонжерона укладывают двойные фторопластовые шнуры, обматывают «сырой» стеклолентой, а трубу полимеризуют в пресс-форме. Затем шнуры вытягивают, при этом образуются каналы 5 (рисунок 1.9), в которые и стравливается воздух в случае повреждения лонжерона [1]. Появление усталостной трещины в зоне воздушных каналов приводит к падению давления в полости лонжерона и срабатыванию сигнализатора. Каналы выполняются двойными по технологическим соображениям - всегда имеется вероятность обрыва фторопластового шнура при его вытягивании из полости длиной 14 м.

Лопасти из композиционных материалов. Анизотропность композиционных материалов (КМ) открыла широкие возможности применения их в лопастях НВ. Применение КМ позволяет направленно формировать жесткостные характеристики лопасти (изгибные и крутильные) за счет соответствующей ориентации армирующих волокон композита с учетом сложного характера ее нагружеиия. Эффективность применения КМ в силовых элементах лопастей определяется рядом преимуществ этих материалов по сравнению с металлами. В частности, аэродинамические и аэроупругие параметры лопастей композитов могут выбираться без учета ограничений, вызываемых технологическими процессами получения катаных, экструдированных (прессованных) или механически обработанных металлических конструктивных элементов.

С помощью КМ, обладающих более высокой удельной прочностью, изготавливают лопасти меньшой массы, чем металлические. Снижение массы лопастей, в свою очередь, оказывает влияние на центробежные силы, инерцию ротора, частотные и другие характеристики.

Регулируемая в широких пределах анизотропия КМ позволяет получать необходимые конструктивные и демпфирующие параметры лопасти. Частота собственных колебаний лопасти может быть изменена не только перераспределением массы, но и выбором армирующих волокон, имеющих низкий или высокий модуль упругости, включая их гибридизацию (смешивание), степени армирования и ориентации армирующих волокон относительно оси лопасти. Крутильная жесткость лопасти может быть существенно увеличена за счет добавления слоев с ориентацией ± 45° относительно размаха лопасти при незначительном изменении частот продольных колебаний.

Основным силовым элементом композитной лопасти является лонжерон (рисунок 1.10). Он имеет форму носовой части лопасти. В комлевой части лонжерона находится стальной узел крепления лопасти к втулке. Он крепится к лонжерону на болтах и клее. Для статической балансировки лопасти лонжерон имеет торцевую и комлевую балансировочные камеры. В носовой части лонжерона, защищенной от абразивного износа светоозоностойким резиновым покрытием, расположен центровочный груз, залитый в латунную оковку. К задней части лонжерона приклеены хвостовые секции, которые состоят из тонкой стеклопластиковой обшивки и легкого заполнителя, склеенных между собой.

Тип исходных КМ для лонжеронов выбирается в зависимости от летно-технических данных вертолета. Для малонагруженных лопастей вертолетов используется дешевая стеклоткань сатинового переплетения. Для высоконагруженных лопастей используются гибридные КМ на основе высокопрочной стеклоткани, углеродной ленты и технической ткани на эпоксидном связующем.

Рисунок 1.10 - Конструктивно-силовая схема отсека лопасти из композиционного материала вертолета Ка-26, где 1 - резиновое покрытие; 2 стеклопластиковый носок; 3 - оковка; 4 - трубка противообледенителъной системы; 5 - противофлаттерный груз; 6 - лонжерон; 7 - стеклопластиковая обшивка; 8 - сотовый заполнитель; 9 - резиновый вкладыш

Таким образом, композитные лонжероны имеют контурную форму (D-образное сечение), которая совпадает или близка к форме аэродинамического профиля лопасти.

Кроме того, силовым элементом лопасти может быть лонжерон
С-образного сечения [3] (рисунок 1.11).

Рисунок 1.11 - С-образная форма лонжерона, где 1 - электротепловой элемент; 2 - антиабразивная накладка; 3-6 - элементы каркаса; 7 - лонжерон

1.4 Нагрузки, действующие на лопасть и лонжерон НВ

1.4.1 Нагрузки, действующие на лопасть

В полете лопасти нагружаются воздушными и массовыми (инерционными) силами. Для упрощения представления о распределении нагрузок их можно разделить на две группы:

Нагрузки, действующие в плоскости наименьшей жесткости лопасти в плоскости взмаха (рисунок 1.12, а). К ним относятся: воздушная нагрузка Y в; нагрузка от веса конструкции лопасти Y к; центробежная сила Nцб а также инерционная сила Y β от углового ускорения при маховом движении лопасти относительно горизонтального шарнира. Уравновешиваются эти нагрузки реакцией R втулки в горизонтальном шарнире;

Нагрузки, действующие в плоскости вращения винта (рисунок 1.12, б). К ним относятся: лобовое сопротивление Qa (направлено против вращения, по касательной к окружности, которую описывает центр давления лопасти); инерционная сила Nин от колебаний относительно вертикального шарнира (дающая момент, направленный противоположно угловому ускорению); центробежная сила Nцб, и кориолисова сила Fкop. от махового движения лопасти относительно горизонтального шарнира.

Для прочности лопасти наиболее существенными являются нагрузки обеспечивающие равновесие моментов относительно горизонтального шарнира и действующие в плоскости ее наименьшей жесткости - плоскости взмаха.

Величина и распределение погонных нагрузок по размаху лопасти зависят от ряда факторов: аэродинамических характеристик профиля, установочного угла, формы лопасти в плане, крутки лопасти и скорости потока, ее обтекающего, от азимутального положения лопасти. Последний фактор приводит к тому, что в отличие от крыла самолета на одном и том же режиме полета величина и распределение нагрузки по размаху лопасти циклически меняются.

Рисунок 1.12 - Силы, действующие на лопасть несущего винта, где а - в плоскости взмаха; б - в плоскости вращения винта; в - составляющие погонной центробежной силы

Величина воздушной нагрузки, приходящейся на одну лопасть, определяется по формуле 1.1.

                                                                                                           (1.1)

где пэ - эксплуатационная перегрузка; пР - расчетная разрушающая перегрузка; G - вес вертолета; z - число лопастей несущего винта; f - коэффициент безопасности.

Массовые нагрузки представлены нагрузкой от веса лопасти Y к и центробежной силой Nцб.

                                                                                                           (1.3)

где rц.т. - радиус центра тяжести, ω - угловая скорость вращения НВ.

Погонные массовые нагрузки от веса лопасти qук и центробежной силы qN.

При расчетах погонную нагрузку qN раскладывают на две составляющие, действующие вдоль и перпендикулярно оси лопасти в плоскости ее наименьшей жесткости

Под действием qN1 лопасть работает на растяжение, qN2 является поперечной нагрузкой лопасти, разгружающей ее от действия аэродинамических сил .

Инерционная нагрузка от махового движения лопасти относительно горизонтального шарнира

Распределение этих сил по радиусу лопасти зависит не только от r и qл, но и от положения лопасти по азимуту (сомножитель d2β/dt2).

Общая погонная нагрузка qу равна сумме всех погонных нагрузок


Под действием воздушных и массовых сил в сечениях лопасти возникают усилия: поперечные Q и осевые N силы, изгибающие Мизг. и крутящие Мкр моменты.

Практически интегрирование можно заменить суммированием, разбивая лопасть на ряд участков длиной Δr.

Анализ расчетов показывает, что максимальные значения изгибающих моментов получаются на расстоянии (0,35 - 0,5) R от оси вращения.

В общем случае центр жесткости (ЦЖ), центр тяжести (ЦТ) и центр давления (ЦД) на профиле не совпадают (рисунок 1.13) и появляется крутящий (шарнирный) момент Мкр , который действует относительно оси жесткости лопасти, практически совпадающей с осью осевого шарнира.

Силы и шарнирный момент, действующие на лопасть, представляют собой суммы отдельных гармонических составляющих (гармоник), каждая из которых изменяется с определенной частотой, кратной частоте вращения НВ.

Рисунок 1.13 - Возникновение крутящего момента

                                                                                                                    (1.13)



где хд, хж, хт - координаты центра давления, центра жесткости и центра тяжести относительно носка профиля соответственно.

1.4.2 Нагрузки, действующие на лонжерон

От аэродинамических и инерционных сил в сечении лонжерона лопасти возникает равнодействующая сила и момент. Сила может бить разложена на три компонента. Два из них являются поперечными силами в плоскости сечения вдоль двух взаимно перпендикулярных осей, одну из которых можно приближенно считать совпадающей с хордой профиля. Третьим компонентом является осевая сила N (вдоль оси лопасти). Момент состоит из изгибающих моментов в плоскости взмаха и плоскости вращения и крутящего момента.

Так как поперечные силы значения не имеют, то они не рассматриваются.

Осевая сила практически равна центробежной, возникающей вследствие вращения винта. Она вызывает растяжение лонжерона. В связи с тем, что центробежная сила Nцб имеет большую величину (десятки тонн), в поперечном сечении лонжерона появляются большие нормальные напряжения. Они практически не изменяются по величине, поэтому являются статической подгрузкой, которая может вызвать снижение долговечности. С учетом этого при проектировании выбирают площадь поперечного сечения лонжерона. От крутящего момента в сечении лонжерона возникают касательные напряжения, не оказывающие заметного влияния на ресурс. Исключение может составить комлевая часть лопасти из композиционных материалов из-за наличия отверстий для крепления наконечника. Крутящий момент комлевой части лопасти передается на систему управления и определяет ее прочность [1].

На рисунке 1.14 представлена схема распределения сил и моментов относительно сечения лонжерона.

Рисунок 1.14 - Распределение сил и моментов в лонжероне, где  N - центробежная сила, Q - поперечная сила, Мz - крутящий момент, Мz -изгибающий момент

Наибольшее для ресурса значение имеют изгибающие моменты. Они являются переменными по времени и вызывают в сечении лонжерона появление переменных нормальных напряжений, определяющих ресурс лопасти. Главными расчетными характеристиками являются величины продольной силы и крутящего момента, так как принимается допущение о том, что при вращении лонжерон, нагружаемый большой центробежной силой, растягивается и выпрямляется, за счет чего лопасть частично разгружается от изгибающих сил.

.5 Упруго-массовые характеристики лопасти НВ

При конструировании агрегатов вертолета следует стремиться к максимально возможному снижению их массы. Это требование особую важность представляет для лопасти НВ, поскольку от ее массы зависит действующая на нее центробежная сила и, как следствие, масса втулки. Однако при этом имеют место ограничения, определяемые минимально осуществимой конструктивно-технологической массой лопасти.

Уровень действующих в лопасти переменных напряжений и имеющиеся запасы при некоторых видах потери устойчивости (поворотно-маховый, хордовый и срывной флаттер, дивергенция и др.) зависят от массовой характеристики лопасти γ0. Массовая характеристика лопасти γ0 есть отношение действующей на лопасть аэродинамической силы к инерционной силе.

Поскольку обеспечить нормальную работу несущего винта удается только при значениях массовой характеристики не больше чем (γ0)max (считается, что для лопастей несущего винта (γ0)max ≈ 7), то вводится понятие о минимально возможном значении весового коэффициента (kл)min. Значению (γ0)max ≈ 7 соответствует величина (kл)min = 5,5.

Однако масса почти всех серийно наготовленных лопастей, за малым исключением, выше, чем определяемая указанным коэффициентом (kл)min.

Это объясняется как стремлением к снижению действующих в лонжероне лопасти переменных напряжений, падающих с уменьшением γ0. так и тем, что более действенным оказывается другое ограничение - конструктивно-технологическое. Это ограничение связано с минимально допустимыми толщинами стенок деталей лопасти. Толщины стенок лонжерона нельзя уменьшать ниже определенных пределов, исходя из технологических ограничений, допустимых деформаций на кручение, изгиба поясов лонжерона под действием аэродинамических сил, а также для исключения потери устойчивости нижнего пояса лонжерона при ударе лопасти об ограничитель при остановке винта. Эти и ряд других ограничений конструктивно-технологического характера приводят к относительному увеличению массы малых лопастей. Поэтому значение kл оказывается обычно большим для малых лопастей (R = 4 м, kл ≥ 12, γ0= 4,5) и меньшим для больших (R ≥ 16 м, kл = 5,5, γ0= 7). В связи с этим удобно ввести понятия о конструктивно-технологической массе лопасти и о массе, требуемой для обеспечения нормальной работы НВ.

Совершенствование конструирования и технологии изготовления лопасти, появление новых, более прочных материалов и упрочняющих процессов обработки позволяют снижать ее конструктивно-технологическую массу, обеспечивая необходимую прочность при больших переменных напряжениях, возникающих, в частности, при увеличении массовой характеристики γ0. Однако этому снижению массы препятствуют трудности обеспечения нормальной работы НВ. Опыт создания лопастей показывает, что большая часть явлений, препятствующих нормальной работе НВ, достаточно легко устраняется при относительно тяжелых лопастях, когда массовая характеристика лопасти не более чем γ0 = 4-5, и существенно труднее при относительно более легких лопастях, когда γ0 = 6-7. С другой стороны, снижение конструктивно-технологической массы оказывается более успешным для лопастей больших размеров и легко приводит к созданию лопастей с большими массовыми характеристиками, но не позволяет получать такие же результаты для малых лопастей.

Вследствие этого для снижения массы лопастей малого диаметра требуется решение главным образом конструктивно-технологических проблем, а снижении массы лопастей большого диаметра связано с решением проблемы обеспечения нормальной работы НВ с лопастями, имеющими массовую характеристику γ0 ≥ 7.

Для разных размеров НВ оптимальными с точки зрения минимально осуществимой массы, определяемой технологическими возможностями и требованиями статической прочности, могут оказаться различные типы конструкции лопастей.

Для обеспечения прочности лопасти обязательны для выполнения два важных требования статической прочности

                                                                                                          (1.18)

где σцс и [σцс]доп - действующие и допускаемые при заданном ресурсе напряжения от центробежной силы ([σцс]доп = 260 МПа при σω = ± 250 МПа для стальной трубы, [σцс]доп = 80 МПа для прессованного профиля из АВТ-1 и лонжерона из стеклопластика); σизг и [σизг]доп - действующие и допускаемые напряжения от изгиба при падении лопасти на ограничитель; σразр - напряжения изгиба в лонжероне, приводящие к разрушению лопасти; f - коэффициент безопасности (f = 1,5); δ - коэффициент увеличения максимальных напряжений при падении на ограничитель по отношению к напряжениям от собственного веса лопасти; σω - амплитуда изгибных динамических напряжений. Поскольку δ зависит от параметров лопасти и угла подъема лопасти, с которого рассматривается ее падение на ограничитель, то и [σизг]доп также будет величиной переменной (для лопасти со стальной трубой можно принять [σизг]доп = 260 МПа) [3].

Выбранные значения [σцс]доп должны обеспечивать прочность лонжерона при раскрутке НВ и при падении лопасти на ограничитель свеса. В последнем случае необходимо исключить потерю статической устойчивости лонжерона.

При увеличении радиуса, удлинения и массы лопасти увеличивается прогиб лопасти от собственного веса. Если принять специальные меры, улучшающие компоновку вертолета, то прогиб конца лопасти оказывается строго ограниченным вследствие возможности задевания лопасти за конструкцию вертолета. У малых вертолетов относительный прогиб меньше, чем у больших. Поэтому проблема ограничения по прогибу лопасти особенно актуальна для больших вертолетов. Обычно по компоновочным соображениям у таких вертолетов относительный прогиб конца лопасти не должен превышать допустимого значения прогиба [уR]доп ≈ 12 [3].

Если принять допущения, что моменты инерции сечений лопасти пропорциональны четвертой степени ее хорды, то прогиб конца лопасти может быть определен по выражению

                                                                                                          (1.19)

где коэффициент пропорциональности kyR, характеризующий совершенство компоновки лопасти по достигнутому уменьшению ее прогиба, зависит от конструкции лопасти, материала ее лонжерона, распределения моментов инерции и погонной массы лопасти по ее длине. Этот коэффициент для ряда построенных лопастей находится в пределах kyR = (0,38-0,5)·106 м2/кг.

Требование статической прочности приводит к разделению лопасти на три участка по длине (рисунок 1.15), различающихся по характеру нагружения от центробежной силы и собственного веса: балластный участок на конце лопасти (R - r2), средний разрывной участок (r2 - r1) c предельно допускаемыми напряжениями от растяжения и участок комлевого утяжеления (r1 - r0) лопасти из-за повышенных изгибающих моментов от собственного веса, появляющийся при удлинении лопасти сверх определенных значений.

На балластном участке не выполняется требование равнопрочности, т.к. [σцс]доп ≥ σцс.Таким образом, масса лопасти оказывается связанной с толщиной стенки концевой части лонжерона. Чем тоньше стенка концевой части лонжерона, тем ниже масса балластной части лопасти и ее общая масса. Но выполнять уменьшение стенки концевого участка лонжерона технологически трудно и не целесообразно. Если раскрутить НВ до частоты вращения, намного превышающей рабочую, то лопасть должна разорваться именно на среднем участке - отсюда и название разрывной участок. На этом участке площадь сечения лонжерона должна увеличиваться для сохранения постоянными напряжений от центробежных сил. Возрастает к комлю и действующий в сечении лопасти изгибающий момент от собственного веса лопасти. На радиусе r3 напряжения изгиба становятся равными допускаемым напряжениям. При малых относительных массах каркаса r2 может оказаться меньше r1 , т.е. средний участок лопасти может пропасть.

Рисунок 1.15 - Схема изменения статических напряжений σ в зависимости от относительного радиуса лопасти r, где σцс и [σцс]доп - действующие и допускаемые при заданном ресурсе напряжения от центробежной силы; σизг и [σизг]доп - действующие и допускаемые напряжения от изгиба при падении лопасти на ограничитель свеса; R - радиус лопасти

Участок комлевого утяжеления лопасти может появиться у лопастей НВ особо больших диаметров и у лопастей с необычно большими удлинениями. С увеличением поперечных размеров сечения лонжерона (при сохранении толщин его стенок неизменными) критические напряжения потери устойчивости при его изгибе в направлении действия сил собственного веса лопасти значительно падают. Масса наконечника у существующих серийных лопастей НВ составляет обычно от 10 до 17 % массы, лопасти [3].

.6 Влияние формы лонжерона на собственные частоты колебаний лопасти в плоскости взмаха и вращения

При заданной общей массе конструкции максимально жесткая лопасть получается, если материал лонжерона расположить по контуру профиля, т.е. если вписать лонжерон в профиль лопасти. При этом большой процент массы лопасти можно вложить в ее силовой элемент - лонжерон. Такие лопасти обычно наиболее выгодны с точки зрения величины действующих напряжений. Более простыми в производстве оказывались лопасти со свободной формой сечения лонжерона (например, в виде трубы), не вписанной в ее профиль. Такие лопасти обладают малым сопротивлением изгибу и дают наименее удачную резонансную диаграмму при колебаниях в плоскости взмаха.

По динамическим характеристикам в плоскости взмаха можно выделить следующие типы лопастей.

Лопасть, основанная на трубчатом стальном лонжероне с неработающим при изгибе каркасом.

Имеет малую жесткость в плоскости взмаха. У лопастей этого типа особенно резко проявляются резонансы на режимах малых скоростей полета, поэтому их ресурс, как правило, ограничивается пребыванием на режимах малых скоростей.

Лопасть с контурным (или близким к этой форме) вписанным в профиль лонжероном. Лопасти с таким лонжероном имеют большую жесткость как профильную, так и в плоскостях вращения и взмаха. С увеличением жесткости частоты собственных колебаний лопасти уходят от резонансов. Контурные лонжероны выполняются стальными, дюралюминовыми, титановыми или из КМ.

При конструировании лопасти необходимо также обеспечить отстройку от резонансов и в плоскости наибольшей жесткости лопасти, которая обычно совпадает с плоскостью хорд. Потому жесткостные характеристики лопасти в этой плоскости могут изменяться в более широких пределах, чем в плоскости взмаха. Начиная с круглой трубы, сечение лонжерона может быть увеличено до размеров, занимающих практически весь профиль от передней до задней кромки. Однако здесь вступают в силу определенные ограничения. Так, увеличение ширины лонжерона по хорде обязательно приводит к сдвигу центровки лопасти к задней кромке, что обычно недопустимо с точки зрения требований, предъявляемых для исключения флаттера [3].

При снижении жесткости лонжерона путем уменьшения его ширины одновременно падает и крутильная жесткость лопасти. Это обстоятельство является одним из факторов, препятствующих созданию лопастей с очень малой жесткостью в плоскости вращения.

Лопасти с трубчатым лонжероном и неработающим при изгибе каркасом имеют частоты собственных колебаний в плоскости вращения примерно такие же, как и в плоскости тяги [3].

.7 Конструирование узлов стыка лопасти с втулкой

Особое внимание при конструировании лопасти уделяется формированию комлевой части, где осуществляется переход от регулярной зоны лонжерона к стыковочным болтам лопасти.

Стыковочные узлы лопасти с элементом втулки (рисунок 1.16) нагружаются изгибающими моментами в вертикальной Мизг.в и горизонтальной Мизг.г плоскостях, растяжением от центробежной силы Pцс, крутящим моментом Mкр, шарнирным моментом Мщ и перерезывающими силами Ргп и Рвп [3].

Рисунок 1.16 - Расчетная схема нагружения стыковочного узла

Величины сил и моментов, приходящихся на стыковочный узел, определяются режимом полета и носят динамический характер. Главной задачей при конструировании этого узла является обеспечение его надежности в процессе эксплуатации вертолета.

В процессе минимизации массы стыковочного узла варьируют величины h и с. Например, изменяя величину h (рисунок 1.17), можно определить область минимальной массы стыковочного узла. Окончательное решение принимается с учетом эксплуатационных требований, в частности удобства стыковки лопасти. Горизонтальное положение стыковочных болтов позволяет после установки нижнего болта использовать его в качестве шарнира и, повернув относительно него лопасть вверх, осуществить установку верхнего болта. При вертикальном расположении стыковочных болтов затрудняется монтаж и демонтаж лопастей (особенно большой длины и массы) при навеске на втулку, расположенную на большой высоте [3].

Рисунок 1.17 - Зависимость массы стыковочного узла mсу от разноса стыковочных болтов h, где mб - масса стыковочных болтов; mсд - масса стыкуемых деталей; ∑mcу - масса узла стыковки с лопастью

В практике конструирования стыковочных узлов лопастей, выполненных из композиционных материалов, нашли применение следующие варианты:

а) стык верхнего и нижнего поясов лонжерона с узлом крепления из металла при помощи многорядных болтовых соединений (рисунок 1.18, а);

б) передача нагрузок от лопасти на стыковочные болты через две втулки, установленные в комель лонжерона (рисунок 1.18, б);

в) ниппельное соединение (соединение на конус) (рисунок 1.18, в);

г) передача нагрузок от лопасти на стыковочные болты через две закладные втулки, установленные в петлях комля лопасти (рисунок 1.18, г);

д) передача нагрузок от лопасти на ВШ при помощи петли из однонаправленного композита (рисунок 1.18, д).

Рисунок 1.18 - Конструктивно-силовая схема стыковочных узлов композитных лопастей, где а - гребенчатый: 1 - стальной наконечник, 2 - болт, 3- втулка, 4 - металлические прокладки, 5 - пояс лонжерона; б - телескопический: 1 - шайбы, 2 - втулка, 3 - фольга из титана, 4 - слои композита пояса лонжерона; в - ниппельный: 1 - стальной наконечник, 2 - резьбовое соединение, 3 - комлевая часть лонжерона из композита, 4 - конус; г - гребенчатый с петлевым соединением: 1 - закладные втулки, 2 - внешняя замыкающая петля из однонаправленного композита лонжерона, 3 - формирующие петли вкладыши, 4 - однонаправленные пояса из композита; д одноточечный с петлевым соединением, 1 - обшивка, 2 - однонаправленные пояса из композита, 3 - закладная втулка, 4 - палец вертикального шарнира

Прочность композита в месте болтового соединения повышают методом фольгирования комлевой части лонжерона. В процессе формирования лонжерона лопасти между армирующими слоями композита устанавливаются листы металлической (из титана) фольги таким образом, чтобы плавно нарастала жесткость комля в направлении к месту стыка [3].

Для предохранения поверхности отверстий в композите от повреждения и увеличения площади смятия в отверстия устанавливаются закладные титановые втулки.

Передача нагрузок от лонжерона лопасти на стыковочный узел или втулку НВ в стыках на рисунках 1.18, а, б осуществляется при помощи болтов, установленных в отверстиях, просверленных в верхней и нижней полках комлевой части лонжерона.

Стыковочные узлы композитных лонжеронов рассчитываются на разрыв по ослабленному сечению (рисунок 1.19, а), срез (рисунок 1.19, б) или смятие (рисунок 1.19, в) композита и среза элемента крепления (рисунок 1.19, г). Возможна комбинация этих форм разрушения.

Рисунок 1.19 - Формы разрушения композита в зоне размещения болтового соединения, где а - разрыв; б - срез; в - смятие; г - срез болта; d - диаметр болта; с - вынос болта от кромки стыкуемого элемента; b; h - ширина и толщина пояса; Р - действующая на болт сила растяжения

Наибольшая прочность на растяжение болтового соединения характерна для композита с ориентацией волокон [0/± 45°], причем разрушающие напряжения мало изменяются в широком диапазоне соотношений продольных и поперечных слоев.

Прочность соединения при срезе определяется в основном межслойным сдвигом или сдвигом в плоскости армирования композита. Наиболее низкая прочность при срезе будет для однонаправленных материалов, когда ориентация волокон совпадает с направлением нагружения. Максимальная прочность достигается при ориентации волокон под углами ± 45° за счет повышения прочности при сдвиге и снижении концентрации напряжений в зоне отверстия.

Прочность композитов при смятии болтом представляет собой весьма условную характеристику материала, т.к. при нагружении пакета через болт около него устанавливается сложное напряженное состояние. В инженерном расчете соединений принимается предположение о равномерном распределении напряжений сжатия по диаметральной плоскости.

Наибольшую прочность при смятии имеет материал, образованный слоями с ориентацией 0° и ±φ. Здесь же важное значение имеет последовательность расположения слоев, влияющая на напряжения межслоевого сдвига и вызывающая кромочный эффект. Установлено, что прочность соединений углепластика с неравномерной укладкой 0°/0°/+ 45°/- 45°/0°/0° на 16 % меньше, чем с равномерной 0°/+ 45°/0°/0°/- 45°/0°.

Исследования влияния диаметра отверстия на прочность композита при смятии показывают, что она монотонно уменьшается с увеличением отношения d/h (рисунок 1.19) [8].

.8 Выводы

Из произведенного литературного обзора можно сделать следующие выводы:

. К авиационным конструкциям и, в частности, к элементам несущего винта вертолета предъявляются различные требования: надежности, прочности, жесткости, технологичности, оптимальности по массе, аэродинамике, долговечности. Эти требования выполнимы, однако вместе с тем, они являются ограничивающими друг друга. Взаимное влияние прослеживается между всеми требованиями, что ведет к компромиссным решениям в конструкциях элементов несущего винта.

. Для деталей из композитов, ввиду особенностей структуры материала, выбирается увеличенный коэффициент безопасности f = 2,0-2,5, либо занижается уровень допустимых напряжений до 2/3σв при расчете конструкции на предельную несущую способность.

. Лопасти во время полета испытывают аэродинамические и массовые нагрузки. Поскольку лонжерон является силовым элементом лопасти, то он испытывает влияние передаваемых ему нагрузок, что приводит к возникновению усилий в сечениях.

Лонжерон подвергается действию центробежной Nцб силы, поперечной силы Q, крутящего Mкр и изгибающего Mизг момента.

. Расчетными для лонжерона являются нагрузки от центробежной силы N и крутящего момента Mкр.

Масса лонжерона, как основного силового элемента, составляет бóльшую часть массы лопасти. То есть, массовая характеристика лопасти γ0 в значительной степени зависит от массы лонжерона.

. Массовая характеристика является отношением действующих на лопасть аэродинамических сил к инерционным силам. Она определяет взаимосвязь массы лопасти и нагрузок, возникающих в ней. Для малых лопастей (R = 4 м) массовая характеристика равна γ0 = 4,5 и для больших лопастей (R ≥ 16 м) - γ0 = 7. Чем больше массовая характеристика для заданной лопасти, тем меньше возможная минимальная конструктивно-технологическая масса лопасти.

2. ОПТИМИЗАЦИЯ ЛОНЖЕРОНА ЛОПАСТИ НЕСУЩЕГО ВИНТА ВЕРТОЛЕТА

.1 Описание объекта оптимизации

В работе оптимизируется лонжерон лопасти несущего винта легкого вертолета. Характеристики вертолета представлены в таблице 2.1.

Таблица 2.1 - Характеристики легкого вертолета

Тип

Легкий двухместный вертолет нормальной схемы

Нормальная взлетная масса, кг

570

Максимальная взлетная масса, кг

650

Диаметр НВ, м

6,84

Количество лопастей НВ, шт

3

Количество лопастей рулевого винта, шт

2

Втулка НВ

Бесшарнирная с упругими торсионами

Скорость вращения НВ, м/сек

205

Хорда лопасти НВ, м

0,17

Профиль лопасти НВ

Переходный, NACA 63А12/63А15

Длина лопасти, м

2,966

Масса лопасти, кг

7,5

Площадь ометаемой поверхности, м2

36,745

Мощность силовой установки, кВт (л.с.)

115 (156)

Стандартный запас топлива, л (кг)

72 (53)

Часовой расход топлива, л/ч

28-35

Максимальная скорость при полной загрузке, км/ч

180

Крейсерская скорость при полной загрузке, км/ч

157


Характеристики оптимизируемого лонжерона приведены в таблице 2.2.

Таблица 2.2 - Характеристики лонжерона

Длина, м

2,900

Ширина участка с профилем, 10-2 м: NACA 63А12 NACA 63А15

 7 8

Масса, кг

5,3

Площадь поперечного сечения, 10-6 м2: профиля NACA 63А12 профиля NACA 63А15

 250 320

Периметр поперечного сечения стенки, 10-2 м: профиля NACA 63А12 профиля NACA 63А15

 140 200

Длина участка с профилем, м: NACA 63А12 NACA 63А15

 1,65 1,15

Толщина стенки, 10-3 м

7,8

Толщина слоя с армированием, 10-3 м 0° ± 45°

 3 4,8


Схематический вид лонжерона представлен на рисунке 2.1.

Рисунок 2.1 - Схематический вид лонжерона, где а - вид сверху; б - сечение комлевой части; в - сечение профиля NACA 63А15; г - сечение профиля NACA 63А12; r - относительный радиус; R - радиус лонжерона

Материалом лонжерона является стеклопластик на основе стеклоткани Т-25/1-76 (ТУ 6-48-53-90) и эпоксидного связующего специального назначения ЭДТ-69Н. Физико-механические характеристики стеклоткани приведены в таблице 2.3, рецептура связующего приведена в таблице 2.4.

Таблица 2.3 - Физико-механические свойства стеклоткани Т-25/1-76

Толщина, 10-3 м

0,35 ± 0,05

Поверхностная плотность, кг/м2

0,395 ± 0,025

Плотность ткани, нитей/м основа уток

 900+50 500±10

Разрывная нагрузка, Н основа уток

 3920 980

Ширина, м

0,92

Вид переплетения

саржа 2/2


Саржевое («диагональное») переплетение создается переплетением одного или более элементов основы двумя или более элементами утка в правильном чередовании. В результате получают ткань с прямым или изломанным диагональным рисунком. Особенностью такой ткани является большая гибкость и лучшая драпирующая способность, нежели у тканей с полотняным или сеточным переплетениями [16]. Вид переплетения стеклоткани Т-25/1-7 характеризуется чередованием двух нитей основы и двух нитей утка при плетении.

Таблица 2.4 - Рецептура раствора связующего ЭДТ-69Н

Наименование компонентов

Массовая доля компонентов связующего, %

Смола ЭТФ

19,0

Смола УП-631У

19,0

Смола КДА

19,0

Отвердитель 9

3,1

Спирт этиловый

24,0

Ацетон

16,0


Физико-механические свойства эпоксидного стеклопластика приведены в таблице 2.5.

Таблица 2.5 - Физико-механические свойства эпоксидного стеклопластика

Предел прочности на растяжение, МПа

1160

Модуль упругости, МПа

22000

Модуль сдвига, МПа

3400

Плотность, кг/м3

1800

Коэффициент Пуассона

0,3

Толщина элементарного слоя, 10-3 м

0,6


2.2 Функция оптимизации и пространство проектирования

Конструкция лопасти, не считая узла крепления, состоит из лонжерона, расположенного в передней части сечения, и хвостового отсека с поперечными разрезами. Этот отсек необходим для образования подъемной силы, а всю нагрузку воспринимает лонжерон. Таким образом, вес хвостовой части известен и оптимальному проектированию подлежит лонжерон. Целевой функцией оптимизации лонжерона является его масса

M = L·S· (h1 + h2)·ρ

где L - длина лонжерона, S - длина периметра сечения лонжерона, h1 - толщина слоя с углом укладки φ1 = 0°, h2 - толщина слоя с углом укладки φ2 = ± 45°, ρ - плотность материала

Как видно из формулы, параметры, которые можно варьировать при заданном материале - это толщины слоев композита. Они и будут составлять пространство проектирования (ПП). Ввиду того, что ПП представлено параметрами, имеющими конкретные значения, то ПП является арифметическим, а задача оптимизации решается методами математического программирования.

2.3 Оптимизация лонжерона лопасти НВ

Для того чтобы выполнить оптимизацию по обозначенным ограничениям пространства проектирования необходимо знать величины продольной силы N и крутящего момента Mz, действующих на лопасть и, соответственно, лонжерон. Для этого, установим максимальные значения центробежной силы N и изгибающего момента Mz. Эпюры нагрузки от центробежной силы и крутящего момента изображены на рисунке 2.2, а наибольшие полученные результаты равны= 30100 Н и Mz = 603 Н·м.

В11 = 12,4·109 Па·м;

В33 = 1,9·109 Па·м.

Рисунок 2.2 - Эпюры распределения центробежных сил и крутящего момента по длине лопасти, где N - нагрузки от центробежной силы; Mz - крутящий момент;  - относительный радиус

Определяем относительные деформации стенки лонжерона, учитывая изменение площади поперечного сечения профиля (индекс 12 соответствует профилю 63А12, индекс 15 - 63А15):

εz12 = 9,7·10-3;

εz15 = 7,510-3;

εzs12 = 0,6·10-3;

εzs15 = 0,49·10-3.

Определяющими являются напряжения вдоль оси основы стеклоткани, поэтому расчет можно вести по нитяной модели. Тогда:

σ112 = 5,3·106 Па;

σ115 = 3,7·106 Па.

Найденные напряжения в слоях значительно ниже предела прочности стеклопластика на разрыв, следовательно, ограничение по прочности выполняется.

Ограничение по жесткости выполняется при условии, когда угол закручивания (депланации) сечения θ будет менее 5°.

θ = 1,2·10-3; θ < 5°.

Толщину слоев можно найти из уравнений и неравенств ограничений:

Решение задачи оптимизации представляется графическим построением линий ограничения (рисунок 2.3).

Пересечение кривых 1 и 3 на рисунке 2.3 показало, что толщина продольного слоя равна h1 = 1,8·10-3 м, толщина спирального слоя равна
h2 = 3,5·10-3 м. Однако толщина данного слоя должна быть кратной четному числу, т. к. слои дополняют друг друга. Тогда с учетом технологического ограничения толщина спирального слоя равна h2 = 4,8·10-3 м и толщина продольного слоя равна h1 = 1,8·10-3 м.

Рисунок 2.3 - Графики, характеризующие распределение толщин слоев в зависимости от ограничений, где 1 - ограничение по прочности продольного слоя, 2 - ограничение по прочности слоя ± 45°, 3 - ограничение по жесткости

2.4 Выводы

Пространство проектирования представляется двумя толщинами слоев композита по направлению армирования вдоль конструкции (h1) и под углом ± 45° (h2). Пространство проектирования является арифметическим. Оптимизация ведется методами математического программирования.

Пространство проектирования имеет ряд ограничений, связывающий их по прочности. Для расчета ограничений используется балочная теория тонкостенных конструкций.

Толщины слоев пакета стенки лонжерона зависят от нагрузок, создаваемых внешними аэродинамическими силами и собственных весовых параметров лопасти. Расчетными нагрузками являются центробежная сила
N = 30100 Н и крутящий момент Mz = 603 Н·м.

В ходе оптимизации получены толщины слоев для оптимального армирования лонжерона под действием нагрузок. Ограничения соблюдены. Толщина продольного слоя равна h1 = 1,8·10-3 м, толщина спирального слоя равна h2 = 4,8·10-3 м. Суммарная толщина стенки лонжерона h = 6,6·10-3 м, что на 1,2·10-3 м меньше, чем у изначальной конструкции.

Масса оптимизированного лонжерона равна 4,3 кг.

3 ВИРТУАЛЬНЫЕ ИСПЫТАНИЯ ЛОНЖЕРОНА ЛОПАСТИ НЕСУЩЕГО ВИНТА ВЕРОЛЕТА

.1 Характеристика программы виртуального моделирования

В настоящее время в различных областях науки и техники активно используются системы автоматизированного проектирования (САПР). Они позволяют моделировать и исследовать различные физические явления, твердотельные конструкции в рамках заложенного математического аппарата, имеющего определенные ограничения. Для произведения анализа конструкций САПР используют разбиение их на сетки конечных элементов, что позволяет определить напряженно-деформированное состояние на многих локальных участках конструкции. САПР помогает сократить время на научно-исследовательские и опытно-конструкторские работы, в то же время обеспечивая исследователя данными, обладающими хорошей точностью и коррелирующими с опытными испытаниями. Одним из представителей САПР является пакет прикладных программ моделирования Solid Works.

Пакет Solid Works, разработанный корпорацией Solid Works, представляет собой приложение для автоматизированного элементно-ориентированного параметрического конструирования твердотельных моделей изделий машиностроения. Это первое приложение автоматизированного проектирования, в полной мере использующее графический пользовательский интерфейс Microsoft Windows. В Solid Works реализованы возможности перетаскивания, благодаря чему этот пакет достаточно прост в освоении. Графический интерфейс Windows позволяет конструктору усовершенствовать свои решения и реализовать их в виде виртуального прототипа или твердотельной модели, больших сборок, сборочных узлов, а также выполнить деталировку и получить необходимую чертежную документацию.

Пакет Solid Works может также служить программной платформой для некоторых приложений. Таким образом, в окне этой программы можно запускать совместимые приложения, разработанные корпорацией Solid Works как надстройки для Solid Works. Назовем некоторые программы, работающие на платформе Solid Works:

-      Solid Works Animator - создание видеороликов,

        Photo Works - средства для получения фотореалистичного изображения модели,

        Feature Works - распознавание геометрии импортированных элементов,

        COSMOS Works - инженерные расчеты,

        COSMOS Motion - динамический анализ механизмов,

        COSMOS Flow - модуль для анализа поведения жидкостей и газов в широком диапазоне чисел Рейнольдса (аэро- и гидродинамический анализ),

        eDrawing - средство коллективной работы над проектом,

        Solid Works Piping - проектирование трубопроводов,

        CAM Works - компьютеризированное производство

        Toolbox - библиотека стандартных изделий,

        Mold Base - библиотека пресс-форм [13].

Как уже отмечалось, Solid Works - это полнофункциональное приложение для автоматизированного механико-машиностроительного конструирования, базирующееся на параметрической элементно-ориентированной методологии. Это позволяет легко получать твердотельную модель из двумерного эскиза, применяя очень простые и эффективные инструменты моделирования. Однако представление проектируемого изделия не ограничивается трехмерным твердотельным моделированием - в распоряжении имеются средства ассоциативного конструирования. Это означает, что можно создать прототип класса деталей, например, изготавливаемых штамповкой из листового металла, а затем использовать параметрическую модель при проектировании формы заготовки. Кроме того, пакет Solid Works упрощает проектирование полостных деталей, изготавливаемых литьем или в пресс-формах. С помощью Solid Works можно создавать также поверхностные параметрические модели. Программа Solid Works имеет несколько режимов работы:

) Режим «Деталь» представляет собой параметрическую элементно-ориентированную среду, позволяющую строить твердотельные модели. По умолчанию имеется три плоскости: передняя, верхняя и правая. Сначала необходимо выделить плоскость, в которой будет строиться эскиз основания. После этого автоматически переходим в эскизную среду, располагающей всеми необходимыми инструментами для построения чертежей. Построив эскиз, нужно нанести размеры и установить требуемые взаимосвязи между его элементами, находясь все в той же среде построений. Добавление взаимосвязей, уравнений и расчетных таблиц помогает конструктору предельно четко выразить свой замысел.

В режиме «Деталь» доступна библиотека стандартных отверстий, известная также как мастер отверстий. В ней представлены простые, высверленные, раззенкованные, расцекованные, конические отверстия, а также другие типы отверстий.

Библиотека поддерживает стандарты ISO, ANSI, JIS и другие. Кроме того, в режиме детали можно строить сложные поверхности, используя средства моделирования поверхностей. В режиме «Деталь» создаются такие элементы чертежа, как обозначения сварных швов, геометрических допусков, базовых поверхностей, чистоты обработки поверхности. Часто используемые элементы можно сохранять в библиотеке стандартных элементов, с тем, чтобы их легко можно было использовать многократно. В пакет Solid Works также входит панель библиотечных элементов, которая включает стандартные детали машин и изделия. В режиме детали имеются и необходимые инструменты для конструирования компонентов из листового металла [13].Works обладает возможностями анализа модели на различные напряжения, возникающие при эксплуатации проектируемой конструкции в реальных условиях. Для этого предназначен специальный компонент COSMOS Xpress с простым и дружественным интерфейсом. Благодаря применению COSMOS Xpress можно сократить стоимость и продолжительность тестирования конструкции в реальных физических условиях (разрушающие испытания), проведя необходимые инженерные расчеты и анализ на этапе моделирования в Solid Works.

Наконец, в режиме детали пакет Solid Works предусматривает работу со сварными конструкциями путем обозначения кромок сварочных швов. В программе доступны все стандартные типы и режимы сварки [13].

) Режим «Сборка». В режиме «Сборка» с помощью соответствующих инструментов выполняется объединение компонентов в сборку. Сборка компонентов может осуществляться двумя методами:

-     сборка «снизу вверх»,

      сборка «сверху вниз».

При подходе «снизу вверх» сборка формируется путем интеграции ранее созданных компонентов с сохранением всех конструкторских решений. Подход «сверху вниз» подразумевает создание компонентов в режиме сборки: можно начать с каких-то готовых изделий и далее в контексте сборки создавать другие компоненты. При этом можно задавать зависимость размеров одних компонентов от размеров других. Специальный режим «Автоматическое сопряжение» позволяет составить сборку из компонентов всего одним щелчком мыши. В процессе добавления компонентов в сборку в Solid Works можно использовать операцию перетаскивания, а также проверять «собираемость» полученной сборки. Очень ценной возможностью Solid Works является обнаружение конфликтов в сборке, что позволяет конструктору при повороте и перемещении деталей видеть возникающие столкновения между объединяемыми компонентами [13].

Благодаря поддержке динамических свойств конструкции в программе Solid Works можно получить анимационную модель функционирующей сборки. Имитация движения механизма выполняется с учетом воздействия двигателей, сил упругости и силы тяжести.

.2 Краткие сведения о методе конечных элементов

В методе конечных элементов (МКЭ) сплошное тело, имеющее бесконечное число степеней свободы, разбивают на элементы ограниченной протяженности и, используя характеристики отдельных элементов, описывают поведение системы в целом.

Метод конечных элементов получил значительное развитие с 1950-х годов, когда появились большие ЭВМ. В настоящее время этот метод находит широкое применение при решении различных технических задач, к которым можно отнести задачи сопротивления материалов, гидромеханики, теплотехники, электротехники и др. При рассмотрении конечных элементов используются различные методы: метод перемещений, метод напряжений, комбинированный метод и т. д. При исследовании механизма поведения композитов методом конечных элементов обычно ограничиваются анализом двумерной задачи [15].

При решении двумерных плоских задач методом конечных элементов прежде всего необходимо рассматриваемую область (рисунок 3.1) разбить на конечные элементы. Вершины элементов носят названия узлов. Выберем на рисунке 3.1 для рассмотрения какой-либо элемент (рисунок 3.2). На этот элемент действуют внешние силы Xν и Yν, под действием которых происходит деформация элемента, рассматриваемого как упругое тело. В данном случае можно соответствующим образом установить узлы конечных элементов и определить усилия, действующие в узлах, полагая, что внешние силы, действующие на элементы, передаются лишь через узлы. Форма элементов, на которые разбивают тело, может быть самой разнообразной. Часто используют элементы треугольной формы, три вершины которых выбираются в качестве узлов (рисунок 3.3)

Рисунок 3.1 - Аппроксимация конечными элементами

Рисунок 3.2 - Конечный элемент

Рисунок 3.3 - Треугольный элемент

В общем случае изменение формы внутри элементов, на которые разбито непрерывное тело, носит сложный характер. Это обстоятельство вынуждает ввести допущение о том, что перемещения внутри элементов являются простыми. В таком случае на основании использования перемещений узлов элемента {δ} можно определить перемещения и и v в произвольной точке (х, у) рассматриваемого элемента


где величины u и v, характеризующие перемещения, полученные с учетом введенного допущения, носят название функций перемещения, а матрица [N] называется матрицей формы [15].

Для МКЭ характерно:

–      широкий диапазон применения;

–       инвариантность по отношению к конструкции и механическим характеристикам материала;

–       простота учета взаимодействия конструкции с внешней средой.

Основные этапы расчета конструкции по МКЭ:

1)      Разбиение рассматриваемой конструкции на конечные элементы и подготовка топологической, геометрической и физической информации, а также установление факторов взаимодействия с окружающей средой;

2)      Построение для выделенных конечных элементов соответствующих матриц - жесткости, напряжения - деформации, деформаций - перемещений, а также векторов, определяющих зависимости между реакциями и перемещениями в узлах элемента;

)        Формирование разрешающей системы линейных алгебраических и дифференциально-алгебраических уравнений;

)        Решение полученных систем;

)        Обработка результатов и анализ работы конструкции [15].

Для треугольного элемента, представленного на рисунке 3.3, воспользуемся следующим допущением, согласно которому, прямая линия, соединяющая две произвольные точки в элементе, остается прямой линией после того, как элемент изменит свою форму [15].

Зависимость между перемещениями узлов {δ} и деформаций элемента {ε} выражается таким образом

{ε} = [B]·{δ}

где [B] - матрица деформаций - перемещений, устанавливает связь между перемещениями узлов и деформацией элемента.

Уравнение (3.2) является уравнением жесткостей, составленным для треугольных конечных элементов сплошного тела

{σ} = [De]·{ε}

где {σ} - матрица напряжений-деформаций, [De] - матричное выражение уравнения состояния, устанавливает связь между напряжениями и деформацией и называется матрицей упругих напряжений-деформаций [11].

Композиты, в частности слоистые пластмассовые пластины, армированные стекловолокном, обладают следующими свойствами:

) являются ортотропными;

) имеют очень узкие диапазоны нагружения, в которых постоянные материала не зависят от напряжений (или деформаций), т. е. материал является нелинейным [15].

Поэтому при рассмотрении слоистых пластин, армированных стекловолокном, необходимо принимать во внимание указанные выше обстоятельства [15].

При расчете композитов можно пользоваться как микро-, так и макроподходами. При микроподходе композит разделяют на матрицу и армирующий материал и, исходя из особенностей соединения матрицы и армирующего материала, рассматривают механику поведения композита. В случае макроподхода наполнитель и связующий материал рассматривают как одно целое.

3.3 Виртуальные испытания лонжерона лопасти НВ

Изначально проведем построение виртуальной модели лонжерона. Исходные данные для геометрического построения содержатся в таблице 3.1.

Концевое сечение лонжерона имеет профиль NACA 63А12, комлевое сечение представляет собой сечение прямоугольной формы. Подобный переход геометрии обоснован конструктивной необходимостью, т.к. именно в комлевом сечении располагаются узел крепления лопасти к втулке несущего винта. Кроме того, у корня лопасти действует наибольший крутящий момент. Длина комлевого уширения порядка 0,20 м, далее он плавно переходит в профиль NACA 63А15. Диаметр отверстий равен 0,02 м.

Таблица 3.1 - Исходные данные для моделирования лонжерона

Длина, м

2,90

Ширина участка с профилем, 10-2 м: NACA 63А12 NACA 63А15

 7 8

Длина участка с профилем, м: NACA 63А12 NACA 63А15

 1,65 1,15

Толщина стенки, 10-3 м

7,8

Ширина комлевого участка, м

0,12


Моделирование происходит следующим образом:

. Строятся контуры комлевого участка и участков аэродинамических профилей NACA 63А12 и NACA 63А15 на относительных радиусах лопасти r = 0,2, r = 1, r = 0,45 начиная с комлевого сечения соответственно.

. При помощи функции «Бобышка/основание по сечениям» последовательно соединяются полученные контуры. Указывается толщина сечения лонжерона 0,005 м.

. Задается положение центров и диаметры отверстий.

. Задаются физико-механические параметры используемого материала.

Материал - стеклопластик со следующими физико-механическими свойствами:

Массовая плотность - 1800 кг/м3,

Предел прочности на растяжение - 1160 МПа,

Модуль упругости при растяжении - 22000 МПа,

Коэффициент Пуассона - 0,3.

На рисунке 3.1 представлен внешний вид смоделированного при помощи Solid Works лонжерона.

Рисунок 3.1 - Внешний вид смоделированного лонжерона

Далее производится испытание лонжерона на сопротивление разрыву от центробежной силы. Осуществляется закрепление модели по отверстиям (рисунок 3.2).

винт вертолет лонжерон лопасть

Рисунок 3.2 - Закрепление модели лонжерона

В соответствии с силовой схемой лонжерон нагружается растягивающей нагрузкой N = 30100 Н (рисунок 3.3).

Рисунок 3.3 - Нагружение модели лонжерона

После задания ограничений и нагрузок программой производится расчет напряженно-деформированного состояния смоделированного объекта путем разбиения его на конечные элементы.

.3 Результаты испытаний

В результате испытаний, произведенных встроенным в Solid Works модулем COSMOS Work, получили распределения напряжений в материале лонжерона, проиллюстрированные на рисунках 3.4 и 3.5.

Рисунок 3.4 - Распределение напряжений от действия продольной силы N = 30100 Н

Рисунок 3.5 - Распределение напряжений в зоне отверстий

.4 Выводы

. Системы автоматизированного проектирования позволяют производить моделирование явлений, процессов, конструкций в реальном времени, в диалоговом режиме с пользователем. Однако в силу использования при вычислениях математических моделей, имеющих определенные ограничения, расчеты в САПР не являются окончательными, но дополняют результаты опытных испытаний.

. По полученной при помощи расчета в Solid Works картине напряжений можно сказать, что максимальные напряжения, возникающие в лонжероне при действии центробежной силы (σmax = 81 МПа), являются меньшими, чем предел прочности материала (σв = 1160 МПа). Это гарантирует работу конструкции в исследованных условиях.

. Как и ожидалось, максимальные напряжения σmax возникли в зоне крепежных отверстий, что объясняется перераспределением напряжений возле дефектной зоны.

4. ОПРЕДЕЛЕНИЕ ЭКОНОМИЧЕСКОГО ЭФФЕКТА ОПТИМИЗАЦИИ ЛОНЖЕРОНА

.1 Определение дальности и продолжительности полета

Под дальностью полета вертолета понимают расстояние, которое может пройти вертолет по маршруту от места взлета до места посадки. Продолжительность полета вертолета - это время пребывания вертолета в полете от взлета до посадки.

Дальность и продолжительность полета вертолета зависят от запаса горючего и от режима полета, т. е. скорости, высоты и числа оборотов несущего винта, а также от атмосферных условий и регулировки двигателя. Дальность и продолжительность полета, кроме того, зависят от полетного веса вертолета. Чем больше полетный вес вертолета, тем больше должна быть тяга несущего винта и, следовательно, потребная мощность и расход горючего [4].

Расход горючего может представляться как:

Удельный расход топлива Се - это количество топлива, расходуемое на создание мощности 735,5 Вт (1 л. с.) за один час. Се зависит от частоты вращения турбокомпрессора .

Часовой расход топлива Qчас. - это количество топлива, расходуемое за один час полета. Он зависит от скорости полета, то есть минимальный часовой расход топлива соответствует экономической скорости полета. Рассчитывается часовой расход по формуле.

Qчас. = Се·Р/ρ

где Се - удельный расход топлива; Р - мощность двигателя; ρ - плотность горючего.

Километровый расход топлива q - это количество топлива, расходуемое на один километр пути. Минимальный километровый расход топлива соответствует скорости наибольшей дальности полета.

q = Qчас./V

где V - скорость полета вертолета.

Обычно часовой и километровый расходы выражаются в литрах, а не в килограммах. Поскольку полный запас горючего на вертолете определяется емкостью бака в литрах, то определение расходов в объемных единицах удобнее, чем в весовых единицах.

Дальность полета определяется по формуле


где V - скорость полета; Т - сила тяги винта; Р - мощность двигателя; Се - удельный расход топлива; Gт - вес запаса топлива; Gвзл - взлетный вес вертолета.

Продолжительность полета определяется по формуле

)

где V - скорость полета; Р - мощность двигателя; Се - удельный расход топлива; Gт - вес запаса топлива; Gвзл - взлетный вес вертолета.

Удельный расход топлива для рассматриваемого легкого вертолета равен Се = 0,0002 кг/Вт·час, сила тяги винта Т = 8000 Н, мощность двигателя равна Р = 115 кВт.

По итогам проведенной оптимизации конструкции лонжерона лопасти несущего винта вертолета ее масса снизилась на 1 кг. Суммарное снижение массы составило порядка 3 кг, т. к. несущий винт трехлопастный. Таким образом, появившуюся выгоду в массе можно использовать для увеличения запаса горючего.

Рассчитаем по формуле (4.3) дальность полета для вертолета с оптимизированным лонжероном при стандартном запасе топлива и уменьшенной взлетной массой (R53647) и для варианта с увеличенной массой горючего, равной сниженной в ходе оптимизации массе (R56650). При расчете учитывается, что оптимальные значения скорости и высоты при полете на дальность равны 120 км/ч и 1000 м соответственно. Тогда= 351,9 км;= 371 км.

На рисунке 4.1 представлен график сопоставления дальностей полета при одинаковом значении запаса топлива.

Рисунок 4.1 - Сопоставление дальности полета R при одинаковом запасе топлива Gт, где 1 - дальность полета вертолета с неоптимизированным лонжероном; 2 - дальность полета вертолета с оптимизированным лонжероном

Сравнив полученные результаты с изначальной дальностью 350 км при скорости полета 120 км/ч видим, что при неизмененном запасе топлива (53 кг) и сниженной, относительно начальной, массы 647 кг дальность полета вертолета возрастает на 1,9 км. При увеличении запаса горючего на 3 кг и сопоставимом с изначальным полетном весе 650 кг дальность полета возрастает на 21 км.

По формуле (4.4) рассчитаем продолжительность полета вертолета с оптимизированным лонжероном при стандартном запасе топлива и уменьшенной взлетной массой (Е53647) и для варианта с увеличенной массой горючего, равной сниженной в ходе оптимизации массе (Е56650).

Е53647 = 3,05 час (3 часа 5 минуты);

Е56650 = 3,21 час (3 часа 12 минуты).

При сравнении результатов с изначальной продолжительностью полета равной 3 часа при скорости полета 120 км/ч видим, что при неизмененном запасе топлива (53 кг) и сниженной, относительно начальной, массы 647 кг продолжительность полета вертолета возрастает на 5 минут. Увеличенный на 3 кг запас горючего позволяет увеличить продолжительность полета на 12 минут.

На рисунке 4.2 представлен график сопоставления дальностей полета при одинаковом значении запаса топлива.

Рисунок 4.2 - Сопоставление дальности полета Е при одинаковом запасе топлива Gт, где 1 - продолжительность полета вертолета с неоптимизированным лонжероном; 2 - продолжительность полета вертолета с оптимизированным лонжероном

4.2 Определение изменений в стоимости полета

Рассматриваемый легкий вертолет оснащен бензиновым двигателем, топливом для которого является бензин АИ-95 (А-95). Усредненная плотность бензина АИ-95 равна ρ = 750 кг/м3.

Для вычисления стоимости расходуемого горючего необходимо знать его часовой и километровый расходы на данном летательном аппарате. Часовой Qчас. и километровый q расходы вычисляются по формулам (4.1) и (4.2) соответственно:час. = 35 л/час;= 0,29 л/км.

Стоимость 1 литра бензина АИ-95 на данный момент составляет порядка 23,54 рубля. То есть, расход бензина вертолетом на 100 км будет равен 29 литров и затраты на горючее составят 682,7 рубля. Таким образом, при полете на дальность с полной загрузкой вертолет с неоптимизированным лонжероном израсходует 101,5 л бензина на 350 км, что обойдется в 2390 руб., для вертолета с оптимизированным лонжероном расход составит 102,05 л на 351,9 км при стоимости 2402,3 руб. Вертолет с увеличенным запасом горючего израсходует 107,6 л бензина на 371 км, что будет стоить 2533 руб. То есть, наблюдается экономия стоимости перелета по дальности на 350 км на 0,1 рубля за километр или 10 руб. на 100 км.

5. ОХРАНА ТРУДА

.1 Характеристика рабочего помещения, рабочего места и выполняемой работы

Рабочим помещением для выполнения работы по теме дипломного проектирования является компьютерная аудитория, оборудованная рабочими местами с установленными и объединенными в единый локальный сетевой кластер персональными электронно-вычислительными машинами (ПЭВМ), а также предусматривающая наличие естественного и искусственного освещения, предметов естественной аэрации. Схема рабочего помещения приведена на рисунке 5.1.

Высота помещения равна 3,5 м. Площадь оконного проема - 4 м2. Общее освещение представляет собой 21 газоразрядную лампу в 6 встроенных потолочных светильниках. Местное освещение состоит из 8 встроенных в потолок светильников с лампами накаливания. Оконные проемы расположены на Юго-западе относительно сторон света.

Рабочее место представляет собой совокупность предметов мебельного интерьера, ПЭВМ, периферийных устройств, принадлежностей предметов локальной сетевой инфраструктуры, а также комплекта необходимого программного обеспечения (ПО). Рабочее место включает в себя: компьютерный стол, стул, ПЭВМ, сетевое подключение к локальной вычислительной сети (ЛВС).

ПЭВМ является комплексом устройств вычисления (системный блок), ввода-вывода информации (монитор, клавиатура, компьютерная мышь, проектор, принтер), а также периферийных (наушники, колонки) и сетевых (сетевая карта) устройств. Также, рабочее место является элементом в структуре ЛВС, которая состоит из маршрутизатора, сервера и клиентских терминалов, соединенных между собой оптоволоконными кабелями.

Рисунок 5.1 - Схема рабочего помещения, где, 1 - рабочее место; 2 - ПЭВМ, 3 - сервер, 4 - местное освещение; 5 - радиатор отопления

При работе за рабочим местом для пользователя важны освещенность, эргономичность рабочего места, климатические условия в помещении, интерьерное оформление помещения. Немало важными являются технические характеристики используемой ПЭВМ, влияющие на быстроту вычислительных операций при работе со сложным и ресурсоемким программным обеспечением, а также геометрические размеры устройств персонального компьютера, такие как диагональ монитора.

Программное обеспечение, установленное на ПЭВМ, подразделяют на системное и прикладное. Системное ПО необходимо для обеспечения работы компьютера и как сложного электронного прибора, и как среды для функционирования прикладных программ. Прикладное ПО используется пользователем компьютера для решения прикладных задач.

На рассматриваемом рабочем месте выполняется работа, предусматривающая использование компьютера в качестве вычислительного комплекса. Работа производится с применением компьютерных прикладных программ, относящихся к системам автоматизированного проектирования (САПР). Задачами САПР является математическое моделирование явлений, процессов, конструкций, представляемое в диалоговой форме с пользователем. Применение САПР позволяет снизить затраты времени и материальных средств на опытно-конструкторские работы, а также предоставляет возможность исследования поведения конструкций и процессов в рамках заложенных математической моделью ограничений в сравнении и дополнении к опытным испытаниям.

.2 Анализ опасных и вредных производственных факторов (ОВПФ) на рабочем месте

Анализ опасных и вредных производственных факторов на рабочем месте выполняется в соответствии с ГОСТ 12.0.003-74 ССБТ «Опасные и вредные производственные факторы. Классификация» [10]. Итоги проанализированных ОВПФ, действующих на рабочем месте, представлены в таблице 5.1.

Таблица 5.1 - Результаты анализа ОВПФ на рабочем месте

Наименование ОВПФ по ГОСТ 12.0.003-74

Источник ОВПФ

Воздействие на человека

Физические ОВПФ

Повышенная или пониженная ионизация воздуха

Монитор, системный блок

Раздражение слизистых оболочек

Повышенное значение напряжения в электрической цепи, замыкание которой может произойти через тело человека

Монитор, системный блок, электрические розетки, поврежденные провода электропитания

Электротравмы, электроудары

Повышенный уровень статического электричества

Монитор ЭЛТ, системный блок

Поражение статическим зарядом

Повышенный уровень электромагнитных излучений

Монитор, системный блок

Возникновение статического заряда

Повышенная напряженность электрического поля

Монитор, системный блок,

Сердечнососудистые расстройства, головные боли, нарушение моторных функций

Повышенная напряженность магнитного поля

Монитор, системный блок, замкнутые в контур электропровода

Сердечнососудистые расстройства, головные боли

Прямая и отраженная блесткость

Экраны мониторов ЭЛТ, блестящие поверхности корпуса ПЭВМ, рабочего стола, элементов интерьера помещения

Напряжение зрения, раздражение

Химические ОВПФ

-

-

-

Биологические ОВПФ

-

-

-

Психофизиологические ОВПФ

Физические перегрузки: - статические

Продолжительная по времени работа в положении сидя без значительных изменений позы

Влияние на кровоснабжение, работу опорно-двигательного аппарата человека

Нервно-психические перегрузки: - умственное перенапряжение, - перенапряжение зрительных анализаторов, - монотонность труда, - эмоциональные перегрузки.

Работа, требующая длительного сосредоточения внимания, использования умственных способностей, зрительного напряжения. Работа с ПЭВМ

Повышенные нервные напряжения, напряжение или рассеяние внимания, влияние на кровоснабжение, психологическое состояние человека


.3 Мероприятия по снижению ОВПФ на рабочем месте

Снижение физических ОВПФ. При повышенной или пониженной ионизации воздуха на рабочем месте возможно использование увлажнителей либо ионизаторов воздуха. Также необходимо поддерживать определенный микроклимат в помещении.

Повышенное напряжение в сети может стать причиной замыкания оборудования рабочего места и привести к возгоранию. Для снижения подобных факторов риска рекомендуется использовать оборудование, имеющее заземление, а также приборы, контролирующие, понижающие напряжение и обесточивающие электрическую цепь при ее пробое.

Повышенный уровень статического электричества может привести к поражению рабочего статическим зарядом и замыканию оборудования. Во избежание подобных ситуаций необходимо иметь заземленное оборудование, работать в одежде, менее всего накапливающей статические заряды.

Источниками повышенной напряженности электрического и магнитного поля являются монитор, системных блок, электрические провода. В случае с монитором и системным блоком возможно ограничить время пребывания в зоне действия ОВПФ, удалить источник от себя (например, отодвинуть монитор или системный блок на расстояние не менее 0,8 м). Переплетенные в замкнутой форме провода создают электромагнитное поле при движении по ним электронов. Поэтому не рекомендуется располагать электропровода вокруг рабочего места, образуя замкнутый контур.

Блесткость поверхностей создает затруднения при работе ввиду кратковременного либо продолжительного воздействия лучей света на органы зрения. Блики препятствуют нормальному различению изображений, что при работе с компьютером создает дискомфортную ситуацию. Для предотвращения появления прямой или отраженной блесткости рабочее место, а также ПЭВМ не должны иметь блестящих поверхностей (коэффициент отражения корпуса ПЭВМ и поверхности стола должен быть в пределах 0,4-0,6). Снижение психофизиологических ОВПФ. Снижение влияния на рабочего таких нервно-психических перегрузок, как умственное переутомление, эмоциональная перегрузка и перенапряжение зрительных анализаторов достигается путем поддержания комфортного микроклимата на рабочем месте, наличием перерывов между работой, настройкой видеодисплейных терминалов на нормированные параметры отображения изображений. Также, для психологического комфорта важен интерьер помещения - оно должно быть оформлено в светлых тонах. Для работы, требующей концентрации внимания, необходимы перегородки между рабочими местами высотой 1,5 - 2,0 м.

5.4 Обеспечение пожарной безопасности в помещении (здании) и эвакуации персонала из здания в случае чрезвычайной ситуации

Меры пожарной безопасности регламентируется СНиП 21-01-97 Пожарная безопасность зданий и сооружений. Данные нормы и правила устанавливают общие требования противопожарной защиты помещений, зданий и других строительных сооружений на всех этапах их создания и эксплуатации, а также пожарно-техническую классификацию зданий, их элементов и частей, помещений, строительных конструкций и материалов.

Здание, в котором располагается рабочее помещение, относится к классу Ф4.2 по функциональной пожарной опасности - «Высшие учебные заведения, учреждения повышения квалификации» [12].

Эвакуационные выходы на первом этаже расположены рядом с лестничными клетками и в фойе (главный вход). Эвакуационные выходы на этажах выше первого предусматривают выход из рабочих помещений в коридор, ведущий к общим и эвакуационным лестничным клеткам. То есть, на всех этажах обеспечивается норма, устанавливающая минимум два эвакуационных выхода для зданий класса Ф4.

Эвакуационные пути проходят через коридоры и лестничные клетки, как общие, так и эвакуационные. На путях эвакуации не допускается применять материалы с высокой пожарной опасностью.

Лестничные клетки имеют выходы на прилегающую к зданию территорию. Общие лестничные клетки имеют световые проемы. Ширина лестницы равна ширине эвакуационного прохода. Уклон лестниц на путях эвакуации должен быть, как правило, не более 1:1, ширина проступи, как правило, не менее 0,25 м, а высота ступени - не более 0,22 м. Уклон открытых лестниц для прохода к одиночным рабочим местам допускается увеличивать до 2:1.

Предотвращение распространения пожара достигается мероприятиями, ограничивающими площадь, интенсивность и продолжительность горения. К ним относятся:

. Конструктивные и объемно-планировочные решения, препятствующие распространению опасных факторов пожара по помещению, между помещениями, между группами помещений различной функциональной пожарной опасности, между этажами и секциями, между пожарными отсеками, а также между зданиями,

. Ограничение пожарной опасности строительных материалов, используемых в поверхностных слоях конструкций здания, в том числе кровель, отделок и облицовок фасадов, помещений и путей эвакуации,

. Снижение технологической взрывопожарной и пожарной опасности помещений и зданий,

. Наличие первичных (огнетушителей ОУ-3), в том числе автоматических и привозных средств пожаротушения,

. Сигнализация и оповещение о пожаре.

Тушение возможного пожара и проведение спасательных работ обеспечиваются конструктивными, объемно-планировочными, инженерно-техническими и организационными мероприятиями, такими как:

. Устройство пожарных проездов и подъездных путей для пожарной техники, совмещенных с функциональными проездами и подъездами,

. Устройство наружных пожарных лестниц и обеспечение других способов подъема персонала пожарных подразделений и пожарной техники на этажи и на кровлю зданий,

. Устройство противопожарного водопровода, в том числе совмещенного с хозяйственным, а при необходимости, устройство сухотрубов и пожарных емкостей (резервуаров).

.5 Расчет искусственного освещения

Расчет искусственного освещения заключается в определении фактической освещенности на рабочем месте, исходя из имеющегося типа светильника и источника света. Исходя из сопоставления фактической освещенности Е с нормированным значением Emin (наименьшая допустимая освещенность в «наихудших» точках рабочей поверхности перед очередной чисткой светильников), устанавливают класс условий труда.

При работе за компьютером освещенность должна составлять 300-500 лк (люкс) [11].

Фактическая освещенность рассчитывается по формуле.

Е = F·N·η / (S·z·k)

где F - световой поток; N - число светильников над освещаемой поверхностью; η - коэффициент использования светового потока; S - площадь освещаемой поверхности (площадь помещения); z - коэффициент минимальной освещенности или берется равным 1,1-1,2; k - коэффициент запаса (снижение светового потока осветительной установки из-за загрязнения светильников и источников света и их старения учитывают в расчетах этим коэффициентом, выбирают в диапазоне 1,1-1,3).

Индекс помещения определяется по формуле.

i = a·b/hp·(a + b)

где hp - расчетная высота; а, b - длина и ширина помещения.

hр = h - hc - hр.п

где h - высота помещения; hс - расстояние от перекрытия до светильника; hр.п. - расстояние от пола до рабочей поверхности стола.

Для подвесных светильников hс = 0,3-0,5 м. Для плафонов и встроенных светильников hc = 0,2 м.

При условии, что h = 3,5 м, hс = 0,2 м, hр.п. = 1,2 м найдем расчетную высоту по формуле

hр = 3,5 - 0,2 - 1,2 = 2,1 м.

Длина помещения и ширина равны, соответственно, а = 7 м и b = 6 м.

Расчетная высота hр найдена.

Теперь становится возможным определить индекс помещения по формуле.

= 7·6/(2,1·(7 + 6)) = 1,54.

Далее запишем значения величин, входящих в уравнение фактической освещенности:

F = 1180 лм - световой поток для ламп ЛБ20;

z =1,1 коэффициент минимальной освещенности;

N = 21 - число светильников газоразрядных ЛБ20;

η = 0,62 - коэффициент использования светового потока газоразрядных светильников ОДР;

k = 1,1 - коэффициент запаса;

S = 42 м2- площадь помещения.

По формуле найдем фактическую освещенность для газоразрядных ламп

Е = 1180·21·0,62 / (42·1,1·1,1) = 307,2 лк.

Таким образом, из рассчитанных данных видно, что использование имеющегося числа газоразрядных ламп достаточно для соблюдения норм искусственной освещенности на рабочем месте согласно СанПиН 2.2.2/2.4.1340-03.

ЗАКЛЮЧЕНИЕ

В данном дипломном проекте было представлено решение задачи оптимизации конструкции лонжерона лопасти несущего винта легкого вертолета.

Итоги проделанной работы приводятся ниже.

. В результате анализа напряженного состояния лонжерона под действием внешних сил были установлены нагрузки (центробежная сила 30100 Н и крутящий момент 603 Н·м), а также установлены напряжения в слоях композита (не более σ1i = 5,3 МПа), которые удовлетворяют прочности используемого стеклопластика со следующими свойствами: σв = 1160 МПа,
 Е = 22000 МПа, ρ = 1800 кг/м3.

. Используя методы математического программирования, полученный алгоритм оптимизации и программу Solid Works, получили конечные оптимальные значения толщины стенки лонжерона h = 6,6 мм и массы
M = 4,3 кг, таким образом, снизив толщину силового слоя лонжерона на 1,2 мм, снизили массу лонжерона на 1 кг.

. Используя программу Solid Works провели виртуальные испытания на растяжение модели лонжерона. Были получены максимальные σmax = 81 МПа и минимальные σmin = 636 кПа напряжения в конструкции, которые удовлетворяют прочности материала. Наибольшие напряжения локализованы в зоне крепежных отверстий, что объясняется перенапряжением в зоне концентраторов напряжений (отверстий). В результате был сделан вывод, что данная конструкция соответствует эксплуатационным требованиям, требованиям достаточной прочности и жесткости, требованиям минимального веса.

. Проведя сравнительные экономические расчеты стоимости полета исходного вертолета и вертолета с оптимизированным лонжероном получили, что снизив массу лонжерона на 1 кг, наблюдается экономия стоимости полета на дальность равная 0,1 руб. на 1 км, что соответствует экономии 10 руб. на 100 км.

Стоит отметить, что при использовании пакета прикладных программ Solid Works были выполнены виртуальные исследования, проведение которых было построено в диалоговом режиме с пользователем. Вся информация предоставлялась в доступной и наглядной форме, что позволило подробно увидеть распределение напряжений в конструкции. Данный фактор немало важен для комфортной работы с системами САПР. Таким образом, можно сделать вывод, что данный продукт является хорошим инструментом системы автоматизированного проектирования и многократно упрощает и сокращает процесс проектирования изделий из КМ.

СПИСОК ИСПОЛЬЗУЕМОЙ ЛИТЕРАТУРЫ

1. Богданов, Ю. С. Конструкция вертолетов [Текст]: Учебник / Ю. С. Богданов, Р. А. Михеев, Д. Д. Скулков. - М. Машиностроение, 1990. - 272 с.: ил.

. Завалов, О. А. Конструкция вертолетов [Текст] / О. А. Завалов; Под ред. С. В. Михеева. - М.: Изд-во МАИ, 2004. - 316 с: ил.

. Далин, В. Н. Конструкция вертолетов [Текст]: Учебник / В. Н. Далин, С. В. Михеев. - М.: Изд-во МАИ, 2001. - 352 с.: ил.

. Загордан, А. М. Элементарная теория вертолета [Текст]: Учебное пособие / А М. Загордан - М.: Военное издательство министерства обороны Союза ССР, 1955. - 213 с.: ил.

5. Миртов, К. Д. Конструкция и прочность самолетов и вертолетов [Текст]: Учебник / К. Д .Миртов, М. С. Воскобойник, Г. С. Лагосюк, Ю. Д. Миленький, Д. П. Осокин, М. Л. Скрипка, В. С. Ушаков, Ж. С. Черненко, Под общ. ред. К. Д .Миртова и Ж. С. Черненко - М.: Транспорт, 1972.- 440 с.: ил.

6. Володко, А. М. Вертолеты [Текст]: Справочник по аэродинамике, динамике полета, конструкции, оборудованию и технической эксплуатации А. М. Володко, М. П. Верхозин, В. А. Горшков; Под ред. А. М. Володко. - М.: Воениздат, 1992. - 557 с.: ил.

. Михеев, Р. А. Прочность вертолетов [Текст]: Учебник / Р. А. Михеев - М.: Машиностроение, 1984. - 280 с.: ил.

. Дудченко, А. А. Оптимальное проектирование элементов авиационных конструкций из композиционных материалов [Текст]: Учебное пособие / А. А. Дудченко - М.: Изд-во МАИ, 2002. - 84 с.: ил.

. Маркин, В. Б. Строительная механика композитных конструкций [Текст]: Учебное пособие для вузов / В. Б. Маркин - Барнаул: Изд-во АлтГТУ, 2004. - 180 с.: ил.

. ГОСТ 12.0.003-74. Опасные и вредные производственные факторы. Классификация [Текст] - Изд. авг. 2004 с Изм. 1 (ИУС. 1978. №11); введ. 01.01.1976. - М.: Государственный стандарт Союза ССР: ИПК Изд-во стандартов, 2004. - 4 с.- (Система стандартов безопасности труда).

. СанПиН 2.2.2/2.4.1340-03. Гигиенические требования к персональным электронно-вычислительным машинам и организации работы [Текст] - Изд. май 2003 с Изм. 1 (ИУС. 2007. №22); введ. 10.06.2003. - 3 с.

12. СНиП 21-01-97. Пожарная безопасность зданий и сооружений [Текст] - Взамен СНиП 2.01.02-85; введ. 1998-01-01.

13. Тику, Ш. Эффективная работа в SolidWorks 2005 [Текст] / Ш. Тику - СПб.: Питер, 2006. - 816 с.: ил.

14. Джонсон, У. Теория вертолета [Текст] / У. Джонсон, Пер. с англ. - М.: Мир, 1983. - 502 с.: ил; - (Теория вертолета: в 2 т. / Джонсон У.; т.1).

. Фудзии, Т. Механика разрушения композиционных материалов [Текст] / Т. Фудзии, М. Дзако; Пер. с японск. - М.: Мир, 1982. - 232c.: ил.

. Справочник по композиционным материалам [Текст] / Под ред. Дж. Любина; Пер, с англ. А. Б. Геллера, М. М. Гельмонта; Под ред. Б. Э. Геллера. М.: Машиностроение, 1988. - 448 с.: ил; - (Справочник по композиционным материалам: в 2 т / Дж. Любин; т.1).

Похожие работы на - Оптимизация конструкции лонжерона лопасти несущего винта вертолета

 

Не нашли материал для своей работы?
Поможем написать уникальную работу
Без плагиата!
Без нейросетей!