Модернизация одноковшового гидравлического экскаватора посредством разработки стрелы с изменяемой геометрией
Содержание
Введение
. Обзор существующих конструкций
.1 Общие сведения об экскаваторах
.2 Классификация по назначению
.3 Область использования гидравлических одноковшовых
экскаваторов, рабочие процессы
.4 Классификация по узлам и механизмам
.5 Перспективы развития отрасли
.6 Основные производители
.7 Патентный обзор
. Описание и работа экскаватора
.1 Назначение экскаватора
.2 Технические характеристики экскаватора
.3 Описание гидравлической схемы экскаватора
.3.1 Гидропривод экскаватора
.3.2 Гидропривод поворота платформы
.3.3 Гидропривод выносных опор - отвала
.3.4 Гидропривод рукояти
.3.5 Гидропривод стрелы
.3.6 Гидропривод ковша
.3.7 Гидропривод вентилятора маслоохладителя и
гидроуправления
.3.8 Гидропривод рулевого управления
. Расчет основных параметров
.1 Подбор гидроцилиндра средней секции стрелы
.1.1 Расчет нагрузки на рукояти стрелы
.1.2 Расчёт нагрузки на гидроцилиндр средней секции стрелы
.1.3 Подбор гидроцилиндра
.2 Прочностные расчёты
.2.1 Расчёт пальцев на срез
.2.2 Расчёт на смятие проушин
.2.3 Расчёт на смятие стержня
.2.4 Расчёт сварки проушины
Заключение
Введение
В большинстве современных строительных, земельных и погрузочных работах
нашли широкое применение одноковшовые гидравлические экскаваторы, которые
наиболее удачно отвечают условиям работы СДМ (большие мощности и усилия при
малых габаритах, устойчивость, большой вылет, а также экономичность и
эстетичность).
Существенным недостатком одноковшовых строительных экскаваторов
безусловно является их сравнительно малая производительность, сравнивая,
например, с многоковшовыми экскаваторами. Но данный тип СДМ, конечно же,
отличается высокой мобильностью, малыми габаритами, большим диапазоном
размерных групп, что и делает одноковшовые экскаваторы востребованными
повсеместно, какого бы вида работ не требовалось.
В связи с популярностью строительных экскаваторов, такие машины должны
быть максимально универсальными, отвечать самым различным требованиям и
условиям, как пространственным, так и температурным. Экскаваторы
эксплуатируются как на открытой местности, так и в городских условиях. Помимо
соответствия температурным нормам данного региона, одноковшовые экскаваторы
должны быть мобильными и иметь при малых габаритах максимальную
производительность. Кроме того, операторы должны иметь возможность изменять
некоторые геометрические параметры работы, такие как радиус выноса опор,
геометрию стрелы.
Данная работа заключается в модернизации рабочего оборудования
одноковшового строительного экскаватора, а именно в разработке стрелы с
изменяемой геометрией. Также данная работа предназначена для получения
теоретических знаний и практических навыков по исследованию и проектированию
различных узлов одноковшового экскаватора.
1. Обзор существующих конструкций
.1 Общие сведения об экскаваторах
Экскаваторами называются землеройные машины, предназначенные для копания
и перемещения грунта. Все экскаваторы в зависимости от использования рабочего
времени для собственно копания грунта делят на две большие группы: непрерывного
действия - многоковшовые и периодического (цикличного) действия - одноковшовые.
Многоковшовые экскаваторы копание грунта и его перемещение выполняют
одновременно; одноковшовые эти операции выполняют последовательно, прерывая
копание на время перемещения грунта. Таким образом, рабочее время машины, в
течение которого выбирают грунт, и производительность многоковшовых
экскаваторов выше, чем одноковшовых. Несмотря на это, одноковшовые экскаваторы
распространены шире вследствие их универсальности, т. е. возможности применять
их как на земляных, так и на погрузочно-разгрузочных работах в самых тяжелых, в
том числе скальных (с предварительным взрыванием), грунтах. Применение
многоковшовых экскаваторов ограничено: в основном их используют при рытье
траншей и добыче нерудных материалов в карьерах с однородными грунтами без
каменных включений.
1.1 Классификация по назначению
По назначению и области применения одноковшовые экскаваторы можно
разделить на четыре типа.
Экскаваторы строительные общего назначения находят самое широкое
применение в промышленном и жилищном строительстве.
Рисунок 1. - Экскаватор строительный
Экскаваторы карьерные гусеничные используются для добычи полезных
ископаемых на открытых разработках и в карьерах. Машины этого типа обозначаются
ЭКГ.
Рисунок 2. - Экскаватор карьерный гусеничный
Экскаваторы вскрышные гусеничные предназначены для производства вскрышных
работ на угольных разрезах и открытых разработках в горнорудной промышленности.
Такие машины обозначаются ЭВГ.
Рисунок 3. - Экскаватор вскрышной гусеничный
Шагающие драглайны ЭШ выделяются в отдельную группу; они применяются
преимущественно в гидротехническом строительстве для разработки и отсыпки в
отвал грунтов I - IV групп, а также на вскрышных работах в угольной и
горнорудной промышленности.
Рисунок 4. - Шагающий драглайн
1.2 Область использования гидравлических одноковшовых
экскаваторов, рабочие процессы
Таким образом, одноковшовые строительные экскаваторы - универсальные
машины, используемые при копании грунтов разных категорий прочности, разборке
слабой и взорванной скальной породы. Они применяются для выемки из забоя и
погрузке в транспорт или отвал сыпучих и крупнокусковых материалов, разрушения
старых сооружений, расчистки территорий при пробивке трасс, расчистки
мелиоративных и водоотводных канав, отрывке больших котлованов и протяженных
траншей, сооружении грунтовых насыпей, строительстве тоннелей и мостовых
переходов и на других работах.
В строительстве наиболее широко применяются машины массой до 50 тонн с
гидрообъемным приводом рабочего оборудования, которые обычно и относят к группе
строительных экскаваторов.
Рабочий процесс одноковшового экскаватора (экскавация) состоит из
последовательно выполняемых операций: отделения грунта от массива, заполнения
им ковша, транспортирования грунта в ковше к месту разгрузки, разгрузки грунта
из ковша, возвращения последнего в забой на исходную позицию. Совокупность этих
операций составляет рабочий цикл экскаватора в результате выполнения которого
выдается одна порция продукции в объеме разгруженного из ковша грунта.
Одноковшовые экскаваторы могут разрабатывать грунты выше 8 и ниже 9
уровня своей стоянки соответственно рабочим оборудованием прямой и обратной лопат.
Одноковшовый экскаватор может иметь только один вид рабочего оборудования или
комплектоваться его сменными видами, устанавливаемыми на машину в зависимости
от выполняемых работ. В первом случае экскаваторы называют специальными, а во
втором - универсальными. К последним относится большинство строительных
экскаваторов. В нашей стране более 90% выпускаемых одноковшовых экскаваторов
являются универсальными.
1.3 Классификация по узлам и механизмам
Вообще, одноковшовые экскаваторы классифицируются по разным критериям:
типу шасси, типу привода, типу рабочего оборудования, возможности поворота
рабочего оборудования относительно опорной поверхности.
По возможности поворота рабочего оборудования относительно опорной
поверхности одноковшовые экскаваторы бывают полноповоротные и неполноповоротные
У полноповоротных экскаваторов рабочее оборудование, приводы, кабина
машиниста и двигатель устанавливаются на поворотной платформе, которая в свою
очередь устанавливается на шасси и может поворачиваться относительно него в
любую сторону на любой угол. У неполноповоротных рабочее оборудование
закрепляется на шасси с помощью поворотной колонки. Поворот рабочего
оборудования осуществляется на угол 45-90 градусов от начального положения.
Двигатель, механизмы, кабина машиниста размещены на неповоротном шасси. В
настоящее время неполноповоротными выполняются экскаваторы, навешиваемые на
тракторы.
По типу шасси экскаваторы бывают: навешиваемые на тракторы, на
автомобильном шасси, пневмоколесные, гусеничные, шагающие, железнодорожные,
плавучие и паровые.
Исходя из названия данного типа экскаваторов, в качестве базового шасси
используется трактор, чаще всего колёсный. Неполноповоротное экскаваторное
оборудование устанавливается сзади (реже сбоку) трактора, на специальной раме.
Характерный объём ковша - 0,2-0,5 метра кубического. Применяются для выполнения
небольших землеройных или погрузочных работ, чаще всего при ремонте инженерных
сетей.
Конструкция
рабочего оборудования позволяет оперативно переставлять ковш для работы прямой
или обратной лопатой. Ковш
<#"564773.files/image005.gif">
Рисунок 5. - Классификация экскаваторов по типу шасси
По типу двигателя одноковшовые экскаваторы подразделяются на паровые,
экскаваторы с двигателями внутреннего сгорания, электрические, с групповым
механическим канатным приводом (механические), с индивидуальным электрическим
приводом лебедок (электромеханические) и экскаваторы с гидравлическим приводом.
На паровых экскаваторах в качестве двигателя используется паровая машина.
Были распространены в начале 20-го века. В настоящее время не выпускаются.
Моментно-скоростные характеристики паровой машины и рабочего оборудования
экскаватора хорошо согласовываются, что упрощает механические передачи.
Моментно-скоростные характеристики двигателя внутреннего сгорания и
рабочего оборудования экскаватора несогласованны. Это требует применения на
механических экскаваторах согласующих передач (редукторов, гидротрансформаторов).
У гидравлических экскаваторов согласование обеспечивается гидравлическими
передачами.
В электрических экскаваторах для привода рабочего оборудования
используются электрические двигатели, получающие энергию от внешней сети или от
собственного дизель-электрического агрегата. Электрический привод с питанием от
внешней сети применяется для карьерных экскаваторов. Такие экскаваторы
экономичны и не загрязняют атмосферу карьера.
Электрический привод с питанием от собственного дизель-электрического агрегата
применяется в плавучих экскаваторах.
Экскаваторы, работающие во взрывоопасной среде (в шахтах) первичного
двигателя не имеют. Их гидравлическое оборудование питается жидкостью высокого
давления от внешней маслостанции.
По типу механических передач (приводов рабочего оборудования)
одноковшовые экскаваторы бывают: с групповым механическим канатным приводом
(механические), с индивидуальным электрическим приводом лебедок
(электромеханические) и экскаваторы с гидравлическим приводом.
У первого типа экскаваторов тяговое усилие к рабочим органам передается
посредством канатов (или цепей), движимых лебедками. Привод лебедок
осуществляется от двигателя экскаватора посредством механических передач
(зубчатых, цепных, фрикционных, червячных).
Универсальный экскаватор с механическим приводом оборудуется
трехбарабанной лебедкой. Стреловой барабан лебедки используется для привода
(подъема и опускания) стрелы. Подъемный барабан используется для подъема ковша
(или возврата рукояти при работе обратной лопатой). Тяговый барабан
используется для подтягивания ковша к экскаватору (при работе драглайном,
обратной лопатой). При работе прямой лопатой тяговый барабан связан с
механизмом напора рукояти.
Механический канатный привод широко применялся на экскаваторах в прошлом.
В современных моделях его применение сокращается.
У экскаваторов с индивидуальным электрическим приводом лебедок
(электромеханические) тяговое усилие к рабочим органам передается посредством
канатов (или цепей), движимых лебедками. Привод каждой лебедки и вспомогательных
механизмов осуществляется индивидуальным электрическим двигателем. Такой привод
применяется на тяжелых карьерных (в том числе и шагающих) и промышленных
экскаваторах.
В экскаваторах с гидравлическим приводом (гидравлические экскаваторы)
усилие на элементах рабочего оборудования создается гидроцилиндрами и
гиродвигателями. Двигатель экскаватора приводит во вращение гидравлический
насос, создающий давление рабочей жидкости в гидросистеме.
Через систему гидрораспределителей полости гидроцилиндров (гидродвигателей)
соединяются с напорной или сливной магистралями гидросистемы, что обеспечивает
перемещение рабочего оборудования. В нейтральном положении (при запертых
полостях гидроцилиндров) положение рабочего оборудования фиксируется. В
настоящее время гидравлические экскаваторы имеют преимущественное
распространение.
Так как одноковшовые экскаваторы являются универсальными машинами, то в
зависимости от характера выполняемых работ и условий их ведения применяются
следующие виды рабочего оборудования:
а) прямая лопата - для разработки грунтов, расположенных выше уровня
стоянки экскаватора;
б) обратная лопата - для разработки грунтов, находящихся ниже уровня
стоянки экскаватора (применяется преимущественно для рытья небольших котлованов
и траншей);
в) драглайн - для разработки грунтов, расположенных ниже уровня стоянки
экскаватора (применяется при рытье глубоких котлованов и широких траншей, при
возведении насыпей, на вскрышных и других работах);
г) грейфер для рытья колодцев, узких и глубоких котлованов;
д) струг - для планировочных работ в специфических условиях (когда
невозможно применить более производительные землеройно-транспортные машины);
е) скребок-засыпатель на стреле струга;
ж) засыпатель на стреле драглайна;
з) копер для забивки свай;
и) дизель-молот для разработки мерзлых грунтов;
к) корчеватель пней.
Рисунок 6. - Виды рабочего оборудования одноковшовых экскаваторов
Кроме перечисленного оборудования на экскаваторах используют крановое
оборудование, трамбующие плиты, клиновые и шаровые рыхлители для разрушения
мерзлых грунтов или для разделки негабаритного камня в карьерах.
1.4 Перспективы развития отрасли
Итак, мы рассмотрели современное состояние одноковшовых экскаваторов,
область их применения и эксплуатационные особенности. Дальнейшее же развитие
получит строительная техника с ковшами малой емкости.
Проведенные исследования показали, что лучшими являются многомоторные
гидравлические и электрические приводы, которые обеспечивают независимость
основных рабочих движений для совмещения различных операций. Предусматривается
широкая унификация узлов и элементов систем гидравлических и электрических
приводов. Степень унификации деталей при многомоторном приводе доходит до 74%
вместо 16% при одномоторном приводе. Предполагается выпуск новых видов сменного
рабочего оборудования экскаваторов: для планировочных и завистных работ,
для рытья котлованов с вертикальными стенками и др.
В то же время основное направление развития экскаваторостроения -
увеличение производительности экскаваторов за счёт применения машин всё большей
единичной мощности. Изменение структуры парка экскаваторов произойдёт и в связи
с внедрением гидравлических экскаваторов. Доля легированных сталей в
конструкции экскаваторов малой мощности возрастет до 35-40%, средней мощности -
до 40-50%, большой мощности - до 70-80% массы экскаватора. Увеличение скорости
рабочих движений экскаватора вызовет уменьшение продолжительности его рабочего
цикла. Создаются роторные экскаваторы для разработки пород с большим удельным
сопротивлением копанию, траншеекопатели производительностью 2500-3000 м3/ч для
работы в мёрзлых породах со скоростью 400-500 м/ч, т. е. в 10-20 раз быстрее и
в 5-6 раз экономичнее, чем существующие экскаваторы этого класса. Широкое
применение получат так называемые экскаваторы - малютки массой не более 300 -
800 кг.
1.5 Основные производители
В настоящее время на российском рынке отечественными и зарубежными
производителями строительной техники представлен большой выбор экскаваторов с
широким диапазоном характеристик‚ подчеркиваемых производителями в качестве
существенных отличий своей техники от продукции остальных.
Концерн
с мировым именем и давними традициями производства строительных машин и
экскаваторов в частности - Hitachi Construction Machinery Co
<#"564773.files/image007.gif">
Рисунок 7. - Устройство, изменяющее угол между стрелой
и гидроцилиндром
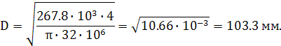
В патенте 2 предлагается рабочее оборудование, а именно стрела, позволяющая
увеличить надежность, снизить металлоемкость рабочего оборудования (Рис. 8).
Рабочее оборудование содержит стрелу, выполненную в форме неправильного
многоугольника, ее боковины выполнены по длине переменного сечения за одно
целое с кронштейном под установку шарнира цилиндра стрелы и образует короб для
размещения трубопроводов привода рукояти и ковша.
Рисунок 8. - Стрела одноковшового гидравлического экскаватора
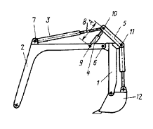
В патенте 3 описывается рабочее оборудование одноковшового
гидравлического экскаватора, позволяющее снижать перегрузки на гидроцилиндры
(Рис. 9). Устройство содержит стрелу 3, гидроцилиндр 4, соединенный с
гидроцилиндром 5 через рычаг 6. Шток гидроцилиндра 7 соединен с телескопической
частью рукояти 8 и шарнирным кулисным звеном 10. Особенность оборудования
состоит в том, что при повышении нагрузок от рабочего оборудования на шток
гидроцилиндров плечо приложения силы от гидроцилиндра автоматически
увеличивается, что снижает нагрузку на гидроцилиндрах.
Рисунок 9. - Рабочее оборудование одноковшового гидравлического
экскаватора
Патент 4 содержит описание рабочее оборудование одноковшового
экскаватора, позволяющее расширить его функциональные возможности (Рис. 10).
Рабочее оборудование содержит шарнирно соединенную со стрелой 7, ковшом 8 и
гидроцилиндрами поворота рукояти 9 и ковша 10 рукоять 1 коробчатого сечения.
Коробчатое сечение рукояти 1 образовано четырьмя плоскостями и выполнено с
открытыми торцами 2. В плоскости рукояти 1 установлены гидроцилиндры 13 ее
перекоса, расположенные по диагоналям коробчатого сечения. Сечение рукояти 1
выполнено расширяющимся в сторону стрелы 7, гидроцилиндры 13 перекоса рукояти 1
размещены только в расширенной части ее полости, а в центральной части ее
полости установлена диафрагма 14, Преимущественно шарнирные узлы 3 соединения
рукояти 1 со стрелой 7 размещены в крайней ее части, а шарнирный узел 5
соединения рукояти 1 с гидроцилиндром 9 поворота рукояти 1 - в ее центральной
части. Гидроцилиндрами 13 перекоса рукояти перекашивают ее коробчатое сечение,
придавая ему на краях противоположную ориентацию деформации. Вследствие этого
оси шарнирных узлов 3, 5 соединения рукояти 1 со стрелой 7 и ковша 8 с
рукоятью 1 оказываются повернутыми относительно друг друга.
Рисунок 10. - Рабочее оборудование одноковшового экскаватора
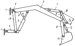
В патенте 5 описывается изобретение, которое может быть использовано для
разработки прочных или мерзлых грунтов (Рис. 11). Оно позволяет повысить
надежность работы рабочего оборудования при упрощении его конструкции. Рабочее
оборудование состоит из рукояти 1, стрелы 2, силового цилиндра 3 управления
рукоятью, дополнительного гидроцилиндра 4 и качающейся шарнирной тяги 5. Шток 8
силового цилиндра связан с рукоятью через качающуюся тягу с возможностью
фиксированного перемещения относительно рукояти посредством дополнительного
гидроцилиндра. Шарнир 10 тяги связан с рукоятью. При росте расстояния А между
шарнирами 6 и 9 усилие на зубьях ковша 12 возрастет. Тяга работает на
растяжение или сжатие, чем повышается надежность работы рабочего оборудования.
Рисунок 11. - Рабочее оборудование одноковшового экскаватора
В патенте 6 предлагается рабочее оборудование обратной лопаты
гидравлических одноковшовых экскаваторов (Рис. 12). Изобретение включает
изогнутую стрелу и связанную с ней шарнирно телескопически раздвижную
рукоять, состоящую из основной и вспомогательной телескопически выдвижной
частей с смонтированным на внешнем конце последней ковшом. Гидродомкраты для
поворота стрелы и рукояти. Гидродомкрат телескопической раздвижки рукояти.
Вспомогательная телескопически выдвижная часть установлена с возможностью
совершения строго направленного возвратно-поступательного перемещения на
максимальную длину посредством гидродомкрата раздвижки относительно жесткого
направляющего устройства. Вспомогательная телескопически выдвижная часть
рукояти выполнена в виде прямоугольной пустотелой призмы с взаимно
параллельными гранями. Жесткое направляющее устройство выполнено в виде
охватывающей прямоугольной призмы с параллельными гранями, составленной
боковыми и задней поверхностями основной части рукояти и пластиной,
закрепленной внутри нее на всю длину перемещения вспомогательной телескопически
выдвижной части рукояти. Гидродомкрат телескопической раздвижки рукояти
размещен внутри вспомогательной телескопически выдвижной части. Повышается
надежность работы экскаватора.
Рисунок 12. - Рабочее
оборудование обратной лопаты гидравлических одноковшовых экскаваторов
2. Описание и работа экскаватора
.1 Назначение экскаватора
Одноковшовый экскаватор ЕК-14 представляет собой
многоцелевую землеройную машину, предназначенную для разработки котлованов,
траншей, карьеров в грунтах 1-IV
категорий, погрузки и разгрузки сыпучих материалов, разрыхленных скальных пород
и мерзлых грунтов (при величине кусков не более 200 мм), а также для других
работ в условиях промышленного, городского, сельского, транспортного и
мелиоративного строительства.
Экскаватор сохраняет работоспособность в диапазоне
температур окружающего воздуха от -40°С до +40°С.
.2 Технические характеристики
экскаватора
Емкость ковша, м. куб. 0,8 (0,4; 0.5, 0.65)
Вес экскаватора, оборудованного обратной лопатой, т
13,4
Двигатель Д-245 (Д105)
Мощность двигателя. кВт (л с.) 77(105)
Частота вращения вала двигателя, об/мин 2200(2000)
Мощность насосной установки, кВт (л.с.) 51,5(70)
Давление к гидросистеме, МПа (кгс/см2) 28
(280)
Давление в пневмосистеме, МПа (кгс/см2)
0.6...0,7 (6,0.7)
Суммарная подача насоса, л/мин 265 (120-120+25)
Вместимость гидросистемы экскаватора, л 360
Частота вращения поворотной платформы, об/мин 9
Скорость передвижения, км/ч 25 (22)
Напряжение в электросистеме, В 12
Глубина копания, м 4,89
Радиус копания на уровне стоянки, м 7,92
Высота выгрузки, м 5,72
Геометрические характеристики, м:
ширина 2500;
высота 3140.
Рисунок 13. - Геометрические характеристики
экскаватора
Гидравлическая система экскаватора предназначена для
привода силовых механизмов: передвижения, попорота платформы, рабочего
оборудования, выносных опор - отвала (1 контур), гидроуправления (2 контур) и
рулевого управления (3 контур).
2.3 Описание гидравлической схемы экскаватора
При нейтральном положении золотников
парораспределителя рабочая жидкость засасывается из гидробака
"Б" встроенным насосом НА, подается но трубопроводам в
напорно-сливные секции парораспределителя Р1 и по переливным каналам поступает
в сливные каналы плиты. Затем она поступает в сливную магистраль и
маслоохладитель АЗ, где охлаждение рабочей жидкости производится потоком
воздуха создаваемого автономным вентилятором. Далее рабочая жидкость поступает
в фильтры Ф1.1. и. Ф1.2 для очистки и в гидробак Б.
2.3.1 Гидропривод экскаватора
При включении рукояткой управления ходом одного из
золотников блока управления Р2, например 1, поток жидкости поступает к торцу
золотника рабочей секции хода гидрораспределителя Р1 и перемещает его. В то же
время управляющий поток через блоки клапанов поступает под торец золотника в
напорно-сливной секции (с предохранительными клапанами), перемещает его и тем
самым перекрывает канал слива в секции. Рабочая жидкость от правой регулируемой
секции встроенного насоса НА адресуется из гидрораспределителя через золотник
секции хода в центральный коллектор А1 и противообгонный клапан,
установленный на гидромоторе БК1. Под давлением рабочей жидкости золотник
клапана передвигается и открывает напорный капля гидромотора хода. Одновременно
открывается и сливной канал в противообгонном клапане. В результате вал
гидромотора начинает вращаться, осуществляя привод механизма хода экскаватора.
Произведя работу, рабочая жидкость через противообгонный клапан, центральный
коллектор А1 гидрораспределителя Р1, маслоочиститель А3, фильтры Ф1.1. и Ф1.2.
сливается в бак "Б".
С целью увеличения скорости передвижения экскаватора
вперед предусмотрен добавочный поток, который включается рукояткой золотника 5
в блоке управления Р2. Давление управления поступает под торец золотника 5 в
рабочей секции "Добавка хода - гидромолот" парораспределителя Р1 и
перемещает его. Одновременно управляющая жидкость поступает через боки клапанов
"ИЛИ" "л", "м", "к" под торец золотника
в напорно-сливной секции (без предохранительных клапанов) гидрораспределителя
Р1 и перемещает его, тем самым отсекая сливную магистраль. Рабочая жидкость
левой регулируемой секции встроенного насоса НА адресуется к гидромотору хода.
Без включения основного золотника хода при включении только добавки хода
движения не происходит. Перед центральным коллектором А1 производится
объединение двух потоков. Далее рабочая жидкость поступает и производит работу
в исполнительных гидромоторах, принцип работы, которых будет описан ниже.
Для увеличения скорости передвижения экскаватора на
гидромоторе хода установлен регулятор. Включением педального блока управления
Р7 поток жидкости через центральный коллектор А1 поступает в регулятор
гидромотора хода и отклоняет его качающий узел, тем самым снижая рабочий объем
гидромотора М2 и увеличивая скорость его вращения.
Чтобы изменить направление передвижения экскаватора,
следует включить рукояткой другой
золотник блока управления Р2, например 2. Процессы, происходящие в гидроприводе
идентичны описанным выше.
Для защиты регулируемых насосов встроенного насоса НА от перегрузок,
вызванных чрезмерным повышением давления, служат предохранительные клапаны КП1
и КП2, вмонтированные в одну из напорно-силовых секций парораспределителя Р1.
Для ограничения давления, возникающего в гидромоторе
М2 под действием инерционных нагрузок при разгоне и торможении, служат
предохранительные клапаны КП11 и КП12, расположенные в корпусе противообгонного
гидроклапана. Указанные клапаны играют роль переливных клапанов. При
срабатывании одного из клапанов рабочая жидкость поступает из одной полости
гидромотора в другую полость. Если в одной из полостей гидромотора возникает
разряжение, то рабочая жидкость имеет возможность поступать в гидромотор из
сливного канала через золотник в секции хода парораспределителя Р1, т. к в
нейтральной позиции рабочие отводы золотника не заперты и сообщаются со сливом.
Для предотвращения самопроизвольного разгона экскаватора при езде под уклон
перед гидромотором хода установлен противообгонный гидроклапан, который
регулирует величину потока рабочей жидкости, препятствуя неуправляемому
процессу разгона гидромотора хода и росту
скорости движения экскаватора
2.3.2 Гидропривод поворота платформы
При включении рукояткой одного из золотников блока
управления Р3.2., например М, управляющий поток жидкости поступает к торцу
соответствующего золотника рабочей секции поворота платформы парораспределителя
Р1 и перемещает его. Одновременно управляющий поток через блоки клапанов
поступает под торец золотника в напорно-сливной секции (с предохранительными
клапанами). Золотник перемещается, тем самым перекрывается канал слива в
секции, и рабочая жидкость от правой регулируемой секции встроенного насоса НА
адресуется через золотник секции поворота платформы в одну из полостей
гидромотора поворота платформы. Произведя работу, рабочая жидкость сливается из
другой полости гидромотора через золотник секции поворота платформы, сливной
канал в плите гидрораспределителя Р1 в маслоохладитель АЗ, фильтры Ф1.1. и Ф1.2
и далее в гидробак "Б".
Гидромотор М1 от перегрузок защищают предохранительные
клапаны КП13 и КП14, переливая рабочую жидкость из полости давления мотора в
полость слива.
В случае возникновения разряжения в одной из полостей
гидромотора рабочая жидкость поступает из сливной магистрали через подпиточные
клапаны, вмонтированные в секцию попорота платформы парораспределителя Р1.
Для включения поворота платформы в другую сторону
следует рукояткой блока управления Р3.2. нажать на золотник 13 блока. Процессы,
происходящие в гидроприводе, идентичны описанным выше.
Буксировочный кран Л5, установленный в корпусе
клапанов А4, служит для объединения полостей гидромотора М2 между собой при
буксировке экскаватора тягачом.
2.3.3 Гидропривод выносных опор - отвала
При включении рукояткой одного из золотников блока управления Р4,
например 3, управляющий поток жидкости поступает к торцу соответствующего
золотника рабочей секции выносных опор - отвала гидрораспределителя Р1 и
перемещает его. Одновременно управляющий поток через блоки клапанов поступает
под торец золотника в напорно-сливной секции (с предохранительными клапанами),
перемещает его, тем самым перекрывает канал слива в секции. Рабочая жидкость от
правой регулируемой секции встроенного насоса НА адресуется через золотник
секции выносных опор - отвала в центральный коллектор А1 и далее через
гидрозамки ЗМ1.3 и ЗМ1.4. в поршневую полость гидроцилиндров Ц.1.1. и Ц3.2.
отвала. Происходит опускание отвала. Из штоковой полости рабочая жидкость через
центральный коллектор, золотник секции выносных опор отвала, сливные каналы в
плите гидрораспределителя Р1, маслоохладитель, фильтры Ф1.1. и Ф1.2. поступает
в гидробак "Б". Подъем и опускание выносных опор возможен только при
включенном пневмогидравлическом клапане Р5 (стояночном тормозе). Таким образом,
при включенном стояночном тормозе давление сжатого воздуха подводится к
пневмогидравлическому клапану Р5 и переключает его. Рабочая жидкость получает
возможность поступать параллельно через клапан пневмогидравлический Р5,
гидрозамки ЗМ1.1. и ЗМ1.2. в гидроцилиндр выносных опор Ц2.1. и Ц2.2. Слив
рабочей жидкости из штоковой полости гидроцилиндров выносных опор происходит по
схеме, описанной ниже. Для подъема опор необходимо рукояткой включить, золотник
4 блока управления Р4. Процессы, происходящие в гидроприводе, идентичны
описанным выше.
2.3.4 Гидропривод рукояти
При включении рукояткой одного из золотников блока
управления Р3.2, например 12, управляющий поток рабочей жидкости через
распределитель Р6.1 поступает к торцам золотников секций "Рукоять I" и "Рукоять II" и перемещает их, тем самым
соединяя рабочий отвод секции поршневой полости гидроцилиндра рукояти с
напором, а другой рабочий отвод штоковой полости - со сливом. Одновременно
управляющий поток через блоки клапанов поступает под торец золотника в
напорно-сливной секции (с предохранительными клапанами) перемещает его, тем
самым перекрывает канал слива в секции. Рабочая жидкость от правой регулируемой
секции строенного насоса НА адресуется по напорному каналу в плите через
золотник в секции "Рукоять I"
в поршневую полость гидроцилиндра рукояти. В то же самое время управляющий
поток со стороны распределителя Р6.1 через блоки клапанов поступает под торец
золотника в напорно-сливной секции (без предохранительных клапанов), перемещает
его и тем самым перекрывает канал слива в секции. Рабочая жидкость от левой
регулируемой секции встроенного насоса МЛ адресуется по напорному каналу в
плите и через золотник в секции "Рукоять II" в поршневую полость гидроцилиндра рукояти, объединяясь
в трубопроводах с потоком от секции "Рукоять I".
Рабочая жидкость из штоковой полости гидроцилиндра
рукояти через золотники секций "Рукоять 1" и "Рукоять II", сливные каналы о плите
перераспределяя Р1, маслоохладитель АЗ, фильтры Ф1.1., Ф1.2 поступает в гидробак "Б".
Для включения отворота рукояти необходимо рукояткой
включить золотник из блока управления Р3.2. Процессы, происходящие в
гидроприводе, идентичны описанным выше.
При совмещении движения рукояти с движением стрелы и
ковша управляющий поток через блоки клапанов "ИЛИ" "р",
"о", "п" переключает распределитель Р6.1 в другую позицию,
в результате чего золотник в секции "Рукоять II" возвращается в нейтральное положение.
Для ограничения давления в полостях гидроцилиндра
рукояти в секцию "Рукоять II"
вмонтированы клапаны КП9 и КП10, которые одновременно выполняют функции
подпиточных клапанов при возникновении разряжения в полостях гидроцилиндра
рукояти.
2.3.5 Гидропривод стрелы
При включении рукояткой одного из золотников блока
управления РЗ.1, например 7, управляющий поток рабочей жидкости поступает под
торец золотника секции "Стрела" парораспределителя Р1 и перемещает
его, тем самым соединяя рабочий отвод секции поршневой полости гидроцилиндра
стрелы с напором, а другой рабочий отвод штоковой полости со сливом.
Одновременно управляющий поток через блоки клапанов поступает под торец
золотника и напорно-сливной секции (без предохранительных клапанов), перемещает
его, тем самым перекрывает канал слива в секции.
Таблица 1. - Наименование и обозначение составных частей гидропривода
экскаватора
|
Обозначение
|
Наименование
|
Кол-во
|
|
А1
|
Коллектор центральный 314-02-71.00.850
|
1
|
|
А2
|
Механизм рулевой. насос-дозатор НДМ80-250-12.5-У
ТУ23.5785851-91
|
1
|
|
А3
|
Калорифер 313-00-80.06.700-10
|
1
|
|
А4
|
Блок переливных клапанов ЭО-3323А.08.07.400
|
1
|
|
А5
|
Кран запорный ЭО-3323А.08.07.500-10
|
1
|
|
А6.1-А6.2
|
Блок плавающего положения стрелы 314-02-80.01 020/030
|
2
|
|
А7
|
Кран буксировочный 314-02-71.00.450
|
1
|
|
АК
|
Пневмогидроаккумулятор 64002.00.000
|
1
|
|
Б
|
Гидробак 314-02-80.11.000-10
|
1
|
|
БК
|
Противообгонное устройство ПОУ У4620.41.00.000
|
1
|
|
ВН1.1-ВН1.2
|
Включатель манометра ЭО-3323.01.82.680
|
2
|
|
ВН2.1-ВН2.4
|
Включатель манометра ЭО-3323А 23.02.260
|
4
|
Датчик температуры ТМ100А с указателем температуры УК-133-М
|
1
|
|
ЗМ1.1-ЗМ1.4
|
Гидрозамок двухсторонний 13.71.80.630/640
|
4
|
|
КО1
|
Клапан предохранительный ЭО-3323.08.07.110-20
|
1
|
|
КО2
|
Клапан предохранительный ЭО-3323.08.07.110-10
|
1
|
|
М1
|
Гидромотор аксиально-поршневой 303.3.112.501
|
1
|
|
М2
|
Гидромотор аксиально-поршневой 310.3.56.00
|
1
|
|
МН1
|
Манометр МПЗ-60 МПа х 1,5 черт. 1 ТУ25.02.943-74
|
1
|
|
МН2
|
Манометр масляный с демпфером МТ3-60-100 ГОСТ 8625-77
|
2
|
|
МН3
|
Манометр масляный с демпфером МТ3-60-160 ГОСТ 8625-77
|
2
|
|
МН4
|
Манометр масляный с демпфером МТ3-60-10 ГОСТ 8625-77
|
1
|
|
НА
|
Насосный агрегат 333.3.55.100.220
|
1
|
|
Р1
|
Гидрораспределитель 314-520.00ГР
|
1
|
|
Р2
|
Блок управления 13.80.04.400
|
1
|
|
Р3
|
Блок управления 13.80.04.450
|
1
|
|
Р4.1-Р4.2
|
Блок управления 13.80.04.500
|
2
|
|
Р5
|
Блок управления 13.80.04.920
|
1
|
|
Р6
|
Гидрораспределитель ЭО-3323А.07.21.010
|
1
|
|
Р7
|
Клапан пневмогидравлический ЭО-3322Б.60.05.000
|
1
|
|
Ц1.1-Ц1.2
|
Гидроцилиндр стрелы (110х70-1100)313-00-23.95.000-10
|
2
|
|
Ц2
|
Гидроцилиндр рукояти (125х90-1100)125-90-11.01.000
|
1
|
|
Ц3
|
Гидроцилиндр ковша (110х70-900)313-00-23.94.000
|
1
|
|
Ц4.1-Ц4.2
|
Гидроцилиндр выносных опор (125х80-400) ЭО-3323А.71.80.300
|
2
|
|
Ц5.1-Ц5.2
|
Гидроцилиндр отвала (100х63-250)13.20.69.000
|
2
|
|
Ц6.1
|
Гидроцилиндр поворота колес правый ЭО-3323.71.80.300
|
|
Ц6.2
|
Гидроцилиндр поворота колес левый ЭО-3323.71.80.400
|
1
|
|
НШ
|
Насос шестеренчатый НШ-10-3 ГОСТ 8753-80
|
|
Рабочая жидкость от левой регулируемой секции
строенного насоса НА адресуется по напорному каналу в плите через золотник в
секции "Стрела"' в поршневую полость гидроцилиндров стрелы.
Рабочая жидкость от правой секции строенного насоса НА
через золотник напорно-сливной секции (с предохранительными клапанами)
адресуется в напорный канал плиты гидрораспределителя Р1, где объединяется с
потоком рабочей жидкости, от левой секции насоса НА.
Из штоковой полости гидроцилиндра стрелы рабочая
жидкость поступает через золотник секции "Стрела" в сливные каналы
плиты распределителя Р1 и далее в маслоохладитель АЗ, фильтры Ф1 1 и Ф1.2, в
гидробак'"Б".
Для нагнетания давления в полостях гидроцилиндра
стрелы в секцию "Стрела" вмонтированы клапаны КП5 и КП6, которые
одновременно выполняют функции подпиточных клапанов при возникновении
разряжения в полостях гидроцилиндра стрелы.
Для включения опускания стрелы необходимо рукояткой
включить золотник 8 блока управлений Р3.1
Процессы, происходящие в гидроприводе, идентичны
описанным выше.
.3.6 Гидропривод ковша
При включении рукояткой одного из золотников блока
управления Р3.1, например 9, управляющий поток рабочей жидкости поступает под
торец золотника рабочей секции “Ковш” гидрораспределителя Р1 и перемешает его,
тем самым соединяет рабочий отвод секции
поршневой полости гидроцилиндра ковша с напором, а рабочий отвод штоковой
полости - со сливом. Одновременно управляющий поток через блоки клапанов
поступает под торец золотника в напорно-сливной секции (без предохранительных
клапанов), перемещает его, тем самым перекрывает клапан слива в секции. Рабочая
жидкость от левой регулируемой секции встроенного насоса НА адресуется по
напорному каналу в плите через золотник в секции "Ковш" в поршневую
полость гидроцилиндра ковша.
Рабочая жидкость от правой секции встроенного насоса
НА через золотник напорно-сливной секции (с предохранительными клапанами)
адресуется в напорный капал плиты гидрораспределителя Р1 где объединяется с
потоком рабочей жидкости от левой секции насоса НА.
Из штоковой полости гидроцилиндра ковша рабочая
жидкость поступает через золотник рабочей секции "Ковш"' в сливные
каналы плиты распределителя Р1 и далее в маслоохладитель АЗ фильтры Ф1 и Ф1 2.
в гидробак "Б".
Для ограничения давления в полостях гидроцилиндра
ковша в секцию "Ковш" вмонтированы клапаны КП7 и КП8, которые
одновременно выполняют функции подпиточных клапанов при возникновении
разряжения в полостях гидроцилиндра ковша
Для включения поворота ковша (штоковая полость)
необходимо рукояткой включить золотник 10 из блока управления Р3.1. Процессы,
происходящие в гидроприводе, идентичны описанным выше. Гидросхема обеспечивает
следующие гарантированные совмещения движений:
Поворот платформы - Стрела - Ход экскаватора - Рукоять
Рукоять - Стрела
Ковш - Отвал
Стрела - Рукоять
Ковш - Рукоять
2.3.7 Гидропривод вентилятора
маслоохладителя и гидроуправления
На двигателе экскаватора смонтирован насос
шестеренного типа НШ. Рабочая жидкость от него подается через клапан подпорный
КО1 на гидромотор М3 аксиально-поршневого типа, вал которого вращает крыльчатку
вентилятора маслоохладителя А3. Далее рабочая жидкость попадает в сливную
магистраль, маслоохладитель А3, фильтры Ф 1.1 и Ф1.2, далее в гидробак Б.
Давление в системе ограничивается клапаном предохранительным
КП19, настроенным на заводе-изготовителе. От этого же насоса с одной стороны
запитывается пневмоаккумулятор АК. управляющий поток от которого подводится к
блокам управления Р2,Р3.1, Р3.2,Р4 которые соединены с рабочими секциями
гидрораспределителя Р1.
.3.8 Гидропривод рулевого управления
Рабочая жидкость от третьей нерегулируемой секции
строенного насоса НА поступает в рулевой механизм А2 и далее через центральный
коллектор к исполнительным гидроцилиндрам поворота колес Ц4.1 и Ц4.2.
Таким образом, поворотом рулевого колеса влево и
вправо осуществляется поворот колес в соответствующие стороны.
3. Расчет основных параметров
.1 Подбор гидроцилиндра средней секции стрелы
гидравлический одноковшовый экскаватор стрела
3.1.1 Расчет нагрузки на рукояти стрелы
Расчет предельной нагрузки производим по максимальному давлению на
клапанах гидроцилиндра поворота ковша при условии, что вылет стрелы максимален,
а ковш зацепился за абсолютно жесткую, прочную и устойчивую поверхность.
Предохранительные клапаны поворота ковша настраиваются на давление 28
МПа. Гидроцилиндр Ц6: 110х70х900 313-00-23.94.000.
Рассчитаем нагрузку на гидроцилиндр:
где
- максимальное давление в гидроцилиндре;
- площадь поршневой полости гидроцилиндра.
Найдём площадь поршневой полости гидроцилиндра:
=110 мм=0.11 м.
Нагрузка на гидроцилиндр:
Для того, чтобы найти нагрузку на рукояти, необходимо
рассмотреть схему нагрузок на ковше.
Рисунок 14. - Схема нагрузок на ковше
Зубья ковша являются мгновенным центром сил, поэтому
мы можем найти нагрузку на рукояти:
3.1.2 Расчёт нагрузки на гидроцилиндр
средней секции стрелы
Для того, чтобы найти усилие в гидроцилиндре,
необходимо рассмотреть схему усилий в стреле и опоре.
Рисунок
15. - Схема усилий в стреле
Найдём
реакции в шарнире А и усилие на гидроцилиндре
:
Составим
уравнение суммы моментов относительно точки А:
;
Составим уравнение суммы усилий относительно
горизонтальной оси:
Составим уравнение суммы усилий относительно
вертикальной оси:
Зная все реакции и усилие в поддерживающих стрелу
гидроцилиндрах, найдём нагрузку
в подбираемом гидроцилиндре с помощью метода вырезания
узлов.
А) Имеем одну неизвестную
Б)
Имеем две неизвестных
и
.

3.1.3 Подбор гидроцилиндра
Предохранительные клапаны гидроцилиндра настраиваются
на давление 32 МПа.
Принимаем гидроцилиндр 110х55х1000 23.94.000 массой 88
кг.
3.2 Прочностные расчёты
.2.1 Расчёт пальцев на срез
Принимаем материал для пальцев и проушин: Ст5, имеющую
удовлетворительную свариваемость.
Допускаемые напряжения:
- на срез:
на смятие:
на растяжение:
Рисунок
16. - Схема крепления гидроцилиндра к стреле
Палец
будем подбирать по допускаемым напряжениям.
Палец
имеет 2 плоскости среза.
Принимаем
диаметр пальца равным 50 мм.
3.2.2 Расчёт на смятие проушин
Проушины будем рассчитывать по допускаемым напряжениям на смятие.
Необходимо, чтобы
Прочность обеспечивается.
3.2.3 Расчёт на смятие стержня
Прочность обеспечивается.
3.2.4 Расчёт сварки проушины
Сварку будем рассчитывать по допускаемым напряжениям.
Рисунок 17. - Схема для расчёта сварки
Найдём горизонтальную и вертикальную составляющие усилия в гидроцилиндре:
Принимаем катет шва равным 5 мм.
Находим расчетную ширину шва:
Считается, что шов разрушается под действием касательных напряжений,
найдём их:
Где
- площадь внутри шва.
Рисунок 18. - Габаритные размеры шва
Руководствуясь размерами проушины и пальца, принимаем:
Находим суммарное напряжение:
Необходимо, чтобы
Где
- коэффициент, учитывающий качество шва;
- коэффициент, учитывающий неравномерность нагружения.
Принимаем
Прочность сварки обеспечивается.
Заключение
В процессе модернизации рабочего оборудования базовой машины ЕК-14 были
приобретены навыки по подбору гидроцилиндров, расчёту предельных нагрузок,
расчёту на прочность таких элементов, как проушины, пальцы, а также сварки.
Была изучена базовая машина, выявлены её недостатки и преимущества,
спроектирован новый вид стрелы с изменяемой геометрией.
В результате работы был подобран гидроцилиндр средней
секции стрелы, произведены прочностные расчёты, изучены критические нагрузки.
Также, были укреплены знания по рабочим процессам экскаваторов, принципам их
работы, функционированию различных узлов.