Двигатель мощностью Ne=100 кВт для привода генератора
Дипломная
работа по теме:
Двигатель
мощностью Ne = 100 кВт для привода генератора
Введение
В современном мире двигатель внутреннего
сгорания занимает одно из основных мест по энергопроизводству. По сравнению с
любыми другими тепловыми двигателями он является наиболее экономичным. Высокая
экономичность, малая металлоёмкость, надёжность и относительная долговечность
делает этот тип тепловых двигателей универсальным в различных областях
промышленности.
Одним из определяющих факторов при проектировании
и выборе типа двигателя является экономичность. Топливо в ряде случаев
составляет ощутимую долю массы транспортного средства и требует для своей
перевозки увеличения габаритов средства, а, следовательно, и мощности
двигателя. Кроме того, в виду современной ситуации на нефтяном рынке, ожидается
постоянное удорожание горюче-смазочных материалов. Улучшение экономичности
двигателя связано с ростом давлений и температур цикла, что ведёт в свою
очередь к росту токсичности и шума. А это ещё одна проблема, с которой
приходится постоянно сталкиваться, особенно при разработке двигателей
используемых в крупных населённых пунктах. Таким образом, при проектировании
двигателя учитываются следующие факторы:
Мощность должна обеспечивать технические
параметры изделия, и в конструкцию должна быть заложена возможность повышения
мощности.
Частота вращения вала отбора мощности должна
обеспечиваться та, которую задаёт потребитель.
Число цилиндров выбирается минимальным для
заданных эффективной мощности Ne и частоты вращения n при допустимом по
параметрам вырабатываемой энергии значений среднего эффективного давления Pe.
Масса и габариты зависят от назначения
двигателя, определяются литровой массой, числом и расположением цилиндров.
Экономичностью по горюче-смазочным материалам.
Так же при проектировании необходимо учитывать
развитие науки и средств производства, применять новые технологии,
обеспечивающие лучшие показатели по всем вышеуказанным параметрам, а также
учитывать развитие существующих двигателей с учетом времени.
1. Выбор исходных параметров
Тип двигателя: дизель-генератор мощностью
,
.
1.1 Выбор прототипа
В качестве прототипа выбран двигатель
6V90°Ч13/14 ЯМЗ-236Г имеющий следующие характеристики:
Количество цилиндров: i = 6;
Расположение цилиндров: V-образное под углом
90°;
Диаметр цилиндра/ход поршня, см: 13/14;
Рабочий объем всех цилиндров, л: 11,15;
Степень сжатия ε: 16,5;
Номинальная мощность, кВт: 110;
Частота вращения коленчатого вала на номинальном
режиме, об/мин: 1700.
1.2 Исходные данные
Мощность двигателя:
;
Условия окружающей среды:
;
;
Действительная степень сжатия:
;
Коэффициент избытка воздуха:
;
Частота вращения коленчатого вала:
;
Давление отработанных газов:
;
Коэффициенты использования теплоты:
;
Температура отработанных газов:
;
Механический КПД:
;
Теплотворная способность топлива:
;
Подогрев заряда от стенок цилиндров:
;
Состав топлива:
;
Максимальное давление цикла:
;
Коэффициент полноты диаграммы:
.
Коэффициенты дозарядки и очистки объема цилиндра
сжатия:
;
.
2. Расчет рабочего процесса
.1 Расчет процесса наполнения
Определим давление
в
начале сжатия:
.
Определим коэффициент наполнения
(для
дизеля:
и
,
):
Расчёт γг
(4-тактный двигатель без наддува):
.
Найдем температуру
рабочей
смеси в конце наполнения:
- это температура
свежего заряда, получившего теплоту от внутренних стенок цилиндра и остаточных
газов, оставшихся в цилиндре от предыдущего цикла.
.
2.2 Расчет процесса сжатия
В действительном рабочем цикле сжатие
представляет процесс с переменным показателем политропы. Практически переменный
показатель заменяется средним показателем
,
величина которого обычно лежит в пределах 1,32-1,39. Сжатие в большинстве
случаев сопровождается в среднем некоторым теплоотводом от рабочего тела.
Однако общая отдача теплоты незначительна и поэтому процесс сжатия в двигателях
мало отличается от адиабатного.
;
определим из
форумулы:
;
Пусть
тогда
в первом приближении:
, тогда
.
Второе приближение:
, тогда
.
Третье приближение:
, тогда
.
Следовательно:
Температура в конце сжатия:
Давление в конце сжатия:
Средняя теплоемкость при сжатии:
.
2.3 Термохимический расчет и
термодинамический расчет процесса сгорания
Для 1 кг топлива среднего состава массовые
количества углерода, водорода и кислорода:
С = 0,870; H = 0,126; О = 0,004; S = 0; С + Н +
O + S = 1;
Количество воздуха, теоретически необходимое для
полного сгорания 1 кг топлива (в кмоль/кг):
.
Количество свежего заряда для дизеля (в
кмоль/кг):
.
Количество продуктов полного сгорания (в
кмоль/кг):
Теоретический коэффициент молекулярного
изменения:
Действительный коэффициент молекулярного
изменения:
.
Коэффициент молекулярного изменения в точке z:
.
Максимальная температура сгорания
(термодинамическое
уравнение сгорания для дизелей):
;
Степень повышения давления:
;
;
;
Подставляем в уравнение:
;
Решая относительно
,
получаем:
Т.к. для дизелей
лежит
в пределах 1800 - 2200К, то найденное
=
1937,78 К является допускаемым.
2.4 Расчет процесса расширения
Степень предварительного расширения определяется
равенством:
;
Степень последующего расширения
:
;
;
;
Средний показатель политропы расширения
принимаем в первом приближении
:
;
Во втором приближении
:
;
Во третьем приближении
:
;
В итоге принимаем:
.
Давление в конце расширения:
;
Температура в конце расширения:
.
Проверка по формуле Мазинга:
;
Т.к. разница
,
то найденные значения соответствуют требованиям.
2.5 Индикаторные показатели
двигателя
Среднее индикаторное давление теоретического
цикла:
Среднее индикаторное давление действительного
цикла:
Индикаторный к.п.д.:
Удельный индикаторный расход топлива:
2.6 Эффективные показатели двигателя
Среднее эффективное давление:
;
Эффективный КПД:
;
Удельный эффективный расход топлива:
.
2.7 Выбор основных размеров рабочего
цилиндра
Двигатель четырехтактный, 6-и цилиндровый,
мощностью 100 кВт. Номинальная мощность достигается при частоте вращения
коленчатого вала n = 1500 об/мин.
Компоновка: рядная.
Литраж двигателя:
Рабочий объем одного цилиндра:
;
Принимаем отношение S/D=1,11.
Диаметр цилиндра:
;
Ход поршня:
.
Проверка значения механического КПД:
, где
-
среднее давление механических потерь;
.
Средняя скорость поршня:
;
, следовательно,
можно сделать вывод, что выбранное значение механического КПД соответствует
расчетному.
Литровая мощность двигателя:
Часовой расход топлива:
.
Определение объёмов в характерных точках:
Для четырёхтактного двигателя объём камеры
сгорания:
;
Объём в начале сжатия:
;
Объём цилиндра в точке z:
.
3. Динамический расчет двигателя
.1 Определение ПДМ и НВМ
По данным прототипа принимаем:= 265 мм.
.
Поршневой комплект совершает прямолинейное
возвратно - поступательное движение вдоль оси цилиндра. Условно предполагается,
что масса
сосредоточена в
точке пересечения оси поршневого пальца с осью цилиндра.
Масса поршневого комплекта:
.
Шатунный механизм совершает сложное
плоскопараллельное движение.
В случае индивидуального шатуна его масса
условно заменяется двумя статически эквивалентными массами:
Рис. 1 - Распределение масс
Масса шатунного механизма:
.
Определим массы
и
:
;
;
;
,
где mшs - масса условно сосредоточенная в центре
поршневой головки шатуна, совпадающей с точкой пересечения оси поршневого
пальца с осью цилиндра и совершающей прямолинейное возвратно-поступательное движение
вдоль оси цилиндра совместно с поршневым комплектом; mшR - масса условно
сосредоточенная в центре подшипника кривошипной головки шатуна, совпадающей с
центром сопряженной шатунной шейки и совершающая вращательное движение вокруг
оси коленчатого вала с постоянной угловой скоростью.
Коленчатый вал двигателя и входящие в его состав
массы каждого колена совершают вращательное движение с постоянной угловой
скоростью. Неуравновешенная масса колена, состоящая из массы шатунной шейки и
массы 2х щёк, приводится к радиусу кривошипа R. При этом масса шатунной шейки
не требует приведения т.к. находится на расстоянии R от оси коленчатого вала.
Коленчатый вал - стальной, кованый,
полноопорный.
Рис. 2 - Участок коленчатого вала
Определим массу шатунной шейки и щеки:
;
;
где
-
радиус шатунной шейки коленчатого вала,
- радиус канала в
коленчатом валу, служащего для подачи масла,
- длина шатунной
шейки,
- ширина щеки,
- расстояние от
оси вращения вала до центра тяжести щеки,
- радиус щеки.
Приведём неуравновешенные массы колена к радиусу
кривошипа:
Таким образом, определим ПДМ и НВМ:
ПДМ:
НВМ:
3.2 Построение индикаторной
диаграммы, диаграммы Брикса и диаграммы Толле
Построение индикаторной диаграммы:

Таблица 1 - Данные для построения индикаторной
диаграммы
|
φ
|
Sx
|
Vx
|
Va
|
εx
|
pcx
|
pbx
|
|
-180
|
180
|
0,1432
|
0,001907
|
0,002039
|
1,000
|
0,089
|
0,303
|
|
-160
|
160
|
0,1400
|
0,001864
|
0,001997
|
1,063
|
0,097
|
0,327
|
|
-140
|
140
|
0,1304
|
0,001737
|
0,001869
|
1,135
|
0,106
|
0,355
|
|
-120
|
120
|
0,1147
|
0,001527
|
0,001659
|
1,279
|
0,125
|
0,411
|
|
-100
|
100
|
0,0934
|
0,001244
|
0,001376
|
1,542
|
0,162
|
0,518
|
|
-90
|
90
|
0,0813
|
0,001082
|
0,001215
|
1,747
|
0,192
|
0,605
|
|
-80
|
80
|
0,0685
|
0,000913
|
0,001045
|
2,031
|
0,236
|
0,729
|
|
-60
|
60
|
0,0431
|
0,000573
|
0,000706
|
3,007
|
0,405
|
1,185
|
|
-40
|
40
|
0,0207
|
0,000276
|
0,000409
|
5,190
|
0,857
|
2,331
|
|
-20
|
20
|
0,0054
|
0,000073
|
0,000205
|
10,342
|
2,209
|
5,477
|
|
φz
|
0,0014
|
0,000018
|
0,000151
|
14,041
|
3,363
|
8,000
|
|
0
|
0,0000
|
0,000000
|
0,000133
|
15,996
|
4,023
|
9,402
|
Построение бицентровой диаграммы Брикса.
Определение поправки Брикса:

Построение диаграммы сил инерции ПДМ (диаграммы
Толле).
Площадь поршня:
;
Параметр
.
Отрезок АС:
Отрезок ВD:
Отрезок FE:
Рис. 3 - Индикаторная диаграмма, диаграмма
Брикса и диаграмма сил инерции ПДМ
3.3 Построение развернутой диаграммы
Переход от обычной индикаторной диаграммы к
развёрнутой осуществим с помощью бицентровой диаграммы Брикса, устанавливающей
зависимость положений поршня по его ходу от величины угла α
поворота
кривошипа с учетом конечной длины шатуна (поправка ОО1). На диаграмме
представим удельные значения сил давления газов Pr, сил инерции ПДМ Pj и
результирующую удельную силу (Pr-Po+Pj).
Таблица 2 - Данные для построения развернутой
диаграммы
|
α
|
Pr
|
Pr-Po
|
Pj
|
Pr-Po+Pj
|
|
град
|
Мпа
|
Мпа
|
Мпа
|
Мпа
|
|
0,0
|
0,1957
|
0,0944
|
-0,8433
|
-0,7489
|
|
10,0
|
0,1424
|
0,0411
|
-0,8173
|
-0,7763
|
|
20,0
|
0,1090
|
0,0077
|
-0,7419
|
-0,7342
|
|
30,0
|
-0,0123
|
-0,6100
|
-0,6223
|
|
40,0
|
0,0890
|
-0,0123
|
-0,4767
|
-0,4890
|
|
50,0
|
0,0890
|
-0,0123
|
-0,3101
|
-0,3224
|
|
60,0
|
0,0890
|
-0,0123
|
-0,1369
|
-0,1492
|
|
70,0
|
0,0890
|
-0,0123
|
0,0343
|
0,0220
|
|
80,0
|
0,0890
|
-0,0123
|
0,1913
|
0,1790
|
|
90,0
|
0,0890
|
-0,0123
|
0,3263
|
0,3140
|
|
100,0
|
0,0890
|
-0,0123
|
0,4339
|
0,4216
|
|
110,0
|
0,0890
|
-0,0123
|
0,5140
|
0,5017
|
|
120,0
|
0,0890
|
-0,0123
|
0,5639
|
0,5516
|
|
130,0
|
0,0890
|
-0,0123
|
0,5841
|
0,5718
|
|
140,0
|
0,0890
|
-0,0123
|
0,5869
|
0,5746
|
|
150,0
|
0,0890
|
-0,0123
|
0,5803
|
0,5680
|
|
160,0
|
0,0890
|
-0,0123
|
0,5710
|
0,5587
|
|
170,0
|
0,0890
|
-0,0123
|
0,5649
|
0,5526
|
|
180,0
|
0,0890
|
-0,0123
|
0,5617
|
0,5494
|
|
190,0
|
0,0914
|
-0,0099
|
0,5649
|
0,5551
|
|
200,0
|
0,0975
|
-0,0038
|
0,5710
|
0,5672
|
|
210,0
|
0,1026
|
0,0013
|
0,5803
|
0,5817
|
|
220,0
|
0,1062
|
0,0049
|
0,5869
|
0,5918
|
|
230,0
|
0,1135
|
0,0122
|
0,5841
|
0,5963
|
|
240,0
|
0,1253
|
0,0240
|
0,5639
|
0,5880
|
|
250,0
|
0,1409
|
0,0396
|
0,5140
|
0,5536
|
|
260,0
|
0,1627
|
0,0614
|
0,4339
|
0,4953
|
|
270,0
|
0,1930
|
0,0917
|
0,3263
|
0,4180
|
|
280,0
|
0,2370
|
0,1357
|
0,1913
|
0,3270
|
|
290,0
|
0,2945
|
0,1932
|
0,0343
|
0,2275
|
|
300,0
|
0,4064
|
0,3051
|
-0,1369
|
0,1681
|
|
310,0
|
0,5785
|
0,4772
|
-0,3101
|
0,1671
|
|
320,0
|
0,8570
|
0,7557
|
-0,4767
|
0,2790
|
|
330,0
|
1,3307
|
1,2294
|
-0,6100
|
0,6194
|
|
340,0
|
2,1655
|
2,0642
|
-0,7419
|
1,3223
|
|
350,0
|
3,4069
|
3,3056
|
-0,8173
|
2,4883
|
|
360,0
|
7,5317
|
7,4304
|
-0,8433
|
6,5870
|
|
370,0
|
7,7032
|
7,6019
|
-0,8173
|
6,7846
|
|
380,0
|
5,3710
|
5,2697
|
-0,7419
|
4,5278
|
|
390,0
|
3,1968
|
3,0955
|
-0,6100
|
2,4855
|
|
400,0
|
2,3310
|
2,2297
|
-0,4767
|
1,7530
|
|
410,0
|
1,6761
|
1,5748
|
-0,3101
|
1,2647
|
|
α
|
Pr
|
Pr-Po
|
Pj
|
Pr-Po+Pj
|
|
град
|
Мпа
|
Мпа
|
Мпа
|
Мпа
|
|
420,0
|
1,1881
|
1,0868
|
-0,1369
|
0,9499
|
|
430,0
|
0,9068
|
0,8055
|
0,0343
|
0,8399
|
|
440,0
|
0,7316
|
0,6303
|
0,1913
|
0,8217
|
|
450,0
|
0,6079
|
0,5066
|
0,3263
|
0,8329
|
|
460,0
|
0,5200
|
0,4187
|
0,4339
|
0,8526
|
|
470,0
|
0,4571
|
0,3558
|
0,5140
|
0,8698
|
|
480,0
|
0,4120
|
0,3107
|
0,5639
|
0,8746
|
|
490,0
|
0,3790
|
0,2777
|
0,5841
|
0,8619
|
|
500,0
|
0,3556
|
0,2543
|
0,5869
|
0,8412
|
|
510,0
|
0,3445
|
0,2432
|
0,5803
|
0,8235
|
|
520,0
|
0,3287
|
0,2274
|
0,5710
|
0,7983
|
|
530,0
|
0,3098
|
0,2085
|
0,5649
|
0,7735
|
|
540,0
|
0,3024
|
0,2011
|
0,5617
|
0,7628
|
|
550,0
|
0,3024
|
0,2011
|
0,5649
|
0,7660
|
|
560,0
|
0,3024
|
0,2011
|
0,5710
|
0,7721
|
|
570,0
|
0,3024
|
0,2011
|
0,5803
|
0,7814
|
|
580,0
|
0,3024
|
0,2011
|
0,5869
|
0,7880
|
|
590,0
|
0,3024
|
0,2011
|
0,5841
|
0,7852
|
|
600,0
|
0,3024
|
0,2011
|
0,5639
|
0,7650
|
|
610,0
|
0,3024
|
0,2011
|
0,5140
|
0,7151
|
|
620,0
|
0,3024
|
0,2011
|
0,4339
|
0,6350
|
|
630,0
|
0,3024
|
0,2011
|
0,3263
|
0,5274
|
|
640,0
|
0,3024
|
0,2011
|
0,1913
|
0,3924
|
|
650,0
|
0,3024
|
0,2011
|
0,0343
|
0,2354
|
|
660,0
|
0,3024
|
0,2011
|
-0,1369
|
0,0642
|
|
670,0
|
0,3024
|
0,2011
|
-0,3101
|
-0,1090
|
|
680,0
|
0,3024
|
0,2011
|
-0,4767
|
-0,2756
|
|
690,0
|
0,3024
|
0,2011
|
-0,6100
|
-0,4089
|
|
700,0
|
0,3024
|
0,2011
|
-0,7419
|
-0,5408
|
|
710,0
|
0,2490
|
-0,8173
|
-0,6696
|
|
720,0
|
0,1957
|
0,0944
|
-0,8433
|
-0,7489
|
3.4 Суммарные силы и моменты,
действующие в КШМ одного цилиндра
Силы и моменты, возникающие в результате
действия суммарной осевой силы Р, показаны на рисунке:
Величина силы Р в зависимости от угла поворота
коленчатого вала находится из графика. Сила Р может быть разложена на 2
составляющие: боковую
, прижимающую
поршень к стенке цилиндра, и силу
,
направленную вдоль оси шатуна.
Сила Рш после перенесения её по линии действия,
может быть разложена на составляющие: касательную, направленную под прямым
углом к радиусу кривошипа
, и радиальную,
направленную вдоль радиуса кривошипа
.
Рис. 5 - Силы и моменты, возникающие в
результате действия суммарной осевой силы P
Угол β определяется
из условия
Крутящий момент, действующий на КШМ одного
цилиндра:
3.5 Выбор схем расположения кривошипов
и порядка работы цилиндров
Схема заклинки кривошипов и порядка работы
двигателя выбирается исходя из его компоновочной схемы и тактности.
Схема заклинки кривошипов представляет собой
пространственное расположение кривошипов относительно друг друга и оси
коленчатого вала. Так как двигатель четырехтактный, рядный с четным числом
цилиндров в блоке (6-и цилиндровый), то можно применить равномерную
продольно-симметричную схему расположения кривошипов (РПСС). Преимущества РПСС:
частичная или полная динамическая уравновешенность двигателя, повышенная
технологичность коленчатого вала (за одну установку вала можно одновременно
обрабатывать две шатунные шейки), а также равномерность выходного момента.
Угол между кривошипами определяется из условия
равенства интервалов между вспышками по формуле:
.
Порядок работы цилиндров по блоку определяется
расположением кривошипов и направлением вращения. Порядок работы цилиндров по
двигателю назначается: 1-5-3-6-2-4.
Рис. 6 - Схема расположения кривошипов
3.6 Заполнение главной динамической
таблицы
В данном разделе рассмотрим порядок заполнения
главной динамической таблицы. В качестве примера расчета используем угол
поворота коленчатого вала равный 50º.
Графа 1 содержит углы поворота первого кривошипа
коленчатого вала от ВМТ первого цилиндра. Шаг таблицы в градусах должен целое
число раз содержаться в величинах углов между коленами вала и поворота
коленчатого вала между вспышками в цилиндрах двигателя. В нашем случае шаг
таблицы - 10°°. Для получения достаточно точного результата шаг должен
составлять 0...15°°, поэтому примем шаг равный 10°°.
Графа 2 содержит значения силы p (кг/см2),
действующей вдоль оси первого цилиндра первого блока.
В графах 3, 4, 5 указываются значения
тригонометрических функций
для принятой величины
.
В графу 6 заносятся величины силы бокового
давления поршня на стенку цилиндра N (кгc):
.
В графы 7' и 8' записываются величины удельных
касательной и радиальной сил возникающих в первом колене вала в результате
действия первого цилиндра первого блока (кгс/см2):
В графы 9 и 10 заносятся величины суммарных
удельных касательных и радиальных сил, возникающих на первом колене вала в
результате действия первых цилиндров обоих блоков:
В графы 11 и 12 заносятся величины суммарных
удельных касательных и радиальных сил, действующих на первое колено вала:
В графу 14 заносят значения крутящего момента
(кгсЧЧм), развиваемого первыми цилиндрами всех блоков двигателя на первом
колене вала:
В графу 13 записывают 0.5ЧЧM1ш.
Вспышки в цилиндрах каждого плоского отсека
происходят с одинаковым сдвигом по углу, поэтому уровень и закон изменения
величин t, z, T, Z, 0.5ЧЧM1ш, M1ш в зависимости от угла поворота коленчатого
вала, записанных в вертикальные графы 9 и 10, 12 и 13, 13 и 14 таблицы и
относящихся к первому кривошипу, со сдвигом по фазе справедливы и для всех
остальных кривошипов вала. Поэтому в графы 17 и 18, 21 и 22, 25 и 26 и т.д.
записываются значения, стоящие в графах 13 и 14 со сдвигом их вниз на угол
поворота коленчатого вала между вспышками в первом и втором, первом и третьем и
т.д. цилиндрах двигателя. В данном случае соответственные углы равны: 480º,
240º,
600º,
120º
и 360º.
Набегающие моменты, скручивающие первую шатунную
шейку MIш (графа 15) и коренную шейку расположенную за первым коленом MIк
(графа 16), получается перенесением данных из граф 13 и 14 соответственно.
Набегающие моменты, скручивающие шатунные шейки
второго, третьего и т.д. колен и записываемые в графы 19, 23, 27 и т.д.,
определяются алгебраическим сложением набегающего момента, действующего на
предшествующую коренную шейку и половины момента, развиваемого на данном колене
цилиндрами отсека, например:
ш= MIIIк+0,5M4ш;
Набегающие моменты, скручивающие коренные шейки
за вторым, третьим и т.д. коленами и записываемые в графы 20, 24, 28 и т.д.,
определяются алгебраическим сложением набегающего момента, действующего на
предшествующую коренную шейку и всего момента, развиваемого на данном колене
цилиндрами отсека, например:
MIvк= MIIIк+M4ш;
В последней вертикальной графе таблицы
записываются величины набегающего крутящего момента, действующего на коренную
шейку, расположенную за последним коленом вала. Этот момент представляет собой
индикаторный периодически изменяющийся крутящий момент двигателя,
соответствующий его индикаторной мощности.
После заполнения таблицы строятся графики
набегающих моментов MIш, MIк, MIIш, MIIк, и т.д. в зависимости от угла поворота
коленчатого вала. По графикам определяются шейки, работающие в условиях
максимальных амплитуд изменения скручивающих моментов.
Проверка правильности заполнения главной
динамической таблицы.
Проверка выполняется определением расчетной
индикаторной мощности несколькими способами и сравнением ее с заданной
индикаторной мощностью.
. Определение индикаторной мощности с помощью
среднего значения касательной силы:
Определим расхождение полученной индикаторной
мощности и заданной:
что укладывается в
допуск (±3%).
. Определение индикаторной мощности с помощью
среднего значения выходного крутящего момента:
Определим расхождение полученной индикаторной
мощности и заданной:
что укладывается в
допуск (±3%).
3.7 Диаграммы моментов, набегающих
на шатунные и коренные шейки
Рис. 7 - Набегающий момент на первую шатунную
щейку
Рис. 8 - Набегающий момент на вторую коренную и
шатунную шейки
Рис. 9 - Набегающий момент на третью коренную и
шатунную шейки
Рис. 10 - Набегающий момент на четвертую
коренную и шатунную шейки
Рис. 11 - Набегающий момент на пятую коренную и
шатунную шейки
Рис. 12 - Набегающий момент на шестую коренную и
шатунную шейки
Рис. 13 - Выходной момент
3.8 Векторные и развернутые
диаграммы давлений на шатунные и коренные шейки и подшипники
Векторная диаграмма давлений на шатунную шейку.
Данная диаграмма представляет собой плавную
замкнутую кривую, которую описывает своим началом результирующий радиус-вектор
нагрузки, упирающийся концом в полюс диаграммы, совмещенный с центром шейки, за
полный цикл изменения нагрузки (720° поворота коленчатого вала). Действующие на
шатунную шейку радиальная и касательная силы для различных углов α
берутся
из главной динамической таблицы; для одноблочного двигателя используются
величины t и z, записанные в вертикальных графах 9 и 10 таблицы с обратными
знаками для совмещения с полюсом диаграммы концов радиус-векторов нагружающих
сил. Ось ординат направлена по радиусу кривошипа от оси шейки к оси вала. При
данном построении диаграммы учитываются лишь силы давления газов и силы ПДМ.
Для учёта влияния на диаграмму центробежной силы инерции вращающейся части
массы шатунного механизма, условно отнесённой к центру кривошипной головки и
охватывающей шатунную шейку, необходимо перенести полюс диаграммы по оси
ординат на следующую величину:
.
В одноблочных ДВС уровень и закономерность изменения
нагрузки всех шатунных шеек одинаковы, поэтому векторные диаграммы давлений на
шатунные шейки вала одинаковы, так же как и векторные диаграммы давлений на
сопряженные шатунные подшипники (см. векторную диаграмму давлений на шатунную
шейку на рис. 14).
Векторная диаграмма давлений на шатунный
подшипник.
Диаграмма представляет собой ориентированную
относительно шатуна плавную замкнутую кривую, которую описывает своим концом
результирующий радиус-вектор нагрузки при вращении вокруг полюса диаграммы, совмещенного
с центром подшипника, за полный цикл изменения его нагрузки.
Диаграмма давлений на строится графическим
способом на основании векторной диаграммы давлений на шатунную шейку. Ось
ординат направлена вдоль оси стержня главного шатуна, определяющего положение
подшипника относительно сопряжённой шатунной шейки. При повороте кривошипа
отсека на угол α, координатные
оси будущей диаграммы давлений на подшипник повернутся относительно осей
диаграммы шатунной шейки на угол α + β, в
направлении, противоположном вращению кривошипа (см. векторную диаграмму
давлений на шатунный подшипник на рис. 15).
Развернутая общая диаграмма давлений на шатунные
шейку и подшипник.
Эта диаграмма строится на основе векторной
диаграммы давлений на шейку или подшипник, она представляет зависимость
радиус-вектора нагружающей силы от угла поворота коленчатого вала (независимо
от его расположения относительно шейки или подшипника в векторной диаграмме).
Например при
радиус
вектор нагружающей силы определяется следующим образом:
.
Кроме того по диаграмме определяется
максимальное
и среднее
удельные
давления на подшипник.
;
(определяется
как среднее арифметическое значение переменных давлений; см. рис. 16).
Рис. 14 - Векторная диаграмма давлений на
шатунную шейку
Рис. 15 - Векторная диаграмма давлений на
шатунный подшипник
Рис. 16 - Развернутая общая диаграмма давлений
на шатунные шейку и подшипник
Векторная диаграмма давлений на коренную шейку.
Эта диаграмма, как и диаграмма давлений на
шатунную шейку, представляет собой ориентированную относительно коленчатого
вала плавную замкнутую кривую, которую описывает своим началом результирующий
радиус вектор нагрузки шейки, упирающийся концом в полюс диаграммы, совмещенной
с центром шейки, в течение полного цикла изменения нагрузки.
Предполагается, что координатные оси закреплены
на рассматриваемой коренной шейке вала, пересечение осей совмещено с центром
шейки, ось ординат диаграммы находится в плоскости прилежащего колена с меньшим
порядковым номером, положительное направление - от шатунной шейки этого колена,
ось абсцисс сонаправлена с направлением касательной силы колена с меньшим порядковым
номером. Диаграмму строится на основе схемы расположения кривошипов и значений
касательных и радиальных сил, действующих на оба колена. Для расчёта выберем
наиболее нагруженную шейку.
Наиболее нагруженной является 2 коренная шейка,
расположенная между 2-м и 3-м цилиндрами.
Рис. 17 - Схема расположения кривошипов,
касательных и радиальных сил
Вычисление
и
производится
в табличной форме. В графу 1 вносятся значения угла поворота второго кривошипа
относительно ВМТ, а в графы 2 и 3 соответственно касательную
и
радиальную
силы, действующие
на кривошип 2. В качестве этих сил используются аналогичные силы, относящиеся к
первому кривошипу вала. Они переносятся без сдвигов по фазе из вертикальных
граф 9 и 10 главной динамической таблицы. В графы 4 и 5 для третьего кривошипа
вносятся величины, стоящие в графах 2 и 3 со сдвигом их вниз на 480° (угол
поворота вала между вспышками во втором и третьем цилиндрах, определяется
порядком работы цилиндров). Далее вычисления производятся в соответствии со
структурой вычислений
и
.
Но при данном построении диаграммы учитываются лишь силы давлении газов и силы
инерции ПДМ. Для учета центробежных сил НВМ кривошипов и вращающихся масс шатунов,
уменьшающих реакции подшипника, необходимо перенести начало координат (полюс
диаграммы) из точки О1 в точку О4 (поочередно перенося по осям на величину
и
соответственно).
Пример расчёта
и
при
α
= 500:
Таблицу вычислений
и
см.
в приложении 3.
Рис. 18 - Векторная диаграмма давлений на
коренную шейку
Векторная диаграмма давлений на коренной
подшипник.
Диаграмма представляет собой ориентированную
относительно корпуса двигателя (и подшипника) плавную замкнутую кривую, которую
описывает своим концом результирующий радиус-вектор нагрузки при вращении
вокруг полюса диаграммы, совмещенного с центром подшипника, за полный цикл
изменения нагрузки. Векторную диаграмму давлений на коренной подшипник строим
на основании векторной диаграммы давлений на коренную шейку графическим
методом. Начало координат совпадает с центром коренного подшипника,
координатные оси жестко закреплены в корпусе двигателя. При повороте кривошипа
отсека на угол α, координатные
оси будущей диаграммы давлений на подшипник повернутся относительно осей
диаграммы коренной шейки на угол α, в
направлении, противоположном вращению кривошипа.
Рис. 19 - Векторная диаграмма давлений на
коренной подшипник
Развернутая общая диаграмма давлений на коренные
шейку и подшипник.
Эта диаграмма строится подобно аналогичной
диаграмме давлений на шатунную шейку и подшипник и используется для тех же
целей.
Также определяется максимальное
и
среднее
удельные
давления на подшипник:
;
.
Рис. 20 - Развернутая общая диаграмма давлений
на коренные шейку и подшипник
4. Анализ уравновешенности двигателя
Определим величины и направления действующих в
двигателе неуравновешенных сил инерции и продольных моментов от этих сил исходя
из определённой компоновки двигателя. Для анализа уравновешенности применим
векторный метод, основанный на понятии динамически эквивалентной модели (ДЭМ),
которая строится из продольных и поперечных модулей, составляющих двигатель.
Проектируемый двигатель рассмотрим как
композицию одноцилиндровых плоских отсеков. Динамически эквивалентная модель
плоского отсека состоит из приведённых сосредоточенных масс mS и mR, деталей
КШМ и системы векторов сил инерции, возникающих при движении этих масс.
При вращении массы mR, с угловой скоростью ω
возникает
центробежная сила
.
Силу инерции, которую развивает
поступательно-движущаяся масса mS, представим в виде двух составляющих сил
инерции первого и второго порядка.
где
и
-
фиктивные силы первого и второго порядка. Вектор
-
постоянен по величине, направлен по кривошипу и вращается с угловой скоростью ω,
его
проекция на ось цилиндра определяет величину и направление вектора реально
действующих сил инерции ПДМ первого порядка;
-
вращается с угловой скоростью 2ω, а
его проекция на ось цилиндра определяет величину и направление вектора реально
действующих сил инерции ПДМ второго порядка.
Построим динамически эквивалентную модель
проектируемого двигателя.
Рис. 21 - Схема векторов сил инерции
Рис. 22 - Схема расположения радиус векторов
,
и
Рис. 23 - Схема расположения кривошипов и радиус
векторов
,
и
Рассмотрев данную схему расположения
радиус-векторов сделаем следующие выводы по самоуравновешенности двигателя:
Сумма радиус векторов центробежных сил инерции
НВМ
.
Результирующий продольный момент центробежных
сил инерции НВМ
, так как
симметричные пары векторов развивают взаимно уравновешивающие друг друга
продольные моменты.
Сумма фиктивных радиус векторов первого порядка
,
откуда
.
Результирующий продольный момент первого
порядка, развиваемый фиктивными радиус-векторами первого порядка
.
Продольный момент первого порядка
.
Так как схема фиктивных радиус-векторов второго
порядка является продольно-симметричной равномерной подобно схеме фиктивных
радиус-векторов первого порядка, результаты по силам и продольным моментам
второго порядка аналогичны результатам для сил и моментов первого порядка -
.
На основании изложенного делаем вывод, что
двигатель, проектируемый по выбранной компоновке - четырёхтактный
шестицилиндровый одноблочный (однорядный) одновальный двигатель с
продольно-симметричной равномерной схемой расположения кривошипов коленчатого
вала - динамически самоуравновешен по всем шести признакам, что запишется в
следующем виде:
5. Крутильные колебания коленчатого
вала и способы уменьшения их амплитуд
.1 Общие сведения о крутильных
колебаниях коленчатого вала
Периодические знакопеременные относительные
угловые смешения элементов коленчатого вала, происходящие под действием
переменных по времени и сдвинутых по фазе крутящих моментов на отдельных
кривошипах, называются крутильными колебаниями коленчатого вала.
По определению они являются колебаниями
вынужденными. Их параметры зависят как от упругомассовых и диссипативных
характеристик крутильной системы, так и от характеристик силовых факторов,
возбуждающих колебания
К основным характеристикам колебательной системы
относятся:
совокупность частот собственных колебаний
крутильной системы
;
формы колебаний крутильной системы,
соответствующие каждой из совокупности частот собственных колебаний);
диссипативные характеристики, характеризующие
необратимы неупругие потери колебательной энергии в крутильной системе (характеризуются
коэффициентом потерь - отношение количества энергии, необратимо теряемой в
крутильной системе, к количеству энергии, вносимой в нее силовыми факторами).
Факторами, возбуждающими колебания крутильной
системы, являются крутящие моменты
на
отдельных кривошипах, которые идентичны по форме временной реализации и
отличаются друг от друга фазовым сдвигом, определяемым порядком работы и углом
чередования рабочих ходов в двигателе.
При вынужденных колебаниях наибольшая их
интенсивность наблюдается на режиме, называемом резонансным, когда одна из
множества собственных частот собственных колебаний системы совпадает с частотой
одной из гармоник крутящего момента
Следует отметить, что крутильная система
коленчатого вала относится к колебательным системам с высокой «добротностью»
т.е. имеет очень низкий уровень внутренних потерь. Для таких систем характерны
следующие особенности:
частота вынужденных резонансных колебаний
практически совпадает с собственной частотой;
форма вынужденных резонансных колебаний
тождественна форме собственных колебаний;
при полигармоническом силовом возбуждении
системы подавляющая доля колебательной энергии сосредоточена в резонансной зоне
Применительно к задаче анализа крутильных
колебаний следование этим принципам означает, что определению подлежат только
частоты и формы собственных колебаний крутильной системы и в расчет принимаются
только режимы резонансных колебаний.
Крутильная колебательная система коленчатого
вала относится к системам с полисиловым (многоточечным) возбуждением. В этом
случае большое значение имеют фазовые соотношения между отдельными силовыми
факторами. Наибольшее количество энергии передается в колебательную систему,
когда все факторы действуют синфазно; наименьшее - когда все силовые факторы по
фазе отличаются друг от друга. При резонансе колебания крутильной системы
возбуждаются одной (резонирующей) гармоникой
,
действующей на каждом из кривошипов. Они имеют одинаковые амплитуды и
отличаются только фазой в соответствии с фазовым сдвигом крутящего момента.
Наибольшую опасность для коленчатого вала будут
представлять резонансные колебания, возбуждаемые гармониками, фазы которых
совпадают. Такие гармоники называются главными.
Если фазы резонирующей гармоники на каждом из
кривошипов не совпадают, то такие гармоники называются слабыми и они не
вызывают опасных для прочности вала амплитуд угловых смещений.
Промежуточное положение занимают сильные
гармоники, фазы которых совпадают на части (обычно половине) кривошипов.
Наибольшие сложности при анализе колебательных
характеристик упругой системы коленчатого вала вызывает то обстоятельство, что
она относится к системам с распределенными параметрами; в них масса и упругость
распределены по всему объему элементов, формирующими крутильную систему. Такие
системы сложны для анализа, так как имеют бесконечно большое число частот и
соответствующих им форм собственных колебаний.
Практический анализ крутильных колебаний не
требует учета возможного резонанса по большому числу частот собственных
колебаний. Достаточно анализа по первым двум-трем из них, амплитуды гармоник
крутящего момента
быстро убывают с
увеличением их порядка. С учетом этого реальная крутильная система может быть заменена
системой с сосредоточенными параметрами, динамически ей эквивалентной при
резонансных колебаниях по низшим формам, что обуславливается равенством их
кинетических и потенциальных энергий.
5.2 Способы уменьшения амплитуд
вынужденных крутильных колебаний
двигатель кривошип цилиндр вал
Если в результате расчета параметров крутильных
колебаний и экспериментального их исследования доказано, что они нарушают
работоспособность конструкции двигателя, то необходимо устранить их одним из
нескольких существующих способов:
для четырехтактного двигателя выбрать такой
порядок работы, который обеспечивает фазовые соотношения возбуждающих гармоник
на кривошипах, дающие наименьшие значения равнодействующего вектора
относительных амплитуд смещений;
изменить конструкцию коленчатого вала с целью
повышения частоты с целью повышения частоты собственных колебаний системы и
вывода резонансного режима за пределы рабочего диапазона частот вращения;
если указанные мероприятия не дают желаемого
результата или не могут быть практически осуществлены, на коленчатом валу
устанавливают специальные гасители крутильных колебаний.
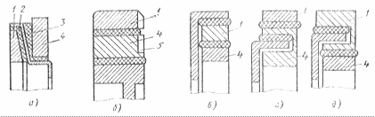
Рис. 24 - Схема гасителей крутильных колебаний:
а - молекулярного трения, б - жидкостного трения; 1 - инерционный элемент, 2 -
упругий элемент, 3 - жидкий наполнитель
По способу воздействия на крутильную систему
коленчатого вала гасители делятся на два типа: 1) гасители без поглощения
колебательной энергии системы - маятниковые (динамические) гасители, или
антивибраторы; 2) гасители с частичным поглощением и последующим рассеиванием в
окружающую среду энергии крутильных колебаний - демпферы.
Гасители первого типа работают по принципу
«расстройки» резонансной системы вала. Поэтому они эффективны только в узком
диапазоне частот на одном режиме работы двигателя (резонансный режим). На
остальных режимах они малоэффективны и могут даже, наоборот, интенсифицировать
колебания коленчатого вала. Вследствие этому они применяются в основ в
стационарных двигателях, работающих на постоянном скоростном режиме, таких как
проектируемый дизель-генератор.
В гасителях второго типа дополнительное
поглощение энергии колебаний осуществляется за счет увеличения сухого трения в
системе (гасители сухого трения), либо за счет жидкого трения (гасители жидкого
трения), либо за счет внутреннего молекулярного трения в материале упругого
элемента гасителя (резиновые гасители). Гасители колебаний второго типа
уменьшают амплитуды крутильных колебаний при любой частоте вращения двигателя,
включая и резонансную.
Рассмотрим более подробно некоторые
антивибраторы и демпферы.
Из маятниковых антивибраторов наиболее
распространен маятниковый антивибратор с бифилярным подвесом (рис. 25). С
жестко связанной с валом ступицей 1 соединены маятники 2 через пальцы 3. В качестве
ступицы могут быть использованы щеки коленчатого вала. При вращении вала и
отсутствии крутильных колебаний маятники под действием центробежных сил
занимают радиальное положение, и момент от центробежных сил равен нулю. Когда
же ступица вместе с валом совершает крутильные колебания, маятники также
колеблются. Возникающей момент от действия центробежных: сил стремится вернуть
маятники в исходное положение, что уменьшает амплитуду крутильных колебаний
вала. Так как в соединении маятника трение практически отсутствует, то малые
колебания маятника при углах качания меньше 0,2 рад будут гармоническими с
частотой, пропорциональной угловой скорости вращения вала. Следовательно,
маятниковый антивибратор влияет только на резонансы на гармониках определенного
порядка независимо от частоты вращения вала. При этом он снижает частоту
свободных колебаний системы только того порядка, на который он настроен, и
почти не влияет на резонансы других порядков. Маятниковые антивибраторы
наиболее эффективны в местах системы, где амплитуды колебаний максимальны.
Рис. 25 - Маятниковый антивибратор с бифилярным
подвесом
Силиконовые демпферы высокоэффективны, просты в
изготовлении и эксплуатации, почти не изнашиваются, но их установка увеличивает
стоимость двигателя.
Использование легких материалов для изготовления
маховика позволяет создать демпфер для гашения высоких частот крутильных
колебаний. Маховик (рис. 26, a) выполнен из стального диска 1 и дисков 2, 3 из
легкого материала и центрирован по внутреннему диаметру. Аналогичный маховик на
рис. 27, б центрирован по внешнему диаметру. В варианте маховика, изображенном
на рис. 26, в, в стальное кольцо 1 запрессован диск 2 из легкого материала.
Демпфер на рис. 26, г состоит из стального диска и двух дисков 2, 3 из легкого
материала.
Рис. 26 - Составные маховики демпфера
Увеличить поглощение энергии колебаний можно
комбинированным демпфером. Такой жидкостный демпфер выполняется с маховиком и
упругими элементами в виде дисков, рессор и других элементов. Демпфер,
изображенный на рис. 27, имеет корпус 6 с фланцем для соединения с коленчатым
валом ДВС. Корпус 6 заглушён крышкой 3. В образуемой полости 5 размещен маховик
(состоящий из двух частей), который центрируется в корпусе проставками 9. Масса
7 соединена с массой 4 многослойными листовыми рессорами 2. Диски 1 прикреплены
к массе 7 и предохраняют корпус от повреждения рессорами. Внутренняя полость
демпфера заполнена силиконовой жидкостью. Для уменьшения ее объема в ней
размещены вытеснители 8.
Демпферы крутильных колебаний с резиновыми
демпфирующими элементами (рис. 28), соединенными с металлическими поверхностями
путем вулканизации, представляет собой маховик 1, соединенный слоем резины 2 с
укрепленным на валу диском 3. Резина обладает высоким коэффициентом
демпфирования, но ее характеристики со временем изменяются. Резиновый демпфер
наиболее прост по конструкции, но он применим только в двигателях относительно
небольшой мощности.
Рис. 27 - Комбинированный силиконовый демпфер
Рис. 28 - Демпфер с резиновым поглощающим
элементом
Для гашения колебаний двух частот резиновый
демпфер может быть выполнен с двумя маховиками (рис. 29, а): массивным кольцом
4 для гашения колебаний низких частот, и меньшим 1 - для более высоких частот.
Резиновые кольца 2 и 3 утолщены к периферии для увеличения их прочности, так
как линейные перемещения маховиков растут с удалением от центра вала. На рис.
29, б, в, г, д представлены варианты соединения маховиков 1 и 2, на рис. 97, б
показаны также ребра 5 охлаждения демпфера.
Анализируя все возможные варианты гасителей
вынужденных крутильных колебаний, можно прийти к выводу, что для проектируемого
двигателя, имеющего определенный постоянный скоростной режим работы наиболее
рациональным будет применение либо маятникового антивибратора (например с
бифилярным подвесом), либо демпфера с резиновым поглощающим элементом. Выбор
маятникового антивибратора обуславливается его конструктивными особенностями
(влияет только на резонансы на гармониках определенного порядка независимо от
частоты вращения вала), при этом важно обеспечить выход на заданный скоростной
режим, позволяющий избежать возникновения резонансных колебаний. Применение
демпфера с резиновым поглощающим элементом также возможно, учитывая простоту
его конструкции и небольшую мощность двигателя.
Рис. 29 - Резиновые демпферы с двумя маховиками
6. Прочностные расчёты основных
деталей двигателя
.1 Расчёт коленчатого вала на
усталостную прочность
Рис. 30 - Расчётная схема коленчатого вала
Материал коленчатого вала - Сталь 40ХН.
Характеристики материала:
Расчёт запасов прочности коренных шеек
Расчёту подвергают наиболее нагруженную коренную
шейку, имеющую наибольшую разность максимального и минимального набегающих
крутящих моментов. В нашем случае наиболее нагруженной является 2-я коренная
шейка.
Её диаметр dk=0,082 м, диаметр канала δк=0,04
м.
Т.к. коренная шейка обычно выполняется короткой,
то величина изгибающего момента у галтели на плече 0,5lкш небольшая, а в месте
расположения масляного отверстия равна нулю. Поэтому расчёт коренной шейки
можно выполнять только по напряжениям кручения.
Минимальные и максимальные касательные
напряжения:
,
,
Определяем амплитуду напряжений и среднее
напряжение
Запас прочности коренной шейки по касательным
напряжениям
где
-
отношение коэффициента концентрации напряжений на краю масляного отверстия к
масштабному фактору;
- предел усталости
материала на кручение при симметричном цикле нагружения;
- коэффициент,
учитывающий асимметрию цикла нагружения.
Запас прочности с учётом коэффициента динамического
усиления
, где
-
коэффициент динамического усиления для 4х-коленного вала.
Такой запас прочности приемлем.
Расчёт запасов прочности шатунных шеек
На шатунные шейки одновременно действуют
изгибающие и крутящие моменты, максимальные значения которых не совпадают по
времени.
Расчёт ведётся отдельно по запасам прочности на
изгиб и на кручение, а потом определяется общий запас прочности.
Наиболее нагруженной является 2-я шатунная
шейка.
Её диаметр dш=0,07 м
Касательные напряжения
где
Амплитуда напряжений и среднее напряжение
Запас прочности шатунной шейки по касательным
напряжениям
.
Расчёт прочности шатунной шейки на изгиб
выполняется для сечения, в котором расположено масляное отверстие. При
горизонтальном расположении отверстия расчетной нагрузкой будут экстремальные
значения тангенциальной силы и соответствующие моменты.
Наиболее нагруженной является 2-я шатунная
шейка, у которой
Моменты, создаваемые этими силами на плече l0 =
0,165 м
Соответствующие напряжения изгиба
где
-
момент сопротивления изгибу шейки.
Амплитудные и средние нормальные напряжения
Запас прочности на изгиб по нормальным
напряжениям при асимметричном цикле нагружения
, где
-
справочные коэффициенты
Общий запас прочности
Допустимые значения суммарного запаса прочности
для форсированных среднеоборотных дизельных двигателей
Расчёт запасов прочности щек
Определим запас прочности по касательным
напряжениям
и
для
наиболее нагруженных коренных и шатунных шеек.
Для точки 1
Для точки 2
Воспользовавшись выражением для расчёта запаса
прочности на кручение коренной шейки и подставив туда значение
,
найдём коэффициент запаса прочности по касательным напряжениям
для
щеки.
Определим запас прочности щеки по нормальным
напряжениям.
Экстремальные значения радиального усилия
Для точки 1:
Амплитуда нормальных напряжений:
Среднее нормальное напряжение:
Запас прочности по нормальным напряжениям:
.
Для точки 2:
Амплитуда нормальных напряжений:
Среднее нормальное напряжение:
Запас прочности по нормальным напряжениям:
.
Определение общих запасов прочности щеки.
В точке 1.
Общий запас прочности:
В точке 2.
Общий запас прочности:
Общий запас прочности в точке 1 (наименьший) с
учетом динамического усиления:
, что является
допустимым.
6.2 Расчёт элементов шатуна на
прочность
Материал шатуна - сталь 18Х2Н4МА
Характеристики материала:
6.2.1 Расчёт поршневой головки
шатуна
Расчёт напряжений в поршневой головке от растягивающей
силы инерции= 36 мм - ширина стержня шатуна;= 33 мм - внешний радиус головки;
ρ = 50 мм - радиус
перехода от головки к стержню;вн = 25 мм - внутренний радиус головки;
α = 121° - угол заделки
поршневой головки.
Рис. 31 - Силовая расчетная схема поршневой
головки шатуна при действии растягивающей силы
Где
Изгибающий момент в сечении А-А при
где
- средний радиус поршневой головки.
Нормальная сила в сечении А-А при
Изгибающий момент на участке головки АВ.
Изгибающий момент на участке головки BC.
до
угла заделки
Нормальная к сечению головки сила на участке AB
Нормальная к сечению головки сила на участке BC
Максимальные напряжения возникают на внешней
стороне головки в местах перехода в стержень, т.е в заделке при
При условии совместной деформации головки и
втулки, обеспечиваемой первоначальным натягом, можно принять, что на головку
передается не вся сила, а только некоторая ее часть, определяемая соотношением
жесткостей на растяжение головки
и
втулки
.
Нормальное усилие, передающееся на головку,
составит:
,
где
,
- модули упругости материалов втулки и головки соответственно.
Нормальное усилие передающееся на головку
Напряжение в поршневой головке, имеющей
прямоугольное сечение, на внешней поверхности.
где
-
длина и толщина стенки головки соответственно.
Напряжение в поршневой головке, имеющей
прямоугольное сечение, на внутренней поверхности.
Таблица 5 - Напряжения поршневой головки от
растягивающей силы
|
α,
град
|
α,
рад
|
М,
Н*м
|
N,
Н
|
σрн, МПа
|
σрв, МПа
|
|
0,00
|
0,00
|
4,39
|
3967
|
41,49
|
16,53
|
|
10,00
|
0,17
|
4,18
|
3970
|
41,11
|
17,07
|
|
20,00
|
0,35
|
3,75
|
3979
|
39,98
|
|
30,00
|
0,52
|
2,97
|
3994
|
38,13
|
21,28
|
|
40,00
|
0,70
|
1,87
|
4015
|
35,63
|
24,82
|
|
50,00
|
0,87
|
0,57
|
4040
|
32,54
|
29,19
|
|
60,00
|
1,05
|
-0,96
|
4070
|
28,96
|
34,25
|
|
70,00
|
1,22
|
-2,58
|
4103
|
25,00
|
39,85
|
|
80,00
|
1,40
|
-4,33
|
4138
|
20,78
|
45,82
|
|
90,00
|
1,57
|
-6,28
|
4174
|
16,42
|
51,98
|
|
100,00
|
1,75
|
-4,84
|
4146
|
19,75
|
47,27
|
|
110,00
|
1,92
|
3,06
|
3993
|
38,33
|
21,00
|
|
120,00
|
2,09
|
17,05
|
3718
|
71,6
|
26,04
|
|
121,00
|
2,16
|
18,79
|
3684
|
75,7
|
-31,84
|
Рис. 32 - Эпюра напряжений в верхней части
поршневой головки
Расчёт напряжений в поршневой головке от силы,
сжимающей шатун
Рис. 33 - Расчетная схема поршневой головки
шатуна при действии сжимающей силы
Сила Рс имеет максимальное значение в момент
наибольшего давления газов в цилиндре. За этот момент принимаем момент
достижения поршнем ВМТ.
Изгибающий момент
и нормальная сила
определятся из
уравнений:
Изгибающие моменты
и
,
на участке AB и BC соответственно.
Так как угол
находится
на участке BC, то расчет ведем по формуле для
Нормальная к расчетному сечению сила
и
на
участке AB и BС соответственно.
Так как угол
находится
на участке BC, то расчет ведем по формуле для
Нормальное усилие, передающееся на головку,
составит:
,
где
,
- модули упругости материалов втулки и головки соответственно.
Нормальное усилие передающееся на головку
Напряжение в поршневой головке, имеющей прямоугольное
сечение, на внешней поверхности.
- длина и толщина
стенки поршневой головки соответственно.
Напряжение в поршневой головке, имеющей
прямоугольное сечение, на внутренней поверхности.
Максимальные напряжения в головке от сил,
сжимающих шатун, наблюдаются в местах заделки, т. е. при φ=α=121°.
Расчёт напряжений в поршневой головке от
запрессовки втулки и от нагрева головки
Удельное давление втулки на внутреннюю
поверхность
где:
- натяг при
посадке на втулку
- натяг вследствие
разности температурных расширений материала головки и втулки
- термический
коэффициент линейного расширения материала втулки.
-
термический коэффициент линейного расширения материала головки.= 150 C -
повышение температуры головки при работы двигателя.= 50 мм - внутренний диаметр
головки (внешний диаметр втулки).
= 44 мм -
внутренний диаметр втулки.
= 66 мм -
внешний диаметр головки.
-
коэффициент Пуассона,
.
,
- модуль
упругости материала головки и втулки соответственно.
Напряжения
на внешней поверхности головки
Напряжения
на внутренней поверхности головки
Общий
запас прочности верхней головки шатуна
Величина
деформации головки
Где
Величина
δ
не
должна превышать половины монтажного зазора между втулкой и поршневым пальцем
Где
Давление
между втулкой и поршневым пальцем от сил давления газа
,
где
Полученное
значение k лежит в пределах 500-900 кгс/см2
6.2.2
Расчет стержня шатуна
Максимальная
сила, сжимающая стержень шатуна
,
Где
Рz - максимальная сила давления газов,
Рj
- сила инерции ПДМ с учётом массы шатуна, расположенной над расчётным сечением.
Для
многооборотных двигателей: максимальное напряжение сжатия:
минимальное
напряжение растяжения
Где
Fmin = 0,605·10-3 м2 - площадь минимального сечения стержня шатуна, k = 1,2 -
коэффициент, учитывающий влияние изгиба.
Амплитуда
напряжений
Среднее
напряжение
Запас
прочности
Что
является допустимым для форсированных дизелей средней быстроходности.
6.2.3
Расчёт крышки кривошипной головки шатуна
Крышка
шатуна нагружается в ВМТ в начале такта впуска силой инерции
поступательно-движущихся и вращающихся масс шатуна, расположенных над полостью
разъема кривошипной головки.
При
расчёте отъёмной крышки шатуна делают следующие допущения:
Стык
между крышкой и шатуном не раскрывается, т.е. головка считается неразъёмной;
Сечение
головки предполагается постоянным и равным среднему сечению крышки;
Средний
диаметр головки считается равным расстоянию между шатунными болтами;
Распределение
давлений от растягивающей силы принимается косинусоидальным;
Место
заделки считается расположенным под углом α0 = 400 к
горизонтальной оси;
Вкладыши
деформируются совместно с головкой.
-
поступательно движущиеся массы.
- масса
вращающейся части шатуна.
- масса
крышки.
- длина
среднего сечения крышки
- длина
среднего сечения вкладыша
- толщина
среднего сечения крышки
- толщина
среднего сечения вкладыша
В
качестве расчётного усилия Р принимают силы инерции всех движущихся масс, за
исключением массы самой крышки
Напряжение
изгиба в среднем сечении крышки
,
Допускаемые напряжения изгиба -
где
- момент
инерции и площадь среднего сечения крышки;
- момент инерции и площадь среднего
сечения вкладыша;- момент сопротивления изгибу.
Для
прямоугольного сечения:
Уменьшение
диаметра кривошипной головки за счёт деформации во время работы
Для
форсированных среднеоборотных двигателей
6.2.4
Расчёт шатунных болтов
Сила
предварительной затяжки растягивает болт и сжимает соединяемые части шатуна. В
результате воздействия силы инерции на крышку нижней головки шатуна на болты
передается часть этой силы, вызывая дополнительное удлинение.
Материал
болтов: сталь 40ХН2МА
Предел
текучести
Предел
усталости
Длина
болта l = 85 мм
Число
болтов I = 2
Внутренний
диаметр резьбы
Средний
диаметр резьбы
Коэффициент
трения в резьбе
Нагрузка
на шатунные болты (сила инерции):
Сила
затяжки болта
Суммарная
сила, действующая на болт
Суммарное
напряжение, действующее на болт:
Скручивающая
нагрузка, возникающая за счет трения в резьбе болта и гайки:
Касательное
напряжение:
Запас
прочности по пластическим деформациям:
, что
допустимо.
В
процессе работы резьбового соединения к постоянным напряжениям от затяжки
добавляются переменные - от изменяющейся внешней нагрузки. Их амплитуда:
Запас
усталостной прочности:
, что также
допустимо.
6.3
Расчет элементов поршневой группы
.3.1
Расчет поршневого пальца
Рис.
35 - Силовая схема поршневого пальца
Материал
- сталь 18Х2Н4МА
Расстояние
между бобышками b = 50 мм
Опорная
длина подшипника a = 48 мм
Длина
пальца l = 110 мм
Внутренний
диаметр пальца d = 22 мм
Диаметр
пальца dп = 44 мм
Расчетная
нагрузка - максимальное усилие, с которым палец прижимается к бобышкам:
При
схеме нагружения, показанной на рисунке, максимальное напряжение изгиба
посередине длины пальца равно
,
что
допустимо для пальцев из легированной стали.
Напряжение
среза в пальце:
Максимальная
срезывающая сила действует на палец в сечениях, расположенных между бобышками и
головкой шатуна. Максимальное касательное напряжение в этих сечениях:
, что также
допустимо.
Напряжения
от овализации поперечного сечения пальца определяются по формулам
криволинейного бруса прямоугольного сечения.
Рис.
36 - Схема нагружения поршневого пальца
Рис.
37 - Эпюры нагружения от овализации
Рис.
38 - Расчётные точки (1-4) поршневого пальца
Напряжение
на внешней поверхности поршневого пальца в горизонтальном сечении в точке 1 при φ = 0
Напряжение
на внешней поверхности поршневого пальца в горизонтальном сечении в точке 2 при
φ
= 0
Напряжение
на внешней поверхности поршневого пальца в вертикальном сечении в точке 3 при φ = 90
Напряжение
на внешней поверхности поршневого пальца в вертикальном сечении в точке 4 при φ = 90
Где
;
Эти
значения допустимы для форсированных двигателей.
Деформация
(увеличение диаметра) пальца в средней части в направлении, перпендикулярном
оси цилиндра:
Наибольшие
удельные давления на поверхность пальца в шатуне и на бобышки поршня:
;
, что можно
считать допустимым для высокофорсированных дизелей.
6.3.2
Расчёт прочности поршневого кольца
На
рабочем режиме кольцо находится в сжатом состоянии и испытывает напряжения
изгиба, возникающие в результате действия сил давления от стенок цилиндра,
которые направлены радиально к центру кольца. При этом наружные волокна кольца
растянуты, а внутренние - сжаты. Рассматривая кольцо как криволинейный брус,
лежащий в одной плоскости и нагруженный равномерно распределённой нагрузкой,
определяем напряжения изгиба.
Напряжение
изгиба кольца в рабочем состоянии
, где P -
величина давления на кольцо со стороны рабочего цилиндра
Исходя
из конструктивных соотношений:
Радиальная
толщина кольца
Высота
кольца
Зазор
в замке в свободном состоянии
Зазор
в рабочем состоянии
Деформация
замка в рабочем состоянии:
Отсюда
напряжение изгиба кольца в рабочем состоянии
Допускаемые
значения напряжения изгиба (100÷200) МПа
Давление
кольца на зеркало рабочего цилиндра
Допускаемые
значения давлений лежат в пределах (0,06÷2) МПа.
Деформация
кольца при надевании его на поршень
Напряжение
изгиба при надевании кольца на поршень:
,
Допускаемые
значения напряжений изгиба лежат в пределах 300 МПа.
Список
литературы
1. Румянцев
В.В. Конструкция и расчет двигателей внутреннего сгорания: Учеб. пособие. СПб.:
Изд-во Политехн. ун-та, 2004. - 277 с.
2. Дьяченко
Н.Х., Харитонов Б.А., Петров В.М. и др. Конструирование и расчет двигателей
внутреннего сгорания: Учебник для вузов под ред. Дьяченко Н.Х. - Л:
Машиностроение. Ленингр. отд-ние, 1979. - 392 с.
. Алексеев
В.П., Иващенко Н.А., Ивин В.И. и др. Двигатели внутреннего сгорания: Устройство
и работа поршневых и комбинированных двигателей: Учебник для студентов втузов,
обучающихся по специальности «Двигатели внутреннего сгорания» под ред. Орлина
А.С., Круглова М.Г. - 3-е изд., перераб. и доп. - М.: Машиностроение, 1980. -
288 с.
. Батурин
С.А., Синицин В.А. Уравновешенность ДВС в примерах и задачах: Учебное пособие
/Алт. политехн. ин-т им Ползунова И.И./ - Барнаул: Б. и.,1990. - 88 с.
. Исаков
Ю.Н., Костин А.К., Ларионов В.В. Расчет рабочего цикла и газообмена в поршневых
ДВС: Пособие по курсовому проектированию под ред. Дьяченко Н.Х.- Л.: Изд-во ЛПИ
имени Калинина М.И., 1977. - 81 с.
. Дьяченко
Н.Х. Теория двигателей внутреннего сгорания. Рабочие процессы. - Л.:
Машиностроение, 1974. - 551 с.