Модульная технология обучения в профессиональном образовании

  • Вид работы:
    Курсовая работа (п)
  • Предмет:
    Педагогика
  • Язык:
    Русский
    ,
    Формат файла:
    MS Word
    248,98 kb
  • Опубликовано:
    2008-01-10
Вы можете узнать стоимость помощи в написании студенческой работы.
Помощь в написании работы, которую точно примут!

Модульная технология обучения в профессиональном образовании

Министерство образования и науки Украины

Украинская инженерно-педагогическая академия

Горный факультет

Кафедра СПД

КОМПЛЕКСНАЯ КУРСОВАЯ РАБОТА

ПО ПРОФЕССИОНАЛЬНОЙ ПЕДАГОГИКЕ И ПСИХОЛОГИИ

Модульная технология обучения в профессиональном образовании.

ВЫПОЛНИЛА:                                                                                           Берникова Н. А.

ГРУППА:                                                                                            ДГ-ЭМ3-2

РУКОВОДИТЕЛИ:

ПО ПЕДАГОГИКЕ:                                                                            Эткало М. А.

ПО ПСИХОЛОГИИ:                                                                          Корнеев А. С.

РАБОТА ЗАЩИЩЕНА С ОЦЕНКОЙ:

ДАТА ЗАЩИТЫ:

СТАХАНОВ, 2006

Реферат.

В данной курсовой работе содержится         листов, приложение

Психологический раздел.

В данном разделе рассмотрены основные понятия, законы и принципы  бихевиоризма, которые послужили основой для создания модульной технологии обучения. Также рассмотрена теория поэтапного формирования умственных действий П. Я. Гальперина, важность применения этой теории в модульном обучении.

Педагогический раздел.

Этот раздел посвящен разъяснению сущности модульной технологии образования, ее преимуществ над предметной системой образования и условия ее реализации в современных условиях профтехобразования Украины. Также рассмотрен Болонский процесс, условия его реализации, состояние Болонского процесса в Украине.

СОДЕРЖАНИЕ.

Раздел 1. Психологическая основа модульного обучения.

1. Психологические системы, лежащие в основе модульного обучения.

1.1.   Сущность бихевиоризма.

1.2.   Бихевиоризм и теория обучения.

1.3.   Особенности теории обучения Б. Ф. Скиннера.

1.4.   Главные направления критики бихевиористского подхода к модульному обучению.

2. Теория поэтапного формирования умственных действий П. Я. Гальперина как база модульной технологии обучения.

2.1.   Теория поэтапного формирования умственных действий.

2.2.   Структурные и функциональные части действий.

2.3.   Характеристики действий.

2.4.   Этапы формирования умственных действий.

3.Характеристика эксперимента.

Раздел 2. Педагогические условия реализации модульной технологии обучения в системе профтехобразования.

1. Анализ предметной системы образования и необходимость ее модернизации на основании интегрирования предметов.

2.Общие понятия о модульной системе обучения.

2.1.Структура модульной системы обучения.

2.2.Структура профессионального блока.

     2.3.Особенности модульной технологии обучения.

3.Болонский процесс.

3.1.Модернизация педагогического образования Украины в контексте Болонского процесса.

4. Условия реализации модульной технологии обучения в ГФ УИПА.

Введение

Поиск эффективных способов достижения профессиональной компетенции привел Международную организацию труда еще в начале 70-х годов к концепции модульного обучения профессиям. В результате была сконструирована модульная система профессионального обучения, которая позволяет эффективно и быстро реагировать на спрос производства, который постоянно меняется.

Модульное обучение в разных вариантах широко используется многими учебными заведениями. За последние 20-25 лет его идеи получили широкое распространение в США, Англии и других странах. Например, в Мичиганском университете модульный метод является одним из направлений индивидуального обучения, который позволяет организовать самообучение с регулированием не только скорости обучения, но и содержания учебного материала.

На сегодняшнем этапе развития экономики, когда в большинстве стран происходит переход от индустриальной к информационной эре, которая характеризуется использованием программно-управляемого оборудования, ЭВМ и других технических коммуникаций, ставятся высокие требования к подготовке рабочих и специалистов. Основным показателем уровня квалификации современного специалиста является профессиональная компетентность, которая включает в себя содержательный и процессуальный компоненты, которые являются связующей цепочкой знаний, умений и навычек. В отличие от обобщенного «социального заказа общества» на подготовку специалиста, профессиональная компетентность выражает реальный уровень подготовки кадров, предлагает постоянное обновление знаний, владение новой информацией для успешного решения профессиональных задач в конкретных условиях. Конкретный специалист должен знать сущность проблемы, уметь решать ее практически, владеть гибкостью метода.

Для реализации обозначенных требований происходит беспрерывное совершенствование системы обучения. Наиболее распространенная сегодня предметная система обучения терпит значительную модернизацию, направленную на интеграцию предметов в новое качество и переход к модульной системе обучения.

Раздел 1. Психологическая основа модульного обучения.

 

1. Психологические системы, лежащие в основе модульного обучения.

Технология модульного обучения получила огромную популярность среди европейских развитых стран. Но что лежит в основе этой системы обучения? В основе лежат основные законы и принципы популярного в начале ХХ столетия течения – бихевиоризма.

Сущность бихевиоризма.

Бихевиоризм возник в начале XX столетия как протест против субъективно-идеалистической психологии, предметом изучения которой были явления сознания, а научным методом – интроинспекция. Бихевиористы выступили за объективность психологических методов, указав на то, что инспекция принципиально ненаучный метод, т.к. она не допускает никакой объективной регистрации. Но поскольку бихевиористы считали, что психические явления «не носят объективно доказуемого характера, а потому они никогда не смогут стать предметом истинно научного исследования», они призывали отказаться от их изучения и обратиться к изучению поведения. Главное, подчеркивают бихевиористы, что делает человек, а не что он думает. Призыв к объективности в психологии, обращение к изучению поведения человека – бесспорная заслуга бихевиоризма, и в начале ХХ века это течение было прогрессивным.

Однако бихевиоризм с самого начала имел два принципиальных порока. Во-первых, он не преодолел эпифеноменалистческого и идеалистического понимания психики. Бихевиористы, как и представители старой эмпирической психологии, рассматривали психику как нечто замкнутое внутри субъекта, подвластное лишь методу интроинспекции и недоступное объективным методам науки. Вместо преодоления такого понимания психики они просто отбросили ее как предмет изучения, сохранив субъективно-идеалистический подход к ней.

Во-вторых, поведение, которое бихевиористы сделали предметом своего изучения, они трактовали грубо механически: «очистив» поведение от психики, бихевиористы свели его к системе движений. Это привело к тому, что они говорили о поведении желудка, и о поведении кишечника, и о поведении человека как явлениях одного типа. Движения, разумеется, учавствуют в поведении, но поведение не сводится к сумме движений. Больше того, собственно поведение часто состоит в том, чтобы не производить никаких движений. Следовательно, наличие движений не является признаком, специфическим для поведения. Таким образом, бихевиоризм – это соединение субъективно-идеалистического понимания психики с механистическим пониманием поведения. Если старая эмпирическая психология отрывала сознание от поведения, от деятельности субъекта, то бихевиоризм оторвал поведение от сознания, от психики в целом.

Наконец, бихевиористы не увидели качественного своеобразия в поведении человека по сравнению с животными. Они рассматривают человека не как социальное, а как чисто биологическое существо. Д. Уотсон, основоположник поведенческой психологии, указывает, что она выросла из работ над поведением животных.

Задачу психологии бихевиоризм видит в изучении соотношения между воздействиями (стимулами) и ответными движениями организма (реакциями). Отсюда знаменитая формула бихевиоризма: SR.

 Психология должна устанавливать, при каком соотношении стимулов (S) получается интересующая нас реакция (R) и, наоборот, какие стимулы лежат за той или иной реакцией. Наивысшая задача психологии – показать, как складывается поведение человека из отдельных реакций и научится получать заданные формы поведения, управляя системой стимулов. Таким образом, бихевиориста интересует только то, что действует на человека, и его ответная реакция на это воздействие. Центральные же процессы, опосредующие связь стимул – реакция, не учитываются, считаются предметом физиологии. Но, как известно, эффект внешнего воздействия во всем живом зависит от наличного внутреннего состояния организма, на который оказывается воздействие. Поведение человека не составляет исключения. Оказываемые на человека воздействия всегда преломляются через систему его наличных потребностей, стоящих перед ним задач, опосредуется характером деятельности (в том числе и психической), направленной на эти воздействия как на свой предмет. Следовательно, об однозначной связи стимула и реакции не может быть и речи. Начиная с 30-х годов, увлечение бихевиоризмом начинает спадать. К этому времени бихевиоризм уже потерял свою первоначальную определенность. Дело в том, что при экспериментальном изучении поведения внутренние условия, психический фактор все время давали себя знать, и бихевиористы вынуждены были считаться с этим. Поскольку они не преодолели идеалистического понимания психики, поэтому пошли на соединение со старой эмпирической психологией.

Как известно, «падение» бихевиоризма особенно рельефно выступило в работах Э. Толмена. В его необихевиоризме фактически восстановлена вся основная система понятий интоспективной психологии, но сделана попытка трактовать их через объективные данные поведения. Если Д. Уотсон сводит поведение к системе движений, то Толмен считает, что поведение как психологическое образование качественно специфично, не сводимо к сумме элементарных реакций, входящих в него. Толмен подчеркивает при этом целостный характер поведения, что делает под явным влиянием гештальтизма. Основную характеристику Толмен видит в его целевом характере. Эта характеристика поведения рассматривается им как первичная. Все психические процессы он рассматривает как производные от поведения; мотивационные, познавательные процессы, способности и др. он относит к промежуточным звеньям («детерминантам» поведения), опосредствующим реакцию. Конечная реакция, по Толмену, определяется в первую очередь стимулом и исходным физиологическим состоянием организма, которые являются начальными причинами, и во вторую очередь опосредствующими детерминантами (промежуточными переменными), которые включаются между начальными причинами и конечным поведением.

Таким образом, бихевиоризм пришел к признанию, что поведение не может быть изучено по схеме стимул – реакция. Изучение поведения неизбежно требует учета психологических факторов, включения в рассмотрение сознания. Толмен при этом правильно указывает, что сознание должно быть определено объективно, исходя из данных поведения. Но вместо принятия единства поведения и сознания, признания за ним реальной жизненной функции он пытается свести сознание к поведению, лишить его специфики. Вслед за интроспективной психологией он превращает сознание в эпифеномен, оторванный от реальных взаимоотношений субъекта с миром. Это утверждение вносит неразрешимые противоречия в систему Толмена, лишая его возможности определить сознание функционально, опираясь на объективные особенности поведения. В самом деле, если сознание не вносит никаких качественных особенностей в поведение, то невозможно установить, где оно имеет место в поведении, где нет. С. Л. Рубинштейн, заканчивая анализ системы Толмена, пишет: «За психологическим псевдообъективизмом бихевиоризма скрывается, таким образом, явный гносеологический субъективизм».

 Более чем за полвека своего существования бихевиоризм претерпел значительные изменения, которые в основном шли по пути признания роли психики, понимаемой в духе старой субъективно-идеалистической психологии, и вели к сдаче первоначальных позиций, превращению его в эклектическое половинчатое течение, в настоящее время, существующее в виде различных школ необихевиоризма.

Бихевиоризм и теория обучения.  

 

Основные законы обучения.

Основные законы обучения бихевиористской теории широко применяются в модульной технологии обучения. Принципы бихевиористской теории обучения были сформулированы Э. Торндайком, который длительное время изучал особенности научения животных. Его опыты с животными послужили основой возникновения бихевиористского направления в психологии. Но опыты с животными нельзя полностью переносить на человека, поэтому принципы бихевиоризма в практике модульного обучения усовершенствованы.

Правомерность переноса принципов научения животных на обучение человека у Торндайка не вызывает сомнений, т.к. для него не существует качественных различий между этими двумя процессами. Он прямо пишет: «Развитие животного мира в этом отношении состоит в количественном росте и количественном усложнении того же самого процесса связи между ситуацией и ответной реакцией, присущего всем позвоночным и даже низшим животным, начиная хотя бы с миног и кончая самим человеком».

Процесс учения по Торндайку, заключается в установлении определенных связей между данной ситуацией и данной реакцией», а также в упрочнении этих связей.

В качестве основных законов образования  и связи между стимулом и реакцией он указывает закон эффекта, закон повторяемости (упражняемости) и закон готовности.

Особое значение Э. Торндайк придает закону эффекта. Он его определяет следующим образом: «Когда процесс установления связи между ситуацией и ответной реакцией сопровождается или сменяется состоянием удовлетворения, прочность связи возрастает; когда связь эта сопровождается или сменяется состоянием неудовлетворения, прочность ее уменьшается».

Закон готовности указывает на зависимость  скорости образования связи от соответствия ее наличному состоянию субъекта. «На каждой психологической связи, - пишет Торндайк, - лежит отпечаток индивидуальной нервной системы в ее специфическом состоянии». Этот закон является главным преимуществом модульной системы обучения. Т.е. каждый учащийся получает образование по индивидуальному графику, по мере постепенного усвоения материала. Это является очень важным моментом, т.к. каждый учащийся обладает особенным мышлением и психикой и поэтому обучение по строгому графику приводит к высокому уровню неуспеваемости в школах и высших учебных заведениях.

Кроме этих трех принципов, известных под названием «законов научения», Торндайк указывает ряд дополнительных условий, способствующих образованию и закреплению связи между внешним воздействием и соответствующей реакцией обучаемого. К их числу он относит осознание сопринадлежности стимула и реакции, приемлемости этой связи. Сопринадлежность стимула и реакции заключается, например, в том, что они осознаются как принадлежащие к одному классу предметов (например, являются частями речи) или как элементы чего-то целого и т.д.

Далее Э. Торндайк указывает, что скорость образования связи зависит также от  легкости различения стимула и доступности ответной реакции.

Следует отметить, что Э. Торндайк выступает против тех сторонников бихевиоризма, «которые ничего не хотят видеть в психологической жизни человека, кроме внешних проявлений мускульной деятельности». Он указывает, что деятельность нейронов состоит не только  в проведении нервного тока от внешних чувствительных органов к внешним же двигательным. Они имеют и свою внутреннюю жизнь: создают внутренние связи между собой и между вызываемыми их поведением различными образами, идеями и чувствами. Но, признавая реальность психики, Э. Торндайк не учитывает ее при анализе обучения, ограничивая последний схемой стимул – реакция – подкрепление. Значение психики в образовании связи не показывается и не учитывается. Психика остается внутренним процессом, идущим параллельно нервной деятельности и никак невключенным в поведение субъекта; назначение ее оказывается неизвестным. Такое понимание психики ничем не отличается от понимания ее старой субъективно-идеалистической психологией.

 Такое понимание психики неприемлемо в современных технологиях обучения. Сейчас для хорошего педагога очень важно быть великолепным психологом, чтоб всегда была возможность найти подход к каждому учащемуся. Психика имеет очень большое значение в процессе обучения. Модульная система обучения ориентирована на этот факт, поэтому можно судить о ее гибкости, индивидуализации обучения, быстроты, лучшего качества и т.д. 

Особенности теории обучения Б. Ф. Скиннера.

В основе модульной системы обучения лежат очень многие теории. Некоторые моменты теории обучения по  Б.Ф.Скиннеру являются очень важными.

 Б. Ф. Скиннер, будучи позитивистом, выступает вообще против всяких теорий обучения и предлагает строить учебный процесс на основе опыта. Он утверждает, что теории ведут лишь к ненужной трате времени и заблуждениям. Когда факты в полном порядке, пишет он, теории имеют тенденцию исчезать. Скиннер считает, что психологическое исследование должно быть на уровне функционального описания непосредственно наблюдаемых фактов.

 Однако анализ принципов, предложенных им для программирования процесса обучения, показывает, что в их основе лежит бихевиористическая теория. Как и для других бихевиористов, для Б.Ф.Скиннера характерна биологизация  обучения человека. Все основные принципы обучения получены им в результате опытов по научению животных: вначале Скиннер работал с крысами, а позже с голубями. Основным методом его работы с животными был метод постепенного наведения их на заданную реакцию.

Б.Ф.Скиннер называет оперантными реакциями совершаемые реакции. Он считает их отличными от классических павловских рефлексов, которые он называет респондентными, или вызываемыми.

При обучении человека Б.Ф.Скиннер решающее значение придает оперантному поведению, т.к. поведение человека, по его мнению, в основном носит оперантный характер. Если респондентные акты поведения он относит к непроизвольному поведению, то оперантные – к произвольному.

Б.Ф.Скиннер выделяет несколько видов оперантного поведения:

1) Инструментальное обусловливание: формируемые реакции сами приводят к получению подкрепления, служат средством, инструментом достижения его.

1)2) Обучение с помощью проб и ошибок (в модульной технологии обучения учащийся большую часть своего времени тратит на самообразование, при этом имеет достаточно длительный период для исправления своих ошибок).

1)3) Вербальное обусловливание (выработка различного рода вербального поведения).

1)4) Формирование понятий и внезапное решение задач.

В качестве меры силы оперантной реакции Б.Ф.Скиннер использует скорость реакций. Увеличение скорости реагирования служит показателем возросшей вероятности реакции.

В качестве единицы анализа поведения Б.Ф.Скиннер вначале выделял рефлекс, под которым он понимает связь между определенным раздражителем и соответствующей реакцией. Позднее в ряде работ он указывает, что вполне правомерно производить анализ поведения на уровне оперантной реакции. В характеристику условной оперантной реакции он включает раздражитель, который, по его мнению, является поводом для реакции, саму реакцию и подкрепление. Таким образом, анализ поведения ведется по той же бихевиористической схеме: стимул – реакция – подкрепление.

Полностью принимает Б.Ф.Скиннер и бихевиористские законы научения. На первый план он выдвигает закон эффекта (принцип подкрепления, по Уотсону). Эмпирически этот принцип проявляется в том, что реакции, ведущие к успеху («вознаграждение»), укрепляются и сохраняются, а реакции, ведущие к неуспеху («невознаграждению»), слабеют и исчезают.

Кроме этих основных принципов обучения Б.Ф.Скиннер вводит добавочные: принцип различения раздражителей и принцип дифференциации реакций. Различение раздражителей заключается в том, что оперантная реакция совершается только при включении в экспериментальную операцию определенного раздражителя и не имеет места при его отсутствии. Например, крыса нажимает на рычаг только при трех миганиях света. Дифференциация реакций состоит в том, что на тот или иной раздражитель животное отвечает оперантной реакцией строго определенной формы и силы. Например, крысу можно научить надавливать на рычаг с заданной силой или удерживать рычаг в течение определенного периода.

Главные направления критики бихевиористского подхода к модульному обучению.

С самого начала возникновения бихевиористского варианта модульного обучения указывалось на непродуктивность использования его при обучении человека. В ряде работ отмечается, что формула стимул – реакция – подкрепление  неадекватна человеческому поведению, она слишком груба для анализа процесса обучения. Так, Р. А. Гольдбек и Л. Д. Бригс пишут, что учение в этом случае рассматривается упрощенно, игнорируется основной фактор, определяющий процесс научения: психическая деятельность учащихся («сложное скрытное поведение» по их словам).

Критика рассматриваемого подхода к обучению имеет несколько направлений. Прежде всего, вызывает серьезный протест перенос результатов, полученных при научении животных, на процесс обучения человека. Считают, что это было причиной многих неудач в области обучения, пытающегося применить бихевиористскую теорию к школьным условиям. Обучение, пишет Г. Телен, осуществляется для активизации высших умственных процессов учащихся, а не для сведения всего обучения к тому, что может быть достигнуто с помощью умственных процессов самого низшего уровня, что обычно получается на крысах, голубях, обезьянах. Надо исследовать опыт преподавания, а не научение животных.

Принципы, предложенные Б.Ф.Скиннером, критикуются и за то, что они не обеспечивают развития мышления. Указывается, что критерием образования являются достижения в умственном развитии: умении рассуждать, формулировать гипотезы, решать новые интеллектуальные задачи. Особо подчеркивается необходимость творческого мышления, умение переносить приобретенные знания в новые условия. Существующие же программы не обеспечивают не только этих требований, но не гарантируют даже и понимания. Так, Дж. Блит подчеркивает, что нельзя переоценивать метод простой тренировки. Тренировка, сопровождаемая наградой, приводит к правильному поведению крысы в лабиринте. Но ее поведение определяется только наградой, а не логикой лабиринта. Аналогично, студент тоже может натренироваться давать правильные ответы на определенные вопросы, но это еще не будет изучение предмета, понимание логики.

Отсюда логично следует критика принятого в модульном обучении критерия обученности – правильного ответа: факт выбора правильного ответа или конструирование его еще не означает, что учащийся получил необходимые знания.

В процессе обучения, пишет Г. Телен, обучающий должен интересоваться не только конечным продуктом, но и путями, которыми учащиеся приходят к этому результату. Ту же мысль о необходимости формирования познавательной деятельности учащихся подчеркивают Р. М. Ганье и Л. Т. Браун, когда анализируют механизм переноса полученных знаний новые условия. Источник положительного переноса, указывают они, не в самом поведении, в мыслительной деятельности учащихся.

Бихевиористский путь программирования, не обеспечивая управления усвоением рациональных приемов мышления, познавательной деятельности в целом, не может привести к полноценному усвоению знаний. Непродуктивность бихевиористского управления процессом учения все более осознается специалистами в области модульного обучения. А. Роу указывает, что умственные усилия, оказались колоссальными по сравнению с пользой, полученной в результате этого. И он высказывает опасение, что то же самое может случится и в области модульного обучения. Г. А. Телен, проанализировав системы Б. Ф. Скиннера и Н. Краудера, пришел к выводу, что обоснованность программирования этого типа остается неопределенной и теоретически спорной.

2. Теория поэтапного формирования умственных действий П. Я. Гальперина как база модульной технологии обучения.

 

Построение системного типа ориентировочной основы действий учащихся позволяет формировать у них обобщенные приемы познавательной деятельности, обеспечивающие им самостоятельную ориентировку во всех частных видах объектов данной области знаний.

Теория поэтапного формирования умственных действий.

Эта теория рассматривает учение как систему определенных видов деятельности, выполнение которых приводит ученика к новым знаниям и умениям. «Условимся называть учением, - пишет П. Я. Гальперин, - всякую деятельность, поскольку в результате у ее исполнителя формируются новые знания и умения или прежние знания и умения приобретают новые качества». Каждый вид деятельности учения, в свою очередь, состоит из системы действий, объединенных единым мотивом и в совокупности обеспечивающих достижение цели деятельности, в состав которой они входят.

Анализ учения должен начинаться с выделения деятельности, которую необходимо выполнить обучаемым, чтобы решить поставленную перед ними задачу; затем необходимо идти к  выделению слагающих ее действий, а затем – к структурному и функциональному анализу содержания каждого из них. Этот принцип лежит в основе модульной технологии обучения – весь учебный материал делится на модули, модули, в свою очередь, на модульные единицы, а модульные единицы разбиваются на модульные элементы. Так, получаем взаимосвязанную цепочку учебной информации.

Таким образом, центральным звеном этой теории является действие как единица деятельности учения, как единица любой человеческой деятельности. Разделение деятельности на действия послужило базой для создания модульной технологии обучения. На основе теории П. Я. Гальперина была определена важность разбиения всего учебного материала на определенные модули взаимосвязанной информации.

Структурные и функциональные части действия.

В модульной системе обучения очень важным является осознанное выполнение действия.

Выполнение действия субъектом всегда предполагает наличие определенной цели, которая, в свою очередь, достигается на основе какого-то мотива. Действие всегда направлено на материальный или идеальный предмет (объект). Оно выполняется субъектом по образцу (внешнему или внутреннему, содержащему или все необходимые знания, или лишь некоторые) и с учетом условий действия. Наконец, всякое действие включает определенную совокупность операций, выполняемых в определенном порядке и в соответствии с определенным правилом. Последовательное выполнение операций составляет процесс выполнения действия. Процесс выполнения действия будет наиболее продуктивным, если операции будут логичны и взаимосвязаны.

В данной теории образ действия и образ среды действия объединяются в единый структурный элемент, на основе которого происходит управление действием и который называется ориентировочной основой действия.

Ориентировочная основа действия – это та система условий, на которую реально упирается человек при выполнении действия.

Под действием понимается такой процесс решения жизненных задач человеком, который побуждается той целью, на достижение которой он направлен. Действие же побуждается не самой его целью, а мотивом (целью) той деятельности, в состав которой оно входит. Операции – это способы, которыми осуществляется действие. Так, например, решение арифметической задачи при совпадении мотива и цели будет деятельностью. Сложение, допустим, двух многозначных чисел, которое по ходу решения этой задачи выполняет ученик, будет действием, а сложение в этих числах единиц или десятков будет операцией. В соответствии с таким пониманием понятия действия и операции являются относительными.

 

Действие по выполняемым им функциям может быть разделено на 3 части:

ориентировочную, исполнительную и контрольную. «В каждом человеческом действии, - пишет П. Я. Гальперин, есть ориентировочная, исполнительная и контрольная часть» (Гальперин, 1958б, стр34) В работах Гальперина иногда в качестве основных частей выделяются только ориентировочная и исполнительная, а ориентировочная, в свою очередь, делится на собственно ориентировочную и контрольную. Ориентировочная часть действия связана с использованием человеком совокупности тех объективных условий, необходимых для успешного выполнения заданного действия, которые вошли в содержание ориентировочной основы действия. Исполнительная часть – рабочая часть действия – обеспечивает заданные преобразования в объекте действия (идеальные или материальные). Контрольная часть действия направлена на слежение за ходом действия, на сопоставление полученных результатов с заданными образцами. С ее помощью производится необходимая коррекция, как в ориентировочной, так и в исполнительной частях действия. В модульном обучении очень важными являются все 3 части действия. Ориентировочная часть позволяет учащимся ознакомится с программой будущего модуля, его задачами и целями. Этот этап очень важен, т.к. именно он психологически настраивает учащегося на изучение нового материала. Исполнительная часть действия – это непосредственно процесс обучения. Контрольная часть позволяет провести контроль усвоенных знаний.

Характеристики действия.

«Действие человека всегда происходит на том или ином уровне; …действие всегда обладает той или иной степенью обобщения, производится с разной полнотой операций и с разной мерой освоения» (Гальперин, 1965а, стр. 10). Таким образом, любое действие субъекта может быть описано путем указания степени сформированности основных его характеристик. К числу независимых характеристик (параметров) действия относятся: форма, обобщенность, развернутость и освоенность (автоматизированность, быстрота и т.д.) Форма действия характеризует степень (уровень) присвоенности действия субъектом – главный аспект изменения действия на пути его преобразования из внешнего (материального) во внутреннее (умственное).

 

 Формы действия бывают:

ü Материальная и материализованная.

ü Персептивная.

ü Внешнеречевая.

ü Умственная.

 

Этапы формирования умственных действий.

Знание структуры, функций и основных характеристик действия позволяют моделировать наиболее рациональные виды познавательной деятельности и намечать требования к ним в конце обучения. Для того чтобы запрограммированные виды познавательной деятельности стали достоянием обучаемых, их надо провести через ряд качественно своеобразных состояний по всем основным характеристикам. Действие, прежде чем стать умственным, обобщенным, сокращенным и освоенным, проходит через переходные состояния. Основные из них и составляют этапы усвоения действия, каждый из которых характеризуется совокупностью изменений основных свойств (параметров) действия.

Рассматриваемая теория выделяет в процессе усвоения принципиально новых действий пять этапов. В последние годы П. Я. Гальперин указывает на необходимость введения еще одного этапа, где главная задача состоит в создании необходимой мотивации у обучаемого. Независимо от того составляет решение данной задачи самостоятельный этап или не составляет, наличие мотивов, необходимых для принятия учащимися учебной задачи и выполнения адекватной ей деятельности, должно быть обеспечено. Если этого нет, то формирование действий и входящих в них знаний невозможно. (В практике хорошо известно, что если ученик не хочет учиться, то научить его невозможно.) С целью создания положительной мотивации обычно используется создание проблемных ситуаций, разрешение которых возможно с помощью того действия, к формированию которого намечено приступить.

Характеристика основных этапов процесса усвоения.

На первом этапе учащиеся получают необходимые разъяснения о цели действия, его объекте, системе ориентиров. Это этап предварительного ознакомления с действием и условиями его выполнения – этап составления схемы ориентировочной основы действия.

На втором этапе – этапе формирования действия в материальном (или материализованном) виде учащиеся уже выполняют действие, но пока во внешней, материальной (материализованной) форме с развертыванием  всех входящих в него операций.

После того как все содержание действия оказывается усвоенным, действие необходимо переводить на следующий, третий этап – этап формирования действия как внешнеречевого. На этом этапе, где все элементы действия представлены в форме внешней речи, действие проходит дальнейшее обобщение, но остается еще неавтоматизированным и несокращенным.

Четвертый этап – этап формирования действия во внешней речи про себя – отличается от предыдущего тем, что действие выполняется беззвучно и без прописывания – как проговаривание про себя.

С этого момента действие переходит на заключительный, пятый этап – этап формирования действия во внутренней речи. На этом этапе действие очень быстро преобретает автоматическое течение, становится недоступным самонаблюдению.

Теория поэтапного формирования умственных действий П.Я.Гальперина безусловно послужила основой для модульной технологии обучения.

Вывод

Рассмотрев теорию поэтапного формирования умственных действий П. Я. Гальперина и популярное в начале ХХ века течение бихевиоризма можно выделить основные системы, которые лежат в основе модульной системы обучения.

Прежде всего, необходимо выделить важность теории П. Я. Гальперина. Именно эта теория послужила толчком для создания модуля. В теории ясно показана важность разбиения всей деятельности на отдельные взаимосвязанные действия. Так, в модульной системе обучения разбитая учебная информация на отдельные взаимосвязанные блоки усваивается учащимися намного легче и быстрей. Кроме того, разбиение всего учебного материала на модули предусматривает исключение ненужной информации, которая изучается при предметной системе образования. Поэтапное формирование умственных действий очень важно в процессе образования. Как известно, в один модуль может включаться всего несколько тесно взаимосвязанных дисциплин. В процессе изучения учебного материала учащийся не перенапрягает свои умственные способности и память благодаря логической связи между предметами и немногочисленностью их. Поэтому, учащийся может постепенно получать необходимые знания согласно теории поэтапного формирования умственных действий П. Я. Гальперина.

Одним из наиболее важных преимуществ модульного обучения является тесная взаимосвязь теоретических знаний и практических навыков и умений, т.к. каждый раз после получения определенного объема теоретической информации учащийся сразу же закрепляет ее практически. Причем будет выполнять необходимое действие до тех пор, пока оно не будет хорошо получаться. При этом появляется очень важная в процессе обучения связь теории с практикой.

Это соответствует одному из трех законов бихевиоризма, а именно закону упражняемости.

При проверке знаний учащийся проходит модульные тесты. Если результаты неудовлетворительны, учащийся может повторно изучать необходимый материал до тех пор, пока не будут достигнуты хорошие результаты обучения. Это является проявлением закона эффекта.

Бихевиористский закон готовности предполагает индивидуализацию обучения. Это очень важно, т.к. каждый человек обладает разными умственными способностями. В предметной системе обучения очень высокий уровень неуспеваемости обусловлен именно этим. Допустим, преподаватель заинтересовал учащегося определенной темой, человек уже полностью готов к получению новой информации, которая хорошо усвоится. Но существуют еще и другие учащиеся, которым пока эта тема неинтересна. В то время, пока преподаватель будет пытаться заинтересовать (приводить в состояние готовности получить новую дозу информации) остальных, первый учащийся утомится ждать и потеряет интерес к данной теме. То же самое можно сказать и о жестких временных рамках обучения. Мне известно множество случаев, когда дети в начальных классах просто теряют интерес к учебе, хотя вначале учебного процесса стремились к знаниям. Причина всегда одна – для одних процесс изучения определенного материала слишком длителен и его постоянное повторение утомляет, для других же слишком мало времени из-за чего дети начинают отставать, им становится тяжело догнать остальных и, наконец, им просто надоедает эта вечная гонка, поэтому они теряют какой-либо интерес к учебе. Так же дело обстоит и с более взрослыми людьми.

Модульная технология обучения очень важна в современном мире, т.к. она ориентирована на психологические особенности каждой личности.

1. Анализ предметной системы обучения и необходимость ее модернизации на основании интегрирования предметов.

Сегодня главной в образовании является предметная система обучения. Если посмотреть на источники ее создания, то можно увидеть, что она создана в начале интенсивного развития и дифференциации наук, быстрого увеличения знаний в разных областях человеческой деятельности. Дифференциация наук привела к созданию огромного количества предметов (дисциплин). Наиболее наглядно это проявилось профессионально-техническом обучении, учащиеся профессионально-технических учебных заведений изучают до 25 предметов, которые слабо связаны между собой.

Известно, что каждая конкретная наука является логической системой научных знаний, методов и средств познания. Цикл специальных предметов представляет собой синтез фрагментов научно-технических и производственных знаний и видов производственной деятельности.

Предметная система является эффективной при подготовке учащихся и студентов по фундаментальным и некоторым прикладным дисциплинам, в которых теоретические знания и практические умения в конкретных областях знаний или деятельности приведены в систему. Предметная система органично вписалась в классно-урочную форму организации обучения. К другим преимуществам предметной системы обучения можно отнести сравнительно простую методику составления учебно-программной документации и подготовку преподавателя к занятиям.

В то же время предметная система имеет существенные недостатки, основными из которых являются:

ü системность знаний в учебных предметах связана с большим количеством фактического учебного материала, терминологической перенагруженностью, неопределенностью и несогласованностью объема учебного материла с уровнем его сложности;

ü многопредметность неизбежно ведет к дублированию учебного материала и связана с увеличением времени на обучение;

ü не согласованная учебная информация, которая поступает от разных предметов, усложняет для учеников ее систематизацию и , как следствие, затрудняет формирование из них целостной картины окружающего мира;

ü поиск межпредметных связей усложняет учебный процесс и не всегда позволяет систематизировать знания учащихся;

ü предметное обучение, как правило, носит информационно-репродуктивный характер: ученики получают «готовые» знания, а формирование умений и навыков достигается путем воссоздания образцов деятельности и увеличения количества исполнения ими заданий. Это не обеспечивает эффективность обратных связей и, как следствие, усложняется управление обучения учащихся, что приводит к снижению его качества;

ü поточный учет успешности учащихся, как один из важных инструментов совершения обратных связей, недостаточно эффективен из-за относительно больших (15-20%) ошибок знаний и умений учащихся по субъективной методике преподавателей;

ü разнообразность предметов, которые одновременно изучаются, большой объем разнопланового по подобности учебного материала приводит к перегружению памяти учащихся и к невозможности реального усвоения учебного материала всеми учащимися;

ü жесткая структура учебно-программной документации, лишняя регламентация учебного процесса, которые включают жесткие временные рамки урока и сроков обучения;

ü слабая дифференциация обучения, ориентирование на «среднего» учащегося;

ü преимущественно фронтально-групповая организационная форма обучения вместо индивидуальной.

Из практики профессионального обучения известно, что учащиеся лучше воспринимают и усваивают комплексные интегрированные знания. Поэтому возникает необходимость создания соответствующей системы обучения, разработки теоретических основ и методик интегрирования предметов, разработки учебных программ на блочно-модульной основе и содержания дидактических элементов.

2. Общие понятия о модульной системе обучения.

Модульная система производственного обучения впервые была разработана Международной организацией труда (МОТ) в 70-х годах ХХ века как обобщение опыта подготовки рабочих кадров в экономически развитых странах мира.

 Эта система быстро распространилась по всему миру и, по сути, стала международным стандартом профессионального обучения. Она обеспечивает мобильность трудовых ресурсов в условиях НТП и быстрое переобучение работников, которые освобождаются при этом.

Модульная система разрабатывалась в рамках популярной тогда индивидуализированной системы обучения Ф. Келлера, поэтому включило в себя ряд позитивных моментов: формирование конечных и промежуточных целей обучения; распределение учебного материала на отдельные разделы; индивидуализированные темпы обучения; возможность перехода к изучению нового раздела, если полностью усвоен предыдущий материал; регулярный тестовый контроль знаний.

Появление модульного метода – попытка ликвидировать недостатки следующих существующих методов профессиональной подготовки:

~   направленность профессиональной подготовки на получение профессии в общем, а не на выполнение конкретной работы, что мешало устраиваться на работу выпускникам учебных заведений;

~   негибкость подготовки относительно требований отдельных производств и технологичных процессов;

~   несоответствие подготовки довольно сильно дифференцированному общеобразовательному уровню разных групп населения;

~   отсутствие учета индивидуальных особенностей учеников.

Главное в модульном обучении – возможность индивидуализации обучения. С точки зрения Дж. Рассела, наличие альтернативных (выборочных) модулей и свободный их выбор позволяет всем ученикам усвоить учебный материал, но в индивидуальном темпе. Важно, чтоб задания для учеников были настолько сложны, чтоб они работали с напряжением своих умственных способностей, но, вместе с тем, настолько сложными, чтоб не было навязчивого педагогического руководства. В потребности вольного выбора модуля из альтернативного набора скрывается одна из возможностей формирования готовности к выбору как черты личности, важной также и для формирования самостоятельности в образовании. В то же время при индивидуализированной системе обучения от учащегося требуется полное усвоение учебного материала с конкретным испытанием по каждому модулю.

Гибкость модульного обучения. Дж. Рассел представляет модуль, как единицу учебного материала, которая отвечает отдельной теме. Модули могут группироваться в разные комплекты. Один и тот же модуль может отвечать отдельным частям требований, которые касаются разных курсов. Добавляя «новые» и исключая «старые», можно, не изменяя структуру, составить любую учебную программу с высоким уровнем индивидуализации. Соглашаясь с такой трактовкой «гибкости», П. Юцявичене возражает против рассмотрения модулей как единиц учебного материала, которые соответствуют одной теме. Гибкость в таком понимании приведет к фрагментарности обучения.

Элективность обучения (возможность свободного выбора действий).

Следуя системе Ф. Келлера, важной чертой модульного обучения является отсутствие жестких организационных временных рамок обучения: оно может проходить в удобное для учащегося время. Отсутствие жестких временных рамок позволяет ученику продвигаться в обучении со скоростью, которая соответствует его способностям и наличия свободного времени: ученик может выбирать не только необходимые ему модули, но и порядок их изучения. Дж. Рассел утверждает, что модульное обучение требует непосредственной ответственности ученика за результат обучения, т.к. для него создаются комфортные условия для усвоения содержания модулей. При таком подходе существенно увеличивается мотивация обучения, т.к. учащийся может свободно выбирать удобные для него способы, средства и темпы обучения. Но при этом не исключается роль преподавателя (инструктора).

Активность учащихся в процессе обучения. Для эффективного усвоения учебного материала учащийся должен активно над ним работать. Главным преимуществом методики в учебных заведениях Западной Европы является деятельность учащихся. Другими словами, - акцент ставится не на преподавании, а на самостоятельной индивидуальной работе учащихся с модулями.

Функции педагога. С появлением модульного обучения функции педагога меняются, т.к. акцент делается на активную учебную деятельность учащихся. Педагог освобождается от рутинной работы – преподавания несложного учебного материала, активный контроль знаний учащихся сменяется самоконтролем. Больше времени и внимания педагог уделяет стимулированию, мотивации обучения, личными контактами в процессе обучения. При этом он должен быть высоко компетентным, что позволяет ему давать ответы на те сложные вопросы творческого характера, которые могут возникнуть у учащихся в процессе работы с модулем.

Взаимодействие учащихся в процессе обучения. Современное понимание сути процесса обучения прежде всего в том, что обучение – процесс субъект – субъективного взаимодействия педагога и учащихся, а также учащихся между собой. Это взаимодействие базируется на общении. Поэтому обучение можно определить, как «общение, в процессе которого и при помощи которого усваивается определенная деятельность ее результат». При общении происходит передача сути обучения. Интенсивный индивидуальный контакт – является одним из факторов эффективности модульного обучения и одновременно способом индивидуализации обучения.

Главное отличие модульной системы обучения от традиционной заключается в системном подходе к анализу изучения конкретной профессиональной деятельности, что исключает подготовку по отдельным дисциплинам и предметам.

В основе построения модульных учебных программ находится конкретное производственное задание, которое составляет суть каждой конкретной работы. В обобщенном виде их комплекс составляет содержание специальности или профессии. Термин «задание» в данном случае изменен на новый – «модульный блок».

Модульный блок – логически завершенная часть работы в рамках производственного задания, профессии или области деятельности с четко обозначенным началом и окончанием контроля, как правило, не подразделяется в дальнейшем на более мелкие части.

Модуль трудовых навыков (МТН) – описание работы, выраженное в виде модульных блоков. МТН может состоять из одного или нескольких самостоятельных модульных блоков.

Учебный элемент – самостоятельная учебная брошюра, предназначенная для изучения, ориентированная как на самостоятельную работу обучаемого, так и на работу под руководством инструктора. Каждый учебный элемент охватывает определенные практические навыки и теоретические знания.

Инструктивный блок – современная форма плана занятий, разработанная для модульной системы обучения. Он способствует инструкторам и преподавателям осуществлять систематическое планирование и подготовку занятий. Инструкционные блоки могут также являться основой для разработки учебного элемента.

2.1. Структура модульной системы обучения.

Представить модульную систему обучения можно в виде структуры, приведенной на рисунке 1. На нем графически представлены основные этапы разработки и внедрения модульной системы. Сверху показана последовательность выполнения этапов, снизу – технико-организационная документация, которая разрабатывается на каждом из этих этапов.

Первый этап. На нем определяется содержание обучения по любой профессии и с отдельными ее составляющими. Его можно назвать проектированием содержания модульного обучения. Создание содержания – это последовательная детализация данных конкретной профессии работника, начиная с его функциональных обязательств и до отдельных детальных навыков выполнения каждого рабочего приема или действия.

После определения всех возможных видов работ профессии разрабатывается «Описание профессии». Здесь в сжатом виде содержится описание основных профессиональных функций. Здесь также даются условия работы и требования к тем, кто будет учится.

Дальше все перечисленные функции, который должен выполнять работник, распределяются на отдельные модульные блоки: МБ – 1, МБ – 2,… МБ – N. По результатам такого анализа составляется 2Перечисление и описание модульных блоков».

В рамках каждого сформированного модульного блока происходит еще более мелкая детализация выполняемых работ путем разделения ее на отдельные операции («шаги»), которые в свою очередь распределяются на совокупность отдельных навыков, овладение которыми дает возможность исполнять эту операцию.

Рис.1 Структурная схема модульного обучения.

 На втором этапе проектирования для усвоения тех или иных навыков разрабатываются учебные элементы (УЭ), которые являются основным дидактическим материалом в модульной системе обучения.

Каждый учебный элемент содержит в себе практические умения и навыки или теоретические знания, которые необходимо усвоить.

Третий этап предполагает технологическую подготовку к проведению учебного процесса: материальное обеспечение мест для работы учащихся, создание контрольной учетной документации, изучение инструктором (или мастером) всех умений и навыков, которые приведены в конкретном учебном элементе.

На четвертом этапе совершается непосредственное обучение по модульной технологии.

2.2. Структура профессионального блока.

Совокупность взаимосвязанных модулей представляет собой информационный блок. По отношению к профессиональному образованию целесообразно формировать более большую, законченную в профессиональном понимании единицу, которую назовем профессиональным блоком. При создании профессиональных блоков необходимо учитывать иерархический принцип их построения, связанный с требованиями стандартов профессионального образования.

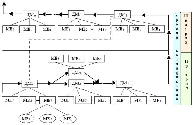
Расширенная структура профессионального блока показана на рис. 2.

В зависимости от необходимого уровня профессиональной подготовки выбирают соответствующие модули. По желанию заказчика часть модулей или модульных единиц может выть исключена, если в процессе выполнения профессиональных обязательств не нужно выполнять некоторую часть работы.

В связи с ростом арендных, акционерных, кооперативных и других форм собственности предприятий возникает необходимость овладения работниками не одной, а несколькими профессиями. Например, менеджер и экономист, сантехник и сварщик, тракторист и шофер и т.д.

В таком варианте обучения и применяются соответствующие профессиональные блоки. Если модули или модульные единицы повторяются и были изучены раньше, они исключаются из учебной программы и в профессиональных блоках не изучаются. Это укорачивает сроки обучения, позволяет создавать гибкие программы обучения, адаптированные к учащемуся. 


Рис. 2. Структура профессионального блока.

 

2.3. Особенности модульной технологии обучения.

Модульное обучение профессии заключается в последовательном усвоении учеником модульных единиц и модульных элементов. Гибкость и вариативность модульной технологии профессионального обучения особенно актуальны в условиях рыночных отношений при количественных и качественных изменениях рабочих мест, перераспределении рабочей силы, необходимости массового переобучения работников. Нельзя не учитывать и фактор кратковременности обучения в условиях ускоренных темпов научно-технического прогресса.

Особенности модульного обучения заключаются в том, что учащийся частично или полностью самостоятельно может работать с предложенной ему учебной программой, которая содержит в себе целевую программу действий, базы информации и методическое руководство для достижения поставленных дидактических целей. В этом случае функции преподавателя могут изменятся от информационно-контролирующих до консультационно-координирующих.

Технология модульного обучения базируется на объединении принципов системного квантования и модульности. Первый принцип составляет методологическую основу теории «сжимания», «сворачивания» учебной информации. Второй принцип является нейрофизиологической основой метода модульного обучения.

При модульном обучении нет строго заданного срока обучения. Он зависит от уровня подготовленности учащегося, его предыдущих знаний и умений, желаемого уровня получаемой квалификации. Обучение может прекратится после овладения любого модуля. Учащийся может выучить один или несколько модулей и получить узкую специализацию или овладеть всеми модулями и получить широкопрофильную профессию.

Для выполнения работы на конкретном предприятии все модульные единицы и модульные элементы можно не изучать, а только те, которые необходимы для выполнения работы на конкретном рабочем месте. С другой стороны, профессиональные модули могут состоять из модульннных единиц, которые относятся к разным специальностям и разным областям деятельности. Может быть широкопрофильная профессия, связанная с использованием одной и той же производственной деятельности в разных отраслях.

Указанные выше принципы модульной системы профессионального образования дают возможность обратить внимание на такие ее позитивные качества:

ü достигается мобильность знаний в структуре профессиональной компетентности работника путем замены устаревших модульных единиц на новые, которые содержат новую и перспективную информацию;

ü управление обучением учащихся является минимальным. Это позволяет решить проблемы с будущим обучением и повышением квалификации рабочих кадров и специалистов;

ü благодаря четким, коротким записям учебной информации при конструировании дидактических модулей, приучает педагогов и учащихся к короткому высказыванию мыслей и суждений;

ü время усвоения информации, записанной в дидактическом модуле, по сравнению с традиционными формами предоставления учебного материала в 10 – 14 раз;

ü происходит самообучение  с регулированием не только скорости работы, но и содержания учебного материала;

ü достигается декомпозиция профессии (специальности) на завершенные в целевом и содержательном отношении части (модулей, блоков), которые имеют самостоятельные значения;

ü возможность обучения нескольким профессиям на основе усвоения разных профессиональных блоков с учетом конкретной производственной деятельности.

3. Болонский процесс.

Началом процесса гармонизации системы европейского высшего образования считается 19 июня 1999 года, когда министерства образования европейских стран приняли декларацию на международной конференции в Болонии «Зона европейского высшего образования». Процесс получил название Болонского. Но фактически эти изменения начались еще в 1988 году, когда ректоры университетов Европы приняли «Большую хартию университетов». Это событие происходило в Болонском университете в дни празднования его 900-летия.

Принципы упомянутой хартии – автономия университетов; единство образования и научных исследований; свободное исследование образования и преподавания – основной принцип университетской жизни; верность традициям европейского гуманизма, взаимный обмен информацией и документами, а также увеличение количества совместных проектов.

На развитие идей хартии в Болонской декларации заявляется, что целью установления европейской зоны высшего образования до 2010 года, в частности, необходимо гармонизировать систему уровней (ступеней) образования; принять систему образования, которая базируется на двух образовательных уровнях; создать европейскую систему зачетных единиц, а также устранить препятствия в получении студентами услуг, которые касаются обучения; в признании времени работы в Европе преподавателей и ученых при начислении пенсий; в развитии критериев и методологии оценки качества преподавания; ввести такое важное понятие, как «европейский простор высшего образования», в том числе насчет содержания учебного содружества между учебными заведениями; схем мобильности, интегрированных программ образования, тренингов и проведение научных исследований. И это далеко не все требования.

3.1. Модернизация педагогического образования Украины в контексте Болонского процесса.

Стратегию развития образовательной сферы сегодня определяет недавно принятая II Всеукраинским съездом работников образования и утверждена Указом  Президента Украины Л. Кучмы Национальная доктрина развития образования в ХХI веке. Международные консультанты и эксперты, приглашенные к участию в разработке этого документа, признали эту доктрину одной из наиболее перспективных национальных образовательных стратегий Европы.

Тем временем в Болонский процесс, который определяет тенденцию развития европейского образования, Украину не приняли, хотя она и подала заявление. Как и почему это случилось? Каким образом мы должны выйти на уровень Болонского процесса? Наш ближайший сосед – Россия, образовательная система которой ничем не отличается от украинской, в состав Болонского содружества входит с 2003 года.

Украину не приняли в Болонское содружество, т.к. она подала заявление слишком поздно, и экспертная группа, в состав которой входили представители Франции, Германии, Голландии и других стран Европы, физически не смогли рассмотреть наше заявление. В общем процесс структурного реформирования национальных систем образования, изменение образовательных программ и инструкционных преобразований должен происходить по таким главным принципам:

~ принятие удобных и понятных градаций дипломов, степеней и квалификаций;

~ внедрение двухступеневой системы образования;

~ внедрение единой системы предметных единиц;

~ определение и придержание европейских стандартов качества образования;

~ устранение преград для большей мобильности студентов, преподавателей, исследователей высшей школы.

С «косметическим ремонтом» системы педагогического образования Украине в европейском содружестве стран делать нечего. Необходимо фундаментальное обновление. Прежде всего мы должны выйти на новый уровень интеграции науки и педагогического образования. Информационная революция требует от учителя постоянного обновления знаний, умения учится на протяжении всей жизни. Преподаватель должен быть ученым, вести разнообразные научные исследования, привлекать к ним студентов.

Вхождение в Болонский процесс требует радикальной модернизации содержания педагогического образования. Для этого необходимо ликвидировать застаревшие мифы, своеобразную идеализацию образования, присущую тоталитарному обществу, исключить мелочные материалы и приблизить к реальному историческому процессу.

Существенную уступку следует сделать в направлении демократизации образовательной политики: децентрализация системы образования, повышение самостоятельности университетов, мобильности преподавателей и студентов, внедрение государственно-гражданского управления педагогическими заведениями.

Нововведения должны коснуться организации ранней профориентации выпускников общеобразовательных школ.

Не может быть оставлена без внимания и воспитательная работа в педагогическом университете. Она должна выполнятся на культурной основе, через формирование толерантности, умения жить вместе, уважая этническое конфессиональное, культурное разнообразие и одновременно с гордостью за свой национальный быт, культуру, суть.

Важной нормой Болонского содружества является повышение мобильности преподавателей и студентов, самостоятельности студентов, уровня их самоорганизации.

Важным заданием модернизации педагогического образования Украины является внедрение кредитно-модульной системы организации образования. Эта модель требует разработки современных механизмов совершенствования учебного процесса, определения результатов качества образования, управления учебным заведением. 

Украине для присоединения к Болонскому содружеству во время конференции министров образования в 2005 году в г. Берген (Норвегия) необходимо было выполнить ряд условий. Этим активно занимается Министерство образования и науки Украины. На уровне государственного внедрения образовательной сферы Украины в международный образовательный простор признается сегодня важной составной частью модернизации образования в контексте модернизации модели развития.

Важным событием в контексте присоединения Украины к Болонскому процессу стал международный семинар «Реформирование высшего образования и Болонский процесс», который происходил в Киеве 25 – 26 ноября при участии экспертов Совета Европы во главе с председателем комитета высшего образования и исследований Совета Европы Сьюром Берганом.

Но вхождение в общеевропейскую систему высшего образования для нас сложное и в некоторых случаях мучительное. Членство в Болонском процессе диктует значительные изменения в высшей школе стран, которые присоединяются. В самом деле, сложно организационно-методически совершить и психологически согласится, что международно признанной научной степенью станет «доктор философии», скорректировать принципы присуждения научных степеней, сформированные не протяжении десятилетий.  Каждый ли руководитель будет готов сделать студенчество полноправным партнером  в управлении высшим образованием? Что такое «европейский инженер» сегодня и как перестроить подготовку инженера, традиционную для украинских традиционных университетов, перейти к двухстепенной системе подготовки, совершить реальную интеграцию науки и образования? Нужна новая концепция высшего образования, в частности технического, с  учетом требований Болонского процесса и решительность в совершении реформ.

По мнению академика М. Згуровского это уже не могут быть «косметические» реформы. Они должны коснуться коренных основ науки и образования. Совершая их, необходимо будет ответить на вопросы: чему и как следует учить в современном мире острой конкуренции? Нельзя обойтись без реальной интеграции отечественной науки и образования. Избежать превращений уже невозможно, т.к., не торопясь с реформами, наша страна будет увеличивать изоляционные явления со стороны и Европы, и России.

Ведущие университеты Украины, используя возможности, обозначенные законодательством (автономность, возможность самостоятельно определять содержание учебного процесса и строить международную деятельность), включаются в реализацию положений Болонской декларации.

Например, широкое открытие междисциплинарных программ обучения. Появление новых сфер науки и технологий требует приближения к проблемно ориентированным методов формирования знаний, пересмотрения заданий университетских кафедр и факультетов, реорганизации научных исследований и подготовки специалистов, ориентированных на разрешение нестандартных проблем междисциплинарного характера. На протяжении последних лет в НТУУ «КПИ» открыто десятки специализаций в области информатики, компьютерных технологий и природных, инженерных, специальных и фундаментальных дисциплин. Аналогичные шаги совершают и другие технические университеты Украины.

Проблемы развития информационного общества для ускорения интеграционных процессов в последние годы находятся в центре внимания и общественной мысли, и органов государственного правительства Украины. В развитии информационного общества наша страна имеет некоторые обязательства как член ООн, и как страна европейского выбора. Соответствующие важные решения приняты также Министерством образования и науки Украины. По проблемам информатизации, обеспечения принципа «образование для всех, образование на протяжении всей жизни, образование без границ» проводятся международные конференции, совещания, семинары.

Распространяется использование английского языка в международных образовательных программах. В НТУУ «КПИ» с 2001 года для иностранных граждан предложено обучение на английском по ряду специальностей на факультетах электроники, информатики и вычислительной техники, химико-технологическом факультете. Такая образовательная услуга имеет спрос среди граждан Африки и Азии, которые, получив бакалаврский образовательно-квалификационный уровень в Украине, хотели бы дальше продолжить обучение в магистратуре западноевропейских университетов.

НТУУ «КПИ» вместе с другими университетами берет участие  в педагогическом эксперименте, который проводит Министерство образования и науки Украины насчет внедрения кредитно-модульной системы организации учебного процесса (кредитно-модульная система вообще-то не предусматривает четкой регламентации учебного года; каждый студент сам формирует свою «линию образования», должен набрать определенное количество так называемых кредитов, даже прерывая обучение и опять продолжая). В этих педагогических экспериментах роль психолого-педагогических наук также будет существенной.

Вообще следует отметить,  что среди важных составляющих оптимизации организационной структуры образовательной системы, которая обеспечила бы переход от принципа «образование на всю жизнь» к принципу «образование на протяжении всей жизни», - проблема увеличения роли психолого-педагогических наук в высшей технической школе.

Техническая школа всегда опиралась на хорошую материально-техническую базу учебного процесса, на конкретность и достойный уровень  восприятия средств обучения. Тем не менее, психолого-педагогическая наука отходила на второй план, что обедняло педагогический процесс. Вследствие этого при условиях ступеневого образования хронически не хватает учебных часов. Поэтому, чтобы сделать образование более интенсивным, увеличивается объем дисциплин, но при этом не всегда учитываются психолого-педагогические нормы общения со слушателем, мотивационные моменты образования. И хотя делается многое, чтоб психолого-педагогические науки стали реально действующим «диригентом» педагогического процесса, нужно еще много работать, чтоб преподавание, применение и развитие психолого-педагогических наук в высшем техническом образовании совершались на основе современных фундаментальных достижений этих наук. 

В наиболее концентрированной форме оценку современного состояния высшего образования Украины в «европейской системе координат» и задания по ее совершенствованию, реформированию и сближению с европейским образовательным и научным простором приведено в работе В. Журавского и М. Згуровского: Болонский процесс: главные принципы входа в Европейский простор высшего образования». «Присвоение высокой оценки национальной системе образования, - пишут авторы, - не должно успокаивать нас и сдерживать глубокое ее реформирование. Высокое качество образования – это достижение прежней эпохи, предыдущей системы власти, предыдущего поколения. Сейчас можно с сожалением констатировать, что, несмотря на достижения образования, которые обеспечивает новая социополитическая система, в массовом объеме образование стало менее качественным, а большая часть выпускников высших учебных заведений (особенно новых) неконкурентоспособна на европейском рынке труда. Это обязует меньше говорить о собственных достижениях, а все больше анализировать мировые и европейские тенденции реформирования образования и соответственно этому напряженно и последовательно совершенствовать нашу профессиональную сферу деятельности. В то же время участие системы высшего образования Украины в Болонских превращениях должно быть направлено только на ее развитие и приобретение новых качественных признаков, а не на потерю лучших традиций, уменьшения национальных стандартов ее качества. Ориентация на Болонский процесс не должна привести к чрезмерной перестройке отечественной системы образования. Наоборот, ее состояние необходимо глубоко осмыслить, сравнив с европейскими критериями и стандартами, и определить возможности ее усовершенствования на новом этапе. При этом эволюцию систем образования не стоит отделять от других сфер общества. Она должна развиваться в гармонии с обществом в целом,  взяв на себя роль его проводника.

Модернизация системы высшего образования в Украине (Закон «О высшем образовании» и ряд других нормативных актов Министерства образования и науки) имеет некоторые общие признаки с Болонским процессом, но по большинству направлений она ему не соответствует. Это связано с тем, что получаемые концепции такой модернизации не были сориентированы на интегрирование национальной системы образования в общеевропейскую. Они в большей степени имели «внутренний» характер и преимущественно сводились к «приспособлению» системы высшего образования к новым внутренним реалиям. На современном этапе концепцию реформирования высшего образования следует пересмотреть коренным образом и создать программу последовательного ее сближения с европейским образовательным и научным простором».

Таким образом, чтоб стать полноправными участниками европейского интеграционного процесса, в частности в образовательной сфере, нашей стране необходимо сделать важный выбор в образовательно-научной системе, университетам выполнить огромный объем организационно-метологического обеспечения.      

4. Условия реализации модульной технологии обучения в ГФ УИПА.

Я не могу объективно судить об условиях реализации модульной технологии обучения в учебных заведениях Украины, т.к. не обладаю нужной информацией. Но условия реализации модульной технологии обучения в УИПА весьма плачевны. Уже год как мы «перешли» на новую технологию обучении, которую очень трудно назвать модульной. Существенных изменений за этот период не произошло. Единственное, что изменилось – это появление трех «модулей» в семестр, которые ничем не отличаются от прежних аттестаций. Обещанные экзамены «автоматом» с переходом к новой системе образования по многим предметам так и остались обещаниями. Построение модулей не соответствует главным принципам модульной технологии обучения: небольшой объем учебного материала, несколько тесно взаимосвязанных дисциплин, гибкий график обучения, индивидуализация и т.д.

Лично мне очень хочется попробовать учится по модульной технологии обучения. Т.к. я считаю, что она намного эффективней. То, что у нас называется модульной технологией обучения есть ни что иное, как обычная предметная система образования, но с еще большей нагрузкой. Если бы у нас были нормальные модули, которые включают, например, только несколько экономических дисциплин или горных, было бы намного легче и эффективней. При настоящей системе очень тяжело переключать внимание с одного предмета на другой никак не связанный с первым, из-за чего получаются не систематизированные знания, а полная каша. Если бы учебный материал разбивался на блоки, то поступаемая информация была бы, как бы разложена по отдельным ячейкам головного мозга. И при необходимости вспоминалась бы вся важная информация относительно волнующего вопроса.

Я считаю основными причинами, по которым модульная технология обучения не может быть внедрена сразу в наши ВУЗы это:

ü недостаточная материально-техническая база,

ü недостаточная информированность преподавателей и студентов о модульной технологии образования,

ü недостаток квалифицированных кадров и др.

Поэтому настоящая модульная технология обучения будет внедрена еще нескоро.  

 

Вывод

Модульная технология профессионального обучения пока еще не нашла в Украине широкого распространения, не смотря на то, что ее преимущества очевидны.

Для перехода к профессиональному обучению по модульной системе необходимо получить разрешение управления образования государственной областной администрации, т.к. могут возникнуть осложнения организационного характера.

Следующим этапом является определение специальности, по которой будет вестись подготовка учеников по модульной технологии обучения и формирование творческой группы преподавателей и мастеров производственного обучения для разработки учебно-програмной документации и дидактического обеспечения учебного процесса. К этой группе следует привлекать работников инициативных, добросовестных, хорошо подготовленных методически, способных работать творчески, преданных делу улучшения профессиональной подготовки учащихся. Ее численный состав должен быть не меньше 4 человек, чтоб избежать осложнений в экспериментальной работе в случае болезни или увольнения отдельных членов творческой группы. Желательно, чтоб ее члены проводили занятия в новосформированных группах, т.к. это позволит ученикам быстрее и без осложнений адаптироваться к новым условиям обучения.

Творческая группа определяет перечень предметов, программы которых необходимо интегрировать, глубину интегрирования, структурно-логическое строение программы интегрированного специального курса, объем дополнительной учебной информации, которой следует дополнять специальный курс и учитывает конкретные региональные условия.

Разработана программа интегрированного специального курса, как в традиционной, так и в модульной форме, подлежит обязательному рецензированию и экспертной оценке.

Т.к. члены творческой группы работают дополнительно, выполняют кропотливую и высококвалифицированную творческую работу, необходимо решить вопрос их материального и морального поощрения. Виды и порядок поощрения необходимо согласовать с управлением образования областной государственной администрации. Материальное стимулирование может быть в виде ежемесячных дополнительных выплат к установленному окладу, или в виде квартальных премий. И материальное и моральное поощрение зависят от конкретного учебного заведения, но должно быть аргументированным, объективным и открытым.

В процессе интегрирования несколько урезается объем учебного материла за счет исключения из программы отдельных предметов дублирования, устаревшей учебной информации или информации несущественной для овладения специальностью. Логично предположить, что это приводит к уменьшению длительности обучения и, в свою очередь, вызывает необходимость досрочного выпуска учеников, которые не достигли 18-ти летнего возраста. Эта проблема может быть решена двумя путями. Первый путь – резерв времени использовать на дополнительные занятия с целью улучшения качества обучения: разработать дополнительные более сложные и совершенные задания, проводить уровневое обучение с присвоением более высокого разряда. Второй путь – резерв времени использовать для присвоения учащимся сродненных специальностей в рамках одной профессии. Эти пути позволяют также решить воображаемую проблему снижения учебной нагрузки преподавателей и мастеров производственного обучения.

Переход к обучению по модульной технологии требует более совершенного  дидактического обеспечения. Наиболее важным и сложным в его разработке является подготовка содержания в виде дидактических элементов. Их подготовку целесообразно совершать централизованно.

Собственными силами профессиональным учебным заведением необходимо приготовить квалифицированные комплексные задания, карты-задания для поэтапного обучения, тесты контроля знаний, творческие работы, курсовые и контрольные задания для поэтапной аттестации, экзаменационные задания по производственному обучению, проблемные вопросы и ситуации и т.д.

Требует некоторой модернизации и материально-техническое обеспечение учебного процесса. В первую очередь – это пересмотрение организации рабочих мест по специальности, пересмотреть подход к организации обучения и разработки расписания занятий.

Разработку расписания занятий существенно облегчит структурно-логическая схема программы обучения в модульной форме, в которой показаны виды занятий и логическая последовательность их проведения, виды и последовательность контроля знаний и умений учащихся, виды аттестации, квалификационных экзаменов  и время их проведения. Таким образом, структурно-логическая схема позволяет ученику представить картину учебного процесса в целом и логику его организации конкретных занятий и проведения текущих контролей и аттестационного контроля.

Модульная технология обучения предусматривает проведение в один и тот же день теоретических занятий и производственного обучения. Этим достигается позитивный эффект, т.к. не существует разногласий в о времени между изучением теории и выполнением практических работ. Поэтому в расписании следует планировать 2.5-3 учебных дня в неделю для изучения специального курса, в которых предусматривать 1.5-2 часа для изучения теории и 4.5-6 часов – для проведения практических занятий.         

Список используемой литературы.

 

1.Талызина Н. Ф. Управление процессом усвоения знаний. – М., 1975.

2.Басова Н.В. Педагогика и практическая психология.  – Ростов н/Д: «Феникс», 2000. – 416с.

3.Шматков Е.В., Коваленко О.Е. Методика профессионального обучения. Часть 2. – Харьков, 2002. – 214с.

4.Микуляк О.П., Матвеев Г. П., Костюченко М. П.  и др. Модульная технология обучения – Донецк: ТОВ «Юго-Восток, Лтд», 2002. – 246с.

5.Журнал «Вища освіта”, №1 2004р.

6.Журнал Вища освіта, №2, 2004р.

7.Журнал Вища освіта, №3, 2004р.

Похожие работы на - Модульная технология обучения в профессиональном образовании

 

Не нашли материал для своей работы?
Поможем написать уникальную работу
Без плагиата!
Без нейросетей!