Цветомузыкальная установка

  • Вид работы:
    Курсовая работа (т)
  • Предмет:
    Информатика, ВТ, телекоммуникации
  • Язык:
    Русский
    ,
    Формат файла:
    MS Word
    501,9 Кб
  • Опубликовано:
    2012-06-01
Вы можете узнать стоимость помощи в написании студенческой работы.
Помощь в написании работы, которую точно примут!

Цветомузыкальная установка

Курсовая работа

Цветомузыкальная установка

Содержание

Введение

. Обзор и анализ цветомузыкальных установок (ЦМУ)

.1 Объемная (ЦМУ) “ГАРМОНИЯ” (С. Сорокин)

.2 Цветомузыкальный переключатель гирлянд (Э. Литке)

.3 (ЦМУ) (Л. Шумяцкий)

.4 Светодинамическая установка к радиоприемнику (Е.Пономаренко)

.5 (ЦМУ) (В.Синицын)

. Физические основы (ЦМУ)

.1 Трехкомпонентная теория цветового зрения

.2 Методы образования цветов

.3 Двухкомпонентная теория цветового зрения

. Структура и схема (ЦМУ)

.1 Требования

.2 Структурная схема (ЦМУ)

.3 Разработка узлов устройства

Заключение

Список используемых источников

Введение

С давних времен человечество интересовало взаимосвязь слуха и зрения. Существуют 2 метода решения подобной проблемы, это музыкальный световой синтезатор (МУС), где происходит цветовое кодирование-синтез музыкального инструмента с одновременным управлением цвета источника света, впервые такого рода идея была реализована в начале 20 века известным русским композитором Скрябиным в процессе создания симфонии “Прометей”. Второй метод решения этой взаимосвязи, является преобразование спектра звука в цвет. Таких устройств в настоящее время достаточное количество, тем не менее, представляет интерес провести анализ таких систем и определить наиболее оптимальные решения узлов ЦМУ.

Целью данной курсовой работы является эскизная разработка узлов ЦМУ для дискотек.

1. Обзор и анализ цветомузыкальных установок (ЦМУ)

.1 Объемная цветомузыкальная установка “ГАРМОНИЯ” (С.Сорокин)

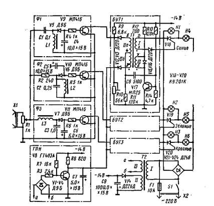
Предлагаемая цветомузыкальная установка (ЦМУ) «Гармония» может быть использована в рекламных устройствах, декорационно-оформительской практике и дискотеках. Перекрестное многократное смешивание цветов описываемой ЦМУ совместно с иллюзионным вращением ламп одного цвета позволяет получить оригинальную цветомузыкальную композицию.

Электронный блок ЦМУ состоит из двух частей: переключателя ламп на трёхфазном тринисторном мультивибраторе и приставки RC-фильтра.

Рисунок 1. Схема приставки на RS-фильтрах.

Рисунок 2. Схема переключателя ламп.

Приставка на RС-фильтрах служит для создания цветомузыкального эффекта, ее принципиальная схема изображена на рисунке 1. Приставка содержит три канала, разделенные по частотам: низкие - до 200 Гц, средние - от 200 до 6000 Гц, высокие - выше 6000 Гц.

Каналам соответствуют лампы излучателя со стеклами красного, зеленого, синего цветов. Минимальный уровень входного сигнала 0,8 В, максимальный 2 В, регулируется с помощью резистора R8. На вход приставки подается сигнал с любого звуковоспроизводящего устройства: электропроигрывателя, радиоприемника, магнитофона. Разделение входного сигнала по частотам осуществляется RС-фильтрами. Приставка получается простой и доступной для повторения любому радиолюбителю. Звуковой сигнал, пройдя фильтры R1...R4, С1...С4, поступает на управляющие электроды тиристоров VJ...V3, зажигающих лампы Н1...НЗ.

В электронном блоке ЦМУ применены широко распространенные элементы- резисторы МЛТ, УЛМ; переменные резисторы СП, СПО; конденсаторы МБМ, К50-6, тиристоры с Uобр = 400 В. Трансформатор Т1 ТВН-3. Его данные: сердечник - Ш16Х24, обмотка 7 - 60 витков ПЭЛ 0,51; II - 100 витков ПЭЛ 0,51. Лампы накаливания общего назначения напряжением 220 В и мощностью до 200 Вт на канал. Тип провода в силовой части устройства - МГВ 0,2 мм2, в остальной части - МГШ 5=0,1 мм2.

Настройка переключателя на трехфазном тринисторном мультивибраторе на определенное время переключения ламп достигается подбором конденсаторов и сопротивлений в управляющих цепях переключателя. Для защиты конденсаторов С1...СЗ, завязанных между собой по кольцу, рекомендуется применить стабилитроны типа Д817А. Они устанавливаются параллельно емкостям и убираются после настройки переключателя. В целях безопасности желательна установка электролитических конденсаторов в корпус. Для настройки фильтров приставки электронного блока ЦМУ используется звуковой генератор, сигнал с которого подается на вход приставки.

При изготовлении и эксплуатации цветомузыкальной установки «Гармония» необходимо соблюдать следующие меры безопасности. Все оголенные участки внутренней проводки ВОУ должны быть надежно изолированы. Перед использованием выходного оптического устройства в работе необходима проверка отсутствия замыкания отдельных проводников на металлический корпус основания с помощью омметра. Разъемы от электронного блока к ВОУ должны иметь надежный контакт. При эксплуатации ЦМУ «Гармония» с лампами накаливания от 100 до 200 Вт на канал необходимо после каждого часа работы отключать ВОУ на 5...10 мин для охлаждения установки. При использовании ламп до 100 Вт на канал установка может работать беспрерывно.

Преимущества данной цветомузыкальной установки по сравнению с остальными заключается в простоте её изготовления, в остальном эта схема желает лучшего.

1.2 Цветомузыкальный переключатель гирлянд (Э. Литке)

Переключатель елочных гирлянд, описанный в BPJ № 85, можно построить на одной микросхеме К176ЛА7 или К176ЛЕ5, что значительно уменьшит его габариты. Кроме того, небольшие изменения в переключателе позволяют значительно расширить его применение не только в новогодних иллюминациях, но и в инструментальных ансамблях в качестве устройства цветомузыкального сопровождения.

Принципиальная схема такого варианта переключателя приведена на рис. 3. На микросхеме DD1 собран трехфазный управляемый генератор. Поскольку на всех выходах элементов 2И-НЕ форма импульсов прямоугольная, то формирователь импульсов генератора отсутствует и выходы элементов микросхемы подключены через разделительные конденсаторы С1 - СЗ к управляющим электродам тринисторов VS1 - VS3. Ток, потребляемый переключателем от сети, не превышает 4 мА.

Управление частотой генератора производится одним переменным резистором R5, с движка которого на входы элементов микросхемы подается постоянное напряжение смещения (через диоды VD4- VD6). Частота генератора при нижнем (по схеме) положении движка резистора R5, когда диоды VD4 - VD6 закрыты, определяется из выражения


где т - постоянная времени, равная R7C7. Если т вычислено в миллисекундах, то

Расчет t начинают, задаваясь нижнейчастотой генератора 40 Гц и емкостью одного из конденсаторов С7 - С9, близкими по номиналу, например 0,115...0,12 мкФ. ТКЕ этих конденсаторов должен быть минимальным, чтобы уменьшился уход частоты от нагрева. Емкость конденсатора С7 подставляют в формулу и определяют номинал резистора R7.

Рисунок 3. Принципиальная схема переключателя.

Далее, после сборки переключателя и монтажа печатной платы устройство включают с одной гирляндой и подбирают номинал резистора R4 в зависимости от имеющегося переменного резистора R5 (22...33 кОм) так, чтобы верхний предел частоты генератора был 63...65 Гц. При подборе резистора R4 и измерении частоты необходимо соблюдать меры предосторожности, так как переключатель не имеет гальванической развязки с питающей электросетью. Для развязки желательно использовать временно небольшой разделительный трансформатор.

Работу генератора проверяют, вращая ось резистора R5. Переключение ламп гирлянды в момент совпадения частот сети и генератора должно прекратиться или стать очень медленным вблизи среднего положения движка резистора R5. В крайних его положениях лампы гирлянды должны мерцать.

Затем проверяют работу переключателя при включенных трех гирляндах. Гирлянды должны переключаться строго поочередно с небольшим перекрытием по накалу.

Колебания волн различны, так как возникают они за счет биений на гармонических составляющих частот сети и трехфазного генератора.

«Радуга» в укрупненном варианте с лампами 36 В X 25 Вт была испытана на праздничном концерте и получила положительные отклики. Мощность, потребляемая одной гирляндой (без учета гасящего резистора в ее цепи), составила

Преимуществом данной цветомузыкальной установки заключается в применении микросхемы непосредственно запитывая её от сети не используя понижающий трансформатор, что естественно уменьшает энергозатраты и габариты установки, а применение последнего в качестве гальванической развязки.

1.3 Цветомузыкальная установка (Л.Шумяцкий)

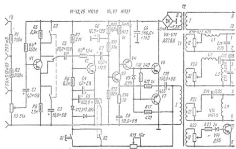
Описываемая цветомузыкальная установка (ЦМУ) имеет ряд особенностей, улучшающих ее эксплуатационные параметры. Устройство снабжено достаточно чувствительным усилителем низкой частоты, имеющим систему АРУ и «компрессор». Силовым регулирующим элементом является тиристорный регулятор напряжения (ТРН), в котором применены встречно параллельное включение тиристоров и фазоимпульсный метод управления тиристорами. Такое включение тиристоров позволяет получить большую выходную мощность и, что особенно важно, использовать лампы накаливания на напряжение 220 В, тогда как схемы с одним тиристором требуют ламп накаливания на НО В, или диодного моста, или пока еще малораспространенных симисторов. Данная ЦМУ имеет максимальную мощность в одном канале 4,4 кВт. Применение фазоимпульсного управления тиристорами позволило получить достаточно плавную регулировку накала ламп.

Рисунок 4. Принципиальная схема ЦМУ (усилитель низкой частоты имеющий систему АРУ и «компрессор»)

Рисунок 4. Принципиальная схема ЦМУ (схема частотных фильтров на три канала и узел фона)

Принципиальная схема (рис. 4 и 5) ЦМУ представляет собой четыре одинаковых ТРН, управляемых напряжением звуковой частоты, разделенной на три частотных диапазона 50-300, 250-800, 700-12500 Гц. Каждому частотному диапазону соответствует определенный цвет: красный, зеленый или желтый, синий. Четвертый регулятор работает во всем этом диапазоне частот, но с увеличением входного сигнала яркость ламп уменьшается. Этот регулятор служит для фоновой (фиолетовой) подсветки во время пауз в музыкальной программе, что уменьшает утомление глаз.

Низкочастотный сигнал поступает через делитель напряжения /?/ - R3 на эмиттерный повторитель VI (при нажатой кнопке S3 транзистор VI используется как усилительный каскад для работы от микрофона). Высокое входное сопротивление эмиттерного повторителя и достаточная чувствительность усилителя НЧ позволяют подключить вход ЦМУ к линейному выходу звуковоспроизводящего устройства.

Далее сигнал поступает на регулируемый делитель напряжения, составленный из резистора R9 и транзистора V2. На базу транзистора V2 поступает отрицательное напряжение с выпрямителя на диодах V12 и V13, которое зависит от уровня сигнала на выходе усилителя НЧ. С увеличением выходного сигнала сопротивление коллекторного перехода уменьшается, что приводит к уменьшению уровня сигнала на входе усилителя. Таким образом осуществляется автоматическая регулировка усиления (АРУ). В зависимости от емкости конденсатора С2, включенного в базовой цепи транзистора V2, меняется постоянная времени АРУ.

Если нажата кнопка S/, то в цепь базы транзистора V2 включен только конденсатор С4 небольшой емкости. При этом постоянная времени АРУ мала и происходит сжатие динамического диапазона. Если нажата кнопка S2, в цепь базы V2 подключается конденсатор С5 большой емкости, что увеличивает постоянную времени АРУ. Сжатия динамического диапазона в данном случае не происходит, и АРУ работает в обычном режиме.

Сжатие динамического диапазона необходимо по следующим причинам. Динамический диапазон большинства музыкальных программ составляет 50-70 дБ, а диапазон изменения яркости свечения ламп накаливания - всего 10-20 дБ. Поэтому для удовлетворительной работы ЦМУ необходимо сжатие динамического диапазона. Если динамический диапазон звуковой программы невелик, то нажимают кнопку S2.

Двухтактный усилитель нагружен разделительным трансформатором Т1, который служит для гальванической развязки входов всех ТРН.

С обмоток II-V трансформатора Т1 напряжение звуковой частоты поступает на потенциометры R19 - R22, с движков которых через LC-фильтры поступает в ТРН. Потенциометры R19 - R22 служат для установки желаемого соотношения яркостей ламп во всех каналах.

Все тиристорные регуляторы идентичны, поэтому рассмотрим работу только одного из них, например, используемого в канале самых низких частот.

В зависимости от напряжения, детектируемого диодом 1-V1 (см. рис. 3), меняется сопротивление коллекторного перехода транзистора 1-V3, что изменяет время заряда конденсатора 1-С2 в течение одного полупериода напряжения сети. По мере заряда конденсатора 1-С2 напряжение на его обкладках увеличивается. Когда оно достигнет порога открывания аналога однопереходного транзистора 1-V4 и 1-V5, происходит быстрый разряд конденсатора 1-С2 через обмотку I трансформатора 1-Т1 и аналог однопереходного транзистора. Возникающий в обмотках II и III импульс тока открывает тиристоры 1-V6, 1-V7. От того как быстро заряжается конденсатор 1-С2, зависит фаза включения тиристора и, следовательно, эффективное напряжение на лампах накаливания. Таким образом осуществляется плавная регулировка яркости свечения ламп в зависимости от уровня сигнала НЧ.

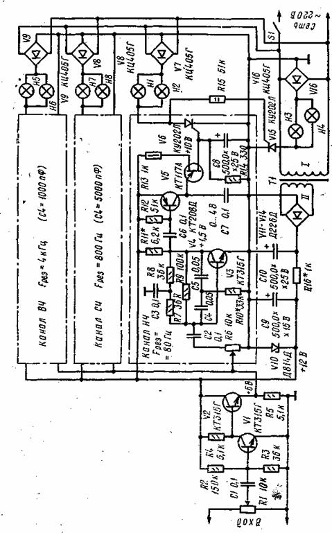
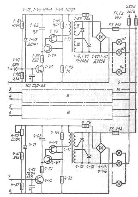
Канал фона имеет переменный резистор 4-R7, который позволяет установить начальное свечение ламп. Кроме того, вместо фильтра применен транзисторный ключ V15 (см. рис. 1), который открывается при появлении в обмотке V трансформатора Т1 напряжения любой звуковой частоты. Постепенное открытие ключа приводит к закрытию транзистора 4-V2, что приведет к плавному выключению ламп в канале фона.

ЦМУ размещена в корпусе размером 320 X 250 X 90 мм. Монтаж выполнен на двух печатных платах из стеклотекстолита, изображенных на рис. 3 и 4. Тиристоры установлены на радиаторах площадью 250 см2, которые закреплены на основании из текстолита толщиной 4 мм. Трансформаторы 1-Т1-4-Т1 размещены в пространстве между радиаторами. На этом же основании закреплены печатные платы, трансформатор Т2, фильтры НЧ, предохранители.

ЦМУ собрана из доступных деталей. Транзисторы можно заменить любыми из серий МП40 - МП42 и МП36 - МП38, конденсаторы 1-С2 - 4-С2 МБМ 0,5 мкФ на 160 В. Электролитические конденсаторы К50-6 и К50-12, резисторы МЛТ-0,5, кроме 1-R6 - 4-R6, допустимая рассеиваемая мощность которых 2 Вт. Диоды Д9Б можно заменить на Д9 с любым буквенным индексом. Тиристоры КУ202Н можно использовать любые с обратным напряжением не менее 300 В.

1.4 Светодинамическая установка к радиоприёмнику (Е. Пономаренко)

Конструкция широко распространенной радиолы «Ригонда» позволяет после небольшой переделки разместить в ней несложную светодинамическую установку (СДУ). Разумеется, «Ригонда» - не единственный радиоаппарат, в который можно встроить СДУ. При желании экранно-оптическое устройство можно оформить и в отдельном корпусе, но все же во многих случаях наиболее удобной оказывается СДУ, конструктивно объединенная с радиоприемником.

Такая комбинация способствует восприятию музыкальных программ. Использование относительно мощных источников света позволяет наблюдать на экране многокрасочную, непрерывно изменяющуюся светоцветовую картину.

Принципиальная схема устройства показана на рис. 6. Оно сравнительно несложно и не содержит дефицитных деталей. СДУ работает по известному принципу разделения частотного спектра НЧ сигнала на три участка. Каждому участку соответствует отдельный канал СДУ. Схемотехнически каналы совершенно идентичны, поэтому работа устройства рассмотрена на примере одного из них - канала НЧ.

Рисунок 6 Принципиальная схема ЦМУ

Входной сигнал с переменного резистора R1, являющегося общим регулятором яркости для всех каналов, поступает на вход предварительного усилителя НЧ, собранного на транзисторах VI, VI. Транзистор V2 работает усилителем тока. С усилителя НЧ сигнал поступает на регуляторы яркости каналов (R6). Для разделения полосы звуковых частот на каналы в СДУ применены активные RС-фильтры, имеющие более высокую избирательность по сравнению с пассивными, составленными только из резисторов и конденсаторов. В цепь базы транзистора V3 вместе с входным сигналом, снимаемым с резистора R6, через двойной Т-мост поступает сигнал положительной обратной связи с коллектора этого транзистора. Таким образом, наибольшее усиление эта ступень обеспечивает на частоте fрез, определяемой номиналами элементов Т-моста: Rpез = 160 OM, где R - сопротивление резисторов R7 и R8 в килоомах; С - емкость конденсаторов С4 и С5 в нанофарадах; емкость конденсатора СЗ вдвое больше, чем С5.

Рекомендуемые значения частоты Fрез каналов и соответствующая им емкость конденсаторов фильтров указаны на схеме. При налаживании устройства точное значение резонансной частоты устанавливают подборкой резистора R10. Активный фильтр с двойным Т-мостом склонен к самовозбуждению на частоте, близкой к Fрез. Для повышения устойчивости фильтра мост шунтирован резистором R9. Выделенное фильтром напряжение сигнала через разделительный конденсатор С6 поступает на вход узла формирования импульсов управления тринистором. В этот узел входят транзисторы V4 и V5 и накопительный конденсатор С7. При отсутствии сигнала транзистор V4 закрыт и напряжения на конденсаторе С7 недостаточно для открывания однопереходного транзистора V5. При появлении сигнала транзистор V4 открывается и конденсатор С7 начинает заряжаться. В некоторый момент однопереходный транзистор V5 открывается и через управляющий переход тринистора V6 протекает импульс тока, открывающий тринистор. В результате этого через нагрузку - лампы HI, H2 - начинает протекать пульсирующий ток, образующийся в результате выпрямления напряжения сети диодным мостом V7. При увеличении напряжения сигнала на базе транзистора V4 конденсатор С7 заряжается быстрее и частота следования открывающих тринистор импульсов, а следовательно, и среднее значение напряжения на нагрузке увеличиваются - лампы начинают светиться ярче. При уменьшении напряжения сигнала зарядка конденсатора С7 замедляется, частота следования открывающих импульсов уменьшается, в результате яркость ламп падает.

Канал паузной подсветки собран на тринисторе VIS, Нагрузкой которого служат лампы НЗ, Н4. Управляющий электрод тринистора через резистор R15 подключен к аноду тринистора V6 канала НЧ. Когда открыт тринистор V6 и горят лампы низкочастотного канала, тринистор V15 закрыт и лампы канала паузной подсветки не светят. Как только сигнал в канале НЧ уменьшится до нуля, лампы этого канала погаснут, включатся лампы НЗ, Н4 фиолетового цвета.

Это, во-первых, позволяет сдвигать световую картину на экране в область более светлых тонов в моменты, когда отсутствует сигнал в НЧ канале, и, во-вторых, обеспечить подсветку экрана в паузах. Так как в паузах все тринисторы, кроме V15, закрыты, горят только паузные фиолетовые лампы. Емкость конденсатора С8 в канале СЧ следует уменьшить до 100 мкФ, а из канала ВЧ нужно изъять совсем (от емкости этого конденсатора зависит степень инерционности работы канала).

Электронный блок СДУ питается от параметрического стабилизатора R16V10 напряжением 12 В, подключенного к вторичной понижающей обмотке II сетевого трансформатора Т1 через выпрямитель VII - V14.

В установке можно использовать транзисторы КТ315 с любым буквенным индексом. При этом транзисторы V3 во всех каналах должны иметь одинаковый статический коэффициент передачи тока базы. Транзисторы КТ208Д можно заменить на любые из серии КТ361. Тринисторы могут быть КУ202К-КУ202Н. Диодные сборки КЦ405Г можно заменить любыми из серий КЦ402-КЦ405 с буквенными индексами А-Г. В экранном устройстве СДУ применены криптоновые лампы накаливания мощностью 60 Вт на напряжение 220 В.

1.5 Цветомузыкальная установка (В. Синицын)

Предлагаемая цветомузыкальная установка (ЦМУ) является результатом анализа ряда подобных устройств, публиковавшихся в журнале «Радио» и сборниках «В помощь радиолюбителю». В ней реализован число импульсный метод управления тринисторами, а также использована возможность получения каналов светокомпенсации без введения для их реализации специальных электронных устройств. При этом число светокомпенсирующих каналов равно числу основных каналов и, кроме того, получена идеальная обратная зависимость светокомпенсации. В частности, по сравнению с установкой «Ялкын» (см. «В помощь радиолюбителю», М., ДОСААФ, 1976, вып. 52), описываемая ЦМУ при значительно меньшей сложности электронной части обеспечивает больший световой эффект. Как и в «Ялкын», в ней применено сближение динамических диапазонов яркости свечения ламп и уровня звукового сигнала, без введения специальных электронных устройств.

Основные данные ЦМУ: потребляемая мощность 1200 Вт; мощность одного основного канала 300 Вт; мощность одного канала светокомпенсации 100 Вт; уровень входного сигнала 0,3-5 В.

Число импульсный метод управления тринисторами, используемый в описываемой ЦМУ, иллюстрируется графиками, показанными на рис. 1. Для открывания тринистора на его управляющий электрод подают пачку коротких импульсов 3 положительной полярности ;. 1, а), вырабатываемых генератором импульсов, в течение того промежутка времени, пока управляющее напряжение 1 и сравниваемое с ним на входе генератора напряжение, изменяющееся по определенному закону 2 синхронно с частотой сети переменного тока, равны.

График 1. Графики, иллюстрирующие число-импульсный метод управления тринисторами: (а- пачка импульсов положительной полярности: б - иллюстрация эффекта компрессии)

Рис. 7. Принципиальная схема ЦМУ

Задав определенный закон изменения напряжения (2а на рис. 1, б), синхронизированного с частотой сети переменного тока, можно получить эффект компрессии управляющего (1а - д) напряжения.

Наиболее полно условию компрессии удовлетворяет экспоненциальная кривая заряда конденсатора.

Принципиальная схема ЦМУ показана на рис. 7. Сигнал звуковой частоты через регулятор уровня (потенциометр R1) поступают на вход блока фильтров звуковых частот (Ф1, Ф2, Ф3) для разделения на три частотных канала. Импульсы отрицательного напряжения, выделенные диодами V5-V7 и сглаженные конденсаторами С4-С6, через резисторы R4-R6 поступают на базы транзисторов V9-VII. Эти транзисторы выполняют роль регулируемых резисторов, определяющих момент срабатывания устройств сравнения в соответствующих ячейках блока управления тринисторами.

Каждая из ячеек блока управления тринисторами, например изображенная на схеме БУТ1, состоит из блокинг-генератора, собранного на трансформаторе 7Y и транзисторе V17, и устройства сравнения на диодах V12, V13, которое управляет обратной связью блокинг-генератора. На диод V13 синхронно с частотой сети переменного тока подается напряжение, изменяющееся по экспоненциальному закону, формируемое блоком генератора пилообразного напряжения (ГПН), Это напряжение сравнивается с напряжением на диоде V12, которое зависит от введенного сопротивления подстроечного резистора R10 и сопротивления участка коллектор-эмиттер транзистора V9 блока фильтров. В момент равенства обоих напряжений происходит переключение диодов- V13 открывается, a V12 закрывается. Таким образом цепь обмотки 116 положительной обратной связи оказывается замкнутой, а цепь обмотки Па отрицательной обратной связи - разомкнутой. При этом блокинг-генератор начинает вырабатывать импульсы, которые с обмотки трансформатора Т1 через диод Vlb поступают на управляющий электрод тринистора Vis. Диод V15 ограничивает выброс напряжения на обмотке III трансформатора возникающий при запирании транзистора V17. Начальное свечение ламп устанавливают подстроечным резистором R10.

Генератор пилообразного напряжения является общим для всех ячеек БУТ. Он представляет собой транзисторный коммутатор. Напряжение синхронизирующей обмотки III трансформатора питания Т2, выпрямленное диодами VI-V4, закрывает транзистор V8. При этом напряжение на конденсаторе С7, который заряжается через резистор R8, возрастает по экспоненциальной кривой Постоянная времени процесса заряда С7 определяется сопротивлением резистора R8. В конце каждого полупериода напряжения сети транзистор V8 открывается током, протекающим через резистор R7, при этом конденсатор С7 очень быстро разряжается практически до нуля.

2. Физические основы (ЦМУ)

.1 Трехкомпонентная теория цветового зрения

Впервые гипотезу о механизме цветового зрения высказал М. В. Ломоносов, который в 1756 г. сформулировал трехкомпонентную (трехцветную) теорию восприятия цветов. Согласно этой теории, в глазу имеются три вида приемников лучистой энергии (колбочек), воспринимающих соответственно красную (длинноволновую), желтую (средневолновую) и голубую (коротковолновую) части видимого спектра.

Подобные гипотезы были также выдвинуты в Англии Томасом Юнгом в 1807 г., в Германии - Гельмгольцем в 1852 г., и за основные цвета были приняты красный, зеленый и синий.

Все наши ощущения есть не что иное, как результат смешения в различных пропорциях этих трех цветов. При одинаково сильном возбуждении трех видов колбочек создается ощущение белого цвета, при равном слабом - серого, а при отсутствии раздражения - черного. При этом глаз воспринимает яркость предметов путем суммирования ощущений, получаемых тремя видами колбочек, а цветность - как отношение этих ощущений.

Трехкомпонентная теория цветового зрения в настоящее время является почти общепринятой. Предполагается, что в каждом виде колбочек содержится соответствующий цветочувствительный пигмент, названный йодопсином, обладающий определенной спектральной чувствительностью (характеристикой поглощения). Химический состав пигментов еще не определен.

Рисунок 8 Шкала спектра электромагнитных волн.

На рисунке 8 выделены цвета, называемые главными. Границы здесь довольно условные, так как каждый цвет непрерывно переходит в следующий, образуя множество оттенков. Число воспринимаемых глазом оттенков (спектральных цветов) очень велико и трудно поддаётся точному учету.

Установлено, что области спектральной чувствительности трех фотопигментов перекрываются и при зрительном восприятии возбуждаются две или даже три группы колбочек, но в различной степени. Иными словами, излучение почти всех участков видимого спектра возбуждает не одну группу колбочек, и поэтому всегда более чем один из трех независимых приемников участвует в механизме цветовосприятия. Наличием трех приемников света с перекрывающимися областями спектральной чувствительности и объясняют существование метамерных цветов, идентичных по цветовому восприятию, но вызываемых световыми потоками с различным спектральным составом. Существуют и другие теории цветового зрения, однако ни по одной из них не удается ответить на все вопросы об установленных фактах, относящихся к цветовому зрению. Правда, почти все теории допускают существование трех типов приемников. Отклонения в цветовом зрении также частично свидетельствуют в пользу трехкомпонентной теории. Наряду с теми, кто обладает нормальным цветовым зрением (трихромагы), встречаются люди, не различающие цветов (ахроматы), а также имеющие ослабленную чувствительность к одному из трех основных цветов или различающие только два основных цвета (дихроматы). Несмотря на то, что механизм цветового зрения окончательно не выяснен, для создания системы 1ДТВ достаточно уже известных закономерностей цветового зрения, выявленных в результате большого числа опытов по смешению цветов. Именно они позволили разработать метрику цвета (колориметрию), производить с достаточной точностью цветовые расчеты, воспроизводить цвета и создать цветную фотографию, печать, кино и телевидение.

2.2 Методы образования цветов

Существуют два метода образования цветов: аддитивный и субтрактивный, основанные соответственно на сложении и вычитании цветов. Первые опыты по сложению световых потоков для образования какого-то цвета можно отнести ко времени проведения Ньютоном в 1666 г. эксперимента по расщеплению с помощью призмы белого светового потока на его составляющие - спектр. Когда он пропустил расщепленный световой поток через вторую призму, то убедился, что вновь получается белый свет. Это и был первый опыт аддитивного образования цвета, т. е. сложения цветовых потоков для получения белого цвета. В 1807 г. Юнг обнаружил, что ощущение белого цвета можно получить путем сложения красного, зеленого и синего световых потоков. При этом большинство других цветов видимого спектра образуется путем суммирования указанных трех цветов в различных пропорциях. Эти три цвета были названы основными (первичными). В качестве основных могут быть взяты и другие три цвета, удовлетворяющие условию линейной независимости, согласно которому ни один из этих цветов не должен получаться при сложении двух оставшихся.

Эксперименты по сложению цветовых потоков указывают на возможность получения большинства других цветов видимого спектра путем сложения только трех независимых цветов (красного R, зеленого G и синего В)

Сущность оптического смешения цветов заключается в том, что на неизбирательно отражающий диффузный экран направляют три световых потока: красный, зеленый и синий (цветной рис. 9.5).

 

а                                                                      б

Рисунок 9 (а-аддитивное образование цветов путем смещения трех основных световых потоков. б-субтрактивное образование цветов путем смещения трех основных красок)

Последние могут быть получены, например, от источников белого света, перед которыми установлены соответственно красный, зеленый и синий светофильтры. Цвет экрана будет зависеть от интенсивности смешиваемых цветов. Образование цветов путем оптического смешения трех основных используется в проекционных устройствах воспроизведения цветных телевизионных изображений. Последовательное смешение имеет место при последовательной во времени смене цветов (красного, зеленого и синего) с частотой, при которой мелькание цветов не видно. При быстром вращении вертушки, диск которой окрашен в различные цвета в виде секторов, образуется новый цвет, который зависит от их угловых размеров.

2.3 Двухкомпонентная теория цветового зрения

В 1959 году в американской печати появилось сенсационное сообщение: «Трехсотлетняя теория цветного зрения рухнула! Эксперименту Эдвина Г. Лэнда доказали, что глаз человека совсем не нуждается в красных световых волнах, чтобы видеть красный цвет, в оранжевых - оранжевый, в желтых - желтый. Комбинируя всего-навсего два светофильтра при фотографировании и последующем проецировании полученного черно-белого снимка на экран, Лэнд воспроизводит вей естественную гамму красок, присущую объекту». Сейчас можно с уверенностью сказать, что в этих сообщениях было по крайней мере две неточности: во-первых, фотографии Лэнда не отражают естественную гамму красок; во-вторых, эффекты, полученные Лэндом, Легко объясняются с позиций трехцветной теории зрения. Чтобы понять, о чем речь, придется сделать коротенький исторический экскурс. В 1672 году Ньютон с помощью призмы разложил «белый свет» в спектр. Накладывая одни участки спектра на другие, люди научились получать новые цвета. Впоследствии обнаружилось, что для создания любого цвета, в том числе и белого, достаточно смешать в разных пропорциях три основных цвета - красный, зеленый и синий. В начале XIX века была выдвинута гипотеза о существовании в сетчатке глаза трех родов чувствительных приемников, реагирующих на три основных цвета. В 1855 году с помощью трех фильтров получили первую цветную фотографию, своеобразную заявку на цветное кино и телевидение. Позднее, уже в XX веке, выяснилось, что каждый приемник воспринимает с максимальной чувствительностью лишь один из основных цветов, хотя и способен реагировать на более широкую область спектра. Исследования показали: цветную картину мира, подобную той, которую видим мы, «созерцают» далеко не все живые организмы. Это зависит от числа и спектральной характеристики приемников, имеющихся в их светочувствительных клетках. Например, у лягушки и черепахи по два приемника. У лягушки максимум чувствительности обоих приемников расположен ближе к красной области спектра, так что квакушка смотрит на мир как бы сквозь розовые очки. А вот черепаха - сквозь зеленые. Светочувствительные клетки морской свинки обладают одним приемником. Понятно, почему перед морской свинкой окружающий мир предстает в виде черно-белой фотографии. Зрительное восприятие дождевого червя ограничивается в лучшем случае определением направления на светящееся тело. Не только цветного, но и черно-белого изображения для червя не существует. У человека клетки сумеречного зрения - палочки - имеют также один приемник. Отсюда ясно, почему в сумерках «все кошки серы». "Ну, а при чем тут цветовое кодирование? В конце XVIII века великий немецкий поэт и ученый В. Гёте в своей работе о цвете обратил внимание на тот факт, что тени деревьев и других предметов в красных лучах заходящего солнца кажутся синими. Позднее было установлено, что белый экран после освещения синими лучами кажется красноватым. Иными словами, белые предметы всегда окрашены в цвет, дополнительный к тому, который перед этим на них падал. Это и есть явление цветовой адаптации. Оно объясняется так: раздражение зрительных клеток цветного зрения - колбочек - одним из основных цветов приводит к уменьшению чувствительности соответствующего приемника, в то время как чувствительность двух других приемников остается без изменения. Так появляется субъективная окраска, сдвигающая область цветоощущения человека либо в сторону красного, либо в сторону синего цвета. Нечто подобное наблюдается при замене белого или черного фона цветным. Уменьшение чувствительности одного из приемников заставляет видеть на подкрашенном фоне те цвета, которых на самом деле нет. Можно довольно точно рассчитать, цветом какой интенсивности следует подкрасить фон, чтобы уменьшить чувствительность приемника? Тогда вся гамма красок получается уже не естественной, а как бы подкрашенной одним из основных цветов. Именно к такой подкраске фона и сводились, в сущности, опыты Лэнда.

3. Технические решения узлов ЦМУ

.1 Требования

Качественная цветомузыкальная установка должна иметь следующие технические характеристики:

) инерционность цветоизлучателей (дабы успевать за изменением звука);

) фоновый канал (для того чтобы глаза не уставали от резких перепадов освещенности);

) компрессия звука и цвета.

3.2 Структурная схема ЦМУ

Цветомузыкальная установка, состоящая из трёх цветовых составляющих, содержит усилитель звуковой частоты, сигнал, с выхода которого подается на три фильтра высокой, средней и низкой звуковой частоты, а так же блок коммутации управления, далее сигнал следует через узел управления непосредственно к цветоизлучателям (синий, зеленый, красный) что хорошо видно на рисунке 10.

Рисунок 10. Блок схема ЦМУ.

3.3 Разработка узлов устройства

На основании произведенного анализа выше описанных схем выделены наиболее оптимальные и простые в повторении конструктивные узлы цветомузыкальной установки, также соответствующие требования (ЦМУ).

В первую очередь следует отметить, что фоновый канал во всех установках исполнен в виде отдельного канала который очень громоздок и полностью не согласован с основными каналами либо его вообще нет, что ещё хуже. Его отсутствие приводит к быстрому уставанию глаз, которое происходит из-за напряжения мышц глаза в тот момент когда на выходе основных каналов несущих цветовую информацию нет сигнала. Данную проблему можно разрешить, если параллельно управляемому тринистору включить лампочку Н1 с мощностью меньшей в несколько раз, нежели Н2 рисунок 11.

Рисунок 11. Образование фонового канала лампочкой Н1.

В тот момент, когда тринистор закрыт, ток протекает через лампочку Н1, из графика 3 видно, что в момент запирания тринистора в лампочке Н2 не хватает тока для накала, вследствие чего она гаснет.

График 3. Вольт амперные характеристики лампочек Н1 и Н2.

Данные графика основаны на законе Ома.

U=IR => I=U/R,

где U-напряжение сети,

P=UI =>

  (1)

R1, R2-сопротивления лампочек H1,H2.

  (2)

P1, P2-мощности лампочек H1,H2.

График 3 строится по формулам (2) и на основании подсчетов подбираются необходимые номиналы мощностей лампочек.

Для инерционности цветоизлучателей необходимо суммарную мощность распределить на несколько лампочек, как показано на рисунке 12. (Всё это необходимо для того что бы успевать за изменением звука);

 P=P1+P2+…………+Pn

Рисунок 12. Распределение мощности для осуществления инерционности цветоизлучателей.

По входным характеристикам ЦМУ необходима гальваническая развязка, рисунок 13.

Рисунок 13.Гальваническая развязка по входу ЦМУ.

На рисунке 13 изображена схема входной части ЦМУ, где (R1,R2) выступают в роли делителя напряжения для управления уровнем входного сигнала. Стабилитроны V1,V2 защищают трансформатор и фильтры от перегрузки. Сам трансформатор несёт функцию гальванической развязки.

Пассивны фильтры несут потери мощности, поэтому необходимо ставить активные. (Рисунок 14)

Рисунок 14. Активный фильтр.

При наладке канала фильтров следует пользоваться расчетной формулой

Frez=160000/RС (3)

где R-сопротивление резисторов R7 и R8 килоомах;

С- ёмкость конденсаторов С4 и С5 в нанофарадах;

ёмкость конденсатора С3 вдвое больше, чем с5.

При повторении ещё двух каналов схемы спаивают по рисунку 14, фильтры рассчитываются по формуле 3.


Для осуществления компрессии предлагается следующая схема (рисунок 15)

.

Рисунок 15. Компрессия звука и света.

Заключение

В настоящей курсовой работе предлагаются эскизы цветомузыкальной установки, основанные на качественном анализе устройств предназначенных для цветомузыкального сопровождения.

В первой главе, производится обзор и анализ цветомузыкального устройства (ЦМУ) предлагаемого в различных журналах, разными авторами.

Во второй главе рассматриваются физические основы (ЦМУ) взятые из трехкомпонентной теории цветового зрения, методах образования цветов, а также рассмотрена новая теория двухкомпонентного цветового зрения.

Третья глава курсовой работы посвящена разработке структурных схем (ЦМУ) и предлагает альтернативное решение её основных узлов.

Предложенные эскизы (МУЗ) могут использоваться в рекламных устройствах, декорационно-оформительской практике, а также дискотеках, в качестве устройства цветомузыкального сопровождения.

Список использованных источников

1.Васильев В. А., Веневцев М. К. Транзисторные конструкции сельского радиолюбителя.- М.: Энергия, 1980, с. 83-84.

.Галеев Б. М. Светомузыкальные устройства.- М.: Энергия, 1978.

.Иванов Б. С. В помощь радиокружку.- М.: Радио и связь, 1982, с, 124-127.

.Сорокин С. Выходное оптическое устройство цветомузыкальной установки,- В помощь радиолюбителю. Вып. 75, 1981, с. 15-24.

.В помощь радиолюбителю. Вып. 69, 1980, c. 45-54.

. В помощь радиолюбителю. Вып. 70, 1980, c. 65-70.

. В помощь радиолюбителю. Вып. 79, 1982, c. 34-41.

. В помощь радиолюбителю. Вып. 87, 1984, c. 69-78.

. В помощь радиолюбителю. Вып. 91, 1985, c. 69-76.

. Вечканов Н.М. Техника молодежи.-М.: 1966, c. 6.


Не нашли материал для своей работы?
Поможем написать уникальную работу
Без плагиата!
Без нейросетей!