Водные растения

  • Вид работы:
    Доклад
  • Предмет:
    Биология
  • Язык:
    Русский
    ,
    Формат файла:
    MS Word
    10,58 kb
  • Опубликовано:
    2009-01-12
Вы можете узнать стоимость помощи в написании студенческой работы.
Помощь в написании работы, которую точно примут!

Водные растения

Федеральное агентство железнодорожного транспорта

Федеральное государственное бюджетное

Образовательное учреждение

Высшего профессионального образования

«московский государственный университет путей сообщения»

(МИИТ)

КУРСОВАЯ РАБОТА

По дисциплине: «Мониторинг среды обитания»

Выполнила: студентка 4 курса

Группа ИЖБЖ-4,5

Учебный шифр 0910-пБЖТ-1367

Рецензировал: проф. Кокин С.М.

г.

Содержание

Введение

. «Экология электромагнитного излучения»

. «Радиационная экология»

. «Акустическая вибрационная экология»

 4.Дистанционный анализ состава атмосферы», «Химические методы контроля»,  «Контроль освещенности рабочих мест»

Заключение

Литература

Введение

Мониторинг- это система наблюдений, оценки и прогноза позволяющая выявить изменения состояния окружающей среды под влиянием антропогенной деятельности. Прежде всего, это мониторинг антропогенных загрязнений. Наряду с отрицательным влиянием на природу человек может в результате хозяйственной деятельности оказывать и положительное влияние. Часто плачевные результаты хозяйственной деятельности возникают из благих намерений. Чтобы такого не произошло и необходимо изучать окружающую среду, прогнозировать её возможные изменения, как в лучшую, так и в худшую стороны.

В состав мониторинга входит:

наблюдение за качеством окружающей среды, факторами, воздействующими на окружающую среду,

оценка фактического состояния природной среды,

прогноз изменения качества среды.

Наблюдения могут осуществляться по физическим, химическим и биологическим показателям, но особенно перспективны интегрированные показатели состояния окружающей среды.

В систему экологических наблюдений входит определение показателей опасного загрязнения среды техногенного происхождения. Основные цели экологического мониторинга состоят в обеспечении системы управления природоохранной деятельности и экологической безопасности своевременной и достоверной информацией, позволяющей: оценить показатели состояния и функциональной целостности экосистем и среды обитания человека; выявить причины изменения этих показателей и оценить последствия таких изменений, а также определить корректирующие меры в тех случаях, когда целевые показатели экологических условий не достигаются; создать предпосылки для определения мер по исправлению возникающих негативных ситуаций до того, как будет нанесен ущерб.[1]

Часть1. «Экология электромагнитного излучения»

Задание 4. Наиболее опасной зоной работающей СВЧ-печи считается область вблизи правого нижнего угла дверцы: именно в этом месте чаще всего происходит нарушение экранировки ее излучения. Полагая, что к.п.д. СВЧ-печи мощностью 2Вт составляет 50%, причем 5% мощности возникающего излучения рассеивается через неплотно прикрытую дверцу (ее правый нижний угол можно считать точечным источником), определите безопасное расстояние, на котором можно находиться вблизи печи не более 30 мин. Допустимой в данном случае является плотность потока энергии, не превышающая 10 мВт/см2. Укажите, какие мероприятия (технического, медицинского, профилактического характера) следует предпринимать для снижения риска неблагоприятного воздействия электромагнитного поля СВЧ-печи на людей, по роду своей деятельности постоянно имеющих дело с такого типа устройствами.

Дано: Р = 2Вт; КПД =50%; t = 30мин; П = 10мВт/см2

Найти: r

Решение

РД = 0,05 * 1Вт = 0,05Вт = 50мВт - мощность излучения, рассеивающегося черед правый нижний угол дверцы;

Плотностью потока электромагнитного излучения П называет отношение электромагнитной энергии W , проходящей за время t через перпендикулярную лучам поверхность площадью S, к произведению площади S на время t.

Плотность потока электромагнитного излучения - электромагнитная энергия, переносимая за 1 с через площадку 1 кв.м перпендикулярно этой площадке.

Плотность потока излучения, в СИ выражают в ваттах на квадратный метр (Вт/м2)

S = 50/10 = 5см2 - площадь излучения за t = 1с; За 1800с S = 9000см2

Источник излучения считается точечным, если его размеры много меньше расстояния, на котором оценивается его действие. Кроме того, предполагается, что такой источник посылает электромагнитные волны по всем направлениям с одинаковой интенсивностью.

Рассмотрим зависимость плотности потока излучения от расстояния до источника.

Энергия, которую несут с собой электромагнитные волны, с течением времени распределяется по все большей и большей поверхности. За 1800с - S = 9000см2. Поэтому энергия, переносимая через единичную площадку за единицу времени, т. е. плотность потока излучения, уменьшается по мере удаления от источника. Выяснить зависимость плотности потока излучения от расстояния до источника можно, поместив точечный источник в центр сферы радиусом r. площадь поверхности сферы S= 4πr2. Если считать, что источник по всем направлениям за время t излучает энергию W.

Плотность потока излучения от точечного источника убывает обратно пропорционально квадрату расстояния до источника.

r = = 26,8см

Плотность потока энергии точечного источника на расстоянии r равна

S(r) = ;

П(0,268)= ();

Р(0,268)< S0 = 100

S0 - допустимая плотность потока энергии.

Ответ: r =26,8см

Микроволновая печь, являющаяся источником волн средней частоты. Допустимый уровень излучения печи - 10 мкВт/см2.

Обычно на расстоянии полуметра у всех изделий этот уровень соответствует. Но он может повысится вследствие неправильной транспортировки либо заводского брака. Волны могут проходить, например, через зазор между дверцей печки и корпусом, поэтому если в результате длительного пользования дверца начала прилегать неплотно, прибор нужно отремонтировать либо утилизировать.

Про расстояние, на котором может находиться человек при включённой микроволновке, обычно говорится в инструкции. Как показывает практика, расстояния одного метра и более вполне достаточно.

В жилых помещениях СВЧ - печи надо располагать так: в их поле не должны попадать кровать и диваны, обеденный стол, то есть те места, где мы проводим много времени. При удалении от источника электрического излучения на двойное расстояние напряженность поля снижается в четыре раза. Это самый простой способ свести к минимуму воздействие излучения: например, не сидите слишком близко от работающей СВЧ-печи.

Индукционные кухонные плиты генерируют сильные магнитные поля, предпочтительнее - металлокерамические варочные поверхности. Самые современные модели микроволновых печей относительно безопасны: сейчас большинство производителей уделяют особое внимание их высокой герметичности. Проверить её можно, если пронести листик алюминиевой фольги перед дверцей работающей СВЧ-печи: отсутствие треска и искр подтвердит, что всё в порядке.

Часть 2. «Радиационная экология»

Задание 4. Флюоресцирующий экран площадью S = 0,03 см2 находится на расстоянии r= 1см от пылинки радия 22588Rа массой m =18 пг. Сколько вспышек N за t = 1 мин получится на экране? Приведите примеры сцинтилляционных счетчиков (с кратким пояснением принципа их работы), которые могут быть использованы для контроля радиационной обстановки.

Дано: S = 0,03 см2; r= 1см; 22588Rа; m =18 пг; t = 1

Найти: N

Решение

NA = ; NA - число Авогадро;

N =

Закон радиоактивного распада: N = N0 *2

T1/2 = 1620лет= 1620 * 365 * 24 * 60 =8,5*108c - период полураспада радия;

Так как период полураспада радия намного больше времени t , то можно считать, что в течение этого промежутка времени число нераспавшихся ядер N остается практически постоянным и равным их начальному числуN0 . Тогда для нахождения числа распавшихся ядер DN1 применим закон радиоактивного распада, записав его так

DN1 = -lNDt1 , или ∆N =

∆N =

Подсчитаем число вспышек:

=

 

Прибор МКС-01 СА1 М представляет собой компактный устройство для измерения потоков различных заряженных частиц, он имеет ряд дополнительных функций, облегчающих его использование и делающих измерения более точными. Данный дозиметр-радиометр позволяет измерять амбиентный эквивалент дозы гамма - (рентгеновского) излучения и его мощность, плотности потоков альфа- и бета-частиц с загрязненных поверхностей, а также может использоваться для поиска источников ионизирующего излучения, контроля радиационного загрязнения денежных знаков и для общей оценки радиационной обстановки.

Индикатор радиационный

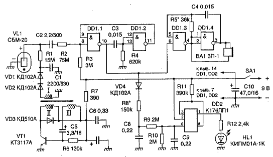
Прибор предназначен для непрерывного контроля общей радиационной обстановки и обнаружения источников ионизирующей радиации. Принципиальная схема прибора изображена на рис.1. Функцию датчика ионизирующей радиации VL1 выполняет счетчик Гейгера тина СБМ-20. Высокое напряжение на его аноде формирует блокинг-генератор, собранный на трансформаторе Т1. Импульсы напряжения с повышающей обмотки I через диоды VD1, VD2 заряжают конденсатор фильтра С1. Нагрузкой счетчика служат резистор R1 и другие детали, связанные со входом 8 элемента DD1.1.

Элементы DD1.1, DD1.2, конденсатор СЗ и резистор R4 образуют одновибратор. Он преобразует импульс тока, возникающий в счетчике Гейгера в момент возбуждения его ионизирующей частицей, в импульс напряжения длительностью 5... 7 мс.Элементы DD1.3, DD1,4, конденсатор С4 и резистор R5 представляют собой управляемый (по входу 6 элемента DD1.3) генератор колебаний звуковой частоты, к парафазному выходу которого (выводы 3 и 4 элементов DD1.4, DD1.3) подключен пьезоизлучатель ВА1. В нем акустический импульс-щелчок возбуждается пачкой электрических импульсов. На диоде VD4, резисторах R8-R10 и конденсаторах С8, С9 собран интегратор, управляющий работой порогового усилителя DD2. Напряжение на конденсаторе С9 зависит от средней частоты возбуждения счетчика Гейгера - при достижении его значения соответствующему напряжению открывания полевого транзистора, входящего в микросхему DD2, включается светодиод HL1. Частота и длительность вспышек светодиода увеличиваются с повышением уровня радиации.

Детали прибора смонтированы на печатной плате, изготовленной из двухстороннего стеклотекстолита толщиной 1,5 мм. Фольга со тороны установки деталей используется лишь как общий заземленный проводник. Конденсатор С1 типа К73-9, С2 - КД-26, С5 - К53-30 или К53-19. В случае замены их конденсаторами других типов следует иметь в виду, что утечки здесь могут резко увеличить энергопотребление прибора, что, конечно, нежелательно. По этой же причине ограничен и выбор диодов VD1 и VD2: обратный ток этих диодов является нагрузочным для высоковольтного преобразователя и не должен превышать 0,1 мкА. Конденсаторы С7 и С10 - типа К50-40 или К50-35, остальные - К10-17-26 или КМе. Резистор R1 - КИМ или СЗ-14, R2-R12 -МЛТ, С2-33 или С2-23.Микросхема DD1 может быть типа К561ЛА7. Диод КД510А можно заменить любым другим кремниевым с током в импульсе не менее 0,5 А. Светодиод годится практически любой, критерий здесь - достаточная яркость. Двухкристальный пьезоизлучатель ЗП-1 может быть заменен однокристальным с акустическим резонатором ЗП-12, ЗП-22 или ЗП-3.

Без заметных изменений потребительских свойств и каких-либо переделок в приборе можно использовать счетчик СТС-5, СБМ32 или СБМ32К и другие счетчики Гейгера.

Импульсный трансформатор Т1 высоковольтного преобразователя напряжения наматывают на ферритовом кольце МЗОООНМ типоразмера К16х10х4,5, предварительно покрытом тонкой лентой из лавсана или фторопласта. Первой наматывают обмотку I - 420 витков провода ПЭВ-2 0,07 мм. Провод укладывают виток к витку в одну сторону, оставляя между началом и концом обмотки промежуток 1-2 мм. Далее, покрыв обмотку I слоем изоляции, наматывают обмотку II - 8 витков провода диаметром 0,15-0,2 мм в любой изоляции, и поверх нее обмотку III - 3 витка такого же провода. Провод этих обмоток также должен быть возможно равномернее распределен по магнитонроводу. Готовый трансформатор, покрытый слоем гидроизоляции, например обмотанный узкой полоской ленты ПХЛ, крепят на плате винтом МЗ между двумя эластичными шайбами.

Прибор не требует наладки - правильно собранный, он начинает работать сразу. Но есть в нем два резистора, номиналы которых, возможно, потребуется уточнить. Это резистор R5, подбором которого регулируют частоту звукового генератора так, чтобы она соответствовала частоте механического резонанса пьезоизлучателя, и резистор R8, номинал которого определяет порог срабатывания тревожной сигнализации. Коррекция порога тревожной сигнализации может потребоваться при перенастройке прибора для работы в условиях повышенного радиационного фона. Прибор прост в обращении и не требует от владельца какой-либо специальной подготовки. Редкое пощелкивание акустических импульсов, следующих один за другим без видимого порядка, отсутствие тревожной сигнализации (вспышек светодиода) говорят о том, что прибор находится в условиях естественного радиационного фона. Это фоновое пощелкивание почти не зависит от времени суток, сезона и местоположения прибора, несколько замедляясь лишь глубоко под землей и ускоряясь в высокогорье. Увеличение скорости счета при перемещении прибора, а тем более, срабатывание тревожной сигнализации дает достаточные основания полагать, что прибор находится в районе источника радиации искусственного происхождения.

Положение этого источника, его габариты, связь с тем или иным видимым предметом можно определить либо поворотами прибора (он имеет максимальную чувствительность со стороны счетчика Гейгера), либо его перемещением - на правление на источник определяют по увеличению скорости счета. При поиске источника радиации, размеры которого значительно меньше самого счетчика Гейгера, рекомендуется проводить сканирование подозрительных мест - перемещать прибор, меняя направление его движения и ориентацию. Таким образом, положение невидимого простым глазом источника радиоактивности можно определить с точностью до 2...3 мм.

Порог срабатывания тревожной сигнализации в приборе устанавливается чуть выше естественного радиационного фона со всеми возможными его отклонениями от среднего значения. Лишь очень немногие причины, не связанные с появлением источников радиации искусственного происхождения, могут вывести его в режим тревожной сигнализации (из общедоступных - полеты на большой высоте).

СЦИНТИЛЛЯЦИОННЫЕ СЧЕТЧИКИ

Метод регистрации заряженных частиц с помощью счета вспышек света, возникающих при попадании этих частиц на экран из сернистого цинка (ZnS), является одним из первых методов регистрации ядерных излучений.

Еще в 1903 г. Крукс и другие показали, что если рассматривать экран из сернистого цинка, облучаемый a-частицами, через увеличительное стекло в темном помещении, то на нем можно заметить появление отдельных кратковременных вспышек света - сцинтилляций. Было установлено, что каждая из этих сцинтилляций создается отдельной a-частицей, попадающей на экран. Круксом был построен простой прибор, названный спинтарископом Крукса, предназначенный для счета a-частиц.

Визуальный метод сцинтилляций был использован в дальнейшем в основном для регистрации a-частиц и протонов с энергией в несколько миллионов электронвольт. Отдельные быстрые электроны регистрировать не удалось, так как они вызывают очень слабые сцинтилляции. Иногда при облучении электронами сернисто-цинкового экрана удавалось наблюдать вспышки, но это происходило лишь тогда, когда на один и тот же кристаллик сернистого цинка попадало одновременно достаточно большое число электронов.

Гамма-лучи никаких вспышек на экране не вызывают, создавая лишь общее свечение. Это позволяет регистрировать a-частицы в присутствии сильного g-излучения.

Визуальный метод сцинтилляций позволяет регистрировать очень небольшое число частиц в единицу времени. Наилучшие условия для счета сцинтилляций получаются тогда, когда их число лежит между 20 и 40 в минуту. Конечно, метод сцинтилляций является субъективным, и результаты в той или иной мере зависят от индивидуальных качеств экспериментатора.

Несмотря на недостатки, визуальный метод сцинтилляций сыграл огромную роль в развитии ядерной и атомной физики. С помощью него Резерфорд регистрировал a-частицы при их рассеянии на атомах. Именно эти опыты привели Резерфорда к открытию ядра. Впервые визуальный метод позволил обнаружить быстрые протоны, выбиваемые из ядер азота при бомбардировке их a-частицами, т.е. первое искусственное расщепление ядра.

Визуальный метод сцинтилляций имел большое значение вплоть до тридцатых годов, когда появление новых методов регистрации ядерных излучений заставило на некоторое время забыть его. Сцинтилляционный метод регистрации возродился в конце сороковых годов XX века на новой основе. К этому времени были разработаны фотоэлектронные умножители (ФЭУ), позволяющие регистрировать очень слабые вспышки света. Были созданы сцинтилляционные счетчики, с помощью которых можно увеличить скорость счета в 108 и даже более раз по сравнению с визуальным методом, а также можно регистрировать и анализировать по энергии как заряженные частицы, так и нейтроны и g-лучи.

Неорганические сцинтилляторы. Неорганические сцинтилляторы представляют собой кристаллы неорганических солей. Практическое применение в сцинтилляционной технике имеют главным образом галоидные соединения некоторых щелочных металлов.

Органические кристаллические сцинтилляторы. Молекулярные силы связи в органических кристаллах малы по сравнению с силами, действующими в неорганических кристаллах. Поэтому взаимодействующие молекулы практически не возмущают энергетические электронные уровни друг у друга и процесс люминесценции органического кристалла является процессом, характерным для отдельных молекул. В основном электронном состоянии молекула имеет несколько колебательных уровней. Под воздействием регистрируемого излучения молекула переходит в возбужденное электронное состояние, которому также соответствует несколько колебательных уровней. Возможны также ионизация и диссоциация молекул. В результате рекомбинации ионизованной молекулы, она, как правило, образуется в возбужденном состоянии. Первоначально возбужденная молекула может находиться на высоких уровнях возбуждения и через короткое время (~10-11 сек) испускает фотон высокой энергии. Этот фотон поглощается другой молекулой, причем часть энергии возбуждения этой молекулы может быть израсходована на тепловое движение и испущенный впоследствии фотон будет обладать уже меньшей энергией по сравнению с предыдущим. После нескольких циклов испускания и поглощения образуются молекулы, находящиеся на первом возбужденном уровне; они испускают фотоны, энергия которых может оказаться уже недостаточной для возбуждения других молекул и, таким образом, кристалл будет прозрачным для возникающего излучения.

Пластмассовые сцинтилляторы. Пластмассовые сцинтилляторы представляют собой твердые растворы флуоресцирующих органических соединений в подходящем прозрачном веществе. Например, растворы антрацена или стильбена в полистироле, или плексигласе. Концентрации растворенного флуоресцирующего вещества обычно малы и составляют несколько десятых долей процента или несколько процентов.

Жидкие органические сцинтилляторы. Жидкие органические сцинтилляторы представляют собой растворы органических сцинтиллирующих веществ в некоторых жидких органических растворителях.

Механизм флуоресценции в жидких сцинтилляторах аналогичен механизму, происходящему в твердых растворах-сцинтилляторах.

Наиболее подходящими растворителями оказались ксилол, толуол и фенилциклогексан, а сцинтиллирующими веществами р-терфенил, дифенилоксазол и тетрафенилбутадиен. Наибольшим световым выходом обладает сцинтиллятор, изготовленный при растворении

Газовые сцинтилляторы. При прохождении заряженных частиц через различные газы в них наблюдалось появление сцинтилляций. Наибольшим световым - выходом обладают тяжелые благородные газы (ксенон и криптон). Большим световым выходом обладает также смесь ксенона и гелия. Присутствие в гелии 10% ксенона обеспечивает световой выход, даже больший, чем у чистого ксенона.

Часть 3. «Акустическая вибрационная экология»

Задание 6. Во сколько раз звуковое давление, сниженное за счет использования в качестве средств индивидуальной защиты наушников типа ВЦНИИОТ-7И, оказывается меньше звукового давления, сниженного за счет использования в качестве средства защиты вкладышей типа «Беруши»? (На среднегеометрической частоте 2000 Гц наушники снижают уровень звука на 36 дБ, а «Беруши» - на 26 дБ). Приведите примеры приборов (с кратким пояснением принципа их работы) для измерения шума. Опишите, как шум воздействует на организм человека.

Дано: ν = 2000Гц; ∆L1 = 36дБ; ∆L2 = 36дБ;

Найти: p1/p2

Решение

∆L1 = 20(lgp1/p0 - lgp2/p0) = 20 lg(p1/p2) = 36дБ

p1/p2 = 101,8 = 63 - снижают наушники ВЦНИИОТ-7И;

∆L2 = 20(lgp1/p0 - lgp2/p0) = 20 lg(p1/p2) = 26дБ

p1/p2 = 101,3 = 20 - снижают «Беруши»

Для измерения и анализа шума служат шумомеры и вспомогательные приборы (самописцы уровней, магнитофоны и др.). Эквивалентные уровни и дозы шума измеряют при помощи специальных приборов или приставок к шумомерам. Широко распространены отечественные шумомеры Ш-71, измеритель шума и вибрации ИШВ-1 в комплекте с октавными фильтрами.

В качестве анализаторов спектра шума для шумомеров группы Ш используют анализатор АШ-2М, а для ИШВ-1 - спектрометр типа С-34. Спектр шума получают, применяя микрофон, шумо-мер и анализатор шума, соединенные последовательно. Вибрации измеряют виброметрами типов НВА-1 и ИШВ-1. Аппаратура НВА-1 в комплекте с пьезометрическими датчиками Д-19, Д-22, Д-26 позволяет определять низкочастотную виброскорость и виброускорения. Виброизмерительный комплекс представляет собой измерительный преобразователь (датчик), усилитель, полосовые фильтры и регистрирующий прибор. Контролируемые параметры - действующие значения виброскорости, ускорения или их уровней (дБ) в октавных полосах частот. Параметры вибрации определяют в том направлении, где колебательная скорость наибольшая.

Шумомер SVAN-945 предназначен для измерения и анализа только шума. Он позволяет измерять общий эквивалентный корректированный уровень звука, а также анализировать в 1/1 и 1/3 октавных полосах частот инфразвук (от 1Гц до 20 Гц); слышимый диапазон частот (от 20 до 10000 Гц), а также низкочастотный ультразвук от 10000 Гц до 20000Гц.

Помимо приборов, измеряющих отдельно шум и отдельно вибрацию, есть три прибора комбинированных для измерения шума и вибрации. К этой группе относятся шумомеры, виброметры, анализаторы спектра SVAN-947, SVAN-949 и SVAN-943.

Наиболее популярный прибор из этой группы - SVAN-947. Этот прибор обладает всеми функциями как классического шумомера (SVAN-947 обладает всеми функциями шумомера SVAN-945), так и виброметра (SVAN-947 обладает всеми функциями виброметра SVAN-946). Сочетание функций шумомера и виброметра в одном приборе дает ряд преимуществ и удобств для небольших лабораторий, в которых, как правило, измерение выполняет один или несколько исполнителей.

Прибор SVAN-949 является развитием прибора SVAN-947. Прибор переведен с перезаряжаемых аккумуляторных батарей на обычные заменяемые батарейки размера АА. Все новые приборы планируется выпускать с питанием от батареек потому, что практически все аккумуляторные батареи после определенного срока эксплуатации (1,5 - 2 года) начинают достаточно быстро терять свою номинальную емкость и плохо держать заряд. Это ограничивает время автономной работы. Использование заменяемых батареек размера АА позволило отказаться от стандартной комплектации прибора сетевым адаптером, хотя возможность подключаться к сети переменного тока 220В у приборов сохранилась, и при необходимости сетевой адаптер может поставляться как опция.

Особое место среди комбинированных приборов занимает шумомер SVAN-943. Шумомер, анализатор спектра со всеми функциями измерения и анализа шума с 2005 года получил возможность измерять и вибрацию как классический виброметр. Причем включение этой опции достаточно гибко и может определяться самим пользователем, исходя из своих финансовых возможностей и функциональных потребностей.

Шум, даже когда он невелик (при уровне 50-60 дБ), создает значительную нагрузку на нервную систему человека, оказывая на него психологическое воздействие. Это часто наблюдается у людей, занятых умственной деятельностью. Слабый шум различно влияет на людей. Причиной этого могут быть: возраст, состояние здоровья, вид труда, физическое и душевное состояние человека, и др. Неприятное воздействие шума зависит и от индивидуального отношения к нему. Так, шум, производимый самим человеком, не беспокоит его, в то время как небольшой посторонний шум может вызвать сильный раздражающий эффект.

Сильный шум вредно отражается на здоровье и работоспособности людей. Человек, работая при шуме, привыкает к нему, но продолжительное действие сильного шума вызывает общее утомление, может привести к ухудшению слуха, а иногда и к глухоте, нарушается пищеварение, происходят изменения объема внутренних органов.

Воздействуя на кору головного мозга, шум оказывает раздражающее действие, ускоряет процесс утомления, ослабляет внимание и замедляет психические реакции. Сильный шум может способствовать возникновению травматизма, так как на фоне этого шума не слышно сигналов транспорта, автопогрузчиков и др. Любой шум достаточной интенсивности и длительности может привести к различной степени снижения слуховой активности. Помимо частоты и уровня громкости шума, на развитие тугоухости влияют возраст, слуховая чувствительность, продолжительность, характер действия шума, др. Болезнь развивается постепенно, поэтому особенно важно заранее принять соответствующие меры защиты от шума. Под влиянием сильного шума, особенно высокочастотного, в органе слуха происходят необратимые изменения. При высоких уровнях шума понижение слуховой чувствительности наступает уже через 1-2 года работы, при средних уровнях она обнаруживается через 5-10 лет. Последовательность, с которой происходит утрата слуха, сейчас хорошо изучена Шумная музыка также притупляет слух. Группа специалистов обследовала молодежь, часто слушающую модную современную музыку. У 20 процентов юношей и девушек слух оказался притупленным в такой степени, как у 85_летних стариков.

Шум мешает нормальному отдыху и восстановлению сил, нарушает сон. Систематическое недосыпание и бессонница ведут к тяжелым нервным расстройствам. Поэтому защите сна должно уделяться большое внимание.

Шум оказывает вредное влияние на зрительные и вестибулярные анализаторы. Он способствует увеличению числа всевозможных заболеваний еще и потому, что он угнетающе действует на психику, способствует значительному расходованию нервной энергии.[13]

Часть 4. Дистанционный анализ состава атмосферы», «Химические методы контроля», «Контроль освещенности рабочих мест»

Задание 6.Какова допустимая концентрация ртути в воздухе? Чувствительность индикаторной бумаги для регистрации паров ртути (способ приготовления рассмотрен в предыдущей задаче) составляет 5*10-7мг/мл. Определите, во сколько раз отличается чувствительная концентрация от допустимой и какова окраска бумаги при обнаружении паров ртути, и каким соединением она обусловлена.

Предельно-допустимые концентрации ртути и ее паров

Место определения ПДК

Единица измерения

Значение

Предельно-допустимые концентрации паров в воздухе

В населенных пунктах (среднесуточная)

мг/м3

0,0003

В жилых помещениях (среднесуточная)

мг/м3

0,0003

В рабочей зоне (максимальная разовая)

мг/м3

0,01

В рабочей зоне (среднесменная)

мг/м3

0,005

Чувствительность индикаторной бумаги для регистрации паров ртути составляет 5×10-7мг/мл или 5×10-4мг/м3.

Таким образом, чувствительная концентрация отличается от допустимой:

Чуствит. бумаги /ПДК = 0,0005/ 0,0003 = 1,67 раз[14]

При использовании индикаторной бумаги, приготовленной по методике описанной в условии 5 задачи, если через 4 часа экспонирования, при 15°С, индикаторная бумага не принимает палево-розового цвета, то содержание паров ртути в воздухе ниже предельно допустимой концентрации.

При взаимодействии растворов сульфата меди и иодида калия образуется осадок йодистой меди: 2 CuSO4 + 4KI → Cu2I2↓ + 2 K2SO4 + I2

Осадок образуется кремово-желтого (буроватого цвета), буроватый цвет осадка обусловлен выделяющимся в ходе реакции йодом. При промывании осадка смесью однопроцентных растворов КJ и Nа2S2О3: 1) избыток КJ способствует протеканию реакции до конца, 2)тиосульфат натрия вступает в реакцию с выделившимся йодом - йод удаляется, это видно по обесцвечиванию осадка:

I2 + Nа2S2О3 → NаI + Na2S4O8; I2 + 2S2O32- = 2I- + S4O62-.

Способ, основан на качественной реакции ртути с иодидом меди. Образующееся при этом вещество с формулой Cu2(HgI4) имеет розово-красный цвет. Чем выше концентрация ртути, тем, соответственно, более интенсивная у него окраска.

Заключение

экология электромагнитное излучение радиационная

В данной курсовой работе были рассмотрены вопросы экологии электромагнитного излучения, радиационной экологии, акустической и радиационной экологии, был изучен химический метод контроля. Были рассмотрены санитарные нормы, регламентирующими воздействие электромагнитного излучения на человека, описаны приборы дозиметрического контроля, приборы для измерения шума, действие шума на организм человека.

Список использованной литературы

1. Степановских А. С. Экология. - Курган: ГИПП «Зауралье» 1997 - 616 с., ил.

. Электромагнитные поля в производственных условиях. СанПиН 2.2.4.1191-03. - СПб.: Издательство ДЕАН. - 2003.

. Фортыгин А.А. Экология электромагнитных излучений. Методические указания и контрольные задания для студентов 4 курса. - М.: РГОТУПС, 2004. - 17 с.

. Сподобаев Ю.М., Основы электромагнитной экологии. М.: Радио и связь, 2000.

. Панин В.Ф., Сечин А.И., Федосова В.Д. Экология для инженера. - М.: Изд. дом «Ноосфера», 2001.

. Савельев И.В. Курс общей физики. Книга 5. Квантовая оптика. Атомная физика. Физика твердого тела. Физика атомного ядра и элементарных частиц. - М.: Издательство АСТ, Астрель, 2002.

. Нормы радиационной безопасности (НРБ-99) СП 2.6.1.758-99 Издание официальное. М: Минздрав России. - 1999.

. Фокин В.С., Демидов Б .А., Силина Е.К. Радиационная экология. Рабочая программа для студентов IV курса. - М.: РГОТУПС, 2003. - 37 с.

. Усманов СМ. Радиация. Справочные материалы. - . М.: Владос. - 2001. - 176 с.

. Коротеев А.А., Мадеев В.Г. Безопасность эксплуатации ядерных реакторов. - М.: МАИ, 2001

. Чертов А.Г., Воробьев А.А. Задачник по физике: Уч. пос. для вузов. - М,: Изд. Физ.-мат. литературы, 2002. - 640 с.

. Волькенштейн В.С. Сборник задач по общему курсу физики. - М.: ООО «Рада - Стайл», 2005. - 400 с.

. Шум и вибрация: Уч. пос. / В.Н. Долженко, А.А. Фор-тыгин, СМ. Кокин, В. С. Фокин. - М.: РГОТУПС, 2003. - 50 с.

. Химическая энциклопедия в 5-ти томах. Мед.-Пол. / Ред. И.Л. Кунянц, 1990.

Похожие работы на - Водные растения

 

Не нашли материал для своей работы?
Поможем написать уникальную работу
Без плагиата!
Без нейросетей!