Предоставление мультисервисных услуг в квартале 'Новое созвездие' города Санкт-Петербурга

  • Вид работы:
    Дипломная (ВКР)
  • Предмет:
    Информатика, ВТ, телекоммуникации
  • Язык:
    Русский
    ,
    Формат файла:
    MS Word
    518,97 Кб
  • Опубликовано:
    2012-07-05
Вы можете узнать стоимость помощи в написании студенческой работы.
Помощь в написании работы, которую точно примут!

Предоставление мультисервисных услуг в квартале 'Новое созвездие' города Санкт-Петербурга

ВВЕДЕНИЕ

Современный мир не представляется без услуг передачи данных, телефонии и телевидения. Возрастающая конкуренция среди операторов связи на фоне роста российского рынка широкополосного доступа в Интернет, востребованность качественных интерактивных сервисов и разнообразного мультимедийного контента привели к масштабному внедрению мультисервисных сетей нового поколения для конвергенции услуг передачи данных, голоса и видео, реализуя концепцию "Triple Play".

На данный момент действует федеральная целевая программа «Развитие телерадиовещания в Российской Федерации на 2009-2015 годы». Среди задач данной программы в сфере массовых коммуникаций выделяется переход на цифровое вещание. В данный момент происходит второй этап Программы, который подразумевает под собой создание условий для последовательного отключения аналогового вещания в стране.

С экономической точки зрения цифровизация дает новый стимул для развития рынка платного телевидения в России. На примере Европы, после отмены аналогового вещания абонентская база провайдеров кабельного телевидения выросла более чем на 15-20%.

В последнее время среди абонентов наиболее востребованными являются пакеты из двух услуг: телевидение + широкополосный доступ в Интернет (ШПД). Основным при выборе провайдера при этом является соотношение цены и качества услуг, то есть скорости ШПД и количества ТВ каналов в пакете.

До 99% абонентов компании «Вымпелком» подключающих ТВ, подключают интернет. Абоненту удобно получать обе услуги у одного оператора по одному кабелю, с единой системой расчетов. Представитель оператора ТКТ также признал эффективным механизм постепенных «до-продаж» услуг уже имеющимся абонентам.

В «Вымпелком» считают, что классический Triple Play еще сыграет роль на телеком-рынке. Вместе с тем опрошенные TelecomDaily игроки не исключают, что «третьим элементом» может стать сотовая связь, дополняющим Интернет и ТВ-сервисы.

ТВ-сервисы или дополнительные сервисы делают просмотр удобным и комфортным. Вот некоторые из них:

Услуга «Почти видео по заказу» или, что намного лучше звучит с маркетинговой точки зрения, «виртуальный кинотеатр» (Near Video on Demand) - это трансляция фильмов с видеосервера с жестко определенным расписанием сеансов, когда абонент покупает удобный ему по времени сеанс для просмотра фильма.

Неудобство для абонента состоит в том, что он не может начать просмотр фильма в любой произвольный момент времени. Преимуществом для оператора является использование обычной технологии IP-multicast, которая очень сильно экономит объем трафика в магистральной сети оператора.

Для снижения объемов трафика, оператор предоставляет возможность просмотра не очень большого количества фильмов, обычно количество фильмов в «виртуальном кинотеатре» не превышает двух-трех десятков, как правило, это новые фильмы, недавно вышедшие в прокат.

Услуга «Видео на заказ» (Video on Demand) - фильм с видеосервера персонально транслируется абоненту в любой произвольно выбранный абонентом момент времени. В отличие от услуги «виртуальный кинотеатр» количество фильмов здесь намного больше и может достигать иногда несколько тысяч.

Появляется ряд очень удобных пользовательских функций виртуального видеоплеера - перемотка назад, вперед, пауза. В данном случае объем трафика здесь зависит не от количества фильмов, а от количества пользователей этой услуги, так как используется «персональная» трансляции видеоданных абоненту по технологии IP-адресации «unicast».

Услуга «Персональный видеомагнитофон» (Personal Video Recorder) - на видеосервере абоненту выделяется определенный объем памяти и предоставляется интерфейс с аналогичными видеомагнитофону функциями для цифровой записи и воспроизведения телепередач. Абонент может по своему желанию записывать, стирать, воспроизводить, перематывать свои личные записи. Здесь также используется технология IP-unicast.

Услуга «Платный просмотр» (Pay per View) - покупка и просмотр абонентом отдельно выбранных программ (например, финал чемпионата мира по футболу). Трансляция ведется в режиме реального времени и используется технология IP-multicast.

Услуга «Телевидение со сдвигом по времени» (Time Shifted TV) - абонент покупает услугу просмотра заранее записанных на видеосервере программ. Услуга и реализуемые в ней сервисные функции близки к «видео по заказу». Также используется технология IP-unicast.

Услуги «Сервисы по заказу» (Services on Demand, SoD) - это заказ товаров и услуг на дом, различная справочная информация, расписание транспорта, гостиничный сервис и т.п. Данные услуги близки к аналогичным сервисам в Интернете.

В IPTV, например, есть возможность использовать для одного видеоряда два и более каналов звукового сопровождения, в частности на русском и английском языках, сами каналы при этом полифонические.

По словам вице-президента - коммерческого директора ОАО «Ростелеком» Павла Зайцева «Интерактивное ТВ» - одно из ключевых направлений развития компании.

Мы активно продвигаем эти сервисы среди абонентов услуг телефонии и домашнего Интернета. Сегодня каждый третий абонент при подключении услуги «Домашний Интернет» подключает «Интерактивное ТВ».

Для компании это возможность предоставить пользователям новые современные сервисы, а для потребителей - большой выбор качественных ТВ каналов с удобными функциями по выгодной цене, наряду с удобством оплаты всех услуг в едином счете». «Мы уделяем развитию данной услуги большое внимание, так как это новый интересный продукт». «Стараемся постоянно расширять его возможности…», - добавляет Павел Зайцев.

Сегодня появляется и становится более модной услуга телевидения высокой четкости HDTV. Высокая четкость (HD) означает, что число линий и число пикселей в каждой линии телевизионной картинки существенно увеличены по сравнение с телевидением стандартной четкости.

Состояние и прогноз развития HDTV-вещания и услуг в России: к концу 2015 года процент кабельного и IPTV до 47,5 %. IPTV предполагается 15%.  Возможно также и слияние сегментов кабельного телевидения и IPTV, как сообщает директор по контенту «Триколор ТВ».

Во всем мире и в нашей стране сохраняется тенденция к увеличению роста трафика в сетях связи. Согласно исследованию компании Cisco к 2014 году увеличится объем Интернет-трафика, причем на 91 % рост обеспечит растущий интерес пользователей к видеоконтенту, телевидению высокой четкости и объемному телевидению.

В связи с чем, некоторым операторам связи уже сейчас есть необходимость расширять полосу пропускания и проводить модернизацию сети связи, в том числе строя мультисервисные сети.

Мультисервисные сети предоставляют пользователям весь спектр телекоммуникационных услуг от передачи компьютерных данных, телеметрической информации, объединения частных локальных сетей до передачи мультимедийного контента: голосового трафика IP-телефонии, аудиовизуальных потоков видеоконференцсвязи, интерактивного и вещательного телевидения.

Таким образом, тема проекта, посвященного предоставлению мультисервисных услуг в квартале «Новое созвездие» города Санкт-Петербурга, является актуальной.

1. ОПИСАНИЕ ОБЪЕКТА И ОПРЕДЕЛЕНИЕ ПРЕДОСТАВЛЯЕМЫХ УСЛУГ

.1 Описание объекта

"Новое Созвездие" - жилой комплекс бизнес-класса в престижной части Гражданки, на пересечении проспекта Просвещения и улицы Руставели. Архитектурный проект комплекса гармонично вписывается в окружающую застройку. Полукруглые очертания 20-этажных жилых секций создают уютный и тихий внутренний двор, идеальное место для прогулок и отдыха. Дополняющие стилистику современности и комфорта доминанты 25-этажных башен придают комплексу особую выразительность. Контуры зданий образуют своего рода созвездие - отсюда и название этого проекта. В жилых домах обустроены квартиры, встроенные помещения и подземный паркинг для автомобильного транспорта. Кирпично-монолитный комплекс построен с применением новейших строительных технологий. Автономные котельные обеспечивают бесперебойное теплоснабжение в любое время года. Во всех квартирах установлены металлопластиковые стеклопакеты и современные отопительные приборы с регуляторами температуры. Для комфорта и безопасности жильцов дома оборудованы системой видеонаблюдения. Работает служба консьержей, для которых спроектированы специальные помещения. Во всех подъездах - бесшумные скоростные лифты. Навесные вентилируемые фасады и единое остекление балконов и лоджий придаёт «Новому Созвездию» стильный вид.

Одно, двух- и трехкомнатные квартиры отличаются практичными планировками, просторными кухнями и ванными комнатами. Однокомнатные квартиры площадью от 35 до 45 кв. метров, трехкомнатные квартиры от 85 до 94 м2. Общее количество квартир в комплексе 1731.

Из окон верхних этажей открываются прекрасные виды на живописную зеленую зону Муринского ручья и панораму северной части города. Местоположение «Нового Созвездия» исключительно удачно. Он построен в районе с полноценной социальной инфраструктурой: рядом расположены магазины, крупные универсамы, медицинские учреждения, детские сады и школы, кинотеатр. Еще одно преимущество комплекса - близость к метро: до станции «Гражданский проспект» несколько минут ходьбы. Рядом и железнодорожная станция Мурино. Хорошо развитая транспортная сеть позволяет без проблем добраться до любого района города. Удобство сообщения обеспечивает и новая кольцевая автодорога. Квартал отличается благоприятной экологией. Рядом расположены популярные места отдыха: Кавголовские озера, горнолыжные центры и лесопарки Карельского перешейка. Из всего вышесказанного следует, что потенциальная аудитория платежеспособная.

Поскольку в данном комплексе присутствует оператор связи «ЭлектронТелеком», приведу услуги данной компании как определенный минимум в условиях конкуренции.

Провайдер «ЭлектронТелеком» имеет несколько каналов, соединяющих клиентов с другими провайдерами, что позволяет обеспечить постоянный доступ к сети Интернет на скорости до 100 Мбит/сек. Также клиентам предоставляется 50 Цифровых каналов в стандарте DVB-T, услуги IP-телефонии.

.2 Определение набора предоставляемых услуг

Услуга передачи данных. Согласно оценке J’son & Partners Consulting на конец 2011 года, количество российских домохозяйств, имеющих фиксированный широкополосный доступ в Интернет, составило 21,7 млн., увеличившись по отношению к показателю 2010 г. на 18%. Таким образом, общее проникновение услуги достигло 38%.

Из доклада Boston Consulting Group Россия поднимется с 18 на 16 место в рамках G20 по размеру Интернет-бизнеса в ВВП. Дается прогноз, что к 2016 году аудитория Интернета в России достигнет 100 млн. пользователей. Интернет-экономика уже растет в России заметно быстрее, чем в странах Европы: на 18,3% в год против 7-10% в развитых странах.

По данным ежегодного издания Cisco Visual Networking Index: Forecast and Methodology 2010-2015, к 2015 году объем потребляемого во всем мире Интернет-трафика увеличится более чем в 2,5 раза по сравнению с 2011.

Рисунок 1.1 - География распределения широкополосных подключений 2010-2011 гг.

По тем же прогнозам Cisco с 2010 по 2015 гг. объем трафика в России вырастет в пять раз. Средняя скорость ШПД в России увеличится с 5 до 18 Мбит/с. На данный момент средняя скорость ШПД по Санкт-Петербургу 15,19 Мбит/с. Средняя скорость ШПД в Калининском районе г. СПб 16.64 Мбит/с. Согласно исследованиям J’son & Partners Consulting доля подключений по СПб по отношению ко всем подключениям в 2011 году составило 8%.

Не смотря на снижение доли подключений ШПД в СПб по отношению ко всей России, Интернет-бизнес продолжает приносить доходы и наращивать абонентскую базу.

Услуга передачи голоса. Согласно данным исследований iKS-Consulting, за 9 месяцев 2010 года совокупные доходы российских операторов фиксированной, сотовой и IP-телефонии от услуг голосовой связи составили 440,4 млрд. руб. Несмотря на то, что сектор VoIP показал наибольший рост (9% за 2010 год), доли рынка по доходам распределились следующим образом: 62% выручки получают операторы сотовой связи (288,2 млрд. руб.), 37% - фиксированной связи (171,3 млрд. руб.), а на долю VoIP остается только 1% (5,2 млрд. руб.).

По данным MForum Analytics, в 2009 году количество подключенных домашних аппаратов у россиян снизилось по сравнению с 2008 годом на 200 тыс. штук (-0,6%) и составила 33,8 миллиона. Таким образом, страна по уровню этого сегмента телефонной оснащенности вернулась на уровень 2007-го года. По данным J'son & Partners Consulting, в 2009 году объем рынка фиксированной местной связи составил 80,1 млрд. руб., сотовой связи - 536 млрд. руб.

С 2010 года доходы от услуг фиксированной связи стали сокращаться в абсолютном выражении. В 2010 году доля доходов от услуг фиксированной связи составила 17,2 % против 19,1 % в 2009 году. Тенденция сохраняется, а российские показатели по динамике роста соответствуют европейским.

Рис. 1.2 - Структура доходов от услуг связи за 2010 г.

Согласно данным НАРЭКИТ республики Молдова объем продаж услуг фиксированной телефонной связи снизился в первом квартале 2011 года на 13% по сравнению с тем же периодом 2010 годом, а продажи альтернативных поставщиков увеличились на 36,8 %. По оценкам компании TeleGeography, в 2008 году объем голосового IP-трафика (VoIP) во всем мире вырос на 41% и составил 8% от общего объема голосового трафика. При этом трафик традиционных операторов вырос за этот же период лишь на 12%. По прогнозам экспертов, к 2012 году 40% трафика будет занято именно IP-телефонией.

Услуга передачи видео. Количество подписчиков платного цифрового телевидения в Санкт-Петербурге по итогам 2011 года увеличилось на 50%. Об этом сообщило аналитическое агентство TelekomDaily. По последним данным количество абонентов цифрового ТВ в северной столице увеличилось до 270 тыс. человек. К ним относят, как подписчиков кабельного и IPTV, так и спутникового ТВ. При этом с 2010 года этот показатель был увеличен почти на 100 тыс. С 2010 года рост оценивается в пределах 40%.

По данным исследовательской компании J’son & Partners, по итогам 2011 года кабельное телевидение занимает 49 % рынка платного ТВ, спутниковое - 45 %, IPTV - 6 %.

По данным iKS-Consulting в 2011 году изменилась структура рынка платного ТВ: доля IPTV выросла на 3% (до 5%), в 2010 году не превышала 2%. В структуре рынка по технологии самая большая доля осталась у кабельного ТВ - 60%, сегмент спутникового телевидения занимает 35% рынка. По прогнозам iKS-Consulting, число абонентов платного ТВ в 2015 году вырастет до 35 млн., а проникновение услуги приблизится к 67%. «Объем рынка в 2015 году составит 60 млрд. руб. И, хотя в структуре рынка по технологиям по-прежнему основную долю будет занимать кабельное ТВ, его доля снизится с 60% до 52% за счет роста других технологий. Так, доля IPTV в 2015 году превысит 10%», - прогнозируют аналитики агентства.

Оценка абонентской базы HDTV-каналов в России на июнь 2011 года приведена в таблице 1. Согласно данным на июнь 2011 года абонентская база платных HDTV-каналов 139 тыс. Абонентская база открытых (бесплатных) HDTV-каналов 157 тыс. Итого абонентов HDTV платных и бесплатных каналов 296 тыс.

Таблица 1.1 - Абонентская база основных операторов платных HDTV-каналов


Тыс. абонентов

Спутниковое вещание


НТВ+

28

Платформа HD

42

Кабельное вещание


Акадо

19

IPTV-вещание


NetbyNet

21

Билайн-ТВ

7

Искрателеком

3

Состояние и прогноз развития HDTV-вещания и услуг в России: к концу 2015 года процент кабельного и IPTV до 47,5 %. IPTV предполагается 15%.  Возможно также и слияние сегментов кабельного телевидения и IPTV, как сообщает директор по контенту «Триколор ТВ».

Соответственно необходимо предоставить более современные сервисы, чтобы клиенты имели возможность широкого выбора услуг, получать дополнительные сервисы, получали возможность огромного выбора из самых популярных программ, фильмов, документальных фильмов, новостей.

При реализации первой очереди проекта клиентам будут предложены следующие услуги: услуга ШПД к сети Интернет на скорости 60 Мбит/с, цифровое телевидение высокой четкости HDTV на один телевизор, IPTV на три ТВ-приемника, дополнительные сервисы - «перемотка», «пауза», «видеомагнитофон», «видео по запросу», IP-телефония.

Для HDTV предполагается показ восемнадцати HD-каналов: HD Кино <#"564036.files/image003.gif">

Рисунок 3.1 - Сплиттер КРТО-32С-SC (слева) и этажная распределительная коробка КРТО-8-SC (справа)

.2.3 Этажные распределительные коробки

Коробки распределительные телекоммуникационные оптические КРТО-8 предназначены для использования в качестве волоконно-оптического кросса малой емкости, устанавливаемого внутри помещений. В распределительной части сети FTTH PON используются в качестве этажных распределительных коробок, по аналогии с коробками КРТ-10 в медно-жильных сетях. Степень защиты корпуса от внешних воздействий - IP-44. Конструкция КРТО-8 позволяет подключать до 4-х волоконно-оптических кабелей (ВОК) диаметром до 17 мм, или два транзитных ВОК, проходящих через коробку в вертикальном направлении, а так же до 8 абонентских шнуров (патчкордов). Коробки могут быть установлены на заранее проложенный ВОК.

Коробки изготавливаются в виде малогабаритного металлического корпуса с крышкой, снабженной запорным устройством. В нижней и верхней частях коробок предусмотрены отверстия для ввода (вывода) кабелей, которые защищены уплотнительными сальниками. Конструкция корпуса КРТО-8 позволяет заводить в коробку два транзитных ВОК без разрыва оптических модулей.

Запас модулей ВОК укладывается под съемной сплайс-кассетой. Излишек длины патчкордов может быть выложен в верхней части коробки. Вводимые кабели крепятся к корпусу коробки при помощи кабельных стяжек. Силовые элементы и бронепокровы могут быть дополнительно закреплены на основании коробки винтовыми зажимами.

В качестве коммутационных элементов могут быть использованы коннекторы (пигтейлы) и оптические розетки различных фирм-производителей, имеющие требуемые сертификаты. Коробки могут поставляются как в предсобранном виде, так и без установки коммутационных элементов.

Таблица 3.2 - Характеристики оптических сплиттеров

4. СХЕМА ОРГАНИЗАЦИИ СВЯЗИ ОПТИЧЕСКОЙ СЕТИ

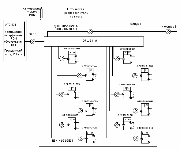
От АТС до жилого комплекса подрядчиком уже проложен кабель типа ДПЛ-Н-06А-036Е06-10,0-Х:012А004Н. Схема магистрального участка оптической сети представлена на рисунке 4.1 с учетом применяемого в дипломном проекте каскадирования разветвителей. Точка присутствия находится на АТС, от которой до оптического распределительного шкафа (ОРШ) производится магистральное распределение волокон. В распределительной сети PON от ОРШ до оконечных устройств абонентов (ONT), связь осуществляется через оптические разветвители.

На сети может быть использована как одноуровневая (однокаскадная) схема включения разветвителей без последовательного включения друг за другом, так и многокаскадная схема с последовательным размещением сплиттеров. Но чем меньше уровней каскадирования, тем проще сеть абонентского доступа, и соответственно больше возможностей для быстрого устранения неисправностей, повышения качества связи за счет исключения возможных переходных искажений при передаче сигналов через несколько разветвителей.

С другой стороны каскадирование позволяет более гибко и оптимально использовать распределительные устройства и кабели, т.е. оптимально построить распределительную сеть.

В дипломном проекте выбрана одноуровневая (однокаскадная) схема включения разветвителей.

Оптические сплиттеры с кратностью 1:64 и 1:32 оптических распределительных коробках (ОРК).

Рисунок 4.1 - Схема магистрального участка

4.1 Прокладка кабеля в зданиях

Прокладка ОК обычно не представляет большой сложности, как из-за небольшой длины трассы, так и из-за более лёгкой и гибкой конструкции используемого для этого внутриобъектового кабеля. В случае прокладки в трубной разводке, под фальшполом и за фальшпотолком кабель сначала сматывают с транспортировочного барабана и выкладывают петлёй или восьмёркой в начальном пункте трассы, а затем плавно затягивают в кабельный канал. Для облегчения работы может быть использована стальная протяжная проволока длиной 5-10 м.

При укладке кабеля на открытых кабельростах или в желобах в длинных коридорах более удобно разложить кабель на полу вдоль трассы, а затем поднять его на желоб с фиксацией пластиковыми хомутами через каждые 2-3 м.

По нежилым чердакам кабель очень удобно подвешивать с помощью стандартных металлических подвесов на предварительно натянутый несущий трос. При этом обычно не требуется сложный расчёт на прочность с учётом ветровых и гололёдных нагрузок. Этот же способ можно рекомендовать при прокладке кабеля по подвалам и техподпольям зданий при отсутствии существующих кабельных каналов.

4.2 Строительство распределительной сети

В распределительную сеть PON входит участок сети от оптического распределительного шкафа (ОРШ) к этажным оптическим распределительным коробкам (ОРК) в одном доме. Схемы распределительной сети содержат решения по домовой прокладке оптических кабелей, по размещению ОРШ и ОРК непосредственно в жилом доме.

Распределительная сеть PON в дипломной работе рассмотрена на примере схемы распределительной сети жилого квартала «Новое созвездие».

Процент охвата технологией PON в общей сложности во всем квартале - 90%, в первом корпусе - 90,78 % во втором корпусе - 96,97 %, в третьем корпусе - 80 %. Что обеспечит возможность подключения практически любой квартиры комплекса.

В комплексе 7 подъездов по 25 этажей, 2 подъезда по 22 этажа и 4 подъезда по 20 этажей.

Схема распределительной сети типового подъезда в 25 этажей представлена на рисунке 4.2.1, на 1 - 3, 5, 6, 9, 10, 12, 17, 18, 21, 22 этажах возможно подключение до 5 квартир, на остальных 4, 7, 8, 11, 13 - 16, 19, 20 этажах до 6 квартир, на 23, 24 и 25 этажах до 3-х квартир.

Схема распределительной сети типового подъезда в 20 этажей представлена на рисунке 4.2.2, на 1, 6, 14, 19 этажах существует возможность подключения до 4-х квартир, на остальных - по 5 квартир. Подъезд в 22 этажа - аналогично подъезду в 20 этажей, таким образом, на четырех этажах 1, 9, 14, 21 возможность подключения к одной распределительной коробке до 5 квартир, на всех остальных - до 6 квартир.

Рисунок 4.2 - Схема распределительной сети подъезда на 25 этажей

Рисунок. 4.3 - Распределительная сеть подъезда на 20 этажей

Схемы распределительных сетей разработаны в соответствии со следующими положениями:

ВОК по зданию прокладывается в негорючей оболочке.

ОРК в подъездах предусматриваются к установке на стене.

Прокладка проектируемого ВОК по подвалу и стенам с пробивкой межэтажных перекрытий предусмотрена в трубе из самозатухающего ПВХ пластика с креплением скобами.

От межэтажных каналов до ОРК предусмотрены пластиковые кабель-каналы с креплением на стене.

Проектируемый оптический кабель заводится в металлический шкаф ОРШ, который размещается на первом этаже.

Принцип нумерации ОРШ и ОРК представлен на схеме.

5. ВЫБОР ОПТИЧЕСКОГО КАБЕЛЯ

Для построения оптической сети доступа используются одномодовые волокна в ВОК с расширенным диапазоном рабочих длин волн по рекомендации G.652D, которые позволяют использовать для работы дополнительный интервал между 1310 и 1550 нм и обладают пониженным затуханием на "пике воды", что весьма важно. Основные требования к одномодовому волокну по рекомендации G.652D приведены в табл.5.1

Таблица 5.1 - Характеристики волокон по Рекомендации G.652D

Параметры

ВОК рек. G.652 D

Коэффициент затухания, дБ/км 1310 нм 1550 нм

 ≤0,40 ≤0,25

Коэффициент хроматической дисперсии, пс/нм*км не более, в интервале длин волн: 1285….1330 нм 1530….1565 нм

  ≤3,5 ≤18

Поляризиционно-модовая дисперсия (PMD), пс/√км

≤0,2

Длина волны отсечки

≤ 1260


Также допускается использование волоконно-оптического кабеля по рекомендации G.657A, В с улучшенными изгибными характеристиками.

Конструкция оптического кабеля должна сочетаться с методами прокладки и условиями окружающей среды. В настоящем проекте предусматриваются кабели для прокладки в кабельной канализации и кабели для прокладки внутри здания.

От АТС до жилого комплекса кабель производства ООО «Оптен» ДПЛ-Н-06А-036Е06-10,0-Х:012А004Н.

Рисунок 5.1 - Схематичное изображение кабеля ДПЛ-Н: 1 - Центральный силовой диэлектрический элемент; 2 - Оптическое волокно; 3 - Оптический модуль; 4 - Кордель; 5 - Полимерная лента с водоблокирующим покрытием; 6 - Полиэтиленовая внутренняя оболочка; 7 - Гидрофобный гель; 8 - Стальная гофрированная лента с полимерным покрытием; 9 - Наружная оболочка из материала, не распространяющего горение

Для внутридомовой разводки используются кабели ДБН-Н-06-06Е01.

Рисунок 5.2 - Схематичное изображение кабеля ДБН-Н: 1 - Центральный диэлектрический элемент; 2 - Оптическое волокно; 3 - Кабель ОБН; 4 - Скрепляющая лента из синтетического материала; 5 - Наружная оболочка из материала, не распространяющего горение; 6 - Кордель

Также для внутридомовой разводки используются кабели ОБГ-Н-01-01Е01.

Рисунок 5.3 - Схематичное изображение кабеля ОБГ: 1 - Оптическое волокно в буферном покрытии; 2 - Силовой элемент из высокомодульных прядей; 3 - Наружная оболочка из материала, не распространяющего горение

6. РАСЧЁТ БЮДЖЕТА МОЩНОСТИ

6.1 Затухание сигнала


Под затуханием сигнала понимают уменьшение его оптической мощности при распространении по оптическому волокну. Затухание измеряется в дБ/км. На затухание света в волокне в основном влияют такие факторы как потери на поглощение и потери на рассеивание. Поглощение в оптическом волокне может быть собственным и примесным. Собственное поглощение обусловлено поглощением кварца в инфракрасной (ИК) и ультрафиолетовой (УФ) областях спектра, а примесное - наличием примесей в волокне. Среди примесей, вызывающих наибольшее затухание, выделяют ионы OH (гидроксильные группы). Из-за малых (микроскопических) изменений плотности и, следовательно, изменений показателя преломления материала волокна свет, распространяющийся в определенном направлении, может распределяться (рассеиваться) в разных направлениях, в том числе и в обратном. Это приводит к появлению рассеянного излучения и, следовательно, к потерям. Даже при отсутствии затухания за счет поглощения в волокне всегда будет присутствовать затухание, обусловленное рэлеевским рассеянием, которое составляет приблизительно 0,16 дБ/км на длине волны 1550 нм.

Дополнительное затухание может быть вызвано макроизгибами (с радиусом изгиба >> 1 мм) и микроизгибами (с радиусом изгиба < 1 мм), а также радиоактивным излучением. Эти факторы, приводящие к дополнительному ослаблению сигнала, должны быть минимизированы или полностью исключены при разработке конструкции кабеля и при последующей его прокладке и монтаже.

6.2 Расчеты затухания

Выбор системы передачи определяет максимально допустимое затухание между передатчиком и приемником.

Так называемый бюджет затухания представляет собой сумму всех потерь, которые возникают на участке оптической сети доступа между передатчиком и приемником. Рассмотрим следующие источники потерь:

·   Полное затухание в оптическом волокне. Оно зависит от коэффициента затухания волокна (дБ/км) на определенной длине волны и от его полной длины (км).

·        Полные потери в сростках. Они зависят от потерь в каждом сростке (дБ) и от их общего количества.

·        Полные потери в соединителях. Они зависят от потерь в каждом соединителе (дБ) и от их общего количества.

·        Потери в разветвителях волокон. Эти потери зависят от коэффициента разветвления и возрастают примерно на 3,5 дБ каждый раз, когда сигнал делится пополам.

Из всего вышесказанного следует, что максимально допустимые потери или бюджет затухания не могут превышать некоторой величины. Следовательно, и длина линии, и коэффициент разветвления также ограничиваются бюджетом затухания. Следует заметить, что в пассивной оптической сети потери разветвления часто имеют значительную величину и могут превышать половину бюджета затухания.

Другой фактор, ограничивающий длину оптической линии связи и максимальную скорость передачи - это дисперсия.

Однако при расчете допустимого расстояния для системы передачи в оптической сети доступа обычно учитывают только бюджет затухания, т.к. именно затухание, а не дисперсия является главным ограничивающим фактором.

Необходимо проводить расчеты полного затухания для каждого отдельного волокна (линии) и сравнивать результаты с максимально допустимым затуханием. Эти расчеты проводятся на стадии проектирования оптической сети доступа.

.3 Расчёт затухания для максимально отдалённого дома

Таблица 6.1 - Результаты расчета

Расчёты затухания

Единица измерения

Длина волны, нм

Тип волокна: G.652 ITU-T D


1310

1550

1

2

3

4

5

1

Коэффициент затухания волокна

дБ/км

0,4

0,25

2

Хроматическая дисперсия

пс/нм км

3,5

18

3

Длина линии

км

1,3

1,3

4

Вносимое волокном затухание

дБ

0,68

0,38

5

Средние потери в сварке

дБ

0,1

0,05

6

Количество сварок

шт.

7

7

7

Суммарные потери в разъемных соединителях

дБ

6,3

6,3

8

Эксплуатационный запас

дБ

3

3

9

Средние потери в соединителях

дБ

0,3

0,3

10

Количество соединителей

шт.

4

4

12

Потери разветвления 1:64

дБ

22

22

13

Потери разветвления 1:32

дБ

17,5

17,5

14

Потери разветвления 1:2

дБ

1,8

1,8

15

Общие потери в линии связи

дБ

23

22,23

16

Допустимые потери

дБ

26

26

17

Остаточный запас по затуханию

дБ

2,97

3,77


7. МЕРОПРИЯТИЯ ПО ОБЕСПЕЧЕНИЮ БЕЗОПАСНОСТИ ЖИЗНЕДЕЯТЕЛЬНОСТИ

.1 Анализ характеристик объекта проектирования и трудовой деятельности

Целью данного дипломного проекта является рассмотрение вопросов предоставления мультисервисных услуг в квартале «Новое созвездие» города Санкт-Петербурга. Объект реализации проекта является самостоятельной законченной разработкой структурированной кабельной сети, созданной с целью организации подключения абонентам качественных услуг широкополосного доступа к сети Интернет, IP-HD-телевидения телефонии. Сеть рассчитана на бесперебойное функционирование 24 часа в сутки. Источником электропитания для оборудования, используемого при строительстве сети GPON, будет являться городская электрическая сеть.

Магистральный кабель уже проложен, однако необходимо произвести сварку имеющегося в канализации кабеля и новый распределительных кабелей.

Распределительные кабели будут проложены в действующей телефонной канализации. Подземная канализация данной разновидности представляет собой совокупность трубопроводов, шахт, колодцев и иных смотровых устройств, предназначенных для затягивания кабелей связи в образуемые каналы монтажа этих кабелей и их последующего эксплуатационного обслуживания.

При прокладке распределительных кабелей наиболее часто встречающейся операцией является монтаж и герметизация муфт на кабелях связи. Это дает основание более подробно рассмотреть технологические процессы, встречающиеся при выполнении строительно-монтажных работ, а именно:

·   затягивание кабеля в канализацию;

·        работа в подземных смотровых устройствах;

·        монтаж кабелей в существующей канализации;

·        измерения и испытания кабеля.

При рассмотрении видов работ, необходимо отметить, что при строительстве и эксплуатации линии связи все работы должны проводиться только специалистами необходимых категорий. К числу работ повышенной опасности относятся:

·   Погрузочно-разгрузочные работы.

·        Прокладка, монтаж, магистральных и распределительных кабелей в смотровых устройствах подземной кабельной канализации, опасных с точки зрения возможности поступления газа.

·        Монтаж кабеля с полиэтиленовой оболочкой вызывает выделение вредных газов, оказывающих токсичное воздействие на организм человека.

·        Монтажные работы в кабельной канализации, такие как сварка, требуют определённого светового обеспечения в соответствии с санитарно-техническими нормами.

·        Возможность поражения электротоком.

Проанализировав условия, методы и способы прокладки, учитывая анализ трудовой деятельности и производственной среды, можно выделить следующие задачи:

·   при прокладке и монтаже кабеля применять более современную технику;

·        свести ручной труд до минимума;

·        обеспечить своевременную доставку специалистов, необходимой техники, инструментов и приборов;

·        должным образом обеспечить условия труда.

Для обеспечения оптимальных мероприятий по охране труда ниже будут рассмотрены вопросы эргономического обеспечения, техники безопасности и пожарной профилактики. Общие руководства по охране труда осуществляет Министерство связи Российской Федерации. Работу и контроль выполнения мероприятий по охране труда организует подотдел Министерства связи Российской Федерации.

.2 Мероприятия по эргономическому обеспечению

Эргономика при строительстве и эксплуатации линейных сооружений связана с производительностью и качеством работ.

Монтаж кабельных линий выполняется кабельщиками-спайщиками, прошедшими специальный курс обучения и имеющими опыт работы. Как правило, каждую отдельную линию монтирует одна бригада (звено из двух, трёх человек).

Прокладку кабеля в настоящем проекте предполагается осуществлять с применением разнообразных средств механизации, что полностью исключает тяжёлый физический труд.

Для освещения кабельных колодцев в данном проекте применяются электрические фонари и электролампы на напряжение не выше 12 В с питанием от аккумуляторных батарей. Так как не исключена возможность появления в колодце опасного газа, для освещения применяются герметичные светильники.

Для обеспечения высокого качества монтажа (для монтажа оптических кабелей необходимо обеспечить постоянство температуры окружающей среды (не ниже -10°С), относительную влажность воздуха (не более 80%), чистоту рабочего места, отсутствие сквозняков), а также работоспособности дорогостоящих приборов применяется специальная монтажно-измерительная лаборатория на базе автомашины с кузовом закрытого типа ГАЗель - "ЛИОК", позволяющая монтажникам и измерителям выполнять сложные работы при соответствующих условиях, освещении (300 лк и дополнительном 1000 лк), и приточно-вытяжной вентиляции. Машина оборудована специализированным рабочим местом для 2-х монтажников (монтажный стол со всеми необходимыми приспособлениями) и местом для измерительной техники и соответствующих специалистов.


Рисунок 7.1 - Схема рабочего и грузового отсеков спецмашины “ЛИОК”: 1 - Кузов; 2 - Шкаф для одежды; 3 - Приточно-вытяжная вентиляция; 4 - Футляр для медицинской аптечки; 5 - Переговорное устройство (рация); 6 - Щиток управления отопителем; 7 - Огнетушитель ОУ-2; 8 - Диван; 9 - Стул вращающийся; 10 - Стол монтажный; 11 - Шкаф для приборов; 12 - Блок питания; 13 - Щит автоматической защиты; 14 - Крепление бухты кабеля; 15 - Ввод “земля”; 16 - Трап - лестница; 17 - Шанцевый инструмент; 18 - Светильник местного освещения; 19 - Элементы крепления электроагрегата; 20 - Элементы крепления роликов натяжных малых; 21 - Элементы крепления ролика натяжного большого; 22 - Элементы крепления FSM-30 (40); 23 - Элементы крепления НР-37717; 24 - Элементы крепления стола раскладного; 25 - Электрогрелки

Для сидения технического персонала предусмотрены вращающиеся стулья с регулировкой по высоте. В холодное время года салон машины отапливается. Освещение в салоне естественное (через окно) и искусственное. Освещенность должна быть не менее 300 люкс, в соответствий со СНиП 23-05-95.

Питание всех электропотребителей осуществляется от передвижной электростанции малой мощности AБ-1. Отопление в холодное время года осуществляется бензоотопителем типа ОВ-ЗО, расположенным в передней части кузова. Машина снабжена бачком с питьевой водой, рукомойником, газовой плитой и аптечкой. Рабочее место имеет принудительную вентиляцию для удаления вредных примесей, возникающих при пайке кабеля. Скорость отсасывания воздуха должна быть не менее 07 м/с.

Вышеуказанные организационные и технические меры, направленные на эргономическое обеспечение, удовлетворяют заданным требованиям, так как снижают физическое и нервное напряжение технического персонала, улучшают условия труда, а значит, повышают его эффективность.

7.3 Мероприятия по технике безопасности

Прокладку кабеля и монтажные работы следует начинать только после выполнения мероприятий по технике безопасности. Проект должен быть согласован со службами подземных коммуникаций.

Работники, выполняющие работы на кабельных линиях связи должны быть обеспечены специальной одеждой, специальной обувью (резиновыми сапогами) и другими средствами индивидуальной защиты.

Перед началом работ по монтажу кабеля в колодце кабельной канализации необходимо выполнять требования безопасности:

- установить ограждения и предупредительные знаки;

проверить колодец на отсутствие взрывоопасных и ядовитых газов

провентилировать колодцы;

откачать воду, при наличии ее, и просушить колодец;

установить освещение и т. п.

К управлению механизмами допускаются специально подготовленные лица, имеющие соответствующие удостоверения. При выполнении работ вблизи линий электропередачи учитываются допустимые минимальные расстояния от подъёмных механизмов до ближайшего провода электропередачи 1,5-9 метров в зависимости от напряжения линии.

При выполнении работ на улице весь личный состав бригады надевает ярко-оранжевые сигнальные жилеты во избежание наезда дорожного транспорта.

По обе стороны колодцев, в которых производится работа,

должны быть установлены ограждения-барьеры. Если колодец находится на проезжей части дороги, ограждения устанавливают навстречу движения транспорта на расстоянии не менее 10-15 м.

Все перевозимые строительные материалы (трубы, барабаны с кабелем и т.д.) при транспортировке тщательно укрепляются. Перевозить в кузове машины рабочих вместе с находящимися там материалами запрещается.

При производстве работ работникам находиться в зоне возможного смещения, падения или опрокидывания грузов запрещается.

Перед началом работы в колодце, производится инструктаж бригады, с вручением наряда-допуска. Для открывания крышек колодцев пользуются ломиками и крючками из цветного металла, что исключает возникновение искры от удара по крышке люка, а также возможность взрыва, если в колодце находится взрывоопасный газ. После открытия колодцы проверяются с помощью газоанализатора и специального индикатора на наличие взрывоопасных или ядовитых газов. Независимо от наличия или отсутствия газа, колодцы обязательно вентилируются, открываются также люки смежных колодцев. В случае обнаружения газа, следует вызвать службу газа. Колодцы вентилируются во время прокладки и сварки кабеля. Спуск в колодцы разрешается по деревянной приставной лестнице. На каждом работнике, опускающемся в колодец, должен быть надет спасательный пояс с лямками и надёжно закреплённой прочной верёвкой или специальный костюм с вшитыми в него лямками и каска. Около колодца, в котором ведётся работа, должен находиться дежурный, в обязанности которого входит наблюдение за состоянием работников, находящихся в колодце.

Для освещения подземных смотровых устройств должны применяться переносные электрические светильники напряжением не свыше 12 В или ручные электрические (аккумуляторные) фонари. При затягивании кабеля в канализацию первоначально обеспечивается устойчивость барабана с кабелем, исключающая его самопроизвольное движение. Трос лебёдки проверяется и смазывается. На расстоянии 1 метра от места работ по линии движения тягового троса устанавливаются ограждения с предупредительными знаками, обеспечивающие безопасность ведения работ, движения пешеходов и транспорта. Во время затягивания кабелей запрещается находиться у изгибов троса и прикасаться голыми руками к движущемуся кабелю или тросу. Все основные работы выполняются в брезентовых рукавицах, особенно при смазке кабеля техническим вазелином.

При работах, связанных с прокладкой кабеля по стенам зданий, необходимо пользоваться исправными деревянными или металлическими лестницами, подмостями и автовышками (при наружных работах). Лестницы должны быть прочными и надёжными. Дерево, применяемое для изготовления лестниц, должно быть выдержанным и сухим, сучковатость в нём не допускается. Ступени деревянных лестниц и стремянок должны быть прочно вставлены в выдолбленные отверстия в тетивах. Расстояние между ступенями должно быть 250 мм. Тетивы должны скрепляться стяжными болтами через каждые 2 метра, а также под верхней и нижней ступенями. Применять лестницы и стремянки со ступенями, нашитыми гвоздями, без их предварительной врезки запрещается. Нижние концы приставных лестниц должны иметь упоры в виде острых стальных наконечников при установке на грунте, или резиновые башмаки при установке на полу, асфальте и т.п. Общая длина (высота) приставной лестницы должна обеспечивать рабочему возможность работать стоя на ступени, находящейся на расстоянии не менее 1 метра от верхнего конца лестницы. Длина лестницы не должна превышать 5 метров.

При монтаже оптического кабеля необходимо помнить и неукоснительно следовать инструкциям по технике безопасности. Разделка кабеля осуществляется режущим инструментом. Режущие поверхности и острые кромки должны быть направлены в сторону, противоположную телу работающего, чтобы избежать травмы при случайном срыве инструмента с обрабатываемой поверхности. Пальцы рук, удерживающие обрабатываемый предмет, должны находиться на достаточном удалении от режущих кромок.

Скалывание волокон необходимо осуществлять специальным устройством - скалывателем. Данное устройство обеспечивает легкость скалывания, а так же может иметь специальную емкость для сбора микрочастиц оптического волокна образующихся при скалывании. Короткие осколки и обрезки волокон должны быть собраны и помещены в специальную коробку. Следует заботиться о том, чтобы осколки не оставались на столе, одежде или где-нибудь, откуда они могут проникнуть под кожу человека.

Сварочный аппарат при сварке необходимо заземлять, все подключения и отключения прибора необходимо осуществлять при снятом напряжении питания. В устройстве должна быть предусмотрена индикация включения напряжения питания и индикация подачи высокого напряжения. Устройство должно быть снабжено блокировкой подачи высокого напряжения на электроды при открытой крышке узла во время установки оптического волокна.

Сварочные аппараты используют для формирования электрической дуги высокое напряжение, которое является опасным для жизни, а дуговой разряд между электродами может привести к возгоранию горючих газов и паров легковоспламеняющихся жидкостей, поэтому необходимо перед началом работ проверить помещение газоанализатором, на недопустимое содержание легковоспламеняющихся газов в помещении.

Сварка и проверка оптического волокна происходит с применением лазеров, что предоставляет опасность для человека. Неиспользуемые соединители и концы волокон должны быть закрыты. Нельзя смотреть на торцы волокна или соединителя. Передаваемое по световоду излучение находится вне видимого диапазона длин волн, однако может привести к необратимым повреждениям сетчатки глаза. По этой же причине запрещено направлять излучения лазера на человека.

Рекомендуется также устанавливать на оптических распределительных панелях и в шкафах, содержащих волоконно-оптическое оборудование, знак, предупреждающий о возможном лазерном излучении (форма и цвет знака указаны в ГОСТ Р12.4.026-2001). Общие требования по безопасности при разработке и эксплуатации лазерных изделий изложены в ГОСТ Р 50723-94.

При работе в монтажно-измерительной автомашине необходимо соблюдение техники безопасности при работе с высоким напряжением. К работе с устройством для сварки оптических волокон допускаются лица, прошедшие вводный инструктаж по технике безопасности на рабочем месте с последующей проверкой знаний и имеющие группу по электробезопасности не ниже III.

Кабельные шкафы внутри помещений должны устанавливаться и крепиться к полу или стене в таких местах, чтобы не мешать движению людей. Двери шкафов должны свободно открываться.

После того как будет установлено, что на тросах и кабелях линий связи и проводного вещания (радиофикации) отсутствует постороннее напряжение выше 1000 В, с помощью индикатора низкого напряжения необходимо убедиться, что на тросах и кабелях связи и проводного вещания (радиофикации) отсутствует также и постороннее напряжение ниже 1000 В. Пользоваться только одним индикатором низкого напряжения типа ИНН - 1 для установления наличия постороннего напряжения на тросах и кабелях связи и проводного вещания (радиофикации), имеющих пересечения с линиями электропередачи напряжением выше 1000 В запрещается.

Опасность поражения электрическим током может возникнуть в результате нарушения правил эксплуатации механизмов с электродвигателями, различных электроинструментов, удлинителей, а также случайного прикосновения без защитных средств к токоведущим частям или металлическим нетоковедущим частям, в случае «пробоя на корпус». Опасность поражения электрическим током не уменьшается при использовании в работе неиспытанных или с просроченным сроком очередного испытания защитных средств. Степень опасности и возможность поражения электрическим током в значительной мере зависит от того, каким образом произошло прикосновение человека к металлическим частям электроустановок, находящимся под напряжением, или к проводникам электропередачи.

К основным мерам защиты относятся:

. Средства коллективной защиты.

. Защитное заземление (OLT, сварочного аппарата и т. д).

. Использование малых напряжений.

. Применение изоляции.

. Использование защитных средств

Запрещается подключать переносные токоприемники любой мощности к электросети методом «наброса».

При проведении работ следует соблюдать комплекс мероприятий по охране труда и технике безопасности в соответствии с требованиями действующих нормативных правил:

ПОТ РО-45-009-200. Правила по охране труда при работах на линейных сооружениях кабельных линий передачи;

ПОТ РО-45-005-95. Правила по охране труда при работах на кабельных линиях связи и проводного вещания;

ПОТ РО-45-007-96. Правила по охране труда при работах на телефонных станциях и телеграфах;

СниП 12-03-2001 и СниП 12-04-2002. Техника безопасности в строительстве. 1,2 части;

ГОСТ Р 50571-94. Требования по обеспечению безопасности. Защита от поражения электрическим током;

ГОСТ Р 50723-94. Лазерная безопасность. Общие требования безопасности при разработке и эксплуатации лазерных изделий;

САНиПИН 5804-91. Санитарные нормы и правила устройства и эксплуатации лазеров;

7.4 Мероприятия по пожарной безопасности

Опасность пожара возникает при скоплении газов в колодцах. При концентрации 15% и больше газовоздушная масса может взорваться или воспламениться от небольшой искры. Поэтому перед началом работ осуществляют проверку газоанализатором на наличие взрывоопасных газов и проветривают колодцы.

Монтажные места дополнительно, кроме общей вентиляции салона автомашины "ЛИОК", оборудуются местной вентиляцией (электропылесос, вентилятор), удаляющей возникающие при работе горючие газы и пыль. Для предотвращения распространения пожара автомашина "ЛИОК" оснащается углекислотными огнетушителями типа ОУ - 2.

К мероприятиям, обеспечивающим возможность быстрой ликвидации возникшего пожара относятся:

·   Подготовка технических средств пожаротушения.

·   Обучение и подготовка личного состава эффективным мерам борьбы с огнём.

·   При тушении горящих проводов необходимо использовать огнетушители марки ОУ - 5.

Во всех производственных, складских и вспомогательных помещениях на видных местах должны быть вывешены таблички с указанием номера телефона вызова пожарной охраны.

При проведении работ следует соблюдать комплекс мероприятий по охране труда и технике безопасности в соответствии с требованиями действующих нормативных правил:

ГОСТ 12.1.004-91 ССБТ. Пожарная безопасность. Общие требования безопасности.

ППБ 01-03. Правила пожарной безопасности в Российской Федерации.

7.5 Мероприятия по обеспечению БЖД в условиях чрезвычайных ситуаций

При возникновении чрезвычайных ситуаций оператор связи должен руководствоваться положениями, указанными в выданных ему лицензиях, а также «Положением о приоритетном использовании и приостановке деятельности сетей и средств электросвязи при чрезвычайных ситуациях природного и техногенного характера» (от 24.05.2000).

Мероприятия по защите технического персонала в случае возникновения чрезвычайных ситуаций предусмотрены утвержденным планом мероприятий, включающим в себя:

·   поддержание в работоспособном состоянии и эксплуатация действующей системы оповещения;

·        контроль состояния пожароопасных помещений и помещений повышенной опасности;

·        периодическое проведение учебных занятий по ГО и ПЧС;

·        организация взаимодействия с операторами связи;

·        определение порядка взаимодействия, подчиненности подразделений, участвующих в управлении сетями связи.

При производстве строительно-монтажных работ существует множество потенциально опасных для жизни и здоровья человека работ. Чтобы халатность не привела к трагичным последствиям, следует четко выполнять требования действующих нормативных актов регламентирующих меры по охране труда.

Эти меры помогут сделать условия труда максимально безопасными и комфортными, минимизирует риск получения вреда здоровью, и в тоже время мотивирует персонал, что в конечном итоге приводит к увеличению производительности труда.

8. ТЕХНИКО-ЭКОНОМИЧЕСКОЕ ОБОСНОВАНИЕ

В связи с тем, что предоставление мультисервисных услуг имеет цель извлечения прибыли от оказания услуг предоставления широкополосного доступа к сети Интернет, IP-телефонии, HD- и IP-телевидения, содержанием расчетов является:

·   расчет капитальных вложений на строительство сети;

·        расчет годовых эксплуатационных расходов;

·        расчет срока окупаемости.

8.1 Расчет капитальных вложений

В соответствии с «Методическими указаниями по технико-экономическому обоснованию дипломного проекта» / Р.Г. Цатурова, М.М. Мазурова, А.В. Голубева: СПб ГУТ-СПб, 2010, в составе капитальных затрат K учтены:

·   строительно-монтажные работы;

·        стоимость оборудования;

·        накладные расходы.

При расчете затрат на строительно-монтажные работы полагаем, что выбранное в данном проекте оборудование размещается в уже существующих станционных сооружениях и помещениях, а следовательно, затраты на строительство зданий не будут предусмотрены в сметной стоимости проектируемой сети.


где Спр - затраты на проектирование; Соб - стоимость оборудования, необходимого для строительства; Синc - стоимость инструментов и оборотных средств, необходимых для работ; См - затраты на монтаж, и прокладку кабеля, установку и настройку оборудования; Стр - транспортные расходы на доставку оборудования;

Расчет стоимости оборудования представлен ниже в табличной форме.

Таблица 8.1 - Сметно-финансовый расчет затрат на необходимое оборудование

Затраты на оборудование

Единицы измерения

Кол-во

Цена за шт./ км. (руб.)

Сумма (руб.)

1

2

3

4

5

1.Оборудование:

 

 

 

 

1.1 ОРК-64С, SPL PLC 1:64, КРТО-64C-SC

шт.

22

8045

176990

1.2 ОРК-32С, SPL PLC 1:32, КРТО-32С-SC

шт.

4

4991

19964






1.3. ОРК КРТО-8

шт.

292

968

282656

1.4.OLT ZyXEL AN 5116-06

шт.

1

536000

536000






1.5. ONT ZyXEL PSG 1142

шт.

580

7296,55

4232000

1.6. Full HD телевизионная приставка и медиаплеер Eltex NV-101

шт.

193

3500

675500






1.7 Оптический кросс настенный SC/UPC

шт.

13

7856

102128

2.Кабельные изделия:

 

 

 

 

2.1. ДПЛ-Н-08А-064Е08-10,0-Х:012А/004 Н

км.

1,3

30500

39650

2.2 ДБН-Н-01-02Е02

км.

0,15

15000

2250

2.3. ОБГ-Н-01-01Е01-10,00-Х:012А ("Оптен")

км.

1,04

18000

18720

3.Материалы:

 

 

 

 

3.1. Жесткая гладкая труба RAL7035 с внешним d=50 мм

м.

35

420

14700






3.2. Жесткая гладкая труба RAL7035 с внешним d=25мм

м.

1040

8,43

8767,2






3.3. Кабель-канал 20х10 белый (100 м/уп)

уп.

30

10,2

306


Цены приведены на основании прайс-листов предприятий ООО «ЛТС - Опытный завод», ООО «Оптен», ООО «Спектр».

Все производственные расчеты представлены в таблице 8.2.

Таблица 8.2 - Производственные расчеты

Наименования затрат

Единица измерения

Сумма, руб.

Установка, монтаж и настроечные работы

15% от стоимости оборудования

869910,3







Затраты на инструмент, запчасти и приборы

10% от стоимости оборудования

579940,2




Транспортные расходы

5% от стоимости оборудования

289970,1

Затраты на проектирование

15% от стоимости оборудования

869910,3

Всего

2609730,9

НДС=18%

469751,56

Итого

3405223


Общая сумма капитальных вложений на строительство K= 9511054.

8.2 Расчет эксплуатационных расходов

В расчете эксплуатационные расчеты учтены: фонд оплаты труда (ФОТ), выплата единого социального налога (ФСС и О), амортизационные отчисления (А), стоимость материалов и запасных частей (М), затраты на электроэнергию (Зэ), и прочие производственные и транспортные расходы (Зпр).

Эр = ФОТ + ФСС и О + А + Змат + Зпр + Э (тыс.руб.),

где ФОТ - основные и дополнительные фонды оплаты труда обслуживающего персонала; ФСС и О - фонд социального страхования и обеспечения (страховые взносы); А - годовые амортизационные отчисления; Змат - затраты на материальные и запасные части, электроэнергию, потребляемые в процессе эксплуатации и проведения эксплуатации и проведения профилактических и ремонтных работ; Зпр - прочие расходы: административно управленческие и хозяйственные расходы; фонд проведения капитального ремонта оборудования сооружений связи, затраты на аренду помещений; Э - расходы на оплату электроэнергии.

Фонд оплаты труда (ФОТ). Величина ФОТ рассчитывается исходя из численности производственного персонала (Т), необходимого для обслуживания линейных и станционных сооружений средней месячной платы одного работника (ЗПср).

ФОТ=(ЗПср * Т + ПФ) * 12,

где ЗПср - средняя месячная плата одного работника; Т - среднегодовая численность персонала, определяется на основании приказа министерства связи РФ от 24.01.9№6/3258 об утверждении «норм времени на техническое обслуживание».

Таблица 8.3 - Среднемесячный фонд оплаты труда

Наименование должности

Кол-во человек

Оклад, руб.

Премии, 40%

Работа в праздничное и ночное время, 20%

Итого, руб.

Инженер

1

22000

8800

4400

35200

Электромонтер 4 разряда

2

18000

7200

3600

46800

Итого

82000


Зарплаты представлены по данным сайта superjob.ru.

Фонд оплаты труда составит:

ФОТ = 3*t (руб.),

где 3 - общая заработная плата работников, (руб.) t - количество месяцев в году.

ФОТ = 82000 *12 = 984000 (руб.).

Страховые взносы во внебюджетные фонды. В соответствии с законодательством РФ страховые взносы (НСТ.ВЗ.) составляет 30% от годового фонда оплаты труда:

Страховые взносы = НСТ.ВЗ. * ФОТ (руб.),

Тогда:

Страховые взносы = 0,30 * 984000 = 295200 (руб.).

Амортизационные отчисления позволяют накопить средства для капитального, их восстановления после выбытия из эксплуатации.

Расчет амортизационных отчислений производится в соответствии с «Общероссийским классификатором основных фондов» и «Классификацией основных средств, включаемых в амортизационные группы». Применительно к телекоммуникационному оборудованию, срок полезного использования соответствует 6-й группе и составляет 10 - 15 лет, нормы амортизации составляют от 12 до 15 %. В расчетах примем На=15 %.

Для линейных сооружений срок полезного использования соответствует 7-й группе и составляет 7-10 лет. Нормы амортизации На=10 %.

А = Наосн,

где А - сумма годовых амортизационных отчислений, Фосн - среднегодовая стоимость основных производственных фондов.

В нашем случае:

Асс = 5439700*0,15 = 815955 (руб.); Алс = 642358*0,10 = 64235,8 (руб.).

Расходы на материалы и запасные части - это расходы на текущее состояние оборудования и поддержание его работоспособности. Эти расходы 10 % от капитальных вложений на строительство линий связи:

М = 0,10 * 9511054 = 951105,4 (руб.).

Расчет затрат на электроэнергию производится по следующей формуле:

Зэ=Р*365*24*ЦкВт/ n,

где Р - общая мощность используемой аппаратуры (Р=1кВт), ЦкВт - стоимость киловатта электроэнергии (ЦкВт = 3,47 рубля, п - КПД используемой аппаратуры (0,8)). Источник данных сайт www.newtariffs.ru.

Подставив численные значения величин, получим:

Зэ=365*24*3,47/0,8= 37996,5 (руб.)

Затраты на прочие производственные и транспортные расходы, а также административно-хозяйственные расходы принимаются в размере 15 % от фонда заработной платы, по рекомендациям «методических указаний по технико-экономическому обоснованию дипломных проектов».

Зпр = 984000 * 0,15= 147600 (руб.).

Составим таблицу годовых эксплуатационных расходов.

Таблица 8.4 - Результаты расчета годовых эксплуатационных расходов

Наименование статей затрат

Величина затрат на год, (тыс. руб.)

Доля затрат, %

ФОТ

984

29,86

Отчисления на социальные нужды

295,2

8,96

Материальные затраты

951

28,85

Электроэнергия

38

1,15

Прочие производственные и административные расходы

147,6

4,48

Амортизационные отчисления

880

26,7

Итого

3295,8

100%

.3 Расчет доходов и прибыли

Доходы на предприятиях связи складываются в основном из доходов от абонентской платы. В данном проекте рассматривается подключение жилого дома.

Доход от абонентской платы квартирного сектора определяется по формуле:

Дкв. = N • Ц • t (руб.),

где N - количество абонентов, Ц - размер абонентской платы, t - количество месяцев в году.

Дкв. = 580∙400∙12 = 2784000 (руб.)

Существуют также разовые доходы, доходы от новых установок. Доход от новых установок квартирного сектора определяется по формуле:

Дкв.н/у = N • Ц (руб.),

где N - количество абонентов, Ц - стоимость новой установки одного телефонного номера.

Дкв.н/у = 290 • 2500 = 725000 (руб.).

Подключение Интернет и телевидения 580 абонентов:

Дкв.инт.н/у = 580 • 100 = 58000 (руб.).

Доходы от предоставления разовых услуг составляет:

Драз = Дкв.н/у + Дкв.инт тв.н/у (руб.).

Тогда:

Драз= 725000 + 58000 = 783000 (руб.).

Доход безлимитного трафика за Интернет, при подключении 580 абонентов жилых домов, составит:

Динт = 430 *12* 580 = 2992800 руб.

Доход от услуг HD-телевидения:

ДHDTV = 390 *12*10 = 46800 руб.

Доход от услуг IP-телевидения на 3 TV-приемника:

ДIPTV = 500 * 12 * 61 = 366000 руб.

годовой доход будет складываться из абонентской за услуги телефонии и платы за услуги Интернет, HD-телевидения.

Доходы от предоставления услуг мультисервисного абонентского доступа составляют:

Д = Дкв. + ДинтHDTV + ДIPTV (руб.).

Тогда:

Д = 2784000 + 2992800 + 46800 + 366000 = 6189600 руб.

Конечным финансовым результатом деятельности предприятия является прибыль, которая определяется как разность между доходами реализации услуг и эксплуатационными расходами:

Пб = Д - Эр (тыс. руб.),

где Д - доход от реализации услуг, Эр - эксплуатационные расходы.

Предприятие будет получать доход не только от предоставления услуг связи и Интернета, но и от подключения новых потребителей услуг. Примем их в размере 10% от основных доходов.

Пб = 6189600 * 1,1 - 3272800 = 3535760 руб.

Чистая прибыль определяется по формуле:

Пч = Пб - Н (руб.),

где Н - ставка налога на прибыль, определяется в размере 20% от реальной прибыли.

Н = 0,20 * Пб = 0,20* 3535760 = 707152 руб.

Пч = 3535760 - 707152 = 2828608 руб.

Вычислим рентабельность проекта:

Р = Пч / К*100%,

где К - капитальные вложения, (руб.); Пч - прибыль предприятия, (руб.).

Р= 2828608 / 9511054 * 100% = 29,74 %.

8.4 Расчет срока окупаемости

Срок окупаемости показывает, за какой промежуток времени окупятся капитальные вложения, которые могут окупаться за счет прибыли или экономии эксплуатационных расходов. Срок окупаемости определяется по формуле:

То = К/ Пч (год),

где К - капитальные вложения, (руб.); Пч - чистая прибыль, (руб.).

То= 9511054 / 2828608 = 3,4 года.

Вывод: в связи с тем, что в настоящее время инвестиционные вложения являются привлекательными при сроке их окупаемости менее 5 лет, поскольку срок окупаемости составит 3 года 6 месяцев, то данный проект является экономически обоснованным и может быть принят к реализации.

По результатам технико-экономических расчетов составим таблицу.

Таблица 8.5 - Технико-экономические показатели

Наименования показателей, ед. измерения

Условные обозначения

Требования тех. задания

Показатели спроектированной линии связи

Технология

GPON

GPON, GEPON, WDM-PON

GPON

Виды оборудования

OLT, ONT, STB

 

ZyXEL AN 5116-06, ZyXEL PSG 1142, Full HD Eltex NV-101

Протяженность трассы, км

L

 

1,3

Раб. длина волны, нм

1310/1490

1310/1490

Скорость доступа в сеть Интернет, Мбит/с

 

 

60

Годовые эксплуатационные расходы, тыс. руб.

Э

 

3272,8

Капитальные затраты, (тыс. руб.)

К

 

9818,07

Срок окупаемости, лет

Tок

 5

3,4

ЗАКЛЮЧЕНИЕ

В дипломном проекте рассмотрен вариант предоставления мультисервисных услуг на базе технологии GPON - пассивной оптической сети. Данная технология на первом этапе позволит предоставлять клиентам услуги IP-телевидения, HD-телевидения, широкополосного доступа к сети Интернет и IP-телефонию. Ширина полосы канала, средняя скорость на абонента позволят в будущем подключить такие услуги как видеоконференцсвязь, систему «умный дом», видеонаблюдение.

Сеть построена на основе современного оборудования, которое обладает всеми техническими характеристиками, необходимыми для предоставления высококачественных услуг, а также обладает высокой надежностью и приемлемой стоимостью.

Предусмотренные организационно-технические мероприятия по эргономическому обеспечению, технике безопасности, и пожарной безопасности в полной мере обеспечивают безопасные условия строительства и эксплуатации проектируемых линейных сооружений, при соблюдении правил электро- и пожарной безопасности. А также содействуют улучшению условий труда и повышению его эффективности.

Рассчитаны капитальные затраты на строительство и доход от основной деятельности. На основании этого был определен срок окупаемости, который составляет примерно 3 года 6 месяцев, что подтверждает целесообразность реализации данного проекта.

СПИСОК ИСПОЛЬЗОВАННОЙ ЛИТЕРАТУРЫ

1. Величко В. В. Телекоммуникационные системы и сети. Учебное пособие в 3 томах. Том 3 - Мультисервисные сети. М.: Горячая линия - Телеком, 2005.

. Воздвиженский Ю. М., Иванов В. К. Экология и безопасность жизнедеятельности: методические указания для разработки главы в дипломных проектах. СПбГУТ. СПб, 2005.

. Гитин В. Я. Кочановский Л. Н. Волоконно-оптические системы передачи. Учебное пособие для техникумов связи. - М.: Радио и связь, 2003.

. Ершов В. А., Кузнецов Н. А. Мультисервисные телекоммуникационные сети. М.: Изд-во МГТУ им. Н. Э. Баумана, 2003.

. Официальный сайт в сети Интернет компании «Лентелефонстрой» <http://www.lts.spb.ru/>

. Официальный сайт в сети Интернет ГК Натекс <http://www.nateks.ru/>

. Официальный сайт в сети Интернет компании Тералинк <http://www.teralink.ru/>

. Официальный сайт в сети Интернет компании «Оптен» <http://opten.spb.ru/ru/index.html>

. Официальный сайт в сети Интернет компании «ZyXEL» <http://zyxel.ru/>

. Филимонов А. Ю. Построение мультисервисных сетей Ethernet. СПб.: БХВ-Петербург, 2007.

. Фриман Р. Волоконно-оптические системы связи 4-е дополненное издание. М.: Техносфера, 2007.

. Цатурова Р. Г. Технико-экономическое обоснование дипломного проекта: методические указания. СПбГУТ - СПб., 2010.

Похожие работы на - Предоставление мультисервисных услуг в квартале 'Новое созвездие' города Санкт-Петербурга

 

Не нашли материал для своей работы?
Поможем написать уникальную работу
Без плагиата!
Без нейросетей!